EP4407271B1 - Klemmsystem für zusatzgeräte auf einer picatinny-schiene - Google Patents

Klemmsystem für zusatzgeräte auf einer picatinny-schiene Download PDF

Info

Publication number
EP4407271B1
EP4407271B1 EP24000001.8A EP24000001A EP4407271B1 EP 4407271 B1 EP4407271 B1 EP 4407271B1 EP 24000001 A EP24000001 A EP 24000001A EP 4407271 B1 EP4407271 B1 EP 4407271B1
Authority
EP
European Patent Office
Prior art keywords
lever
picatinny rail
clamping system
housing
clamping
Prior art date
Legal status (The legal status is an assumption and is not a legal conclusion. Google has not performed a legal analysis and makes no representation as to the accuracy of the status listed.)
Active
Application number
EP24000001.8A
Other languages
English (en)
French (fr)
Other versions
EP4407271A1 (de
Inventor
Walter Häring
Current Assignee (The listed assignees may be inaccurate. Google has not performed a legal analysis and makes no representation or warranty as to the accuracy of the list.)
Recknagel GmbH and Co KG
Original Assignee
Recknagel GmbH and Co KG
Priority date (The priority date is an assumption and is not a legal conclusion. Google has not performed a legal analysis and makes no representation as to the accuracy of the date listed.)
Filing date
Publication date
Application filed by Recknagel GmbH and Co KG filed Critical Recknagel GmbH and Co KG
Priority to HRP20250978TT priority Critical patent/HRP20250978T1/hr
Publication of EP4407271A1 publication Critical patent/EP4407271A1/de
Application granted granted Critical
Publication of EP4407271B1 publication Critical patent/EP4407271B1/de
Active legal-status Critical Current
Anticipated expiration legal-status Critical

Links

Images

Classifications

    • FMECHANICAL ENGINEERING; LIGHTING; HEATING; WEAPONS; BLASTING
    • F41WEAPONS
    • F41GWEAPON SIGHTS; AIMING
    • F41G11/00Details of sighting or aiming apparatus; Accessories
    • F41G11/001Means for mounting tubular or beam shaped sighting or aiming devices on firearms
    • F41G11/003Mountings with a dove tail element, e.g. "Picatinny rail systems"

Definitions

  • Self-loading rifles such as assault rifles for military use, are often equipped with additional devices such as telescopic sights, red dot sights, lights, lasers, bipods, etc.
  • these weapons are usually equipped with dovetail rails on the top of their system, which are manufactured according to MIL-STD-1913 or standards based on MIL-STD-1913.
  • Dovetail rails of this type are referred to as "Picatinny rails" and consist of a profile running in the direction of fire, which is provided with transverse grooves at regular intervals.
  • the mounting systems for attaching additional devices are equipped with at least one recoil lug on the side facing the Picatinny rail, which engages into one of the transverse grooves.
  • the handguard and other parts of the weapon can also be equipped with Picatinny rails, whereby the Picatinny rails can be an integral part of a component of the weapon or as separate parts that can be connected to the corresponding weapon component, for example by a screw connection.
  • a clamping system for additional devices on Picatinny rails is used, for example, in the EP 2 339 287 A2
  • This mounting system has either a nut system or a lever system for clamping onto the Picatinny rail.
  • the dimensions of the lever system were designed in such a way that the relatively long lever allows a very high clamping force to be applied, and the curved shape of the lever makes it easy to operate even when wearing gloves. If, for example, rifle scopes are attached using such clamping systems, the adjustment turrets for parallax compensation, illumination unit, and windage adjustment attached to the left and right of the rifle scope protrude further laterally than the nut or lever system. The clamping system therefore does not interfere with the use of the weapon.
  • This mounting system is also very suitable for clamping night vision or thermal imaging attachments. Even these very wide and heavy additional devices usually protrude significantly beyond the clamping system with their bodies.
  • a further advantage of the lever system also compared to the nut system disclosed in the same application, is its tool-free operation and the always constant clamping torque.
  • the clamping system is very wide, as the lever extends laterally well beyond the width of the Picatinny rail. This is because the contact surface of the movable clamping jaw to the lever is located to the side of the Picatinny rail. Furthermore, the lever's rotation axis is offset even further to the outside of the Picatinny rail than the contact surface of the movable clamping jaw.
  • Widely used military self-loading weapons such as AR15 and AR10-type weapons, feature a Picatinny rail and a rear-mounted charging handle on top of their receiver.
  • Rear-mounted means that the charging handle's controls extend laterally beyond the width of the Picatinny rail, but are located behind the end of the Picatinny rail facing the shooter. This eliminates the need for clamping systems that protrude far to the side when operating the charging handle.
  • bolt-action rifles often feature Picatinny rails on their receivers.
  • clamping systems that protrude far to the side are not a problem if the clamping system controls are located on the closed left side of the receiver when viewed in the direction of fire, and the accessories are designed accordingly.
  • the receivers of bolt-action rifles typically have the ejection port on the right side. In this case, clamping systems that protrude far can impede case ejection. Therefore, the operating elements of the mounting systems on bolt-action rifles are usually installed on the left side of the weapon.
  • Single magnification red dot sights with a closed housing are often used as aiming optics for various types of weapons.
  • many devices of this type have the Housing for the battery or the dial for the various illumination levels.
  • the dial or the battery housing often form a single unit.
  • Recent developments have been toward very slim optics housings with no protruding components.
  • One example of this design is the ACRO from Aimpoint.
  • a very slim clamping system offers significant advantages to prevent the optics from snagging on the shooter's clothing and to improve the handling of the entire system consisting of weapon and optics.
  • clamping systems operated by nuts or screws are not an option.
  • the advantage of such clamping systems is the high clamping force that can be applied using the operating key.
  • Such clamping systems are therefore also suitable for use on heavy machine guns, for example.
  • the US 6,606,813 B1 shows a clamping system that is particularly low-profile and can be operated without tools using a clamping lever.
  • Fig. 10 It can be seen that the pivot axis of the lever is significantly further from the center of the Picatinny rail than the outer surface of the movable clamping jaw, which means that the lever protrudes relatively far to the side.
  • the US 2013/0312307 A1 shows a clamping system with a relatively small lateral projection.
  • a spring transmits a tensile force to a wedge-shaped component, which in turn transmits the clamping force to the movable clamping jaw.
  • the wedge-shaped component is moved against the spring force using a push button.
  • the disadvantage of this system is the relatively low clamping force exerted by the spring and the wedge-shaped component.
  • the US 2010/0107467 A1 reveals a clamping system that can be operated without tools using a lever.
  • Fig. 2 and Fig. 5 It can be seen that the vertically arranged rotation axes of the levers are significantly further away from the center of the Picatinny rail than the outer surfaces of the clamping jaws, which results in a relatively large lateral overhang of the clamping levers.
  • the US 2017/0261288 A1 discloses a clamping system that has very little lateral overhang and can be operated without tools. Clamping is achieved by means of a screw-like component whose head has raised and recessed sections around its circumference. These raised and recessed sections serve, on the one hand, to secure the clamped section in the clamped position (see Fig. 10 and Fig. 24), on the other hand, they provide the necessary grip to operate the component by hand.
  • the torque applied to the screw-like component by hand alone, and consequently the clamping force transferred to the Picatinny rail, is relatively low.
  • the WO 2005/083351 A1 shows a clamping system that can be operated without tools using a horizontally pivoting lever.
  • Figures 2 and 3 It is evident that the vertically arranged pivot axis is significantly farther from the center of the Picatinny rail than the outer surface of the movable clamping jaw. This arrangement results in the mounting device projecting relatively far laterally.
  • Fig. 1 It can be seen that the lever is completely integrated into the housing in its closed position, but only because the outer wall of the housing has been extended sufficiently far beyond the outer surface of the movable clamping jaw.
  • the EP 3 783 294 B1 discloses a clamping system in which the lever's pivot axis is positioned horizontally. To apply the clamping force, the lever must be pivoted upward, where it rests against the housing, resulting in a relatively large minimum housing height. Here, too, the lever's pivot axis is located farther from the center of the Picatinny rail than the outer surface of the movable clamping jaw, resulting in a relatively large lateral overhang.
  • the objective of the invention is to create a clamping system for accessories on Picatinny rails that has the smallest possible lateral overhang over the Picatinny rail and can be operated without tools.
  • the clamping force should be sufficiently high to allow safe use on all types of weapons, and it should be possible to mount it at different heights.
  • the clamping device comprises a horizontally pivoting lever with an eccentric cam and a movable clamping jaw for its operation.
  • the contact surface of the movable clamping jaw with the eccentric cam on the lever is located above the surface and within the width of the Picatinny rail. This enables a significantly slimmer design of the mounting device, as the contact surface has been relocated from the outside of the movable clamping jaw toward the center of the Picatinny rail.
  • the lever By moving the contact surface towards the center of the Picatinny rail, the lever can be fully integrated into the slim housing when closed.
  • the lever is equipped with a safety catch and, due to its relatively long length, protrudes beyond the front or rear end of the housing when locked, at least with the safety catch. This allows the lever to be operated easily and safely even while wearing gloves, and its length generates a relatively large clamping force.
  • the vertical arrangement of the lever's pivot axis allows a relatively low overall height of the housing, since this arrangement of the clamping lever can be swiveled horizontally and does not have to be folded upwards onto the housing.
  • the housing has only one clamping system according to the invention.
  • multiple clamping systems can be installed simultaneously in one housing.
  • the Fig. 1 shows a clamping system according to the EP 2 339 287 A2 State-of-the-art.
  • the clamping system is shown clamped onto a Picatinny rail. It is evident that the lever extends considerably laterally beyond the Picatinny rail, as the contact surface of the movable clamping jaw with the lever's eccentric is positioned laterally next to the Picatinny rail. Furthermore, the lever's rotation axis is offset even further outward from the Picatinny rail than the contact surface of the movable clamping jaw with the lever's eccentric. Due to its design, the contact surface of the movable clamping jaw is formed by its outer surface.
  • the height H1 of the housing 2 determines the height H2 of the optical axis of the additional device 4. Both dimensions are measured from the surface of the Picatinny rail 1 on which the housing 2 rests with its base surface 50 (see Fig. 3 ) when the clamping system is clamped. Different types of weapons require different heights for the various additional devices. If, for example, a lamp or a laser is to be attached using the clamping system according to the invention, it is advisable to select the technically lowest possible height H1. If, for example, a red dot sight is to be attached to a repeating rifle, the height H1 should be lower than when attaching the same red dot sight to an assault rifle.
  • the height H1 is highly dependent on the height of the cheek rest of the shoulder rest or the stock of the weapon.
  • the opening 5 in the housing 2 serves to save weight. If the housing 2 is to be designed with a greater height H1 than in Fig. 1 shown are built, the Height of opening 5. If the housing 2 is to be built at its lowest possible height H1, opening 5 can be omitted.
  • Fig. 2 Shows the charging handle 6 in its forward end position. To charge the weapon, the charging handle 6 must be pulled by hand in the groove 7 to its rear end position. With clamping systems that protrude far, this movement can cause hand injuries.
  • the housing 2 has a very narrow design. No components of the clamping system according to the invention installed therein protrude laterally beyond the housing 2.
  • the housing 2 has bevels at the front and rear, and the movable clamping jaw 8 has rounded portions on its claw 9.
  • the lever 10 is fully integrated into the housing 2 when closed.
  • Fig. 3 shows the lever 10 with the groove 11 and the transverse bore 12 therein.
  • a securing element in the form of a pawl 13 has a bore 14. With the aid of the clamping sleeve 15, the pawl 13 is rotatably mounted in the lever 10.
  • the compression spring 51 presses the pawl 13 with its stop surface 16 against the bottom of the groove 11.
  • the locking pin 17 is fixed in the bore 18 in the housing 2 by gluing or pressing and serves to secure the lever 10 against unintentional opening.
  • the pivot pin 19 (see Fig. 6 ) of the lever 10 is mounted in the elongated hole 20 of the base body 2 so that it can rotate and be moved transversely to the direction of fire.
  • the position of the lever 10 can be adjusted transversely to the Picatinny rail 1. This allows manufacturing tolerances on the prism of the Picatinny rail 1 and in the clamping system to be compensated for and the desired clamping force to be set.
  • the plastic pin 22 is inserted into the blind hole 49, which runs axially parallel to the internal thread 48 and partially protrudes into the internal thread 48. The thread flanks of the adjusting screw 21 thus deform the plastic pin 22, which secures the adjusting screw 21 against unintentional twisting.
  • the claw 9 of the movable clamping jaw 8 is clamped by the eccentric cam 23 of the lever 10 against the first lower flank 24 of the Picatinny rail 1 drawn (see also Fig. 2 ).
  • the housing 2 is supported with its first fixed jaw 26 and its second fixed jaw 27 on the opposite second lower flank 25 of the Picatinny rail 1 and the base body 2 is pulled onto the surface of the Picatinny rail 1.
  • the stop 28 on the housing 2 serves to absorb the recoil forces. When clamped, it engages in one of the transverse grooves of the Picatinny rail 1 and rests with its front stop surface 29 against the rear wall of the corresponding transverse groove.
  • Fig. 4 the run-on bevel 30 on the locking pawl 13 is visible. If the clamping system is brought into the clamped position by pivoting the lever 10, the locking pawl 13 slides along the run-on bevel 30 over the locking pin 17. The compression spring 51, see Fig. 3 , is compressed. As soon as the locking pin 17 has been overcome, the locking pawl 13 engages in the undercut between the locking pin 17 and the locking surface 31 on the housing 2.
  • Fig. 5 The movable clamping jaw 8 with its contact surface 32 can be seen.
  • the eccentric cam 23 (see Fig. 3 ) on the lever 10 rolls on the contact surface 32 when it is actuated.
  • the first compression spring 33 and the second compression spring 34 see Fig. 3 , ensure constant contact of the surface 32 with the eccentric cam 23 over the entire pivoting range of the lever 10.
  • the movable clamping jaw 8 is fixed by the first extension 35 in the first guide groove 36 (see Fig. 10 ) and by the second extension 37 in the second guide groove 38 (see Fig. 10 ) is mounted in the housing 2.
  • the support plate 39 see Fig. 3 , is screwed into the housing 2 by means of the countersunk screw 40 and supports the two compression springs 33 and 34.
  • Fig. 6 shows the lever 10 with the eccentric cam 23, on which the free surface 41 with its distance F to the axis of rotation 43 of the lever 10 and the radius surface 42 with its radius R around the axis of rotation 43 of the lever 10 are located.
  • the radius R is greater than the distance F, whereby the difference between the two dimensions was chosen to be large enough that the claw 9 of the movable clamping jaw 8 releases the Picatinny rail 1 when the clamping system is open and the mounting device can be removed.
  • Fig. 9 illustrates that when clamped onto the Picatinny rail 1, the contact surface 32 of the movable clamping jaw 8 to the eccentric cam 23 of the pivot lever 10 lies above the surface and within the width B of the Picatinny rail 1.
  • the adjusting screw 21 presses against the pivot pin 19, whereby the eccentric cam 23 is pressed with the radius surface 42 against the contact surface 32 of the movable clamping jaw 8.
  • the axis of rotation 43 of the lever 10 is closer to the center 46 of the Picatinny rail 1 than the outer surface 47 of the movable clamping jaw 8.
  • the contact between the lever and the movable clamping jaw always occurs on an outer surface of the clamping jaw.
  • this contact surface was relocated above the surface and within the width B of the Picatinny rail 1, thereby achieving a significantly narrower design of the overall system. Furthermore, it is evident that the rotation axis 43 of the lever 10 lies within the width B of the Picatinny rail 1, which also contributes to a significantly narrower design of the overall system.
  • the upwardly open, gray-shaded field in Fig. 9 defines the area in which the contact surface 32 is located in a clamping system according to the invention.
  • the axis of rotation 43 of the lever 10 also runs through this field, it is closer to the center 46 of the Picatinny rail 1 than the outer surface 47 of the movable clamping jaw 8, which also contributes to a smaller lateral overhang.
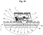
  • Fig. 10 It can be seen that at least the locking pawl 13 protrudes beyond the front end of the housing 2. This makes it easier to move the lever 10 from the clamped to the released position by the operator actuating the locking pawl 13 with one finger, holding it pressed, and simultaneously pulling the lever 10 with its help. Depending on the design of the clamping system and the housing 2, it is conceivable that the lever 10 itself also partially protrudes beyond the front end of the housing 2.
  • Fig. 2 the lever 10 is shown on the left side of the housing 2 and pointing forward in the firing direction. In other versions not shown in the Figures 2 to 10 In the embodiments of the invention shown, the lever 10 can be located on the right side of the housing 2 and/or pointing rearward in the firing direction. Depending on the design of the interface 3, the housing 2 can be rotated 180° and placed on the Picatinny rail 1.
  • the pawl 13 is not rotatably mounted, but is designed to be displaceable against a spring force relative to the lever 10.
  • the spring installed between the lever 10 and the rotatably mounted pawl 13 is designed as a leg spring.
  • the undercut into which the locking pawl 13 engages when clamped on the Picatinny rail 1 is formed, for example, by a correspondingly shaped groove in the housing 2.
  • the clamping system is simpler for cost reasons, ie, it is designed without a locking pawl 13 to prevent unintentional opening of the lever 10.
  • the lever 10 itself partially projects beyond the front or rear end of the housing 2.

Landscapes

  • Engineering & Computer Science (AREA)
  • General Engineering & Computer Science (AREA)
  • Clamps And Clips (AREA)

Description

  • Selbstladegewehre, wie z.B. Sturmgewehre für den militärischen Einsatz, werden häufig mit Zusatzgeräten wie Zielfernrohren, Rotpunktvisieren, Lampen, Laser, Zweibeine etc. ausgerüstet. Zur einfachen und wiederholgenauen Befestigung dieser Zusatzgeräte sind diese Waffen auf der Oberseite ihres Systems in der Regel mit Prismenschienen ausgerüstet, die nach MIL-STD-1913 bzw. nach auf MIL-STD-1913 aufbauenden Normen gefertigt werden. Prismenschienen dieser Bauart werden als "Picatinny-Schiene" bezeichnet und bestehen aus einem in Schussrichtung verlaufenden Profil, welches in regelmäßigen Abständen mit Quernuten versehen ist. Die Montagesysteme zur Anbringung von Zusatzgeräten sind auf ihrer der Picatinny-Schiene zugewandten Seite mit mindestens einem Rückstoßstollen ausgerüstet, der in eine der Quernuten eingreift. Auch der Handschutz und andere Teile der Waffe können mit Picatinny-Schienen ausgerüstet sein, wobei die Picatinny-Schienen sowohl integraler Bestandteil eines Bauteiles der Waffe als auch als separate Teile ausgeführt sein können, die beispielsweise durch eine Schraubverbindung mit dem entsprechenden Waffenbauteil verbunden werden können.
  • Ein Klemmsystem für Zusatzgeräte auf Picatinny-Schienen wird z.B. in der EP 2 339 287 A2 offenbart. Dieses Montagesystem weist zur Klemmung auf der Picatinny-Schiene entweder ein Mutternsystem oder ein Hebelsystem auf. Das Hebelsystem wurde in seinen Dimensionen derart ausgeführt, dass durch die verhältnismäßig große Länge des Hebels eine sehr hohe Klemmkraft aufgebracht werden kann und der Hebel durch seine gebogene Form auch mit Handschuhen einfach zu bedienen ist. Werden mit solchen Klemmsystemen z.B. Zielfernrohre befestigt, stehen die links und rechts am Zielfernrohr angebrachten Verstelltürme für Parallaxenausgleich, Beleuchtungseinheit und Seitenverstellung seitlich weiter über als das Muttern- bzw. Hebelsystem. Das Klemmsystem stört somit beim Gebrauch der Waffe nicht. Dieses Montagesystem eignet sich ebenfalls sehr gut für die Klemmung von Nachtsicht- bzw. Wärmebildvorsatzgeräten. Auch diese sehr breit bauenden und schweren Zusatzgeräte ragen mit ihrem Korpus in den meisten Fällen deutlich über das Klemmsystem hinaus. Ein weiterer Vorteil des Hebelsystems, auch gegenüber dem in derselben Anmeldung offenbarten Mutternsystem, ist seine werkzeuglose Bedienung und das immer konstante Klemmmoment.
  • Ein nach der EP 2 339 287 A2 gebautes Klemmsystem baut sehr breit, da der Hebel seitlich weit über die Breite der Picatinny-Schiene hinausragt. Das liegt daran, dass die Kontaktfläche der beweglichen Klemmbacke zum Hebel seitlich neben der Picatinny-Schiene angeordnet ist. Zudem liegt die Drehachse des Hebels noch weiter seitlich nach außen versetzt neben der Picatinny-Schiene als die Kontaktfläche der beweglichen Klemmbacke.
  • Weit verbreitete militärische Selbstladewaffen, wie z.B. Waffen des Typs AR15 und AR10, weisen auf ihrer Gehäuse-Oberseite eine Picatinny-Schiene und einen hinten liegenden Durchladehebel auf. Hinten liegend bedeutet, dass die Bedienelemente des Durchladehebels zwar seitlich über die Breite der Picatinny-Schiene hinausragen, jedoch hinter dem Ende der Picatinny-Schiene liegen, welches dem Schützen zugewandt ist. Somit stören bei der Betätigung des Durchladehebels seitlich weit überstehende Klemmsysteme nicht.
  • Um sie mit Zusatzgeräten ausstatten zu können, weisen häufig auch Repetierbüchsen Picatinny-Schienen auf ihrer Systemhülse auf. Auch hier stören seitlich weit überstehende Klemmsysteme nicht, wenn die Bedienelemente der Klemmsysteme in Schussrichtung gesehen auf der linken, geschlossenen Seite der Systemhülse liegen und die Zusatzgeräte entsprechend breit bauen. Auf der rechten Seite weisen die Systemhülsen von Repetierern in der Regel das Auswurffenster für die Patronenhülsen auf. In diesem Fall können sehr weit überstehende Klemmsysteme den Hülsenauswurf behindern. Deshalb werden die Betätigungselemente der Montagesysteme auf Repetierbüchsen meist auf der linken Seite der Waffe verbaut.
  • Die Entwicklung von militärischen Selbstladewaffen hat in jüngerer Zeit Waffensysteme hervorgebracht, bei denen der Durchladehebel seitlich sehr dicht unterhalb der Picatinny-Schiene und in Schussrichtung gesehen auf Höhe der darauf anzubringenden Zieloptik liegt. Waffen dieser Gattung sind z.B. das HK433 und das HK437 von Heckler & Koch, das CZ BREN von Česká zbrojovka a.s., und das FN-SCAR von Fabrique Nationale Herstal. Bei der Betätigung des Durchladehebels kann es zu Verletzungen kommen, wenn der Schütze mit der Hand an den Bedienelementen des Klemmsystems für die Zieloptik hängen bleibt.
  • Als Zieloptik für diverse Waffentypen kommen oft einfach vergrößernde Rotpunktvisiere zum Einsatz, welche ein geschlossenes Gehäuse aufweisen. Seitlich am Optikgehäuse befinden sich bei vielen Geräten dieser Bauart das Gehäuse für die Batterie oder der Drehregler für die verschiedenen Beleuchtungsstufen. Der Drehregler oder das Gehäuse für die Batterie bilden häufig eine Einheit. Die Entwicklung geht in jüngster Zeit dahin, dass die Optikgehäuse sehr schmal bauen und ohne seitlich überstehende Bauteile auskommen. Ein Vertreter dieser Bauart ist beispielsweise das ACRO von der Firma Aimpoint. Um ein Hängenbleiben an der Kleidung des Schützen zu verhindern und das Handling des Gesamtsystems aus Waffe und Zieloptik zu verbessern, bringt ein sehr schmal bauendes Klemmsystem deutliche Vorteile.
  • Es besteht somit der Bedarf an einem Klemmsystem für Zusatzgeräte auf Picatinny-Schienen, insbesondere für die Anbringung von einfach vergrößernden Rotpunktvisieren, welches einen sehr geringen seitlichen Überstand über die Breite der Picatinny-Schiene aufweist und sich werkzeuglos bedienen lässt. Um das Einsatzgebiet eines solchen Klemmsystems zu vergrößern, muss dessen Klemmkraft groß genug sein, dass es universell auf sämtlichen Waffengattungen eingesetzt werden kann. Gleichzeitig soll es sich mit Handschuhen einfach und sicher bedienen lassen. Um die unterschiedlich hohen Visierlinien der häufigsten Waffengattungen abdecken zu können, soll es in verschiedenen Höhen gebaut werden können.
  • Um eine werkzeuglose Bedienung zu ermöglichen, kommen keine Klemmsysteme, die mittels Muttern oder Schrauben bedient werden, in Frage. Der Vorteil derartiger Klemmsysteme ist die große Klemmkraft, die sich mittels des Bedienschlüssels aufbringen lässt. Solche Klemmsysteme sind somit auch für die Verwendung z.B. auf schweren Maschinengewehren geeignet.
  • Im Stand der Technik sind neben der EP 2 339 287 A2 bereits verschiedene Klemmsysteme für Zusatzgeräte auf Picatinny-Schienen bekannt:
    Die DE 20 2011 002 180 U1 offenbart ein Klemmsystem, welches sich werkzeuglos mittels Klemmhebeln betätigen lässt. Die Hebel liegen sehr eng am Korpus der Montagevorrichtung an, sind jedoch sehr kurz ausgeführt, wodurch die erzeugte Klemmkraft eher gering ausfällt.
  • Die US 6,606,813 B1 zeigt ein Klemmsystem, welches besonders niedrig baut und welches sich werkzeuglos mittels eines Klemmhebels bedienen lässt. In Fig. 10 ist ersichtlich, dass die Schwenkachse des Hebels deutlich weiter von der Mitte der Picatinny-Schiene entfernt liegt als die Außenfläche der beweglichen Klemmbacke, wodurch der Hebel relativ weit seitlich übersteht.
  • Die US 2013/0312307 A1 zeigt ein Klemmsystem, welches einen relativ geringen seitlichen Überstand aufweist. Eine Feder leitet eine Zugkraft in ein keilförmiges Bauteil ein, welches wiederum die Klemmkraft in die bewegliche Klemmbacke einleitet. Zum Entriegeln des Klemmsystems wird mittels eines Druckknopfs das keilförmige Bauteil entgegen der Federkraft bewegt. Nachteilig bei diesem System ist die relativ geringe Klemmkraft, die durch die Feder und das keilförmige Bauteil aufgebracht wird.
  • Die US 2010/0107467 A1 offenbart ein Klemmsystem, welches sich werkzeuglos mittels Hebel betätigen lässt. In Fig. 2 und Fig. 5 wird ersichtlich, dass die vertikal angeordneten Drehachsen der Hebel deutlich weiter von der Mitte der Picatinny-Schiene entfernt liegen als die Außenflächen der Klemmbacken, was einen relativ großen seitlichen Überstand der Klemmhebel zur Folge hat.
  • Die US 2017/0261288 A1 offenbart ein Klemmsystem, das einen sehr geringen seitlichen Überstand aufweist und sich werkzeuglos bedienen lässt. Die Klemmung erfolgt mittels eines schraubenähnlichen Bauteils, dessen Kopf am Umfang Erhöhungen und Vertiefungen aufweist. Diese Erhöhungen und Vertiefungen dienen einerseits der Sicherung im geklemmten Zustand (siehe Fig. 10 und Fig. 24), andererseits bieten sie die erforderliche Griffigkeit, um das Bauteil mit der Hand bedienen zu können. Das lediglich mit der Hand auf das schraubenähnliche Bauteil aufgebrachte Drehmoment, und in Folge die übertragene Klemmkraft zur Picatinny-Schiene, fällt relativ gering aus.
  • Die WO 2005/083351 A1 zeigt ein Klemmsystem, welches sich werkzeuglos mittels eines horizontal schwenkbaren Hebels bedienen lässt. In den Figuren 2 und 3 ist ersichtlich, dass die vertikal angeordnete Schwenkachse deutlich weiter von der Mitte der Picatinny-Schiene entfernt liegt als die Außenfläche der beweglichen Klemmbacke. Diese Anordnung hat zur Folge, dass die Montagevorrichtung seitlich relativ weit übersteht. In Fig. 1 ist ersichtlich, dass der Hebel in seiner geschlossenen Stellung vollständig in das Gehäuse integriert ist, jedoch nur, da die Außenwand des Gehäuses entsprechend weit über die Außenfläche des beweglichen Klemmbackens hinausgezogen wurde.
  • Die EP 3 783 294 B1 offenbart ein Klemmsystem, bei dem die Schwenkachse des Hebels horizontal angeordnet ist. Der Hebel muss zum Aufbringen der Klemmkraft nach oben geschwenkt werden und liegt dort am Gehäuse an, was eine relativ große Mindestbauhöhe des Gehäuses zur Folge hat. Auch hier liegt die Schwenkachse des Hebels weiter von der Mitte der Picatinny-Schiene entfernt als die Außenfläche der beweglichen Klemmbacke, was einen relativ großen seitlichen Überstand zur Folge hat.
  • Die Aufgabe der Erfindung ist es, ein Klemmsystem für Zusatzgeräte auf Picatinny-Schienen zu schaffen, welches einen möglichst geringen seitlichen Überstand über die Picatinny-Schiene aufweist und sich werkzeuglos bedienen lässt. Die Klemmkraft soll so groß sein, dass es bedenkenlos auf allen Waffengattungen eingesetzt werden kann und es soll sich in unterschiedlichen Höhen bauen lassen.
  • Gelöst wird die Aufgabe durch eine Klemmvorrichtung mit den Merkmalen des Anspruchs 1. Zweckmäßige Ausgestaltungen und vorteilhafte Weiterbildungen der Erfindung sind in den Unteransprüchen angegeben.
  • Die erfindungsgemäße Klemmvorrichtung weist zu ihrer Bedienung einen horizontal schwenkbaren Hebel mit einer Exzenternocke und eine bewegliche Klemmbacke auf, wobei die Kontaktfläche der beweglichen Klemmbacke zur Exzenternocke am Hebel oberhalb der Oberfläche und innerhalb der Breite der Picatinny-Schiene liegt. Dies ermöglicht eine deutlich schlankere Bauweise der Montagevorrichtung, da die Kontaktfläche von der Außenseite der beweglichen Klemmbacke in Richtung Mitte der Picatinny-Schiene verlegt wurde.
  • Durch die in Richtung Mitte der Picatinny-Schiene verlegte Position der Kontaktfläche lässt sich der Hebel im geschlossenen Zustand vollständig in das schlanke Gehäuse integrieren.
  • In einer besonders bevorzugten Ausführungsform ist der Hebel mit einer Sicherungsklinke ausgestattet und ragt aufgrund seiner relativ großen Länge im verriegelten Zustand zumindest mit der Sicherungsklinke über das vordere oder hintere Ende des Gehäuses hinaus. Somit lässt sich der Hebel auch mit Handschuhen einfach und sicher bedienen und durch seine Länge wird eine relativ große Klemmkraft erzeugt.
  • Die vertikale Anordnung der Schwenkachse des Hebels ermöglicht eine relativ niedrige Bauhöhe des Gehäuses, da sich durch diese Anordnung der Klemmhebel in horizontaler Richtung schwenken lässt und nicht nach oben an das Gehäuse geklappt werden muss.
  • Die Erfindung wird nachfolgend anhand der Figuren beispielhaft erläutert.
  • Bei der in den Figuren gezeigten Ausführungsform weist das Gehäuse lediglich ein erfindungsgemäßes Klemmsystem auf. In weiteren, nicht in den Figuren dargestellten Ausführungen der Erfindung, können mehrere Klemmsysteme gleichzeitig in einem Gehäuse verbaut sein.
  • Es zeigen:
  • Fig. 1
    ein Klemmsystem nach der EP 2 339 287 A2 , entsprechend dem Stand der Technik, in perspektivischer Darstellung,
    Fig. 2
    ein Klemmsystem im geklemmten Zustand, verbaut in einem Gehäuse, mit einem auf dem Gehäuse montierten Zusatzgerät, geklemmt auf der Picatinny-Schiene eines Sturmgewehrs, in perspektivischer Darstellung,
    Fig. 3
    ein Klemmsystem im geklemmten Zustand, verbaut in einem Gehäuse, in Explosionsansicht,
    Fig. 4
    ein Klemmsystem im geklemmten Zustand, verbaut in einem Gehäuse, in einer perspektivischen Darstellung in Ansicht schräg von unten,
    Fig. 5
    eine bewegliche Klemmbacke in perspektivischer Darstellung,
    Fig. 6
    den Hebel in perspektivischer Darstellung,
    Fig. 7
    ein Klemmsystem im gelösten Zustand, verbaut in einem Gehäuse, in einer Ansicht von unten im Schnitt,
    Fig. 8
    ein Klemmsystem im geklemmten Zustand, verbaut in einem Gehäuse, in einer Ansicht von unten im Schnitt,
    Fig. 9
    ein Klemmsystem im geklemmten Zustand, verbaut in einem Gehäuse, geklemmt auf der Picatinny-Schiene eines Sturmgewehrs, in einer Ansicht von hinten im Schnitt,
    Fig. 10
    ein Klemmsystem im geklemmten Zustand, verbaut in einem Gehäuse, geklemmt auf der Picatinny-Schiene eines Sturmgewehrs, in einer Seitenansicht von links.
  • Die Fig. 1 zeigt ein Klemmsystem nach der EP 2 339 287 A2 entsprechend dem Stand der Technik. Das Klemmsystem ist im auf einer Picatinny-Schiene geklemmten Zustand dargestellt. Es ist ersichtlich, dass der Hebel sehr weit seitlich über die Picatinny-Schiene hinausragt, da die Kontaktfläche der beweglichen Klemmbacke zum Exzenter des Hebels seitlich neben der Picatinny-Schiene angeordnet ist. Zudem liegt die Drehachse des Hebels noch weiter seitlich nach außen versetzt neben der Picatinny-Schiene als die Kontaktfläche der beweglichen Klemmbacke zum Exzenter des Hebels. Bauartbedingt wird die Kontaktfläche der beweglichen Klemmbacke durch ihre Außenfläche ausgebildet.
  • Fig. 2 zeigt ein erfindungsgemäßes Klemmsystem für Zusatzgeräte im geklemmten Zustand auf einer Picatinny-Schiene 1. Das Klemmsystem ist in einem Gehäuse 2 verbaut, dessen Oberseite mit einer Schnittstelle 3 zur Aufnahme eines Zusatzgeräts 4 versehen ist. In diesem Ausführungsbeispiel ist die Schnittstelle 3 beispielhaft zur Aufnahme des einfach vergrößernden Rotpunktvisieres ACRO von der Firma Aimpoint ausgelegt. Die Schnittstelle 3 kann für jegliche Art von Zusatzgerät ausgelegt sein, wie z.B. Rotpunktvisiere, Zielfernrohre, optische Vergrößerer, Laser, Lampen, Entfernungsmesser usw. Das Gehäuse 2 ist durch das erfindungsgemäße Klemmsystem auf der Picatinny-Schiene 1 geklemmt.
  • Die Höhe H1 des Gehäuses 2 bestimmt die Höhe H2 der optischen Achse des Zusatzgeräts 4. Beide Maße werden von der Oberfläche der Picatinny-Schiene 1 gemessen, auf der das Gehäuse 2 mit seiner Bodenfläche 50 (siehe Fig. 3) im geklemmten Zustand des Klemmsystems aufsitzt. Unterschiedliche Waffengattungen verlangen unterschiedliche Höhen für die diversen Zusatzgeräte. Soll mit dem erfindungsgemäßen Klemmsystem beispielsweise eine Lampe oder ein Laser befestigt werden, ist es sinnvoll die technisch niedrigstmögliche Höhe H1 zu wählen. Soll z.B. ein Rotpunktvisier auf einer Repetierbüchse befestigt werden, ist die Höhe H1 niedriger zu wählen, als bei Befestigung desselben Rotpunktvisiers auf einem Sturmgewehr. Die Höhe H1 ist bei der Anbringung von Zielgeräten stark abhängig von der Höhe der Wangenauflage der Schulterstütze bzw. des Schaftes der Waffe. Der Durchbruch 5 im Gehäuse 2 dient der Gewichtsersparnis. Soll das Gehäuse 2 mit einer größeren Höhe H1 als in Fig. 1 gezeigt gebaut werden, vergrößert sich die Höhe des Durchbruchs 5. Soll das Gehäuse 2 in seiner niedrigstmöglichen Höhe H1 gebaut werden, kann der Durchbruch 5 entfallen.
  • Fig. 2 zeigt den Durchladehebel 6 in seiner vorderen Endlage. Um die Waffe durchzuladen muss der Durchladehebel 6 in der Nut 7 mit der Hand bis in seine hintere Endlage gezogen werden. Bei weit überstehenden Klemmsystemen kann es bei diesem Bewegungsablauf zu Verletzungen an der Hand kommen.
  • Um Verletzungen zu vermeiden weist das Gehäuse 2 eine sehr schmale Bauweise auf. Vom darin verbauten, erfindungsgemäßen Klemmsystem stehen keine Bauteile seitlich über das Gehäuse 2 hinaus. Das Gehäuse 2 weist vorne und hinten Abschrägungen und die bewegliche Klemmbacke 8 weist an ihrer Kralle 9 Abrundungen auf. Der Hebel 10 ist im geschlossenen Zustand vollständig im Gehäuse 2 integriert.
  • Fig. 3 zeigt den Hebel 10 mit der Nut 11 und der quer darin verlaufenden Bohrung 12. Ein Sicherungselement in Form einer Sperrklinke 13 weist eine Bohrung 14 auf. Mit Hilfe der Spannhülse 15 wird die Sperrklinke 13 im Hebel 10 drehbar gelagert. Die Druckfeder 51 drückt die Sperrklinke 13 mit ihrer Anschlagfläche 16 gegen den Grund der Nut 11.
  • Der Sicherungsstift 17 ist in der Bohrung 18 im Gehäuse 2 durch Verkleben oder Verpressen fixiert und dient der Sicherung des Hebels 10 gegen ungewolltes Öffnen.
  • Der Drehzapfen 19 (siehe Fig. 6) des Hebels 10 ist im Langloch 20 des Grundkörpers 2 drehbar und quer zur Schussrichtung verschiebbar gelagert. Mit Hilfe der Einstellschraube 21 lässt sich die Lage des Hebels 10 quer zur Picatinny-Schiene 1 einstellen. Somit können Fertigungstoleranzen am Prisma der Picatinny-Schiene 1 und im Klemmsystem ausgeglichen und die gewünschte Klemmkraft eingestellt werden. Der Kunststoffstift 22 steckt in der Sacklochbohrung 49, welche achsparallel zum Innengewinde 48 verläuft und zum Teil in das Innengewinde 48 hineinragt. Somit deformieren die Gewindeflanken der Einstellschraube 21 den Kunststoffstift 22, was die Einstellschraube 21 gegen ungewolltes Verdrehen sichert.
  • Die Kralle 9 der beweglichen Klemmbacke 8 wird im geklemmten Zustand durch die Exzenternocke 23 des Hebels 10 gegen die erste untere Flanke 24 der Picatinny-Schiene 1 gezogen (siehe auch Fig. 2). Das Gehäuse 2 stützt sich mit seiner ersten festen Backe 26 und seiner zweiten festen Backe 27 an der gegenüberliegenden zweiten unteren Flanke 25 der Picatinny-Schiene 1 ab und der Grundkörper 2 wird auf die Oberfläche der Picatinny-Schiene 1 gezogen.
  • Der Anschlag 28 am Gehäuse 2 dient der Aufnahme der Rückstoßkräfte. Er greift im geklemmten Zustand in eine der Quernuten der Picatinny-Schiene 1 ein und liegt mit seiner vorderen Anschlagfläche 29 an der hinteren Wand der entsprechenden Quernut an.
  • In Fig. 4 ist die Anlaufschräge 30 an der Sperrklinke 13 ersichtlich. Wird das Klemmsystem durch Einschwenken des Hebels 10 in die geklemmte Stellung gebracht, gleitet die Sperrklinke 13 entlang der Anlaufschräge 30 über den Sicherungsstift 17. Die Druckfeder 51, siehe Fig. 3, wird dabei komprimiert. Sobald der Sicherungsstift 17 überwunden wurde, rastet die Sperrklinke 13 in der Hinterschneidung zwischen dem Sicherungsstift 17 und der Sicherungsfläche 31 am Gehäuse 2 ein.
  • In Fig. 5 ist die bewegliche Klemmbacke 8 mit ihrer Kontaktfläche 32 zu sehen. Die Exzenternocke 23 (siehe Fig. 3) am Hebel 10 wälzt sich bei dessen Betätigung an der Kontaktfläche 32 ab. Die erste Druckfeder 33 und die zweite Druckfeder 34, siehe Fig. 3, sorgen über den gesamten Schwenkbereich des Hebels 10 für ständigen Kontakt der Fläche 32 zur Exzenternocke 23. Die bewegliche Klemmbacke 8 ist durch den ersten Fortsatz 35 in der ersten Führungsnut 36 (siehe Fig. 10) und durch den zweiten Fortsatz 37 in der zweiten Führungsnut 38 (siehe Fig. 10) im Gehäuse 2 verschiebbar gelagert. Das Stützblech 39, siehe Fig. 3, ist mittels der Senkschraube 40 im Gehäuse 2 verschraubt und stützt die beiden Druckfedern 33 und 34 ab.
  • Fig. 6 zeigt den Hebel 10 mit der Exzenternocke 23, an der sich die Freifläche 41 mit ihrem Abstand F zur Drehachse 43 des Hebels 10 und die Radiusfläche 42 mit ihrem Radius R um die Drehachse 43 des Hebels 10 befinden. Der Radius R ist größer als der Abstand F, wobei die Differenz zwischen beiden Maßen so groß gewählt wurde, dass die Kralle 9 der beweglichen Klemmbacke 8 die Picatinny-Schiene 1 im geöffneten Zustand des Klemmsystems frei gibt und die Montagevorrichtung abgenommen werden kann.
  • In Fig. 7 ist ersichtlich, dass die Exzenternocke 23 im gelösten Zustand des Klemmsystems mit ihrer Freifläche 41 an der Kontaktfläche 32 anliegt. Der Weg beim Öffnen des Hebels 10 wird durch die erste Anschlagfläche 44 (siehe Fig. 3) im Gehäuse 2 begrenzt.
  • In Fig. 8 ist ersichtlich, dass die Exzenternocke 23 im geklemmten Zustand des Klemmsystems mit ihrer Radiusfläche 42 an der Kontaktfläche 32 anliegt. Der Weg beim Schließen des Hebels 10 wird durch die zweite Anschlagfläche 45 (siehe Fig. 3) im Gehäuse 2 begrenzt.
  • Fig. 9 veranschaulicht, dass im auf der Picatinny-Schiene 1 geklemmten Zustand die Kontaktfläche 32 der beweglichen Klemmbacke 8 zur Exzenternocke 23 des Schwenkhebels 10 oberhalb der Oberfläche und innerhalb der Breite B der Picatinny-Schiene 1 liegt. Die Einstellschraube 21 drückt dabei gegen den Drehzapfen 19, wodurch die Exzenternocke 23 mit der Radiusfläche 42 gegen die Kontaktfläche 32 der beweglichen Klemmbacke 8 gedrückt wird. Zudem ist ersichtlich, dass die Drehachse 43 des Hebels 10 näher an der Mitte 46 der Picatinny-Schiene 1 liegt als die Außenfläche 47 der beweglichen Klemmbacke 8. Bei den im Stand der Technik gezeigten Klemmsystemen, die mit Hebeln betätigt werden, erfolgt der Kontakt zwischen Hebel und beweglicher Klemmbacke immer an einer außenliegenden Fläche der Klemmbacke. Beim erfindungsgemäßen Klemmsystem wurde diese Kontaktfläche nach oberhalb der Oberfläche und innerhalb der Breite B der Picatinny-Schiene 1 verlegt, wodurch eine deutlich schmälere Bauweise des Gesamtsystems erreicht werden konnte. Zudem ist ersichtlich, dass die Drehachse 43 des Hebels 10 innerhalb der Breite B der Picatinny-Schiene 1 liegt, was ebenfalls zu einer deutlich schmäleren Bauweise des Gesamtsystems beiträgt. Das nach oben offene, grau hinterlegte Feld in Fig. 9, definiert den Bereich, in dem bei einem erfindungsgemäßen Klemmsystem die Kontaktfläche 32 liegt. Verläuft wie in der dargestellten Ausführungsform der Erfindung auch die Drehachse 43 des Hebels 10 durch dieses Feld, liegt diese näher an der Mitte 46 der Picatinny-Schiene 1 als die Außenfläche 47 der beweglichen Klemmbacke 8, was ebenfalls zu einem geringeren seitlichen Überhang beiträgt.
  • In Fig. 10 wird ersichtlich, dass zumindest die Sperrklinke 13 über das vordere Ende des Gehäuses 2 hinausragt. Dadurch lässt sich der Hebel 10 einfacher von der geklemmten in die gelöste Stellung bringen, indem der Bediener mit einem Finger die Sperrklinke 13 betätigt, diese gedrückt hält und mit ihrer Hilfe gleichzeitig am Hebel 10 zieht. Je nach Ausgestaltung des Klemmsystems und des Gehäuses 2 ist es denkbar, dass auch der Hebel 10 selbst zum Teil über das vordere Ende des Gehäuses 2 hinausragt.
  • In Fig. 2 ist der Hebel 10 auf der linken Seite des Gehäuses 2 und in Schussrichtung nach vorne zeigend dargestellt. In anderen, nicht in den Figuren 2 bis 10 gezeigten Ausführungsformen der Erfindung, kann der Hebel 10 auf der rechten Seite des Gehäuses 2 und/oder in Schussrichtung nach hinten zeigend ausgeführt sein. Abhängig von der Ausführung der Schnittstelle 3 kann das Gehäuse 2 um 180° gedreht, auf die Picatinny-Schiene 1 aufgesetzt werden.
  • In einer weiteren, nicht in den Figuren 2 bis 10 gezeigten Ausführung, ist die Sperrklinke 13 nicht drehbar gelagert, sondern entgegen einer Federkraft zum Hebel 10 verschiebbar ausgeführt.
  • In einer weiteren, nicht in den Figuren 2 bis 10 gezeigten Ausführung, ist die Feder, die zwischen dem Hebel 10 und der drehbar gelagerten Sperrklinke 13 verbaut ist, als Schenkelfeder ausgeführt.
  • In einer weiteren, nicht in den Figuren 2 bis 10 gezeigten Ausführung, ist die Hinterschneidung, in die die Sperrklinke 13 im auf der Picatinny-Schiene 1 geklemmten Zustand einrastet, beispielsweise durch eine entsprechend ausgeformte Nut im Gehäuse 2 ausgebildet.
  • In einer weiteren, nicht in den Figuren 2 bis 10 gezeigten Ausführung, ist das Klemmsystem aus Kostengründen einfacher, d. h. ohne Sperrklinke 13 gegen ungewolltes Öffnen des Hebels 10 ausgeführt. In dieser Ausführung ragt der Hebel 10 selbst zum Teil über das vordere oder hintere Ende des Gehäuses 2 hinaus.
  • Bezugszeichenliste
  • 1
    Picatinny-Schiene
    2
    Gehäuse
    3
    Schnittstelle
    4
    Zusatzgerät
    5
    Durchbruch
    6
    Durchladehebel
    7
    Nut für Durchladehebel
    8
    Bewegliche Klemmbacke
    9
    Kralle der beweglichen Klemmbacke
    10
    Hebel
    11
    Nut im Hebel
    12
    Bohrung im Hebel
    13
    Sperrklinke
    14
    Bohrung in der Sperrklinke
    15
    Spannhülse
    16
    Anschlagfläche an der Sperrklinke
    17
    Sicherungsstift
    18
    Bohrung für Sicherungsstift
    19
    Drehzapfen
    20
    Langloch
    21
    Einstellschraube
    22
    Kunststoffstift
    23
    Exzenternocke
    24
    Erste untere Flanke der Picatinny-Schiene
    25
    Zweite untere Flanke der Picatinny-Schiene
    26
    Erste feste Backe .
    27
    Zweite feste Backe
    28
    Anschlag
    29
    Vordere Anschlagfläche
    30
    Anlaufschräge
    31
    Sicherungsfläche
    32
    Kontaktfläche
    33
    Erste Druckfeder
    34
    Zweite Druckfeder
    35
    Erster Fortsatz
    36
    Erste Führungsnut
    37
    Zweiter Fortsatz
    38
    Zweite Führungsnut
    39
    Stützblech
    40
    Senkschraube
    41
    Freifläche
    42
    Radiusfläche
    43
    Drehachse des Hebels
    44
    Erste Anschlagfläche im Gehäuse
    45
    Zweite Anschlagfläche im Gehäuse
    46
    Mitte der Picatinny-Schiene
    47
    Außenfläche der beweglichen Klemmbacke
    48
    Innengewinde
    49
    Sacklochbohrung
    50
    Bodenfläche
    51
    Druckfeder

Claims (14)

  1. Klemmsystem für Zusatzgeräte auf einer Picatinny-Schiene (1), das mittels eines horizontal schwenkbaren Hebels (10) von einem gelösten Zustand in einen auf der Picatinny-Schiene (1) geklemmten Zustand bringbar ist, dadurch gekennzeichnet, dass eine Kontaktfläche (32) einer beweglichen Klemmbacke (8) zur Exzenternocke (23) des Hebels (10) im auf der Picatinny-Schiene (1) geklemmten Zustand oberhalb der Oberfläche und innerhalb der Breite B der Picatinny-Schiene (1) liegt.
  2. Klemmsystem nach Anspruch 1, dadurch gekennzeichnet, dass die Drehachse (43) des Hebels (10) näher an der Mitte (46) der Picatinny-Schiene (1) liegt als die Außenfläche (47) der beweglichen Klemmbacke (8).
  3. Klemmsystem nach Anspruch 2, dadurch gekennzeichnet, dass die Drehachse (43) des Hebels (10) innerhalb der Breite B der Picatinny-Schiene (1) liegt.
  4. Klemmsystem nach einem der Ansprüche 1-3, dadurch gekennzeichnet, dass der Hebel (10) auf seiner Oberseite einen Drehzapfen (19) und auf seiner Unterseite eine Exzenternocke (23) aufweist.
  5. Klemmsystem nach Anspruch 4,
    dadurch gekennzeichnet, dass
    das Klemmsystem in einem Gehäuse verbaut ist, wobei das Gehäuse (2) ein Langloch (20) aufweist, in dem der Drehzapfen (19) des Hebels (10) drehbar und quer zur Picatinny-Schiene (1) verschiebbar gelagert ist.
  6. Klemmsystem nach Anspruch 5, dadurch gekennzeichnet, dass das Gehäuse (2) ein quer zur Picatinny-Schiene (1) verlaufendes Innengewinde (48) mit einer darin eingeschraubten Einstellschraube (21), und eine Sacklochbohrung (49) mit einem darin befindlichen Kunststoffstift (22) aufweist, wobei das Innengewinde (48) und die Sacklochbohrung (49) achsparallel zueinander verlaufen.
  7. Klemmsystem nach Anspruch 6, dadurch gekennzeichnet, dass die Sacklochbohrung (49) zum Teil in das Innengewinde (48) hineinragt und die Gewindeflanken der Einstellschraube (21) den Kunststoffstift (22) deformieren.
  8. Klemmsystem nach Anspruch 6, dadurch gekennzeichnet, dass sich die Lage des Hebels (10) quer zur Picatinny-Schiene (1) mittels der im Innengewinde (48) eingeschraubten Einstellschraube (21) einstellen lässt.
  9. Klemmsystem nach Anspruch 4, dadurch gekennzeichnet, dass die Exzenternocke (23) des Hebels (10) im gelösten Zustand des Klemmsystems mit der Freifläche (41) gegen die Kontaktfläche (32) an der beweglichen Klemmbacke (8) drückt, und dass die Exzenternocke (23) des Hebels (10) im auf der Picatinny-Schiene (1) geklemmten Zustand mit der Radiusfläche (42) gegen die Kontaktfläche (32) an der beweglichen Klemmbacke (8) drückt, und dass der Radius (R) einer Radiusfläche (42) um die Drehachse (43) des Hebels (10) größer ist, als der Abstand (F) der Freifläche (41) zur Drehachse (43) des Hebels (10).
  10. Klemmsystem nach Anspruch 9, dadurch gekennzeichnet, dass die Differenz zwischen dem Radius (R) und dem Abstand (F) so groß ist, dass eine Kralle (9) der beweglichen Klemmbacke (8) die Picatinny-Schiene (1) im geöffneten Zustand des Klemmsystems frei gibt und das Gehäuse (2) mit dem Klemmsystem abgenommen werden kann, und dass im auf der Picatinny-Schiene (1) geklemmten Zustand die Kralle (9) der beweglichen Klemmbacke (8) an einer ersten unteren Flanke (24) der Picatinny-Schiene (1) und eine erste feste Backe (26) und eine zweite feste Backe (27) an einer zweiten unteren Flanke (25) der Picatinny-Schiene (1) anliegen und die Bodenfläche (50) des Gehäuses (2) auf der Oberfläche der Picatinny-Schiene (1) aufliegt.
  11. Klemmsystem nach einem der vorhergehenden Ansprüche, dadurch gekennzeichnet, dass das Gehäuse (2) an seiner Bodenfläche (50) einen Anschlag (28) aufweist, der im auf der Picatinny-Schiene (1) geklemmten Zustand in eine der Quernuten der Picatinny-Schiene (1) eingreift.
  12. Klemmsystem nach einem der vorhergehenden Ansprüche, dadurch gekennzeichnet, dass am Hebel (10) eine Sperrklinke (13) drehbar oder verschiebbar befestigt ist, die im auf der Picatinny-Schiene (1) geklemmten Zustand durch die Kraft einer Feder in einer Hinterschneidung am Gehäuse (2) einrastet.
  13. Klemmsystem nach Anspruch 12, dadurch gekennzeichnet, dass die Sperrklinke (13) über das vordere oder hintere Ende des Gehäuses (2) hinausragt.
  14. Klemmsystem nach einem der vorhergehenden Ansprüche, dadurch gekennzeichnet, dass der Hebel (10) über das vordere oder das hintere Ende des Gehäuses (2) hinausragt.
EP24000001.8A 2023-01-25 2024-01-04 Klemmsystem für zusatzgeräte auf einer picatinny-schiene Active EP4407271B1 (de)

Priority Applications (1)

Application Number Priority Date Filing Date Title
HRP20250978TT HRP20250978T1 (hr) 2023-01-25 2024-01-04 Stezni sustav za dodatke na picatinny šini

Applications Claiming Priority (1)

Application Number Priority Date Filing Date Title
DE202023000163.3U DE202023000163U1 (de) 2023-01-25 2023-01-25 Klemmsystem für Zusatzgeräte auf einer Picatinny-Schiene

Publications (2)

Publication Number Publication Date
EP4407271A1 EP4407271A1 (de) 2024-07-31
EP4407271B1 true EP4407271B1 (de) 2025-05-28

Family

ID=85773023

Family Applications (1)

Application Number Title Priority Date Filing Date
EP24000001.8A Active EP4407271B1 (de) 2023-01-25 2024-01-04 Klemmsystem für zusatzgeräte auf einer picatinny-schiene

Country Status (7)

Country Link
US (1) US20240247914A1 (de)
EP (1) EP4407271B1 (de)
DE (1) DE202023000163U1 (de)
FI (1) FI4407271T3 (de)
HR (1) HRP20250978T1 (de)
HU (1) HUE072555T2 (de)
PL (1) PL4407271T3 (de)

Families Citing this family (1)

* Cited by examiner, † Cited by third party
Publication number Priority date Publication date Assignee Title
USD1045002S1 (en) * 2022-07-18 2024-10-01 Samsun Yurt Savunma Sanayi Ve Ticaret Anonim Sirketi Corporation Gun sight

Family Cites Families (11)

* Cited by examiner, † Cited by third party
Publication number Priority date Publication date Assignee Title
DE1256113B (de) * 1963-11-13 1967-12-07 Heckler & Koch Gmbh Traeger fuer ein optisches Zielgeraet
US6606813B1 (en) 2002-03-08 2003-08-19 Exponent, Inc. Weapon accessory mounting apparatus
DE102004008211B4 (de) 2004-02-19 2006-04-13 Heckler & Koch Gmbh Montageeinrichtung für Feuerwaffen
US7308772B1 (en) * 2005-12-02 2007-12-18 Millett Industries, Inc. Articulated sight mount
US20100107467A1 (en) 2008-10-30 2010-05-06 Machining Technologies, Inc. Self adjusting throw lever and rail clamp system
DE202009017398U1 (de) 2009-12-22 2010-04-01 G. Recknagel E.K. Precision Tradition Technology Klemmsystem für Zusatzgeräte auf einer Picatinny-Schiene
DE202011002180U1 (de) 2011-02-01 2011-08-16 Christian Scherpf Zielfernrohrmontage
US8813412B2 (en) 2012-05-22 2014-08-26 Steven M. Rorick Quick detachable firearm accessory mount
US10132596B2 (en) 2015-10-13 2018-11-20 Philippe Bartoszewicz Technologies for firearm accessory mounting
DE202019106611U1 (de) 2019-08-20 2019-12-18 Michael Ali Kilic Zielfernrohr-Montagesystem mit Verriegelungshebel
US12359685B2 (en) * 2021-09-01 2025-07-15 Shadow Tech, LLC Clamp with cam lever

Also Published As

Publication number Publication date
DE202023000163U1 (de) 2023-03-15
US20240247914A1 (en) 2024-07-25
HRP20250978T1 (hr) 2025-10-24
FI4407271T3 (fi) 2025-08-25
PL4407271T3 (pl) 2025-11-17
HUE072555T2 (hu) 2025-11-28
EP4407271A1 (de) 2024-07-31

Similar Documents

Publication Publication Date Title
EP2122292B1 (de) Anschlussstück und anschlussstück mit visierelement
EP1716383B1 (de) Montageeinrichtung für feuerwaffen
DE19903321B4 (de) Ladehebelanordnung für eine Handfeuerwaffe
EP2956732B1 (de) Universelle zielfernrohrmontage für handfeuerwaffen
DE102018132756B4 (de) Umrüstsatz für eine Kurzwaffe
CH654908A5 (de) Schusswaffe fuer das praezisionsschiessen.
EP3368853A1 (de) Adapter zur anbringung wenigstens einer zusatzeinrichtung an einer selbstlade-feuerwaffe und mit diesem ausgestattete selbstlade-feuerwaffe
EP1200790A2 (de) Schulterstütze für eine handfeuerwaffe sowie sperrhebel für eine solche schulterstütze
DE19742248A1 (de) Verbesserungen an bzw. bezüglich von Feuerwaffen
EP4407271B1 (de) Klemmsystem für zusatzgeräte auf einer picatinny-schiene
EP3553457A1 (de) Vorrichtung zur variablen befestigung zweier optikeinrichtungen an einer waffe
EP3973244B1 (de) Obergehäuse für eine feuerwaffe
WO2008119098A1 (de) Befestigungsschiene für feuerwaffe
EP4224110B1 (de) Verstellbare visiereinrichtung
DE102007005142B4 (de) Anschlussstück
DE102006024508B4 (de) Halterung für Zusatzgeräte an Feuerwaffen
EP4116664A1 (de) Montagesystem für zieleinrichtung und zusatzeinrichtung
DE102005005232A1 (de) Montage zur Verbindung von Optiken mit Schusswaffen
DE202018101992U1 (de) Vorrichtung zur variablen Befestigung zweier Optikeinrichtungen an einer Waffe
EP0117845A1 (de) Visiereinrichtung für Waffen
DE202019106701U1 (de) Kompakte Montagevorrichtung
EP4040098A1 (de) Vorrichtung zur befestigung einer zusatzeinrichtung auf einer schusswaffe
EP4610589A1 (de) Vorrichtung zur befestigung einer zieleinrichtung an einer schusswaffe
AT507127B1 (de) Vorrichtung zur befestigung und ausrichtung eines visiers
DE202005001791U1 (de) Montage zur Verbindung von Optiken mit Schusswaffen

Legal Events

Date Code Title Description
REG Reference to a national code

Ref country code: HR

Ref legal event code: TUEP

Ref document number: P20250978T

Country of ref document: HR

PUAI Public reference made under article 153(3) epc to a published international application that has entered the european phase

Free format text: ORIGINAL CODE: 0009012

STAA Information on the status of an ep patent application or granted ep patent

Free format text: STATUS: THE APPLICATION HAS BEEN PUBLISHED

AK Designated contracting states

Kind code of ref document: A1

Designated state(s): AL AT BE BG CH CY CZ DE DK EE ES FI FR GB GR HR HU IE IS IT LI LT LU LV MC ME MK MT NL NO PL PT RO RS SE SI SK SM TR

STAA Information on the status of an ep patent application or granted ep patent

Free format text: STATUS: REQUEST FOR EXAMINATION WAS MADE

17P Request for examination filed

Effective date: 20240819

RBV Designated contracting states (corrected)

Designated state(s): AL AT BE BG CH CY CZ DE DK EE ES FI FR GB GR HR HU IE IS IT LI LT LU LV MC ME MK MT NL NO PL PT RO RS SE SI SK SM TR

GRAP Despatch of communication of intention to grant a patent

Free format text: ORIGINAL CODE: EPIDOSNIGR1

STAA Information on the status of an ep patent application or granted ep patent

Free format text: STATUS: GRANT OF PATENT IS INTENDED

INTG Intention to grant announced

Effective date: 20250220

GRAS Grant fee paid

Free format text: ORIGINAL CODE: EPIDOSNIGR3

GRAA (expected) grant

Free format text: ORIGINAL CODE: 0009210

STAA Information on the status of an ep patent application or granted ep patent

Free format text: STATUS: THE PATENT HAS BEEN GRANTED

AK Designated contracting states

Kind code of ref document: B1

Designated state(s): AL AT BE BG CH CY CZ DE DK EE ES FI FR GB GR HR HU IE IS IT LI LT LU LV MC ME MK MT NL NO PL PT RO RS SE SI SK SM TR

REG Reference to a national code

Ref country code: GB

Ref legal event code: FG4D

Free format text: NOT ENGLISH

REG Reference to a national code

Ref country code: CH

Ref legal event code: EP

REG Reference to a national code

Ref country code: IE

Ref legal event code: FG4D

Free format text: LANGUAGE OF EP DOCUMENT: GERMAN

Ref country code: DE

Ref legal event code: R096

Ref document number: 502024000049

Country of ref document: DE

REG Reference to a national code

Ref country code: FI

Ref legal event code: FGE

REG Reference to a national code

Ref country code: SE

Ref legal event code: TRGR

REG Reference to a national code

Ref country code: NL

Ref legal event code: MP

Effective date: 20250528

PG25 Lapsed in a contracting state [announced via postgrant information from national office to epo]

Ref country code: ES

Free format text: LAPSE BECAUSE OF FAILURE TO SUBMIT A TRANSLATION OF THE DESCRIPTION OR TO PAY THE FEE WITHIN THE PRESCRIBED TIME-LIMIT

Effective date: 20250528

REG Reference to a national code

Ref country code: LT

Ref legal event code: MG9D

PG25 Lapsed in a contracting state [announced via postgrant information from national office to epo]

Ref country code: GR

Free format text: LAPSE BECAUSE OF FAILURE TO SUBMIT A TRANSLATION OF THE DESCRIPTION OR TO PAY THE FEE WITHIN THE PRESCRIBED TIME-LIMIT

Effective date: 20250829

PG25 Lapsed in a contracting state [announced via postgrant information from national office to epo]

Ref country code: NL

Free format text: LAPSE BECAUSE OF FAILURE TO SUBMIT A TRANSLATION OF THE DESCRIPTION OR TO PAY THE FEE WITHIN THE PRESCRIBED TIME-LIMIT

Effective date: 20250528

PG25 Lapsed in a contracting state [announced via postgrant information from national office to epo]

Ref country code: BG

Free format text: LAPSE BECAUSE OF FAILURE TO SUBMIT A TRANSLATION OF THE DESCRIPTION OR TO PAY THE FEE WITHIN THE PRESCRIBED TIME-LIMIT

Effective date: 20250528

PG25 Lapsed in a contracting state [announced via postgrant information from national office to epo]

Ref country code: RS

Free format text: LAPSE BECAUSE OF FAILURE TO SUBMIT A TRANSLATION OF THE DESCRIPTION OR TO PAY THE FEE WITHIN THE PRESCRIBED TIME-LIMIT

Effective date: 20250828

REG Reference to a national code

Ref country code: HR

Ref legal event code: T1PR

Ref document number: P20250978

Country of ref document: HR

PG25 Lapsed in a contracting state [announced via postgrant information from national office to epo]

Ref country code: IS

Free format text: LAPSE BECAUSE OF FAILURE TO SUBMIT A TRANSLATION OF THE DESCRIPTION OR TO PAY THE FEE WITHIN THE PRESCRIBED TIME-LIMIT

Effective date: 20250928

PG25 Lapsed in a contracting state [announced via postgrant information from national office to epo]

Ref country code: LV

Free format text: LAPSE BECAUSE OF FAILURE TO SUBMIT A TRANSLATION OF THE DESCRIPTION OR TO PAY THE FEE WITHIN THE PRESCRIBED TIME-LIMIT

Effective date: 20250528

REG Reference to a national code

Ref country code: HU

Ref legal event code: AG4A

Ref document number: E072555

Country of ref document: HU