EP4354468A2 - Lastbank - Google Patents

Lastbank Download PDF

Info

Publication number
EP4354468A2
EP4354468A2 EP23203483.5A EP23203483A EP4354468A2 EP 4354468 A2 EP4354468 A2 EP 4354468A2 EP 23203483 A EP23203483 A EP 23203483A EP 4354468 A2 EP4354468 A2 EP 4354468A2
Authority
EP
European Patent Office
Prior art keywords
wind vane
air flow
load bank
paddle
housing
Prior art date
Legal status (The legal status is an assumption and is not a legal conclusion. Google has not performed a legal analysis and makes no representation as to the accuracy of the status listed.)
Granted
Application number
EP23203483.5A
Other languages
English (en)
French (fr)
Other versions
EP4354468B1 (de
EP4354468C0 (de
EP4354468A3 (de
Inventor
Wolfgang Pastoor
Current Assignee (The listed assignees may be inaccurate. Google has not performed a legal analysis and makes no representation or warranty as to the accuracy of the list.)
Jovyatlas GmbH
Original Assignee
Jovyatlas GmbH
Priority date (The priority date is an assumption and is not a legal conclusion. Google has not performed a legal analysis and makes no representation as to the accuracy of the date listed.)
Filing date
Publication date
Application filed by Jovyatlas GmbH filed Critical Jovyatlas GmbH
Publication of EP4354468A2 publication Critical patent/EP4354468A2/de
Publication of EP4354468A3 publication Critical patent/EP4354468A3/de
Application granted granted Critical
Publication of EP4354468B1 publication Critical patent/EP4354468B1/de
Publication of EP4354468C0 publication Critical patent/EP4354468C0/de
Active legal-status Critical Current
Anticipated expiration legal-status Critical

Links

Images

Classifications

    • HELECTRICITY
    • H01ELECTRIC ELEMENTS
    • H01CRESISTORS
    • H01C1/00Details
    • H01C1/01Mounting; Supporting
    • H01C1/014Mounting; Supporting the resistor being suspended between and being supported by two supporting sections
    • HELECTRICITY
    • H01ELECTRIC ELEMENTS
    • H01CRESISTORS
    • H01C1/00Details
    • H01C1/01Mounting; Supporting
    • HELECTRICITY
    • H01ELECTRIC ELEMENTS
    • H01CRESISTORS
    • H01C1/00Details
    • H01C1/08Cooling, heating or ventilating arrangements
    • HELECTRICITY
    • H01ELECTRIC ELEMENTS
    • H01CRESISTORS
    • H01C13/00Resistors not provided for elsewhere
    • H01C13/02Structural combinations of resistors
    • HELECTRICITY
    • H01ELECTRIC ELEMENTS
    • H01HELECTRIC SWITCHES; RELAYS; SELECTORS; EMERGENCY PROTECTIVE DEVICES
    • H01H35/00Switches operated by change of a physical condition
    • H01H35/24Switches operated by change of fluid pressure, by fluid pressure waves, or by change of fluid flow
    • H01H35/247Switches operated by change of fluid pressure, by fluid pressure waves, or by change of fluid flow the switch being of the reed switch type
    • HELECTRICITY
    • H01ELECTRIC ELEMENTS
    • H01HELECTRIC SWITCHES; RELAYS; SELECTORS; EMERGENCY PROTECTIVE DEVICES
    • H01H36/00Switches actuated by change of magnetic field or of electric field, e.g. by change of relative position of magnet and switch, by shielding
    • H01H36/0006Permanent magnet actuating reed switches
    • H01H36/0013Permanent magnet actuating reed switches characterised by the co-operation between reed switch and permanent magnet; Magnetic circuits

Definitions

  • the present invention relates to a load bank for converting electrical energy into thermal energy, comprising a waste heat area with an air inlet and an air outlet, a fan arranged in the waste heat area, which is suitable for forming an air flow directed from the air inlet to the air outlet, and at least one heating element arranged in the waste heat area, which can be flowed against by the air flow while releasing thermal energy.
  • Such load banks are also referred to as high-performance resistors and typically have heating resistors as heating elements in which electrical energy is converted into heat (thermal energy) and then dissipated by the fan through forced convection in order to prevent the heating elements from overheating.
  • Such load banks with convective heat dissipation have been known for many years and are used for a wide variety of applications, for example as braking resistors or load banks for generator testing.
  • air flow monitoring can also be used to detect defects in the fan or Disturbances in the air supply (for example due to a dirty air inlet or one covered by a sucked-in plastic film) can be detected.
  • air flow sensors designed as wind vane switches are typically used, which are arranged in the waste heat area so that the air flow can flow against them.
  • Wind vane switches have a housing and a wind vane paddle that is movably (in particular rotatably) mounted on the housing.
  • the wind vane paddle is arranged in such a way that the air flow to be monitored can flow against it. If the air flow exceeds a specific flow speed, the wind vane paddle is moved from an initial position by the air flow against a restoring force (continuously) via an intermediate position to an end position.
  • the wind vane paddle is typically coupled to a mechanically operated button that is activated by applying sufficient pressure to a control element and automatically returns to its starting position when the pressure is removed. If the wind vane paddle is in the starting position, it does not exert any pressure on the control element, the button is not activated and is in its first switching state. If, however, the wind vane paddle is in the end position, it exerts sufficient pressure on the control element, which activates the button and puts it into its second switching state. The end position typically marks a mechanical stop of the wind vane paddle on the housing of the associated wind vane switch.
  • the object of the present invention is to provide a load bank with convective heat dissipation with improved practical suitability, in particular with regard to safety, durability and reliability.
  • the air flow sensor comprises a housing, a wind vane paddle movably mounted on the housing, a REED switch arranged on the housing (or on the wind vane paddle) that can be actuated by a magnetic field, and a corresponding magnet arranged on the wind vane paddle (or on the housing) that generates the magnetic field.
  • the wind vane paddle can be brought into an initial position by a restoring force, in particular by a spring force or gravity, and when the air flow is sufficiently strong, can be brought continuously via an intermediate position into an end position, wherein the distance between the REED switch and the corresponding magnet in the intermediate position differs from the corresponding distance in the starting position such that the REED switch has a first switching state in the starting position and has a second switching state in the intermediate position.
  • the invention is based primarily on the finding that in the case of load banks with convective heat dissipation, the wind vane paddle often does not reach a stationary state despite a constant fan speed, but rather flutters (or vibrates) back and forth between the end position and an intermediate position (or the initial position).
  • This phenomenon is likely to be related in particular to the fact that relatively high flow velocities occur in the waste heat area of the load bank and that many sharp-edged components (e.g. heating elements) are flowed around in an extremely compact installation space, so that highly turbulent flow conditions develop.
  • the (high-frequency) fluttering or vibrating of the wind vane paddle also means that the button also switches quickly and frequently between the two switching states, since the button only has the second switching state when the wind vane paddle is in the end position. This in turn leads to high wear of the mechanically operating button.
  • the fluttering or vibration of the wind vane paddle and the high-frequency switching back and forth of the switching states make it difficult to draw reliable and meaningful conclusions about the state of the air flow.
  • the inventors have recognized that the synergistic interaction of the inventive features a load bank can be provided that has improved practical suitability in several respects:
  • By using the wind vane switch with REED switch in the waste heat area of the load bank according to the present invention it is possible to prevent high-frequency switching back and forth of the switching states despite the fluttering (or vibrating) of the wind vane paddle.
  • the fact that this is successful is related to the characteristic properties of the REED switch, which come into play here in the specific application of the load bank according to the invention.
  • a REED switch typically comprises two ferromagnetic switching tongues that are hermetically sealed and fused into a glass tube.
  • the switching tongues overlap and are typically spaced a few micrometers to about 1 mm apart. If the REED switch comes into the influence of a sufficiently strong and appropriately oriented magnetic field, the two switching tongues move towards each other against their spring action and the switch closes (this applies to REED switches designed as normally open).
  • the magnetic field that must be exceeded to open the switch is typically much weaker than the magnetic field required to close the switch.
  • the magnet and the REED switch are coordinated in such a way that the REED switch already has the second switching state for a wind vane paddle in the intermediate position; the wind vane paddle therefore does not have to be moved to the end position, as is usual in the prior art, for the switch to assume (have) the second switching state. In this way, it is possible for the wind vane paddle to move back and forth between the intermediate position and the end position. can flutter (or vibrate) without changing the switching state of the REED switch.
  • the invention can provide a load bank in which switch wear is reduced, thus increasing longevity and reliability. Furthermore, high-frequency switching back and forth of the switching states can be prevented, thus increasing the reliability of the air flow monitoring.
  • the REED switch is located on the housing or wind vane paddle or the magnet on the wind vane paddle or on the housing is intended to express that - of the two interacting components, REED switch and magnet - one of the two components is located on the housing and the other component on the wind vane paddle. If the REED switch is located on the housing, then the magnet is located on the wind vane paddle. If, on the other hand, the REED switch is located on the wind vane paddle, then the magnet is located on the housing.
  • a particularly compact load bank can be realized if the fan is designed as an axial fan and has a rotor with a rotor diameter and a rotor axis.
  • the distance between the wind vane paddle in the starting position and the rotor in the direction of the rotor axis is less than the rotor diameter, in particular less than half the rotor diameter, in particular less than a quarter of the rotor diameter.
  • the distance between the wind vane paddle in the starting position and the rotor in the direction of the rotor axis is defined as the shortest distance between the wind vane paddle in the starting position and the rotor in the direction of the rotor axis.
  • a particularly reliable detection of the air flow state can be achieved if the air flow sensor is arranged downstream of the fan (especially if the air flow is oriented vertically upwards). Alternatively, in special installation situations it can be advantageous if the air flow sensor is arranged upstream of the fan (especially if the air flow is oriented horizontally).
  • the at least one heating element is advantageously arranged downstream of the fan.
  • the at least one heating element is arranged upstream of the fan.
  • the REED switch is designed either as a normally open contact or as a normally close contact.
  • a particularly simple, reliable and energy-efficient load bank can be realized if the magnet is designed as a permanent magnet.
  • a further advantageous embodiment of the load bank according to the invention provides that the REED switch is arranged on the housing of the air flow sensor and the corresponding magnet is arranged on the wind vane paddle of the air flow sensor.
  • the movable part of the air flow sensor i.e. the wind vane paddle
  • the wind vane paddle does not have to be connected to electrical lines, which enables a simple and reliable design.
  • the air flow sensor further comprises a storage device which is immovably connected to the housing and on which the wind vane paddle rests in its initial position.
  • a particularly robust and simple air flow sensor can be realized if the wind vane paddle is mounted on the housing in a rotatable manner (in particular by means of a hinge).
  • the wind vane paddle in the intermediate position is rotated by at least 15°, in particular by at least 20°, 25° or 30°, compared to the starting position. If the wind vane paddle is then rotated in the intermediate position according to a further advantageous embodiment, If the end position is rotated by 35° relative to the starting position, the wind vane paddle can flutter back and forth within an angular range of 20° (or 15°, 10° or 5°) between the intermediate position and the end position without the REED switch leaving the second switching state.
  • the wind vane paddle in the end position is rotated by at least 5°, in particular at least 10°, 20° or 30°, relative to the intermediate position.
  • the wind vane paddle can therefore flutter (vibrate) back and forth in the area spanning between the intermediate position and the end position without the switching state of the REED switch changing.
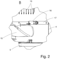
  • the Figures 1 and 2 each show a load bank 1 or a section thereof in a sectional view.
  • the load bank 1 has a housing body 3 resting on feet 2, which has several lateral housing body segments 4.
  • Support cross members 5 extend between the lateral housing body segments 4.
  • An opening on the underside of the housing body 3 provided with a first grille 6 serves as an air inlet 7
  • an opening on the top of the housing body 3 provided with a second grille 8 serves as an air outlet 9.
  • a waste heat area 10 extends between the air inlet 7 and the air outlet 9.
  • the heating modules 12 are arranged one above the other and each screwed to two housing body segments 4.
  • the heating modules 12 each comprise a plurality of heating elements 13 designed as heating plates, by means of which electrical energy can be converted into thermal energy.
  • a fan 14 arranged upstream of the heating modules 12 in the waste heat area 10 (supported on a support cross member 5) is designed to form an air flow directed from the air inlet 7 to the air outlet 9, which flows onto the heating elements 13 while releasing thermal energy.
  • the fan 14 is designed as an axial fan with a rotor 15, a rotor diameter D and a rotor axis R.
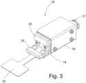
  • An air flow sensor designed as a wind vane sensor 16, which can be flowed onto by the air flow, is arranged between the fan 14 and the heating modules 12 in the waste heat area 10 and is screwed to the housing 3 by means of a sensor holder 17.
  • the wind vane sensor 16 has a housing 18 and a wind vane paddle 20 which is rotatably mounted on the housing 18 by means of a hinge 19.
  • the distance A between the wind vane paddle 20 (in the Figures 1 and 2 shown initial position) and the rotor 15 in the direction of the rotor axis R is less than a quarter of the rotor diameter D.
  • the housing 18 comprises an electrical connection 21, by means of which the wind vane sensor 16 is connected to a control unit (not shown) of the load bank 1. Also arranged on the housing 18 is a REED switch 22, which is designed as a normally open contact and can be actuated by a magnetic field and can assume a first and a second switching state. In the first switching state, no current can flow through the REED switch 22. However, if a sufficiently strong and appropriately oriented magnetic field acts on the REED switch 22, two switching tongues arranged in the REED switch 22 are pressed against each other against their spring force, whereby the REED switch 22 is actuated and the second switching state is assumed, in which current can flow through the REED switch.
  • the housing 18 On the underside, the housing 18 has a protruding, immovable (relative to the housing 18) storage device 23 (cf. Figures 4A to 4C ). On the Figures 4A to 4C On the visible side of the housing 18 there are screws 18S which enable the wind vane sensor 16 to be attached to the sensor holder 17.
  • a corresponding (permanent) magnet 24 which generates the magnetic field is arranged on the wind vane paddle 20 and is firmly connected to the wind vane paddle 20.
  • the Figures 4A to 4C show the wind vane sensor 16 according to Figure 3 each with different positions of the wind vane paddle 20. To illustrate the different positions of the wind vane paddle 20, the Figures 4A to 4C a horizontal line H is drawn.
  • the wind vane paddle 20 is in the starting position and rests in this position on the storage device 23.
  • the distance between the REED switch 22 and the magnet 24 is a_A in the starting position, the horizontal H forms a (negative) angle of w_A with the wind vane paddle 20, which is approximately -5°.
  • Figure 4B shows the wind vane sensor 16 with the wind vane paddle 20 in the intermediate position.
  • the wind vane paddle 20 neither rests on the storage device 23 nor does the magnet 24 rest on the REED switch 22.
  • the distance between the REED switch 22 and the magnet 24 in the intermediate position is a_Z
  • the horizontal H forms a (positive) angle of w_Z with the wind vane paddle 20, which is approximately 25°.
  • Figure 4C shows the wind vane sensor 16 with the wind vane paddle 20 in the end position.
  • the magnet 24 is in contact with the REED switch 22.
  • the distance between the REED switch 22 and the magnet 24 in the end position is a_E
  • the horizontal H forms a (positive) angle of w_E with the wind vane paddle 20, which is approximately 30°.
  • the wind vane paddle 20 is moved by the air flow around the axis of rotation of the hinge 19 into the intermediate position according to Figure 4B filmed.
  • the wind vane paddle 20 is rotated by the angle w_A + w_Z, i.e. by about 30°, relative to the starting position.
  • the wind vane paddle 20 can be rotated beyond the intermediate position around the axis of rotation of the hinge 19 into the final position according to Figure 4C in which the magnet 24 rests against the REED switch 22.
  • the magnet 24 and the REED switch 22 thus form a mechanical stop, which defines the end position of the wind vane paddle 20.
  • the wind vane paddle 20 In the end position, the wind vane paddle 20 is rotated by the angle w_A + w_E, i.e. approximately 35°, relative to the starting position.
  • the wind vane paddle 20 is rotated by the angle w_E - w_Z, i.e. approximately 5°, relative to the intermediate position (according to Figure 4B ) turned.
  • Gravity acts as a restoring force that can bring the wind vane paddle 20 from the end position or the intermediate position back to the starting position.
  • the distance a_A between the REED switch 22 and the magnet 24 is relatively large and the influence of the magnetic field of the (permanent) magnet 24 on the REED switch 22 is so small that it is in the first switching state; therefore, the REED switch 22 is not acted upon by a sufficiently strong magnetic field. If the wind vane paddle 20 is now moved by a corresponding flow of air against the force of gravity acting as a restoring force around the axis of rotation of the hinge 19 into the intermediate position according to Figure 4B rotated, the distance a_Z between the permanent magnet 24 and the REED switch 22 decreases.
  • the magnetic field of the permanent magnet 24 acting on the REED switch 22 is sufficiently strong in the intermediate position (of the wind vane paddle 20) that the REED switch 22 is activated and the second switching state is assumed.
  • the wind vane paddle 20 can now be moved between the intermediate position and the end position (according to 0 Figure 4C ) can be moved back and forth as desired (flutter or vibrate) without the switching state changing.

Landscapes

  • Engineering & Computer Science (AREA)
  • Microelectronics & Electronic Packaging (AREA)
  • Physics & Mathematics (AREA)
  • Fluid Mechanics (AREA)
  • Indicating Or Recording The Presence, Absence, Or Direction Of Movement (AREA)

Abstract

Die vorliegende Erfindung betrifft eine Lastbank (1) zur Umwandlung von elektrischer Energie in thermische Energie umfassend einen Abwärmebereich (10), einen im Abwärmebereich (10) angeordneten Ventilator (14), der geeignet ist einen Luftstrom auszubilden, mindestens ein im Abwärmebereich (10) angeordnetes Heizelement (13), das vom Luftstrom unter Abgabe von thermischer Energie anströmbar ist, und ein im Abwärmebereich (10) angeordneter und vom Luftstrom anströmbarer als Windfahnensensor (16) ausgeführter Luftstromsensor. Der Luftstromsensor umfasst ein Gehäuse (18), ein beweglich am Gehäuse (18) gelagertes Windfahnenpaddel (20), einen am Gehäuse (18) angeordneten durch ein Magnetfeld betätigbaren REED-Schalter und einen am Windfahnenpaddel (20) angeordneten das Magnetfeld erzeugenden korrespondierenden Magneten. Das Windfahnenpaddel (20) ist durch eine Rückstellkraft in eine Ausgangsposition bringbar und bei ausreichend starker Anströmung durch den Luftstrom über eine Zwischenposition in eine Endposition bringbar, wobei sich der Abstand zwischen dem REED-Schalter und dem korrespondierenden Magnet in der Zwischenposition vom entsprechenden Abstand in der Ausgangsposition derart unterscheidet, dass der REED-Schalter in der Ausgangsposition einen ersten Schaltzustand aufweist und in der Zwischenposition einen zweiten Schaltzustand aufweist.

Description

  • Die vorliegende Erfindung betrifft eine Lastbank zur Umwandlung von elektrischer Energie in thermische Energie umfassend einen Abwärmebereich mit einem Lufteinlass und einem Luftauslass, einen im Abwärmebereich angeordneten Ventilator, der geeignet ist einen vom Lufteinlass zum Luftauslass gerichteten Luftstrom auszubilden und mindestens ein im Abwärmebereich angeordnetes Heizelement, das vom Luftstrom unter Abgabe von thermischer Energie anströmbar ist.
  • Derartige Lastbänke werden auch als Hochleistungswiderstände bezeichnet und weisen als Heizelemente typischerweise Heizwiderstände auf, in denen elektrische Energie in Wärme (thermische Energie) umgewandelt und dann mittels des Ventilators durch erzwungene Konvektion abgeführt wird, um eine Überhitzung der Heizelemente zu verhindern. Derartige Lastbänke mit konvektiver Wärmeabfuhr sind seit vielen Jahren bekannt und kommen für die verschiedensten Anwendungen zum Einsatz, beispielsweise als Bremswiderstände oder Lastbänke für die Generatoren-Prüfung.
  • Aus dem großen Fundus der Offenbarungen sei beispielhaft das Dokument DE 2020 12100521 U1 herausgegriffen, welches eine speziell an Windenergieanlagen angepasste Lastbank der eingangs beschriebenen Art beschreibt.
  • Bei Lastbanken mit konvektiver Wärmeabfuhr ist es der Betriebssicherheit zuträglich, wenn der Luftstrom daraufhin überwacht wird, ob er ausreichend stark ausgeprägt ist. Auf diese Weise kann beispielsweise sichergestellt werden, dass die Ventilatordrehzahl immer ausreichend groß ist, um die gewünschte Wärmeabfuhr zu erzielen. Ferner können mittels einer Luftstromüberwachung auch Defekte des Ventilators oder Störungen der Luftzufuhr (beispielsweise durch einen verdreckten oder durch eine angesaugte Plastikfolie verdeckten Lufteinlass) detektiert werden.
  • Hierzu werden typischerweise als Windfahnenschalter ausgeführte Luftstromsensoren verwendet, die im Abwärmebereich vom Luftstrom anströmbar angeordnet sind.
  • Windfahnenschalter weisen ein Gehäuse und ein beweglich (insbesondere drehbar) am Gehäuse gelagertes Windfahnenpaddel auf. Das Windfahnenpaddel ist derart angeordnet, dass es vom zu überwachenden Luftstrom angeströmt werden kann. Überschreitet der Luftstrom eine spezifische Strömungsgeschwindigkeit, wird das Windfahnenpaddel von einer Ausgangsposition vom Luftstrom gegen eine Rückstellkraft (kontinuierlich) über eine Zwischenposition in eine Endposition bewegt.
  • Das Windfahnenpaddel ist dabei typischerweise mit einem mechanisch arbeitenden Taster gekoppelt, der durch ausreichend großen Druck auf ein Bedienelement betätigt wird und nach Wegnahme des Drucks selbstständig in die Ausgangslage zurückkehrt. Befindet sich das Windfahnenpaddel nun in der Ausgangsposition, übt dieses keinen Druck auf das Bedienelement aus, der Taster wird nicht betätigt und befindet sich in seinem ersten Schaltzustand. Befindet sich das Windfahnenpaddel hingegen in der Endposition, übt dieses einen ausreichend großen Druck auf das Bedienelement aus, wodurch der Taster betätigt und in seinen zweiten Schaltzustand versetzt wird. Die Endposition markiert dabei typischerweise einen mechanischen Anschlag des Windfahnenpaddels am Gehäuse des zugehörigen Windfahnenschalters.
  • Auf diese Weise können aus den Schaltzuständen des Tasters Rückschlüsse darauf gezogen werden, ob der Luftstrom eine spezifische Strömungsgeschwindigkeit aufweist (oder nicht) und basierend darauf z.B. die Ventilatordrehzahl beeinflusst werden.
  • Vor diesem Hintergrund liegt der vorliegenden Erfindung die Aufgabe zugrunde eine Lastbank mit konvektiver Wärmeabfuhr mit verbesserter Praxistauglichkeit bereitzustellen, insbesondere bezogen auf Sicherheit, Langlebigkeit und Zuverlässigkeit.
  • Gelöst wird diese Aufgabe durch die Lastbank gemäß Anspruch 1. Die Lastbank zur Umwandlung von elektrischer Energie in thermische Energie umfasst hierzu
    • einen Abwärmebereich mit einem Lufteinlass und einem Luftauslass,
    • einen im Abwärmebereich angeordneten Ventilator, der geeignet ist einen vom Lufteinlass zum Luftauslass gerichteten Luftstrom auszubilden,
    • mindestens ein im Abwärmebereich angeordnetes Heizelement, das vom Luftstrom unter Abgabe von thermischer Energie anströmbar ist, und
    • ein im Abwärmebereich angeordneter und vom Luftstrom anströmbarer als Windfahnensensor ausgeführter Luftstromsensor.
  • Der Luftstromsensor umfasst dabei ein Gehäuse, ein beweglich am Gehäuse gelagertes Windfahnenpaddel, einen am Gehäuse (oder am Windfahnenpaddel) angeordneten durch ein Magnetfeld betätigbaren REED-Schalter und einen am Windfahnenpaddel (oder am Gehäuse) angeordneten das Magnetfeld erzeugenden korrespondierenden Magneten. Das Windfahnenpaddel ist durch eine Rückstellkraft, insbesondere durch eine Federkraft oder die Schwerkraft, in eine Ausgangsposition bringbar und bei ausreichend starker Anströmung durch den Luftstrom kontinuierlich über eine Zwischenposition in eine Endposition bringbar, wobei sich der Abstand zwischen dem REED-Schalter und dem korrespondierenden Magnet in der Zwischenposition vom entsprechenden Abstand in der Ausgangsposition derart unterscheidet, dass der REED-Schalter in der Ausgangsposition einen ersten Schaltzustand aufweist und in der Zwischenposition einen zweiten Schaltzustand aufweist.
  • Die Erfindung basiert dabei maßgeblich auf der Erkenntnis, dass sich bei Lastbanken mit konvektiver Wärmeabfuhr im Stand der Technik trotz konstanter Ventilatordrehzahl oftmals kein stationärer Zustand des Windfahnenpaddels einstellt, sondern dieses zwischen der Endposition und einer Zwischenposition (oder der Anfangsposition) hin und her flattert (bzw. vibriert). Dieses Phänomen dürfte dabei insbesondere damit zusammenhängen, dass im Abwärmebereich der Lastbank relativ große Strömungsgeschwindigkeiten auftreten und in einem äußerst kompakten Bauraum viele scharfkantige Einbauten (z.B. Heizelemente) umströmt werden, so dass sich stark turbulente Strömungsverhältnisse ausbilden. Im Stand der Technik führt das (hochfrequente) Flattern bzw. Vibrieren des Windfahnenpaddels dazu, dass auch der Taster schnell und häufig zwischen beiden Schaltzuständen hin und her schaltet, da der Taster nur dann den zweiten Schaltzustand aufweist, wenn sich das Windfahnenpaddel in der Endposition befindet. Dies wiederum führt zu einem hohen Verschleiß des mechanisch arbeitenden Tasters. Darüber hinaus wird es durch das Flattern bzw. Vibrieren des Windfahnenpaddels und das hochfrequente Hin- und Herschalten der Schaltzustände erschwert, verlässliche und sinnvolle Rückschlüsse auf den Zustand des Luftstroms zu ziehen.
  • Vor diesem Hintergrund haben die Erfinder erkannt, dass durch das synergetische Zusammenspiel der erfindungsgemäßen Merkmale eine Lastbank bereitgestellt werden kann, die in mehrfacher Hinsicht über eine verbesserte Praxistauglichkeit verfügt:
    Denn durch die Verwendung des Windfahnenschalters mit REED-Schalter im Abwärmebereich der Lastbank gemäß der vorliegenden Erfindung kann erreicht werden, dass trotz Flattern (bzw. Vibrieren) des Windfahnenpaddels ein hochfrequentes Hin- und Herschalten der Schaltzustände verhindert wird. Dass dies gelingt, hängt mit den charakteristischen Eigenarten des REED-Schalters zusammen, die hier in der konkreten Anwendung der erfindungsgemäßen Lastbank zur Entfaltung kommen.
  • Ein REED-Schalter umfasst typischerweise zwei ferromagnetische Schaltzungen, die hermetisch dicht verschlossen in ein Glasröhrchen eingeschmolzen sind. Die Schaltzungen überlappen sich dabei und haben typischerweise einen Abstand von einigen Mikrometern bis ca. 1 mm zueinander. Gelangt der REED-Schalter in den Einflussbereich eines ausreichend starken und passend orientierten Magnetfeldes, bewegen sich die beiden Schaltzungen gegen deren Federwirkung aufeinander zu und der Schalter schließt (dies gilt für als Schließer (normally open) ausgeführte REED-Schalter). Das zum Öffnen zu unterschreitende Magnetfeld ist dabei typischerweise wesentlich schwächer als das zum Schließen des Schalters benötigte Magnetfeld.
  • Der Magnet und der REED-Schalter sind im Rahmen der vorliegenden Erfindung dabei derart aufeinander abgestimmt, dass der REED-Schalter bereits für ein in der Zwischenposition befindliches Windfahnenpaddel den zweiten Schaltzustand aufweist; das Windfahnenpaddel muss also nicht wie im Stand der Technik üblich in die Endposition versetzt werden, damit der Schalter den zweiten Schaltzustand einnimmt (aufweist). Auf diese Weise wird ermöglicht, dass das Windfahnenpaddel zwischen der Zwischenposition und der Endposition hin und her flattern (bzw. vibrieren) kann, ohne dass sich der Schaltzustand des REED-Schalters ändert.
  • Dieser erfindungsgemäße Ansatz stellt eine fundamentale Abkehr vom Stand der Technik dar, da dort oftmals mit Strömungsleitblechen oder durch Vorsehen von Strömungsberuhigungsstrecken versucht wird, das hochfrequente Hin- und Herschalten der Schaltzustände zu vermindern, indem das Flattern (bzw. Vibrieren) des Windfahnenpaddels unterbunden wird.
  • Auf diese Weise kann durch die Erfindung eine Lastbank bereitgestellt werden, bei der der Schalterverschleiß reduziert und somit die Langlebigkeit und die Zuverlässigkeit erhöht wird. Ferner kann das hochfrequente Hin- und Herschalten der Schaltzustände verhindert und somit die Zuverlässigkeit der Luftstromüberwachung erhöht werden.
  • Durch die Formulierung, dass der REED-Schalter am Gehäuse oder Windfahnenpaddel bzw. der Magnet am Windfahnenpaddel oder am Gehäuse angeordnet ist, soll zum Ausdruck kommen, dass - von den beiden zusammenwirkenden Komponenten REED-Schalter und Magnet - eine der beiden Komponenten am Gehäuse und die andere Komponente am Windfahnenpaddel angeordnet ist. Ist der REED-Schalter also am Gehäuse angeordnet, dann ist der Magnet am Windfahnenpaddel angeordnet. Ist der REED-Schalter hingegen am Windfahnenpaddel angeordnet, so ist der Magnet am Gehäuse angeordnet.
  • Gemäß einer bevorzugten Ausführungsform der Erfindung lässt sich eine besonders kompakte Lastbank realisieren, wenn der Ventilator als Axialventilator ausgeführt ist und einen Rotor mit einem Rotordurchmesser und einer Rotorachse aufweist.
  • In besonders vorteilhafter Weise ist der Abstand zwischen dem Windfahnenpaddel in der Ausgangsposition und dem Rotor in Richtung der Rotorachse geringer als der Rotordurchmesser, insbesondere geringer als der halbe Rotordurchmesser, insbesondere geringer als ein Viertel des Rotordurchmessers. Auf diese Weise lässt sich eine besonders kompakte Lastbank realisieren. Die Ventilator-nahe Positionierung des Windfahnensensors bei gleichzeitig hoher Zuverlässigkeit der Luftstromzustandserfassung wird dabei durch das erfindungsgemäße Zusammenspiel der einzelnen Merkmale erst ermöglicht.
  • Der Abstand zwischen dem Windfahnenpaddel in der Ausgangsposition und dem Rotor in Richtung der Rotorachse ist dabei definiert als die geringste Entfernung zwischen dem Windfahnenpaddel in der Ausgangsposition und dem Rotor in Richtung der Rotorachse.
  • Eine besonders zuverlässige Erfassung des Luftstromzustands lässt sich realisieren, wenn der Luftstromsensor luftstromabwärts vom Ventilator angeordnet ist (insbesondere, wenn der Luftstrom vertikal nach oben orientiert ist). Alternativ kann es in besonderen Einbausituationen vorteilhaft sein, wenn der Luftstromsensor luftstromaufwärts vom Ventilator angeordnet ist (insbesondere, wenn der Luftstrom horizontal orientiert ist).
  • Gemäß einer weiteren Ausführungsform ist in vorteilhafterweise das mindestens eine Heizelement luftstromabwärts vom Ventilator angeordnet. Alternativ kann es in gewissen Einbausituationen von Vorteil sein, wenn das mindestens eine Heizelement luftstromaufwärts vom Ventilator angeordnet ist.
  • Gemäß zweier vorteilhafter Ausführungsformen der Erfindung ist der REED-Schalter entweder als Schließer (normally open) oder als Öffner (normally close) ausgeführt.
  • Eine besonders einfache, zuverlässige und energieeffiziente Lastbank lässt sich realisieren, wenn der Magnet als Permanentmagnet ausgeführt ist.
  • Eine weitere vorteilhafte Ausführungsform der erfindungsgemäßen Lastbank sieht vor, dass der REED-Schalter am Gehäuse des Luftstromsensors angeordnet ist und der korrespondierende Magnet am Windfahnenpaddel des Luftstromsensors angeordnet ist. Auf diese Weise muss durch die Anordnung des als Permanentmagnet ausgeführten Magnets am Windfahnenpaddel der bewegliche Teil des Luftstromsensors (also das Windfahnenpaddel) nicht mit elektrischen Leitungen erschlossen werden, was ein einfaches und zuverlässiges Design ermöglicht.
  • Besonders vorteilhafter Weise weist ferner der Luftstromsensor eine unbeweglich mit dem Gehäuse verbundene Ablagevorrichtung auf, auf der das Windfahnenpaddel in seiner Ausgangsposition aufliegt.
  • Ein besonders robuster und einfacher Luftstromsensor lässt sich realisieren, wenn das Windfahnenpaddel drehbar (insbesondere mittels eines Scharniers) am Gehäuse gelagert ist.
  • Dabei ist in ganz besonders vorteilhafter Weise das Windfahnenpaddel in der Zwischenposition mindestens um 15°, insbesondere mindestens um 20°, 25° oder 30°, gegenüber der Ausgangsposition gedreht. Wenn das Windfahnenpaddel dann noch gemäß einer weiteren vorteilhaften Ausführungsform in der Endposition um 35° gegenüber der Ausgangsposition gedreht ist, kann das Windfahnenpaddel in einem Winkelbereich von 20° (bzw. 15°, 10° oder 5°) zwischen der Zwischenposition und der Endposition hin und her flattern, ohne dass der REED-Schalter den zweiten Schaltzustand verlässt.
  • Gemäß einer weiteren ganz besonders bevorzugten Ausführungsform der Lastbank ist das Windfahnenpaddel in der Endposition mindestens 5°, insbesondere mindestens 10°, 20° oder 30°, gegenüber der Zwischenposition gedreht. Das Windfahnenpaddel kann also in dem zwischen der Zwischenposition und der Endposition aufgespannten Bereich hin und her flattern (vibrieren), ohne dass sich der Schaltzustand des REED-Schalters verändert.
  • Nachfolgend wird ein Ausführungsbeispiel der Erfindung anhand der Zeichnung näher erläutert. Dabei zeigt
  • Fig. 1
    eine erfindungsgemäße Lastbank in einer Schnittansicht,
    Fig. 2
    einen vergrößerten Ausschnitt aus Figur 1,
    Fig. 3
    den Windfahnensensor gemäß den Figuren 1 und 2 in einer perspektivischen Schrägansicht in der Ausgangsposition,
    Fig. 4A bis 4C
    den Windfahnensensor gemäß Figur 3 in einer Seitenansicht mit dem Windfahnenpaddel in der Ausgangsposition (Fig. 4A), der Zwischenposition (Fig. 4B) und der Endposition (Fig. 4C).
  • Zunächst soll Bezug nehmend auf die Figuren 1 und 2 der generelle Aufbau der Lastbank erläutert werden, bevor spezifische Details mit Verweis auf die Figuren 3 bis 4C ausgeführt werden.
  • Die Figuren 1 und 2 zeigen jeweils eine Lastbank 1 bzw. einen Ausschnitt daraus in einer Schnittansicht. Die Lastbank 1 weist einen auf Standfüßen 2 ruhenden Gehäusekorpus 3 auf, der mehrere seitliche Gehäusekorpussegmente 4 aufweist. Zwischen den seitlichen Gehäusekorpussegmenten 4 erstrecken sich Stütztraversen 5.
  • Eine mit einem ersten Gitter 6 versehene Öffnung auf der Unterseite des Gehäusekorpus' 3 dient als Lufteinlass 7, eine mit einem zweiten Gitter 8 versehene Öffnung auf der Oberseite des Gehäusekorpus' 3 als Luftauslass 9. Zwischen dem Lufteinlass 7 und dem Luftauslass 9 erstreckt sich ein Abwärmebereich 10. Oberhalb des Luftauslass' 9 befinden sich zwei Abdeck- und Leitbleche 11.
  • Im Abwärmebereich 10 sind zwei Heizmodule 12 übereinander angeordnet und mit jeweils zwei Gehäusekorpussegmenten 4 verschraubt. Die Heizmodule 12 umfassen jeweils eine Vielzahl von als Heizplatten ausgeführten Heizelementen 13, mittels derer elektrische Energie in thermische Energie umwandelbar ist. Ein luftstromaufwärts von den Heizmodulen 12 im Abwärmebereich 10 angeordneter (auf einer Stütztraverse 5 abgestützter) Ventilator 14 ist dazu eingerichtet einen vom Lufteinlass 7 zum Luftauslass 9 gerichteten Luftstrom auszubilden, der die Heizelemente 13 unter Abgabe von thermischer Energie anströmt. Der Ventilator 14 ist dabei als Axialventilator mit einem Rotor 15, einem Rotordurchmesser D und einer Rotorachse R ausgeführt. Zwischen dem Ventilator 14 und den Heizmodulen 12 ist im Abwärmebereich 10 ein vom Luftstrom anströmbarer als Windfahnensensor 16 ausgeführter Luftstromsensor angeordnet und mittels einer Sensorhalterung 17 mit dem Gehäuse 3 verschraubt.
  • Wie insbesondere in den Figuren 3 bis 4C ersichtlich ist, weist der Windfahnensensor 16 ein Gehäuse 18 und ein mittels eines Scharniers 19 drehbar beweglich am Gehäuse 18 gelagertes Windfahnenpaddel 20 auf. Der Abstand A zwischen dem Windfahnenpaddel 20 (in der in den Figuren 1 und 2 dargestellten Ausgangsposition) und dem Rotor 15 in Richtung der Rotorachse R ist geringer als ein Viertel des Rotordurchmessers D.
  • Das Gehäuse 18 umfasst einen elektrischen Anschluss 21, mittels dem der Windfahnensensor 16 mit einer (nicht dargestellten) Steuereinheit der Lastbank 1 verbunden ist. Am Gehäuse 18 ist ferner ein als Schließer ausgeführter durch ein Magnetfeld betätigbarer REED-Schalter 22 angeordnet, der einen ersten und einen zweiten Schaltzustand annehmen kann. Im ersten Schaltzustand kann kein Strom durch den REED-Schalter 22 fließen. Wirkt auf den REED-Schalter 22 jedoch ein ausreichend starkes und passend orientiertes Magnetfeld, werden zwei im REED-Schalter 22 angeordnete Schaltzungen gegen deren Federkraft aufeinandergedrückt, wodurch der REED-Schalter 22 betätigt und der zweite Schaltzustand eingenommen wird, in dem Strom durch den REED-Schalter fließen kann.
  • An der Unterseite weist das Gehäuse 18 eine hervorstehende, (gegenüber dem Gehäuse 18) unbewegliche Ablagevorrichtung 23 auf (vgl. Figuren 4A bis 4C). Auf der in den Figuren 4A bis 4C sichtbaren Seite des Gehäuses 18 befinden sich Schrauben 18S, die eine Befestigung des Windfahnensensors 16 an der Sensorhalterung 17 ermöglichen.
  • Am Windfahnenpaddel 20 ist ein das Magnetfeld erzeugender korrespondierender (Permanent-)Magnet 24 angeordnet und mit dem Windfahnenpaddel 20 fest verbunden.
  • Die Figuren 4A bis 4C zeigen den Windfahnensensor 16 gemäß Figur 3 jeweils mit unterschiedlichen Positionen des Windfahnenpaddels 20. Zur Verdeutlichung der unterschiedlichen Positionen des Windfahnenpaddels 20 ist in den Figuren 4A bis 4C eine Horizontale H eingezeichnet.
  • Gemäß der Figur 4A befindet sich das Windfahnenpaddel 20 in der Ausgangsposition und liegt in dieser auf der Ablagevorrichtung 23 auf. Der Abstand zwischen dem REED-Schalter 22 und dem Magneten 24 beträgt in der Ausgangsposition a_A, die Horizontale H schließt mit dem Windfahnenpaddel 20 einen (negativen) Winkel von w_A ein, der etwa -5° beträgt.
  • Figur 4B zeigt den Windfahnensensor 16 mit dem Windfahnenpaddel 20 in der Zwischenposition. Das Windfahnenpaddel 20 liegt in dieser Zwischenposition weder auf der Ablagevorrichtung 23 auf, noch liegt der Magnet 24 am REED-Schalter 22 an. Der Abstand zwischen dem REED-Schalter 22 und dem Magneten 24 beträgt in der Zwischenposition a_Z, die Horizontale H schließt mit dem Windfahnenpaddel 20 einen (positiven) Winkel von w_Z ein, der etwa 25° beträgt.
  • Figur 4C zeigt den Windfahnensensor 16 mit dem Windfahnenpaddel 20 in der Endposition. Der Magnet 24 liegt am REED-Schalter 22 an. Der Abstand zwischen dem REED-Schalter 22 und dem Magneten 24 beträgt in der Endposition a_E, die Horizontale H schließt mit dem Windfahnenpaddel 20 einen (positiven) Winkel von w_E ein, der etwa 30° beträgt.
  • Ausgehend von der Ausgangsposition gemäß Figur 4A wird das Windfahnenpaddel 20 bei ausreichend starker Anströmung durch den Luftstrom um die Drehachse des Scharniers 19 in die Zwischenposition gemäß Figur 4B gedreht. In der Zwischenposition ist das Windfahnenpaddel 20 um den Winkel w_A + w_Z, also um etwa 30°, gegenüber der Ausgangsposition gedreht.
  • Das Windfahnenpaddel 20 kann dabei über die Zwischenposition hinaus um die Drehachse des Scharniers 19 in die Endposition gemäß Figur 4C gedreht werden, in der der Magnet 24 am REED-Schalter 22 anliegt. Der Magnet 24 und der REED-Schalter 22 bilden damit einen mechanischen Anschlag aus, durch den die Endposition des Windfahnenpaddels 20 definiert wird. In der Endposition ist das Windfahnenpaddel 20 um den Winkel w_A + w_E, also in etwa um 35°, gegenüber der Ausgangsposition gedreht. In der Endposition (gemäß Figur 4C) ist das Windfahnenpaddel 20 um den Winkel w_E - w_Z, also in etwa um 5°, gegenüber der Zwischenposition (gemäß Figur 4B) gedreht.
  • Die Schwerkraft fungiert dabei als Rückstellkraft, die das Windfahnenpaddel 20 aus der Endposition bzw. der Zwischenposition zurück in die Ausgangsposition bringen kann.
  • Befindet sich das Windfahnenpaddel 20 in der in den Figuren 1 bis 4A dargestellten Ausgangsposition, so ist der Abstand a_A zwischen dem REED-Schalter 22 und dem Magneten 24 relativ groß und der Einfluss des Magnetfelds des (Permanent-)Magneten 24 auf den REED-Schalter 22 derart klein, dass sich dieser im ersten Schaltzustand befindet; auf den REED-Schalter 22 wirkt also kein ausreichend starkes Magnetfeld. Wird das Windfahnenpaddel 20 nun bedingt durch eine entsprechende Anströmung durch den Luftstrom gegen die als Rückstellkraft wirkende Schwerkraft um die Drehachse des Scharniers 19 in die Zwischenposition gemäß Figur 4B gedreht, verringert sich der Abstand a_Z zwischen dem Permanentmagnet 24 und dem REED-Schalter 22. Dies hat zur Folge, dass die Stärke des auf den REED-Schalter 22 wirkenden Magnetfelds des Permanentmagneten 24 erhöht wird. Das auf den REED-Schalter 22 wirkende Magnetfeld des Permanentmagneten 24 ist in der Zwischenposition (des Windfahnenpaddels 20) dabei ausreichend stark, dass der REED-Schalter 22 betätigt und der zweite Schaltzustand eingenommen wird. Das Windfahnenpaddel 20 kann nun zwischen der Zwischenposition und der Endposition (gemäß0 Figur 4C) beliebig hin und her bewegt werden (flattern bzw. vibrieren), ohne dass sich der Schaltzustand ändert.

Claims (12)

  1. Lastbank (1) zur Umwandlung von elektrischer Energie in thermische Energie umfassend
    - einen Abwärmebereich (10) mit einem Lufteinlass (7) und einem Luftauslass (9),
    - einen im Abwärmebereich (10) angeordneten Ventilator (14), der geeignet ist einen vom Lufteinlass (7) zum Luftauslass (9) gerichteten Luftstrom auszubilden,
    - mindestens ein im Abwärmebereich (10) angeordnetes Heizelement (13), das vom Luftstrom unter Abgabe von thermischer Energie anströmbar ist, und
    - ein im Abwärmebereich (10) angeordneter und vom Luftstrom anströmbarer als Windfahnensensor (16) ausgeführter Luftstromsensor,
    wobei
    - der Luftstromsensor umfasst ein Gehäuse (18), ein beweglich am Gehäuse (18) gelagertes Windfahnenpaddel (20), einen am Gehäuse (18) oder am Windfahnenpaddel (20) angeordneten durch ein Magnetfeld betätigbaren REED-Schalter (22) und einen am Windfahnenpaddel (20) oder am Gehäuse (18) angeordneten das Magnetfeld erzeugenden korrespondierenden Magneten (24),
    - das Windfahnenpaddel (20) durch eine Rückstellkraft, insbesondere durch eine Federkraft oder die Schwerkraft, in eine Ausgangsposition bringbar und bei ausreichend starker Anströmung durch den Luftstrom kontinuierlich über eine Zwischenposition in eine Endposition bringbar ist, und
    - sich der Abstand (a_Z) zwischen dem REED-Schalter und dem korrespondierenden Magnet in der Zwischenposition vom entsprechenden Abstand in der Ausgangsposition (a_A) derart unterscheidet, dass der REED-Schalter (22) in der Ausgangsposition einen ersten Schaltzustand aufweist und in der Zwischenposition einen zweiten Schaltzustand aufweist.
  2. Lastbank (1) nach Anspruch 1, wobei der Ventilator (14) als Axialventilator ausgeführt ist und einen Rotor (15) mit einem Rotordurchmesser (D) und einer Rotorachse (R) aufweist.
  3. Lastbank (1) nach Anspruch 2, wobei der Abstand (A) zwischen dem Windfahnenpaddel (20) in der Ausgangsposition und dem Rotor (15) in Richtung der Rotorachse (R) geringer ist als der Rotordurchmesser (D), insbesondere geringer ist als der halbe Rotordurchmesser (D), insbesondere geringer ist als ein Viertel des Rotordurchmessers (D).
  4. Lastbank (1) nach einem der vorhergehenden Ansprüche, wobei der Luftstromsensor luftstromabwärts oder luftstromaufwärts vom Ventilator (15) angeordnet ist.
  5. Lastbank (1) nach einem der vorhergehenden Ansprüche, wobei das mindestens eine Heizelement (13) luftstromabwärts oder luftstromaufwärts vom Ventilator (15) angeordnet ist.
  6. Lastbank (1) nach einem der vorhergehenden Ansprüche, wobei der REED-Schalter (22) als Schließer oder als Öffner ausgeführt ist.
  7. Lastbank (1) nach einem der vorhergehenden Ansprüche, wobei der Magnet (24) als Permanentmagnet ausgeführt ist.
  8. Lastbank (1) nach einem der vorhergehenden Ansprüche, wobei der REED-Schalter (22) am Gehäuse (18) des Luftstromsensors angeordnet ist und der korrespondierende Magnet (24) am Windfahnenpaddel (20) des Luftstromsensors angeordnet ist.
  9. Lastbank (1) nach einem der vorhergehenden Ansprüche, wobei der Luftstromsensor eine unbeweglich mit dem Gehäuse (18) verbundenen Ablagevorrichtung (24) aufweist, auf der das Windfahnenpaddel (20) in seiner Ausgangsposition aufliegt.
  10. Lastbank (1) nach einem der vorhergehenden Ansprüche, wobei das Windfahnenpaddel (20) drehbar am Gehäuse (18) gelagertes ist.
  11. Lastbank (1) nach Anspruch 10, wobei das Windfahnenpaddel (20) in der Zwischenposition mindestens um 15°, insbesondere mindestens um 20°, 25° oder 30°, gegenüber der Ausgangsposition gedreht ist.
  12. Lastbank (1) nach Anspruch 10 oder 11, wobei das Windfahnenpaddel (20) in der Endposition mindestens 5°, insbesondere mindestens 10°, 20° oder 30°, gegenüber der Zwischenposition gedreht ist.
EP23203483.5A 2022-10-13 2023-10-13 Lastbank Active EP4354468B1 (de)

Applications Claiming Priority (1)

Application Number Priority Date Filing Date Title
DE102022126710.5A DE102022126710B3 (de) 2022-10-13 2022-10-13 Lastbank

Publications (4)

Publication Number Publication Date
EP4354468A2 true EP4354468A2 (de) 2024-04-17
EP4354468A3 EP4354468A3 (de) 2025-04-30
EP4354468B1 EP4354468B1 (de) 2025-12-10
EP4354468C0 EP4354468C0 (de) 2025-12-10

Family

ID=88412118

Family Applications (1)

Application Number Title Priority Date Filing Date
EP23203483.5A Active EP4354468B1 (de) 2022-10-13 2023-10-13 Lastbank

Country Status (2)

Country Link
EP (1) EP4354468B1 (de)
DE (1) DE102022126710B3 (de)

Citations (1)

* Cited by examiner, † Cited by third party
Publication number Priority date Publication date Assignee Title
DE202012100521U1 (de) 2012-02-16 2012-04-26 Jovyatlas Elektrische Umformtechnik GmbH Lastwiderstand

Family Cites Families (2)

* Cited by examiner, † Cited by third party
Publication number Priority date Publication date Assignee Title
US4342133A (en) 1981-03-12 1982-08-03 The Hoover Company Vacuum cleaner air flow sensing arrangement
DE202022103996U1 (de) 2022-07-15 2022-08-19 Jovyatlas Gmbh Lastbank

Patent Citations (1)

* Cited by examiner, † Cited by third party
Publication number Priority date Publication date Assignee Title
DE202012100521U1 (de) 2012-02-16 2012-04-26 Jovyatlas Elektrische Umformtechnik GmbH Lastwiderstand

Also Published As

Publication number Publication date
EP4354468B1 (de) 2025-12-10
DE102022126710B3 (de) 2024-02-08
EP4354468C0 (de) 2025-12-10
EP4354468A3 (de) 2025-04-30

Similar Documents

Publication Publication Date Title
DE3813091C2 (de) Luftströmungsschalter für Luftleitungen
DE2710356A1 (de) Belueftungsgehaeuse
WO2015075103A1 (de) Diagonal- oder axiallüfter mit gekühltem antrieb
DE112022003294T5 (de) Elektroventil
EP4354468B1 (de) Lastbank
EP2257772B1 (de) Strömungswächter
DE102012022650A1 (de) Entfeuchtungsgerät für ein gasförmiges Medium
DE7514002U (de) Luftmengenregler
EP2896906B1 (de) Mechanisch selbsttätig arbeitender Volumenstromregler
DE102019208437A1 (de) Ventilatoreinrichtung
DE1300193B (de) Verstellvorrichtung fuer die Fluegel eines Ventilators
DE19703321C2 (de) Vorrichtung zur Verstellung des Stößels eines Ventils
EP3280893B1 (de) Kühleinrichtung zur verwendung in einem kraftwerk
DE10250873B4 (de) Luftstromwächter
DE19516276C2 (de) Seitenkanalgebläse
WO2014117991A2 (de) Vakuumpumpe insbesondere wälzkolbenpumpe
DE102015015650A1 (de) Kühlsystem eines Elektromotors mit Lüfter
DE202006004839U1 (de) Rückschlagklappenvorrichtung
DE102007038641A1 (de) Anordnung zum Verstellen eines Ventils
DE2503623A1 (de) Belueftungseinrichtung fuer einen elektrischen schaltschrank
DE102017009508A1 (de) Luftregelsystem für ein Fahrzeug
DE102018216210A1 (de) Schnell auslösende Verklinkung, Auslösemechanismus und Schnellerder, Schnellschalter oder Kurzschließer
DE202009007956U1 (de) Vorrichtung zum Abführen von Wärme aus einem Geräteschrank
DE102011082225A1 (de) Projektor
DE3441295C2 (de) Vorrichtung an Ventilatoren zur Regelung des Luftvolumenstromes

Legal Events

Date Code Title Description
PUAI Public reference made under article 153(3) epc to a published international application that has entered the european phase

Free format text: ORIGINAL CODE: 0009012

STAA Information on the status of an ep patent application or granted ep patent

Free format text: STATUS: THE APPLICATION HAS BEEN PUBLISHED

AK Designated contracting states

Kind code of ref document: A2

Designated state(s): AL AT BE BG CH CY CZ DE DK EE ES FI FR GB GR HR HU IE IS IT LI LT LU LV MC ME MK MT NL NO PL PT RO RS SE SI SK SM TR

PUAL Search report despatched

Free format text: ORIGINAL CODE: 0009013

AK Designated contracting states

Kind code of ref document: A3

Designated state(s): AL AT BE BG CH CY CZ DE DK EE ES FI FR GB GR HR HU IE IS IT LI LT LU LV MC ME MK MT NL NO PL PT RO RS SE SI SK SM TR

RIC1 Information provided on ipc code assigned before grant

Ipc: H01C 1/08 20060101ALI20250324BHEP

Ipc: H01C 1/02 20060101ALI20250324BHEP

Ipc: G01P 5/10 20060101ALI20250324BHEP

Ipc: H01C 1/014 20060101AFI20250324BHEP

STAA Information on the status of an ep patent application or granted ep patent

Free format text: STATUS: REQUEST FOR EXAMINATION WAS MADE

17P Request for examination filed

Effective date: 20250528

GRAP Despatch of communication of intention to grant a patent

Free format text: ORIGINAL CODE: EPIDOSNIGR1

STAA Information on the status of an ep patent application or granted ep patent

Free format text: STATUS: GRANT OF PATENT IS INTENDED

INTG Intention to grant announced

Effective date: 20250703

GRAS Grant fee paid

Free format text: ORIGINAL CODE: EPIDOSNIGR3

GRAA (expected) grant

Free format text: ORIGINAL CODE: 0009210

STAA Information on the status of an ep patent application or granted ep patent

Free format text: STATUS: THE PATENT HAS BEEN GRANTED

AK Designated contracting states

Kind code of ref document: B1

Designated state(s): AL AT BE BG CH CY CZ DE DK EE ES FI FR GB GR HR HU IE IS IT LI LT LU LV MC ME MK MT NL NO PL PT RO RS SE SI SK SM TR

REG Reference to a national code

Ref country code: CH

Ref legal event code: F10

Free format text: ST27 STATUS EVENT CODE: U-0-0-F10-F00 (AS PROVIDED BY THE NATIONAL OFFICE)

Effective date: 20251210

Ref country code: GB

Ref legal event code: FG4D

Free format text: NOT ENGLISH

REG Reference to a national code

Ref country code: DE

Ref legal event code: R096

Ref document number: 502023002426

Country of ref document: DE

REG Reference to a national code

Ref country code: IE

Ref legal event code: FG4D

Free format text: LANGUAGE OF EP DOCUMENT: GERMAN

U01 Request for unitary effect filed

Effective date: 20251210

U07 Unitary effect registered

Designated state(s): AT BE BG DE DK EE FI FR IT LT LU LV MT NL PT RO SE SI

Effective date: 20251216