EP4198599B1 - Optisches bildaufnahmesystem, bildaufnahmeeinheit und elektronische vorrichtung - Google Patents

Optisches bildaufnahmesystem, bildaufnahmeeinheit und elektronische vorrichtung Download PDF

Info

Publication number
EP4198599B1
EP4198599B1 EP22168715.5A EP22168715A EP4198599B1 EP 4198599 B1 EP4198599 B1 EP 4198599B1 EP 22168715 A EP22168715 A EP 22168715A EP 4198599 B1 EP4198599 B1 EP 4198599B1
Authority
EP
European Patent Office
Prior art keywords
lens element
image capturing
image
optical system
capturing optical
Prior art date
Legal status (The legal status is an assumption and is not a legal conclusion. Google has not performed a legal analysis and makes no representation as to the accuracy of the status listed.)
Active
Application number
EP22168715.5A
Other languages
English (en)
French (fr)
Other versions
EP4198599A1 (de
Inventor
Chun-Che Hsueh
Chun-Yen Chen
Meng-Kuan Cho
Current Assignee (The listed assignees may be inaccurate. Google has not performed a legal analysis and makes no representation or warranty as to the accuracy of the list.)
Largan Precision Co Ltd
Original Assignee
Largan Precision Co Ltd
Priority date (The priority date is an assumption and is not a legal conclusion. Google has not performed a legal analysis and makes no representation as to the accuracy of the date listed.)
Filing date
Publication date
Application filed by Largan Precision Co Ltd filed Critical Largan Precision Co Ltd
Publication of EP4198599A1 publication Critical patent/EP4198599A1/de
Application granted granted Critical
Publication of EP4198599B1 publication Critical patent/EP4198599B1/de
Active legal-status Critical Current
Anticipated expiration legal-status Critical

Links

Images

Classifications

    • GPHYSICS
    • G02OPTICS
    • G02BOPTICAL ELEMENTS, SYSTEMS OR APPARATUS
    • G02B9/00Optical objectives characterised both by the number of the components and their arrangements according to their sign, i.e. + or -
    • G02B9/34Optical objectives characterised both by the number of the components and their arrangements according to their sign, i.e. + or - having four components only
    • G02B9/58Optical objectives characterised both by the number of the components and their arrangements according to their sign, i.e. + or - having four components only arranged - + + -
    • GPHYSICS
    • G02OPTICS
    • G02BOPTICAL ELEMENTS, SYSTEMS OR APPARATUS
    • G02B13/00Optical objectives specially designed for the purposes specified below
    • G02B13/001Miniaturised objectives for electronic devices, e.g. portable telephones, webcams, PDAs, small digital cameras
    • G02B13/0015Miniaturised objectives for electronic devices, e.g. portable telephones, webcams, PDAs, small digital cameras characterised by the lens design
    • G02B13/002Miniaturised objectives for electronic devices, e.g. portable telephones, webcams, PDAs, small digital cameras characterised by the lens design having at least one aspherical surface
    • G02B13/004Miniaturised objectives for electronic devices, e.g. portable telephones, webcams, PDAs, small digital cameras characterised by the lens design having at least one aspherical surface having four lenses
    • GPHYSICS
    • G02OPTICS
    • G02BOPTICAL ELEMENTS, SYSTEMS OR APPARATUS
    • G02B13/00Optical objectives specially designed for the purposes specified below
    • G02B13/18Optical objectives specially designed for the purposes specified below with lenses having one or more non-spherical faces, e.g. for reducing geometrical aberration
    • GPHYSICS
    • G02OPTICS
    • G02BOPTICAL ELEMENTS, SYSTEMS OR APPARATUS
    • G02B9/00Optical objectives characterised both by the number of the components and their arrangements according to their sign, i.e. + or -
    • G02B9/34Optical objectives characterised both by the number of the components and their arrangements according to their sign, i.e. + or - having four components only
    • GPHYSICS
    • G03PHOTOGRAPHY; CINEMATOGRAPHY; ANALOGOUS TECHNIQUES USING WAVES OTHER THAN OPTICAL WAVES; ELECTROGRAPHY; HOLOGRAPHY
    • G03BAPPARATUS OR ARRANGEMENTS FOR TAKING PHOTOGRAPHS OR FOR PROJECTING OR VIEWING THEM; APPARATUS OR ARRANGEMENTS EMPLOYING ANALOGOUS TECHNIQUES USING WAVES OTHER THAN OPTICAL WAVES; ACCESSORIES THEREFOR
    • G03B30/00Camera modules comprising integrated lens units and imaging units, specially adapted for being embedded in other devices, e.g. mobile phones or vehicles

Definitions

  • the present disclosure relates to an image capturing optical system, an image capturing unit and an electronic device, more particularly to an image capturing optical system and an image capturing unit applicable to an electronic device.
  • US 6 417 975 B1 discloses a taking lens system comprising five lens elements.
  • US 2015/0370043 A1 discloses a mini wide-angle lens module comprising five lens elements.
  • US 2021/0165188 A1 discloses a lens system and an electronic device for fingerprint identification.
  • EP 0 529 646 A1 discloses a zoom lens comprising nine to twelve lens elements.
  • an image capturing optical system includes four lens elements.
  • the four lens elements are, in order from an object side to an image side along an optical path, a first lens element, a second lens element, a third lens element and a fourth lens element.
  • Each of the four lens elements has an object-side surface facing toward the object side and an image-side surface facing toward the image side.
  • the first lens element has negative refractive power, and the image-side surface of the first lens element is concave in a paraxial region thereof.
  • the second lens element has positive refractive power.
  • the third lens element has positive refractive power, the object-side surface of the third lens element is concave in a paraxial region thereof, and the image-side surface of the third lens element is convex in a paraxial region thereof.
  • the fourth lens element has negative refractive power, the object-side surface of the fourth lens element is convex in a paraxial region thereof, and the image-side surface of the fourth lens element is concave in a paraxial region thereof. There is an air gap in a paraxial region between the second lens element and the third lens element.
  • the image capturing optical system further comprises an aperture stop located between the second lens element and the third lens element.
  • a curvature radius of the object-side surface of the second lens element is R3
  • a curvature radius of the image-side surface of the second lens element is R4
  • a focal length of the image capturing optical system is f
  • a central thickness of the second lens element is CT2
  • a central thickness of the third lens element is CT3, the following conditions are satisfied: ⁇ 1.65 ⁇ R 3 + R 4 / R 3 ⁇ R 4 ; and 0.60 ⁇ f / CT 2 + CT 3 ⁇ 2.50 .
  • an image capturing unit includes one of the aforementioned image capturing optical systems and an image sensor, wherein the image sensor is disposed on an image surface of the image capturing optical system.
  • an electronic device includes the aforementioned image capturing unit.
  • An image capturing optical system includes four lens elements.
  • the four lens elements are, in order from an object side to an image side along an optical path, a first lens element, a second lens element, a third lens element and a fourth lens element.
  • Each of the four lens elements has an object-side surface facing toward the object side and an image-side surface facing toward the image side.
  • the first lens element has negative refractive power. Therefore, it is favorable for reducing the size of the first lens element and the second lens element of the image capturing optical system.
  • the image-side surface of the first lens element is concave in a paraxial region thereof. Therefore, it is favorable for adjusting the lens shape of the first lens element, thereby correcting aberrations such as astigmatism.
  • the second lens element has positive refractive power. Therefore, it is favorable for combining the second lens element with the first lens element so to as correct aberrations such as spherical aberration.
  • the third lens element has positive refractive power. Therefore, it is favorable for combining the third lens element with the fourth lens element so as to correct coma at the adjacent field of view.
  • the object-side surface of the third lens element is concave in a paraxial region thereof. Therefore, it is favorable for adjusting the travelling direction of light, thereby balancing the size distribution of the image capturing optical system.
  • the image-side surface of the third lens element is convex in a paraxial region thereof. Therefore, it is favorable for adjusting the lens shape of the third lens element, thereby correcting aberrations such as spherical aberration.
  • the fourth lens element has negative refractive power. Therefore, it is favorable for reducing the size of the third lens element and the fourth lens element of the image capturing optical system.
  • the object-side surface of the fourth lens element is convex in a paraxial region thereof. Therefore, it is favorable for adjusting the travelling direction of light, thereby increasing the size of the image surface.
  • the image-side surface of the fourth lens element is concave in a paraxial region thereof. Therefore, it is favorable for adjusting the lens shape on the image-side surface of the fourth lens element, thereby reducing the back focal length.
  • At least one of the object-side surface and the image-side surface of the fourth lens element can have at least one inflection point. Therefore, it is favorable for adjusting the incident angle on the image surface, thereby reducing the influence of temperature changes on the size of light spot at the peripheral field of view.
  • Fig. 29 shows a schematic view of inflection points P of the object-side surface and the image-side surface of the fourth lens element E4 according to the 1st embodiment of the present disclosure.
  • the abovementioned inflection points on the fourth lens element in Fig. 29 are only exemplary.
  • Each of lens surfaces in various embodiments of the present disclosure may also have one or more inflection points.
  • the image capturing optical system further includes an aperture stop located between the second lens element and the third lens element. Therefore, it is favorable for adjusting the position of the aperture stop in the image capturing optical system, thereby increasing the field of view and the size of the aperture.
  • each of the second through third lens elements can be a single and non-cemented lens element. Therefore, it is favorable for adjusting the relative positions of the second lens element and the third lens element, thereby reducing the difficulty in the lens manufacturing and assembly.
  • the manufacturing process of cemented lenses is more complex than the non-cemented lenses, particularly when an image-side surface of one lens element and an object-side surface of the following lens element need to have accurate curvatures to ensure both lenses being properly cemented.
  • those two lens elements might not be well cemented due to misalignment, which is not favorable for the image quality.
  • having an air gap in a paraxial region between adjacent lens elements of the image capturing optical system in the present disclosure is favorable for preventing the problems of the cemented lens elements so as to improve the yield rate and to increase flexibility in designing the surface shapes of lens elements, thereby reducing the size of the image capturing optical system and correcting aberrations.
  • a focal length of the image capturing optical system is f
  • a central thickness of the second lens element is CT2
  • a central thickness of the third lens element is CT3
  • the following condition is satisfied: 0.60 ⁇ f/(CT2+CT3) ⁇ 2.50. Therefore, it is favorable for adjusting the ratio of the sum of the thicknesses of the second and third lens elements to the focal length of the image capturing optical system, thereby obtaining a proper balance between increasing in the image height and reduction in the total track length of the image capturing optical system.
  • the following condition can also be satisfied: 0.60 ⁇ f/(CT2+CT3) ⁇ 1.52.
  • a curvature radius of the object-side surface of the fourth lens element is R7
  • a curvature radius of the image-side surface of the fourth lens element is R8, the following condition can be satisfied: -0.85 ⁇ (R7+R8)/(R7-R8). Therefore, it is favorable for adjusting the lens shape and the refractive power of the fourth lens element, thereby reducing the back focal length. Moreover, the following condition can also be satisfied: -0.30 ⁇ (R7+R8)/(R7-R8) ⁇ 8.00.
  • an f-number of the image capturing optical system is Fno
  • the following condition can be satisfied: 1.40 ⁇ Fno ⁇ 2.50. Therefore, it is favorable for adjusting the ratio of the size of the aperture and the focal length, thereby increasing the amount of incident light into the image capturing optical system and obtaining good image quality even in the dark.
  • the following condition can also be satisfied: 1.50 ⁇ Fno ⁇ 2.40.
  • the following condition can also be satisfied: 1.50 ⁇ Fno ⁇ 2.30.
  • the following condition can also be satisfied: 1.60 ⁇ Fno ⁇ 2.25.
  • the focal length of the image capturing optical system is f
  • a focal length of the second lens element is f2
  • the following condition can be satisfied: 0.65 ⁇ f/f2 ⁇ 2.50. Therefore, it is favorable for adjusting the refractive power of the second lens element, thereby reducing the size of light spot at the central field of view.
  • the following condition can also be satisfied: 0.65 ⁇ f/f2 ⁇ 2.00.
  • the focal length of the image capturing optical system is f
  • the curvature radius of the object-side surface of the second lens element is R3
  • the following condition can be satisfied: 0.70 ⁇ f/R3 ⁇ 2.00. Therefore, it is favorable for adjusting the ratio of the curvature radius of the object-side surface of the second lens element to the focal length of the image capturing optical system, thereby reducing the size of the image capturing optical system and correcting aberrations.
  • the following condition can be satisfied: 0.40 ⁇ TD/SL ⁇ 1.50. Therefore, it is favorable for adjusting the ratio of the distance between the object-side surface of the first lens element and the image-side surface of the fourth lens element to the distance between the aperture stop and the image surface, thereby reducing the size of the image capturing optical system. Moreover, the following condition can also be satisfied: 0.60 ⁇ TD/SL ⁇ 1.30. Moreover, the following condition can also be satisfied: 0.65 ⁇ TD/SL ⁇ 1.30.
  • the focal length of the image capturing optical system is f
  • an axial distance between the second lens element and the third lens element is T23
  • the following condition can be satisfied: 2.50 ⁇ f/T23 ⁇ 15.0. Therefore, it is favorable for adjusting the ratio of the focal length of the image capturing optical system to the distance between the second lens element and the third lens element, thereby properly distributing the size of the image capturing optical system and reducing assembly error.
  • Dr5s an axial distance between the object-side surface of the third lens element and the aperture stop
  • Dr6s an axial distance between the image-side surface of the third lens element and the aperture stop
  • the following condition can be satisfied: -0.80 ⁇ Dr5s/Dr6s ⁇ 1.00. Therefore, it is favorable for adjusting the relative positions of the third lens element and the aperture stop, thereby reducing influence of the temperature effect on the relative illuminance at the peripheral field of view.
  • the value of Dr3s, Dr4s, Dr5s, or Dr6s is positive when being defined in a direction from the object side to the image side and is negative when being defined in a direction from the image side to the object side.
  • Dr3s, Dr4s, Dr5s, and Dr6s are negative; if the aperture stop is located between the second lens element and the third lens element, Dr3s and Dr4s are positive, while Dr5s and Dr6s are negative; and if the aperture stop is located between the third lens element and the fourth lens element, Dr3s, Dr4s, Dr5s, and Dr6s are positive.
  • the focal length of the image capturing optical system is f
  • a composite focal length of the second lens element and the third lens element is f23
  • the following condition can be satisfied: 0.60 ⁇ f/f23 ⁇ 1.80. Therefore, it is favorable for adjusting the overall refractive power from the second lens element to the third lens element, thereby correcting astigmatism of aberrations.
  • the focal length of the image capturing optical system is f
  • a curvature radius of the object-side surface of the first lens element is R1
  • the following condition can be satisfied: -0.30 ⁇ f/R1 ⁇ 0.50. Therefore, it is favorable for adjusting the ratio of the focal length of the image capturing optical system to the curvature radius of the object-side surface of the first lens element, thereby increasing the field of view.
  • the following condition can also be satisfied: -0.20 ⁇ f/R1 ⁇ 0.34.
  • the following condition can be satisfied: 11.0 ⁇ T23/T34 ⁇ 19.0. Therefore, it is favorable for adjusting the ratio of the lens distance between the second and third lens elements to the lens distance between the third and fourth lens elements, thereby adjusting the distribution of lens elements and balancing the size distribution of the image capturing optical system.
  • the focal length of the image capturing optical system is f
  • the axial distance between the second lens element and the third lens element is T23
  • the axial distance between the third lens element and the fourth lens element is T34
  • the following condition can be satisfied: 2.00 ⁇ f/(T23+T34) ⁇ 6.20. Therefore, it is favorable for adjusting the ratio of the focal length of the image capturing optical system to the sum of the lens distances among the second through fourth lens elements, thereby reducing the possibility of impact and increasing assembly yield rate.
  • the focal length of the image capturing optical system is f
  • an axial distance between the first lens element and the second lens element is T12
  • the axial distance between the second lens element and the third lens element is T23
  • the following condition can be satisfied: 0.55 ⁇ f/(T12+T23) ⁇ 2.85. Therefore, it is favorable for adjusting the ratio of the focal length of the image capturing optical system to the sum of the lens distances among the first through third lens elements, thereby reducing focal length variation due to temperature changes.
  • the lens elements of the image capturing optical system can be made of either glass or plastic material.
  • the refractive power distribution of the image capturing optical system may be more flexible, and the influence on imaging caused by external environment temperature change may be reduced.
  • the glass lens element can either be made by grinding or molding.
  • the manufacturing costs can be effectively reduced.
  • surfaces of each lens element can be arranged to be spherical or aspheric. Spherical lens elements are simple in manufacture. Aspheric lens element design allows more control variables for eliminating aberrations thereof and reducing the required number of lens elements, and the total track length of the image capturing optical system can therefore be effectively shortened.
  • the aspheric surfaces may be formed by plastic injection molding or glass molding.
  • a lens surface when a lens surface is aspheric, it means that the lens surface has an aspheric shape throughout its optically effective area, or a portion(s) thereof.
  • one or more of the lens elements' material may optionally include an additive which generates light absorption and interference effects and alters the lens elements' transmittance in a specific range of wavelength for a reduction in unwanted stray light or color deviation.
  • the additive may optionally filter out light in the wavelength range of 600 nm to 800 nm to reduce excessive red light and/or near infrared light; or may optionally filter out light in the wavelength range of 350 nm to 450 nm to reduce excessive blue light and/or near ultraviolet light from interfering the final image.
  • the additive may be homogeneously mixed with a plastic material to be used in manufacturing a mixed-material lens element by injection molding.
  • the additive may be coated on the lens surfaces to provide the abovementioned effects.
  • each of an object-side surface and an image-side surface has a paraxial region and an off-axis region.
  • the paraxial region refers to the region of the surface where light rays travel close to the optical axis
  • the off-axis region refers to the region of the surface away from the paraxial region.
  • an inflection point is a point on the surface of the lens element at which the surface changes from concave to convex, or vice versa.
  • a critical point is a non-axial point of the lens surface where its tangent is perpendicular to the optical axis.
  • the image surface of the image capturing optical system can be flat or curved, especially a curved surface being concave facing towards the object side of the image capturing optical system.
  • an image correction unit such as a field flattener
  • a field flattener can be optionally disposed between the lens element closest to the image side of the image capturing optical system along the optical path and the image surface for correction of aberrations such as field curvature.
  • the optical properties of the image correction unit such as curvature, thickness, index of refraction, position and surface shape (convex or concave surface with spherical, aspheric, diffractive or Fresnel types), can be adjusted according to the design of the image capturing unit.
  • a preferable image correction unit is, for example, a thin transparent element having a concave object-side surface and a planar image-side surface, and the thin transparent element is disposed near the image surface.
  • At least one light-folding element such as a prism or a mirror, can be optionally disposed between an imaged object and the image surface on the imaging optical path, such that the image capturing optical system can be more flexible in space arrangement, and therefore the dimensions of an electronic device is not restricted by the total track length of the image capturing optical system.
  • Fig. 30 shows a schematic view of a configuration of a light-folding element in an image capturing optical system according to one embodiment of the present disclosure
  • Fig. 31 shows a schematic view of another configuration of a light-folding element in an image capturing optical system according to one embodiment of the present disclosure.
  • the image capturing optical system can have, in order from an imaged object (not shown in the figures) to an image surface IMG along an optical path, a first optical axis OA1, a light-folding element LF and a second optical axis OA2.
  • the light-folding element LF can be disposed between the imaged object and a lens group LG of the image capturing optical system as shown in Fig. 30 or disposed between a lens group LG of the image capturing optical system and the image surface IMG as shown in Fig. 31 .
  • Fig. 32 shows a schematic view of a configuration of two light-folding elements in an image capturing optical system according to one embodiment of the present disclosure. In Fig.
  • the image capturing optical system can have, in order from an imaged object (not shown in the figure) to an image surface IMG along an optical path, a first optical axis OA1, a first light-folding element LF1, a second optical axis OA2, a second light-folding element LF2 and a third optical axis OA3.
  • the first light-folding element LF1 is disposed between the imaged object and a lens group LG of the image capturing optical system
  • the second light-folding element LF2 is disposed between the lens group LG of the image capturing optical system and the image surface IMG
  • the travelling direction of light on the first optical axis OA1 can be the same direction as the travelling direction of light on the third optical axis OA3 as shown in Fig. 32 .
  • the image capturing optical system can be optionally provided with three or more light-folding elements, and the present disclosure is not limited to the type, amount and position of the light-folding elements of the embodiments disclosed in the aforementioned figures.
  • the image capturing optical system can include at least one stop, such as an aperture stop, a glare stop or a field stop. Said glare stop or said field stop is set for eliminating the stray light and thereby improving image quality thereof.
  • an aperture stop can be configured as a front stop or a middle stop.
  • a front stop disposed between an imaged object and the first lens element can provide a longer distance between an exit pupil of the image capturing optical system and the image surface to produce a telecentric effect, and thereby improves the image-sensing efficiency of an image sensor (for example, CCD or CMOS).
  • a middle stop disposed between the first lens element and the image surface is favorable for enlarging the viewing angle of the image capturing optical system and thereby provides a wider field of view for the same.
  • the image capturing optical system can include an aperture control unit.
  • the aperture control unit may be a mechanical component or a light modulator, which can control the size and shape of the aperture through electricity or electrical signals.
  • the mechanical component can include a movable member, such as a blade assembly or a light shielding sheet.
  • the light modulator can include a shielding element, such as a filter, an electrochromic material or a liquid-crystal layer.
  • the aperture control unit controls the amount of incident light or exposure time to enhance the capability of image quality adjustment.
  • the aperture control unit can be the aperture stop of the present disclosure, which changes the f-number to obtain different image effects, such as the depth of field or lens speed.
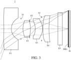
  • Fig. 1 is a schematic view of an image capturing unit according to the 1st embodiment of the present disclosure.
  • Fig. 2 shows, in order from left to right, spherical aberration curves, astigmatic field curves and a distortion curve of the image capturing unit according to the 1st embodiment.
  • the image capturing unit 1 includes the image capturing optical system (its reference numeral is omitted) of the present disclosure and an image sensor IS.
  • the image capturing optical system includes, in order from an object side to an image side along an optical axis, a first lens element E1, a second lens element E2, an aperture stop ST, a third lens element E3, a fourth lens element E4, a filter E5 and an image surface IMG.
  • the image capturing optical system includes four lens elements (E1, E2, E3 and E4) with no additional lens element disposed between each of the adjacent four lens elements, wherein there is an air gap in a paraxial region between the second lens element E2 and the third lens element E3.
  • the first lens element E1 with negative refractive power has an object-side surface being convex in a paraxial region thereof and an image-side surface being concave in a paraxial region thereof.
  • the first lens element E1 is made of glass material and has the object-side surface and the image-side surface being both spherical.
  • the second lens element E2 with positive refractive power has an object-side surface being convex in a paraxial region thereof and an image-side surface being concave in a paraxial region thereof.
  • the second lens element E2 is made of glass material and has the object-side surface and the image-side surface being both spherical.
  • the third lens element E3 with positive refractive power has an object-side surface being concave in a paraxial region thereof and an image-side surface being convex in a paraxial region thereof.
  • the third lens element E3 is made of plastic material and has the object-side surface and the image-side surface being both aspheric.
  • the image-side surface of the third lens element E3 has one inflection point.
  • the fourth lens element E4 with negative refractive power has an object-side surface being convex in a paraxial region thereof and an image-side surface being concave in a paraxial region thereof.
  • the fourth lens element E4 is made of plastic material and has the object-side surface and the image-side surface being both aspheric.
  • the object-side surface of the fourth lens element E4 has two inflection points.
  • the image-side surface of the fourth lens element E4 has two inflection points.
  • the filter E5 is made of glass material and located between the fourth lens element E4 and the image surface IMG, and will not affect the focal length of the image capturing optical system.
  • the image sensor IS is disposed on or near the image surface IMG of the image capturing optical system.
  • f 4.86 millimeters (mm)
  • fd 4.66 mm
  • Fno 1.89
  • HFOV 32.2 degrees (deg.).
  • Dr3s an axial distance between the object-side surface of the second lens element E2 and the aperture stop ST
  • Dr4s an axial distance between the image-side surface of the second lens element E2 and the aperture stop ST
  • Dr5s/Dr6s 0.28.
  • a central thickness of the second lens element E2 is CT2
  • a central thickness of the third lens element E3 is CT3
  • an axial distance between the first lens element E1 and the second lens element E2 is T12
  • an axial distance between the second lens element E2 and the third lens element E3 is T23
  • an axial distance between two adjacent lens elements is a distance in a paraxial region between two adjacent lens surfaces of the two adjacent lens elements.
  • ⁇ AT 0.03.
  • ⁇ AT is a sum of axial distances between the first lens element E1 and the second lens element E2, the second lens element E2 and the third lens element E3, and the third lens element E3 and the fourth lens element E4.
  • Table 1 the curvature radius, the thickness and the focal length are shown in millimeters (mm).
  • Surface numbers 0-12 represent the surfaces sequentially arranged from the object side to the image side along the optical axis.
  • k represents the conic coefficient of the equation of the aspheric surface profiles.
  • A4-A16 represent the aspheric coefficients ranging from the 4th order to the 16th order.
  • Fig. 3 is a schematic view of an image capturing unit according to the 2nd embodiment of the present disclosure.
  • Fig. 4 shows, in order from left to right, spherical aberration curves, astigmatic field curves and a distortion curve of the image capturing unit according to the 2nd embodiment.
  • the image capturing unit 2 includes the image capturing optical system (its reference numeral is omitted) of the present disclosure and an image sensor IS.
  • the image capturing optical system includes, in order from an object side to an image side along an optical axis, a first lens element E1, a stop S1, a second lens element E2, an aperture stop ST, a third lens element E3, a stop S2, a fourth lens element E4, a filter E5 and an image surface IMG.
  • the image capturing optical system includes four lens elements (E1, E2, E3 and E4) with no additional lens element disposed between each of the adjacent four lens elements, wherein there is an air gap in a paraxial region between the second lens element E2 and the third lens element E3.
  • the first lens element E1 with negative refractive power has an object-side surface being concave in a paraxial region thereof and an image-side surface being concave in a paraxial region thereof.
  • the first lens element E1 is made of plastic material and has the object-side surface and the image-side surface being both aspheric.
  • the object-side surface of the first lens element E1 has two inflection points.
  • the image-side surface of the first lens element E1 has one inflection point.
  • the object-side surface of the first lens element E1 has one critical point in an off-axis region thereof.
  • the second lens element E2 with positive refractive power has an object-side surface being convex in a paraxial region thereof and an image-side surface being convex in a paraxial region thereof.
  • the second lens element E2 is made of plastic material and has the object-side surface and the image-side surface being both aspheric.
  • the object-side surface of the second lens element E2 has one inflection point.
  • the third lens element E3 with positive refractive power has an object-side surface being concave in a paraxial region thereof and an image-side surface being convex in a paraxial region thereof.
  • the third lens element E3 is made of plastic material and has the object-side surface and the image-side surface being both aspheric.
  • the image-side surface of the third lens element E3 has one inflection point.
  • the fourth lens element E4 with negative refractive power has an object-side surface being convex in a paraxial region thereof and an image-side surface being concave in a paraxial region thereof.
  • the fourth lens element E4 is made of plastic material and has the object-side surface and the image-side surface being both aspheric.
  • the image-side surface of the fourth lens element E4 has two inflection points.
  • the filter E5 is made of glass material and located between the fourth lens element E4 and the image surface IMG, and will not affect the focal length of the image capturing optical system.
  • the image sensor IS is disposed on or near the image surface IMG of the image capturing optical system.
  • An effective radius of the stop S2 (Surface 9) is 1.780 mm.
  • TABLE 4 Aspheric Coefficients Surface # 1 2 4 5 k -8.18008000E+01 -7.73013000E-01 -2.08794000E+00 1.21947000E+01
  • A4 7.46364138E-03 -2.31872065E-02 1.03964429E-02 1.54612083E-02
  • A6 2.35777084E-05 2.46352244E-01 -3.58459757E-02 -1.01253746E-01
  • the equation of the aspheric surface profiles of the aforementioned lens elements is the same as the equation of the 1st embodiment. Also, the definitions of these parameters shown in the following table are the same as those stated in the 1st embodiment with corresponding values for the 2nd embodiment, so an explanation in this regard will not be provided again.
  • these parameters can be calculated from Table 3 and Table 4 as the following values and satisfy the following conditions: 2nd Embodiment f [mm] 2.28 f/(T12+T23) 0.88 Fno 1.90 f/(T23+T34) 2.82 HFOV [deg.] 70.5 f/f2 0.77 (N1+N2)/2 1.66 f/f23 0.82 (R3+R4)/(R3-R4) -0.31 f/R1 -0.12 (R3+R5)/(R3-R5) -0.05 f/R3 0.82 (R3+R6)/(R3-R6) 0.18 f/T23 3.00 (R7+R8)/(R7-R8) 5.41 T23/T34 15.16 Dr4s/Dr3s -0.13 T34/ ⁇ AT 0.02 Dr5s/Dr6s 0.43 TD/CT4 7.43 f/(CT2+CT3) 0.97 TD/SL 1.17
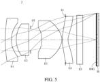
  • Fig. 5 is a schematic view of an image capturing unit according to the 3rd embodiment of the present disclosure.
  • Fig. 6 shows, in order from left to right, spherical aberration curves, astigmatic field curves and a distortion curve of the image capturing unit according to the 3rd embodiment.
  • the image capturing unit 3 includes the image capturing optical system (its reference numeral is omitted) of the present disclosure and an image sensor IS.
  • the image capturing optical system includes, in order from an object side to an image side along an optical axis, a first lens element E1, a second lens element E2, an aperture stop ST, a third lens element E3, a stop S1, a fourth lens element E4, a filter E5 and an image surface IMG.
  • the image capturing optical system includes four lens elements (E1, E2, E3 and E4) with no additional lens element disposed between each of the adjacent four lens elements, wherein there is an air gap in a paraxial region between the second lens element E2 and the third lens element E3.
  • the first lens element E1 with negative refractive power has an object-side surface being convex in a paraxial region thereof and an image-side surface being concave in a paraxial region thereof.
  • the first lens element E1 is made of glass material and has the object-side surface and the image-side surface being both spherical.
  • the second lens element E2 with positive refractive power has an object-side surface being convex in a paraxial region thereof and an image-side surface being concave in a paraxial region thereof.
  • the second lens element E2 is made of glass material and has the object-side surface and the image-side surface being both spherical.
  • the third lens element E3 with positive refractive power has an object-side surface being concave in a paraxial region thereof and an image-side surface being convex in a paraxial region thereof.
  • the third lens element E3 is made of plastic material and has the object-side surface and the image-side surface being both aspheric.
  • the fourth lens element E4 with negative refractive power has an object-side surface being convex in a paraxial region thereof and an image-side surface being concave in a paraxial region thereof.
  • the fourth lens element E4 is made of plastic material and has the object-side surface and the image-side surface being both aspheric.
  • the object-side surface of the fourth lens element E4 has two inflection points.
  • the image-side surface of the fourth lens element E4 has two inflection points.
  • the filter E5 is made of glass material and located between the fourth lens element E4 and the image surface IMG, and will not affect the focal length of the image capturing optical system.
  • the image sensor IS is disposed on or near the image surface IMG of the image capturing optical system.
  • the equation of the aspheric surface profiles of the aforementioned lens elements is the same as the equation of the 1st embodiment. Also, the definitions of these parameters shown in the following table are the same as those stated in the 1st embodiment with corresponding values for the 3rd embodiment, so an explanation in this regard will not be provided again.
  • these parameters can be calculated from Table 5 and Table 6 as the following values and satisfy the following conditions: 3rd Embodiment f [mm] 5.16 f/(T12+T23) 2.51 Fno 2.04 f/(T23+T34) 3.32 HFOV [deg.] 31.6 f/f2 1.28 (N1+N2)/2 1.65 f/f23 1.23 (R3+R4)/(R3-R4) -1.16 f/R1 0.32 (R3+R5)/(R3-R5) -0.08 f/R3 1.73 (R3+R6)/(R3-R6) 0.37 f/T23 3.43 (R7+R8)/(R7-R8) 2.49 T23/T34 30.08 Dr4s/Dr3s 0.14 T34/ ⁇ AT 0.02 Dr5s/Dr6s 0.36 TD/CT4 10.84 f/(CT2+CT3) 1.38 TD/SL 0.96
  • Fig. 7 is a schematic view of an image capturing unit according to the 4th embodiment of the present disclosure.
  • Fig. 8 shows, in order from left to right, spherical aberration curves, astigmatic field curves and a distortion curve of the image capturing unit according to the 4th embodiment.
  • the image capturing unit 4 includes the image capturing optical system (its reference numeral is omitted) of the present disclosure and an image sensor IS.
  • the image capturing optical system includes, in order from an object side to an image side along an optical axis, a first lens element E1, a second lens element E2, an aperture stop ST, a third lens element E3, a fourth lens element E4, a filter E5 and an image surface IMG.
  • the image capturing optical system includes four lens elements (E1, E2, E3 and E4) with no additional lens element disposed between each of the adjacent four lens elements, wherein there is an air gap in a paraxial region between the second lens element E2 and the third lens element E3.
  • the first lens element E1 with negative refractive power has an object-side surface being convex in a paraxial region thereof and an image-side surface being concave in a paraxial region thereof.
  • the first lens element E1 is made of glass material and has the object-side surface and the image-side surface being both spherical.
  • the second lens element E2 with positive refractive power has an object-side surface being convex in a paraxial region thereof and an image-side surface being convex in a paraxial region thereof.
  • the second lens element E2 is made of glass material and has the object-side surface and the image-side surface being both spherical.
  • the third lens element E3 with positive refractive power has an object-side surface being concave in a paraxial region thereof and an image-side surface being convex in a paraxial region thereof.
  • the third lens element E3 is made of plastic material and has the object-side surface and the image-side surface being both aspheric.
  • the image-side surface of the third lens element E3 has one inflection point.
  • the fourth lens element E4 with negative refractive power has an object-side surface being convex in a paraxial region thereof and an image-side surface being concave in a paraxial region thereof.
  • the fourth lens element E4 is made of plastic material and has the object-side surface and the image-side surface being both aspheric.
  • the image-side surface of the fourth lens element E4 has two inflection points.
  • the filter E5 is made of glass material and located between the fourth lens element E4 and the image surface IMG, and will not affect the focal length of the image capturing optical system.
  • the image sensor IS is disposed on or near the image surface IMG of the image capturing optical system.
  • the equation of the aspheric surface profiles of the aforementioned lens elements is the same as the equation of the 1st embodiment. Also, the definitions of these parameters shown in the following table are the same as those stated in the 1st embodiment with corresponding values for the 4th embodiment, so an explanation in this regard will not be provided again.
  • Fig. 9 is a schematic view of an image capturing unit according to the 5th embodiment of the present disclosure.
  • Fig. 10 shows, in order from left to right, spherical aberration curves, astigmatic field curves and a distortion curve of the image capturing unit according to the 5th embodiment.
  • the image capturing unit 5 includes the image capturing optical system (its reference numeral is omitted) of the present disclosure and an image sensor IS.
  • the image capturing optical system includes, in order from an object side to an image side along an optical axis, a first lens element E1, a second lens element E2, an aperture stop ST, a third lens element E3, a fourth lens element E4, a filter E5 and an image surface IMG.
  • the image capturing optical system includes four lens elements (E1, E2, E3 and E4) with no additional lens element disposed between each of the adjacent four lens elements, wherein there is an air gap in a paraxial region between the second lens element E2 and the third lens element E3.
  • the first lens element E1 with negative refractive power has an object-side surface being concave in a paraxial region thereof and an image-side surface being concave in a paraxial region thereof.
  • the first lens element E1 is made of glass material and has the object-side surface and the image-side surface being both spherical.
  • the second lens element E2 with positive refractive power has an object-side surface being convex in a paraxial region thereof and an image-side surface being convex in a paraxial region thereof.
  • the second lens element E2 is made of glass material and has the object-side surface and the image-side surface being both spherical.
  • the third lens element E3 with positive refractive power has an object-side surface being concave in a paraxial region thereof and an image-side surface being convex in a paraxial region thereof.
  • the third lens element E3 is made of plastic material and has the object-side surface and the image-side surface being both aspheric.
  • the image-side surface of the third lens element E3 has one inflection point.
  • the fourth lens element E4 with negative refractive power has an object-side surface being convex in a paraxial region thereof and an image-side surface being concave in a paraxial region thereof.
  • the fourth lens element E4 is made of plastic material and has the object-side surface and the image-side surface being both aspheric.
  • the image-side surface of the fourth lens element E4 has two inflection points.
  • the filter E5 is made of glass material and located between the fourth lens element E4 and the image surface IMG, and will not affect the focal length of the image capturing optical system.
  • the image sensor IS is disposed on or near the image surface IMG of the image capturing optical system.
  • the equation of the aspheric surface profiles of the aforementioned lens elements is the same as the equation of the 1st embodiment. Also, the definitions of these parameters shown in the following table are the same as those stated in the 1st embodiment with corresponding values for the 5th embodiment, so an explanation in this regard will not be provided again.
  • Fig. 11 is a schematic view of an image capturing unit according to the 6th embodiment of the present disclosure.
  • Fig. 12 shows, in order from left to right, spherical aberration curves, astigmatic field curves and a distortion curve of the image capturing unit according to the 6th embodiment.
  • the image capturing unit 6 includes the image capturing optical system (its reference numeral is omitted) of the present disclosure and an image sensor IS.
  • the image capturing optical system includes, in order from an object side to an image side along an optical axis, a first lens element E1, a second lens element E2, an aperture stop ST, a third lens element E3, a fourth lens element E4, a filter E5 and an image surface IMG.
  • the image capturing optical system includes four lens elements (E1, E2, E3 and E4) with no additional lens element disposed between each of the adjacent four lens elements, wherein there is an air gap in a paraxial region between the second lens element E2 and the third lens element E3.
  • the first lens element E1 with negative refractive power has an object-side surface being convex in a paraxial region thereof and an image-side surface being concave in a paraxial region thereof.
  • the first lens element E1 is made of plastic material and has the object-side surface and the image-side surface being both aspheric.
  • the object-side surface of the first lens element E1 has two inflection points.
  • the second lens element E2 with positive refractive power has an object-side surface being convex in a paraxial region thereof and an image-side surface being convex in a paraxial region thereof.
  • the second lens element E2 is made of plastic material and has the object-side surface and the image-side surface being both aspheric.
  • the third lens element E3 with positive refractive power has an object-side surface being concave in a paraxial region thereof and an image-side surface being convex in a paraxial region thereof.
  • the third lens element E3 is made of plastic material and has the object-side surface and the image-side surface being both aspheric.
  • the fourth lens element E4 with negative refractive power has an object-side surface being convex in a paraxial region thereof and an image-side surface being concave in a paraxial region thereof.
  • the fourth lens element E4 is made of plastic material and has the object-side surface and the image-side surface being both aspheric.
  • the object-side surface of the fourth lens element E4 has one inflection point.
  • the image-side surface of the fourth lens element E4 has one inflection point.
  • the filter E5 is made of glass material and located between the fourth lens element E4 and the image surface IMG, and will not affect the focal length of the image capturing optical system.
  • the image sensor IS is disposed on or near the image surface IMG of the image capturing optical system.
  • the equation of the aspheric surface profiles of the aforementioned lens elements is the same as the equation of the 1st embodiment. Also, the definitions of these parameters shown in the following table are the same as those stated in the 1st embodiment with corresponding values for the 6th embodiment, so an explanation in this regard will not be provided again.
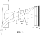
  • Fig. 13 is a schematic view of an image capturing unit according to the 7th embodiment of the present disclosure.
  • Fig. 14 shows, in order from left to right, spherical aberration curves, astigmatic field curves and a distortion curve of the image capturing unit according to the 7th embodiment.
  • the image capturing unit 7 includes the image capturing optical system (its reference numeral is omitted) of the present disclosure and an image sensor IS.
  • the image capturing optical system includes, in order from an object side to an image side along an optical axis, a first lens element E1, a second lens element E2, an aperture stop ST, a third lens element E3, a fourth lens element E4, a filter E5 and an image surface IMG.
  • the image capturing optical system includes four lens elements (E1, E2, E3 and E4) with no additional lens element disposed between each of the adjacent four lens elements, wherein there is an air gap in a paraxial region between the second lens element E2 and the third lens element E3.
  • the first lens element E1 with negative refractive power has an object-side surface being convex in a paraxial region thereof and an image-side surface being concave in a paraxial region thereof.
  • the first lens element E1 is made of glass material and has the object-side surface and the image-side surface being both spherical.
  • the second lens element E2 with positive refractive power has an object-side surface being convex in a paraxial region thereof and an image-side surface being convex in a paraxial region thereof.
  • the second lens element E2 is made of glass material and has the object-side surface and the image-side surface being both spherical.
  • the third lens element E3 with positive refractive power has an object-side surface being concave in a paraxial region thereof and an image-side surface being convex in a paraxial region thereof.
  • the third lens element E3 is made of plastic material and has the object-side surface and the image-side surface being both aspheric.
  • the image-side surface of the third lens element E3 has one inflection point.
  • the fourth lens element E4 with positive refractive power has an object-side surface being convex in a paraxial region thereof and an image-side surface being concave in a paraxial region thereof.
  • the fourth lens element E4 is made of plastic material and has the object-side surface and the image-side surface being both aspheric.
  • the image-side surface of the fourth lens element E4 has two inflection points.
  • the image-side surface of the fourth lens element E4 has two critical points in an off-axis region thereof.
  • the filter E5 is made of glass material and located between the fourth lens element E4 and the image surface IMG, and will not affect the focal length of the image capturing optical system.
  • the image sensor IS is disposed on or near the image surface IMG of the image capturing optical system.
  • the equation of the aspheric surface profiles of the aforementioned lens elements is the same as the equation of the 1st embodiment. Also, the definitions of these parameters shown in the following table are the same as those stated in the 1st embodiment with corresponding values for the 7th embodiment, so an explanation in this regard will not be provided again.
  • these parameters can be calculated from Table 13 and Table 14 as the following values and satisfy the following conditions: 7th Embodiment f [mm] 2.20 f/(T12+T23) 0.65 Fno 2.00 f/(T23+T34) 2.72 HFOV [deg.] 75.5 f/f2 0.77 (N1+N2)/2 1.79 f/f23 0.72 (R3+R4)/(R3-R4) -0.39 f/R1 0.13 (R3+R5)/(R3-R5) 0.10 f/R3 0.72 (R3+R6)/(R3-R6) 0.16 f/T23 2.90 (R7+R8)/(R7-R8) -2.61 T23/T34 15.16 Dr4s/Dr3s -0.03 T34/ ⁇ AT 0.01 Dr5s/Dr6s 0.43 TD/CT4 11.78 f/(CT2+CT3) 0.89 TD/SL 1.24
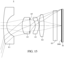
  • Fig. 15 is a schematic view of an image capturing unit according to the 8th embodiment of the present disclosure.
  • Fig. 16 shows, in order from left to right, spherical aberration curves, astigmatic field curves and a distortion curve of the image capturing unit according to the 8th embodiment.
  • the image capturing unit 8 includes the image capturing optical system (its reference numeral is omitted) of the present disclosure and an image sensor IS.
  • the image capturing optical system includes, in order from an object side to an image side along an optical axis, a first lens element E1, a second lens element E2, an aperture stop ST, a third lens element E3, a fourth lens element E4, a filter E5 and an image surface IMG.
  • the image capturing optical system includes four lens elements (E1, E2, E3 and E4) with no additional lens element disposed between each of the adjacent four lens elements, wherein there is an air gap in a paraxial region between the second lens element E2 and the third lens element E3.
  • the first lens element E1 with negative refractive power has an object-side surface being convex in a paraxial region thereof and an image-side surface being concave in a paraxial region thereof.
  • the first lens element E1 is made of glass material and has the object-side surface and the image-side surface being both spherical.
  • the second lens element E2 with positive refractive power has an object-side surface being convex in a paraxial region thereof and an image-side surface being convex in a paraxial region thereof.
  • the second lens element E2 is made of glass material and has the object-side surface and the image-side surface being both spherical.
  • the third lens element E3 with positive refractive power has an object-side surface being concave in a paraxial region thereof and an image-side surface being convex in a paraxial region thereof.
  • the third lens element E3 is made of plastic material and has the object-side surface and the image-side surface being both aspheric.
  • the image-side surface of the third lens element E3 has one inflection point.
  • the fourth lens element E4 with positive refractive power has an object-side surface being convex in a paraxial region thereof and an image-side surface being convex in a paraxial region thereof.
  • the fourth lens element E4 is made of plastic material and has the object-side surface and the image-side surface being both aspheric.
  • the image-side surface of the fourth lens element E4 has one inflection point.
  • the image-side surface of the fourth lens element E4 has one critical point in an off-axis region thereof.
  • the filter E5 is made of glass material and located between the fourth lens element E4 and the image surface IMG, and will not affect the focal length of the image capturing optical system.
  • the image sensor IS is disposed on or near the image surface IMG of the image capturing optical system.
  • the equation of the aspheric surface profiles of the aforementioned lens elements is the same as the equation of the 1st embodiment. Also, the definitions of these parameters shown in the following table are the same as those stated in the 1st embodiment with corresponding values for the 8th embodiment, so an explanation in this regard will not be provided again.
  • FIG. 17 is a perspective view of an image capturing unit according to the 9th embodiment of the present disclosure.
  • an image capturing unit 100 is a camera module including a lens unit 101, a driving device 102, an image sensor 103 and an image stabilizer 104.
  • the lens unit 101 includes the image capturing optical system disclosed in the 1st embodiment, a barrel and a holder member (their reference numerals are omitted) for holding the image capturing optical system.
  • the lens unit 101 may alternatively be provided with the image capturing optical system disclosed in other embodiments of the present disclosure, and the present disclosure is not limited thereto.
  • the imaging light converges in the lens unit 101 of the image capturing unit 100 to generate an image with the driving device 102 utilized for image focusing on the image sensor 103, and the generated image is then digitally transmitted to other electronic component for further processing.
  • the driving device 102 can have auto focusing functionality, and different driving configurations can be obtained through the usages of voice coil motors (VCM), micro electro-mechanical systems (MEMS), piezoelectric systems, shape memory alloy materials, or liquid lens systems.
  • VCM voice coil motors
  • MEMS micro electro-mechanical systems
  • the driving device 102 is favorable for obtaining a better imaging position of the lens unit 101, so that a clear image of the imaged object can be captured by the lens unit 101 with different object distances or at different ambient temperatures.
  • the image sensor 103 (for example, CCD or CMOS), which can feature high photosensitivity and low noise, is disposed on the image surface of the image capturing optical system to provide higher image quality.
  • the image stabilizer 104 such as an accelerometer, a gyro sensor and a Hall Effect sensor, is configured to work with the driving device 102 to provide optical image stabilization (OIS).
  • OIS optical image stabilization
  • the driving device 102 working with the image stabilizer 104 is favorable for compensating for pan and tilt of the lens unit 101 to reduce blurring associated with motion during exposure.
  • the compensation can be provided by electronic image stabilization (EIS) with image processing software, thereby improving image quality while in motion or low-light conditions.
  • EIS electronic image stabilization
  • Fig. 18 is one perspective view of an electronic device according to the 10th embodiment of the present disclosure.
  • Fig. 19 is another perspective view of the electronic device in Fig. 18 .
  • an electronic device 200 is a smartphone including the image capturing unit 100 disclosed in the 9th embodiment, an image capturing unit 100a, an image capturing unit 100b, an image capturing unit 100c and a display unit 201.
  • the image capturing unit 100, the image capturing unit 100a and the image capturing unit 100b are disposed on the same side of the electronic device 200 and face the same side, and each of the image capturing units 100, 100a and 100b has a single focal point.
  • Fig. 18 the image capturing unit 100, the image capturing unit 100a and the image capturing unit 100b are disposed on the same side of the electronic device 200 and face the same side, and each of the image capturing units 100, 100a and 100b has a single focal point.
  • each of the image capturing units 100a, 100b and 100c can include the image capturing optical system of the present disclosure and can have a configuration similar to that of the image capturing unit 100.
  • each of the image capturing units 100a, 100b and 100c can include a lens unit, a driving device, an image sensor and an image stabilizer, and each of the lens unit can include an image capturing optical system such as the image capturing optical system of the present disclosure, a barrel and a holder member for holding the image capturing optical system.
  • the image capturing unit 100 is a wide-angle image capturing unit
  • the image capturing unit 100a is a telephoto image capturing unit
  • the image capturing unit 100b is an ultra-wide-angle image capturing unit
  • the image capturing unit 100c is a wide-angle image capturing unit.
  • the image capturing units 100, 100a and 100b have different fields of view, such that the electronic device 200 can have various magnification ratios so as to meet the requirement of optical zoom functionality.
  • the image capturing unit 100c can have a non-circular opening, and the optical elements in the image capturing unit 100c can have one or more trimmed edges at outer diameter positions thereof for corresponding to the non-circular opening.
  • the electronic device 200 includes multiple image capturing units 100, 100a, 100b and 100c, but the present disclosure is not limited to the number and arrangement of image capturing units.
  • Fig. 20 is one perspective view of an electronic device according to the 11th embodiment of the present disclosure.
  • Fig. 21 is another perspective view of the electronic device in Fig. 20 .
  • Fig. 22 is a block diagram of the electronic device in Fig. 20 .
  • an electronic device 300 is a smartphone including the image capturing unit 100 disclosed in the 9th embodiment, an image capturing unit 100d, an image capturing unit 100e, an image capturing unit 100f, an image capturing unit 100g, a flash module 301, a focus assist module 302, an image signal processor 303, a display module 304 and an image software processor 305.
  • the image capturing unit 100 and the image capturing unit 100d are disposed on the same side of the electronic device 300.
  • the focus assist module 302 can be a laser rangefinder or a ToF (time of flight) module, but the present disclosure is not limited thereto.
  • the image capturing unit 100e, the image capturing unit 100f, the image capturing unit 100g and the display module 304 are disposed on the opposite side of the electronic device 300, and the display module 304 can be a user interface, such that the image capturing units 100e, 100f, 100g can be front-facing cameras of the electronic device 300 for taking selfies, but the present disclosure is not limited thereto.
  • each of the image capturing units 100d, 100e, 100f and 100g can include the image capturing optical system of the present disclosure and can have a configuration similar to that of the image capturing unit 100.
  • each of the image capturing units 100d, 100e, 100f and 100g can include a lens unit, a driving device, an image sensor and an image stabilizer, and each of the lens unit can include an image capturing optical system such as the image capturing optical system of the present disclosure, a barrel and a holder member for holding the image capturing optical system.
  • the image capturing unit 100 is a wide-angle image capturing unit
  • the image capturing unit 100d is an ultra-wide-angle image capturing unit
  • the image capturing unit 100e is a wide-angle image capturing unit
  • the image capturing unit 100f is an ultra-wide-angle image capturing unit
  • the image capturing unit 100g is a ToF image capturing unit.
  • the image capturing units 100, 100d, 100e and 100f have different fields of view, such that the electronic device 300 can have various magnification ratios so as to meet the requirement of optical zoom functionality.
  • the image capturing unit 100g can determine depth information of the imaged object.
  • the electronic device 300 includes multiple image capturing units 100, 100d, 100e, 100f and 100g, but the present disclosure is not limited to the number and arrangement of image capturing units.
  • the focus assist module 302 detects the object distance of the imaged object 306 to achieve fast auto focusing.
  • the image signal processor 303 is configured to optimize the captured image to improve image quality.
  • the light beam emitted from the focus assist module 302 can be either conventional infrared or laser.
  • the light rays may converge in the image capturing unit 100e, 100f or 100g to generate images.
  • the display module 304 can include a touch screen, and the user is able to interact with the display module 304 and the image software processor 305 having multiple functions to capture images and complete image processing. Alternatively, the user may capture images via a physical button.
  • the image processed by the image software processor 305 can be displayed on the display module 304.
  • Fig. 23 is one perspective view of an electronic device according to the 12th embodiment of the present disclosure.
  • an electronic device 400 is a smartphone including the image capturing unit 100 disclosed in the 9th embodiment, an image capturing unit 100h, an image capturing unit 100i, a flash module 401, a focus assist module, an image signal processor, a display module and an image software processor (not shown).
  • the image capturing unit 100, the image capturing unit 100h and the image capturing unit 100i are disposed on the same side of the electronic device 400, while the display module is disposed on the opposite side of the electronic device 400.
  • each of the image capturing units 100h and 100i can include the image capturing optical system of the present disclosure and can have a configuration similar to that of the image capturing unit 100, and the details in this regard will not be provided again.
  • the image capturing unit 100 is a wide-angle image capturing unit
  • the image capturing unit 100h is a telephoto image capturing unit
  • the image capturing unit 100i is an ultra-wide-angle image capturing unit.
  • the image capturing units 100, 100h and 100i have different fields of view, such that the electronic device 400 can have various magnification ratios so as to meet the requirement of optical zoom functionality.
  • the image capturing unit 100h can be a telephoto image capturing unit having a light-folding element configuration, such that the total track length of the image capturing unit 100h is not limited by the thickness of the electronic device 400.
  • the light-folding element configuration of the image capturing unit 100h can be similar to, for example, one of the structures shown in Fig. 30 to Fig. 32 , which can be referred to foregoing descriptions corresponding to Fig. 30 to Fig. 32 , and the details in this regard will not be provided again.
  • the electronic device 400 includes multiple image capturing units 100, 100h and 100i, but the present disclosure is not limited to the number and arrangement of image capturing units.
  • Fig. 24 is one perspective view of an electronic device according to the 13th embodiment of the present disclosure.
  • an electronic device 500 is a smartphone including the image capturing unit 100 disclosed in the 9th embodiment, an image capturing unit 100j, an image capturing unit 100k, an image capturing unit 100m, an image capturing unit 100n, an image capturing unit 100p, an image capturing unit 100q, an image capturing unit 100r, an image capturing unit 100s, a flash module 501, a focus assist module, an image signal processor, a display module and an image software processor (not shown).
  • the image capturing units 100, 100j, 100k, 100m, 100n, 100p, 100q, 100r and 100s are disposed on the same side of the electronic device 500, while the display module is disposed on the opposite side of the electronic device 500.
  • each of the image capturing units 100j, 100k, 100m, 100n, 100p, 100q, 100r and 100s can include the image capturing optical system of the present disclosure and can have a configuration similar to that of the image capturing unit 100, and the details in this regard will not be provided again.
  • the image capturing unit 100 is a wide-angle image capturing unit
  • the image capturing unit 100j is a telephoto image capturing unit
  • the image capturing unit 100k is a telephoto image capturing unit
  • the image capturing unit 100m is a wide-angle image capturing unit
  • the image capturing unit 100n is an ultra-wide-angle image capturing unit
  • the image capturing unit 100p is an ultra-wide-angle image capturing unit
  • the image capturing unit 100q is a telephoto image capturing unit
  • the image capturing unit 100r is a telephoto image capturing unit
  • the image capturing unit 100s is a ToF image capturing unit.
  • each of the image capturing units 100j and 100k can be a telephoto image capturing unit having a light-folding element configuration.
  • the light-folding element configuration of each of the image capturing unit 100j and 100k can be similar to, for example, one of the structures shown in Fig. 30 to Fig. 32 , which can be referred to foregoing descriptions corresponding to Fig. 30 to Fig. 32 , and the details in this regard will not be provided again.
  • the image capturing unit 100s can determine depth information of the imaged object.
  • the electronic device 500 includes multiple image capturing units 100, 100j, 100k, 100m, 100n, 100p, 100q, 100r and 100s, but the present disclosure is not limited to the number and arrangement of image capturing units.
  • the light rays converge in the image capturing unit 100, 100j, 100k, 100m, 100n, 100p, 100q, 100r or 100s to generate images, and the flash module 501 is activated for light supplement.
  • the subsequent processes are performed in a manner similar to the abovementioned embodiments, and the details in this regard will not be provided again.
  • Fig. 25 is a partial view of an inner side of a vehicle device according to the 14th embodiment of the present disclosure.
  • the vehicle device 600 is an automobile.
  • the vehicle device 600 includes the image capturing unit 100 disclosed in the 9th embodiment.
  • the image capturing unit 100 is disposed adjacent to the dashboard 601 or center console 602 of the vehicle device 600, but the present disclosure is not limited thereto.
  • the image capturing unit 100 can be used as a sensing lens towards the driver for being applied in a driver monitoring system, thereby detecting the driver's sobriety by determining the driver's gaze and blink or checking the driver's yawn and head position through the infrared lens.
  • the image detected by the image capturing unit 100 can refer to Fig. 26 , which is a schematic view showing the image captured by the image capturing unit of the vehicle device in Fig. 25 when processing its detection function. Therefore, it is favorable for detecting whether the driver is distracted, tired, dozing off or other dangerous driving, thereby sending a signal to the reminder or alarm (not shown) in the vehicle device 600 or a management system (not shown) in communication connection with the vehicle device 600
  • Fig. 27 is a partial view of an inner side of a vehicle device according to the 15th embodiment of the present disclosure.
  • the vehicle device 700 is an automobile.
  • the vehicle device 700 includes the image capturing unit 100 disclosed in the 9th embodiment.
  • the image capturing unit 100 is disposed adjacent to the rear-view mirror 701 or center console of the vehicle device 700, but the present disclosure is not limited thereto.
  • the image capturing unit 100 can be used as a sensing lens towards the inner side of the vehicle device 700.
  • the image detected by the image capturing unit 100 can refer to Fig. 28 , which is a schematic view showing the image captured by the image capturing unit of the vehicle device in Fig. 27 when processing its detection function.
  • the vehicle device 700 may include the driver and passengers), such as the driver's sobriety, the passenger's gender, whether the seat belt is fastened, whether conflict is happened between the driver and passengers, or other situation affecting normal driving, thereby sending a signal to the storage device (not shown) in the vehicle device 700 or a management system (not shown) in communication connection with the vehicle device 700.
  • the electronic device or the vehicle device according to the present disclosure can further include a temperature sensor (not shown) disposed adjacent to the image capturing unit for adjusting the focus of the lens based on the ambient temperature.
  • the electronic device or the vehicle device according to the present disclosure can further include a heat dissipation mechanism disposed on the image capturing unit for preventing poor image quality due to the overheated image capturing unit.
  • the abovementioend heat dissipation mechanism can be a coating layer of high heat dissipation material such as diamond like carbon or graphene, and the abovementioend heat dissipation mechanism can also be designed to have microstructure with a high heat dissipation area so as to effectively enhance the heat dissipation effect.
  • the smartphone or vehicle in this embodiment is only exemplary for showing the image capturing unit of the present disclosure installed in an electronic device, and the present disclosure is not limited thereto.
  • the image capturing unit can be optionally applied to optical systems with a movable focus.
  • the image capturing optical system of the image capturing unit features good capability in aberration corrections and high image quality, and can be applied to 3D (three-dimensional) image capturing applications, in products such as digital cameras, mobile devices, digital tablets, smart televisions, network surveillance devices, dashboard cameras, vehicle backup cameras, multi-camera devices, image recognition systems, motion sensing input devices, wearable devices and other electronic imaging devices.

Landscapes

  • Physics & Mathematics (AREA)
  • General Physics & Mathematics (AREA)
  • Optics & Photonics (AREA)
  • Lenses (AREA)
  • Cameras Adapted For Combination With Other Photographic Or Optical Apparatuses (AREA)
  • Facsimile Scanning Arrangements (AREA)
  • Image Input (AREA)

Claims (17)

  1. Optisches Bildaufnahmesystem, das vier Linsenelemente (E1, E2, E3, E4) aufweist, wobei die vier Linsenelemente (E1, E2, E3, E4) in der Reihenfolge von einer Objektseite zu einer Bildseite entlang eines Strahlengangs ein erstes Linsenelement (E1), ein zweites Linsenelement (E2), ein drittes Linsenelement (E3), und ein viertes Linsenelement (E4) aufweisen, und wobei jedes der vier Linsenelemente (E1, E2, E3, E4) eine objektseitige Fläche aufweist, die der Objektseite zugewandt ist, und eine bildseitige Fläche aufweist, die der Bildseite zugewandt ist;
    wobei eine Gesamtzahl der Linsenelemente des optischen Bildaufnahmesystems vier ist, das erste Linsenelement (E1) eine negative Brechkraft hat, die bildseitige Fläche des ersten Linsenelements (E1) in einem paraxialen Bereich desselben konkav ist, das zweite Linsenelement (E2) eine positive Brechkraft hat, das dritte Linsenelement (E3) eine positive Brechkraft hat, die objektseitige Fläche des dritten Linsenelements (E3) in einem paraxialen Bereich desselben konkav ist, die bildseitige Fläche des dritten Linsenelements (E3) in einem paraxialen Bereich desselben konvex ist, das vierte Linsenelement (E4) eine negative Brechkraft aufweist, die objektseitige Fläche des vierten Linsenelements (E4) in einem paraxialen Bereich desselben konvex ist, die bildseitige Fläche des vierten Linsenelements (E4) in einem paraxialen Bereich desselben konkav ist, ein Luftspalt in einem paraxialen Bereich zwischen dem zweiten Linsenelement (E2) und dem dritten Linsenelement (E3) existiert, und dadurch gekennzeichnet, dass das optische Bildaufnahmesystem ferner eine Aperturblende (ST) umfasst, die zwischen dem zweiten Linsenelement (E2) und dem dritten Linsenelement (E3) angeordnet ist;
    wobei ein Krümmungsradius der objektseitigen Fläche des zweiten Linsenelements (E2) R3 ist, ein Krümmungsradius der bildseitigen Fläche des zweiten Linsenelements (E2) R4 ist, eine Brennweite des optischen Bildaufnahmesystems f ist, eine zentrale Dicke des zweiten Linsenelements (E2) CT2 ist, eine zentrale Dicke des dritten Linsenelements (E3) CT3 ist, und die folgenden Bedingungen erfüllt sind: 1 , 65 < R 3 + R 4 / R 3 R 4 ;
    Figure imgb0024
    0 , 60 < f / CT 2 + CT 3 < 2 , 50 .
    Figure imgb0025
  2. Optisches Bildaufnahmesystem nach Anspruch 1, wobei ein axialer Abstand zwischen dem dritten Linsenelement (E3) und dem vierten Linsenelement (E4) T34 ist, eine Summe der axialen Abstände zwischen jedem aller benachbarten Linsenelemente (E1, E2, E3, E4) des optischen Bildaufnahmesystems ΣAT ist und die folgende Bedingung erfüllt ist: 0 < T 34 / ΣAT < 0 , 10 .
    Figure imgb0026
  3. Optisches Bildaufnahmesystem nach Anspruch 1, wobei der Krümmungsradius der objektseitigen Fläche des zweiten Linsenelements (E2) R3 ist, ein Krümmungsradius der objektseitigen Fläche des dritten Linsenelements (E3) R5 ist, und die folgende Bedingung erfüllt ist: 0 , 38 < R 3 + R 5 / R 3 R 5 < 0 , 27 .
    Figure imgb0027
  4. Optisches Bildaufnahmesystem nach Anspruch 1, wobei die Brennweite des optischen Bildaufnahmesystems f ist, eine Brennweite des zweiten Linsenelements (E2) f2 ist und die folgende Bedingung erfüllt ist: 0 , 65 < f / f 2 < 2 , 00 .
    Figure imgb0028
  5. Optisches Bildaufnahmesystem nach Anspruch 1, wobei die Brennweite des optischen Bildaufnahmesystems f ist, der Krümmungsradius der objektseitigen Fläche des zweiten Linsenelements (E2) R3 ist und die folgende Bedingung erfüllt ist: 0 , 70 < f / R 3 < 2 , 00 .
    Figure imgb0029
  6. Optisches Bildaufnahmesystem nach Anspruch 1, wobei der Krümmungsradius der objektseitigen Fläche des zweiten Linsenelements (E2) R3 ist, ein Krümmungsradius der bildseitigen Fläche des dritten Linsenelements (E3) R6 ist, eine Blendenzahl des optischen Bildaufnahmesystems Fno ist, und die folgenden Bedingungen erfüllt sind: 0 , 10 < R 3 + R 6 / R 3 R 6 < 0 , 65 ;
    Figure imgb0030
    und 1 , 50 < Fno < 2 , 40 .
    Figure imgb0031
  7. Optisches Bildaufnahmesystem nach Anspruch 1, wobei mindestens eine der objektseitigen Fläche und der bildseitigen Fläche des vierten Linsenelements (E4) mindestens einen Wendepunkt aufweist, ein axialer Abstand zwischen der objektseitigen Fläche des ersten Linsenelements (E1) und der bildseitigen Fläche des vierten Linsenelements (E4) TD ist, ein axialer Abstand zwischen der Aperturblende (ST) und einer Bildfläche (IMG) SL ist, die Brennweite des optischen Bildaufnahmesystems f ist, ein axialer Abstand zwischen dem zweiten Linsenelement (E2) und dem dritten Linsenelement (E3) T23 ist, und die folgenden Bedingungen erfüllt sind: 0 , 60 < TD / SL < 1 , 30 ;
    Figure imgb0032
    und 2 , 50 < f / T 23 < 15 , 0 .
    Figure imgb0033
  8. Optisches Bildaufnahmesystem nach Anspruch 1, wobei ein axialer Abstand zwischen der objektseitigen Fläche des zweiten Linsenelements (E2) und der Aperturblende (ST) Dr3s ist, ein axialer Abstand zwischen der bildseitigen Fläche des zweiten Linsenelements (E2) und der Aperturblende (ST) Dr4s ist, ein axialer Abstand zwischen der objektseitigen Fläche des dritten Linsenelements (E3) und der Aperturblende (ST) Dr5s ist, ein axialer Abstand zwischen der bildseitigen Fläche des dritten Linsenelements (E3) und der Aperturblende (ST) Dr6s ist, und die folgenden Bedingungen erfüllt sind: 0 , 80 < Dr 4 s / Dr 3 s < 1 , 00 ;
    Figure imgb0034
    und 0 , 80 < Dr 5 s / Dr 6 s < 1 , 00 .
    Figure imgb0035
  9. Bilderfassungseinheit (1) mit:
    dem optischen Bildaufnahmesystem nach Anspruch 1; und
    einem Bildsensor (IS), der auf einer Bildfläche (IMG) des optischen Bildaufnahmesystems angeordnet ist.
  10. Elektronische Vorrichtung (200) mit:
    der Bilderfassungseinheit (1) nach Anspruch 9.
  11. Optisches Bildaufnahmesystem nach Anspruch 1, wobei die Brennweite des optischen Bildaufnahmesystems f ist, eine zusammengesetzte Brennweite des zweiten Linsenelements (E2) und des dritten Linsenelements (E3) f23 ist, eine Blendenzahl des optischen Bildaufnahmesystems Fno ist und die folgenden Bedingungen erfüllt sind: 0 , 60 < f / f 23 < 1 , 80 ;
    Figure imgb0036
    und 1 , 50 < Fno < 2 , 30 .
    Figure imgb0037
  12. Optisches Bildaufnahmesystem nach Anspruch 1, wobei die Brennweite des optischen Bildaufnahmesystems f ist, ein Krümmungsradius der objektseitigen Fläche des ersten Linsenelements (E1) R1 ist und die folgende Bedingung erfüllt ist: 0 , 30 < f / R 1 < 0 , 50 .
    Figure imgb0038
  13. Optisches Bildaufnahmesystem nach Anspruch 1, wobei ein axialer Abstand zwischen dem zweiten Linsenelement (E2) und dem dritten Linsenelement (E3) T23 ist, ein axialer Abstand zwischen dem dritten Linsenelement (E3) und dem vierten Linsenelement (E4) T34 ist, und die folgende Bedingung erfüllt ist: 11 , 0 < T 23 / T 34 < 19 , 0 .
    Figure imgb0039
  14. Optisches Bildaufnahmesystem nach Anspruch 1, wobei der Krümmungsradius der objektseitigen Fläche des zweiten Linsenelements (E2) R3 ist, ein Krümmungsradius der objektseitigen Fläche des dritten Linsenelements (E3) R5 ist, und die folgende Bedingung erfüllt ist: 0 , 38 < R 3 + R 5 / R 3 R 5 < 0 , 27 .
    Figure imgb0040
  15. Optisches Bildaufnahmesystem nach Anspruch 1, wobei ein axialer Abstand zwischen der objektseitigen Fläche des ersten Linsenelements (E1) und der bildseitigen Fläche des vierten Linsenelements (E4) TD ist, eine zentrale Dicke des vierten Linsenelements (E4) CT4 ist und die folgende Bedingung erfüllt ist: 6 , 50 < TD / CT 4 < 20 , 0 .
    Figure imgb0041
  16. Optisches Bildaufnahmesystem nach Anspruch 1, wobei ein Brechungsindex des ersten Linsenelements (E1) N1 ist, ein Brechungsindex des zweiten Linsenelements (E2) N2 ist und die folgende Bedingung erfüllt ist: 1 , 63 < N 1 + N 2 / 2 < 1 , 83 .
    Figure imgb0042
  17. Optisches Bildaufnahmesystem nach Anspruch 1, wobei die Brennweite des optischen Bildaufnahmesystems f ist, ein axialer Abstand zwischen dem ersten Linsenelement (E1) und dem zweiten Linsenelement (E2) T12 ist, ein axialer Abstand zwischen dem zweiten Linsenelement (E2) und dem dritten Linsenelement (E3) T23 ist, und die folgende Bedingung erfüllt ist: 0 , 55 < f / T 12 + T 23 < 2 , 85 .
    Figure imgb0043
EP22168715.5A 2021-12-17 2022-04-19 Optisches bildaufnahmesystem, bildaufnahmeeinheit und elektronische vorrichtung Active EP4198599B1 (de)

Applications Claiming Priority (1)

Application Number Priority Date Filing Date Title
TW110147519A TWI799016B (zh) 2021-12-17 2021-12-17 取像光學系統鏡組、取像裝置及電子裝置

Publications (2)

Publication Number Publication Date
EP4198599A1 EP4198599A1 (de) 2023-06-21
EP4198599B1 true EP4198599B1 (de) 2025-05-21

Family

ID=81325546

Family Applications (1)

Application Number Title Priority Date Filing Date
EP22168715.5A Active EP4198599B1 (de) 2021-12-17 2022-04-19 Optisches bildaufnahmesystem, bildaufnahmeeinheit und elektronische vorrichtung

Country Status (4)

Country Link
US (2) US12271053B2 (de)
EP (1) EP4198599B1 (de)
CN (1) CN116266010A (de)
TW (1) TWI799016B (de)

Families Citing this family (2)

* Cited by examiner, † Cited by third party
Publication number Priority date Publication date Assignee Title
CN116819732B (zh) * 2023-08-29 2024-01-09 江西欧菲光学有限公司 光学系统、摄像模组和电子设备
CN119200145B (zh) * 2024-09-12 2025-11-18 江西欧菲光学有限公司 光学镜头、摄像模组及终端设备

Citations (4)

* Cited by examiner, † Cited by third party
Publication number Priority date Publication date Assignee Title
JPH0968648A (ja) * 1995-09-01 1997-03-11 Asahi Optical Co Ltd 内視鏡対物レンズ
US20160161706A1 (en) * 2014-12-04 2016-06-09 Young Optics Inc. Optical lens system
CN109633870B (zh) * 2019-02-25 2021-09-03 宁波舜宇车载光学技术有限公司 光学镜头及成像设备
US11125972B2 (en) * 2018-12-28 2021-09-21 Genius Electronic Optical (Xiamen) Co., Ltd. Optical imaging lens

Family Cites Families (34)

* Cited by examiner, † Cited by third party
Publication number Priority date Publication date Assignee Title
US4380374A (en) 1981-04-16 1983-04-19 Minnesota Mining & Manufacturing Company Variable focal length projection lens for use on overhead projectors
DE69219248T2 (de) 1991-08-30 1997-10-16 Canon Kk Zoomobjektiv
JP2000193884A (ja) * 1998-12-28 2000-07-14 Minolta Co Ltd 撮影レンズ系
JP2004184987A (ja) * 2002-11-21 2004-07-02 Kyocera Corp 撮像レンズ
JP2006309043A (ja) 2005-05-02 2006-11-09 Nidec Copal Corp 撮像レンズ
JP2007322656A (ja) 2006-05-31 2007-12-13 Fujinon Corp 広角撮像レンズ
WO2012090729A1 (ja) 2010-12-28 2012-07-05 コニカミノルタオプト株式会社 広角レンズ,撮像光学装置及びデジタル機器
JPWO2012105181A1 (ja) 2011-01-31 2014-07-03 富士フイルム株式会社 投写レンズおよび投写型表示装置
TWI474039B (zh) * 2013-02-08 2015-02-21 Largan Precision Co Ltd 廣視角攝像鏡片組
KR20150012571A (ko) 2013-07-25 2015-02-04 삼성전자주식회사 촬상 렌즈 시스템 및 이를 채용한 촬상 장치
CN103969807B (zh) * 2013-12-30 2016-04-20 玉晶光电(厦门)有限公司 光学成像镜头及应用该光学成像镜头的电子装置
CN103969809B (zh) * 2013-12-30 2016-08-31 玉晶光电(厦门)有限公司 光学成像镜头及应用该光学成像镜头的电子装置
TWI559027B (zh) * 2014-06-20 2016-11-21 雙鴻科技股份有限公司 微型廣角鏡頭
CN105589183B (zh) 2014-10-24 2018-01-09 玉晶光电(厦门)有限公司 可携式电子装置与其光学成像镜头
JPWO2017060950A1 (ja) * 2015-10-05 2018-07-26 オリンパス株式会社 撮像装置及びそれを備えた光学装置
JP6721859B2 (ja) * 2016-02-29 2020-07-15 株式会社ニコン 光学系及び光学機器
TWI572895B (zh) * 2016-04-06 2017-03-01 大立光電股份有限公司 光學系統鏡組、取像裝置及電子裝置
TW201827877A (zh) * 2017-01-25 2018-08-01 信泰光學(深圳)有限公司 成像鏡頭(十四)
WO2019019626A1 (zh) * 2017-07-25 2019-01-31 浙江舜宇光学有限公司 成像镜头
WO2019029153A1 (zh) 2017-08-07 2019-02-14 浙江舜宇光学有限公司 广角镜头及成像装置
TWI634360B (zh) * 2017-09-29 2018-09-01 大立光電股份有限公司 電子裝置
CN108459394B (zh) * 2018-03-19 2020-04-10 玉晶光电(厦门)有限公司 光学成像镜头
CN109298511A (zh) 2018-11-26 2019-02-01 浙江舜宇光学有限公司 光学成像系统
JP2020166071A (ja) * 2019-03-28 2020-10-08 パナソニックIpマネジメント株式会社 撮像用光学系、撮像装置、搭乗者監視システム及び移動装置
TWI688788B (zh) * 2019-04-29 2020-03-21 光芒光學股份有限公司 取像鏡頭及其製造方法
CN110737074B (zh) 2019-10-30 2025-02-21 广东弘景光电科技股份有限公司 高像素红外光学系统及其应用的摄像模组
TWI730517B (zh) * 2019-11-29 2021-06-11 大立光電股份有限公司 透鏡系統及電子裝置
CN110716289B (zh) * 2019-12-12 2020-03-31 江西联创电子有限公司 光学成像镜头
CN118707692A (zh) * 2020-03-05 2024-09-27 玉晶光电(厦门)有限公司 光学成像镜头
CN111596445B (zh) * 2020-07-22 2020-10-16 瑞声通讯科技(常州)有限公司 摄像光学镜头
CN111856730A (zh) * 2020-07-28 2020-10-30 玉晶光电(厦门)有限公司 光学成像镜头
CN112285885A (zh) * 2020-10-30 2021-01-29 江西晶超光学有限公司 光学成像系统、取像模组及电子装置
CN114624855B (zh) 2020-12-10 2024-07-02 宁波舜宇车载光学技术有限公司 光学镜头及电子设备
JP7149550B1 (ja) 2021-03-31 2022-10-07 敬二 池森 撮像光学系

Patent Citations (4)

* Cited by examiner, † Cited by third party
Publication number Priority date Publication date Assignee Title
JPH0968648A (ja) * 1995-09-01 1997-03-11 Asahi Optical Co Ltd 内視鏡対物レンズ
US20160161706A1 (en) * 2014-12-04 2016-06-09 Young Optics Inc. Optical lens system
US11125972B2 (en) * 2018-12-28 2021-09-21 Genius Electronic Optical (Xiamen) Co., Ltd. Optical imaging lens
CN109633870B (zh) * 2019-02-25 2021-09-03 宁波舜宇车载光学技术有限公司 光学镜头及成像设备

Also Published As

Publication number Publication date
TW202326220A (zh) 2023-07-01
TWI799016B (zh) 2023-04-11
CN116266010A (zh) 2023-06-20
EP4198599A1 (de) 2023-06-21
US20250216649A1 (en) 2025-07-03
US20230194835A1 (en) 2023-06-22
US12271053B2 (en) 2025-04-08

Similar Documents

Publication Publication Date Title
EP4242717A1 (de) Optisches linsensystem zur bildgebung, bildaufnahmeeinheit und elektronische vorrichtung
EP4053612A1 (de) Linsensystem zur optischen bildgebung, bildaufnahmeeinheit und elektronische vorrichtung
EP4105701B1 (de) Linsenanordnung zur erfassung von optischer bildgebung, bilderfassungseinheit und elektronische vorrichtung
EP4102279B1 (de) Photographisches objektivsystem, bildaufnahmeeinheit und elektronische vorrichtung
EP4040207B1 (de) Optisches bildgebungssystem, bildaufnahmeeinheit und elektronische vorrichtung
US20250216649A1 (en) Image capturing optical system, image capturing unit and electronic device
EP4001985A2 (de) Optisches abbildungslinsensystem, bildaufnahmeeinheit und elektronische vorrichtung
EP4177658B1 (de) Optisches fotografiesystem, bildaufnahmeeinheit und elektronische vorrichtung
EP4152072B1 (de) Optisches fotografiesystem und bildaufnahmeeinheit
EP4209818B1 (de) Bildaufnahmesystem
EP4071534B1 (de) Optische bildgebungslinsenanordnung, bildaufnahmeeinheit und elektronische vorrichtung
EP4109162B1 (de) Optisches abbildungssystem, bildaufnahmeeinheit und elektronische vorrichtung
EP4254033B1 (de) Linsensystem zur optischen bildgebung, bildaufnahmeeinheit und elektronische vorrichtung
EP4254034A1 (de) Bildgebungs-objektivsystem, bildaufnahmeeinheit und elektronische vorrichtung
EP4184232A1 (de) Optische linsenanordnung, bildaufnahmeeinheit und elektronische vorrichtung
EP4191314B1 (de) Optisches bildgebungssystem, bildaufnahmeeinheit und elektronische vorrichtung
EP4286913A1 (de) Optisches linsensystem zur bildgebung, bildaufnahmeeinheit und elektronische vorrichtung
EP4261582A1 (de) Fotografische optische linsenanordnung, bildaufnahmeeinheit und elektronische vorrichtung
EP4296743B1 (de) Bildgebungslinsenanordnung, bildaufnahmeeinheit und elektronische vorrichtung
US20250189764A1 (en) Photographing lens assembly, image capturing unit and electronic device
EP4667996A2 (de) Optische fotografielinsenanordnung, bilderfassungseinheit und elektronische vorrichtung
EP4303635B1 (de) Fotografische optische linsenanordnung, bildaufnahmeeinheit und elektronische vorrichtung
EP4369071A1 (de) Abbildungslinsenanordnung, bilderfassungseinheit und elektronische vorrichtung
EP4283368A1 (de) Linsenanordnung eines abbildungssystems, bildaufnahmeeinheit und elektronische vorrichtung
US20260036783A1 (en) Photographing optical lens assembly, image capturing unit and electronic device

Legal Events

Date Code Title Description
PUAI Public reference made under article 153(3) epc to a published international application that has entered the european phase

Free format text: ORIGINAL CODE: 0009012

STAA Information on the status of an ep patent application or granted ep patent

Free format text: STATUS: REQUEST FOR EXAMINATION WAS MADE

17P Request for examination filed

Effective date: 20220419

AK Designated contracting states

Kind code of ref document: A1

Designated state(s): AL AT BE BG CH CY CZ DE DK EE ES FI FR GB GR HR HU IE IS IT LI LT LU LV MC MK MT NL NO PL PT RO RS SE SI SK SM TR

RBV Designated contracting states (corrected)

Designated state(s): AL AT BE BG CH CY CZ DE DK EE ES FI FR GB GR HR HU IE IS IT LI LT LU LV MC MK MT NL NO PL PT RO RS SE SI SK SM TR

GRAP Despatch of communication of intention to grant a patent

Free format text: ORIGINAL CODE: EPIDOSNIGR1

STAA Information on the status of an ep patent application or granted ep patent

Free format text: STATUS: GRANT OF PATENT IS INTENDED

INTG Intention to grant announced

Effective date: 20250304

GRAS Grant fee paid

Free format text: ORIGINAL CODE: EPIDOSNIGR3

GRAA (expected) grant

Free format text: ORIGINAL CODE: 0009210

STAA Information on the status of an ep patent application or granted ep patent

Free format text: STATUS: THE PATENT HAS BEEN GRANTED

P01 Opt-out of the competence of the unified patent court (upc) registered

Free format text: CASE NUMBER: APP_14445/2025

Effective date: 20250325

AK Designated contracting states

Kind code of ref document: B1

Designated state(s): AL AT BE BG CH CY CZ DE DK EE ES FI FR GB GR HR HU IE IS IT LI LT LU LV MC MK MT NL NO PL PT RO RS SE SI SK SM TR

REG Reference to a national code

Ref country code: GB

Ref legal event code: FG4D

REG Reference to a national code

Ref country code: CH

Ref legal event code: EP

REG Reference to a national code

Ref country code: DE

Ref legal event code: R096

Ref document number: 602022014839

Country of ref document: DE

REG Reference to a national code

Ref country code: IE

Ref legal event code: FG4D

REG Reference to a national code

Ref country code: NL

Ref legal event code: FP

PG25 Lapsed in a contracting state [announced via postgrant information from national office to epo]

Ref country code: PT

Free format text: LAPSE BECAUSE OF FAILURE TO SUBMIT A TRANSLATION OF THE DESCRIPTION OR TO PAY THE FEE WITHIN THE PRESCRIBED TIME-LIMIT

Effective date: 20250922

Ref country code: FI

Free format text: LAPSE BECAUSE OF FAILURE TO SUBMIT A TRANSLATION OF THE DESCRIPTION OR TO PAY THE FEE WITHIN THE PRESCRIBED TIME-LIMIT

Effective date: 20250521

Ref country code: ES

Free format text: LAPSE BECAUSE OF FAILURE TO SUBMIT A TRANSLATION OF THE DESCRIPTION OR TO PAY THE FEE WITHIN THE PRESCRIBED TIME-LIMIT

Effective date: 20250521

REG Reference to a national code

Ref country code: LT

Ref legal event code: MG9D

PG25 Lapsed in a contracting state [announced via postgrant information from national office to epo]

Ref country code: NO

Free format text: LAPSE BECAUSE OF FAILURE TO SUBMIT A TRANSLATION OF THE DESCRIPTION OR TO PAY THE FEE WITHIN THE PRESCRIBED TIME-LIMIT

Effective date: 20250821

Ref country code: GR

Free format text: LAPSE BECAUSE OF FAILURE TO SUBMIT A TRANSLATION OF THE DESCRIPTION OR TO PAY THE FEE WITHIN THE PRESCRIBED TIME-LIMIT

Effective date: 20250822

PG25 Lapsed in a contracting state [announced via postgrant information from national office to epo]

Ref country code: PL

Free format text: LAPSE BECAUSE OF FAILURE TO SUBMIT A TRANSLATION OF THE DESCRIPTION OR TO PAY THE FEE WITHIN THE PRESCRIBED TIME-LIMIT

Effective date: 20250521

PG25 Lapsed in a contracting state [announced via postgrant information from national office to epo]

Ref country code: BG

Free format text: LAPSE BECAUSE OF FAILURE TO SUBMIT A TRANSLATION OF THE DESCRIPTION OR TO PAY THE FEE WITHIN THE PRESCRIBED TIME-LIMIT

Effective date: 20250521

PG25 Lapsed in a contracting state [announced via postgrant information from national office to epo]

Ref country code: HR

Free format text: LAPSE BECAUSE OF FAILURE TO SUBMIT A TRANSLATION OF THE DESCRIPTION OR TO PAY THE FEE WITHIN THE PRESCRIBED TIME-LIMIT

Effective date: 20250521

PG25 Lapsed in a contracting state [announced via postgrant information from national office to epo]

Ref country code: RS

Free format text: LAPSE BECAUSE OF FAILURE TO SUBMIT A TRANSLATION OF THE DESCRIPTION OR TO PAY THE FEE WITHIN THE PRESCRIBED TIME-LIMIT

Effective date: 20250821

PG25 Lapsed in a contracting state [announced via postgrant information from national office to epo]

Ref country code: IS

Free format text: LAPSE BECAUSE OF FAILURE TO SUBMIT A TRANSLATION OF THE DESCRIPTION OR TO PAY THE FEE WITHIN THE PRESCRIBED TIME-LIMIT

Effective date: 20250921

PG25 Lapsed in a contracting state [announced via postgrant information from national office to epo]

Ref country code: LV

Free format text: LAPSE BECAUSE OF FAILURE TO SUBMIT A TRANSLATION OF THE DESCRIPTION OR TO PAY THE FEE WITHIN THE PRESCRIBED TIME-LIMIT

Effective date: 20250521

REG Reference to a national code

Ref country code: AT

Ref legal event code: MK05

Ref document number: 1797216

Country of ref document: AT

Kind code of ref document: T

Effective date: 20250521

PG25 Lapsed in a contracting state [announced via postgrant information from national office to epo]

Ref country code: DK

Free format text: LAPSE BECAUSE OF FAILURE TO SUBMIT A TRANSLATION OF THE DESCRIPTION OR TO PAY THE FEE WITHIN THE PRESCRIBED TIME-LIMIT

Effective date: 20250521

Ref country code: AT

Free format text: LAPSE BECAUSE OF FAILURE TO SUBMIT A TRANSLATION OF THE DESCRIPTION OR TO PAY THE FEE WITHIN THE PRESCRIBED TIME-LIMIT

Effective date: 20250521

Ref country code: SM

Free format text: LAPSE BECAUSE OF FAILURE TO SUBMIT A TRANSLATION OF THE DESCRIPTION OR TO PAY THE FEE WITHIN THE PRESCRIBED TIME-LIMIT

Effective date: 20250521

PG25 Lapsed in a contracting state [announced via postgrant information from national office to epo]

Ref country code: CZ

Free format text: LAPSE BECAUSE OF FAILURE TO SUBMIT A TRANSLATION OF THE DESCRIPTION OR TO PAY THE FEE WITHIN THE PRESCRIBED TIME-LIMIT

Effective date: 20250521

PG25 Lapsed in a contracting state [announced via postgrant information from national office to epo]

Ref country code: EE

Free format text: LAPSE BECAUSE OF FAILURE TO SUBMIT A TRANSLATION OF THE DESCRIPTION OR TO PAY THE FEE WITHIN THE PRESCRIBED TIME-LIMIT

Effective date: 20250521

PG25 Lapsed in a contracting state [announced via postgrant information from national office to epo]

Ref country code: SK

Free format text: LAPSE BECAUSE OF FAILURE TO SUBMIT A TRANSLATION OF THE DESCRIPTION OR TO PAY THE FEE WITHIN THE PRESCRIBED TIME-LIMIT

Effective date: 20250521

PG25 Lapsed in a contracting state [announced via postgrant information from national office to epo]

Ref country code: IT

Free format text: LAPSE BECAUSE OF FAILURE TO SUBMIT A TRANSLATION OF THE DESCRIPTION OR TO PAY THE FEE WITHIN THE PRESCRIBED TIME-LIMIT

Effective date: 20250521