EP4033338A2 - Anzeigevorrichtung - Google Patents

Anzeigevorrichtung Download PDF

Info

Publication number
EP4033338A2
EP4033338A2 EP21215428.0A EP21215428A EP4033338A2 EP 4033338 A2 EP4033338 A2 EP 4033338A2 EP 21215428 A EP21215428 A EP 21215428A EP 4033338 A2 EP4033338 A2 EP 4033338A2
Authority
EP
European Patent Office
Prior art keywords
touch
disposed
line
pixel
substrate
Prior art date
Legal status (The legal status is an assumption and is not a legal conclusion. Google has not performed a legal analysis and makes no representation as to the accuracy of the status listed.)
Granted
Application number
EP21215428.0A
Other languages
English (en)
French (fr)
Other versions
EP4033338A3 (de
EP4033338B1 (de
Inventor
Cheolse Kim
Juhan Kim
Jinseong Kim
Haewon Lee
Current Assignee (The listed assignees may be inaccurate. Google has not performed a legal analysis and makes no representation or warranty as to the accuracy of the list.)
LG Display Co Ltd
Original Assignee
LG Display Co Ltd
Priority date (The priority date is an assumption and is not a legal conclusion. Google has not performed a legal analysis and makes no representation as to the accuracy of the date listed.)
Filing date
Publication date
Application filed by LG Display Co Ltd filed Critical LG Display Co Ltd
Publication of EP4033338A2 publication Critical patent/EP4033338A2/de
Publication of EP4033338A3 publication Critical patent/EP4033338A3/de
Application granted granted Critical
Publication of EP4033338B1 publication Critical patent/EP4033338B1/de
Active legal-status Critical Current
Anticipated expiration legal-status Critical

Links

Images

Classifications

    • HELECTRICITY
    • H10SEMICONDUCTOR DEVICES; ELECTRIC SOLID-STATE DEVICES NOT OTHERWISE PROVIDED FOR
    • H10HINORGANIC LIGHT-EMITTING SEMICONDUCTOR DEVICES HAVING POTENTIAL BARRIERS
    • H10H29/00Integrated devices, or assemblies of multiple devices, comprising at least one light-emitting semiconductor element covered by group H10H20/00
    • H10H29/10Integrated devices comprising at least one light-emitting semiconductor component covered by group H10H20/00
    • H10H29/14Integrated devices comprising at least one light-emitting semiconductor component covered by group H10H20/00 comprising multiple light-emitting semiconductor components
    • H10H29/142Two-dimensional arrangements, e.g. asymmetric LED layout
    • GPHYSICS
    • G06COMPUTING OR CALCULATING; COUNTING
    • G06FELECTRIC DIGITAL DATA PROCESSING
    • G06F3/00Input arrangements for transferring data to be processed into a form capable of being handled by the computer; Output arrangements for transferring data from processing unit to output unit, e.g. interface arrangements
    • G06F3/01Input arrangements or combined input and output arrangements for interaction between user and computer
    • G06F3/03Arrangements for converting the position or the displacement of a member into a coded form
    • G06F3/041Digitisers, e.g. for touch screens or touch pads, characterised by the transducing means
    • G06F3/0412Digitisers structurally integrated in a display
    • GPHYSICS
    • G06COMPUTING OR CALCULATING; COUNTING
    • G06FELECTRIC DIGITAL DATA PROCESSING
    • G06F3/00Input arrangements for transferring data to be processed into a form capable of being handled by the computer; Output arrangements for transferring data from processing unit to output unit, e.g. interface arrangements
    • G06F3/01Input arrangements or combined input and output arrangements for interaction between user and computer
    • G06F3/03Arrangements for converting the position or the displacement of a member into a coded form
    • G06F3/041Digitisers, e.g. for touch screens or touch pads, characterised by the transducing means
    • G06F3/0416Control or interface arrangements specially adapted for digitisers
    • G06F3/04164Connections between sensors and controllers, e.g. routing lines between electrodes and connection pads
    • GPHYSICS
    • G06COMPUTING OR CALCULATING; COUNTING
    • G06FELECTRIC DIGITAL DATA PROCESSING
    • G06F3/00Input arrangements for transferring data to be processed into a form capable of being handled by the computer; Output arrangements for transferring data from processing unit to output unit, e.g. interface arrangements
    • G06F3/01Input arrangements or combined input and output arrangements for interaction between user and computer
    • G06F3/03Arrangements for converting the position or the displacement of a member into a coded form
    • G06F3/041Digitisers, e.g. for touch screens or touch pads, characterised by the transducing means
    • G06F3/0416Control or interface arrangements specially adapted for digitisers
    • G06F3/04166Details of scanning methods, e.g. sampling time, grouping of sub areas or time sharing with display driving
    • GPHYSICS
    • G06COMPUTING OR CALCULATING; COUNTING
    • G06FELECTRIC DIGITAL DATA PROCESSING
    • G06F3/00Input arrangements for transferring data to be processed into a form capable of being handled by the computer; Output arrangements for transferring data from processing unit to output unit, e.g. interface arrangements
    • G06F3/01Input arrangements or combined input and output arrangements for interaction between user and computer
    • G06F3/03Arrangements for converting the position or the displacement of a member into a coded form
    • G06F3/041Digitisers, e.g. for touch screens or touch pads, characterised by the transducing means
    • G06F3/0416Control or interface arrangements specially adapted for digitisers
    • G06F3/0418Control or interface arrangements specially adapted for digitisers for error correction or compensation, e.g. based on parallax, calibration or alignment
    • G06F3/04184Synchronisation with the driving of the display or the backlighting unit to avoid interferences generated internally
    • GPHYSICS
    • G06COMPUTING OR CALCULATING; COUNTING
    • G06FELECTRIC DIGITAL DATA PROCESSING
    • G06F3/00Input arrangements for transferring data to be processed into a form capable of being handled by the computer; Output arrangements for transferring data from processing unit to output unit, e.g. interface arrangements
    • G06F3/01Input arrangements or combined input and output arrangements for interaction between user and computer
    • G06F3/03Arrangements for converting the position or the displacement of a member into a coded form
    • G06F3/041Digitisers, e.g. for touch screens or touch pads, characterised by the transducing means
    • G06F3/044Digitisers, e.g. for touch screens or touch pads, characterised by the transducing means by capacitive means
    • GPHYSICS
    • G06COMPUTING OR CALCULATING; COUNTING
    • G06FELECTRIC DIGITAL DATA PROCESSING
    • G06F3/00Input arrangements for transferring data to be processed into a form capable of being handled by the computer; Output arrangements for transferring data from processing unit to output unit, e.g. interface arrangements
    • G06F3/01Input arrangements or combined input and output arrangements for interaction between user and computer
    • G06F3/03Arrangements for converting the position or the displacement of a member into a coded form
    • G06F3/041Digitisers, e.g. for touch screens or touch pads, characterised by the transducing means
    • G06F3/044Digitisers, e.g. for touch screens or touch pads, characterised by the transducing means by capacitive means
    • G06F3/0443Digitisers, e.g. for touch screens or touch pads, characterised by the transducing means by capacitive means using a single layer of sensing electrodes
    • GPHYSICS
    • G06COMPUTING OR CALCULATING; COUNTING
    • G06FELECTRIC DIGITAL DATA PROCESSING
    • G06F3/00Input arrangements for transferring data to be processed into a form capable of being handled by the computer; Output arrangements for transferring data from processing unit to output unit, e.g. interface arrangements
    • G06F3/01Input arrangements or combined input and output arrangements for interaction between user and computer
    • G06F3/03Arrangements for converting the position or the displacement of a member into a coded form
    • G06F3/041Digitisers, e.g. for touch screens or touch pads, characterised by the transducing means
    • G06F3/044Digitisers, e.g. for touch screens or touch pads, characterised by the transducing means by capacitive means
    • G06F3/0445Digitisers, e.g. for touch screens or touch pads, characterised by the transducing means by capacitive means using two or more layers of sensing electrodes, e.g. using two layers of electrodes separated by a dielectric layer
    • HELECTRICITY
    • H10SEMICONDUCTOR DEVICES; ELECTRIC SOLID-STATE DEVICES NOT OTHERWISE PROVIDED FOR
    • H10DINORGANIC ELECTRIC SEMICONDUCTOR DEVICES
    • H10D86/00Integrated devices formed in or on insulating or conducting substrates, e.g. formed in silicon-on-insulator [SOI] substrates or on stainless steel or glass substrates
    • H10D86/40Integrated devices formed in or on insulating or conducting substrates, e.g. formed in silicon-on-insulator [SOI] substrates or on stainless steel or glass substrates characterised by multiple TFTs
    • H10D86/441Interconnections, e.g. scanning lines
    • HELECTRICITY
    • H10SEMICONDUCTOR DEVICES; ELECTRIC SOLID-STATE DEVICES NOT OTHERWISE PROVIDED FOR
    • H10DINORGANIC ELECTRIC SEMICONDUCTOR DEVICES
    • H10D86/00Integrated devices formed in or on insulating or conducting substrates, e.g. formed in silicon-on-insulator [SOI] substrates or on stainless steel or glass substrates
    • H10D86/40Integrated devices formed in or on insulating or conducting substrates, e.g. formed in silicon-on-insulator [SOI] substrates or on stainless steel or glass substrates characterised by multiple TFTs
    • H10D86/60Integrated devices formed in or on insulating or conducting substrates, e.g. formed in silicon-on-insulator [SOI] substrates or on stainless steel or glass substrates characterised by multiple TFTs wherein the TFTs are in active matrices
    • HELECTRICITY
    • H10SEMICONDUCTOR DEVICES; ELECTRIC SOLID-STATE DEVICES NOT OTHERWISE PROVIDED FOR
    • H10KORGANIC ELECTRIC SOLID-STATE DEVICES
    • H10K59/00Integrated devices, or assemblies of multiple devices, comprising at least one organic light-emitting element covered by group H10K50/00
    • H10K59/10OLED displays
    • H10K59/12Active-matrix OLED [AMOLED] displays
    • HELECTRICITY
    • H10SEMICONDUCTOR DEVICES; ELECTRIC SOLID-STATE DEVICES NOT OTHERWISE PROVIDED FOR
    • H10KORGANIC ELECTRIC SOLID-STATE DEVICES
    • H10K59/00Integrated devices, or assemblies of multiple devices, comprising at least one organic light-emitting element covered by group H10K50/00
    • H10K59/10OLED displays
    • H10K59/12Active-matrix OLED [AMOLED] displays
    • H10K59/131Interconnections, e.g. wiring lines or terminals
    • HELECTRICITY
    • H10SEMICONDUCTOR DEVICES; ELECTRIC SOLID-STATE DEVICES NOT OTHERWISE PROVIDED FOR
    • H10KORGANIC ELECTRIC SOLID-STATE DEVICES
    • H10K59/00Integrated devices, or assemblies of multiple devices, comprising at least one organic light-emitting element covered by group H10K50/00
    • H10K59/40OLEDs integrated with touch screens
    • H10W90/00
    • GPHYSICS
    • G06COMPUTING OR CALCULATING; COUNTING
    • G06FELECTRIC DIGITAL DATA PROCESSING
    • G06F2203/00Indexing scheme relating to G06F3/00 - G06F3/048
    • G06F2203/041Indexing scheme relating to G06F3/041 - G06F3/045
    • G06F2203/04102Flexible digitiser, i.e. constructional details for allowing the whole digitising part of a device to be flexed or rolled like a sheet of paper
    • GPHYSICS
    • G06COMPUTING OR CALCULATING; COUNTING
    • G06FELECTRIC DIGITAL DATA PROCESSING
    • G06F2203/00Indexing scheme relating to G06F3/00 - G06F3/048
    • G06F2203/041Indexing scheme relating to G06F3/041 - G06F3/045
    • G06F2203/04111Cross over in capacitive digitiser, i.e. details of structures for connecting electrodes of the sensing pattern where the connections cross each other, e.g. bridge structures comprising an insulating layer, or vias through substrate

Definitions

  • the present disclosure relates to a display device, and more particularly, to an in-cell touch type of stretchable display device.
  • Display devices used for a computer monitor, a TV, a mobile phone, and the like include an organic light emitting display (OLED) that emits light by itself, a liquid crystal display (LCD) that requires a separate light source, and the like.
  • OLED organic light emitting display
  • LCD liquid crystal display
  • Such display devices are being applied to more and more various fields including not only a computer monitor and a TV, but personal mobile devices, and thus, display devices having a reduced volume and weight while having a wide display area are being studied.
  • a display device manufactured to be stretchable in a specific direction and changeable into various shapes by forming a display unit, lines, and the like on a flexible substrate such as plastic that is a flexible material has received considerable attention as a next-generation display device.
  • An object of the present disclosure is to provide a display device in which a touch system is embedded by arranging touch elements on a first or lower substrate.
  • An object of the present disclosure is to provide a display device capable of simplifying a process and reducing a manufacturing cost by forming touch elements simultaneously when forming the elements on a first or lower substrate.
  • a display device may include a lower or first substrate; a plurality of pixel substrates disposed on the lower or first substrate to be spaced apart from each other along a first direction and a second direction non-parallel, preferably perpendicular, to the first direction; first connection lines disposed between the plurality of pixel substrates disposed along the first direction; second connection lines disposed between the plurality of pixel substrates disposed along the second direction; and a touch electrode disposed in an area adjacent to areas in which the first connection lines and the second connection lines are disposed among spaces between the plurality of pixel substrates.
  • a display device may include a first substrate; a plurality of pixel substrates disposed on the first substrate to be spaced apart from each other along a first direction and a second direction non-parallel, preferably perpendicular, to the first direction; at least one first connection line disposed between and/or connecting pixel substrates among the plurality of pixel substrates disposed along the first direction; at least one second connection line disposed between and/or connecting pixel substrates among the plurality of pixel substrates disposed along the second direction; and a touch electrode disposed between the plurality of pixel substrates in an area adjacent to areas in which the first connection line and the second connection line are disposed.
  • a display device may include a first substrate; a plurality of first connection lines extending in a first direction and a plurality of second connection lines extending in a second direction, the first and second connection lines crossing each other, a plurality of pixel substrates disposed on the first substrate at crossings of the first and second connection lines, and a plurality of touch electrodes respectively disposed between adjacent first connection lines and adjacent second connection lines and between the pixel substrates.
  • a display device may include a lower or first substrate; a plurality of pixel substrates disposed in a matrix form on the lower or first substrate; a plurality of first connection lines connecting a plurality of pixel substrates arranged in a first direction among the plurality of pixel substrates; and a plurality of second connection lines for connecting a plurality of pixel substrates arranged in a second direction among the plurality of pixel substrates, wherein a scan signal is sequentially applied to each of the plurality of first connection lines in a display period, wherein a touch driving signal is sequentially applied to a group of the plurality of first connection lines in a touch period, wherein the touch driving signal is a signal obtained by a sum of a plurality of scan signals.
  • the touch electrode may be exposed by the pixel substrates and/or by the first and/or second connection lines. That is, the touch electrode may not be overlapped by the pixel substrates and/or by the first and/or second connection lines.
  • the first substrate may also be called lower substrate.
  • the first substrate may be a flat and/or even substrate.
  • the touch electrode may be disposed in the area adjacent to areas in which the first connection lines and the second connection lines are disposed between the plurality of pixel substrates.
  • the touch electrode may be disposed in the area adjacent to areas in which the first connection lines and the second connection lines are disposed among spaces between the plurality of pixel substrates.
  • the first connection lines may connect pixel substrates disposed along the first direction.
  • the second connection lines may connect pixel substrates disposed along the second direction.
  • the touch electrode may be disposed between two adjacent first connection lines. Additionally or alternatively, the touch electrode may be disposed between two adjacent second connection lines.
  • the plurality of pixel substrates may include a first pixel substrate, a second pixel substrate, a third pixel substrate and a fourth pixel substrate.
  • the first pixel substrate and the second pixel substrate may be adjacent to each other in the first direction and/or spaced from each other in the first direction.
  • the second pixel substrate and the third pixel substrate may be adjacent to each other in the second direction and/or spaced from each other in the second direction.
  • the third pixel substrate and the fourth pixel substrate may be adjacent to each other in the first direction and/or spaced from each other in the first direction.
  • the fourth pixel substrate and the first pixel substrate may be adjacent to each other in the second direction and/or spaced from each other in the second direction.
  • a space or an area may be defined between the first pixel substrate, the second pixel substrate, the third pixel substrate and the fourth pixel substrate.
  • the touch electrode may be disposed in the space or the area defined by the pixel substrates.
  • the touch electrode may be disposed between the first pixel substrate, the second pixel substrate, the third pixel substrate and the fourth pixel substrate.
  • the first pixel substrate and the second pixel substrate may be flush or aligned in the first direction.
  • the second pixel substrate and the third pixel substrate may be flush or aligned in the second direction.
  • the third pixel substrate and the fourth pixel substrate may be flush or aligned in the first direction.
  • the fourth pixel substrate and the first pixel substrate may be flush or aligned in the first direction.
  • the first pixel substrate and the third pixel substrate may be spaced from each other in the first direction and in the second direction.
  • the second pixel substrate and the fourth pixel substrate may be spaced from each other in the first direction and in the second direction.
  • the touch electrode may be disposed between the first pixel substrate and the third pixel substrate. Additionally or alternatively, the touch electrode may be disposed between the second pixel substrate and the fourth pixel substrate.
  • An arrangement direction of the touch electrode disposed in a first area adjacent to the respective areas in which the first connection line(s) and the second connection line(s) are disposed may be different from an arrangement direction of a touch electrode disposed in a second area adjacent to the first area along the first direction and/or a touch electrode disposed in a third area adjacent to the first area along the second direction.
  • the first connection line may include at least one of a gate line, an emission signal line, a high potential power line and a low potential power line.
  • the second connection line may include at least one of a data line, a high potential power line, a low potential power line and a reference voltage line.
  • Light emitting elements and/or driving elements for driving the light emitting elements may be disposed in or on the pixel substrates.
  • Each pixel substrate may include at least one light emitting element and/or at least one driving element for driving the light emitting element.
  • An arrangement direction of the touch electrode disposed in a first area adjacent to the respective areas in which the first connection line(s) and the second connection line(s) are disposed among areas between the plurality of pixel substrates may be different from an arrangement direction of a touch electrode disposed in a second area adjacent to the first area along the first direction and/or a touch electrode disposed in a third area adjacent to the first area along the second direction.
  • the arrangement direction of the touch electrode disposed in the first area adjacent to the respective areas in which the first connection line(s) and the second connection line(s) are disposed may be identical to an arrangement direction of a touch electrode disposed in a fourth area that is adjacent to the second area along the second direction and/or adjacent to the third area along the first direction.
  • the arrangement direction of the touch electrode disposed in the first area adjacent to the respective areas in which the first connection line(s) and the second connection line(s) are disposed among areas between the plurality of pixel substrates may be identical to an arrangement direction of a touch electrode disposed in a fourth area that is adjacent to the second area along the second direction and/or adjacent to the third area along the first direction.
  • the display device may further comprise a touch bridge line disposed on each of the plurality of pixel substrates.
  • the display device may further comprise a touch line disposed along the second direction in an area between the plurality of pixel substrates.
  • Each of the touch bridge line and the touch line may be electrically connected to the touch electrode.
  • the touch bridge line and/or the touch line may be electrically connected to the touch electrode.
  • the touch electrode may be in contact with the touch line and/or the touch bridge line in each of the plurality of pixel substrates.
  • the touch electrode, the touch bridge line, and/or the touch line may form one touch unit.
  • a light emitting element and/or driving elements for driving the light emitting element may be disposed on each of the plurality of pixel substrates.
  • the touch electrode and/or the touch bridge line may be formed in forming the driving element.
  • the touch line may be formed in forming the second connection line.
  • the driving element may comprise the touch electrode and/or the touch bridge line.
  • the second connection line may comprise the touch line.
  • the display device may comprise a first touch bridge line disposed along the first direction in each of the plurality of pixel substrates.
  • the display device may comprise a touch line disposed along the second direction in an area between the plurality of pixel substrates.
  • the display device may comprise a second touch bridge line disposed along the first direction in the area between the plurality of pixel substrates.
  • the first touch bridge line may be electrically connected to the touch electrode, the second touch bridge line, and/or the touch line.
  • the touch electrode, the first touch bridge line, the touch line, and/or the second touch bridge line may form one touch unit.
  • a support member for supporting the touch electrode may be disposed in an area adjacent to the respective areas in which the first connection lines and/or the second connection lines are disposed.
  • a support member for supporting the touch electrode may be disposed in an area adjacent to the respective areas in which the first connection line(s) and/or the second connection line(s) are disposed among areas between the plurality of pixel substrates.
  • the touch electrode may be disposed on the first substrate.
  • the display device may further comprise a gate driver connected to the first connection lines for sequentially applying a scan signal to each of the plurality of first connection lines in a display period and/or for sequentially applying a touch driving signal to a group of the plurality of first connection lines in a touch period.
  • the touch driving signal may be a signal obtained by a sum of a plurality of scan signals.
  • the display device may further comprise a data driver configured to apply a data voltage to each of the plurality of second connection lines in the display period; and/or a touch circuit for receiving a touch sensing signal from the second connection lines in the touch period.
  • a data driver configured to apply a data voltage to each of the plurality of second connection lines in the display period
  • a touch circuit for receiving a touch sensing signal from the second connection lines in the touch period.
  • the display device may further comprise a first touch electrode disposed on a second substrate; and a plurality of second touch electrodes disposed on a surface of a third substrate facing the second substrate.
  • the first substrate may include first areas in which the pixel substrates are disposed and second areas between the first areas; and wherein the plurality of second touch electrodes is disposed to face the first areas of the second substrate.
  • the display device may include a first substrate; a plurality of pixel substrates disposed in a matrix form on the first substrate; a plurality of first connection lines connecting a plurality of pixel substrates arranged along a first direction; and a plurality of second connection lines for connecting a plurality of pixel substrates arranged along a second direction, preferably among the plurality of pixel substrates.
  • a scan signal may be sequentially applied to each of the plurality of first connection lines in a display period.
  • a touch driving signal may be sequentially applied to a group of the plurality of first connection lines in a touch period.
  • the touch driving signal may be a signal obtained by a sum of a plurality of scan signals. Any herein disclosed display device may be operated within the method.
  • a data voltage may be applied to each of the plurality of second connection lines in the display period.
  • a touch sensing signal may be applied to each of the plurality of second connection lines in the touch period.
  • a display device may include a lower substrate on which a first touch electrode is disposed; a middle substrate on which first areas having a plurality of pixel substrates in which light emitting elements and driving elements for driving the light emitting elements are disposed, and second areas between the plurality of pixel substrates are defined; and an upper substrate having a plurality of second touch electrodes disposed on a surface thereof facing the lower substrate.
  • the lower substrate may also be called second substrate.
  • the middle substrate may also be called first substrate.
  • the upper substrate may also be called third substrate.
  • the plurality of second touch electrodes may be disposed to correspond to the first areas of the second substrate.
  • any one of the herein disclosed display devices may be a flexible and/or bendable and/or stretchable display device. That is, the first substrate and/or the second substrate and/or the third substrate may be flexible and/or bendable and/or stretchable.
  • each pixel substrate may include at least one pixel or pixel circuit.
  • the present disclosure can provide a display device in which a touch system is embedded by forming touch electrodes in stretched areas where pixel substrates are not disposed on a substrate.
  • a touch electrode disposed in a stretched area and touch electrodes disposed in stretched areas adjacent to the stretched area along a first direction and a second direction are arranged in different directions, so that touch electrodes that are stretchable along the first direction and the second direction are disposed.
  • touch electrodes even when the touch electrodes are disposed, they can be stretched along the first direction and the second direction.
  • a process can be simplified and a manufacturing cost can be reduced by forming a touch electrode, a touch line, and a touch bridge line at the same time when a driving element for driving a light emitting element is formed.
  • first, second, and the like are used for describing various components, these components are not confined by these terms. These terms are merely used for distinguishing one component from the other components. Therefore, a first component to be mentioned below may be a second component in a technical concept of the present disclosure.
  • a display device may be a display device capable of displaying an image even if it is bent or stretched, and may also be referred to as a stretchable display device.
  • the display device according to the present disclosure may have higher flexibility and stretchability than typical display devices. Accordingly, a user can bend or stretch the display device, and a shape of the display device can be freely changed according to the user's manipulation. For example, when the user grabs and pulls an end of the display device, the display device may be stretched in a pulling direction by the user. If the user places the display device on an uneven outer surface, the display device can be disposed to be bent according to a shape of the outer surface. When force applied by the user is removed, the display device can return to an original shape thereof.
  • FIG. 1 is an exploded perspective view of a display device according to an exemplary embodiment of the present disclosure.
  • a display device 100 includes a lower substrate 110, an upper substrate US, a plurality of pixel substrates 111A, a plurality of non-pixel substrates 111N, a plurality of connection members 120, chip on films (COF) 140, and a printed circuit board DD.
  • COF chip on films
  • the lower substrate may also be called first substrate 110.
  • the lower substrate 110 is a substrate for supporting and protecting various components of the display device 100.
  • the upper substrate US is a substrate for covering and protecting various components of the display device 100.
  • Each of the lower substrate 110 and the upper substrate US may be formed of an insulating material that can be bent or stretched as a flexible substrate.
  • each of the lower substrate 110 and the upper substrate US may be formed of an elastomer such as silicone rubber such as polydimethylsiloxane (PDMS), polyurethane (PU), or polytetrafluoroethylene (PTFE) and thus, may have flexible properties.
  • PDMS polydimethylsiloxane
  • PU polyurethane
  • PTFE polytetrafluoroethylene
  • the materials of the lower substrate 110 and the upper substrate US may be the same, but are not limited thereto.
  • each of the lower substrate 110 and the upper substrate US is a flexible substrate and may reversibly expand and contract. Accordingly, the lower substrate 110 may be referred to as a lower flexible substrate or a first flexible substrate, and the upper substrate US may also be referred to as an upper flexible substrate or a second flexible substrate. In addition, each of the lower substrate 110 and the upper substrate US may have an elastic modulus of several MPa to several hundred MPa. In addition, a ductile breaking rate of the lower substrate 110 and the upper substrate US may be 100% or more. Here, the ductile breaking rate means an elongation rate at a time at which a stretched object is broken or cracked. A thickness of the lower substrate 110 may be 10 ⁇ m to 1 mm, but is not limited thereto.
  • the lower substrate 110 may have an active area (a display area) AA and a non-active area (a non-display area) NA surrounding the display area AA.
  • the display area AA is an area in which an image is displayed in the display device 100.
  • a plurality of pixels PX are disposed in the display area AA.
  • each of the pixels PX may include a display element and various driving elements for driving the display element.
  • the various driving elements may mean at least one thin film transistor (TFT) and a capacitor, but the present disclosure is not limited thereto.
  • TFT thin film transistor
  • each of the plurality of pixels PX may be connected to various lines.
  • each of the plurality of pixels PX may be connected to various lines such as a gate line, a data line, a high potential power line, a low potential power line, and a reference voltage line.
  • Touch electrode areas TA may be further defined in the display area AA.
  • the touch electrode area TA may be an area defined between four adjacent pixel substrates 111A. More specifically, the touch electrode area TA may be a spaced area between the pixel substrates 111A in a diagonal direction of X-axis and Y-axis directions based on one pixel substrate 111A.
  • the non-display area NA is an area adjacent to the display area AA.
  • the non-display area NA is adjacent to the display area AA and surrounds the display area AA.
  • the present disclosure is not limited thereto, and the non-display area NA corresponds to an area of the lower substrate 110 excluding the display area AA, which may be deformed and separated into various shapes.
  • Components for driving the plurality of pixels PX disposed in the display area AA are disposed in the non-display area NA.
  • Gate drivers GD may be disposed in the non-display area NA.
  • a plurality of pads connected to the gate drivers GD and data drivers may be disposed in the non-display area NA, and each of the pads may be connected to each of the plurality of pixels PX in the display area AA.
  • the plurality of pixel substrates 111A and the plurality of non-pixel substrates 111N are disposed on the lower substrate 110.
  • the plurality of pixel substrates 111A may be disposed in the display area AA of the lower substrate 110, and the plurality of non-pixel substrates 111N may be disposed in the non-display area NA of the lower substrate 110.
  • the plurality of non-pixel substrates 111N are disposed in the non-display area NA on an upper side and a left side of the display area AA, the present disclosure is not limited thereto, and the plurality of non-pixel substrates 111N may be disposed in an arbitrary area of the non-display area NA.
  • the plurality of pixel substrates 111A and the plurality of non-pixel substrates 111N are rigid substrates and are respectively independently disposed on the lower substrate 110 to be spaced apart from each other.
  • the plurality of pixel substrates 111A and the plurality of non-pixel substrates 111N may be more rigid than the lower substrate 110. That is, the lower substrate 110 may have a more flexible characteristic than the plurality of pixel substrates 111A and the plurality of non-pixel substrates 111N, and the plurality of pixel substrates 111A and the plurality of non-pixel substrates 111N may have a more rigid characteristic than the lower substrate 110.
  • the plurality of pixel substrates 111A and the plurality of non-pixel substrates 111N which are a plurality of rigid substrates, may be formed of a plastic material having flexibility, for example, may be formed of polyimide (PI), polyacrylate, polyacetate, or the like.
  • the plurality of pixel substrates 111A and the plurality of non-pixel substrates 111N may be formed of the same material, but are not limited thereto, and may be formed of different materials.
  • a modulus of the plurality of pixel substrates 111A and the plurality of non-pixel substrates 111N may be 10 times greater, preferably 100 times greater, more preferably 1000 times greater, than a modulus of the lower substrate 110, but the present disclosure is not limited thereto.
  • the modulus may be an elastic modulus.
  • an elastic modulus of the plurality of pixel substrates 111A and the plurality of non-pixel substrates 111N may be 2 GPa to 9 GPa depending on transparency.
  • the elastic modulus when the plurality of pixel substrates 111A and the plurality of non-pixel substrates 111N are transparent, the elastic modulus may be 2 GPa, and when the plurality of pixel substrates 111A and the plurality of non-pixel substrates 111N are opaque, the elastic modulus may be 9 GPa.
  • the present disclosure is not limited thereto. Accordingly, the plurality of pixel substrates 111A and the plurality of non-pixel substrates 111N may be a plurality of rigid substrates having rigidity compared to the lower substrate 110.
  • the plurality of pixels PX may be disposed on the plurality of pixel substrates 111A, and the gate drivers GD may be disposed on the non-pixel substrates 111N located on the left side of the display area AA among the plurality of non-pixel substrates 111N.
  • the gate drivers GD may be formed on the non-pixel substrates 111N by a gate in panel (GIP) method when various components on the pixel substrates 111A are manufactured. Accordingly, various circuit components constituting the gate driver GD, such as various transistors, capacitors, and lines may be disposed on the plurality of non-pixel substrates 111N.
  • GIP gate in panel
  • various circuit components constituting the gate driver GD such as various transistors, capacitors, and lines may be disposed on the plurality of non-pixel substrates 111N.
  • the present disclosure is not limited thereto, and the gate driver GD may be mounted in a chip on film (COF) method.
  • COF chip on film
  • the plurality of non-pixel substrates 111N are also disposed in the non-display area NA located on the right side of the display area AA, and the gate drivers GD may also be mounted on the plurality of non-pixel substrates 111N located on the right side of the display area AA.
  • a size of the plurality of non-pixel substrates 111N may be greater than a size of the plurality of pixel substrates 111A. Specifically, a size of each of the plurality of non-pixel substrates 111N may be greater than a size of each of the plurality of pixel substrates 111A.
  • the gate driver GD is disposed on each of the plurality of non-pixel substrates 111N, and, for example, one stage of the gate driver GD may be disposed on each of the plurality of non-pixel substrates 111N.
  • the size of each of the plurality of non-pixel substrates 111N may be greater than the size of each of the plurality of pixel substrates 111A.
  • the COF 140 is a film in which various components are disposed on a base film 141 having flexibility, and is a component for supplying signals to the plurality of sub-pixels of the display area AA.
  • the COF 140 may be bonded to the plurality of pads 101 of the plurality of non-pixel substrates 111N disposed in the non-display area NA and supply a power supply voltage, a data voltage, a gate voltage, and the like to each of the plurality of sub-pixels of the display area AA through the pads.
  • the COF 140 includes a base film 141 and a driver IC 142, and addition to this, may have various components disposed thereon.
  • the base film 141 is a layer for supporting the driver IC 142 of the COF 140.
  • the base film 141 may be formed of an insulating material, for example, may be formed of an insulating material having flexibility.
  • the driver IC 142 is a component that processes data for displaying an image and a driving signal for processing the data.
  • FIG. 1 illustrates that the driver IC 142 is mounted by a method of the COF 140, but the present disclosure is not limited thereto.
  • the driver IC 142 may also be mounted by a chip on glass (COG) method, a tape carrier package (TCP) method or the like.
  • COG chip on glass
  • TCP tape carrier package
  • one non-pixel substrate 111N is disposed in the non-display area NA on the upper side of the display area AA to correspond to one row of the pixel substrates 111A disposed in the display area AA and one COF 140 is disposed in one non-pixel substrate 111N, but the present disclosure is not limited thereto. That is, one non-pixel substrate 111N and one COF 140 may be disposed to correspond to a plurality of rows of the pixel substrates 111A.
  • a controller such as an IC chip or a circuit unit may be mounted on a printed circuit board DD.
  • a memory, a processor or the like may be mounted on the printed circuit board DD.
  • the printed circuit board DD is a component to transmit signals for driving the display element from the controller to the display element. Although it is illustrated that one printed circuit board DD is used in FIG. 1 , the number of printed circuit boards DD is not limited thereto. Also, the printed circuit board may be defined as a data driver.
  • the plurality of connection members 120 may be disposed between the plurality of pixel substrates 111A, between the plurality of non-pixel substrates 111N, and between the plurality of pixel substrates 111A and the plurality of non-pixel substrates 111N.
  • the plurality of connection members 120 will be described in more detail with reference to FIGS. 3 and 4a below.
  • the display device 100 of the present disclosure can implement a touch system capable of sensing a touch while being stretchable.
  • a touch unit for touch sensing of the display device 100 according to an exemplary embodiment of the present disclosure will be described in more detail with reference to FIG. 2 .
  • the touch unit may include touch circuitry, and may be referred to as touch circuitry.
  • FIG. 2 is a plan view schematically illustrating the touch system of FIG. 1 .
  • a plurality of touch electrodes 131 serving as touch sensors are embedded in the display area AA of the display device 100.
  • the touch electrode 131 recognizes the touch through a change in capacitance that is generated as a small amount of electric charge moves to a touch point.
  • the display device 100 may include a touch circuit TD for sensing a touch by driving the plurality of touch electrodes 131.
  • the touch circuit TD may sequentially drive the plurality of touch electrodes 131 by sequentially supplying touch driving signals to the plurality of touch electrodes 131. Thereafter, the touch circuit TD receives touch sensing signals from the touch electrodes to which the touch driving signals are applied. The touch circuit TD may calculate presence or absence of a touch and touch coordinates based on the touch sensing signal received from each of the plurality of touch electrodes 131.
  • Each of the plurality of touch electrodes 131 may form a touch unit TU.
  • a plurality of touch units TU may be partitioned by grouping the plurality of pixels PX. That is, since each pixel PX is disposed on each of the plurality of pixel substrates 111A disposed on the lower substrate 110, the plurality of touch units TU may be partitioned by grouping some of the plurality of pixel substrates 111A.
  • Each touch unit TU may include the touch electrode 131 serving as a touch sensor, touch lines 132 for transmitting the touch driving signal and the touch sensing signal to the touch circuit TD, touch bridge lines 133 arranged in a direction crossing the touch lines 132 for configuring the touch unit TU, and touch contact units 134 allowing one touch electrode among the plurality of touch electrodes 131 to be connected to the corresponding touch unit TU.
  • the display device 100 including the touch unit TU according to an exemplary embodiment of the present disclosure will be described in more detail with reference to FIGS. 3 to 5 .
  • FIG. 3 is an enlarged plan view of the touch unit TU of the display device according to an exemplary embodiment of the present disclosure.
  • FIG. 4a is a cross-sectional view taken along IVa-IVa' of FIG. 3 .
  • FIG. 4b is a cross-sectional view taken along IVb-IVb' of FIG. 3 .
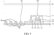
  • FIG. 5 is a cross-sectional view taken along line V-V' of FIG. 3 .
  • FIG. 3 may be an enlarged plan view of one touch unit TU in the display area.
  • the plurality of pixel substrates 111A are disposed on the lower substrate 110 in the display area AA.
  • the plurality of pixel substrates 111A are disposed on the lower substrate 110 to be spaced apart from each other.
  • the plurality of pixel substrates 111A may be arranged in a matrix form on the lower substrate 110 as illustrated in FIGS. 1 and 3 , but the present disclosure is not limited thereto.
  • the plurality of pixels PX may be grouped in the touch unit TU. At least two pixels PX may be included in the touch unit TU. In FIG. 3 , the touch unit TU including four pixels PX will be described as an example.
  • a plurality of sub-pixels SPX constituting the plurality of pixels PX and the touch bridge lines 133 are disposed on the plurality of pixel substrates 111A.
  • the touch bridge lines 133 are disposed in the X-axis direction which is a first direction, and are disposed in a straight line shape on the plurality of pixel substrates 111A.
  • the touch bridge line 133 may be electrically connected to the touch electrode 131 and the touch line 132 disposed on the lower substrate 110 through a first contact hole CH1 and a second contact hole CH2 to thereby form the touch unit TU.
  • Each of the pixel substrates 111A may belong to a row (e.g., first pixel substrates) of the pixel substrates 111A and to a column (e.g., second pixel substrates) of the pixel substrates 111A.
  • the plurality of connection members 120 may be disposed between the plurality of pixel substrates 111A, between the plurality of non-pixel substrates 111N, or between the plurality of pixel substrates 111A and the plurality of non-pixel substrates 111N.
  • the connection members 120 may be disposed on the same layer as the plurality of pixel substrates 111A.
  • the connection members 120 may be formed of the same material as the plurality of pixel substrates 111A, and may have the same stacked structure.
  • the plurality of connection members 120 have a bent shape.
  • the plurality of connection members 120 may have a sinusoidal shape.
  • the shape of the plurality of connection members 120 is not limited thereto, and for example, the plurality of connection members 120 may extend in a zigzag manner, and may have various shapes such as a shape in which a plurality of rhombus-shaped substrates are connected at vertices thereof to extend.
  • the number and shape of the plurality of connection members 120 illustrated in FIG. 3 are exemplary, and the number and shape of the plurality of connection members 120 may be variously changed according to design.
  • the number of the plurality of connection members 120 disposed between the pixel substrates 111A adjacent in the X-axis direction which is the first direction may be different from the number of the plurality of connection members 120 disposed between the pixel substrates 111A adjacent in the Y-axis direction which is a second direction.
  • the number of the plurality of connection members 120 arranged in the X-axis direction is smaller than the number of the plurality of connection members 120 arranged in the Y-axis direction.
  • one of the plurality of connection members 120 arranged in the Y-axis direction may support the touch line 132 that transmits a touch signal.
  • the touch electrode area TA is defined between four pixel substrates 111A disposed adjacent to each other in the X-axis direction and the Y-axis direction, and the connection members 120 may also be disposed in the touch electrode area TA.
  • an area that is located in a first column of a first row in the Y-axis direction may be defined as a first touch electrode area TA1 and an area that is located in a second column of the first row in the Y-axis direction may be defined as a second touch electrode area TA2.
  • connection members 120 may be support members 120, and may be referred to as the support members 120.
  • connection member 120 arranged in the first touch electrode area TA1 and the connection member 120 arranged in the fourth touch electrode area TA4 may have the same arrangement direction, and the connection member 120 arranged in the second touch electrode area TA2 and the connection member 120 arranged in the third touch electrode area TA3 may have the same arrangement direction.
  • the arrangement direction of the connection members 120 arranged in the first touch electrode area TA1 and the fourth touch electrode area TA4 may be different from the arrangement direction of the connection members 120 arranged in the second touch electrode area TA2 and the third touch electrode area TA3.
  • connection members 120 disposed in the first touch electrode area TA1 and the fourth touch electrode area TA4 may have a shape that is advantageous to stretching when the lower substrate 110 is stretched in the X-axis direction
  • connection members 120 disposed in the second touch electrode area TA2 and the third touch electrode area TA3 may have a shape that is advantageous to stretching when the lower substrate 110 is stretched in the Y-axis direction.
  • the touch electrodes 131 are disposed in the touch electrode areas TA according to the shapes of the connection members 120. Accordingly, the display device 100 according to the present disclosure can be stretched in both the X-axis direction and the Y-axis direction even when a touch system is implemented by disposing the touch electrodes 131 in the display device 100. As illustrated in FIGS.
  • a touch system can be implemented within the display device 100 by disposing the touch electrodes 131 on the connection members 120 after the connection members 120 are formed in the touch electrode areas TA where the connection members 120 are not previously disposed.
  • a plurality of connection lines 180, the plurality of touch electrodes 131, and a plurality of the touch lines 132 may be disposed on the plurality of connection members 120.
  • the plurality of connection lines 180, the plurality of touch electrodes 131, and the plurality of touch lines 132 are disposed on the plurality of connection members 120, and may have shapes corresponding to the plurality of connection members 120.
  • the plurality of connection lines 180, the plurality of touch electrodes 131, and the plurality of touch lines 132 may have the same shape as the connection members 120.
  • the plurality of connection lines 180, the plurality of touch electrodes 131, and the plurality of touch lines 132 may have a sinusoidal shape.
  • the plurality of connection lines 180 electrically connect pads disposed on adjacent pixel substrates 111A among the plurality of pixel substrates 111A and may extend in a shape in which they are bent between respective pads 190.
  • the plurality of connection lines 180 may extend in a zigzag manner.
  • the plurality of connection lines 180 may have various shapes, such as a shape in which a plurality of rhombus-shaped lines are connected at vertices to extend.
  • the connection lines 180 may include first connection lines 181 and second connection lines 182.
  • the first connection lines 181 and the second connection lines 182 may be disposed on the plurality of pixel substrates 111A and the plurality of connection members 120.
  • the first connection lines 181 may include lines that are disposed on the connection members 120 extending in the X-axis direction which is the first direction among the plurality of connection members 120, and lines that are disposed on the plurality of pixel substrates 111A.
  • the second connection lines 182 may include lines that are disposed on the connection members 120 extending in the Y-axis direction which is the second direction among the plurality of connection members 120, and lines disposed on the plurality of pixel substrates 111A.
  • connection lines 180 may be formed of a metallic material such as copper (Cu), aluminum (Al), titanium (Ti), or molybdenum (Mo) or may be formed of a stacked structure of a metallic material such as copper/molybdenum-titanium (Cu/Moti), titanium/aluminum/titanium (Ti/Al/Ti) or the like, but the present disclosure is not limited thereto.
  • a metallic material such as copper (Cu), aluminum (Al), titanium (Ti), or molybdenum (Mo)
  • Cu/Moti copper/molybdenum-titanium
  • Ti/Al/Ti titanium/aluminum/titanium
  • the first connection line 181 may connect pads on two pixel substrates 111A (e.g., first neighboring pixel substrates 111A) that are disposed side by side among the pads on the plurality of pixel substrates 111A adjacent to each other in the X-axis direction.
  • the first connection line 181 may function as a gate line, an emission signal line, a high potential power line, or a low potential power line, but is not limited thereto.
  • the first connection line 181 may function as a power supply line for transmitting a high potential voltage among power voltages, and may electrically connect pads on two pixel substrates 111A that are disposed side by side in the X-axis direction.
  • the second connection line 182 may connect two pixel substrates 111A (e.g., second neighboring pixel substrates 111A) that are disposed side by side among the plurality of pixel substrates 111A adjacent to each other in the Y-axis direction.
  • the second connection line 182 may function as a data line, a high potential power line, a low potential power line, or a reference voltage line, but is not limited thereto.
  • the second connection line 182 may function as a data line, and may electrically connect data lines on the two pixel substrates 111A disposed side by side in the Y-axis direction.
  • the touch electrode 131 may be disposed in the touch electrode area TA between the four pixel substrates 111A disposed adjacent to each other in the X-axis direction and the Y-axis direction.
  • the touch electrode 131 may be disposed on the connection member 120 positioned in the touch electrode area TA.
  • the touch electrode 131 may be disposed in an area adjacent to areas in which the first connection lines 181 and the second connection lines 182 are disposed among spaces between the plurality of pixel substrates 111A.
  • the touch electrode 131 may be disposed in an area where the first connection line 181 and the second connection line 182 are not disposed among the spaces between the plurality of pixel substrates 111A.
  • An arrangement direction of the touch electrode 131 disposed in the first area TA1 of the touch electrode area TA is different from an arrangement direction of the touch electrode 131 disposed in the second area TA2 adjacent to the first area TA1 in the X-axis direction.
  • the arrangement direction of the touch electrode 131 disposed in the first area TA1 may also be different from an arrangement direction of the touch electrode 131 disposed in the third area TA3 adjacent to the first area TA1 in the Y-axis direction.
  • the arrangement direction of the touch electrode 131 disposed in the first area TA1 of the touch electrode area TA may be identical to the arrangement direction of the touch electrode 131 disposed in the fourth area TA4 adjacent to the second area TA2 and the third area TA3.
  • the fourth area TA4 of the touch electrode area TA may be an area adjacent to the first area TA1 in a diagonal direction.
  • the touch electrode 131 may be electrically connected to the touch bridge line 133 disposed on each pixel substrate 111A.
  • the touch electrode 131 may have a bent shape in the touch electrode area TA.
  • the shape of the touch electrode 131 is not limited thereto, and may have various stretchable shapes.
  • the touch electrode 131 may be shaped in a zig-zag manner.
  • the touch electrode 131 may be formed in a shape in which it is bent upward and downward.
  • the touch line 132 may be disposed in the same direction as a plurality of the second connection lines 182. That is, the touch line 132 may be disposed between the pixel substrates 111A arranged in the Y-axis direction. The touch line 132 may be electrically connected to the touch electrode 131. The touch line 132 may extend in a bent shape. However, the shape of the plurality of touch lines 132 is not limited thereto, and the plurality of touch lines 132 may have various stretchable shapes. For example, the touch line 132 may be shaped in a zig-zag manner. In addition, the touch line 132 may be formed in a shape in which it is bent upward and downward.
  • the touch lines 132 may be disposed on the plurality of pixel substrates 111A and the connection members 120.
  • the touch line 132 may include a first touch line 132a disposed on an upper surface of the connection member 120, and a second touch line 132b disposed on an upper surface of the pixel substrate 111A.
  • the first touch line 132a may be formed of the same material as the first connection line 181 or the second connection line 182, but is not limited thereto.
  • the second touch line 132b may be formed of the same material as a source electrode 153 and a drain electrode 154, but is not limited thereto.
  • the first touch line 132a and the second touch line 132b are integrally formed, the first touch line 132a and the second touch line 132b may be formed of the same material as the first connection line 181 or the second connection line 182.
  • the first touch lines 132a and the second touch lines 132b may be electrically connected through a touch line contact hole CH0, the second contact hole CH2, and a third contact hole CH3.
  • the touch line 132 may be electrically connected to the touch electrode 131 through the second contact hole CH2. More specifically, considering IVb to IVb' of FIG. 4b sequentially, the second touch line 132b is in contact with and electrically connected to the first touch line 132a through the second contact hole CH2.
  • the first touch line 132a is formed on a side surface of a planarization layer 115 and the upper surface of the connection member 120.
  • the first touch line 132a is in contact with and electrically connected to the second touch line 132b through the third contact hole CH3.
  • the second touch line 132b is disposed on the pixel substrate 111A.
  • the second touch line 132b and the touch bridge line 133 overlap but are not connected by a contact hole.
  • the second touch line 132b is in contact with and electrically connected to the first touch line 132a through the touch line contact hole CH0.
  • a plurality of inorganic insulating layers are disposed on the plurality of pixel substrates 111A.
  • the plurality of inorganic insulating layers may include a buffer layer 112, a gate insulating layer 113, and an interlayer insulating layer 114, but are not limited thereto.
  • various inorganic insulating layers may be additionally disposed on the plurality of pixel substrates 111A.
  • at least one of the buffer layer 112, the gate insulating layer 113, and the interlayer insulating layer 114 may be omitted.
  • the buffer layer 112 may be disposed on the plurality of pixel substrates 111A.
  • the buffer layer 112 is formed on the plurality of pixel substrates 111A to protect various components of the display device 100 from penetration of moisture (H 2 O) and oxygen (O 2 ) from outside the lower substrate 110 and the plurality of pixel substrates 111A.
  • the buffer layer 112 may be formed of an insulating material, and for example, an inorganic layer formed of silicon nitride (SiNx), silicon oxide (SiOx), silicon oxynitride (SiON), or the like may be formed as a single layer or a multilayer therefor. However, the buffer layer 112 may be omitted depending on a structure or characteristics of the display device 100.
  • the buffer layer 112 may be formed only in areas overlapping the plurality of pixel substrates 111A and the plurality of non-pixel substrates 111N.
  • the buffer layer 112 may be formed of an inorganic material, damage such as cracks may easily occur in a process of stretching the display device 100. Accordingly, the buffer layer 112 is not formed in areas between the plurality of pixel substrates 111A and the plurality of non-pixel substrates 111N, but is patterned in shapes of the plurality of pixel substrates 111A and the plurality of non-pixel substrates 111N and may be formed only on the plurality of pixel substrates 111A and the plurality of non-pixel substrates 111N.
  • the buffer layer 112 is formed only in the areas overlapping the plurality of pixel substrates 111A and the plurality of non-pixel substrates 111N, which are rigid substrates, so that damage to the buffer layer 112 can be prevented even when the display device 100 is deformed, such as bent or stretched.
  • a transistor 150 including a gate electrode 151, an active layer 152, the source electrode 153, and the drain electrode 154 is formed on the buffer layer 112.
  • the active layer 152 is disposed on the buffer layer 112.
  • the active layer 152 may be formed of an oxide semiconductor, amorphous silicon (a-Si), polycrystalline silicon (poly-Si), an organic semiconductor or the like.
  • the gate insulating layer 113 is disposed on the active layer 152.
  • the gate insulating layer 113 is a layer for electrically insulating the gate electrode 151 and the active layer 152 and may be formed of an insulating material.
  • the gate insulating layer 113 may be formed as a single layer of silicon nitride (SiNx) or silicon oxide (SiOx) which is an inorganic material or a multilayer of silicon nitride (SiNx) or silicon oxide (SiOx), but is not limited thereto.
  • the gate electrode 151 is disposed on the gate insulating layer 113.
  • the gate electrode 151 is disposed to overlap the active layer 152.
  • the gate electrode 151 may be formed of any one of various metallic materials, for example, molybdenum (Mo), aluminum (Al), chromium (Cr), gold (Au), titanium (Ti), nickel (Ni), neodymium (Nd), and copper (Cu), an alloy of two or more thereof, or a multilayer thereof, but the present disclosure is not limited thereto.
  • the interlayer insulating layer 114 is disposed on the gate electrode 151.
  • the interlayer insulating layer 114 is a layer for insulating the gate electrode 151 and the source electrode 153 and the drain electrode 154 and may be formed of an inorganic material in the same manner as the buffer layer 112.
  • the interlayer insulating layer 114 may be formed of any one of various metallic materials, for example, molybdenum (Mo), aluminum (Al), chromium (Cr), gold (Au), titanium (Ti), nickel (Ni), neodymium (Nd), and copper (Cu), an alloy of two or more thereof, or a multilayer thereof, but the present disclosure is not limited thereto.
  • the source electrode 153 and the drain electrode 154 that are respectively in contact with the active layer 152 are disposed on the interlayer insulating layer 114.
  • the source electrode 153 and the drain electrode 154 are spaced apart from each other on the same layer.
  • the source electrode 153 and the drain electrode 154 may be electrically connected to the active layer 152 in a manner in contact with the active layer 152.
  • the source electrode 153 and the drain electrode 154 may be formed of any one of various metallic materials, for example, molybdenum (Mo), aluminum (Al), chromium (Cr), gold (Au), titanium (Ti), nickel (Ni), neodymium (Nd), and copper (Cu), an alloy of two or more thereof, or a multilayer thereof, but the present disclosure is not limited thereto.
  • Mo molybdenum
  • Al aluminum
  • Cr chromium
  • Au gold
  • Ti titanium
  • Ni nickel
  • Nd neodymium
  • Cu copper
  • the gate insulating layer 113 and the interlayer insulating layer 114 may be patterned and formed only in areas overlapping the plurality of pixel substrates 111A. Since the gate insulating layer 113 and the interlayer insulating layer 114 may also be formed of the same inorganic material as the buffer layer 112, damage such as cracks may easily occur in the process of stretching the display device 100. Accordingly, the gate insulating layer 113 and the interlayer insulating layer 114 are not formed in the areas between the plurality of pixel substrates 111A, but are patterned in the shape of the plurality of pixel substrates 111A and may be formed only on the plurality of pixel substrates 111A.
  • FIG. 4a illustrates only a driving transistor among various transistors that may be included in the display device 100 for convenience of explanation, but a switching transistor, a capacitor, and the like may also be included in the display device 100.
  • the transistor 150 has a coplanar structure, various transistors such as having a staggered structure or the like may also be used.
  • a gate pad 191 among a plurality of the pads 190 is disposed on the gate insulating layer 113.
  • the gate pad 191 is a pad for transmitting a gate signal to the plurality of sub-pixels SPX.
  • the gate pad 191 may be formed of the same material as the gate electrode 151, but the present disclosure is not limited thereto.
  • the gate pad 191 is connected to the first connection line 181 functioning as a gate line, and the first connection line 181 is disposed to extend from the upper surface of the connection member 120 to an upper surface of the interlayer insulating layer 114 while contacting side surfaces of the buffer layer 112, the gate insulating layer 113, and the interlayer insulating layer 114.
  • the first connection line 181 may contact the gate pad 191 through a contact hole of the interlayer insulating layer 114. Accordingly, the first connection line 181 may be electrically connected to the gate pad 191 and transmit a gate signal to the gate pad 191.
  • the touch bridge line 133 is disposed on the gate insulating layer 113.
  • the touch bridge line 133 is connected to the touch electrode 131 through the first contact hole CH1 to thereby configure the touch unit TU.
  • the first contact hole CH1 may be disposed on the pixel substrate 111A.
  • the touch bridge line 133 may be formed of the same material as the gate electrode 151 of the transistor 150, but is not limited thereto.
  • a power pad 192 among the plurality of pads 190 is disposed on the interlayer insulating layer 114.
  • the power pad 192 is for applying a power signal or a power voltage to the plurality of sub-pixels SPX.
  • the power pad 192 may be formed of the same material as the source electrode 153 or the drain electrode 154 of the transistor 150, but is not limited thereto.
  • the planarization layer 115 is formed on the transistor 150, the power pad 192, and the interlayer insulating layer 114.
  • the planarization layer 115 planarizes an upper portion of the transistor 150 and a lower portion of the light emitting element 170.
  • the planarization layer 115 may be formed as a single layer or a plurality of layers, and may be formed of an organic material. Accordingly, the planarization layer 115 may be referred to as an organic insulating layer.
  • the planarization layer 115 may be formed of an acryl-based organic material, but is not limited thereto.
  • a passivation layer may be formed between the transistor 150 and the planarization layer 115. That is, in order to protect the transistor 150 from penetration of moisture and oxygen, a passivation layer covering the transistor 150 may be formed.
  • the passivation layer may be formed of an inorganic material, and may be formed as a single layer or a multilayer, but is not limited thereto.
  • a first connection electrode CE1 and a second connection electrode CE2 are disposed on the planarization layer 115.
  • the first connection electrode CE1 is an electrode that electrically connects the transistor 150 and the light emitting element 170.
  • the first connection electrode CE1 may be disposed on the planarization layer 115 to contact the light emitting element 170, and may come into contact with the drain electrode 154 of the transistor 150 through a contact hole formed in the planarization layer 115. Accordingly, the light emitting element 170 and the drain electrode 154 of the transistor 150 may be electrically connected to each other by the first connection electrode CE1.
  • the present embodiment is not limited thereto, and the first connection electrode CE1 may be connected to the source electrode 153 of the transistor 150 depending on a type of the transistor 150.
  • the second connection electrode CE2 is an electrode that electrically connects the light emitting element 170 and the power pad 192.
  • the second connection electrode CE2 may be disposed on the planarization layer 115, and may contact the light emitting element 170 and may contact the power pad 192 through a contact hole formed in the planarization layer 115. Accordingly, the light emitting element 170 and the power pad 192 may be electrically connected to each other by the second connection electrode CE2.
  • the touch electrode 131 is disposed on the planarization layer 115.
  • the touch electrode 131 serves as a sensor for sensing a touch, and is disposed in the touch electrode area TA as illustrated in FIG. 3 .
  • the touch electrode 131 may be electrically connected to the touch bridge line 133 through the first contact hole CH1.
  • the touch electrode 131 may be electrically connected to the touch line 132 through the second contact hole CH2.
  • the touch unit TU may include a plurality of the touch electrode areas TA.
  • the touch electrode 131 may be disposed in each of the plurality of touch electrode areas TA.
  • the touch electrodes 131 respectively disposed in the plurality of touch electrode areas TA may be electrically connected to each other through the touch bridge lines 133 and the touch lines 132. Accordingly, the plurality of touch electrode areas TA disposed in the touch unit TU may be electrically connected to be grouped.
  • the touch electrodes 131, the touch lines 132, and the touch bridge lines 133 capable of implementing a touch system can be formed during a manufacturing process.
  • the touch electrodes 131, the touch lines 132, and the touch bridge lines 133 capable of implementing a touch system can be formed during a manufacturing process.
  • a bank 116 is disposed on the first connection electrode CE1, the second connection electrode CE2, and the planarization layer 115.
  • the bank 116 may be configured to include a black material in order to prevent light emitted from the light emitting element 170 from being transmitted to the sub-pixel SPX adjacent thereto and causing color mixing.
  • the bank 116 may be formed of an organic insulating material, and may be formed of the same material as the planarization layer 115.
  • the bank 116 may be formed of an acryl-based resin, a benzocyclobutene (BCB)-based resin, or polyimide, but is not limited thereto.
  • the light emitting element 170 is disposed on the first connection electrode CE1, the second connection electrode CE2, and the planarization layer 115.
  • the light emitting element 170 is a component that is disposed to correspond to each of the plurality of sub-pixels SPX and emits light in a specific wavelength range.
  • the light emitting element 170 may be a blue light emitting element emitting blue light, a red light emitting element emitting red light, or a green light emitting element emitting green light, but the present disclosure is not limited thereto.
  • the light emitting element 170 may be defined differently depending on a type of the display device 100.
  • the light emitting element 170 may be an organic light emitting element 170 including an anode, an organic light emitting layer 172 and a cathode.
  • the light emitting element 170 may be a light emitting diode (LED) including an n-type semiconductor layer, the light emitting layer 172, and a p-type semiconductor layer, in particular, may be a micro-light emitting diode (LED).
  • LED light emitting diode
  • LED micro-light emitting diode
  • the light emitting element 170 is a micro-LED formed of an inorganic light emitting material, but the present disclosure is not limited thereto, and the light emitting element 170 formed of an organic light emitting material may be used.
  • the light emitting element 170 includes a first semiconductor layer 171, the light emitting layer 172, a second semiconductor layer 173, a first electrode 174, and a second electrode 175.
  • the light emitting element 170 may be a micro-LED having a lateral structure or a vertical structure, but the present disclosure is not limited thereto.
  • the first electrode 174 is disposed on the first connection electrode CE1, and the second electrode 175 is disposed on the second connection electrode CE2.
  • the first electrode 174 and the second electrode 175 are electrically connected to the first connection electrode CE1 and the second connection electrode CE2, respectively.
  • the first electrode 174 may transfer a voltage from the drain electrode 154 of the transistor 150 to the first semiconductor layer 171, and the second electrode 175 may transmit a voltage from the power pad 192 to the second semiconductor layer 173.
  • a plurality of connection patterns BP are disposed between the first connection electrode CE1 and the second connection electrode CE2 and the light emitting element 170.
  • the plurality of connection patterns BP are mediums for bonding each of the plurality of light emitting elements 170 and the first connection electrode CE1 and the second connection electrode CE2.
  • the plurality of connection patterns BP may be gold (Au) bumps or solder bumps, but the present disclosure is not limited thereto.
  • the plurality of connection patterns BP includes a first connection pattern BP1 and a second connection pattern BP2.
  • the first connection pattern BP1 is disposed between the first connection electrode CE1 and the first electrode 174
  • the second connection pattern BP2 is disposed between the second connection electrode CE2 and the second electrode 175.
  • Each of the plurality of light emitting elements 170 may be bonded onto the pixel substrate 111A by means of the plurality of connection patterns BP disposed between the first electrode 174 and the first connection electrode CE1 and between the second electrode 175 and the second connection electrode CE2.
  • the second connection pattern BP2 disposed between the second electrode 175 and the second connection electrode CE2 may compensate for a step difference between the second electrode 175 of the light emitting element 170 and the second connection electrode CE2.
  • the first semiconductor layer 171 is disposed on the first electrode 174, and the second semiconductor layer 173 is disposed on the first semiconductor layer 171.
  • the first semiconductor layer 171 and the second semiconductor layer 173 may be formed by implanting n-type or p-type impurities into gallium nitride (GaN).
  • the first semiconductor layer 171 is a p-type semiconductor layer formed by implanting p-type impurities into gallium nitride
  • the second semiconductor layer 173 is an n-type semiconductor layer formed by implanting n-type impurities into gallium nitride, but the present disclosure is not limited thereto.
  • the p-type impurity may be magnesium (Mg), zinc (Zn), beryllium (Be), or the like and the n-type impurity may be silicon (Si), germanium (Ge), tin (Sn), or the like.
  • the present disclosure is not limited thereto.
  • the light emitting layer 172 is disposed between the first semiconductor layer 171 and the second semiconductor layer 173.
  • the light emitting layer 172 may receive holes and electrons from the first semiconductor layer 171 and the second semiconductor layer 173 and emit light.
  • the light emitting layer 172 may have a single layer or a multi-quantum well (MQW) structure.
  • the light emitting layer 172 may be formed of indium gallium nitride (InGaN) or gallium nitride (GaN), but the present disclosure is not limited thereto.
  • the upper substrate US is disposed on the light emitting element 170 and the lower substrate 110.
  • the upper substrate US is a substrate for supporting various components disposed under the upper substrate US.
  • the upper substrate US is formed by coating a material for constituting the upper substrate US on the lower substrate 110 and the pixel substrate 111A and then performing curing thereon, and may be disposed to be in contact with the lower substrate 110, the pixel substrate 111A, the connection member 120, and the connection line 180.
  • the upper substrate US is a flexible substrate and may be formed of an insulating material that can be bent or stretched.
  • the upper substrate US is a flexible substrate and may reversibly expand and contract.
  • the upper substrate US may have an elastic modulus of several MPa to several hundred MPa, and a ductile breaking rate of the upper substrate US may be 100% or more.
  • the thickness of the upper substrate US may be 10 ⁇ m to 1 mm, but the present disclosure is not limited thereto.
  • the upper substrate US may be formed of the same material as the lower substrate 110.
  • the upper substrate US may be formed of an elastomer, for example, silicone rubber such as polydimethylsiloxane (PDMS), polyurethane (PU), or polytetrafluoroethylene (PTFE) and thus, may have flexible properties.
  • PDMS polydimethylsiloxane
  • PU polyurethane
  • PTFE polytetrafluoroethylene
  • the material of the upper substrate US is not limited thereto.
  • a polarization layer may be disposed on the upper substrate US.
  • the polarization layer may polarize light incident from the outside of the display device 100 and reduce external light reflection.
  • an optical film other than the polarization layer may be disposed on the upper substrate US.
  • the touch unit TU will be described in more detail with reference to FIGS. 6a and 6b .
  • the display device according to another exemplary embodiment of the present disclosure has a difference in that the touch bridge line of the display device according to an exemplary embodiment of the present disclosure is separated into a first touch bridge line and a second touch bridge line, and thus, has a difference in touch electrode contact relationship.
  • a display device according to another exemplary embodiment of the present disclosure and the display device according to an exemplary embodiment of the present disclosure will be described in more detail.
  • FIGS. 6a and 6b are enlarged plan views each illustrating a touch unit of a display device according to another exemplary embodiment of the present disclosure.
  • display devices 600 and 600' includes touch electrodes 610 and 610', touch lines 620, first touch bridge lines 630, and second touch bridge lines 640.
  • touch electrodes 610 and 610' A detailed description of components of the display devices 600 and 600' illustrated in FIGS. 6a and 6b except for the touch electrodes 610 and 610', touch lines 620, first touch bridge lines 630, and second touch bridge lines 640 that are components different from those of the display device 100 illustrated in FIGS. 3 to 5 , will be omitted.
  • the touch electrodes 610 and 610' are disposed on the connection members 120 arranged in the touch electrode areas TA defined between four pixel substrates 111A disposed adjacent to each other in an X-axis direction and a Y-axis direction.
  • the touch electrodes 610 and 610' may be electrically connected to the first touch bridge lines 630 disposed on the respective pixel substrates 111A. Specifically, the touch electrode 610 or 610' may be in contact with and electrically connected to the first touch bridge line 630 disposed on the pixel substrate 111A through a fifth contact hole CH5. The touch electrode 610 or 610' extends in a bent shape rather than a straight line shape in the touch electrode area TA.
  • the touch electrodes 610 and 610' having different shapes are disposed, positions of contact portions of the touch electrodes 610 and 610' and the first touch bridge lines 630 may be varied.
  • the touch electrode 610 is in contact with and electrically connected to the first touch bridge line 630 disposed on the pixel substrate 111A which is positioned in the second column of the first row through the fifth contact hole CH5.
  • the touch electrode 610 is in contact with and electrically connected to the touch line 620 disposed on the pixel substrate 111A which is positioned in the first column of the second row through a second contact hole CH2.
  • the touch electrode 610' is in contact with and electrically connected to the first touch bridge line 630 disposed on the pixel substrate 111A which is positioned in the second column of the first row through the fifth contact hole CH5.
  • the touch electrode 610' is in contact with and electrically connected to the touch line 620 disposed on the pixel substrate 111A which is positioned in the first column of the second row through the second contact hole CH2. This may differ depending on the arrangement direction of the touch electrodes 610 and 610'.
  • the touch lines 620 may be disposed on the plurality of pixel substrates 111A and the connection members 120.
  • the touch line 620 may include a first touch line 620a that is disposed on the upper surface of the connection member 120, and a second touch line 620b that is electrically connected to the first touch line 620a and disposed on an upper surface of the pixel substrate 111A.
  • the first touch line 620a may be formed of the same material as the first connection line 181 or the second connection line 182, but is not limited thereto.
  • the second touch line 620b may be formed of the same material as the source electrode 153 and the drain electrode 154, but is not limited thereto. As illustrated in FIG.
  • the first touch lines 620a and the second touch lines 620b may be electrically connected through a touch line contact hole CH0, the second contact hole CH2, and a third contact hole CH3.
  • the touch line 620 may be electrically connected to the touch electrode 131 through the second contact hole CH2.
  • the second touch line 620b of the touch line 620 may be electrically connected to the touch electrode 131 through the second contact hole CH2.
  • the first touch bridge line 630 is disposed on each of the plurality of pixel substrates 111A.
  • the first touch bridge lines 630 are disposed in the same direction as the X-axis direction on the plurality of pixel substrates 111A. That is, the first touch bridge line 630 is disposed in the same direction as the first connection line 181. Since the first touch bridge line 630 is disposed on the pixel substrate 111A, it extends in a straight line shape.
  • the first touch bridge line 630 may be formed of the same material as the gate electrode 151 of the transistor 150, but the present disclosure is not limited thereto.
  • the first touch bridge line 630 is electrically connected to each of the touch electrode 610 and the second touch bridge line 640. Both sides of the first touch bridge line 630 are in contact with and electrically connected to the second touch bridge line 640 through a fourth contact hole CH4 and the fifth contact hole CH5. In addition, the first touch bridge line 630 is electrically connected to the touch electrode 610 through the fifth contact hole CH5. Accordingly, the first touch bridge line 630 is electrically connected to the touch electrode 610 and the second touch bridge line 640 to thereby form the touch unit TU.
  • the second touch bridge line 640 serves to electrically connect the first touch bridge line 630 disposed on the pixel substrate 111A in the X-axis direction.
  • One side of the second touch bridge line 640 is electrically connected to the first touch bridge line 630 disposed on the pixel substrate 111A that is disposed in the first column of the first row through the fourth contact hole CH4, and, the other side of the second touch bridge line 640 is electrically connected to the first touch bridge line 630 through the fifth contact hole CH5 disposed in the pixel substrate 111A that is disposed in the second column of the first row.
  • the second touch bridge line 640 is disposed on one of the plurality of connection members 120 extending in the X-axis direction. That is, the second touch bridge line 640 is disposed in the same direction as the first connection line 181.
  • the second touch bridge line 640 extends in a bent shape rather than a straight line shape.
  • the shape of the second touch bridge line 640 is not limited thereto, and may have various stretchable shapes.
  • the second touch bridge line 640 is formed on one of the plurality of connection members 120 that are in the X-axis direction
  • the touch line 620 is formed on one of the plurality of connection members 120 that are in the Y-axis direction
  • the connection member 120 and the touch electrode 610 are disposed in an area where an existing connection member 120 is not disposed
  • the touch electrode 610, the touch line 620, and the second touch bridge line 640 are formed to be electrically connected to the first touch bridge line 630 disposed on the pixel substrate 111A, so that a touch system can be easily implemented in the display device 100.
  • FIGS. 7a and 7b which are sectional views taken along line VII-VII' illustrated in FIG. 3 will be mainly described.
  • FIGS. 7a and 7b are cross-sectional views taken along line VII-VII' of FIG. 3 .
  • An enlarged plan view of another exemplary embodiment (third exemplary embodiment) of the present disclosure, and an enlarged plan view according to an exemplary embodiment of the present disclosure are identical to each other, but cross-sectional views of another exemplary embodiment (third exemplary embodiment) of the present disclosure and an exemplary embodiment of the present disclosure are different from each other.
  • a display device according to another exemplary embodiment (third exemplary embodiment) of the present disclosure will be described with reference to FIGS. 7a and 7b .
  • touch electrodes 731 and 731' are disposed in touch electrode areas TA defined between four pixel substrates 111A that are adjacent to each other in the X-axis direction and the Y-axis direction.
  • the touch electrode 731 or 731' is not supported by the connection member 120. That is, the connection member 120 is disposed only in the area where the existing first connection line 181 and the second connection line 182 are disposed, and the connection member 120 is not disposed in an area where the first connection line 181 and the second connection line 182 are not disposed.
  • the touch electrode 731 or 731' is disposed on the lower substrate 110. That is, the connection member 120 is not disposed on a partial area of the lower substrate 110 overlapping the touch electrode 731.
  • the touch electrode 731 may be spaced apart from the lower substrate 110. Accordingly, a separation space may be formed between the touch electrode 731 and the lower substrate 110.
  • the touch electrode 731' may be in contact with the lower substrate 110. Accordingly, a separation space may not be formed between the touch electrode 731 and the lower substrate 110.
  • connection member 120 in an area where the first connection line 181 and the second connection line 182 are not disposed, that is, in the touch electrode area TA, so that a process procedure for implementing a touch system in the display devices 700 and 700' may be further simplified.
  • the display device according to still another exemplary embodiment (fourth exemplary embodiment) of the present disclosure does not have a separate touch electrode and has a different touch driving method, compared to the display device according to an exemplary embodiment of the present disclosure.
  • differences between still another exemplary embodiment (fourth exemplary embodiment) of the present disclosure and another exemplary embodiment of the present disclosure will be mainly described.
  • FIG. 8 is a plan view of a display device according to still another exemplary embodiment (fourth exemplary embodiment) of the present disclosure.
  • FIG. 9 is an enlarged plan view of the display device according to still another exemplary embodiment (fourth exemplary embodiment) of the present disclosure.
  • FIG. 10 is a waveform diagram illustrating a voltage applied to the display device according to still another exemplary embodiment (fourth exemplary embodiment) of the present disclosure.
  • each of the plurality of first connection lines 881 connects the plurality of pixel substrates 111A arranged along a first direction among the plurality of pixel substrates 111A
  • each of second connection lines 882 connects the plurality of pixel substrates 111A arranged along a second direction among the plurality of pixel substrates 111A.
  • a separate touch electrode is not disposed. That is, in the display device 800 according to still another exemplary embodiment (fourth exemplary embodiment) of the present disclosure, the plurality of first connection lines 881 and the plurality of second connection lines 882 serve as touch electrodes.
  • the display device 800 may be time-divisionally driven in a display period and a touch period.
  • each of the plurality of first connection lines 881 may perform a function of a gate line applying a gate voltage to the plurality of pixels PX
  • each of the plurality of second connection lines 882 may perform a function of a data line for applying a data voltage RGB to the plurality of pixels PX.
  • each of the plurality of first connection lines 881 may perform a function of a touch transmission electrode (Tx electrode) for applying a touch driving signal
  • each of the plurality of second connection lines 882 may perform a function of a touch reception electrode (Rx electrode) to which a touch sensing signal is applied.
  • a scan signal is sequentially applied to each of the plurality of first connection lines 881.
  • a first connection line 881-1 that is connected to the plurality of pixel substrates 111A in a first row outputs one pulse which is a first scan signal SCAN1.
  • a first connection line 881-2 that is connected to the pixel substrates 111A in a second row outputs one pulse which is a second scan signal SCAN2.
  • a first connection line 881-3 that is connected to the plurality of pixel substrates 111A in a third row outputs one pulse which is a third scan signal SCAN3.
  • a first connection line 881-4 that is connected to the plurality of pixel substrates 111A in a fourth row outputs one pulse which is a fourth scan signal SCAN4.
  • a first connection line 881-(n-3) that is connected to the plurality of pixel substrates 111A in a (n-3)th row outputs one pulse which is an (n-3)th scan signal SCAN(n-3).
  • a first connection line 881-(n-2) that is connected to the plurality of pixel substrates 111A in a (n-2)th row outputs one pulse which is an (n-2)th scan signal SCAN(n-2).
  • a first connection line 881-(n-1) that is connected to the plurality of pixel substrates 111A in a (n-1)th row outputs one pulse which is an (n-1)th scan signal SCAN(n-1).
  • a first connection line 881-n that is connected to the plurality of pixel substrates 111A in an n-th row outputs one pulse which is an n-th scan signal SCAN(n).
  • the data voltage RGB is applied to each of the plurality of second connection lines 882 in the display period.
  • a touch driving signal is sequentially applied to a plurality of groups of the first connection lines 881.
  • a first touch driving signal Tx_first may be applied to a first group of first connection lines, that is, the first connection line 881-1 that is connected to the plurality of pixel substrates 111A in the first row, the first connection line 881-2 that is connected to the plurality of pixel substrates 111A in the second row, the first connection line 881-3 that is connected to the plurality of pixel substrates 111A in the third row, and the first connection line 881-4 that is connected to the plurality of pixel substrates 111A in the fourth row.
  • the above-described first touch driving signal Tx_first may be the sum of the first scan signal SCAN1, the second scan signal SCAN2, the third scan signal SCAN3, and the fourth scan signal SCAN4 described above.
  • a last touch driving signal Tx last may be applied to a last group of first connection lines, that is, the first connection line 881-(n-3) that is connected to the plurality of pixel substrates 111A in the (n-3)th row, the first connection line 881-(n-2) that is connected to the plurality of pixel substrates 111A in the (n-2)th row, the first connection line 881-(n-1) that is connected to the plurality of pixel substrates 111A in the (n-1)th row, and the first connection line 881-n that is connected to the plurality of pixel substrates 111A in the n-th row.
  • the above-described last touch driving signal Tx last may be the sum of the (n-3)th scan signal SCAN(n-3), the (n-2)th scan signal SCAN(n-2), the (n-1)th scan signal SCAN(n-1), and the n-th scan signal SCAN(n).
  • a reference voltage may be applied to each of the plurality of second connection lines 882 in the display period, and through this, a touch sensing signal may be detected.
  • mutual capacitance formed between the first connection line 881 and the second connection line 882 can be detected by the touch sensing signal. Accordingly, in the display device (fourth exemplary embodiment) according to still another exemplary embodiment of the present disclosure, a touch by a finger or a pen can be sensed with mutual capacitance in the touch period, and the plurality of pixels may can emit light to implement an image in the display period.
  • FIG. 11 is a schematic cross-sectional view of a display device according to yet another exemplary embodiment (fifth exemplary embodiment) of the present disclosure.
  • a display device 1000 according to still another exemplary embodiment (fifth exemplary embodiment) of the present disclosure includes a lower substrate 1100, an upper substrate 1200, and a middle substrate 1300.
  • the lower substrate may be called first substrate.
  • the middle substrate may be called second substrate.
  • the upper substrate may be called third substrate.
  • the lower substrate 1100 is a substrate for supporting and protecting various components of the display device 1000.
  • the lower substrate 1100 may be a flexible substrate and may be formed of an insulating material that can be bent or stretched.
  • a first touch electrode 1110 is disposed on an upper surface of the lower substrate 1100.
  • the first touch electrode 1110 is disposed in any one of an X-axis direction and a Y-axis direction.
  • the first touch electrode 1110 may be a touch transmission electrode (Tx electrode).
  • the upper substrate 1200 is disposed above the lower substrate 1100 and serves to cover and protect various components of the display device 1000.
  • a plurality of second touch electrodes 1210 corresponding to the first touch electrode 1110 are disposed on a lower surface of the upper substrate 1200, that is, on a surface of the upper substrate 1200, facing the lower substrate 1100.
  • the plurality of second touch electrodes 1210 may be formed of a transparent conductive material.
  • the second touch electrode 1210 may be a touch reception electrode (Rx electrode).
  • the middle substrate 1300 is a substrate on which various components of the display device 1000 are disposed.
  • the middle substrate 1300 may include first areas 1310 having pixel substrates in which pixels and driving elements for driving the pixels are disposed, and second areas 1320 in which the pixel substrates are not disposed.
  • a plurality of the pixel substrates are independently disposed on the lower substrate 1100 to be spaced apart from each other, and the areas where the pixel substrates are disposed are the first areas 1310, and spaced areas between the pixel substrates are the second areas 1320.
  • the pixel substrate may be rigid compared to the lower substrate 1100. That is, the lower substrate 1100 may have more flexible characteristics compared to the pixel substrate, and the pixel substrate may have more rigid characteristics compared to the lower substrate 1100.
  • the middle substrate 1300 may be in a state in which all of components except for the lower substrate 110, the touch electrode 131, and the first touch bridge line 133 are disposed in the same manner as the case of FIG. 1 .
  • the middle substrate 1300 is bonded to the lower substrate 1100 through a first adhesive layer 1111, and is bonded to the upper substrate 1200 through a second adhesive layer 1211.
  • the first touch electrode 1110 may be disposed on an entire surface of the lower substrate 1100, regardless of the first area 1310 and the second area 1320 of the middle substrate 1300. Meanwhile, the second touch electrode 1210 may be disposed to correspond to the first area 1310 of the middle substrate 1300. As described above, in the display device 1000 according to yet another exemplary embodiment of the present disclosure, the first touch electrode 1110 is disposed on the upper surface of the lower substrate 1100, and the second touch electrode 1210 is disposed on the surface of the upper substrate 1200 facing the lower substrate 1100, so that a touch by a finger, a pen, or the like may be sensed with a peripheral capacitance formed between the first touch electrode 1110 and the second touch electrode 1210.
  • a display device may include a lower substrate; a plurality of pixel substrates disposed on the lower substrate to be spaced apart from each other along a first direction and a second direction perpendicular to the first direction; first connection lines disposed between the plurality of pixel substrates disposed along the first direction; second connection lines disposed between the plurality of pixel substrates disposed along the second direction; and a touch electrode disposed in an area adjacent to areas in which the first connection lines and the second connection lines are disposed among spaces between the plurality of pixel substrates.
  • An arrangement direction of the touch electrode disposed in a first area adjacent to the respective areas in which the first connection lines and the second connection lines are disposed among areas between the plurality of pixel substrates may be different from an arrangement direction of the touch electrode disposed in a second area adjacent to the first area along the first direction and the touch electrode disposed in a third area adjacent to the first area along the second direction.
  • the arrangement direction of the touch electrode disposed in the first area adjacent to the respective areas in which the first connection lines and the second connection lines are disposed among areas between the plurality of pixel substrates may be identical to an arrangement direction of the touch electrode disposed in a fourth area that is adjacent to the second area along the second direction and adjacent to the third area along the first direction.
  • the display device may further comprise a touch bridge line disposed on each of the plurality of pixel substrates.
  • a touch line may be disposed along the second direction in an area between the plurality of pixel substrates.
  • Each of the touch bridge line and the touch line may be electrically connected to the touch electrode.
  • the touch electrode may be in contact with the touch line or the touch bridge line in each of the plurality of pixel substrates.
  • the touch electrode, the touch bridge line, and the touch line may form one touch unit.
  • a light emitting element and driving elements for driving the light emitting element may be disposed on each of the plurality of pixel substrates.
  • the touch electrode and the touch bridge line may be formed in forming the driving element.
  • the touch line may be formed in forming the second connection line.
  • the display device may further comprise a first touch bridge line disposed along the first direction in each of the plurality of pixel substrates, a touch line disposed along the second direction in an area between the plurality of pixel substrates and a second touch bridge line disposed along the first direction in the area between the plurality of pixel substrates.
  • the first touch bridge line may be electrically connected to the touch electrode, the second touch bridge line, and the touch line.
  • the touch electrode, the first touch bridge line, the touch line, and the second touch bridge line may form one touch unit.
  • a support member for supporting the touch electrode may be disposed in an area adjacent to the respective areas in which the first connection lines and the second connection lines are disposed among areas between the plurality of pixel substrates.
  • the touch electrode may be disposed on the lower substrate.
  • a data voltage may be applied to each of the plurality of second connection lines in the display period.
  • a touch sensing signal may be applied to each of the plurality of second connection lines in the touch period.
  • a display device may include a lower substrate on which a first touch electrode is disposed; a middle substrate on which first areas having a plurality of pixel substrates in which light emitting elements and driving elements for driving the light emitting elements are disposed, and second areas between the plurality of pixel substrates are defined; and an upper substrate having a plurality of second touch electrodes disposed on a surface thereof facing the lower substrate.
  • the plurality of second touch electrodes may be disposed to correspond to the first areas of the middle substrate.

Landscapes

  • Engineering & Computer Science (AREA)
  • General Engineering & Computer Science (AREA)
  • Theoretical Computer Science (AREA)
  • Physics & Mathematics (AREA)
  • General Physics & Mathematics (AREA)
  • Human Computer Interaction (AREA)
  • Microelectronics & Electronic Packaging (AREA)
  • Computer Networks & Wireless Communication (AREA)
  • Devices For Indicating Variable Information By Combining Individual Elements (AREA)
  • Electroluminescent Light Sources (AREA)
  • Power Engineering (AREA)
  • Condensed Matter Physics & Semiconductors (AREA)
  • Computer Hardware Design (AREA)
  • Liquid Crystal (AREA)
EP21215428.0A 2020-12-31 2021-12-17 Anzeigevorrichtung Active EP4033338B1 (de)

Applications Claiming Priority (1)

Application Number Priority Date Filing Date Title
KR1020200189510A KR20220096768A (ko) 2020-12-31 2020-12-31 표시 장치

Publications (3)

Publication Number Publication Date
EP4033338A2 true EP4033338A2 (de) 2022-07-27
EP4033338A3 EP4033338A3 (de) 2022-10-05
EP4033338B1 EP4033338B1 (de) 2025-10-01

Family

ID=78957386

Family Applications (1)

Application Number Title Priority Date Filing Date
EP21215428.0A Active EP4033338B1 (de) 2020-12-31 2021-12-17 Anzeigevorrichtung

Country Status (6)

Country Link
US (1) US11714504B2 (de)
EP (1) EP4033338B1 (de)
JP (1) JP7270022B2 (de)
KR (1) KR20220096768A (de)
CN (1) CN114695416A (de)
TW (1) TWI793914B (de)

Families Citing this family (6)

* Cited by examiner, † Cited by third party
Publication number Priority date Publication date Assignee Title
KR20220053753A (ko) * 2020-10-22 2022-05-02 삼성디스플레이 주식회사 표시 장치
KR102888982B1 (ko) * 2020-11-23 2025-11-19 엘지디스플레이 주식회사 표시 장치
KR20240065976A (ko) 2022-11-07 2024-05-14 엘지디스플레이 주식회사 터치 표시 장치 및 터치 센싱 방법
KR20240107645A (ko) * 2022-12-30 2024-07-09 엘지디스플레이 주식회사 표시 장치
US20260013295A1 (en) * 2023-05-26 2026-01-08 Boe Technology Group Co., Ltd. Stretchable Display Panel and Method for Manufacturing the Same, and Display Apparatus
KR20250135953A (ko) * 2024-03-06 2025-09-16 삼성디스플레이 주식회사 표시 장치

Family Cites Families (17)

* Cited by examiner, † Cited by third party
Publication number Priority date Publication date Assignee Title
KR20050115858A (ko) 2002-12-17 2005-12-08 코닌클리케 필립스 일렉트로닉스 엔.브이. 디스플레이 디바이스
US9164620B2 (en) * 2010-06-07 2015-10-20 Apple Inc. Touch sensing error compensation
JP2014021845A (ja) 2012-07-20 2014-02-03 Japan Display Inc 表示装置
JP6375223B2 (ja) 2014-01-31 2018-08-15 株式会社ジャパンディスプレイ センサ付表示装置及びその駆動方法
KR102511325B1 (ko) 2014-04-18 2023-03-20 가부시키가이샤 한도오따이 에네루기 켄큐쇼 표시 장치 및 그 동작 방법
KR102235497B1 (ko) * 2014-10-20 2021-04-05 엘지디스플레이 주식회사 표시장치
CN105139793A (zh) * 2015-08-28 2015-12-09 京东方科技集团股份有限公司 一种阵列基板、其驱动方法、显示面板及显示装置
KR102375275B1 (ko) 2015-09-10 2022-03-18 삼성디스플레이 주식회사 터치 스크린 일체형 표시장치 및 그의 제조방법
KR102633061B1 (ko) * 2016-09-23 2024-02-06 삼성디스플레이 주식회사 표시 장치 및 이의 제조 방법
CN108663837B (zh) * 2017-03-31 2021-01-22 京东方科技集团股份有限公司 触控显示单元、触控显示基板、触控显示面板及其驱动方法
TW201918850A (zh) * 2017-10-31 2019-05-16 瑞鼎科技股份有限公司 內嵌式電容觸控面板
JP7297424B2 (ja) * 2018-10-23 2023-06-26 エルジー ディスプレイ カンパニー リミテッド 表示装置
US11282786B2 (en) * 2018-12-12 2022-03-22 X Display Company Technology Limited Laser-formed interconnects for redundant devices
KR102706332B1 (ko) * 2018-12-26 2024-09-11 엘지디스플레이 주식회사 터치 패널 및 이를 포함하는 스트레쳐블 표시장치
EP3675178B1 (de) * 2018-12-27 2025-01-29 LG Display Co., Ltd. Anzeigevorrichtung
CN111430443A (zh) * 2020-04-29 2020-07-17 武汉华星光电半导体显示技术有限公司 一种有机发光显示器及其制造方法
CN111799320B (zh) 2020-09-01 2023-04-18 京东方科技集团股份有限公司 显示面板以及显示装置

Also Published As

Publication number Publication date
JP2022105300A (ja) 2022-07-13
KR20220096768A (ko) 2022-07-07
EP4033338A3 (de) 2022-10-05
JP7270022B2 (ja) 2023-05-09
TW202227953A (zh) 2022-07-16
US11714504B2 (en) 2023-08-01
CN114695416A (zh) 2022-07-01
US20220206619A1 (en) 2022-06-30
TWI793914B (zh) 2023-02-21
EP4033338B1 (de) 2025-10-01

Similar Documents

Publication Publication Date Title
US11462157B2 (en) Stretchable display panel and stretchable display device including the same
EP4033338B1 (de) Anzeigevorrichtung
KR102857030B1 (ko) 스트레쳐블 표시 장치
US11502069B2 (en) Stretchable display device
KR102884737B1 (ko) 표시 장치
US11720196B2 (en) Display device
US20250299605A1 (en) Stretchable display device
US12166018B2 (en) Stretchable display device
US20230217707A1 (en) Display device
US20240213267A1 (en) Display device
US12093494B2 (en) Touch panel and display device including the same
KR102888982B1 (ko) 표시 장치
KR102884742B1 (ko) 표시 장치
KR20240107645A (ko) 표시 장치
KR20220057103A (ko) 표시 장치
US20230215873A1 (en) Display device
US11874705B2 (en) Display device
KR20240107757A (ko) 표시 장치 및 이의 구동 방법
KR20230102424A (ko) 표시 장치
KR20230102203A (ko) 표시 장치

Legal Events

Date Code Title Description
PUAI Public reference made under article 153(3) epc to a published international application that has entered the european phase

Free format text: ORIGINAL CODE: 0009012

STAA Information on the status of an ep patent application or granted ep patent

Free format text: STATUS: REQUEST FOR EXAMINATION WAS MADE

17P Request for examination filed

Effective date: 20211217

AK Designated contracting states

Kind code of ref document: A2

Designated state(s): AL AT BE BG CH CY CZ DE DK EE ES FI FR GB GR HR HU IE IS IT LI LT LU LV MC MK MT NL NO PL PT RO RS SE SI SK SM TR

PUAL Search report despatched

Free format text: ORIGINAL CODE: 0009013

AK Designated contracting states

Kind code of ref document: A3

Designated state(s): AL AT BE BG CH CY CZ DE DK EE ES FI FR GB GR HR HU IE IS IT LI LT LU LV MC MK MT NL NO PL PT RO RS SE SI SK SM TR

RIC1 Information provided on ipc code assigned before grant

Ipc: G06F 3/044 20060101AFI20220831BHEP

RBV Designated contracting states (corrected)

Designated state(s): AL AT BE BG CH CY CZ DE DK EE ES FI FR GB GR HR HU IE IS IT LI LT LU LV MC MK MT NL NO PL PT RO RS SE SI SK SM TR

STAA Information on the status of an ep patent application or granted ep patent

Free format text: STATUS: EXAMINATION IS IN PROGRESS

17Q First examination report despatched

Effective date: 20240222

GRAP Despatch of communication of intention to grant a patent

Free format text: ORIGINAL CODE: EPIDOSNIGR1

STAA Information on the status of an ep patent application or granted ep patent

Free format text: STATUS: GRANT OF PATENT IS INTENDED

INTG Intention to grant announced

Effective date: 20250430

GRAS Grant fee paid

Free format text: ORIGINAL CODE: EPIDOSNIGR3

GRAA (expected) grant

Free format text: ORIGINAL CODE: 0009210

STAA Information on the status of an ep patent application or granted ep patent

Free format text: STATUS: THE PATENT HAS BEEN GRANTED

AK Designated contracting states

Kind code of ref document: B1

Designated state(s): AL AT BE BG CH CY CZ DE DK EE ES FI FR GB GR HR HU IE IS IT LI LT LU LV MC MK MT NL NO PL PT RO RS SE SI SK SM TR

REG Reference to a national code

Ref country code: GB

Ref legal event code: FG4D

Ref country code: CH

Ref legal event code: F10

Free format text: ST27 STATUS EVENT CODE: U-0-0-F10-F00 (AS PROVIDED BY THE NATIONAL OFFICE)

Effective date: 20251001

REG Reference to a national code

Ref country code: IE

Ref legal event code: FG4D

REG Reference to a national code

Ref country code: DE

Ref legal event code: R096

Ref document number: 602021039465

Country of ref document: DE

PGFP Annual fee paid to national office [announced via postgrant information from national office to epo]

Ref country code: GB

Payment date: 20251222

Year of fee payment: 5

PGFP Annual fee paid to national office [announced via postgrant information from national office to epo]

Ref country code: AT

Payment date: 20260113

Year of fee payment: 5

PGFP Annual fee paid to national office [announced via postgrant information from national office to epo]

Ref country code: FR

Payment date: 20251223

Year of fee payment: 5