EP4025837B1 - Flüssigkeitsnachfüllsystem und verfahren zum nachfüllen - Google Patents

Flüssigkeitsnachfüllsystem und verfahren zum nachfüllen Download PDF

Info

Publication number
EP4025837B1
EP4025837B1 EP20781117.5A EP20781117A EP4025837B1 EP 4025837 B1 EP4025837 B1 EP 4025837B1 EP 20781117 A EP20781117 A EP 20781117A EP 4025837 B1 EP4025837 B1 EP 4025837B1
Authority
EP
European Patent Office
Prior art keywords
liquid
reservoir
circulating system
supply
replenishing
Prior art date
Legal status (The legal status is an assumption and is not a legal conclusion. Google has not performed a legal analysis and makes no representation as to the accuracy of the status listed.)
Active
Application number
EP20781117.5A
Other languages
English (en)
French (fr)
Other versions
EP4025837C0 (de
EP4025837A1 (de
Inventor
Jan Henk Cnossen
Denis Alexandrovich BURAKOV
Robert James CLEMSON
Gavin Edward JONES
Current Assignee (The listed assignees may be inaccurate. Google has not performed a legal analysis and makes no representation or warranty as to the accuracy of the list.)
Aalberts Hfc BV
Original Assignee
Aalberts Hfc BV
Priority date (The priority date is an assumption and is not a legal conclusion. Google has not performed a legal analysis and makes no representation as to the accuracy of the date listed.)
Filing date
Publication date
Priority claimed from NL2025076A external-priority patent/NL2025076B1/en
Application filed by Aalberts Hfc BV filed Critical Aalberts Hfc BV
Publication of EP4025837A1 publication Critical patent/EP4025837A1/de
Application granted granted Critical
Publication of EP4025837C0 publication Critical patent/EP4025837C0/de
Publication of EP4025837B1 publication Critical patent/EP4025837B1/de
Active legal-status Critical Current
Anticipated expiration legal-status Critical

Links

Images

Classifications

    • FMECHANICAL ENGINEERING; LIGHTING; HEATING; WEAPONS; BLASTING
    • F24HEATING; RANGES; VENTILATING
    • F24DDOMESTIC- OR SPACE-HEATING SYSTEMS, e.g. CENTRAL HEATING SYSTEMS; DOMESTIC HOT-WATER SUPPLY SYSTEMS; ELEMENTS OR COMPONENTS THEREFOR
    • F24D3/00Hot-water central heating systems
    • F24D3/10Feed-line arrangements, e.g. providing for heat-accumulator tanks, expansion tanks ; Hydraulic components of a central heating system
    • F24D3/1083Filling valves or arrangements for filling

Definitions

  • the present invention relates to a liquid replenishing system and method of replenishing liquid into a liquid circulating system using the replenishing system. More in particular, the present invention relates to a method and liquid replenishing system, where the liquid replenishing system is connected or at least connectable to a pressurized liquid circulating system via a pump and to a pressurized liquid supply, and is configured to replenish or supply liquid into the liquid circulating system even if pressure of liquid in the liquid circulating system is above pressure of liquid supplied by the liquid supply.
  • Document DE 103 29 740 A1 discloses a replenishing system comprising the features of the preamble of independent claim 1.
  • Typical for this device is that a free distance is provided in a reservoir to prevent both liquids in the liquid circulating system and from the liquid supply from coming into contact.
  • This free distances, or so called air gaps are devices for protection of potable water in water installations from pollution. This is laid down in a European Standard, which applies to air gaps in factory-assembled products and to constructed air gaps in situ, and defines the physico-chemical characteristics of materials of construction used for the purpose and application to ensure compliance with this European Standard during normal working use.
  • the system comprises:
  • the known controllable valve may be linked to and operated by a float to open, when a liquid level in the reservoir has lowered due to operation of the pump.
  • the pump has a capacity to generate a higher pressure than the pressure in the liquid supply and even the pressure in the liquid circulating system, in order to be able to replenish liquid into the liquid circulating system, better than the liquid supply could when directly linked to the liquid circulating system via a controllable valve, liquid in the reservoir of known replenishing systems is at risk of being depleted, before the intended pressure rise in the liquid circulating system is achieved.
  • Dry pumping causes damage to the pump, and consequently, as a possible logical solution, artisans in the present technical field may conceive of a solution by activating the pump to compensate already for small pressure drops in the liquid circulating system, in order to be able to compensate for such small pressure drops using the volume available for this purpose in the reservoir.
  • the replenishing system is often activated, which is most of the time not necessary, as such small pressure drops may already be caused by cooling of the liquid in the liquid circulating system.
  • system pressure variations may be taken up by an expansion vessel.
  • systems according to the present invention may be employed to replenish initial fluid losses at a low pressure in the liquid circulating system still above an absolutely minimal required pressure for components, such as a heater, to function.
  • system according to the present invention may also be employed to completely fill a liquid circulating system, for example when a liquid supply pressure in a mains connection for supply of potable water is insufficient for filling the liquid circulating system.
  • Other fields of use are also imaginable by the skilled person.
  • reservoirs according to the prior art are - to the best knowledge of the inventors - kept filled to optimally and as quickly as possible anticipate on the need to replenish liquid circulating systems.
  • the present invention proposes several alternative embodiments, within the singular framework of an underlying method in an appended independent method claim.
  • a controller connected to the controllable valve and the pump, and configured to, in case of a need to replenish liquid in the liquid circulating system, activate the controllable valve to supply liquid into the reservoir, which is kept empty before a need to replenish liquid in the liquid circulating system arises, and - at the latest - thereafter activate the pump to replenish liquid from the reservoir into the liquid circulating system and to, when the need to replenish liquid into the liquid circulating system is or has been fulfilled, de-activate the pump, wherein the controller is further configured to coordinate activation and de-activation of at least one of the controllable valve and the pump to at least approximately empty the reservoir, when the need to replenish liquid into the liquid circulating system is or has been at least approximately fulfilled.
  • the reservoir comprises a drain to empty the reservoir, when the need to replenish liquid into the liquid circulating system is or has been at least approximately fulfilled.
  • the valve when a need arises to replenish liquid in the liquid circulating system, the valve is first operated to supply liquid into the beforehand empty reservoir.
  • the pump is activated.
  • the pump may be activated at the same time as the liquid supply through the valve, if the liquid supply is capable of supplying sufficient volume of liquid per time unit, to keep up with the pump replenishing the liquid from the reservoir into the liquid circulating system. If, on the other hand, the pump replenishes more liquid into the liquid circulating system than the supply is capable of supplying, the pump may be activated intermittently.
  • the controllable valve may also be activated intermittently or remain open, in order to intermittently or continuously supply liquid into the reservoir.
  • the controllable vale When need to replenish liquid into the liquid circulating system is or has been at least approximately fulfilled, the controllable vale is closed to stop supply of liquid. This may be performed even before the need to replenish has been fulfilled. To this end, a metered amount of liquid may be supplied into the reservoir, which metered amount may be sufficient to allow the pump to replenish the liquid circulating system therewith and achieve fulfilling the need for replenishment. Alternatively, the controllable valve may be allowed to remain open, to completely fill the reservoir. The pump may then withdraw from the reservoir only the volume required to achieve a desired pressure to overcome or fulfill the need for replenishment in the liquid circulating system, or discharge the full volume of the reservoir into the liquid circulating system, to achieve a slightly higher than the desired pressure in the liquid circulating system, and to empty the reservoir.
  • Any liquid remaining in the reservoir may be discharged via the additional or alternative drain.
  • a liquid replenishing system may comprise the drain being from a group comprising: a slow drain, and a drain connected to the controller, wherein the controller is configured to open the drain, when the need to replenish liquid into the liquid circulating system is or has been fulfilled.
  • the slow drain may have a relatively slow drain capacity in comparison with a supply capacity of the liquid supply and/or a pump capacity of the pump. Additionally or alternatively, the slow drain may be located at a bottom of the reservoir.
  • a liquid replenishing system may comprise an overflow conduit, connected at a bottom end thereof, relative to the reservoir, to a sewer connection and comprising at a top end thereof an overflow, defining a maximum liquid level of liquid in the reservoir.
  • drain may be comprised in the overflow conduit at the bottom end thereof.
  • a liquid replenishing system may comprise a pressure sensor to generate a measurement signal of pressure of liquid in the liquid circulating system, wherein the controller is connected or at least connectable to the pressure sensor to receive the measurement signal from the pressure sensor and is configured to determine therefrom any need to replenish liquid into the liquid circulating system.
  • a liquid replenishing system may comprise a level sensor inside the reservoir, to generate a level measurement signal, wherein the controller is connected or at least connectable to the level sensor to receive the level measurement signal. Then, the controller may be configured to determine a volume of liquid in the reservoir, based on the received level measurement signal. Then further, the controller may be configured to de-activate the controllable valve and terminate supply of liquid into the reservoir before the need to replenish liquid into the liquid circulating system is or has been fulfilled, if the volume of liquid in the reservoir is determined to suffice to achieve that the need to replenish liquid into the liquid circulating system will be fulfilled with the volume in the reservoir.
  • a liquid replenishing system may be such, that the controller is configured to de-activate the controllable valve and terminate supply of liquid into the reservoir, when a predetermined maximum amount of liquid is in the reservoir, which predetermined amount at least approximates a capacity amount of liquid that the reservoir is capable of accommodating.
  • a liquid replenishing system may be such, that the controller is configured to activate the pump and replenish liquid in the liquid circulating system, when a predetermined minimum amount of liquid is in the reservoir.
  • a liquid replenishing system may be such that the controller is configured to de-activate the pump and terminate at least temporarily replenishing liquid into the liquid circulating system, when liquid in the reservoir approaches being or has been depleted.
  • a liquid replenishing system may be such, that the controller is configured to de-activate the controllable valve and terminate supply of liquid into the reservoir, when the need to replenish liquid into the liquid circulating system is about to or has been fulfilled, and drives the pump to replenish at least approximately all remaining liquid in the reservoir into the liquid circulating system, even if thereby pressure in the liquid in the liquid circulating system rises above an operating pressure corresponding with no need to replenish liquid into the liquid circulating system, in order to empty the reservoir.
  • a liquid replenishing system may be such, that the reservoir comprises an inner wall defining an inner space thereof. Then, the inner wall may be covered by an anti-bacterial coating. Additionally or alternatively, the inner wall may sufficiently smooth or has a smoothing coating, to prevent water droplets from clinging to the inner wall.
  • a liquid replenishing system may have a liquid outflow opening in a side of the reservoir, having a lower most portion below a height in the reservoir at which the liquid supply debouches into the reservoir, to define a gap between liquid in the reservoir and the liquid supply
  • a liquid replenishing system may be idle for a long time, such that a risk of bacterial growth in either or both of the liquid supply and/or the reservoir may occur, and the liquid supply and/or the reservoir needs to be flushed to combat such bacterial growth.
  • the controllable valve can be made to supply liquid into the reservoir to flush at least the liquid supply, in particular after a predetermined time without replenishing liquid into the liquid circulating system, and / or to flush the reservoir.
  • a liquid replenishing system may comprise a liquid distributor from a group comprising a mesh, a grid, a curved plate, and the like, which is arranged at an outlet of the controllable valve, to disperse liquid supplied into the reservoir over an interior surface of the reservoir.
  • a liquid replenishing system may be such, that the controller is configured to prevent replenishing of liquid into the liquid circulating system at predetermined times of the day, in particular at night. Then, the controller may be configured to override the prevention of replenishing at the predetermined times, in case of a dangerously low pressure in the liquid circulating system for an active component therein, such as a heater.
  • a liquid replenishing system may comprise a siphon of which a first end is arranged in the reservoir and of which a second end is arranged at or near the drain or extends there through.
  • the siphon may contribute to removing any last remnants of fluid from the reservoir and offer a greater degree of flexibility regarding arrangement of the drain.
  • the present disclosure further relates to a method of replenishing liquid into a liquid circulating system, comprising:
  • the controller may be programmable, such as a processor or computer, and then the present disclosure may further relate to a non-transitory computer-readable medium comprising computer readable instructions that, when executed, cause a controller to perform the method.
  • Figures 1 and 2 relate to a first embodiment of a liquid replenishing system 1.
  • Liquid replenishing system 1 is connected or at least connectable to a pressurized liquid circulating system 2.
  • Liquid circulating system 2 may be a heating or cooling system, and comprise heat exchangers, such as a combustion or electric heaters, coolers and other active components, that rely on the presence of a specific minimum pressure in liquid circulating system 2.
  • liquid circulating system 2 is connected or at least connectable to a pressurized liquid supply 3, which is schematically represented as a mains water tap.
  • Liquid replenishing system 1 is configured to replenish liquid into liquid circulating system 2 even if pressure of liquid in liquid circulating system 2 is above pressure of liquid supplied by the liquid supply 3.
  • the liquid replenishing system 1 comprises a reservoir 4 connected or at least connectable to the liquid supply 3 via a controllable supply valve 5.
  • a pump 6 is in fluid connection with the interior of reservoir 4 and connected or at least connectable to the liquid circulating system 2.
  • controller 7 is provided, and connected to the controllable valve 5 and the pump 6. Controller 7 activates, in case of a need to replenish liquid in the liquid circulating system, the controllable valve 5 to supply liquid into reservoir 4, which is kept empty before a need to replenish liquid in the liquid circulating system 2 arises. Simultaneously or thereafter, controller 7 activates pump 6 to replenish liquid from reservoir 4 into liquid circulating system 2. When the need to replenish liquid into liquid circulating system 2 is or has been fulfilled, controller 7 deactivates the pump.
  • Reservoir 4 comprises a drain 8 to empty reservoir 4, when the need to replenish liquid into liquid circulating system 2 is or has been at least approximately fulfilled.
  • Drain 8 is a slow drain located at a bottom of reservoir 4.
  • a controllable drain may be provided, which may be connected to controller 7, wherein controller 7 opens the controllable drain, when the need to replenish liquid into liquid circulating system 2 is or has been fulfilled.
  • the slow drain 8 is formed by small and permanently open through passages 9, leading liquid from the interior of reservoir 4 to a sewer discharge 10, and small through passages 9 define a relatively slow drain capacity in comparison with a supply capacity of the liquid supply 3 and/or a pump capacity of pump 6. In this manner, the drain 8 doesn't hamper the replenishing function of pump 6.
  • Overflow conduit 11 is formed by a rise tube, extending upward from sewer discharge 10, to be connected at a bottom end thereof, relative to reservoir 4, to sewer discharge 10. At a top end of overflow conduit 11, liquid from reservoir 4 is discharged into overflow conduit 11, when liquid threatens to rise in reservoir 4 to a higher than a maximum liquid level of liquid in reservoir 4.
  • drain 8 is comprised in overflow conduit 11 at the bottom end thereof.
  • drain 8 could alternatively be formed in a bottom of reservoir 4, or in any other suitable manner.
  • Drain 8 functions to evacuate liquid from reservoir 4 to empty reservoir 4, when the need to replenish liquid into the liquid circulating system is or has been at least approximately fulfilled. In this manner, reservoir 4 can be emptied and kept empty until replenishment of liquid circulating system 2 is again needed.
  • a need to replenish liquid into liquid circulating system 2 may be detected by a pressure sensor 12, or determined based on measurement signals from sensor 12.
  • Pressure sensor 12 may be a component of liquid circulating system 2, for example a pressure sensor 12 in a heater (not show) in communication with controller 7 for measurement result transfer to controller 7, for it to drive controllable valve 5 and pump 6 (and optionally also controllable drain, in the alternative for the permanently open drain 8 of the embodiment of figures 1 and 2 ).
  • a level sensor 13 is provided in the interior of reservoir 4, defining or sensing a top level 14 at which to close the controllable valve 5, an intermediate level 15 at which to activate pump 6, and a bottom level 16 at which to open controllable valve 5 to supply liquid to the interior of reservoir 4.
  • the intermediate level 15 may be the same as the top level 14.
  • FIG 3 shows an alternative embodiment of a liquid replenishing system 20, which is connected or at least connectable to a pressurized liquid circulating system 2 and to a pressurized liquid supply 3, and is configured to replenish liquid into the liquid circulating system even if pressure of liquid in the liquid circulating system is above pressure of liquid supplied by the liquid supply.
  • the embodiment of liquid replenishing system 20 comprises much the same elements, components, and / or functional units as the embodiment of figures 1 and 2 . Repetitious description thereof is for the most part omitted here.
  • Liquid replenishing system 20 comprises, as alternative or additional features relative to the embodiment of figures 1 and 2 , a branch 21 for separate supply of liquid into reservoir 4 via controllable valve 5 and for flushing mains supply 3 via valve 22 into overflow conduit 11, if a long time has passed since a last instance of replenishing liquid into liquid circulating system 2, to avoid bacterial growth in still standing liquid in liquid supply 3.
  • overflow conduit 11 or reservoir 4 may comprise a permanently open slow drain or an actively controllable drain to a sewer discharge 10 or other discharge, as disclosed above in relation to the embodiment of figures 1 and 2 , to empty and keep empty the reservoir 4.
  • liquid replenishing system 20 in figure 3 may rely on one or more of a number of mechanisms empty and keep empty reservoir 4.
  • a first mechanism may be to supply only some much liquid into reservoir 4 as needed to raise pressure in the liquid circulating system 2 to precisely a desired level and leave reservoir 4 empty.
  • a second mechanism may be, when the need to replenish liquid into the liquid circulating system is or has been at least approximately fulfilled, to de-activate controllable valve 5 to close supply of liquid into reservoir 4, and pump all liquid remaining in reservoir 4 into liquid circulating system 2, to achieve a slightly higher than a desired pressure in the liquid circulating system, which is often negligible in relation to a desired operating pressure for active components, such as a heater or cooler in the liquid circulating system 2.
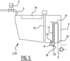
  • a third mechanism may be to discharge into a sewer at least a portion of liquid that remains in reservoir 4 after having sufficiently replenished the liquid circulating system. This may be achieved by means of a siphon 31 illustrated in figure 5 , which will be further elucidated below.
  • valve 5 is first operated to supply liquid into beforehand empty reservoir 4.
  • pump 6 is activated.
  • Pump 6 may be activated at the same time as liquid supply 3 through valve 5, if liquid supply 3 is capable of supplying sufficient volume of liquid per time unit, to keep up with pump 6 while replenishing the liquid from reservoir 4 into liquid circulating system 2. If, on the other hand, pump 6 replenishes more liquid into liquid circulating system 2 than supply 3 is capable of supplying, pump 6 may be activated intermittently.
  • controllable valve 5 may also be activated intermittently or remain open, in order to intermittently or continuously supply liquid into reservoir 4.
  • controllable valve 5 When need to replenish liquid into the liquid circulating system is or has been at least approximately fulfilled, controllable valve 5 is closed to stop supply of liquid into reservoir 4. This may be performed even before the need to replenish has been fulfilled. To this end, a metered amount of liquid may be supplied into reservoir 4, which metered amount may be sufficient to allow pump 6 to replenish liquid in liquid circulating system 2 therewith and achieve fulfilling the need for replenishment. Alternatively, controllable valve may 5 be allowed to remain open, to completely fill reservoir 4. Pump 6 may then withdraw from reservoir 4 only the volume required to achieve a desired pressure to overcome or fulfill the need for replenishment in liquid circulating system 2, or discharge the full volume from reservoir 4 into liquid circulating system 2, to achieve a slightly higher than the desired pressure in liquid circulating system 2, and to empty reservoir 4.
  • Any liquid remaining in the reservoir may be discharged via the additional or alternative drain.
  • Both embodiments of liquid replenishing systems 1, 20 may comprise pressure sensor 12 to generate a measurement signal of pressure of liquid in liquid circulating system 2. Controller 7 is then connected or at least connectable to pressure sensor 12 to receive the measurement signal from pressure sensor 12 and determines therefrom any need to replenish liquid into liquid circulating system 2.
  • Both embodiments of liquid replenishing systems 1, 20 may comprise level sensor 13 inside reservoir 4, to generate a level measurement signal. Then, controller 7 may receive the level measurement signal. Controller 7 may then determine a volume of liquid in reservoir 4, based on the received level measurement signal. Based on the determined amount or volume of liquid in reservoir 4, controller 7 may de-activate controllable valve 5 and terminate supply of liquid into reservoir 4 before the need to replenish liquid into liquid circulating system 2 is or has been fulfilled, if the volume of liquid in reservoir 4 is sufficient to achieve that the need to replenish liquid into liquid circulating system 2 will be fulfilled with the volume in reservoir 4.
  • controller 7 may de-activate controllable valve 5 and terminate supply of liquid into reservoir 4, when a predetermined maximum amount of liquid is in reservoir 4, which predetermined amount may at least approximates a capacity amount of liquid that reservoir 4 is capable of accommodating.
  • Controller 7 may activate pump 6 and replenish liquid in liquid circulating system 2, when a predetermined minimum amount of liquid is present in reservoir 4.
  • Controller 7 may de-activate pump 6 and terminate at least temporarily replenishing liquid into liquid circulating system 2, when liquid in reservoir 4 approaches being or has been depleted.
  • Controller 7 may de-activate controllable valve 5 and terminate supply of liquid into reservoir 4, when the need to replenish liquid into liquid circulating system 2 is about to or has been fulfilled. Then controller 7 may drive pump 6 to replenish at least approximately all remaining liquid in reservoir 4 into liquid circulating system 2, even if thereby pressure in the liquid in liquid circulating system 2 rises above an operating pressure corresponding with no need to replenish liquid into the liquid circulating system, in order to empty reservoir 4.
  • Controller 7 may regularly activate controllable valve 5 to supply liquid into reservoir 4 to flush at least liquid supply 3, in particular after a predetermined time without replenishing liquid into the liquid circulating system. Thereby bacterial growth in still standing liquid in liquid supply 3 and/or on interior walls of the reservoir 4 may be prevented.
  • the interior of reservoir 4 may be rinsed and cleansed, to which end reservoir 4 may comprise a liquid distributor, for example a mesh.
  • a distributor may be a grid, a curved plate, and the like.
  • Such a distributor may be then arranged at an outlet of controllable valve 5 to disperse liquid supplied into reservoir 4 over an interior surface of reservoir 4 for proper rinsing and/or flushing the interior surface of the reservoir 4.
  • Reservoir 4 is provided with an opening 19 in a side wall, to define a so called air gap.
  • the liquid replenishing systems 1, 20 always provide a free distances between the end(s) of liquid supply 3 and a highest liquid level in the reservoir 4, guaranteeing a safe distance created by the lower most portions or cut out of the opening 19 (air gap) in a side wall of reservoir 4.
  • Such an opening may be covered by gauze or netting, to keep insects and dirt out of the reservoir.
  • Any distributor if provided, may then preferably be arranged at or under said lower most point of the opening 19.
  • pressure in liquid circulating system 2 has reduced to a level th1, which is detected using pressure sensor 12, and warrants a need for replenishment.
  • the need may be urgent or anticipating on a further pressure drop.
  • supply valve 5 is activated to open supply of liquid into reservoir 4 from liquid supply 3.
  • Controllable valve 5 may keep supply open continuously or intermittently, and in the embodiment of figure 4 , supply is kept open intermittently. This allows processor 7 to determine an effect in terms of a pressure rise in liquid circulating system 2, resulting from replenishment of a full volume of liquid in reservoir 4 into system 2.
  • valve 5 is closed. Thereafter, pump 6 is activated at time t3 to replenish the volume of liquid in reservoir 4 into liquid circulating system 2, which is completed at t4, at which time pump 6 is de-activated. The process is repeated until pressure in liquid circulating system 2 has been raised to or above a desired operation pressure th2. If is it desired that pressure in liquid circulating system 2 does not exceed level th2, a volume to be replenished into liquid circulating system 2 may be less than a full capacity volume of reservoir 4. This may be achieved by controller 7 stopping valve 5 before fully supplying liquid into reservoir 4, indicated with dashed line 23 in figure 4 .
  • controller may cause pump 6 to stop replenishing the liquid in liquid circulating system 2 before the full volume of liquid from reservoir 4 is replenished into liquid circulating system 2, indicated by shorter shut off time of dashed line 24. Any remainder of liquid in reservoir 4 may be drained off, for example via drain 8.
  • pump 6 may be followed in the flow path of liquid by a controllable two way valve (not shown), of which one output port leads to liquid circulating system 2 and another output port leads to a discharge or sewer 10. This allows pump 6 to be used to quickly empty reservoir 4.
  • Reservoir 4 comprises an inner wall 17 defining an inner space thereof.
  • Inner wall 17 is covered by an anti-bacterial coating 18. Additionally or alternatively, inner wall 17 is sufficiently smooth or has a smoothing coating, to prevent water droplets from clinging to inner wall 17.
  • Controller 7 may prevent replenishing of liquid into the liquid circulating system at predetermined times of the day, in particular at night. Thus noise in the night may be prevented. However, such a desire to not generate noise in the night may need to be overridden, in case of a dangerously low pressure in liquid circulating system 2 for an active component therein, such as a heater or cooler (not shown).
  • Figure 5 relates to an additional or alternative embodiment of a liquid replenishing system 1, 20 that moreover comprises a bottom valve 34 and/or a siphon 31 configured to remove liquid from reservoir 4 by performing a siphoning action.
  • Siphon 31 comprises an elongate tubular body of which a first end 32 is arranged in reservoir 4, for example at or near a bottom thereof.
  • the first end 32 of siphon 31 is near the exit at which pump 6 is connected to the reservoir 1, 20.
  • Siphon 31 moreover extends upward and at a turn near the highest fluid level in reservoir 1, 20 again extends downward where it comprises a second end 33 arranged at a location situated lower than the location of first end 32.
  • second end 33 of siphon 31 extends outward of reservoir 4 through drain 8 towards sewer discharge 10.
  • siphon 31 may be automatically filled with liquid when reservoir 4 is approximately completely filled with liquid, in particular when flushing main supply 3 as described above to combat bacterial growth.
  • siphon 31 may assist in draining as much as possible of liquid from and remaining in reservoir 4, thereby keeping reservoir 4 empty.
  • volumetric pockets within reservoir 4, from which liquid cannot be drained with merely drain 8 may still be drained by appropriately arranging first end 32 of siphon 31.
  • drain 8 is preferably arranged at or near a lowest point of reservoir 4 to ensure an optimal drainage operation, this preference may be abated by siphon 31. Indeed, by arranging first end 32 of siphon 31 at or near the lowest point of reservoir 4, drain 8 may be arranged at a location situated higher than said lowest point, as long as second end 33 of siphon 31 extends through drain 8 to a location lower than the position of first end 32. As such, a greater degree of freedom regarding the design and installation of liquid replenishing system 1, 20 is achieved with respect to placement of drain 8, which is considered expedient when integrating liquid replenishing system 1, 20 in certain existing systems or environments.
  • liquid replenishing system 1, 20 may alternatively or additionally comprise a bottom valve 34 of which more detailed views are depicted in figures 6A and 6B .
  • Bottom valve 34 comprises a buoyant body, which in the illustrated exemplary embodiment comprises an upper spherical section 35 and a lower spherical section 36 that are mutually rigidly connected and respectively arranged on either side of a bottom valve hole 37.
  • the two mutually connected sections 35, 36 constituting the buoyant body of valve 34 may, for example, comprise a buoyant material such as polystyrene.
  • Bottom valve hole 37 comprises at a lower side thereof, which is external to reservoir 4, a seat configured to form-tightly receive lower section 36 and thereby seal off bottom valve hole 37.
  • a plurality of spacers configured to receive upper section 35 without sealing off bottom valve hole 37.
  • Figures 6A and 6B respectively depict bottom valve 34 in closed state and open states.
  • lower section 36 of bottom valve 34 seals off bottom valve hole 37 due to the buoyancy of in particular upper section 35.
  • bottom valve 37 more tightly seals off lower valve hole 37 due to an increased degree of buoyancy, which counteracts a possibly increased magnitude of static water pressure acting downwardly upon upper section 35.
  • the bottom valve 34 depicted in figures 5 , 6a and 6b may be considered as a valve that is configured to selectively open when a liquid level within reservoir 4 drops below a predetermined level and is moreover configured to remain upon until all residual liquid is drained. While the illustrated buoyancy-dependent bottom valve 34 is an elegant and therefore much preferred solution, the skilled person will recognise that similar functionality may be achieved with a bottom valve 34 that is not buoyancy-dependent.
  • bottom valve 34 may be embodied by an electrically controlled valve operating in conjunction with a liquid level sensor.
  • liquid replenishing system 1, 20 comprises both the above described siphon 31 and bottom valve 34, both being moreover configured to operate in a collaborative manner as described here below.
  • bottom valve 34 is preferably configured to transition from the closed state depicted in figure 6a to the opened state in depicted in figure 6b when, or shortly before, the siphoning action of siphon 31 is cancelled and to remain in the opened state thereafter.
  • reservoir 4 may be completely drained of liquid through a synergic operation of siphon 31 and bottom valve 34 without needlessly wasting liquid.
  • bottom valve may be absent with siphon 31 being the sole means of draining excess liquid from reservoir 4.
  • first end 32 of siphon 31 is preferably arranged at or near pump 6, which is shut off during a draining operation of reservoir 4 by means of siphon 31.
  • second end 33 of siphon 31 extends downward into drain 8 at least to a point situated lower than first end 32 to ensure adequate functioning of siphon 31.
  • Controller 7 may be programmed or programmed to perform any of the functions disclosed herein, with the aid of a program.
  • a program may be stored on a non-transitory computer-readable medium comprising computer readable instructions that, when executed, cause controller 7 to perform the aforementioned method.

Landscapes

  • Engineering & Computer Science (AREA)
  • Physics & Mathematics (AREA)
  • Thermal Sciences (AREA)
  • Chemical & Material Sciences (AREA)
  • Combustion & Propulsion (AREA)
  • Mechanical Engineering (AREA)
  • General Engineering & Computer Science (AREA)
  • Control Of Non-Electrical Variables (AREA)
  • Feeding, Discharge, Calcimining, Fusing, And Gas-Generation Devices (AREA)

Claims (15)

  1. Flüssigkeitsnachfüllsystem, das über eine Pumpe mit einem unter Druck stehenden Flüssigkeitsumlaufsystem und mit einer unter Druck stehenden Flüssigkeitsabgabe verbunden oder mindestens verbindbar ist und konfiguriert ist, um Flüssigkeit in das Flüssigkeitsumlaufsystem nachzufüllen oder abzugeben, selbst wenn ein Flüssigkeitsdruck in dem Flüssigkeitsumlaufsystem über dem Druck der Flüssigkeit liegt, die durch die Flüssigkeitsabgabe abgegeben wird, wobei das System umfasst:
    - einen Behälter, der über ein steuerbares Abgabeventil mit der Hauptflüssigkeitsabgabe verbunden oder mindestens verbindbar ist;
    - eine Steuerung, die mit dem steuerbaren Ventil und der Pumpe verbunden und konfiguriert ist, um im Falle eines Bedarfs, Flüssigkeit in das Flüssigkeitsumlaufsystem nachzufüllen oder abzugeben, das steuerbare Ventil zu aktivieren, um Flüssigkeit in den Behälter abzugeben, der leer gehalten wird, bevor ein Bedarf entsteht, Flüssigkeit in das Flüssigkeitsumlaufsystem nachzufüllen oder abzugeben, und danach die Pumpe zu aktivieren, um Flüssigkeit aus dem Behälter in das Flüssigkeitsumlaufsystem nachzufüllen oder abzugeben, und, wenn der Bedarf erfüllt ist oder wurde, Flüssigkeit in das Flüssigkeitsumlaufsystem nachzufüllen oder abzugeben, die Pumpe zu deaktivieren,
    dadurch gekennzeichnet, dass
    die Steuerung ferner konfiguriert ist, um die Aktivierung und Deaktivierung von mindestens einem der steuerbaren Ventile und der Pumpe zu koordinieren, um den Behälter mindestens annähernd zu entleeren, wenn der Bedarf mindestens annähernd erfüllt ist oder wurde, Flüssigkeit in das Flüssigkeitsumlaufsystem nachzufüllen oder abzugeben.
  2. Flüssigkeitsnachfüllsystem nach Anspruch 1, wobei der Behälter einen Abfluss umfasst, der konfiguriert ist, um beliebige verbleibende Flüssigkeit aus dem Behälter abfließen zu lassen, wenn der Bedarf mindestens annähernd erfüllt ist oder wurde, Flüssigkeit in das Flüssigkeitsumlaufsystem nachzufüllen oder abzugeben, wobei der Abfluss mindestens ein Abfluss von einer Gruppe ist, umfassend:
    - einen langsamen Abfluss, der eine Abflusskapazität aufweist, die im Vergleich zu einer Abgabekapazität der Flüssigkeitsabgabe und/oder einer Pumpkapazität der Pumpe langsam ist, und
    - einen Abfluss, der mit der Steuerung verbunden ist, wobei die Steuerung konfiguriert ist, um den Abfluss zu öffnen, wenn der Bedarf erfüllt ist oder wurde, Flüssigkeit in das Flüssigkeitsumlaufsystem nachzufüllen.
  3. Flüssigkeitsnachfüllsystem nach Anspruch 1 oder 2, umfassend eine Überlaufleitung, die an einem unteren Ende davon, relativ zu dem Behälter, mit einem Abwasseranschluss verbunden ist und umfassend an einem oberen Ende davon einen Überlauf, der einen maximalen Flüssigkeitsstand von Flüssigkeit in dem Behälter definiert.
  4. Flüssigkeitsnachfüllsystem nach den Ansprüchen 2 und 3, wobei der Abfluss in der Überlaufleitung an dem unteren Ende davon enthalten ist.
  5. Flüssigkeitsnachfüllsystem nach einem der Ansprüche 2 bis 4, ferner umfassend einen Siphon, dessen erstes Ende in dem Behälter angeordnet ist und dessen zweites Ende an dem oder in der Nähe des Abflusses angeordnet ist oder sich durch dahindurch erstreckt.
  6. Flüssigkeitsnachfüllsystem nach einem der vorstehenden Ansprüche, umfassend einen Drucksensor, um ein Messsignal von Flüssigkeitsdruck in dem Flüssigkeitsumlaufsystem zu erzeugen, wobei die Steuerung mit dem Drucksensor verbunden oder mindestens verbindbar ist, um das Messsignal vom Drucksensor zu empfangen, und konfiguriert ist, um daraus einen beliebigen Bedarf zu bestimmen, Flüssigkeit in das Flüssigkeitsumlaufsystem nachzufüllen.
  7. Flüssigkeitsnachfüllsystem nach einem der vorstehenden Ansprüche, umfassend einen Füllstandssensor im Inneren des Behälters, um ein Füllstandsmesssignal zu erzeugen, wobei die Steuerung mit dem Füllstandssensor verbunden oder verbindbar ist, um das Füllstandsmesssignal zu empfangen, und wobei die Steuerung vorzugsweise konfiguriert ist, um basierend auf dem empfangenen Füllstandsmesssignal ein Flüssigkeitsvolumen in dem Behälter zu bestimmen.
  8. Flüssigkeitsnachfüllsystem nach Anspruch 7, wobei die Steuerung konfiguriert ist, um das steuerbare Ventil zu deaktivieren und die Flüssigkeitsabgabe in den Behälter zu beenden, bevor der Bedarf erfüllt ist oder wurde, Flüssigkeit in das Flüssigkeitsumlaufsystem nachzufüllen, falls bestimmt wird, dass das Flüssigkeitsvolumen in dem Behälter ausreicht, um zu erreichen, dass der Bedarf mit dem Volumen in dem Behälter erfüllt wird, Flüssigkeit in das Flüssigkeitsumlaufsystem nachzufüllen.
  9. Flüssigkeitsnachfüllsystem nach einem der vorstehenden Ansprüche, wobei die Steuerung konfiguriert ist, um das steuerbare Ventil zu deaktivieren und die Flüssigkeitsabgabe in den Behälter zu beenden, wenn sich eine zuvor bestimmte Flüssigkeitshöchstmenge in dem Behälter befindet, wobei die zuvor bestimmte Menge mindestens annähernd einer Flüssigkeitskapazitätsmenge entspricht, die der Behälter aufnehmen kann.
  10. Flüssigkeitsnachfüllsystem nach einem der vorstehenden Ansprüche, wobei eine Innenwand des Behälters, die einen Innenraum davon definiert, durch eine Beschichtung bedeckt ist, wobei die Beschichtung mindestens eine von einer antibakteriellen Beschichtung und einer Glättungsbeschichtung ist, die konfiguriert ist, um ein Anhaften von Wassertropfen an der Innenwand zu verhindern.
  11. Flüssigkeitsnachfüllsystem nach einem der vorstehenden Ansprüche, wobei die Steuerung konfiguriert ist, um das steuerbare Ventil regelmäßig zu aktivieren, um Flüssigkeit in den Behälter abzugeben, um mindestens die Flüssigkeitsabgabe und/oder ein Inneres des Behälters zu spülen, insbesondere nach einer zuvor bestimmten Zeit ohne ein Nachfüllen von Flüssigkeit in das Flüssigkeitsumlaufsystem.
  12. Flüssigkeitsnachfüllsystem nach Anspruch 11, umfassend einen Flüssigkeitsverteiler aus einer Gruppe, umfassend ein Netz, ein Gitter, eine gekrümmte Platte und dergleichen, der an einem Auslass des steuerbaren Ventils angeordnet ist, um in den Behälter abgegebene Flüssigkeit über eine Innenoberfläche des Behälters zu verteilen.
  13. Flüssigkeitsnachfüllsystem nach einem der vorstehenden Ansprüche, wobei die Steuerung konfiguriert ist, um das Nachfüllen von Flüssigkeit in das Flüssigkeitsumlaufsystem zu zuvor bestimmten Tageszeiten, insbesondere nachts, zu verhindern, und wobei die Steuerung vorzugsweise konfiguriert ist, um die Verhinderung des Nachfüllens zu den zuvor bestimmten Zeiten aufzuheben, in einem Fall, dass in dem Flüssigkeitsumlaufsystem für eine aktive Komponente darin, wie eine Heizung, ein gefährlich niedriger Druck herrscht.
  14. Verfahren zum Nachfüllen von Flüssigkeit in ein Flüssigkeitsumlaufsystem unter Verwendung des Flüssigkeitsnachfüllsystems nach einem der vorstehenden Ansprüche, umfassend die folgenden Schritte:
    - Abgeben von Flüssigkeit in einen Behälter, in einem Fall, dass ein Bedarf besteht, Flüssigkeit in das Flüssigkeitsumlaufsystem nachzufüllen oder abzugeben;
    - Nachfüllen oder Abgeben von Flüssigkeit aus dem Behälter in das Flüssigkeitsumlaufsystem; und
    - Koordinieren des Abgebens von Flüssigkeit in den Behälter und der Nachfüllung oder Abgabe von Flüssigkeit aus dem Behälter in das Flüssigkeitsumlaufsystem, um dadurch den Behälter zu entleeren und leer zu halten, wenn der Bedarf erfüllt ist oder wurde, Flüssigkeit in das Flüssigkeitsumlaufsystem nachzufüllen oder abzugeben.
  15. Nicht flüchtiges computerlesbares Medium, umfassend computerlesbare Anweisungen, die, wenn sie ausgeführt werden, bewirken, dass eine Steuerung eines Flüssigkeitsnachfüllsystems nach einem der Ansprüche 1 bis 13 das Verfahren des vorstehenden Verfahrensanspruchs durchführt.
EP20781117.5A 2019-09-03 2020-09-03 Flüssigkeitsnachfüllsystem und verfahren zum nachfüllen Active EP4025837B1 (de)

Applications Claiming Priority (3)

Application Number Priority Date Filing Date Title
NL2023753 2019-09-03
NL2025076A NL2025076B1 (en) 2019-09-03 2020-03-06 Liquid replenishing system and method of replenishing
PCT/NL2020/050545 WO2021045620A1 (en) 2019-09-03 2020-09-03 Liquid replenishing system and method of replenishing

Publications (3)

Publication Number Publication Date
EP4025837A1 EP4025837A1 (de) 2022-07-13
EP4025837C0 EP4025837C0 (de) 2025-03-12
EP4025837B1 true EP4025837B1 (de) 2025-03-12

Family

ID=72659854

Family Applications (1)

Application Number Title Priority Date Filing Date
EP20781117.5A Active EP4025837B1 (de) 2019-09-03 2020-09-03 Flüssigkeitsnachfüllsystem und verfahren zum nachfüllen

Country Status (2)

Country Link
EP (1) EP4025837B1 (de)
WO (1) WO2021045620A1 (de)

Family Cites Families (6)

* Cited by examiner, † Cited by third party
Publication number Priority date Publication date Assignee Title
EP0313599B1 (de) * 1987-05-05 1991-10-23 A. Schwarz + Co. Vorrichtung zur expansionsübernahme in flüssigkeitskreislaufsystemen, insbesondere von heizungs- oder kühlanlagen
DE3716396A1 (de) * 1987-05-15 1988-12-15 Hans Friedrich Bernstein Ausdehnungs- und druckhaltevorrichtung fuer zirkulierende fluessigkeitsstroeme
AT396521B (de) * 1991-04-24 1993-10-25 Schwarz A & Co Vorrichtung zur entgasung von flüssigkeiten in flüssigkeitskreislaufsystemen
AT399217B (de) * 1991-11-22 1995-04-25 Schwarz A & Co Vorrichtung zur expansionsübernahme in flüssigkeitskreislaufsystemen
DE10329740A1 (de) * 2003-07-02 2005-05-19 Bernstein, Hans Friedrich Armatureneinheit für die Druckhaltung und Wasserbehandlung in cirkulierenden Systemen
GB2566566B (en) * 2018-02-27 2019-09-18 Vexo International Uk Ltd Fluid circuit filling apparatus and method

Also Published As

Publication number Publication date
EP4025837C0 (de) 2025-03-12
EP4025837A1 (de) 2022-07-13
WO2021045620A1 (en) 2021-03-11

Similar Documents

Publication Publication Date Title
JP2013521419A (ja) 水洗装置の水栓での漏水検出
ITMI940643A1 (it) Sistema di azionamento di gabinetto a serbatoio d'acqua pressurizzato
CN110409575B (zh) 一种马桶冲水机构及其冲水控制方法
JP5064574B2 (ja) 使用水利用装置
US5287882A (en) Ball cock assembly float with drain openings
US20180258630A1 (en) Pre-primed siphonic toilet
WO2010003033A1 (en) Flapper-free toilet flusher
US3516094A (en) Toilet flushing apparatus
EP4025837B1 (de) Flüssigkeitsnachfüllsystem und verfahren zum nachfüllen
NL2025076B1 (en) Liquid replenishing system and method of replenishing
CN101784730A (zh) 双冲洗阀回注
KR20180107868A (ko) 세정액 공급 장치 및 이를 포함하는 변기 수조
CN101512075A (zh) 改进液体储存容器的操作性能的设备和方法
KR101283761B1 (ko) 자동 물내림 장치가 구비된 비데기
JP5192294B2 (ja) 受水槽の水位検知管
JP3049695U (ja) 直通式節水便器
KR20120034869A (ko) 친환경 세면수 재활용 양변기 시스템
JP2010043522A (ja) ロータンク装置
KR102147515B1 (ko) 욕실용 절수장치
JPS585742Y2 (ja) 簡易中水道装置
JP2701359B2 (ja) 多槽連結型液体貯溜槽の槽間連結装置
CN119222206B (zh) 虹吸泵结构及虹吸排水系统
CN213246316U (zh) 一种猪场用自动饮水控制器
JP4077001B2 (ja) 段差部に傾斜部を有する槽構造
CN215563185U (zh) 一种地漏自动补水结构及使用该结构的卫生间系统

Legal Events

Date Code Title Description
STAA Information on the status of an ep patent application or granted ep patent

Free format text: STATUS: UNKNOWN

STAA Information on the status of an ep patent application or granted ep patent

Free format text: STATUS: THE INTERNATIONAL PUBLICATION HAS BEEN MADE

PUAI Public reference made under article 153(3) epc to a published international application that has entered the european phase

Free format text: ORIGINAL CODE: 0009012

STAA Information on the status of an ep patent application or granted ep patent

Free format text: STATUS: REQUEST FOR EXAMINATION WAS MADE

17P Request for examination filed

Effective date: 20220401

AK Designated contracting states

Kind code of ref document: A1

Designated state(s): AL AT BE BG CH CY CZ DE DK EE ES FI FR GB GR HR HU IE IS IT LI LT LU LV MC MK MT NL NO PL PT RO RS SE SI SK SM TR

DAV Request for validation of the european patent (deleted)
DAX Request for extension of the european patent (deleted)
GRAP Despatch of communication of intention to grant a patent

Free format text: ORIGINAL CODE: EPIDOSNIGR1

STAA Information on the status of an ep patent application or granted ep patent

Free format text: STATUS: GRANT OF PATENT IS INTENDED

INTG Intention to grant announced

Effective date: 20241025

RAP3 Party data changed (applicant data changed or rights of an application transferred)

Owner name: AALBERTS HFC B.V.

GRAS Grant fee paid

Free format text: ORIGINAL CODE: EPIDOSNIGR3

GRAA (expected) grant

Free format text: ORIGINAL CODE: 0009210

STAA Information on the status of an ep patent application or granted ep patent

Free format text: STATUS: THE PATENT HAS BEEN GRANTED

AK Designated contracting states

Kind code of ref document: B1

Designated state(s): AL AT BE BG CH CY CZ DE DK EE ES FI FR GB GR HR HU IE IS IT LI LT LU LV MC MK MT NL NO PL PT RO RS SE SI SK SM TR

REG Reference to a national code

Ref country code: GB

Ref legal event code: FG4D

REG Reference to a national code

Ref country code: CH

Ref legal event code: EP

REG Reference to a national code

Ref country code: DE

Ref legal event code: R096

Ref document number: 602020047626

Country of ref document: DE

REG Reference to a national code

Ref country code: IE

Ref legal event code: FG4D

U01 Request for unitary effect filed

Effective date: 20250402

U07 Unitary effect registered

Designated state(s): AT BE BG DE DK EE FI FR IT LT LU LV MT NL PT RO SE SI

Effective date: 20250410

PG25 Lapsed in a contracting state [announced via postgrant information from national office to epo]

Ref country code: RS

Free format text: LAPSE BECAUSE OF FAILURE TO SUBMIT A TRANSLATION OF THE DESCRIPTION OR TO PAY THE FEE WITHIN THE PRESCRIBED TIME-LIMIT

Effective date: 20250612

PG25 Lapsed in a contracting state [announced via postgrant information from national office to epo]

Ref country code: ES

Free format text: LAPSE BECAUSE OF FAILURE TO SUBMIT A TRANSLATION OF THE DESCRIPTION OR TO PAY THE FEE WITHIN THE PRESCRIBED TIME-LIMIT

Effective date: 20250312

PG25 Lapsed in a contracting state [announced via postgrant information from national office to epo]

Ref country code: NO

Free format text: LAPSE BECAUSE OF FAILURE TO SUBMIT A TRANSLATION OF THE DESCRIPTION OR TO PAY THE FEE WITHIN THE PRESCRIBED TIME-LIMIT

Effective date: 20250612

PG25 Lapsed in a contracting state [announced via postgrant information from national office to epo]

Ref country code: HR

Free format text: LAPSE BECAUSE OF FAILURE TO SUBMIT A TRANSLATION OF THE DESCRIPTION OR TO PAY THE FEE WITHIN THE PRESCRIBED TIME-LIMIT

Effective date: 20250312

PG25 Lapsed in a contracting state [announced via postgrant information from national office to epo]

Ref country code: GR

Free format text: LAPSE BECAUSE OF FAILURE TO SUBMIT A TRANSLATION OF THE DESCRIPTION OR TO PAY THE FEE WITHIN THE PRESCRIBED TIME-LIMIT

Effective date: 20250613

PG25 Lapsed in a contracting state [announced via postgrant information from national office to epo]

Ref country code: SM

Free format text: LAPSE BECAUSE OF FAILURE TO SUBMIT A TRANSLATION OF THE DESCRIPTION OR TO PAY THE FEE WITHIN THE PRESCRIBED TIME-LIMIT

Effective date: 20250312

PG25 Lapsed in a contracting state [announced via postgrant information from national office to epo]

Ref country code: PL

Free format text: LAPSE BECAUSE OF FAILURE TO SUBMIT A TRANSLATION OF THE DESCRIPTION OR TO PAY THE FEE WITHIN THE PRESCRIBED TIME-LIMIT

Effective date: 20250312

PGFP Annual fee paid to national office [announced via postgrant information from national office to epo]

Ref country code: GB

Payment date: 20250929

Year of fee payment: 6

PG25 Lapsed in a contracting state [announced via postgrant information from national office to epo]

Ref country code: CZ

Free format text: LAPSE BECAUSE OF FAILURE TO SUBMIT A TRANSLATION OF THE DESCRIPTION OR TO PAY THE FEE WITHIN THE PRESCRIBED TIME-LIMIT

Effective date: 20250312

PG25 Lapsed in a contracting state [announced via postgrant information from national office to epo]

Ref country code: SK

Free format text: LAPSE BECAUSE OF FAILURE TO SUBMIT A TRANSLATION OF THE DESCRIPTION OR TO PAY THE FEE WITHIN THE PRESCRIBED TIME-LIMIT

Effective date: 20250312

PG25 Lapsed in a contracting state [announced via postgrant information from national office to epo]

Ref country code: IS

Free format text: LAPSE BECAUSE OF FAILURE TO SUBMIT A TRANSLATION OF THE DESCRIPTION OR TO PAY THE FEE WITHIN THE PRESCRIBED TIME-LIMIT

Effective date: 20250712

U20 Renewal fee for the european patent with unitary effect paid

Year of fee payment: 6

Effective date: 20250929