EP3855424A1 - Handzuginstrument - Google Patents
Handzuginstrument Download PDFInfo
- Publication number
- EP3855424A1 EP3855424A1 EP20208939.7A EP20208939A EP3855424A1 EP 3855424 A1 EP3855424 A1 EP 3855424A1 EP 20208939 A EP20208939 A EP 20208939A EP 3855424 A1 EP3855424 A1 EP 3855424A1
- Authority
- EP
- European Patent Office
- Prior art keywords
- reed
- valves
- reeds
- air flow
- valve
- Prior art date
- Legal status (The legal status is an assumption and is not a legal conclusion. Google has not performed a legal analysis and makes no representation as to the accuracy of the status listed.)
- Granted
Links
Images
Classifications
-
- G—PHYSICS
- G10—MUSICAL INSTRUMENTS; ACOUSTICS
- G10D—STRINGED MUSICAL INSTRUMENTS; WIND MUSICAL INSTRUMENTS; ACCORDIONS OR CONCERTINAS; PERCUSSION MUSICAL INSTRUMENTS; AEOLIAN HARPS; SINGING-FLAME MUSICAL INSTRUMENTS; MUSICAL INSTRUMENTS NOT OTHERWISE PROVIDED FOR
- G10D11/00—Accordions, concertinas or the like; Keyboards therefor
-
- G—PHYSICS
- G10—MUSICAL INSTRUMENTS; ACOUSTICS
- G10D—STRINGED MUSICAL INSTRUMENTS; WIND MUSICAL INSTRUMENTS; ACCORDIONS OR CONCERTINAS; PERCUSSION MUSICAL INSTRUMENTS; AEOLIAN HARPS; SINGING-FLAME MUSICAL INSTRUMENTS; MUSICAL INSTRUMENTS NOT OTHERWISE PROVIDED FOR
- G10D11/00—Accordions, concertinas or the like; Keyboards therefor
- G10D11/02—Actions
-
- G—PHYSICS
- G10—MUSICAL INSTRUMENTS; ACOUSTICS
- G10H—ELECTROPHONIC MUSICAL INSTRUMENTS; INSTRUMENTS IN WHICH THE TONES ARE GENERATED BY ELECTROMECHANICAL MEANS OR ELECTRONIC GENERATORS, OR IN WHICH THE TONES ARE SYNTHESISED FROM A DATA STORE
- G10H1/00—Details of electrophonic musical instruments
- G10H1/18—Selecting circuits
- G10H1/24—Selecting circuits for selecting plural preset register stops
-
- G—PHYSICS
- G10—MUSICAL INSTRUMENTS; ACOUSTICS
- G10H—ELECTROPHONIC MUSICAL INSTRUMENTS; INSTRUMENTS IN WHICH THE TONES ARE GENERATED BY ELECTROMECHANICAL MEANS OR ELECTRONIC GENERATORS, OR IN WHICH THE TONES ARE SYNTHESISED FROM A DATA STORE
- G10H1/00—Details of electrophonic musical instruments
- G10H1/32—Constructional details
- G10H1/34—Switch arrangements, e.g. keyboards or mechanical switches specially adapted for electrophonic musical instruments
- G10H1/344—Structural association with individual keys
-
- G—PHYSICS
- G10—MUSICAL INSTRUMENTS; ACOUSTICS
- G10H—ELECTROPHONIC MUSICAL INSTRUMENTS; INSTRUMENTS IN WHICH THE TONES ARE GENERATED BY ELECTROMECHANICAL MEANS OR ELECTRONIC GENERATORS, OR IN WHICH THE TONES ARE SYNTHESISED FROM A DATA STORE
- G10H2220/00—Input/output interfacing specifically adapted for electrophonic musical tools or instruments
- G10H2220/155—User input interfaces for electrophonic musical instruments
- G10H2220/265—Key design details; Special characteristics of individual keys of a keyboard; Key-like musical input devices, e.g. finger sensors, pedals, potentiometers, selectors
- G10H2220/305—Key design details; Special characteristics of individual keys of a keyboard; Key-like musical input devices, e.g. finger sensors, pedals, potentiometers, selectors using a light beam to detect key, pedal or note actuation
-
- G—PHYSICS
- G10—MUSICAL INSTRUMENTS; ACOUSTICS
- G10H—ELECTROPHONIC MUSICAL INSTRUMENTS; INSTRUMENTS IN WHICH THE TONES ARE GENERATED BY ELECTROMECHANICAL MEANS OR ELECTRONIC GENERATORS, OR IN WHICH THE TONES ARE SYNTHESISED FROM A DATA STORE
- G10H2230/00—General physical, ergonomic or hardware implementation of electrophonic musical tools or instruments, e.g. shape or architecture
- G10H2230/045—Special instrument [spint], i.e. mimicking the ergonomy, shape, sound or other characteristic of a specific acoustic musical instrument category
- G10H2230/245—Spint accordion, i.e. mimicking accordions; Electrophonic instruments with one or more typical accordion features, e.g. special accordion keyboards or bellows, electrophonic aspects of mechanical accordions, Midi-like control therefor
-
- G—PHYSICS
- G10—MUSICAL INSTRUMENTS; ACOUSTICS
- G10H—ELECTROPHONIC MUSICAL INSTRUMENTS; INSTRUMENTS IN WHICH THE TONES ARE GENERATED BY ELECTROMECHANICAL MEANS OR ELECTRONIC GENERATORS, OR IN WHICH THE TONES ARE SYNTHESISED FROM A DATA STORE
- G10H2240/00—Data organisation or data communication aspects, specifically adapted for electrophonic musical tools or instruments
- G10H2240/171—Transmission of musical instrument data, control or status information; Transmission, remote access or control of music data for electrophonic musical instruments
- G10H2240/281—Protocol or standard connector for transmission of analog or digital data to or from an electrophonic musical instrument
- G10H2240/321—Bluetooth
Definitions
- the present invention relates to what is claimed in the preamble and thus relates to a manual pulling instrument.
- Hand pull instruments are known.
- a pull-by-hand instrument such as an accordion, a bandoneon, a concertina, etc.
- a bellows that is expanded or compressed by hand.
- the changing volume inside the bellows leads to an air flow that can be used to flow against the reeds.
- Such reeds are essentially strips of thin material that are fixed on one side and can vibrate freely on the side facing away from the fixation. Different reeds are provided for the different pitches or timbres. So that certain reeds, with which a certain tone is to be generated, are actually flowed against, each reed is assigned a valve, which in turn can be moved from its normally closed position to an open position by pressing a key or button. It should also be mentioned that with some hand-held instruments, several reeds can be assigned to a single valve in order to achieve a fuller sound, for example.
- the The soundpost should have a pneumatic control, by means of which only one reed voice is required for each tone of a choir, which is arranged in the soundpost in such a way that it can respond to suction and compressed air.
- a pneumatic control by means of which only one reed voice is required for each tone of a choir, which is arranged in the soundpost in such a way that it can respond to suction and compressed air.
- Such an arrangement has flaps so that the same reeds can be used when the bellows is expanded and compressed.
- the weight of an accordion is also used in the DE 101 33 287 A1 Referenced. It claims that a flat, complete and light structure for an accordion, which is easy to manufacture and also ergonomically favorable, lacks a suitable actuator for realizing an electrical action.
- An electromagnetic sleeve valve is proposed in which the sleeves are coils which are intended to slide into one another without iron. With such an arrangement, a valve is to be built in which a window is opened by a correspondingly directed flow. It is acknowledged that the efficiency of the ironless actuator is poor, but that higher currents can be applied, especially since the duty cycle of the sleeve coils is relatively short and the play wind ensures that the actuated sleeve coils are cooled.
- the sleeve valve described opens up new musical possibilities for the accordion, provided that pressure or other sensors are placed under the buttons and keys and thus each individual tone can be dynamically controlled.
- the sleeve coils would move in proportion to the current against assigned springs, and it would only be necessary to design the window accordingly.
- the object of the present invention is to provide something new for commercial use.
- a manual traction instrument is thus provided with an expandable and compressible bellows, which is designed to generate an air stream flowing towards the reeds by expansion and compression; and a flow control, having a valve arrangement which is arranged to control the flow of reeds to be flown in accordance with the music, and a flow straightening arrangement which is arranged to bring about the same direction of flow of the reed in the case of bellows expansion and in case of bellows compression; proposed, in which it is provided that the valve arrangement has a number of reed valves, each of which controls a flow of a single reed or at most a less common sound to be flowed, and the flow straightening arrangement has a number of valves for air flow rectification, the number of reeds Valves is greater than the number of valves for air flow rectification and wherein a group of valves for air flow rectification is assigned to a larger group of reed
- the reed valves can therefore be controlled electronically. But this is not mandatory. For example, it is already sufficient that the bellows volume can be sealed against the sound post volume or the reed volume despite a connection between the keyboard and the reed valves. This is just as possible by conventional - albeit heavy - metal elements per se as well as by thread and / or rope elements, which can be sealed better than these and are even significantly lighter, which are guided from the keys to the reed valves through or to suitable sealing means; Another and also preferred option is the operation of the reed valve with electrical actuators, which allows a particularly simple pressure seal without having to take into account an always relatively complex mechanical connection, which is why such electrical actuators are regularly referred to below.
- control of power-operated reed valves not only allows the use of easily laid electrical lines that are adapted to the given space conditions, which lead from the power-operated reed valves to a suitable control and from the control to energy sources such as accumulators or batteries as well as to buttons, Actuating buttons etc. lead, but also to further simplify the arrangement to such an extent that a substantial weight saving is actually possible. Since the invention also allows and favors the use of particularly lightweight materials, this advantage is then also well pronounced.
- the air flow can be rectified by a global arrangement for all power operated reed valves with the same air flow valves.
- the global arrangement need not include more than four air flow rectifier valves. If necessary, air flow rectifier valves can even be coupled in pairs, which can even reduce the total number of independent valve arrangements to be provided. It should be mentioned, however, that it is preferred to enable a high air flow with only small pressure differences and at the same time to allow the air flow rectifier valves to respond quickly to pressure changes. This makes it advantageous to use several, smaller air flow rectifier valves in parallel to one another, which together offer a large flow area and at the same time respond quickly. There are then four air flow straightening valve groups necessary.
- the global air flow rectification valves are accordingly arranged in such a way that the reeds no longer sit directly in the expandable or compressible bellows, but are separated therefrom by the air flow rectification valves.
- This also applies where several small-area individual air flow valves are provided jointly instead of a large-area respective air flow rectifying valve, even if air flow valve groups that are typically effective together are provided for all reeds.
- a plurality of power-operated reed valves are arranged together in a valve block.
- valve blocks and / or reed blocks or valve block-reed block blocks are able to facilitate assembly and also enables the valve blocks and / or reed blocks or valve block-reed block blocks to be traded individually or together with parts of a control electronics as accordion components and in a large number of Instruments can be installed.
- the use of valve blocks is therefore also important insofar as production and assembly based on the division of labor, as is customary in accordion construction, is promoted.
- the mechanical assembly of the block is also possible quickly and inexpensively, especially since the surface provided between the valve block and its support is advantageously flat of the valve block can be designed very tightly on a substrate per se. This applies in particular if a plastic that is at least slightly flexible on the bearing surface is used for the valve block and / or additional seals are provided either for each reed or each reed valve individually and / or for the block as a whole. In addition, the arrangement is again lighter overall.
- sealing means are provided on the valve block which enable a seal against the sound post or the individual chamber. If such sealing means are already provided on the valve block before assembly, a division of labor into the manufacture of a manual traction instrument is further promoted.
- the sealing means can in particular be formed by sufficiently soft and / or smooth bearing surfaces or with such.
- the valve associated with a reed is either completely closed when the key is not pressed or completely opened when the key is pressed.
- This can be imitated with current-operated valves assigned to the reeds in that the reed valves are either fully open or fully closed; so typically the reed valve is only energized to move it into the open position.
- the invention enables the transition between the open and closed position to be designed very precisely, which is advantageous for a natural feeling of play.
- the reed valves in the present invention do not simply switch between open and closed positions, but rather in a more defined manner Rest position in a certain excited position, for example from the closed to a certain open state, can be moved.
- This also offers advantages for the crowd of hand-pull instrument players with only average talent, because it avoids a sudden on / off or open / close control of the hand-pull instrument in a manner perceived as undefined and the sound response or the transient response from the Musicians cannot be influenced.
- linear actuation areas are usually either centered around an often clearly defined opening and closing point or at least include this.
- the opening and closing point can for example be understood as the point at which a reed does not swing in for more than 1.5 times the duration that is still required to end the swing process even when it is fully opened.
- the transient process can be regarded as ended when the volume increases at least 80% of the volume of a tone finally reached when the valve is fully opened has increased.
- Other closing point definitions are also easily possible, e.g. with regard to the settling time ratio and final volume. It will also have to be assessed that advantages are already obtained where there is at least a rudimentary linearity over at least a sufficiently large operating range.
- a particularly preferred variant of the design of actuators for reed valves consists of plunger coils which are excited in order to move magnets therein, i.e. the coils are stationary and the magnets "immersed” in them are moved.
- the advantageous linearity can also be implemented particularly well.
- the use of strong magnets such as neodymium magnets etc. allows, despite the structurally small and therefore lightweight construction, to actuate valves that close tightly, i.e. actuate valves with a high closing force.
- plunger coils is particularly advantageous because with these the crosstalk between valves is particularly low, so that a close integration of valves next to one another is possible, which in the same space the use of more registers, a more extensive frequency range or, With a given number of tones, a reduction in size or weight reduction is permitted.
- At least the majority of the power-operated reed valves are designed as flap valves;
- all reed valves are also formed identically, that is, in a typical manual pull instrument, all power-operated reed valves are formed as flap valves.
- the design as flap valves is structurally easy to implement, enables a sufficiently large opening for the air volumes required for sound generation with a comparatively low required stroke of the reed valve flaps and ensures a high durability and resistance of the dynamically moving valves. This contributes to a long service life of the hand traction instruments.
- the flaps can be clamped on one side, in particular preassembled in the valve block, so that flaps and valves are assembled together. They can be moved out of their (normally closed) rest position with actuators, in particular moving coil actuators.
- only two global air flow flap or valve pairs are provided for the air flow rectification of the play wind, which together rectify the play wind for all reeds present in the hand-operated instrument.
- This only small number of air flow rectification valves is on the one hand easily sufficient; on the other hand, the construction is simplified by the small number of air flow valves and the instrument can again be made very light.
- the air flow rectification valves could be controlled by means of an electrical actuator in response to an overpressure or underpressure detected in the bellows; However, it is simpler and particularly preferred if they react to it purely mechanically, for which purpose they can be designed, for example, as diaphragm valves that respond easily to pressure differences.
- an analog-to-digital converter is used, which enables multi-level detection of the pushbutton Actuation enabled, for example in 64, preferably at least 128 steps.
- a pure open position of the pushbutton can be distinguished from a pure closed position in more than two stages, and in particular a dynamic behavior can also be recorded, i.e. it can be recognized whether a button is pressed slowly or quickly, which can be used if necessary, in order to feed a larger excitation current to a current-operated reed valve when the button is pressed quickly and thus to bring about an even faster opening.
- the pushbuttons or pushbuttons that the musician needs to operate on the hand-held instrument so that the power-operated reed valves open or close can in particular be magnetic, optical, gyroscopic and / or tachymetric Sensors act.
- analog-digital converters are sufficient, because sufficiently linear analog-digital converters (ADC) with better than 1% linearity, for example 8- Bit converters, or 10-bit converters, are available very inexpensively at low prices with conversion frequencies around 10-100 kHz or above.
- ADC analog-digital converters
- Each individual key can accordingly be queried with at least 5 Hz without any particular problems, for which purpose the corresponding push-button sensor signals can be fed to the ADC using the round robin method.
- each key stroke is queried at approx. 30 Hz, i.e. digitized.
- suitable signal conditioning circuits can be provided between the push-button sensors and the analog-digital converter, for example drivers, amplifiers and so on.
- the hand pull instrument of the present invention is to be operated autonomously, i.e. independent of the mains, and batteries are required for this, these can either be arranged separately from the hand pull instrument, with the musician wearing them in a belt holster, which has the advantage that the corresponding mass is then used when playing does not have to be moved by the hands, or the batteries are housed in the instrument, which simplifies the construction, avoids problems due to interruption of the electrical connection and so on. It is then possible to arrange the battery on or in the pull-hand instrument in such a way that a feel is obtained which is as close as possible to the feel obtained with a conventional pull-hand instrument.
- the batteries are easily exchangeable and, moreover, are preferably rechargeable, for example via a conventional USB interface.
- the low power consumption of the power-operated reed valves enables long-term music-making without any problems with the power supply, even with light batteries.
- a power supply unit can also be accommodated in the instrument itself.
- the considerable movement of the manual traction instrument when playing can also be used without further ado to enable energy harvesting, possibly with intermediate storage of the energy obtained in this way. This is also thanks to the fact that the arrangement requires little energy.
- the overall control takes place in such a way that the valve opening responds linearly to an actuation of a pushbutton.
- a particularly advantageous method of controlling the valves accordingly is to generate a pulse-width-modulated current through the valves. It has already been indicated that due to the limited playing speed of even virtuoso musicians, the tone sequence of a hand-drawn instrument lags behind the clock speeds that can be easily achieved with electronic circuits. Even with extremely fast playing, the individual tone will accordingly have a certain minimum duration, typically at least between a fifth and a tenth of a second.
- the electronic control of the valves in particular the digital electronic control of the valves, also makes it possible to simplify playing and / or to improve the sound generation. So it is easily possible to couple several registers with each other in the electronic control, ie to provide for the generation of tones of the same pitch but different timbre, or simultaneously when playing a tone in a fixed manner, additional tones by opening the corresponding valve flaps to sound bring.
- the vibration behavior of the tongues is obviously different from one another. The difference is not only the frequency (or the frequency spectrum) with which the tongue vibrates when excited by the air flow, but also the time it takes for a tongue that is initially at rest to fully settle in and generate a certain sound. In other words, the transient behavior differs with different reeds. This can lead to the fact that when keys are pressed exactly at the same time in conventional conventional instruments, the tones sound with an, albeit slight, perceptible time delay.
- the present invention allows this to be corrected by implementing a tone-dependent time offset and / or a tone-dependent reed valve opening behavior.
- the response behavior e.g. in the event of a swing
- the multi-level query of the key press i.e. through resolution with several bits
- a tone-dependent reed valve -Opening behavior and without a highly linear opening behavior can be implemented as very precise and reproducible playing behavior that comes very close to that of a mechanical instrument.
- particularly preferred, non-linear responses can be implemented at the same time.
- tongues that oscillate at different speeds are particularly advantageous where tongues are used whose transient behavior differs from that of conventional (metal) tongues, for example by using a fiber-reinforced plastic reed arrangement. It should be mentioned here that, if necessary, not only a simultaneous oscillation must be simulated or achieved, but also the non-simultaneous oscillation of metal reeds could possibly also be simulated.
- fiber-reinforced plastic reed assemblies are also advantageous because their thermal expansion is lower than that of metal reeds, which means that the size of the gap between the vibrating reed and the plate carrying it changes less with changing temperature.
- conventional instruments which can be expected to be played both in cool weather, such as in winter when there is frost at Christmas markets, as well as outdoors in summer heat, the gap must be chosen so that it will strike even in extreme temperatures the tongue on the reedplate is safely avoided.
- the plastic or carbon tuning tongue with lower temperature expansion can accordingly be formed with a smaller gap.
- the gap dimension can then also be optimized in such a way that both a practically simultaneous starting and ending as well as the same volume or the same volume perception for different pitches can be achieved.
- fiber-reinforced plastic reed arrangements also provide increased corrosion resistance, which also has a particularly positive effect where the instrument is used under frequently and / or strongly changing environmental conditions.
- the gap dimensions of a plastic reed or in particular a fiber-reinforced plastic reed, in particular a carbon fiber reed arrangement are matched so that the reeds of different pitches start to oscillate simultaneously with the same air pressure and simultaneous actuation or with no more than 10 ms, preferably below 5 ms, particularly preferably less than 3 ms time offset.
- the width of the reeds can also be chosen so that the reeds will have the same volume. The same volume can be assumed if the volume difference is so small that the sound pressure difference for different tones is below 3 dB, preferably below 1.5 dB, in particular below 0.5 dB sound pressure difference, in each case with the same air flow strength.
- the plastic reed assembly is produced using at least one of the methods 3-D printing, pressing, transfer molding, modified vacuum infusion methods (MVI), vacuum-assisted resin injection (VARI), injection molding and / or cutting methods.
- MVI modified vacuum infusion methods
- VARI vacuum-assisted resin injection
- the reed arrangement can therefore easily be produced fiber-reinforced using modern manufacturing processes.
- the valve block carrier in which the actuators, valve flaps and so on are used. It is possible to manufacture the valve block from fiber-reinforced plastics, in particular with carbon fiber materials, and to use parts therein, such as metal valve flaps and / or the electromagnetic actuators, which are not made from fiber-reinforced plastics.
- valve flaps in particular can also be formed from fiber-reinforced plastics. This also applies in particular to the global air flow rectification valves which are assigned to all or to a large number of electrically excited reed valves.
- a pressure sensor is therefore provided for detecting changes in pressure in the bellows, with which it is particularly detected whether the bellows is currently being compressed or expanded.
- a pressure sensor can be provided which is used on the basis of the pure pressure fluctuations recorded in the bellows in order to detect expansion or compression; alternatively and / or additionally, a pressure difference against the external pressure can be recorded.
- accelerometers in particular triaxial accelerometers, can be arranged in parts of the manual traction instrument that are remote from one another, with which it is determined whether the move spaced parts towards or away from each other, which indicates a compression or an expansion of the bellows.
- control of the valves allows an inexperienced player to be supported up to the almost complete reproduction of recorded pieces by at least the opening of the reed valves being preprogrammed and the player only having to operate the bellows should be mentioned as well as the possibility of partial support ensure, for example, in that registers are switched on (automatically), particularly fast sequences, cadences, etc. can be called up, a melody is transposed and / or the playing styles of experienced players can be recorded and, if necessary, saved.
- Conventional interfaces such as MIDI interfaces can be used for this purpose. It should be mentioned that, if necessary, the instrument can be addressed wirelessly via Bluetooth and / or WLAN or the like.
- a unit separate from the accordion possibly together with signals related to the bellows movement or compression / expansion, such as pressure sensor signals, in order to determine and / or reproduce sounds from them via a PA system or the like.
- signals related to the bellows movement or compression / expansion such as pressure sensor signals
- suitable microphones for recording the reed vibrations can be provided in or on the instrument.
- a secondary valve can be opened while the reed valves remain closed and only the actuation of the keys and the actuation of the bellows is detected. Suitable sounds can then be synthesized from this, which enables silent playing, for example for night practice without disturbing neighbors or roommates.
- a signal transmission between the keys or a control that records digitally key signals and the actuators or an actuator control that is then separate from the key control can also be carried out inductively, via short-range radio signals such as NFC, but also Bluetooth etc. or via a transparent window that can be done optically.
- This has the advantage that only a power supply has to be made possible in the valve chamber, for example through a battery compartment that can be opened, and no further bushings are required.
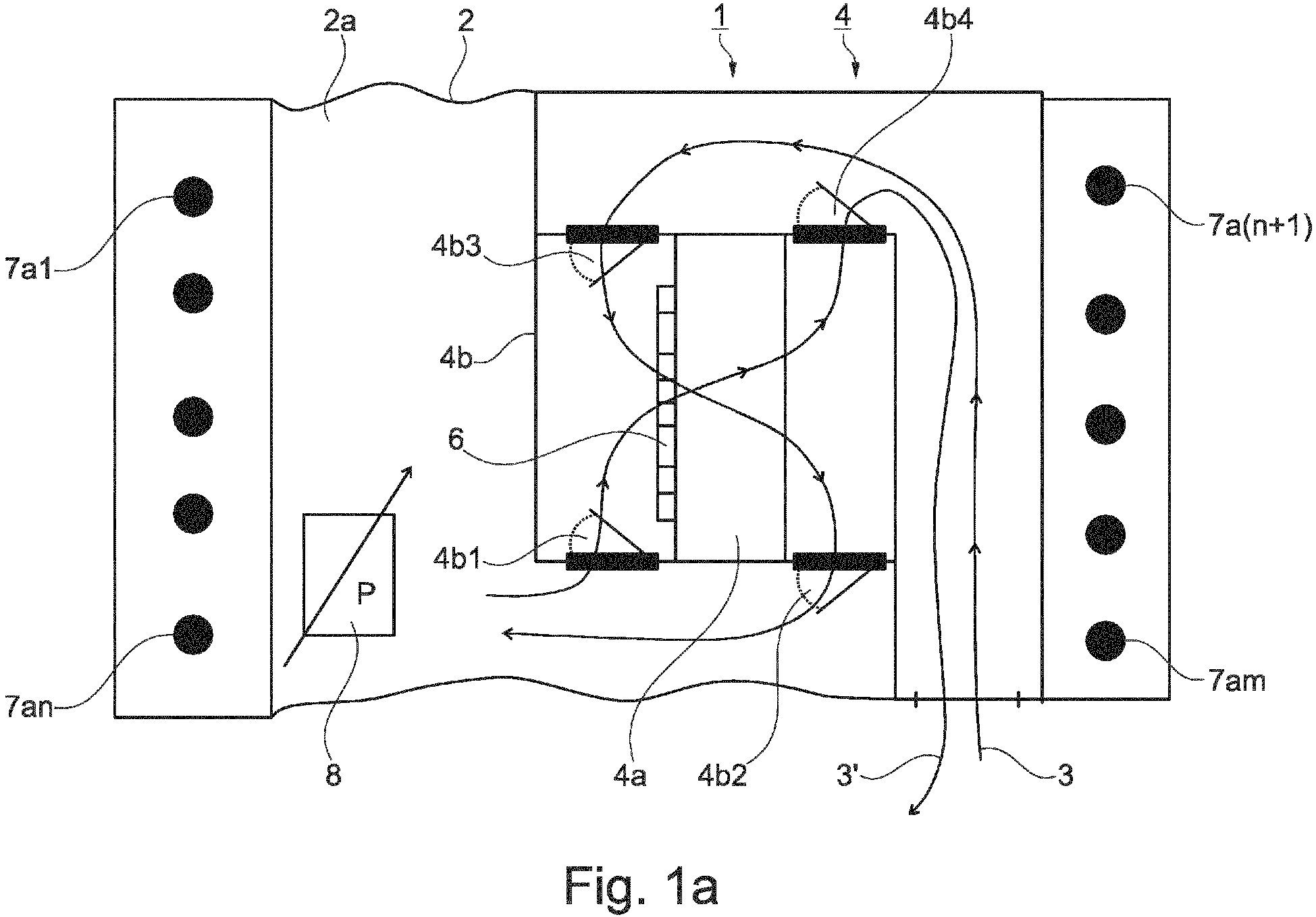
- a manual pulling instrument 1 generally designated 1, comprises an expandable and compressible bellows 2, which is designed to generate an air flow, indicated by the arrows 3 and 3 ', by expansion and compression, as well as a flow control 4 having a valve arrangement 4a, which is used for Control of the flow strength of the reeds 6 to be flowed in according to the music is arranged, and a flow straightening arrangement 4b, which is arranged to bring about the same direction of flow of the reeds during bellows expansion and bar compression, the valve arrangement 4a having a number of flow-actuated reed valves here, see FIGS 4, which each control a flow of individual reeds or, if need be, less sound-related incoming reeds, and the flow straightening arrangement has a number of air flow straightening valves 4b1, 4b2, 4b3, 4b4 formed here as flaps, the number of reed valves 4a1 to 4a1 6, see FIG.
- air flow rectifying valves 4b1, 4b2, 4b3, 4b4 in Fig. 1 are formed as flaps, because the mode of operation can be recognized particularly easily, but that flaps hinged on one side do not necessarily have to be used, but other valves such as membrane valves or the like can be used.
- FIG. 3 shows a valve block with only 16 valves that control the air flow through respective reeds in a flow-actuated manner, with all 16 reed valves of the valve block 4a being assigned to the flow straightening arrangement, which only require four air flow straightening valves for air flow straightening.
- the number of air flow rectification valves for air flow rectification is therefore smaller than the number of current-actuated reed valves in the valve block for the current-actuated reed valves through which air flows in the same direction.
- several valve blocks of the type 4a shown in FIG. 3 can be accommodated in the flow control 4 together with the associated reeds 6 and / or that the valve blocks 4 can be selected to be significantly larger than shown.
- the hand pull instrument 1 is an accordion 1 which has keys 7a1 to 7an or 7an + 1 to 7am on the opposite side, which are only symbolically shown at both ends. It should be pointed out that the present invention makes it particularly easy to select a keyboard arrangement that differs from the arrangement on conventional hand-operated instruments.
- the keyboard can be designed as a keyboard without structural disadvantages and not, as is conventional, generally parallel to the direction of pulling the bellows, but rather transversely to it.
- the ends of the bellows are connected in an airtight manner in such a way that air can flow into or out of the bellows internal volume 2a through an inlet opening 2b.
- the flow control 4 with the 4 air flow rectifying valves 4b1 to 4b4 is provided between the inner bellows volume 2a and the air outflow opening 2b.
- These air flow rectification valves are arranged in pairs in such a way that in the event of an overpressure in the interior of the bellows, i.e. when the bellows 2 is compressed, the air flow valve 4b1 and the air flow valve 4b4 open, but the air flow rectification valves 4b2 and 4b3 are closed, which means that the air flow 3 'flows in one direction through the reeds leaves.
- a pressure sensor P see reference number 8, is also provided inside the bellows whose signals (in the schematic illustration of FIG Figure 1 not shown) fed to a controller and used there, as will be described below. It should be mentioned that the pressure sensor, as well as the use of the signals generated with it, is optional.
- the hand traction instrument is lightweight and, in the present exemplary embodiment, can be used in a mobile and autonomous manner, for which purpose an energy supply in the form of a rechargeable battery (not shown) is provided.
- the reeds or reed plate arrangements are formed as carbon fiber reed arrangements in such a way that the gap between (carbon fiber) reeds and the surrounding (carbon fiber) carrier plate is sufficient to reliably prevent the tongue from hitting the carrier even in the event of large temperature fluctuations,
- the gaps for reeds of different tones or timbres are chosen so that the same transient behavior results for all tones with the same air pressure difference across the reed plate, and the fiber-reinforced reed plates are dimensioned in such a way that the same volume perception is achieved for all tones .
- the low thermal expansion of carbon fiber reeds and carbon fiber carrier plates allows the gaps between reeds and reed plates to be selected very small.
- This gap dimension is often decisive for the quality of the reed arrangement, because small gap dimensions mean that a smaller air flow is sufficient to achieve a given oscillation.
- the reeds can be slightly bent in order to facilitate loosening from the plane of the reed plate by creating a so-called release gap.
- the bellows 2 is conventional per se, wherein, as described, the reed arrangement is not arranged directly open to the bellows space 2.
- valve arrangement of the valves combined in the valve block 4a is such that an air channel 4a1b is provided for the air flow through a reed arrangement (not shown in FIG. 2 but to be mounted below the valve arrangement).
- This is closed by a normally closed reed valve spring 4a1c, which can be moved from its rest position, in which it closes the air duct 4a1b, as indicated by arrow 9, into an open position 4a1c ', with a plunger 4a1d, which is only shown in the figure is shown extended in the energized position and is movable by means of a plunger coil 4a1e.
- the leaf spring valve flap 4a1c is not firmly connected to the end of the plunger 4a1d, but can simply press against it.
- the moving coil 4a1e is shown in more detail in FIG.
- reference number 4alel shows the ferromagnetic core and 4ale2 the permanent magnet which is movable therein and which is formed, for example, from neodymium.
- 4a1e3 shows a ferromagnetic rotor which can be moved to or fro in the direction of arrow A when the windings 4a1e5 are excited.
- Reference number 4a1e4 denotes a plain bearing bushing that reduces friction losses during the back and forth movement of the ferromagnetic rotor 4ale3, so that the latter is due to the force of the leaf spring valve flap 4a1c, which wants to pivot back into its rest position, i.e.
- a further ferromagnetic rotor 4a1e6 is provided, which has a hole for the pin.
- this arrangement is lightweight, is able to generate large forces with low currents, is highly dynamic, even when many valves are arranged closely next to one another, as shown for example in FIG. 3 for a comparatively small valve block, does not lead to disruptive crosstalk and a permanent functioning of a manual traction instrument according to the invention is guaranteed. In addition, assembly is simplified.
- the leaf spring valve flap is supported on the valve block 4a below and offset to the front in the tappet excitation direction, see 4a1f, and is bent in such a way that a sufficiently strong contact with the valve block is ensured.
- Fig. 2 both end positions of the leaf spring valve flap movement are shown at the same time.
- valve block 4a is made of plastic.
- FIG. 5 In order to determine whether a specific, current-operated valve is to be excited momentarily or how strongly a valve is to be excited, an arrangement as shown schematically in FIG. 5 can be used. This arrangement of FIG. 5 will first be described before referring to FIG Figures 6 and 7 details are explained.
- a button 7a1 is provided, which is formed in such a way that it can not only be detected whether the button is pressed or not, but also how strongly the button is currently being pressed can be detected.
- the strength with which the button 7a1 is pressed is detected by recording a corresponding electrical signal, symbolized as 7a1b, in the analog-to-digital converter 7a1c, which is able to use a frequency of over 20 Hz for each button, here eg approx. 30Hz for each key, and a resolution better than 8 bit, here eg 12 bit to detect whether and how strongly the key is pressed at the moment.
- an analog-to-digital converter for detecting the strength with which is pressed can be assigned jointly to a plurality of keys, in which case a multiplexer is placed between the keys 7a1-7an and the analog-to-digital converter 7a1c in particular, in turn, to record the strength with which the individual keys are pressed. It should be mentioned that, if applicable, those buttons that are currently already doing something, but only with little force to a possibly to be pressed as a closed state to be evaluated, can be scanned more frequently for a certain time or until it falls below a threshold again, if necessary.
- the signals from the analog-to-digital converter 7ac are fed to a real-time digital signal processing unit 7a1d (Micro Controller Unit, MCU).
- MCU Micro Controller Unit
- another digital signal processing device such as an FPGA, DSP or the like could also be used.
- the keystroke signals received from the analog-digital converter are read into the microcontroller 7a1d and, in particular, are initially linearized, i.e. an offset can be deducted and / or a linearization can be carried out. Thereafter, in response to the correspondingly corrected values, an output signal corresponding to a respectively desired tone or, with appropriate programming, corresponding to a desired multi-tone sound can be output.
- a table can be used for this purpose, in which each input signal from a given key 7 is assigned to an individual tone or sound, i.e. several reeds that sound together.
- the microcontroller unit then outputs output signals from which it can be seen which reed valves associated with the reeds are to be excited with what strength to open the associated valve flap.
- the corresponding, typically digitally outputted signals from the microcontroller unit must then be converted in such a way that the associated actuators to be excited are excited.
- the corresponding digital signals can be converted in particular with a pulse width modulation method in such a way that a respective analog excitation signal results for each individual power-operated reed valve.
- FIG. 5 shows roughly schematically how the microcontroller unit 7ald is arranged between the analog-digital converter and the pulse-width modulation unit.
- FIG 6 is shown in a somewhat larger overview how the microcontroller unit is arranged between the sensor system and the pulse width modulation unit 7a1e for controlling the valves 4a and, by way of example, which further elements are sensibly provided.
- the sensor system includes key pressure sensors, signal conditioning stages, A / D converters, pressure or acceleration sensors, etc. assigned to the keys.
- the microcontroller 7a1d is in particular assigned an energy supply 7a1d1 which is sufficient to supply the entire manual instrument with electrical power for a sufficiently long period of time.
- the energy supply can be implemented by an accumulator, a power supply unit or a combination of both.
- the microcontroller 7a1d also has an interface 7ald2 in a preferred exemplary embodiment, via which it can communicate with a user interface 7ald3, with a control app 7a1d4, which is in particular web-based and, for example, enables firmware and the like to be updated, as well as with a MIDI interface 7ald5 and others
- Device interfaces 7ald6 can communicate in order, for example, to control a PA system, Bluetooth loudspeakers and the like or to output signals there.
- the corresponding individual interfaces can communicate with the microcontroller interface 7a1d2 via a system interface 7a1d7, which in particular also allows visualization and configuration, etc.
- microcontroller 7a1d can thus be controlled and used in such a way that the functionality is considerably expanded.
- 7a1I represents a base mounting plate for the button 7a1, into which a plain bearing bush 7a1II is let through, through which a threaded pin 7a1III can be moved.
- the threaded pin 7a1III is connected to a head 7a1III on the user side, the head being spring-preloaded into a non-actuated rest position by a spring holder with end stop 7a1V.
- an end stop 7a1VI is provided, on which a support surface 7a1Va rests when the button is pressed in sufficiently deeply.
- the threaded pin 7a1III is provided at its end remote from the actuation end with a reflector 7a1VII which is opposite an (infrared) IR distance sensor 7a1VIII, which in turn is arranged on a circuit board 7a1IX.
- a reflector 7a1VII which is opposite an (infrared) IR distance sensor 7a1VIII, which in turn is arranged on a circuit board 7a1IX.
- the keys can be made more compact if the IR reflector and the associated IR distance sensor are not arranged below the key but next to the key, as can be seen in FIG. It should be mentioned that the key is also moved resiliently into a non-pressed position in FIG. It can be seen from FIG. 8 that pressing the button according to FIG. 8 leads to a distance between the IR sensor and reflector, while in FIG. 7 pressing the button leads to an approach between the sensor and reflector. the Different signal curves can easily be corrected or taken into account by the microcontroller unit in an illuminating manner. In particular, it is possible, if necessary, to combine both types of keys in one and the same instrument.
- the mechanical structure of the keys and the associated sensors are advantageous because they are light, small and reliable, but it is not mandatory and other keys with corresponding properties could be provided. Reference is made, for example, to known keyboard keys of electric pianos, etc. In addition, it should be pointed out that precisely the use of electronic keys allows optimization from an ergonomic point of view free of the limitations of purely mechanical hand-held instruments.
- the microcontroller unit from Figure 6 The signals from the pressure sensor 8 within the bellows or the pressure difference sensor 8, which compares the internal pressure of the bellows with the pressure of the external atmosphere, are fed as an input signal from the sensor system, so that the microcontroller is able to open the valves 4a in this way that when the button is pressed, the volume remains constant regardless of the actual pressure inside the bellows and / or regardless of the number of currently open reed valves and / or regardless of the bellows pressure fluctuations that are probably unwanted, especially for inexperienced players.
- the hand traction instrument of the present invention is used as follows: First, the manual traction instrument is switched on. After a short initialization phase (comparable to booting a computer), the device is immediately ready to play. This boot phase can be so short that it is not noticeable to the user.
- the user will then first expand the bellows. During this expansion movement, air flows through the air flow rectification valves 4b3, if the air flow valve 4b4 is closed, through the reeds 6 and the valves 4a via the air flow valve 4b2, if the air flow valve 4b1 is closed, into the bellows chamber 2 Press 7am.
- the strength with which each key is pressed is queried in turn with a high repetition rate, so that the key pressure of each key is queried several times during every tenth of a second.
- the microcontroller determines a target opening for one or more reed valves that corresponds to the key press and sends a corresponding output signal to the pulse width modulation unit PWM given so that the corresponding reed valve assemblies are excited as required by supplying pulse-width modulated excitation currents.
- PWM pulse width modulation unit
- the pressed keys can be changed during the bellows expansion as required for music production, and when the musician finds that the bellows has expanded sufficiently and should now be compressed again, he will reverse the movement of the bellows so that the air flow rectification valves 4b2 and Close 4b3 and open air flow straightening valves 4b1 and 4b4, whereby air continues to flow in the same direction over the reeds regardless of the reverse movement of the bellows. Since the instrument is quite light, regardless of the fact that the battery is chosen so that it can be used continuously without changing it even during long concerts, the musician will be able to play the instrument for a long time without getting tired.
- Fig. 1a The arrangement shown is, for example, the sound paths with pressure and with pull, as can be seen, of different lengths, which can lead to (albeit possibly only minor) sound differences with pressure and with pull.
- the sound is emitted downwards or upwards, especially for higher-frequency sound components, depending on the orientation of the air intake / outlet duct.
- the elongated air duct can also result in bass reflex-like elevations in low-frequency sound components. Such peaks are often desirable because they have higher frequency components can contribute to an unpleasant sound. It should be mentioned that a corresponding vote is possible.
- FIG. 1b An alternative arrangement of the sound post is in Figure 1b shown.
- Figure 1b is shown where the player is during the hand-pull instrument game and the sound post with the air flow straightening arrangement is shown schematically, with the suction (pull) and squeeze (pressure) phase of the bellows expansion / compression being illustrated in the two parts of the picture.
- the valve block itself is not shown.
- the in Figure 1b The arrangement shown is directed towards the audience in the case of bellows compression, while in the case of bellows expansion the sound emerges laterally and not forwards. This can also produce desired sound effects.
- FIG. 1c Another variant of a hand traction instrument is in the two variants of Figure 1c shown.
- the sound post stands at an angle to the bellows, and in the variant shown, it is arranged closer to the bellows, which is not mandatory; it could also be arranged closer to the keyboard.
- the valve block itself is not shown. A decision can be made between such variants with regard to the overall focus of the instrument, for example.
- Both variants have in common that the sound emerges to the front of the audience with both bellows expansion and compression, which leads to a largely identical sound impression and the same volume impression.
- the sound paths between the reed and the outlet opening are comparatively short, which leads to a lower influence of the sound path.
Landscapes
- Physics & Mathematics (AREA)
- Engineering & Computer Science (AREA)
- Acoustics & Sound (AREA)
- Multimedia (AREA)
- Check Valves (AREA)
- Containers And Packaging Bodies Having A Special Means To Remove Contents (AREA)
- Stringed Musical Instruments (AREA)
- Endoscopes (AREA)
- Indication Of The Valve Opening Or Closing Status (AREA)
Abstract
Description
- Die vorliegende Erfindung betrifft das oberbegrifflich Beanspruchte und bezieht sich somit auf ein Handzuginstrument.
- Handzuginstrumente sind bekannt. Bei einem Handzugzuginstrument wie etwa einem Akkordeon, einem Bandoneon, einer Konzertina usw., ist ein Balgen vorhanden, der mit der Hand auseinandergezogen bzw. komprimiert wird. Das sich dabei ändernde Volumen innerhalb des Balgens führt zu einem Luftstrom, mit dem Stimmzungen angeströmt werden können. Solche Stimmzungen sind im Wesentlichen Streifen aus dünnem Material, die einseitig fixiert sind und auf der von der Fixierung abgewandten Seite frei schwingen können. Für die verschiedenen Tonhöhen bzw. Klangfarben sind unterschiedliche Stimmzungen vorgesehen. Damit nun bestimmte Stimmzungen, mit denen ein bestimmter Ton erzeugt werden soll, tatsächlich angeströmt werden, ist jeder Stimmzunge ein Ventil zugeordnet, das wiederum durch Drücken einer Taste oder eines Knopfes aus seiner normalerweise geschlossenen Stellung in eine offene Stellung bewegt werden kann. Es sei im Übrigen erwähnt, dass bei einigen Handzuginstrumenten mehrere Stimmzungen einem einzelnen Ventil zugeordnet sein können, um beispielsweise einen volleren Klang zu erzielen.
- Damit sowohl bei der Expansion als auch bei der Komprimierung des Balgens Töne erzeugt werden können, muss für eine ordnungsgemäße Anströmung der Stimmzungen Sorge getragen werden. Dazu sind z.B. verschiedene Ventile im Handzuginstrument vorgesehen, die geöffnet oder geschlossen sind, je nachdem, ob der Balgen expandiert oder komprimiert wird. Mit diesen wird eine einheitliche Durchströmung der Stimmzungen erreicht.
- Aufgrund des beschriebenen Prinzips von Handzuginstrumenten sind herkömmliche Handzuginstrumente mechanisch aufwändig. Es sind viele unterschiedliche Teile erforderlich, was aufgrund des komplexen Zusammenbaus vieler Teile, der Notwendigkeit, viele Teile aneinander anzupassen und (abzu-)stimmen usw. zu ganz erheblichen Kosten führt. Zudem ist das Gewicht typischer Handzuginstrumente sehr hoch, was bei körperlich schwachen Spielern wie Heranwachsenden erhebliche Probleme auslösen kann.
- Es ist wünschenswert, hier zumindest partiell Abhilfe zu schaffen.
- Es gibt bereits Überlegungen, Handzuginstrumente zu verbessern. Aus der
ist ein Stimmstock für Akkordeons, Harmoniums und dergleichen bekannt, wobei der Stimmstock eine pneumatische Steuerung aufweisen soll, durch welche für jeden Ton eines Chors nur eine Zungenstimme erforderlich ist, die im Stimmstock derart angeordnet wird, dass sie bei Saug- und bei Druckluft ansprechen kann. Eine solche Anordnung hat Klappen, damit bei Expansion und Kompression des Balgens die selben Stimmzungen verwendet werden können.DE PS 855 499 - Auch derartige Instrumente sind noch sehr massiv und schwer.
- Auf das Gewicht eines Akkordeons wird auch in der
DE 101 33 287 A1 Bezug genommen. Darin wird behauptet, dass es für ein flaches, komplettes und leichtes Gebilde für ein Akkordeon, welches sich einfach herstellen lässt und zudem ergonomisch günstig ist, an einem geeigneten Aktuator für die Realisierung einer elektrischen Traktur mangele. Es wird ein elektromagnetisches Hülsenventil vorgeschlagen, bei welchem die Hülsen Spulen sind, die ohne Eisen ineinander gleiten sollen. Mit einer solchen Anordnung soll ein Ventil gebaut werden, bei dem ein Fenster durch einen entsprechend gerichteten Strom geöffnet wird. Es wird eingeräumt, dass der Wirkungsgrad des eisenlosen Aktuators schlecht sei, man dafür aber höhere Stromstärken anlegen könne, zumal die Einschaltdauer der Hülsenspulen relativ klein sei und der Spielwind für eine Kühlung der betätigten Hülsenspulen sorge. Es wird behauptet, das beschriebene Hülsenventil eröffne dem Akkordeon neue musikalische Möglichkeiten, sofern man Druck- oder andere Sensoren unter die Knöpfe und Tasten lege und damit jeden Einzelton für sich dynamisch steuerbar mache. Die Hülsenspulen würden sich gegen zugeordnete Federn stromproportional bewegen, und es sei lediglich das Fenster entsprechend zu gestalten. - Dass der vorbeschriebene Stand der Technik mit Hülsenventilen offensichtlich nicht alle im Akkordeonbau beobachtbaren Probleme löst, ergibt sich schon aus der Tatsache, dass, sollten entsprechende Musikinstrumente überhaupt den Weg in den Markt gefunden haben, sie sich jedenfalls nicht durchsetzen konnten.
- Ein möglicher Grund hierfür ist evtl. darin zu sehen, dass die vorbekannte Anordnung immer noch zu komplex und zu schwer ist
Es sind auch bereits Instrumente bekannt, bei welchen ein Tastendruck elektronisch erfasst wird und im Ansprechen darauf ein Ton elektronisch erzeugt und über einen Lautsprecher ausgegeben wird. Bei Ausbildung solcher Instrumente als Handzuginstrumente kann eine mit dem Balgen erzeugte Druckdifferenz erfasst werden, um die Lautstärke zu beeinflussen. Der Klang solcher Instrumente unterscheidet sich deutlich von jenem herkömmlicher Instrumente und wird deshalb gerade von professionellen Musikern stark kritisiert. - Es ist wünschenswert, ein Handzuginstrument angeben zu können, bei welchem zumindest einige der dargelegten Probleme zumindest partiell gelindert sind.
- Die Aufgabe der vorliegenden Erfindung besteht darin, Neues für die gewerbliche Anwendung bereit zu stellen.
- Die Lösung dieser Aufgabe wird in unabhängiger Form beansprucht. Bevorzugte Ausführungsformen finden sich insbesondere in den Unteransprüchen.
- Gemäß einem ersten Grundgedanken der Erfindung wird somit ein Handzuginstrument mit einem expandier- und komprimierbaren Balgen, der zur Erzeugung eines Stimmzungen anströmenden Luftstromes durch Expansion und Kompression ausgebildet ist; und einer Anströmsteuerung, aufweisend eine Ventilanordnung, die zur Steuerung der Anströmung musikgemäß anzuströmender Stimmzungen angeordnet ist, und eine Strömungsgleichrichtungsanordnung, die dazu angeordnet ist, die gleiche Stimmzungen-Anströmrichtung bei Balgenexpansion und bei Balgenkompression zu bewirken; vorgeschlagen, bei welchem vorgesehen ist, dass die Ventilanordnung eine Anzahl an Stimmzungen- Ventilen aufweist, die jeweils eine Anströmung einer einzelnen oder allenfalls weniger klanggemäß gemeinsam anzuströmender Stimmzungen steuern, und die Strömungsgleichrichtungsanordnung eine Anzahl von Ventilen zur Luftströmungsgleichrichtung aufweist, wobei die Anzahl an Stimmzungen-Ventile größer ist als die Anzahl von Ventilen zur Luftströmungsgleichrichtung und wobei eine Gruppe von Ventilen zur Luftströmungsgleichrichtung einer größeren Gruppe Stimmzungen- Ventile zur gemeinsamen Gleichrichtung der Luftströmung dort hindurch so zugeordnet ist, dass die Luftströmung durch die Gesamtheit aller Stimmzungenventile der Gruppe gemeinsam gleichgerichtet ist.
- Es wird also erkannt, dass es möglich ist, die Luftströmung mit einer sehr geringen Zahl an Luftströmungsventilen insgesamt gleichzurichten. Die geringe Zahl von Luftströmungsventilen zur Luftströmungsgleichrichtung und die Verwendung eines gleichgerichteten Luftstromes erlaubt eine signifikante Gewichtsreduktion.
- Die Verwendung globaler Ventile ist möglich, weil die einzelnen Ventile der Stimmzungen nicht über eine komplizierte Hebelmechanik oder dergl. betätigt werden müssen. Vielmehr ist es möglich, die Ansteuerung zu vereinfachen, insbesondere derart, dass die Verbindungen erforderlichenfalls leicht durch eine Trennwand oder dergl. geführt werden können. Dies gilt unter anderem in besonderem Maße für elektrische Verbindungen.
- Die Stimmzungenventile können also elektronisch angesteuert werden. Dies ist aber nicht zwingend. Ausreichend ist z.B. bereits, daß eine Abdichtung des Balgenraumvolumens gegen das Stimmstockvolumen bzw. das Stimmzungenvolumen trotz einer Verbindung zwischen Tastatur zu Stimmzungenventilen ermöglicht ist. Dies ist durch herkömmliche- allerdings schwere - Metallelemente per se ebenso möglich wie durch besser als diese abdichtbare und sogar deutlich leichtere Faden- und/oder Seilelemente, die von den Tasten zu den Stimmzungenventilen durch bzw. an geeignete Dichtungsmittel geführt werden; eine weitere und im Übrigen auch bevorzugte Möglichkeit ist der Betrieb der Stimmzungenventile mit elektrischen Aktuatoren, was eine besonders einfache Druckabdichtung erlaubt, ohne auf eine stets relativ aufwendige mechanische Verbindung Rücksicht nehmen zu müssen, weshalb nachfolgend regelmäßig auf solche elektrischen Aktuatoren Bezug genommen wird. Die Verwendbarkeit globaler Luftströmungsventile ist also selbst dann möglich, wenn die einzelnen Stimmzungen-Ventile auf mechanische Weise geöffnet werden müssen, sie wird aber gleichwohl durch Ansteuerung der Stimmzungen-Ventile über elektrische Leitungen wesentlich vereinfacht, weil diese Leitungen ohne Weiteres durch eine Trennwand oder dgl. zu führen und ohne großen Aufwand besonders einfach abzudichten sind.
- Zudem erlaubt es die Ansteuerung strombetätigter Stimmzungen-Ventile, nicht nur an gegebene Platzverhältnisse angepasste, leicht verlegbare elektrische Leitungen zu verwenden, die von den strombetätigten Stimmzungen-Ventilen zu einer geeigneten Steuerung sowie von der Steuerung zu Energiequellen wie Akkumulatoren oder Batterien führen sowie zu Tasten, Betätigungsknöpfen usw. führen, sondern auch, die Anordnung so weit weiter zu vereinfachen, dass tatsächlich eine weitgehende Gewichtsersparnis möglich wird. Da die Erfindung zudem den Einsatz besonders leichtgewichtiger Materialien erlaubt und begünstigt, ist dieser Vorteil dann auch gut ausgeprägt.
- Typisch kann die Luftströmung durch eine globale Anordnung für alle strombetätigten Stimmzungen-Ventile mit denselben Luftströmungsventilen gleichgerichtet werden. Dabei braucht die globale Anordnung nicht mehr als vier Lufströmungsgleichrichterventile umfassen. Gegebenenfalls lassen sich womöglich Lufströmungsgleichrichterventile sogar paarweise koppeln, was die Gesamtzahl an vorzusehenden unabhängigen Ventilanordnungen sogar noch zu reduzieren vermag. Es sei allerdings erwähnt, dass es bevorzugt ist, einen hohen Luftstrom bei nur geringen Druckdifferenzen zu ermöglichen und dabei zugleich ein schnelles Ansprechen der Lufströmungsgleichrichterventile auf Druckwechsel zu erlauben. Dies macht es vorteilhaft, mehrere, kleinere Lufströmungsgleichrichterventile parallel zueinander zu verwenden, die gemeinsam eine große Durchströmungsfläche bieten und gleichwohl schnell ansprechen. Es sind dann vier Lufströmungsgleichrichterventilgruppen erforderlich. Dies ist der weit bevorzugte Fall; es ist jedoch ebenso möglich, einzelnen Stimmzungenklappengruppen oder einer kleineren Gruppe solcher Stimmzungenklappen separate Luftströmungsventile zur Luftströmungsgleichrichtung zuzuordnen, etwa weil nicht alle Stimmzungen dicht beieinander angeordnet werden sollen oder dgl.
So können Diskant- und Bass-Stimmzungen an unterschiedlichen Enden des Balgens untergebracht werden. Damit kann es sinnvoll sein, an jedem Ende des Balgens eine Lufströmungsgleichrichtung mit dann wiederum z.B. jeweils mindestens vier Lufströmungsgleichrichterventilen vorzusehen. - Es sei erwähnt, dass demnach die globalen Luftströmungsgleichrichtungssventile so angeordnet werden, dass die Stimmzungen nicht mehr unmittelbar im expandier- bzw. komprimierbaren Balgen sitzen, sondern durch die Luftströmungsgleichrichtungssventile davon separiert sind. Dies gilt auch, wo mehrere kleinflächige Luftströmungs-Einzelventile gemeinsam anstelle eines großflächigen jeweiligen Luftströmungsgleichrichtungssventiles vorgesehen werden, selbst wenn typisch für alle Stimmzungen gemeinsam wirksame Luftströmungsventilgruppen vorgesehen sein werden.
- Dabei wird zugleich in dem bevorzugten Handzuginstrument nicht nur das Gewicht reduziert, sondern es wird auch, weil auch eine Vielzahl von Klappen und weitere Mechanik entfallen kann, das Instrument per se preiswerter. Dass insbesondere eine erhebliche Gewichtseinsparung selbst dann möglich ist, wenn nicht die zumindest angeblich besonders leichten Hülsenventile eingesetzt werden, was wiederum bei batteriebetätigten Instrumenten dazu führt, dass für eine gegebene Spieldauer die Batterie kleiner und ergo wiederum leichter ausfallen kann, sei erwähnt.
- Es wird einzuschätzen sein, dass allein schon aus diesen Gründen das erfindungsgemäße Handzuginstrument besonders vorteilhaft und marktfähig sein wird.
- In einer besonders bevorzugten Ausführungsform wird eine Vielzahl strombetätigter Stimmzungen-Ventile gemeinsam in einem Ventilblock angeordnet.
- Die gemeinsame Anordnung aller Stimmzungen-Ventile in ein- und demselben Ventilblock bzw. die Anordnung zumindest vieler Stimmzungen-Ventile jeweils gemeinsam in einer insgesamt nur geringen Anzahl an Ventilblöcken ist vorteilhaft, weil eine Vormontage und Überprüfung zunächst wesentlich vereinfacht ist. Anstelle von elektrischen Einzelkontakten können nun global nutzbare Stecker oder dgl. verwendet werden, was Test und Montage wesentlich erleichtert. Insbesondere wird es also möglich, die Stromleitungen zu den jeweiligen Ventilen zusammenzulegen zu einem gemeinsamen Steckanschluss, was die Ausbildung weiter vereinfacht und bei der Montage vorteilhaft ist.
- Es sei erwähnt, dass die hier mitoffenbarte Blockbauweise bestimmter Komponenten die Montage zu erleichtern vermag und überdies ermöglicht, dass die Ventilblöcke und/oder Stimmstöcke bzw. Ventilblock-Stimmstockblöcke als Akkordeonkomponente gut einzeln bzw. gemeinsam mit Teilen einer Steuerelektronik gehandelt werden und in einer Vielzahl von Instrumenten verbaut werden können. Damit kommt der Verwendung von Ventilblöcken auch insofern Bedeutung zu, als eine arbeitsteilige Fertigung und Montage, wie sie im Akkordeonbau üblich ist, begünstigt wird.
- Da bei der Montage lediglich der Block auf einer Fläche angeordnet werden muss, hinter bzw. in welcher die Stimmzungen anströmbar sind, ist die mechanische Montage des Blockes ebenfalls schnell und preiswert möglich, zumal die zwischen Ventilblock und seiner Auflagerung vorgesehene Fläche durch die vorteilhaft flache Auflagerung des Ventilblockes auf einem Untergrund per se sehr dicht gestaltet werden kann. Dies gilt insbesondere, wenn ein an der Auflagerfläche zumindest geringfügig nachgiebiger Kunststoff für den Ventilblock verwendet wird und/oder zusätzliche Dichtungen entweder für jede Stimmzunge bzw. jedes Stimmzungen-Ventil einzeln und/oder den Block insgesamt vorgesehen werden. Zudem wird die Anordnung insgesamt wiederum leichter.
- Es ist daher bevorzugt, wenn am Ventilblock Dichtmittel vorgesehen sind, die eine Abdichtung gegen den Stimmstock bzw. die einzelne Kanzelle ermöglichen. Wenn solche Dichtmittel bereits vor der Montage am Ventilblock vorgesehen sind, ist eine arbeitsteilige Fertigung eines Handzuginstrumentes weiter begünstigt. Neben herkömmlichen Dichtmitteln wie O-Ringen können die Dichtmittel insbesondere durch hinreichend weiche und/oder glatte Auflagerflächen bzw. mit solchen gebildet sein.
- Per se wird in einem typischen Handzuginstrument wie einem Akkordeon das Ventil, das einer Stimmzunge zugeordnet ist, entweder, bei nicht gedrückter Taste, vollständig geschlossen sein oder, bei gedrückter Taste, vollständig geöffnet. Dies ist mit strombetätigten, den Stimmzungen zugeordneten Ventilen nachahmbar, indem die Stimmzungen-Ventile entweder ganz offen oder ganz geschlossen werden; typisch wird das Stimmzungen-Ventil also nur erregt, um es in die Offen-Stellung zu bewegen. Allerdings ermöglicht die Erfindung, den Übergang zwischen Offen- und Geschlossenstellung sehr präzise zu gestalten, was für ein natürliches Spielgefühl vorteilhaft ist. So wird es demnach auch als sehr vorteilhaft empfunden, wenn die Stimmzungen-Ventile in der vorliegenden Erfindung nicht einfach zwischen offener und geschlossener Stellung wechseln, sondern definierter von einer Ruhestellung in eine bestimmte erregte Stellung, beispielsweise aus dem geschlossenen in einen bestimmten offenen Zustand, bewegt werden können. Dies bietet auch der Menge an Handzuginstrumentspielern mit lediglich durchschnittlicher Begabung Vorteile, weil vermieden wird, dass eine schlagartige An-/Aus- bzw. Auf-/Zu-Steuerung des Handzuginstrumentes in als undefiniert empfundener Weise auftritt und die Tonansprache bzw. das Einschwingverhalten durch den Musiker nicht beeinflusst werden kann. Bei begabteren Amateuren und professionellen Musikern wird es ohnehin allgemein als wünschenswert empfunden, dass der musizierenden Person über weite Bereiche der VentilHub-Bewegung der Eindruck vermittelt werden kann, Ventile in natürlicher Weise, also insbesondere nicht rein schwellbasiert, zu steuern. Dies gibt ein insgesamt natürlicheres Spielempfinden, weil insbesondere das Gefühl, die Artikulation, die Weichheit, harte Staccati usw. besser kontrollierbar werden. Es ist also möglich, dem Spieler die gleiche Kontrolle der Tonventilbewegungen wie bei einer rein mechanischen Spieltraktur zu ermöglichen und damit, wie bei einer direkten mechanischen Kontrolle der Tonventilbewegungen, auch eine besonders differenzierte Artikulation der gespielten Musik zu erlauben.
- Es ist im Übrigen aber selbst dann nicht erforderlich, dass die Stimmzungen-Ventile vollständig linear geöffnet bzw. geschlossen werden; Vorteile ergeben sich bereits, wenn über wesentliche Teile des Hubs ein konstantes Kraft-Wege-Verhalten, das heißt eine hinreichende Linearität vorliegt. Dies wird insbesondere dort der Fall sein, wo die Abweichungen von einem linearen Kraft-Weg-Verlauf über wenigstens 50 % des Betätigungsbereichs, der in der Praxis zum vollständigen Öffnen von der Ruhelage aus erforderlich ist, um nicht mehr als 5% abweichen; bzw. nicht mehr als 10% von einem solchen linearen Kraft-Weg-Verlauf abweichen, insbesondere, wenn für wenigstens 2/3 des Betätigungsbereiches eine Abweichung von einem dort linearen Kraft-Weg-Verlauf nicht größer als 12% ist; bevorzugt ist, wenn für wenigstens 75% des benötigten Betätigungsbereiches nicht mehr als 10% Abweichung von der Linearität vorliegen, und insbesondere über wenigstens 85% des Betätigungsbereiches nicht mehr als 5% Linearitätsabweichung zu beobachten sind. Dass ein nichtlinearer Verlauf implementiert werden kann, sei erwähnt. Es kann damit insbesondere auf Wünsche von Musikern eingegangen werden, die ein möglichst exakt ansprechendes Instrument wünschen.
- Es wird einzuschätzen sein, dass lineare Betätigungsbereiche in der Regel entweder mittig um einen oft klar definierten Öffnungs- und Schließpunkt liegen oder diesen zumindest einschließen. Als Öffnungs- und Schließpunkt kann z.B. jener Punkt verstanden werden, an welchem eine Stimmzunge binnen nicht mehr als dem 1,5fachen jener Dauer einschwingt, die auch bei vollständiger Öffnung noch erforderlich ist, um den Einschwingvorgang zu beenden. Als beendet kann der Einschwingvorgang dabei angesehen werden, wenn die Lautstärke auf wenigstens 80% ihrer bei vollständiger Ventilöffnung final erreichten Lautstärke eines Tones angestiegen ist. Andere Schließpunktsdefinitionen sind übrigens ohne weiteres möglich, z.B. bezüglich Einschwingdauerverhältnis und Endlautstärke. Weiter wird einzuschätzen sein, dass Vorteile bereits dort erhalten werden, wo eine Linearität über zumindest einen hinreichend großen Betätigungsbereich zumindest ansatzweise vorhanden ist. Die Vorteile einer linearen Betätigbarkeit über einen großen Bereich werden ausgeprägter, wenn dieser Bereich besonders groß wird, wobei jedoch kaum zusätzliche Vorteile durch einen über nahezu 100% des Betätigungsbereiches linearen Kraft-Weg-Verlauf erzielt werden, weshalb der dafür gegebenenfalls erforderliche Aufwand entbehrlich ist. Typisch werden weniger als 99%, insbesondere weniger als 95% des Betätigungsbereiches einen linearen Kraft-Weg-Verlauf mit einer Abweichung von der Linearität um besser als 5% aufweisen. Die gleichwohl immer noch erreichbare Verbesserung des Spielverhaltens ist beachtlich.
- Daß Alinearitäten, insbesondere zwischen Tastendrücken und den zugehörigen Sensorsignalen oder zwischen Tastendrücken und der Ventilöffnungsweite softwaretechnisch kompensiert werden können, und zwar auch für jede Tasten-Ventilkombination einzeln, sei erwähnt.
- Es sei insofern erwähnt, dass es möglich ist, insbesondere durch entsprechende Programmierung eines digitalen Controllers oder Vorsehen von Look-Up-Tabellen oder Implementierung von Linearisierungsfunktionen, eine linear auf eine Tastenbetätigung ansprechende Ventilbetätigung zu erhalten. Dass überdies die Möglichkeit besteht, sowohl für die linke wie auch für die rechte Hand eine jeweilige Tastatur vorzusehen, sei es als Knopf-Tastatur oder als Klaviatur-Tastatur und/oder dass jeweils sowohl Akkorde als auch Einzeltöne, gegebenenfalls selektierbar auf einen Tastendruck erzeugt werden können, sei erwähnt. Die bauliche Ausbildung des Handzuginstrumentes gewinnt damit erheblich an Flexibilität. So ist bei typischen Handzuginstrumenten oftmals eine klaviaturähnliche Tastatur parallel zur Balgenzugrichtung vorgesehen. Diese Anordnung hat ihren Grund bei herkömmlichen Instrumenten in der Notwendigkeit, mechanische Verbindungen zwischen Tasten und Stimmzungenklappen vorzusehen. Mit der vorliegenden Erfindung entfällt diese Notwendigkeit und es werden ergonomischere Tastenanordnungen ermöglicht, insbesondere eine klaviaturähnliche Tastatur senkrecht zur Balgenzugrichtung. Derartige, ergonomischere Handzuginstrumente sind besonders dort zu bevorzugen, wo sich Spieler nicht umgewöhnen müssen, sondern in frühen Übungsphasen bereits die Tastatur verwenden können, oder professionelle Spieler durch die herkömmliche Handhaltung gesundheitliche Probleme bekommen.
- Eine besonders bevorzugte Variante der Ausbildung von Aktoren für Stimmzungen-Ventile besteht in Tauchspulen, die erregt werden, um Magnete darin zu bewegen, d.h. die Spulen sind ortsfest und die darin "eingetauchten" Magnete werden bewegt. Mit dieser Ausgestaltung können nicht nur hinreichend leichte Ventilanordnungen gebaut werden, sondern auch die vorteilhafte Linearität lässt sich besonders gut realisieren. Die Verwendung von starken Magneten wie Neodym-Magneten usw. erlaubt trotz baulich kleiner und somit gewichtsmäßig leichter Bauweise eine Betätigung auch sehr satt schließender Ventile, d.h. eine Betätigung von Ventilen mit großer Schließkraft.
- Es sei erwähnt, dass insbesondere die Verwendung von Tauchspulen vorteilhaft ist, weil bei diesen das Übersprechen zwischen Ventilen besonders gering ist, so dass eine enge Integration von Ventilen nebeneinander möglich ist, was bei gleichem Platz die Verwendung von mehr Registern, eines umfangreicheren Frequenzbereiches oder, bei gegebener Tonanzahl, eine Verkleinerung bzw. Gewichtsreduzierung erlaubt.
- In einer bevorzugten Variante ist zumindest die Mehrzahl der strombetätigten Stimmzungen-Ventile als Klappenventile ausgebildet; typisch werden zudem alle Stimmzungen-Ventile gleich gebildet, das heißt in einem typischen Handzuginstrument werden alle strombetätigten Stimmzungen-Ventile als Klappenventile gebildet. Die Ausbildung als Klappenventile ist baulich leicht zu realisieren, ermöglicht bei vergleichsweise geringem erforderlichen Hub der Stimmzungen-Ventilklappen eine ausreichend große Öffnung für die zur Tonerzeugung erforderlichen Luftvolumina und gewährleistet eine hohe Haltbarkeit und Beständigkeit der dynamisch bewegten Ventile. Dies trägt zu einer langen Haltbarkeit der Handzuginstrumente bei.
- Die Klappen können einseitig eingespannt sein, insbesondere vormontiert im Ventilblock, so dass Klappen und Ventile gemeinsam montiert werden. Sie können mit Aktoren, insbesondere Tauchspulen-Aktoren aus ihrer (normal geschlossenen) Ruhelage heraus bewegt werden.
- Typisch ist es ausreichend, die Stimmzungen-Ventilklappen so auszubilden, dass sie gegen einen Balgendruck unterhalb von 40 mbar Druckdifferenz geschlossen bleiben, wobei die strombetätigten Stimmzungen-Ventilaktoren typisch derart stark ausgebildet und mit so großem Strömen erregbar sind, dass sie die Öffnung der Ventilklappen auch gegen einen Druck von bis zu 3 bar vermögen. Diese Drücke erlauben ein einwandfreies Spielen des Handzuginstrumentes auch dort, wo zeitweilig hohe Drücke etwa zum simultanen Erregen einer Vielzahl von Tönen erforderlich sind.
- In einer typischen Variante sind für die Luftströmungsgleichrichtung des Spielwindes lediglich zwei globale Luftströmungsklappen- bzw. -ventilpaare vorgesehen, die gemeinsam den Spielwind für sämtliche, im Handzuginstrument vorhandenen Stimmzungen gleichrichten. Diese nur geringe Zahl an Luftströmungsgleichrichtungssventilen ist einerseits ohne weiteres ausreichend; andererseits wird durch die geringe Luftströmungsventilzahl die Konstruktion vereinfacht und das Instrument kann wiederum sehr leicht ausgebildet werden. Die Luftströmungsgleichrichtungssventile könnten mittels eines elektrischen Aktors im Ansprechen auf einem im Balgen erfassten Über- oder Unterdruck gesteuert werden; einfacher und besonders bevorzugt ist es jedoch, wenn sie rein mechanisch darauf reagieren, wozu sie z.B. als Membranventile ausgebildet sein können, die leicht auf Druckunterschiede ansprechen.
- Es wurde bereits daraufhingewiesen, dass eine lineare Betätigung der strombetätigten Stimmzungen-Ventile vorteilhaft ist. Prinzipiell ist dafür förderlich, wenn es einen sehr klaren Zusammenhang zwischen der von einem Aktor aufgebrachten Kraft und dem Stellweg des Aktors gibt, wie dies oben für den Kraft-Weg-Verlauf beschrieben ist. Dies erleichtert insbesondere dort die Herstellung des Handzuginstrumentes, wo zwar eine lineare Verstellung gewünscht ist, andererseits aber der Aufwand für eine Linearisierung jedes einzelnen strombetätigten Stimmzungen-Ventils für sich alleine geringst gehalten werden soll. Es sei jedoch erwähnt, dass Abweichungen der Reaktion auf eine Drucktastenbetätigung bei der Ventilsteuerung von einer linearen Reaktion wenigstens partiell elektronisch kompensiert werden können. Dies wird durch eine Ventilsteuerung ermöglicht, die für eine lineare Verstellung der strombetätigten Stimmzungen-Ventile ausgebildet ist.
- Während es prinzipiell möglich wäre, die Signale einer elektronischen Drucktaste oder eines Druckknopfes, der zur Ventil-Betätigung bedient werden muss, analog aufzunehmen und zu verarbeiten, wird in einer bevorzugten Variante ein Analog-Digital-Wandler verwendet, der eine vielstufige Erfassung der Drucktasten-Betätigung ermöglicht, beispielsweise in 64, bevorzugt mindestens 128 Schritten. Damit kann mehr als 2stufig eine reine Auf- von einer reinen Zu-Stellung der Drucktaste unterschieden werden, und es kann insbesondere auch ein dynamisches Verhalten erfasst werden, also erkannt werden, ob eine Taste langsam oder schnell gedrückt wird, was gegebenenfalls verwendet werden kann, um bei schneller Betätigung der Taste einen größeren Erregungsstrom an ein strombetätigtes Stimmzungen-Ventil zu speisen und damit eine noch schnellere Öffnung zu bewirken.
- Bei den Drucktasten bzw. Druckknöpfen, die vom Musiker am Handzuginstrument zu betätigen sind, damit die strombetätigten Stimmzungen-Ventile sich öffnen bzw. schließen, kann es sich insbesondere um magnetische, optische, gyroskopische und/oder tachymetrische Sensoren handeln.
- Auch bei Handzuginstrumenten mit großem Tonumfang und/oder vielen unterschiedlichen Registern ist es dabei im Regelfall nicht erforderlich, jeder Drucktaste, jedem Druckknopf bzw. den zugeordneten Sensoren einen dedizierten eigenen Analog-Digital-Wandler zuzuordnen, um die momentane Drucktasten-Betätigung zu erfassen. Selbst bei schneller Spielweise (Presto), kurzen Noten wie Sechzehnteln oder Zweiunddreißigsteln, welche viele Musiker gerade bei schnellen Stücken mit schwieriger Tonsetzung an die Grenzen der musikalischen Fähigkeiten bringen, einem Handzuginstrument mit großem Tonumfang von beispielsweise 4 Oktaven sowie dem Wunsch, eine Drucktaste mehrfach je Ton abzufragen, d.h. den Grad der Betätigung je Pause bzw. je Note mehrfach zu ermitteln, reichen herkömmliche Analog-Digital-Wandler ohne weiteres aus, weil hinreichend lineare Analog-Digital-Wandler (ADC) mit besser als 1% Linearität, beispielsweise 8-Bit-Wandler, oder 10-Bit-Wandler, zu geringen Preisen mit Wandelfrequenzen um 10-100 kHz oder darüber sehr preiswert verfügbar sind.
- Jede einzelne Taste kann demgemäß mit wenigstens 5 Hz ohne besondere Probleme abgefragt werden, wozu die entsprechenden Drucktasten-Sensorsignale etwa im Rundlaufverfahren (Round Robin) an den ADC gespeist werden können. In einer praktischen Ausführungsform wird jeder Tastenhub mit ca. 30Hz abgefragt, d.h. digitalisiert. Es sei erwähnt, dass es trotzdem einleuchtenderweise möglich ist, mehrere Analog-Digital-Wandler in einem Handzuginstrument zur Abfrage der Drucktasten-Sensoren vorzusehen, entweder, um den Aufwand der Weiterleitung von Signalen zu verringern, also weniger Drucktasten sukzessive nacheinander mit ein- und demselben ADC abzutasten und/oder eine versagenssicherere Ausbildung zu gewährleisten, was insbesondere bei hochwertigen Konzertinstrumenten von Interesse sein kann. Es sei auch erwähnt, dass zwischen den Drucktasten-Sensoren und dem Analog-Digital-Wandler neben Multiplexern geeignete Signalkonditionierungsschaltkreise vorgesehen sein können, also beispielsweise Treiber, Verstärker und so weiter.
- Es ist zwar möglich, aber nicht nötig, die Drucktasten wie eine Klaviatur auszugestalten; vielmehr ist auch die Möglichkeit gegeben, eine knopfartige Bedienung des Handzuginstrumentes wenigstens auf einer Seite des Balgens vorzusehen. Es sei diesbezüglich erwähnt, dass ein besonders natürliches, gewohntes Spielempfinden erhalten wird, wenn die Gewichtsverteilung des - dank der Erfindung allerdings insgesamt wesentlich leichteren - Handzuginstrumentes zumindest in etwa jener Gewichtsverteilung entspricht, die auch ein konventionelles Handzuginstrument, wie im Stand der Technik bekannt, besitzt. Demgemäß können Stimmstöcke, Ventilblöcke usw. (in etwa) dort eingebaut werden, wo die funktional entsprechenden Elemente wie Klappen und Stimmzungenplatten - relativ zum Schwerpunkt - auch in einem herkömmlichen Instrument angeordnet sind.
- Wenn das Handzuginstrument der vorliegenden Erfindung autonom, also netzunabhängig betrieben werden soll und dafür Batterien erforderlich sind, können diese entweder separat vom Handzuginstrument angeordnet werden, wobei der Musiker sie etwa in einem Gürtelholster trägt, was den Vorteil hat, dass dann die entsprechende Masse beim Spielen nicht von den Händen bewegt werden muss, oder aber die Batterien werden im Instrument untergebracht, was den Aufbau vereinfacht, Probleme durch Unterbrechung der elektrischen Verbindung vermeidet und so weiter. Dabei ist es dann möglich, die Batterie so am bzw. im Handzuginstrument anzuordnen, dass ein Spielgefühl erhalten wird, das möglichst nahe an dem mit einem herkömmlichen Handzuginstrument erhaltenen Spielgefühl liegt.
- Dass in einer bevorzugten Variante die Batterien leicht austauschbar und überdies bevorzugt wiederaufladbar sind, beispielsweise über eine herkömmliche USB-Schnittstelle, sei erwähnt. Ebenso erwähnt sei, dass der geringe Stromverbrauch der strombetätigten Stimmzungen-Ventile ein langes Musizieren ohne Probleme der Stromversorgung auch bei leichten Batterien ermöglicht. Auch die Unterbringung eines Netzteils im Instrument selbst ist realisierbar. Zudem sei daraufhingewiesen, dass die erhebliche Bewegung des Handzuginstrumentes beim Spielen auch ohne weiteres genutzt werden kann, um ein Energie-Harvesting zu ermöglichen, gegebenenfalls unter Zwischenspeicherung der so gewonnenen Energie. Dies ist auch dem Umstand zu verdanken, dass die Anordnung wenig Energie benötigt.
- Wie erwähnt, ist es vorteilhaft, wenn die Steuerung insgesamt derart erfolgt, dass ein lineares Ansprechen der Ventilöffnung auf eine Drucktasten-Betätigung erfolgt. Obschon dies mit jedweden geeigneten niederfrequenten Strömen geeigneter Stärke bewirkt werden kann, sei erwähnt, dass eine besonders vorteilhafte Methode, die Ventile entsprechend anzusteuern, darin besteht, einen pulsweitenmodulierten Strom durch die Ventile zu erzeugen. Dass die Tonfolge eines Handzuginstrumentes aufgrund der beschränkten Spielgeschwindigkeit selbst virtuoser Musiker hinter den mit elektronischen Schaltungen problemfrei erzielbaren Taktgeschwindigkeiten zurückbleibt, wurde bereits angedeutet. Selbst bei extrem schneller Spielweise wird der einzelne Ton demgemäß eine bestimmte Mindestdauer besitzen, typisch wenigstens zwischen einer Fünftel- und einer Zehntelsekunde. Es ist möglich, ungeachtet der Tatsache, dass die in strombetätigten Stimmzungen-Ventilen vorhandenen Stromspulen eine gewisse Induktivität haben, die einer raschen Änderung des durch sie fließenden Stromes entgegenwirken, eine Pulsweiten-Modulation vorzusehen, das heißt den beispielsweise während einer Zehntelsekunde Ventilöffnungszeit durch die Spule des Ventils fließenden Strom in dieser Zeit noch zu modulieren. Dies verbessert die Möglichkeiten, ein lineares Ansprechverhalten zu bewirken.
- Die elektronische Steuerung der Ventile, insbesondere die digitale elektronische Steuerung der Ventile, erlaubt überdies, das Spielen zu vereinfachen und/oder die Tonerzeugung zu verbessern. So ist es ohne Weiteres möglich, mehrere Register miteinander in der elektronischen Steuerung zu koppeln, d.h. eine Erzeugung von Tönen derselben Tonhöhe, aber unterschiedlicher Klangfarbe vorzusehen, oder simultan beim Spielen eines Tons in fest vorgegebener Weise zusätzliche Töne durch Öffnen der entsprechenden Ventilklappen zum Erklingen zu bringen.
- Daneben kann aber auch ein bestimmtes technisches Verhalten zu gewährleisten sein. So ist das Schwingungsverhalten der Zungen, mit denen unterschiedliche Töne bzw. Klänge erzeugt werden, offensichtlich voneinander verschieden. Dabei unterscheidet sich nicht nur die Frequenz (bzw. das Frequenzspektrum), mit welcher die Zunge bei Erregung durch den Luftstrom schwingt, sondern auch die Zeit, welche eine zunächst in Ruhe befindliche Zunge benötigt, um vollständig einzuschwingen und einen bestimmten Ton zu erzeugen. Mit anderen Worten unterscheidet sich bei unterschiedlichen Zungen das Einschwing-Verhalten. Dies kann dazu führen, dass bei exakt gleichzeitig gedrückten Tasten in herkömmlichen konventionellen Instrumenten die Töne mit einem, wenn auch geringfügigen, so doch wahrnehmbaren, Zeitversatz erklingen. Die vorliegende Erfindung erlaubt, dies zu korrigieren, indem ein tonabhängiger Zeitversatz und/oder ein tonabhängiges Stimmzungenventil-Öffnungsverhalten implementiert wird. Gegebenenfalls könnte also auch statt und/oder zusätzlich zu einer Linearisierung des Stimmzungenventil-Öffnungsverhaltens gegen Tastendruck das Ansprechverhalten z.B. bei Einschwingen optimiert werden. Zudem ist einsichtig, dass durch die mehrstufige Abfrage des Tastendrucks (also durch Auflösung mit mehreren Bits) eine Reaktion auf den Tastendruck erfolgen kann, die als sehr genau aufgefasst wird und selbst dort, wo keine weiteren Massnahmen wie Implementierung eines tonabhängigen Zeitversatzes, eines tonabhängiges Stimmzungenventil-Öffnungsverhaltens und ohne ein hoch lineares Öffnungsverhalten ein als sehr exakt und reproduzierbar empfundenes Spielverhalten implementieren lässt, das jenem eines mechanischen Instrumentes sehr nahe kommt. Dass zugleich besonders bevorzugte, nichtlineare Ansprechverhalten implementiert werden können, sei erwähnt.
- Damit wird einerseits die Umgewöhnung auf ein erfindungsgemäßes Handzuginstrument vereinfacht, weil zu antizipieren ist, dass jedes Instrument geringfügig unterschiedliche Einschwing-Verzögerungen für jeden Ton besitzt; durch die Erfindung kann z.B. ein besonders neutrales Verhalten gewährleistet werden; andererseits wird die Bedienung des Instrumentes für weniger erfahrene, beispielsweise Hobbymusiker, deutlich erleichtert, weil damit ein sehr exaktes Tonerzeugungszeitverhalten erreicht wird.
- Die Anpassung unterschiedlich schnell einschwingender Zungen ist besonders dort vorteilhaft, wo Zungen verwendet werden, deren Einschwing-Verhalten sich von jenem herkömmlicher (Metall-)Zungen unterscheidet, beispielsweise durch Verwendung einer faserverstärkten Kunststoff-Stimmzungen-Anordnung. Hier sei erwähnt, dass gegebenenfalls nicht lediglich ein gleichzeitiges Einschwingen simuliert bzw. erreicht werden muss, sondern gegebenenfalls auch das nicht gleichzeitige Einschwingen von Metall-Stimmzungen nachgebildet werden könnte.
- Die Verwendung von faserverstärkten Kunststoff-Stimmzungen-Anordnungen ist auch deshalb vorteilhaft, weil deren Wärmedehnung geringer ist als bei Metall-Stimmzungen, was dazu führt, dass sich die Spaltgröße zwischen schwingender Stimmzunge und sie tragender Platte mit wechselnder Temperatur weniger stark verändert. Bei herkömmlichen Instrumenten, bei denen damit gerechnet werden muss, dass sie sowohl bei kühlem Wetter, etwa im Winter bei Frosttemperaturen auf Weihnachtsmärkten, als auch in sommerlicher Hitze im Freien gespielt werden, muss der Spalt so gewählt werden, dass auch bei extremen Temperaturen ein Anschlagen der Zunge an der Stimmplatte sicher vermieden wird. Die Kunststoff- bzw. Carbonstimmzunge mit geringerer Temperaturausdehnung kann dementsprechend mit kleinerem Spalt gebildet werden. Dabei kann dann das Spaltmaß auch dergestalt optimiert werden, dass sowohl ein von vorneherein praktisch simultanes An- bzw. Ausschwingen wie auch eine gleiche Lautstärke oder ein gleiches Lautstärkeempfinden für unterschiedliche Tonhöhen erreicht werden. Darauf, dass durch faserverstärkten Kunststoff-Stimmzungen-Anordnungen zugleich eine erhöhte Korrosionsbeständigkeit gegeben ist, die sich ebenfalls dort besonders positiv auswirkt, wo das Instrument unter oft und/oder stark wechselnden Umgebungsbedingungen verwendet wird, sei hingewiesen.
- Dabei ist es bevorzugt, wenn die Spaltmaße einer Kunststoffstimmzunge bzw. insbesondere einer faserverstärkten Kunststoffstimmzunge, insbesondere einer Carbonfaser-Stimmzungenanordnung so abgestimmt sind, dass die Stimmzungen unterschiedlicher Tonhöhen bei gleichem Luftdruck und gleichzeitiger Betätigung simultan anschwingen bzw. mit nicht mehr als 10 ms, bevorzugt unter 5 ms, insbesondere bevorzugt unter 3 ms Zeitversatz. Die Breite der Stimmzungen kann zugleich so gewählt werden, dass die Stimmzungen gleiche Lautstärke besitzen werden. Von gleicher Lautstärke kann ausgegangen werden, wenn die Lautstärkedifferenz so gering ist, dass für unterschiedliche Töne die Schalldruckdifferenz unter 3 dB beträgt, bevorzugt unter 1,5 dB insbesondere unter 0,5 dB Schalldruckdifferenz, jeweils bei gleicher Luftströmungsstärke.
- Dass eine solche Stimmzungenanordnung für das erfindungsgemäße Handzuginstrument bestimmt und besonders geeignet ist, ist aus dem Vorstehenden ohne weiteres ersichtlich.
- In einer besonders bevorzugten Variante wird die Kunststoffstimmzungenanordnung unter Verwendung zumindest eines der Verfahren 3-D Druck, Pressen, Spritzpressen, modifizierte Vakuuminfusionsverfahren (MVI), Vakuum unterstütztes Harzspritzen (VARI), Spritzguss und/oder spanabhebende Verfahren hergestellt. Die Stimmzungenanordnung ist also ohne Weiteres faserverstärkt mit modernen Herstellungsverfahren erzeugbar. Gleiches gilt im Übrigen auch für den Ventilblock-Träger, in den die Aktoren, Ventilklappen und so weiter eingesetzt werden. Es ist möglich, den Ventilblock aus faserverstärkten Kunststoffen, insbesondere mit Carbonfaser-Werkstoffen herzustellen und darin gegebenenfalls nicht aus faserverstärkten Kunststoffen gebildete Teile wie Metall-Ventilklappen und/oder die elektromagnetischen Aktoren einzusetzen. Dass insbesondere Ventilklappen auch aus faserverstärkten Kunststoffen gebildet sein können, sei jedoch erwähnt. Dies gilt insbesondere auch für die globalen Luftströmungsgleichrichtungsventile, die allen oder einer großen Anzahl von elektrisch erregten Stimmzungen-Ventilen zugeordnet sind.
- Es ist weiter möglich, einen beim Spielen schwankenden Balgendruck zu kompensieren. Gerade bei Anfängern kann es geschehen, dass sie den Balgen höchst ungleichmäßig betätigen und dadurch größere Druckschwankungen im Balgen auftreten als gewünscht. Dies kann etwa durch ein zusätzliches Ablass- bzw. Einlassventil ohne zugeordnete Stimmzunge kompensiert werden, um dadurch zumindest einen Teil der Druckvariationen zu glätten.
- Dass bei der Öffnung der Ventile auf einen erwarteten Soll-Balgen-Über- bzw. Unterdruck kompensiert werden kann und dies insbesondere bei unerfahrenen Spielern vorteilhaft ist, sei erwähnt. In einer bevorzugten Variante wird daher ein Drucksensor zur Erfassung von Druckänderungen im Balgen vorgesehen sein, mit dem insbesondere erfasst wird, ob der Balgen momentan komprimiert oder expandiert wird. Dabei kann ein Drucksensor vorgesehen werden, der anhand der reinen, im Balgen erfassten Druckschwankungen benützt wird, um eine Expansion oder Kompression zu erkennen; alternativ und/oder zusätzlich kann eine Druckdifferenz gegen den Außendruck erfasst werden.
- Es ist im Übrigen auch möglich, zusätzlich zu einem oder anstelle eines Drucksensors die mit der Balgenbewegung verbundenen Bewegungen zu erfassen. Insbesondere können in voneinander entfernten Teilen des Handzuginstrumentes Beschleunigungsmesser, insbesondere triaxiale Accelerometer angeordnet sein, mit denen erfasst wird, ob sich die beabstandeten Teile aufeinander zu oder voneinander weg bewegen, was auf eine Kompression bzw. eine Expansion des Balgens hindeutet.
- Dass eine Steuerung der Ventile es erlaubt, einen unerfahrenen Spieler bis hin zum fast vollständigen Wiedergeben eingespielter Stücke zu unterstützen, indem zumindest die Öffnung der Stimmzungenventile vorprogrammiert ist und der Spieler nur noch den Balgen bedienen muss, sei ebenso erwähnt wie die Möglichkeit, eine Teilunterstützung zu gewährleisten, beispielsweise indem Register (automatisch) zugeschaltet werden, besonders schnelle Sequenzen, Kadenzen usw. abrufbar sind, eine Melodie transponiert wird und/oder es können die Spielweisen erfahrener Spieler aufgezeichnet und gegebenenfalls abgespeichert werden. Dazu sind unter anderem herkömmliche Schnittstellen wie MIDI-Schnittstellen verwendbar. Dass gegebenenfalls das Instrument drahtlos über Bluetooth und/oder WLAN oder dergleichen ansprechbar sein kann, sei erwähnt. Auch ist es möglich, die tatsächliche Tastenbetätigung Live an eine vom Akkordeon getrennte Einheit zu übertragen, womöglich zusammen mit auf die Balgenbewegung bzw. Kompression/Expansion bezogenen Signalen wie Drucksensorsignalen, um daraus über eine PA-Anlage oder dgl. wiederzugebende Klänge zu bestimmen und/oder es können im bzw. am Instrument geeignete Mikrofone zur Aufnahme der Stimmzungenschwingungen vorgesehen sein. Auch sei erwähnt, dass gegebenenfalls ein Nebenventil geöffnet werden kann, während die Stimmzungen-Ventile geschlossen bleiben und lediglich die Tastenbetätigung und Balgenbetätigung erfasst wird. Daraus können dann wieder geeignete Klänge synthetisiert werden, was ein lautloses Spielen, etwa mit dem Zweck nächtlichen Übens ohne Störung von Nachbarn oder Mitbewohnern ermöglicht.
- Es sei erwähnt, dass die als vorteilhaft, aber nicht zwingend aufzufassende, zusätzliche Möglichkeit einer synthetischen Tonerzeugung im Ansprechen auf Tastendrücke und Balgenbewegungen oder dgl. lediglich einer hilfsweisen zusätzlichen Nutzung dient, wobei einsichtig ist, dass selbst bei qualitativ hochwertiger Tonsynthese Klangunterschiede zu einer Tonerzeugung mittels Stimmzungen auftreten; insofern ist es vorteilhaft, dies nur als zusätzliche Möglichkeit anzubieten, wozu aber insbesondere die unterschiedliche Luftdurchströmung durch ein oder mehrere stimmzungenlose Durchlassventile simuliert werden kann, die entsprechend der Anzahl momentan zu simulierender Töne entsprechend weit geöffnet werden.
- Es sei im Übrigen erwähnt, dass es möglich ist, durch geeignete Wahl der Balgen-Materialien und/oder anderer Komponenten wie der tastentragenden Teile des Akkordeon bzw. Handzuginstrumentes eine (weitere) Gewichtsersparnis zu bewirken. Es ist im Übrigen vorteilhaft bei dem erfindungsgemäßen Instrument, dass aufgrund der elektromagnetischen Aktoren die Öffnung der Stimmzungen-Ventile, anders als dies bei traditionell gebauten Instrumenten beobachtet wird, nicht von der Druckdifferenz im Balgen abhängen muss. Insbesondere ist das bei herkömmlichen Instrumenten beobachtbare Phänomen vermeidbar, dass dann, wenn bei geschlossenen Ventilen der Luftdruck gleich dem atmosphärischen Druck ist, der Windwiderstand bei Öffnen des Ventils kurzzeitig ansteigt, wenn der Druck absinkt oder ansteigt. Mit anderen Worten wird vermieden, dass sich bei Wechsel der Balgenbewegung zwischen Kompression und Expansion ein Anstieg des Windwiderstandes negativ auswirkt.
- Es sei im Übrigen erwähnt, dass gegebenenfalls eine Signalübertragung zwischen den Tasten bzw. einer Tastensignale digital erfassenden Steuerung und den Aktoren bzw. einer von der Tastensteuerung dann separaten Aktorsteuerung gegebenenfalls auch induktiv, per kurzreichweitiger Funksignale wie NFC, aber auch Bluetooth etc. oder, über ein transparentes Fenster, optisch erfolgen kann. Dies hat den Vorteil, dass im Ventilraum lediglich eine Stromversorgung beispielsweise durch ein zu öffnendes Batteriefach ermöglicht sein muss und keine weiteren Durchführungen erforderlich sind.
- Die Erfindung wird im Folgenden nur beispielhaft anhand der Zeichnung beschrieben. In dieser ist dargestellt durch:
- Fig. 1 a
- ein Handzuginstrument der vorliegenden Erfindung;
- Fig. 1b
- eine schematische Ansicht eines ersten alternativen Handzuginstrumentes der vorliegenden Erfindung;
- Fig. 1c
- schematische Ansichten eines weiteren, alternativen Handzuginstrumentes der vorliegenden Erfindung;
- Fig. 2
- ein für die Erfindung bevorzugtes, aber nicht zwingendes, strombetätigtes Stimmzungen-Ventil mit einer Blattventilfeder;
- Fig. 3
- ein Ventilblock strombetätigter Stimmzungenventile;
- Fig. 4
- eine Schnittansicht eines strombetätigten Stimmzungen-Aktors im Detail;
- Fig. 5
- ein Blockdiagramm zur Erläuterung des Zusammenhanges zwischen Betätigung einer Handzuginstrument-Taste und der strombetätigten Stimmzungen-Ventil-Betätigung;
- Fig. 6
- ein Blockdiagramm für die Steuerung eines erfindungsgemäßen Handzuginstrumentes;
- Fig. 7
- eine Veranschaulichung einer für ein erfindungsgemäßes Handzuginstrument verwendbaren Taste;
- Fig. 8
- eine weitere Darstellung einer geeigneten Taste.
- Nach
Figur 1 umfasst ein allgemein mit 1 bezeichnetes Handzuginstrument 1 einen expandier- und komprimierbaren Balgen 2, der zur Erzeugung eines Luftstromes, angedeutet durch die Pfeile 3 bzw. 3', durch Expansion und Kompression ausgebildet ist, sowie eine Anströmsteuerung 4 aufweisend eine Ventilanordnung 4a, die zur Steuerung der Anstömungsstärke musikgemäß anzuströmender Stimmzungen 6 angeordnet ist, und eine Strömungsgleichrichtunganordnung 4b, die dazu angeordnet ist, die gleiche Stimmzungenanströmungsrichtung bei Balgenexpansion und bei Balkenkompression zu bewirken, wobei die Ventilanordnung 4a eine Anzahl hier strombetätigter Stimmzungen-Ventile, vgl. Figuren 2, 3 und 4 aufweist, die jeweils eine Anströmung einer einzelnen oder allenfalls weniger klanggemäß anzuströmender Stimmzungen steuern, und die Strömungsgleichrichtungsanordnung eine Anzahl von hier als Klappen gebildeten Luftströmungsgleichrichtungssventilen 4b1, 4b2, 4b3, 4b4 aufweist, wobei die Anzahl Stimmzungen-Ventile 4a1 bis 4a16, vgl. Figur 3, größer ist als die Anzahl von Luftströmungsgleichrichtungssventilen 4b1 bis 4b4 zur Luftströmungsgleichrichtung und wobei eine Gruppe von Ventilen zur Lufströmungsgleichrichtung 4b1 bis 4b4 einer größeren Gruppe 4al bis 4a16 strombetätigter Stimmzungen-Ventile zur gemeinsamen Gleichrichtung der Luftströmung dort hindurch so zugeordnet ist, dass die Luftströmung durch die Gesamtheit aller Stimmzungen-Ventile 4a1 bis 4a16 der Gruppe gemeinsam gleichgerichtet ist. - Es sei erwähnt, dass die Luftströmungsgleichrichtungssventile 4b1, 4b2, 4b3, 4b4 in
Fig. 1 als Klappen gebildet sind, weil so die Funktionsweise besonders leicht erkannt werden kann, dass aber nicht zwingend einseitig angelenkte Klappen verwendet werden müssen, sondern andere Ventile wie z.B. Membranventile oder dergl. verwendet werden können. - Im vorliegenden Beispiel ist in Figur 3 ein Ventilblock mit lediglich 16 Ventilen, die strombetätigt den Luftstrom durch jeweilige Stimmzungen steuern, dargestellt, wobei alle 16 Stimmzungen-Ventile des Ventilblockes 4a der Strömungsgleichrichtungsanordnung gemeinsam zugeordnet sind, die lediglich vier Luftströmungsgleichrichtungssventile zur Luftströmungsgleichrichtung erfordern. Die Anzahl von Luftströmungsgleichrichtungssventilen zur Luftströmungsgleichrichtung ist also kleiner als die Anzahl der strombetätigten Stimmzungen-Ventile in dem Ventilblock für die gemeinsam mit gleichgerichteter Luft durchströmten strombetätigten Stimmzungen-Ventile. Es wird einzuschätzen sein, dass mehrere Ventilblöcke der in Figur 3 gezeigten Art 4a in der Anströmsteuerung 4 gemeinsam mit den zugehörigen Stimmzungen 6 untergebracht sein können und/oder dass die Ventilblöcke 4 noch deutlich größer als dargestellt gewählt werden können.
- Bei dem Handzuginstrument 1 handelt es sich im dargestellten Ausführungsbeispiel um ein Akkordeon 1, das an beiden Enden nur symbolhaft dargestellte Tasten 7a1 bis 7an bzw. 7an+1 bis 7am auf der gegenüberliegenden Seite aufweist. Darauf, dass die vorliegende Erfindung es besonders vereinfacht, eine von der Anordnung auf herkömmlichen Handzuginstrumenten abweichende Tastaturanordnung zu wählen, sei hingewiesen. Insbesondere kann die Tastatur als Klaviatur ohne bauliche Nachteile ausgestaltet und nicht, wie herkömmlich, allgemein parallel zur Balgenzugrichtung, sondern quer dazu angeordnet werden.
- Der Balgen ist mit den Enden luftdicht so verbunden, dass in das Balgeninnenvolumen 2a Luft durch eine Einlassöffnung 2b einströmen bzw. aus dieser ausströmen kann. Zwischen Balgeninnenvolumen 2a und Luftausströmöffnung 2b ist die Anströmsteuerung 4 mit den 4 Luftströmungsgleichrichtungssventilen 4b1 bis 4b4 vorgesehen. Diese Luftströmungsgleichrichtungssventile sind paarweise so angeordnet, dass bei einem Überdruck im Balgeninnenraum, also bei komprimierendem Balgen 2, das Luftströmungsventil 4b1 und das Luftströmungsventil 4b4 öffnen, aber die Luftströmungsgleichrichtungssventile 4b2 und 4b3 geschlossen sind, was den Luftstrom 3' in einer Richtung durch die Stimmzungen strömen lässt. Dagegen sind bei Unterdruck im Balgeninnenraum 2a, also bei expandierendem Balgen, die Luftströmungsgleichrichtungssventile 4b1 und 4b4 geschlossen, aber die Luftströmungsgleichrichtungssventile 4b3 und 4b2 geöffnet, so dass ein die Stimmzungen ebenfalls in der Richtung des Luftstromes 3' durchströmender Einlassstrom in den Balgeninnenraum 2a erzeugt wird. Es sind also zur Luftströmungsgleichrichtung insgesamt nur 4 Luftströmungsgleichrichtungsventile erforderlich, wobei alle Stimmzungen und die zugehörigen strombetätigten Ventile im Anströmungssteuerungszwischenraum 4c angeordnet sind.
- Im Inneren des Balgens ist im Übrigen ein Drucksensor P, vgl. Bezugszahl 8, vorgesehen, dessen Signale (in der schematischen Darstellung von
Figur 1 nicht gezeigt) an eine Steuerung gespeist werden, und dort, wie noch beschrieben wird, genutzt werden. Dass der Drucksensor wie auch die Verwendung der damit erzeugten Signale fakultativ ist, sei erwähnt. - Das Handzuginstrument ist leichtgewichtig und im vorliegenden Ausführungsbeispiel mobil und autonom verwendbar, wozu eine Energieversorgung in Form eines wiederaufladbaren Akkumulators (nicht gezeigt) vorgesehen ist.
- Die Stimmzungen bzw. Stimmzungenplattenanordnungen sind im vorliegenden Fall als Carbonfaser-Stimmzungenanordnungen so gebildet, dass der Spalt zwischen (Carbonfaser-) Stimmzungen und umgebender (Carbonfaser-) Trägerplatte ausreichend ist, um auch bei großen Temperaturschwankungen ein Anschlagen der Zunge am Träger sicher zu verhindern, wobei zugleich die Spaltmaße für Stimmzungen unterschiedlicher Töne bzw. Klangfarben so gewählt sind, dass sich ein über alle Töne gleiches Einschwingverhalten bei gleicher anliegender Luftdruckdifferenz über die Stimmzungenplatte hinweg ergibt und wobei die faserverstärkten Stimmzungenplatten so dimensioniert sind, dass ein gleiches Lautstärkeempfinden für alle Töne erzielt wird. Es sei darauf hingewiesen, dass es die geringe Wärmeausdehnung von Carbonfaser-Stimmzungen und Carbonfaser-Trägerplatten erlaubt, die Spalte zwischen Stimmzungen und Stimmzungenplatten sehr klein zu wählen. Dieses Spaltmaß ist oftmals entscheidend für die Qualität der Stimmzungenanordnung, weil geringe Spaltmaße dazu führen, dass ein geringerer Luftstrom zur Erzielung einer gegebenen Schwingung ausreicht. Dass die Stimmzungen leicht gebogen sein können, um ein Lösen aus der Stimmplattenebene durch Schaffung eines sog. Lösespaltes zu begünstigen, sei erwähnt.
- Der Balgen 2 ist per se herkömmlich, wobei wie beschrieben die Stimmzungenanordnung nicht unmittelbar offen zum Balgenraum 2 hin angeordnet ist.
- Die Ventilanordnung der in dem Ventilblock 4a zusammengefassten Ventile, vgl. Figur 3, ist dergestalt, dass für die Luftströmung durch eine (in Figur 2 nicht gezeigte, aber unterhalb der Ventilanordnung zu montierende) Stimmzungenanordnung ein Luftkanal 4a1b vorgesehen ist. Dieser ist durch eine normal geschlossene Blattventilfeder 4a1c verschlossen, die aus ihrer Ruhelage, in der sie den Luftkanal 4a1b verschließt, wie durch Pfeil 9 angedeutet, in eine Offenlage 4a1c' bewegt werden kann, und zwar mit einem Stößel 4a1d, der in der Figur nur in der erregten Position ausgefahren dargestellt ist und mittels einer Tauchspule 4a1e beweglich ist. Dabei ist die Blattfederventilklappe 4a1c nicht fest mit dem Ende des Stößels 4a1d verbunden, sondern kann einfach gegen diesen pressen.
- Die Tauchspule 4a1e ist in Figur 4 näher dargestellt. Dort zeigt Bezugszahl 4alel den ferromagnetischen Kern und 4ale2 den darin beweglichen Permanentmagneten, der beispielsweise aus Neodym gebildet ist. 4a1e3 zeigt einen ferromagnetischen Läufer, der in Richtung des Pfeiles A bei Erregung der Wicklungen 4a1e5 hin- bzw. herbeweglich ist. Bezugszahl 4a1e4 bezeichnet eine Gleitlagerbuchse, die Reibungsverluste bei der Hin- und Herbewegung des ferromagnetischen Läufers 4ale3 verringert, so dass dieser durch die Kraftwirkung der Blattfederventilklappe 4a1c, die in ihre Ruhelage, also die geschlossene Stellung, zurückschwenken möchte und somit einer durch zur Öffnung des Ventils die Wicklungen 4ale5 durchfließenden Strom erzeugten Kraft entgegenwirkt, was dazu führt, dass zur Zurückbewegung des ferromagnetischen Läufers bei Beendigung eines die Öffnung erregenden Stromes kein Gegenstrom an die Spule angelegt werden muss. Auf der Seite des Stößels 4a1c bzw. Stiftes 4a1c ist ein weiterer ferromagnetischer Läufer 4a1e6 vorgesehen, der für den Stift ein Loch aufweist.
- Es wird einzuschätzen sein, dass diese Anordnung leichtgewichtig ist, mit geringen Strömen große Kräfte zu erzeugen vermag, auch bei enger Anordnung vieler Ventile nebeneinander, wie beispielhaft in Figur 3 für einen vergleichsweise kleinen Ventilblock gezeigt, nicht zu einem störenden Übersprechen führt, hochdynamisch beweglich ist und ein dauerhaftes Funktionieren eines erfindungsgemäßen Handzuginstrumentes gewährleistet. Zudem ist die Montage vereinfacht.
- Die Blattfederventilklappe ist am Ventilblock 4a unterhalb und in Stößel-Erregungsrichtung nach vorne versetzt aufgelagert, vgl. 4a1f, und so gebogen, dass eine hinreichend starke Anlage am Ventilblock gewährleistet ist. In Fig. 2 sind dabei beide Endpositionen der Blattfederventilklappenbewegung zugleich dargestellt.
- Der Ventilblock 4a ist im dargestellten bevorzugten Ausführungsbeispiel aus Kunststoff hergestellt. Dass eine Fertigung mittels Spritzguss bei hohen Stückzahlen möglich ist, sei ebenso erwähnt wie eine mögliche Fertigung durch 3D-Druckverfahren.
- Um festzulegen, ob ein bestimmtes, strombetätigtes Ventil momentan erregt werden soll bzw. wie stark ein Ventil erregt werden soll, kann eine Anordnung, wie schematisch in Figur 5 dargestellt, verwendet werden. Es wird zunächst diese Anordnung von Figur 5 beschrieben, bevor mit Bezug auf die
Figuren 6 und 7 Details erläutert werden. - Nach Figur 5 ist eine Taste 7a1 vorgesehen, die so gebildet ist, dass nicht nur erfasst werden kann, ob die Taste gedrückt ist oder nicht, sondern auch erfasst werden kann, wie stark die Taste momentan gedrückt wird. Die Stärke, mit der die Taste 7a1 gedrückt wird, wird durch Erfassung eines entsprechenden elektrischen Signals, symbolisiert als 7a1b, im Analog-Digital-Wandler 7a1c erfasst, der in der Lage ist, mit einer Frequenz von über 20 Hz bei jeder Taste, hier z.B. ca. 30Hz bei jeder Taste, und einer Auflösung besser als 8 Bit, hier z.B. von 12 bit zu erfassen, ob und wie stark die Taste momentan gedrückt wird. Es sei erwähnt, dass ein Analog-Digital-Wandler zur Erfassung der Stärke, mit der gedrückt wird, mehreren Tasten gemeinsam zugeordnet sein kann, wobei dann ein Multiplexer zwischen die Tasten 7al-7an und den Analog-Digital-Wandler 7a1c gesetzt ist, um insbesondere reihum die Stärke, mit der die einzelnen Tasten gedrückt sind, zu erfassen. Es sei erwähnt, dass gegebenenfalls jene Tasten, die momentan bereits etwas, aber nur mit geringer Kraft zu einem gegebenenfalls noch als geschlossen zu wertenden Zustand gedrückt zu werden, für eine bestimmte Zeit oder bis zum Wiederabfallen unter eine Schwelle häufiger abtastbar sind, falls erforderlich.
- Die Signale aus dem Analog-Digital-Wandler 7ac werden an eine Echtzeit-Digital-Signalverarbeitungseinheit 7a1d (Micro Controller Unit, MCU) gespeist. Anstelle eines Mikrokontrollers wäre auch eine andere digitale Signalverarbeitungseinrichtung wie ein FPGA, DSP oder dgl. verwendbar. Es werden im Mikrokontroller 7a1d die aus dem Analog-Digital-Wandler erhaltenen Tastendruck-Signale eingelesen und insbesondere zunächst linearisiert, d.h. es kann ein Offset abgezogen werden und/oder eine Linearisierung vorgenommen werden. Danach kann im Ansprechen auf die entsprechend korrigierten Werte ein Ausgangssignal entsprechend einem jeweils gewünschten Ton bzw., bei entsprechender Programmierung, entsprechend einem gewünschten mehrtönigen Klang ausgegeben werden. Dazu ist insbesondere eine Tabelle verwendbar, in der jedes Eingangssignal aus einer gegebenen Taste 7an einem individuellen Ton oder Klang, d.h. mehreren zusammenklingenden Stimmzungen zugeordnet ist. Die Mikrokontroller-Einheit gibt dann Ausgangssignale aus, aus welchen erkennbar ist, welche den Stimmzungen zugeordneten Stimmzungenventile mit welcher Stärke zur Öffnung der zugehörigen Ventilklappe erregt werden sollen.
- Die entsprechenden, typisch digital aus der Mikrokontroller-Einheit ausgegebenen Signale müssen dann so umgesetzt werden, dass die zugehörigen, zu erregenden Aktoren erregt werden. In einem typischen Instrument gemäß der vorliegenden Erfindung sind etwa 250 Aktoren vorgesehen. Es ist möglich, dabei zyklisch nur für jene Aktoren Signale auszugeben, deren erforderliche Erregung sich seit dem letzten Zyklus geändert hat und/oder nur jene Aktivierungssignale auszugeben, die sich oberhalb einer bestimmten Schwelle befinden. Die entsprechenden digitalen Signale können insbesondere mit einem Pulsweiten-Modulationsverfahren so umgesetzt werden, dass sich ein jeweiliges analoges Erregungssignal für jedes einzelne strombetätigte Stimmzungenventil ergibt.
- In Figur 5 ist grob schematisch gezeigt, wie die Mikrokontroller-Einheit 7ald zwischen dem Analog-Digital-Wandler und der Pulsweiten-Modulationseinheit angeordnet ist.
- In
Figur 6 ist in etwas größerer Übersicht dargestellt, wie die Mikrokontrollereinheit zwischen der Sensorik und der Pulsweiten-Modulationseinheit 7a1e zur Ansteuerung der Ventile 4a angeordnet ist und, beispielhaft, welche weiteren Elemente noch sinnvoll vorgesehen werden. Dass zur Sensorik den Tasten zugordnete Tastendrucksensoren, Signalkonditionierungsstufen, A/D-Konverter, Druck- bzw. Beschleunigungssensoren usw. gehören, sei erwähnt. - Dem Mikrokontroller 7a1d ist dabei insbesondere noch eine Energieversorgung 7a1d1 zugeordnet, die ausreichend ist, für einen hinreichend langen Zeitraum das gesamte Handzuginstrument mit elektrischer Leistung zu versorgen. Die Energieversorgung kann durch einen Akkumulator, ein Netzteil oder eine Kombination aus beidem realisiert sein. Der Mikrokontroller 7a1d hat überdies in einem bevorzugten Ausführungsbeispiel eine Schnittstelle 7ald2, über welche er mit einer Benützerschnittstelle 7ald3, mit einer Steuerungsapp 7a1d4, die insbesondere webbasiert ist und z.B. ein Aktualisieren von Firmware und dgl. ermöglicht, sowie mit einer MIDI-Schnittstelle 7ald5 und anderen Geräteschnittstellen 7ald6 kommunizieren kann, um beispielsweise eine PA-Anlage, Bluetooth-Lautsprecher und dgl. anzusteuern bzw. dorthin Signale auszugeben. Die entsprechenden Einzelschnittstellen können mit der Mikrokontroller-Schnittstelle 7a1d2 über eine Systemschnittstelle 7a1d7 kommunizieren, die insbesondere auch eine Visualisierung und Konfiguration usw. erlaubt.
- Es wird einzuschätzen sein, dass damit der Mikrokontroller 7a1d so angesteuert und verwendet werden kann, dass eine erhebliche Erweiterung der Funktionalität gegeben ist.
- Um diese Anordnung mit Tasten zu verwenden, die nicht einfach ein binäres An-/Aus bzw. Auf-/Zu-Signal liefern, ist insbesondere eine Tastenanordnung, wie in Figur 7 dargestellt, verwendbar. Nach Figur 7 ist für die Taste 7a1 dargestellt durch 7a1I eine Grund-Montageplatte, in die eine Gleitlagerbuchse 7a1II eingelassen ist, durch welche ein Gewindestift 7a1III hindurch beweglich ist. Der Gewindestift 7a1III ist nutzerseitig mit einem Kopf 7al IV verbunden, wobei der Kopf durch eine Federhalterung mit Endanschlag 7a1V in eine nicht betätigte Ruhelage federvorgespannt ist. Zugleich ist ein Endanschlag 7a1VI vorgesehen, auf dem eine Auflagerfläche 7a1Va bei hinreichend tiefem Ein-Drücken der Taste aufsitzt. Der Gewindestift 7a1III ist an seinem vom Betätigungsende abgewandten Ende mit einem Reflektor 7a1VII versehen, der einem (Infrarot)IR-Distanzsensor 7a1VIII gegenüberliegt, der wiederum auf einer Leiterplatte 7a1IX angeordnet ist. Mit dieser Anordnung ist es möglich, das Drücken der Taste ortsaufgelöst durch Ermittlung des IR-Reflexionssignals zu erfassen. Es sei erwähnt, dass gegebenenfalls andere Tastenanordnungen verwendbar sind, die anders federn, anders abtasten usw.
- Die Tasten können kompakter ausgebildet werden, wenn der IR-Reflektor und der zugehörige IR-Distanzsensor nicht unterhalb der Taste, sondern neben der Taste angeordnet ist, wie in Figur 8 ersichtlich. Dass auch in Figur 8 die Taste federnd in eine nicht gedrückte Position bewegt wird, sei erwähnt. Einsichtig ist aus Figur 8, dass ein Drücken der Taste nach Figur 8 zu einer Entfernung zwischen IR-Sensor und -Reflektor führt, während bei Figur 7 ein Drücken der Taste zu einer Annäherung zwischen Sensor und Reflektor führt. Die unterschiedlichen Signalverläufe sind in einleuchtender Weise von der Mikrokontroller-Einheit leicht zu korrigieren bzw. zu berücksichtigen. So ist es insbesondere möglich, erforderlichenfalls beide Arten Tasten in ein- und demselben Instrument zu kombinieren. Der mechanische Aufbau der Tasten und die zugeordnete Sensorik sind vorteilhaft, weil er leicht, klein und zuverlässig ist, er ist aber nicht zwingend und andere Tasten mit entsprechenden Eigenschaften könnten vorgesehen werden. Verwiesen sei etwa auf bekannte Klaviaturtasten elektrischer Klaviere usw.. Zudem sei daraufhingewiesen, dass gerade die Verwendung elektronischer Tasten eine Optimierung nach ergonomischen Gesichtspunkten frei von den Beschränkungen rein mechanischer Handzuginstrumente erlaubt.
- Es sei erwähnt, dass an die Mikrokontroller-Einheit von
Figur 6 als Eingangssignal von der Sensorik auch die Signale aus dem Drucksensor 8 innerhalb des Balgens bzw. des Druckdifferenz-Sensors 8, der den Balgeninnendruck mit dem Druck der Außenatmosphäre vergleicht, gespeist werden, damit der Mikrokontroller in der Lage ist, die Ventile 4a derart zu öffnen, dass sich bei gedrückter Taste gegebenenfalls unabhängig vom tatsächlichen Druck innerhalb des Balgens und/oder unabhängig von der Anzahl aktuell geöffneter Stimmzungen-Ventile und/oder unabhängig von insbesondere bei ungeübten Spielern vermutlich ungewollten Balgendruckschwankungen eine gleichbleibende Lautstärke ergibt. - Das Handzuginstrument der vorliegenden Erfindung wird verwendet wie folgt:
Zunächst wird das Handzuginstrument eingeschaltet. Nach einer kurzen Initialisierungsphase (vergleichbar dem Booten eines Computers) ist das Gerät unmittelbar spielbereit. Diese Bootphase kann so kurz ausfallen, dass sie für den Benützer nicht merklich ist. - Der Benutzer wird dann den Balgen zunächst expandieren. Bei dieser Expansionsbewegung strömt Luft durch die Luftströmungsgleichrichtungsventile 4b3, bei geschlossenem Luftströmungsventil 4b4, durch gegebenenfalls die Stimmzungen 6 und die Ventile 4a über das Luftströmungsventil 4b2, bei geschlossenem Luftströmungsventil 4b1, in den Balgenraum 2. Gleichzeitig wird der Benützer eine oder mehrere der Tasten 7al bis 7am drücken. Die Stärke, mit der jede Taste gedrückt wird, wird reihum mit hoher Wiederholungsrate abgefragt, so dass die Tastendruckstärke jeder Taste während jeder Zehntelsekunde mehrfach abgefragt wird.
- Wenn dabei ermittelt wird, dass eine der Tasten soweit gedrückt wird, dass die Druckstärke deutlich oberhalb eines Schwellenwertes liegt, wird vom Mikrokontroller eine dem Tastendruck entsprechende Soll-Öffnung für ein oder mehrere Stimmzungen-Ventile bestimmt und ein entsprechendes Ausgangssignal an die Pulsweiten-Modulationseinheit PWM gegeben, damit die entsprechenden Stimmzungen-Ventilanordnungen wie erforderlich durch Einspeisung pulsweitenmodulierter Erregungsströme erregt werden. Dies führt dazu, dass die entsprechenden Ventile öffnen und Luft dann durch die entsprechende Stimmzunge bzw. die entsprechenden Stimmzungen strömt und dadurch ein oder mehrere Töne erzeugt werden, die für den Spieler und das Publikum gut hörbar sind und dabei als natürlich und wohlklingend beurteilt werden.
- Die gedrückten Tasten können während der Balgenexpansion wie zur Musikerzeugung erforderlich gewechselt werden, und, wenn der Musiker befindet, dass der Balgen hinreichend weit expandiert ist und nunmehr wieder komprimiert werden soll, wird er die Bewegung des Balgens umkehren, so dass nun die Luftströmungsgleichrichtungsventile 4b2 und 4b3 schließen und die Luftströmungsgleichrichtungsventile 4b1 und 4b4 öffnen, wodurch Luft ungeachtet der umgekehrten Bewegung des Balgens weiterhin in gleicher Richtung über die Stimmzungen strömt. Da das Instrument ungeachtet der Tatsache, dass die Batterie so gewählt ist, dass sie auch während lange dauernder Konzerte durchgehend ohne Wechsel benützt werden kann, recht leicht ist, wird es dem Musiker möglich sein, das Instrument lange Zeit ermüdungsfrei zu spielen.
- Dabei ergibt sich ungeachtet des geringeren Gewichtes und der elektrischen Erregung der Stimmzungen-Ventile ein Spielverhalten, wie es auch mit professionellen, rein mechanischen Handzuginstrumenten erhalten wird, und es werden auch alle Möglichkeiten der Klangbeeinflussung eines professionellen Instrumentes erhalten.
- Es sei betont, dass gegenüber der gezeigten Anordnung Variationen möglich sind, insbesondere zur Klangverbesseruung. So sei daraufhingewiesen, dass die Anordnung der Lufströmungsgleichrichtungsventile den von einem Zuhörer wahrgenommenen Klang beeinflussen kann. Dazu sei daraufhingewiesen, dass wesentliche Teile des Schalls durch die geöffneten Ventile der Lufströmungsgleichrichtungsanordnung und durch Luftansaug- /austrittsöffnungen aus dem Instrument treten. Dies eröffnet bei der vorliegenden Erfindung die Möglichkeit, den abgegebenen Klang zu beeinflussen.
- In der in
Fig. 1a gezeigten Anordnung sind z.B. die Schallwege bei Druck und bei Zug wie ersichtlich unterschiedlich lang, was zu (wenn auch evtl. nur geringen) Klangunterschieden bei Druck und bei Zug führen kann. Zudem findet eine Abstrahlung des Schalls gerade für höherfrequente Schallanteile nach unten bzw. oben statt, entsprechend der Ausrichtung des Luftansaug-/austrittskanals. Es sei daraufhingewiesen, dass sich durch den langgestreckten Luftkanal zudem bassreflexartige Überhöhungen niederfrequenter Schallanteile ergeben können. Derartige Überhöhungen sind oftmals erwünscht, weil höhere Frequenzanteile angelegentlich zu einem unangenehmeren Klangbild beitragen können. Dass eine entsprechende Abstimmung möglich ist, sei erwähnt. - Eine alternative Anordnung des Stimmstockes ist in
Fig. 1b gezeigt. InFig. 1b ist eingezeichnet, wo sich der Spieler während des Handzuginstrumentenspiels befindet und der Stimmstock mit der Lufströmungsgleichrichtungsanordnung ist schematisch dargestellt, wobei in den beiden Bildteilen Ansaug- (Zug-) und Auspress- (Druck-) phase der Balgenexpansion-/-kompression veranschaulicht sind. Der Ventilblock selbst ist nicht dargestellt. Wie erkennbar, ist bei der inFig. 1b gezeigten Anordnung der Schall bei Balgenkompression zum Publikum hin gerichtet, während bei Balgen-Expansion der Schall seitlich und nicht nach vorne austritt. Auch dies kann erwünschte Klangeffekte bewirken. - Eine weitere Variante eines Handzuginstrumentes ist in den beiden Varianten von
Fig. 1c dargestellt. Dort steht der Stimmstock schräg zum Balgen, wobei er in der dargestellten Variante, einmal näher am Balgen angeordnet ist, was nicht zwingend ist; er könnte auch näher an der Tastatur angeordnet sein. Der Ventilblock selbst ist nicht dargestellt. Zwischen solchen Varianten kann etwa im Hinblick auf die Gesamtschwerpunktlage des Instrumentes eine Entscheidung getroffen werden. Beide Varianten haben gemeinsam, dass der Schall sowohl bei Balgenexpansion wie auch bei Balgenkompression nach vorne zum Publikum austritt, was zu einem weitgehend gleichen Klangeindruck und gleichem Laustärkeeindruck führt. Zudem sind die Schallwege zwischen Stimmzunge und Austrittsöffnung vergleichsweise kurz, was zu einem geringeren Einfluss des Schallweges führt. - Eine Variante wie in
Fig. 1c , aber mit vorteilhafter Anordnung des Stimmstockes relativ zur Tastatur eignet sich im Übrigen besonders gut für eine Implementierung der Erfindung ohne elektrische Ventile. - Es sei erwähnt, dass es prinzipiell möglich ist, in den Schallwegen Vlies oder dergl. Filtermaterialien vorzusehen, wenn z.B. ein etwas gedämpfterer Klang gewünscht wird.
- Die vorliegende Erfindung ist gekennzeichnet durch die folgenden Aspekte:
- 1. Handzuginstrument
mit
einem expandier- und komprimierbaren Balgen,- der zur Erzeugung eines Stimmzungen anströmenden Luftstromes durch Expansion und Kompression ausgebildet ist;
und - einer Anströmsteuerung,
- aufweisend
- eine Ventilanordnung,
die zur Steuerung der Anströmung musikgemäß anzuströmender Stimmzungen angeordnet ist, - und
- eine Strömungsgleichrichtungsanordnung,
die dazu angeordnet ist, die gleiche Stimmzungen-Anströmrichtung bei Balgenexpansion und bei Balgenkompression zu bewirken;
die Ventilanordnung eine Anzahl Stimmzungen-Ventile aufweist,
die jeweils eine Anströmung einer einzelnen oder allenfalls weniger klanggemäß gemeinsam anzuströmender Stimmzungen steuern,
und
die Strömungsgleichrichtungsanordnung eine Anzahl von Ventilen zur Luftströmungsgleichrichtung aufweist,
wobei- die Anzahl an Stimmzungen-Ventile größer ist als die Anzahl von Ventilen zur Luftströmungsgleichrichtung
- und wobei
- eine Gruppe von Ventilen zur Luftströmungsgleichrichtung
- einer größeren Gruppe Stimmzungen-Ventile
- zur gemeinsamen Gleichrichtung der Luftströmung dort hindurch so zugeordnet ist, dass die Luftströmung durch die Gesamtheit aller Stimmzungenventile der Gruppe gemeinsam gleichgerichtet ist.
- der zur Erzeugung eines Stimmzungen anströmenden Luftstromes durch Expansion und Kompression ausgebildet ist;
- 2. Handzuginstrument nach dem vorhergehenden Aspekt, dadurch gekennzeichnet, dass dass die Gruppe von Ventilen zur Luftströmungsgleichrichtung für zumindest eine Strömungsrichtung mehr als ein Einzel-Ventil umfasst;
und/oder
die Stimmzungenventile strombetätigt sind;
und bevorzugt dass dabei
eine Vielzahl strombetätigter Stimmzungen-Ventile gemeinsam in einem Ventilblock angeordnet ist, insbesondere bevorzugt derart, dass alle strombetätigten Stimmzungen-Ventile gemeinsam in ein und demselben Ventilblock angeordnet sind, insbesondere weiter bevorzugt derart, dass am Ventilblock eine Dichtung zur Abdichtung gegen den Stimmstock bzw. die Kanzellen vorgesehen ist;
und/oder bevorzugt, dass dabei
die strombetätigten Stimmzungen-Ventile mit Tauchspulen und darin bewegten Magneten gebildet sind und/oder über wenigstens 85% des Betätigungsbereiches einen konstanten Kraft-Weg-Verlauf aufweisen;
und/oder bevorzugt dass dabei
zumindest eine Mehrzahl der strombetätigten Stimmzungen-Ventile als Klappenventile ausgebildet ist,- wobei bevorzugt
- die Klappenventile einseitig eingespannt sind,
- und/oder wobei bevorzugt
- die strombetätigten Stimmzungen-Ventile derart ausgebildet sind, dass sie die Öffnung der Ventilklappen gegen einen Druck von bis zu 3bar vermögen, und/oder wobei bevorzugt
- die Klappenventile dazu ausgebildet sind, gegen einen Balgendruck unter 40mbar geschlossen zu halten.
- 3. Handzuginstrument nach einem der vorhergehenden Aspekte, dadurch gekennzeichnet, dass
ein Controller vorgesehen ist,
der zur elektronischen Erfassung einer Drucktastenbetätigung ausgebildet ist,- und bevorzugt dazu ausgebildet ist,
ein dynamisches Drucktastenbetätigungsverhalten zu erfassen, - und/oder bevorzugt dazu ausgebildet ist
eine Drucktastenbetätigung mehr als zweistufig festzustellen, um eine reine Offen- von einer reinen Zu-Stellung zu unterscheiden,
wobei weiter bevorzugt
eine Ventilsteuerung vorgesehen ist,
die zu einer- im Ansprechen auf eine Drucktastenbetätigung linearen Verstellung der Stimmzungen-Ventile ausgebildet ist
- und/oder die zur Kopplung einer Mehrzahl von Registern ausgebildet ist,
- und/oder die dazu ausgebildet ist, eine Ventilöffnung so zu verzögern, dass unterschiedlich schnell einschwingende Zungen unterschiedlicher Töne bei zum gleichen Zeitpunkt gedrückten Tasten gleichzeitig erklingen;
- und/oder der bevorzugt dazu ausgebildet ist,
- eine Drucktastenbetätigung mittels magnetischen, optischen,
- gyroskopischen und/oder tachymetrischen Sensoren zu erfassen,
- und/oder der bevorzugt dazu ausgebildet ist,
die Drucktastenbetätigung
mit- wenigstens 5Hz,
- bevorzugt wenigstens 10Hz,
- insbesondere bevorzugt mit wenigstens 30Hz
- und/oder mit
- wenigstens 4 Bit Genauigkeit,
- bevorzugt wenigstens 8 Bit Genauigkeit
- abzutasten;
- und/oder der bevorzugt dazu ausgebildet ist,
einen pulsweitenmodulierten Strom durch strombetätigte Stimmzungen-Ventile zu bewirken. - und/oder der bevorzugt dazu ausgebildet ist,
- auf Druck einer Taste mehrere Ventilklappen gemeinsam zu öffnen,
- insbesondere zur gleichzeitigen Erregung von mehreren Registern und/oder zur automatischen Generierung von Akkorden.
- und bevorzugt dazu ausgebildet ist,
- 4. Handzuginstrument nach einem der vorhergehenden Aspekte, dadurch gekennzeichnet, dass
eine Ventilsteuerung vorgesehen ist,- die zu einer im Ansprechen auf eine Drucktastenbetätigung linearen Verstellung der Stimmzungen-Ventile ausgebildet ist, und/oder
- die zur Kopplung einer Mehrzahl von Registern ausgebildet ist und/oder
- die dazu ausgebildet ist,
- eine Ventilöffnung so zu verzögern, dass unterschiedlich schnell einschwingende Zungen unterschiedlicher Töne bei zum gleichen Zeitpunkt gedrückten Tasten gleichzeitig erklingen;
- und/oder der bevorzugt dazu ausgebildet ist,
- einen pulsweitenmodulierten Strom durch strombetätigte Stimmzungen-Ventile zu bewirken.
- 5. Handzuginstrument nach einem der vorhergehenden Aspekte, dadurch gekennzeichnet, dass die Drucktasten an wenigstens einem Balgenende zumindest zum Teil als Sensorknöpfe anstelle von Klaviaturtasten ausgebildet sind und/oder an zumindest einem Ende Tasten für ein Einzelspiel von Basstönen vorgesehen sind.
- 6. Faserverstärkte Kunststoffstimmzungenanordnung, insbesondere Carbonstimmzungenanordnung für ein Handzuginstrument nach einem der vorhergehenden Ansprüche, dadurch gekennzeichnet, dass der Spalt zwischen Stimmzunge und Stimmplatte maximal 0,06mm, bevorzugt weniger als 0,02mm beträgt,
wobei bevorzugt
eine Vielzahl faserverstärkter Kunststoffstimmzungen vorgesehen sind,- deren Spaltmaße so abgestimmt sind, dass die faserverstärkten Kunststoffstimmzungen bei gleichem Luftdruck und gleichzeitiger Betätigung simultan anschwingen,
- und/oder deren Breiten so gewählt sind, dass die faserverstärkten Kunststoffstimmzungen gleiche Lautstärke aufweisen,
- unter Verwendung von zumindest einem aus
- 3D-Druck, Heisspressen, im RTM Verfahren (Resin Tranfer Moulding), Modifizierte Vakuuminfusions-Verfahren (MVI),
- Spritzguss, Wasserstrahl. Oder Laserstrahlschneiden und/oder spanabhebenden Verfahren
- hergestellt ist.
- 7. Handzuginstrument nach einem der vorhergehenden Aspekte, dadurch gekennzeichnet, dass zumindest eines von Gehäuse, Stimmzungen, Ventilblock mit faserverstärkten Kunststoffen, insbesondere Carbonfaser-Werkstoffen gebildet ist.
- 8. Handzuginstrument nach einem der vorhergehenden Aspekte, dadurch gekennzeichnet, dass zumindest ein Drucksensor zur Erfassung des Balgendrucks vorgesehen ist und eine Steuerung zur Kompensation von Balgendruckschwankungen ausgebildet ist.
- 9. Handzuginstrument nach einem der vorhergehenden Aspekte, dadurch gekennzeichnet, dass ein Drucksensor zur Erfassung von Druckänderungen im Balgen vorgesehen ist und eine Steuerung dazu ausgebildet ist, die Anzahl von Ventilen der Strömungsgleichrichtungsanordnung zur Luftströmungsgleichrichtung Drucksensorsignalabhängig zu betätigen.
- 10. Handzuginstrument nach einem der vorhergehenden Aspekte, dadurch gekennzeichnet, dass eine Anordnung zur Stromversorgung der Steuerung und/oder der strombetätigten Ventile bzw. Klappen durch mit dem Bespielen verbundene Bewegungen vorhanden ist.
- 11. Ventilblockanordnung für ein Handzuginstrument nach einem der vorhergehenden Aspekte, in welchem
- eine Vielzahl von elektrischen Stimmzungen-Ventilen gemeinsam in einem Block untergebracht
- und über einem Stimmstock montierbar gebildet ist,
zumindest eines von- Steuerung hierfür
- und
- Stimmstock.
- umfasst.
Claims (9)
- Handzuginstrument mit
einem expandier- und komprimierbaren Balgen (2), der zur Erzeugung eines Stimmzungen anströmenden Luftstromes durch Expansion und Kompression ausgebildet ist; und
einer Anströmsteuerung (4), aufweisend eine Ventilanordnung (4a), die zur Steuerung der Anströmung musikgemäß anzuströmender Stimmzungen (6) angeordnet ist, und eine Strömungsgleichrichtungsanordnung (4b), die dazu angeordnet ist, die gleiche Stimmzungen-Anströmrichtung bei Balgenexpansion und bei Balgenkompression zu bewirken;
wobei die Ventilanordnung (4a) eine Anzahl Stimmzungen-Ventile (4a1, 4a2, ... 4a16) aufweist, die jeweils eine Anströmung einer einzelnen oder allenfalls weniger klanggemäß gemeinsam anzuströmender Stimmzungen steuern, und die Strömungsgleichrichtungsanordnung (4b) eine Anzahl von Ventilen zur Luftströmungsgleichrichtung (4b1, 4b2, 4b3, 4b4) aufweist,
wobei die Anzahl an Stimmzungen-Ventile (4a1, 4a2, ... 4a16) größer ist als die Anzahl von Ventilen zur Luftströmungsgleichrichtung (4b1, 4b2, 4b3, 4b4) und wobei eine Gruppe von Ventilen zur Luftströmungsgleichrichtung einer größeren Gruppe Stimmzungen-Ventile zur gemeinsamen Gleichrichtung der Luftströmung dort hindurch so zugeordnet ist, dass die Luftströmung durch die Gesamtheit aller Stimmzungenventile der Gruppe gemeinsam gleichgerichtet ist,
wobei die Stimmzungen-Ventile (4a1, 4a2, ... 4a16) strombetätigt sind und eine Vielzahl strombetätigter Stimmzungen-Ventile gemeinsam in einem Ventilblock angeordnet ist und wobei die Stimmzungen und/oder der Ventilbock mit faserverstärkten Kunststoffen, insbesondere Carbonfaser-Werkstoffen, gebildet ist/sind. - Handzuginstrument nach Anspruch 1, bei dem die Stimmzungen (6) und der Ventilblock mit faserverstärkten Kunststoffen gebildet sind.
- Handzuginstrument nach Anspruch 2, bei dem die Stimmzungen (6) und der Ventilblock aus Carbonfaser-Werkstoffen gebildet sind.
- Handzuginstrument nach einem der vorigen Ansprüche, ferner mit einer Stimmplatte, wobei der Spalt zwischen Stimmzunge und Stimmplatte maximal 0,06 mm beträgt.
- Handzuginstrument nach Anspruch 4, wobei der Spalt zwischen Stimmzunge und Stimmplatte weniger als 0,02 mm beträgt.
- Faserverstärkte Kunststoffstimmzungenanordnung, insbesondere Carbonstimmzungenanordnung, für ein Handzuginstrument, bevorzugt ein Handzuginstrument nach einem der vorhergehenden Ansprüche, bei der der Spalt zwischen Stimmzunge und Stimmplatte maximal 0,06 mm beträgt.
- Faserverstärkte Kunststoffstimmzungenanordnung nach Anspruch 6, wobei der Spalt zwischen Stimmzunge und Stimmplatte weniger als 0,02 mm beträgt.
- Faserverstärkte Kunststoffstimmzungenanordnung nach Anspruch 6 oder 7, bei der eine Vielzahl faserverstärkter Kunststoffstimmzungen vorgesehen sind, deren Spaltmaße so abgestimmt sind, dass die faserverstärkten Kunststoffstimmzungen bei gleichem Luftdruck und gleichzeitiger Betätigung simultan anschwingen, und/oder deren Breiten so gewählt sind, dass die faserverstärkten Kunststoffstimmzungen gleiche Lautstärke aufweisen.
- Faserverstärkte Kunststoffstimmzungenanordnung nach Anspruch 6, 7 oder 8, die unter Verwendung von zumindest einem aus 3D-Druck, Heisspressen, im RTM Verfahren (Resin Tranfer Moulding), Modifizierte Vakuuminfusions-Verfahren (MVI), Spritzguss, Wasserstrahl, oder Laserstrahlschneiden und/oder spanabhebenden Verfahren hergestellt ist.
Priority Applications (1)
| Application Number | Priority Date | Filing Date | Title |
|---|---|---|---|
| HRP20230495TT HRP20230495T1 (hr) | 2019-01-18 | 2020-01-16 | Instrument s ručnim potezanjem |
Applications Claiming Priority (2)
| Application Number | Priority Date | Filing Date | Title |
|---|---|---|---|
| CH00062/19A CH715803B1 (de) | 2019-01-18 | 2019-01-18 | Handzuginstrument. |
| EP20152289.3A EP3683791B1 (de) | 2019-01-18 | 2020-01-16 | Handzuginstrument |
Related Parent Applications (2)
| Application Number | Title | Priority Date | Filing Date |
|---|---|---|---|
| EP20152289.3A Division EP3683791B1 (de) | 2019-01-18 | 2020-01-16 | Handzuginstrument |
| EP20152289.3A Division-Into EP3683791B1 (de) | 2019-01-18 | 2020-01-16 | Handzuginstrument |
Publications (2)
| Publication Number | Publication Date |
|---|---|
| EP3855424A1 true EP3855424A1 (de) | 2021-07-28 |
| EP3855424B1 EP3855424B1 (de) | 2023-03-01 |
Family
ID=69176991
Family Applications (2)
| Application Number | Title | Priority Date | Filing Date |
|---|---|---|---|
| EP20152289.3A Active EP3683791B1 (de) | 2019-01-18 | 2020-01-16 | Handzuginstrument |
| EP20208939.7A Active EP3855424B1 (de) | 2019-01-18 | 2020-01-16 | Handzuginstrument |
Family Applications Before (1)
| Application Number | Title | Priority Date | Filing Date |
|---|---|---|---|
| EP20152289.3A Active EP3683791B1 (de) | 2019-01-18 | 2020-01-16 | Handzuginstrument |
Country Status (3)
| Country | Link |
|---|---|
| EP (2) | EP3683791B1 (de) |
| CH (1) | CH715803B1 (de) |
| HR (1) | HRP20230495T1 (de) |
Cited By (2)
| Publication number | Priority date | Publication date | Assignee | Title |
|---|---|---|---|---|
| EP4134945A1 (de) * | 2021-08-09 | 2023-02-15 | Carboneon GmbH | Stimmplatte für ein handzuginstrument, stimmstock für ein handzuginstrument, sowie handzuginstrument |
| EP4210043A1 (de) * | 2022-01-07 | 2023-07-12 | Carboneon GmbH | Handzuginstrument |
Families Citing this family (1)
| Publication number | Priority date | Publication date | Assignee | Title |
|---|---|---|---|---|
| CN114550619B (zh) * | 2022-03-15 | 2022-08-26 | 哈尔滨学院 | 一种移动法律普及演示装置及其使用方法 |
Citations (9)
| Publication number | Priority date | Publication date | Assignee | Title |
|---|---|---|---|---|
| US1852066A (en) * | 1931-11-16 | 1932-04-05 | Sr Julius Schwarz | Accordion |
| US2056212A (en) * | 1935-06-22 | 1936-10-06 | Wurlitzer Grand Piano Company | Electric accordion |
| US2230162A (en) * | 1939-11-25 | 1941-01-28 | Lidblom Richard | Accordion |
| US2640384A (en) * | 1953-06-02 | Vibratory reed musical instrument | ||
| DE855499C (de) | 1950-07-25 | 1954-08-09 | Richard Stratmann | Stimmstock fuer Akkordeons, Harmoniums u. dgl. Musikinstrumente |
| EP0210206A1 (de) * | 1985-01-18 | 1987-02-04 | Marcel Pelletier | Akkordeon oder bandoneon. |
| SU1683061A1 (ru) * | 1986-07-09 | 1991-10-07 | А.И. Лабунец | Язычковый музыкальный инструмент |
| DE10133287A1 (de) | 2001-07-09 | 2002-02-21 | Ernst Zacharias | Elektromagnetisches Hülsenventil für das Akkordeon |
| GB2410118A (en) * | 2004-01-15 | 2005-07-20 | Edward Jay | Reed system for a free reed instrument |
Family Cites Families (3)
| Publication number | Priority date | Publication date | Assignee | Title |
|---|---|---|---|---|
| DE3337187C1 (de) * | 1983-03-29 | 1984-08-02 | Hans Werner 7000 Stuttgart Bäcker | Elektronische Harmonika-Orgel |
| AU2003244224A1 (en) * | 2002-06-12 | 2003-12-31 | Joong-Deog Choi | An apparatus for generating of sound and rotating of light by air flow |
| JP6645128B2 (ja) * | 2015-11-04 | 2020-02-12 | ヤマハ株式会社 | 鍵盤楽器及び該鍵盤楽器における補正情報取得方法 |
-
2019
- 2019-01-18 CH CH00062/19A patent/CH715803B1/de unknown
-
2020
- 2020-01-16 HR HRP20230495TT patent/HRP20230495T1/hr unknown
- 2020-01-16 EP EP20152289.3A patent/EP3683791B1/de active Active
- 2020-01-16 EP EP20208939.7A patent/EP3855424B1/de active Active
Patent Citations (9)
| Publication number | Priority date | Publication date | Assignee | Title |
|---|---|---|---|---|
| US2640384A (en) * | 1953-06-02 | Vibratory reed musical instrument | ||
| US1852066A (en) * | 1931-11-16 | 1932-04-05 | Sr Julius Schwarz | Accordion |
| US2056212A (en) * | 1935-06-22 | 1936-10-06 | Wurlitzer Grand Piano Company | Electric accordion |
| US2230162A (en) * | 1939-11-25 | 1941-01-28 | Lidblom Richard | Accordion |
| DE855499C (de) | 1950-07-25 | 1954-08-09 | Richard Stratmann | Stimmstock fuer Akkordeons, Harmoniums u. dgl. Musikinstrumente |
| EP0210206A1 (de) * | 1985-01-18 | 1987-02-04 | Marcel Pelletier | Akkordeon oder bandoneon. |
| SU1683061A1 (ru) * | 1986-07-09 | 1991-10-07 | А.И. Лабунец | Язычковый музыкальный инструмент |
| DE10133287A1 (de) | 2001-07-09 | 2002-02-21 | Ernst Zacharias | Elektromagnetisches Hülsenventil für das Akkordeon |
| GB2410118A (en) * | 2004-01-15 | 2005-07-20 | Edward Jay | Reed system for a free reed instrument |
Cited By (3)
| Publication number | Priority date | Publication date | Assignee | Title |
|---|---|---|---|---|
| EP4134945A1 (de) * | 2021-08-09 | 2023-02-15 | Carboneon GmbH | Stimmplatte für ein handzuginstrument, stimmstock für ein handzuginstrument, sowie handzuginstrument |
| US11942063B2 (en) | 2021-08-09 | 2024-03-26 | Carboneon Gmbh | Reed plate for a hand-pulled instrument, sound post for a hand-pulled instrument, as well as hand-pulled instrument |
| EP4210043A1 (de) * | 2022-01-07 | 2023-07-12 | Carboneon GmbH | Handzuginstrument |
Also Published As
| Publication number | Publication date |
|---|---|
| EP3683791A1 (de) | 2020-07-22 |
| CH715803A1 (de) | 2020-07-15 |
| EP3683791B1 (de) | 2021-06-30 |
| CH715803B1 (de) | 2020-08-31 |
| HRP20230495T1 (hr) | 2023-07-21 |
| EP3855424B1 (de) | 2023-03-01 |
Similar Documents
| Publication | Publication Date | Title |
|---|---|---|
| EP3683791B1 (de) | Handzuginstrument | |
| EP1895503B1 (de) | Schlüsselbetätigungssystem | |
| EP2296142A3 (de) | Steuerung von räumlichen Audiocodierungsparametern als Funktion von Gehörereignissen | |
| EP2273487A3 (de) | Tastaturvorrichtung | |
| DE2523623B2 (de) | Elektronisches Musikinstrument | |
| CN115315051B (zh) | 一种声音控制灯光变化的方法及系统 | |
| DE19735039A1 (de) | Tonsignalmischer und -verfahren mit Schaltpult | |
| EP2068303A3 (de) | Elektronisches Musiksystem und Steuerungsverfahren zur Steuerung einer elektronischen Musikvorrichtung des Systems | |
| CN109256107A (zh) | 键盘装置 | |
| CN108847205B (zh) | 一种数码口琴 | |
| JPH04204697A (ja) | 電子楽器 | |
| DE3232628A1 (de) | Elektromagnetische betaetigungsvorrichtung fuer ein elektrisches klavier | |
| CN204332332U (zh) | 一种新型手风琴 | |
| DE102015009589B3 (de) | Verfahren zur dynamischen Steuerung von elektrisch betätigten Tonventilen in Pfeifenorgeln | |
| CN202364964U (zh) | 一种音乐徽章 | |
| CN208657006U (zh) | 一种数字话筒 | |
| MY139030A (en) | System for actuating a contactor of electronic components | |
| CN207319657U (zh) | 一种带有磁悬浮式琴键的钢琴 | |
| CN222051312U (zh) | 一种电子钢琴琴键力度开关 | |
| CN214256520U (zh) | 一种可调节屏幕亮度的音响 | |
| DE3929726A1 (de) | Musikinstrument, insbesondere klavier oder fluegel, mit saiten | |
| CN217740413U (zh) | 一种usb立体声数字电容麦克风 | |
| CN209057355U (zh) | 一种具有双调节模式的音量调节旋钮 | |
| US522209A (en) | hope-jones | |
| HK30084524A2 (en) | A harmonica reed plate and a harmonica |
Legal Events
| Date | Code | Title | Description |
|---|---|---|---|
| REG | Reference to a national code |
Ref country code: HR Ref legal event code: TUEP Ref document number: P20230495T Country of ref document: HR |
|
| PUAI | Public reference made under article 153(3) epc to a published international application that has entered the european phase |
Free format text: ORIGINAL CODE: 0009012 |
|
| STAA | Information on the status of an ep patent application or granted ep patent |
Free format text: STATUS: THE APPLICATION HAS BEEN PUBLISHED |
|
| AC | Divisional application: reference to earlier application |
Ref document number: 3683791 Country of ref document: EP Kind code of ref document: P |
|
| AK | Designated contracting states |
Kind code of ref document: A1 Designated state(s): AL AT BE BG CH CY CZ DE DK EE ES FI FR GB GR HR HU IE IS IT LI LT LU LV MC MK MT NL NO PL PT RO RS SE SI SK SM TR |
|
| STAA | Information on the status of an ep patent application or granted ep patent |
Free format text: STATUS: REQUEST FOR EXAMINATION WAS MADE |
|
| 17P | Request for examination filed |
Effective date: 20210908 |
|
| RBV | Designated contracting states (corrected) |
Designated state(s): AL AT BE BG CH CY CZ DE DK EE ES FI FR GB GR HR HU IE IS IT LI LT LU LV MC MK MT NL NO PL PT RO RS SE SI SK SM TR |
|
| RIN1 | Information on inventor provided before grant (corrected) |
Inventor name: BRAUNER, CHRISTIAN Inventor name: HESS, JAN Inventor name: SCHADT, FABIAN Inventor name: READ, PATRICK Inventor name: SABATELLA , ALESSANDRO Inventor name: WALTENSPUEL, RAPHAEL Inventor name: VUKASINOVIC, SRDJAN |
|
| GRAP | Despatch of communication of intention to grant a patent |
Free format text: ORIGINAL CODE: EPIDOSNIGR1 |
|
| STAA | Information on the status of an ep patent application or granted ep patent |
Free format text: STATUS: GRANT OF PATENT IS INTENDED |
|
| RIC1 | Information provided on ipc code assigned before grant |
Ipc: G10H 1/24 20060101ALI20220926BHEP Ipc: G10H 1/34 20060101ALI20220926BHEP Ipc: G10D 11/00 20060101AFI20220926BHEP |
|
| INTG | Intention to grant announced |
Effective date: 20221026 |
|
| GRAS | Grant fee paid |
Free format text: ORIGINAL CODE: EPIDOSNIGR3 |
|
| RIN1 | Information on inventor provided before grant (corrected) |
Inventor name: BRAUNER, CHRISTIAN Inventor name: HESS, JAN Inventor name: SCHADT, FABIAN Inventor name: READ, PATRICK Inventor name: SABATELLA , ALESSANDRO Inventor name: WALTENSPUEL, RAPHAEL Inventor name: VUKASINOVIC, SRDJAN |
|
| GRAA | (expected) grant |
Free format text: ORIGINAL CODE: 0009210 |
|
| STAA | Information on the status of an ep patent application or granted ep patent |
Free format text: STATUS: THE PATENT HAS BEEN GRANTED |
|
| AC | Divisional application: reference to earlier application |
Ref document number: 3683791 Country of ref document: EP Kind code of ref document: P |
|
| AK | Designated contracting states |
Kind code of ref document: B1 Designated state(s): AL AT BE BG CH CY CZ DE DK EE ES FI FR GB GR HR HU IE IS IT LI LT LU LV MC MK MT NL NO PL PT RO RS SE SI SK SM TR |
|
| REG | Reference to a national code |
Ref country code: GB Ref legal event code: FG4D Free format text: NOT ENGLISH |
|
| REG | Reference to a national code |
Ref country code: CH Ref legal event code: EP Ref country code: AT Ref legal event code: REF Ref document number: 1551552 Country of ref document: AT Kind code of ref document: T Effective date: 20230315 |
|
| REG | Reference to a national code |
Ref country code: DE Ref legal event code: R096 Ref document number: 502020002628 Country of ref document: DE |
|
| REG | Reference to a national code |
Ref country code: IE Ref legal event code: FG4D Free format text: LANGUAGE OF EP DOCUMENT: GERMAN |
|
| REG | Reference to a national code |
Ref country code: LT Ref legal event code: MG9D |
|
| REG | Reference to a national code |
Ref country code: NL Ref legal event code: MP Effective date: 20230301 |
|
| REG | Reference to a national code |
Ref country code: HR Ref legal event code: T1PR Ref document number: P20230495 Country of ref document: HR |
|
| PG25 | Lapsed in a contracting state [announced via postgrant information from national office to epo] |
Ref country code: RS Free format text: LAPSE BECAUSE OF FAILURE TO SUBMIT A TRANSLATION OF THE DESCRIPTION OR TO PAY THE FEE WITHIN THE PRESCRIBED TIME-LIMIT Effective date: 20230301 Ref country code: NO Free format text: LAPSE BECAUSE OF FAILURE TO SUBMIT A TRANSLATION OF THE DESCRIPTION OR TO PAY THE FEE WITHIN THE PRESCRIBED TIME-LIMIT Effective date: 20230601 Ref country code: LV Free format text: LAPSE BECAUSE OF FAILURE TO SUBMIT A TRANSLATION OF THE DESCRIPTION OR TO PAY THE FEE WITHIN THE PRESCRIBED TIME-LIMIT Effective date: 20230301 Ref country code: LT Free format text: LAPSE BECAUSE OF FAILURE TO SUBMIT A TRANSLATION OF THE DESCRIPTION OR TO PAY THE FEE WITHIN THE PRESCRIBED TIME-LIMIT Effective date: 20230301 Ref country code: ES Free format text: LAPSE BECAUSE OF FAILURE TO SUBMIT A TRANSLATION OF THE DESCRIPTION OR TO PAY THE FEE WITHIN THE PRESCRIBED TIME-LIMIT Effective date: 20230301 |
|
| PG25 | Lapsed in a contracting state [announced via postgrant information from national office to epo] |
Ref country code: SE Free format text: LAPSE BECAUSE OF FAILURE TO SUBMIT A TRANSLATION OF THE DESCRIPTION OR TO PAY THE FEE WITHIN THE PRESCRIBED TIME-LIMIT Effective date: 20230301 Ref country code: PL Free format text: LAPSE BECAUSE OF FAILURE TO SUBMIT A TRANSLATION OF THE DESCRIPTION OR TO PAY THE FEE WITHIN THE PRESCRIBED TIME-LIMIT Effective date: 20230301 Ref country code: NL Free format text: LAPSE BECAUSE OF FAILURE TO SUBMIT A TRANSLATION OF THE DESCRIPTION OR TO PAY THE FEE WITHIN THE PRESCRIBED TIME-LIMIT Effective date: 20230301 Ref country code: GR Free format text: LAPSE BECAUSE OF FAILURE TO SUBMIT A TRANSLATION OF THE DESCRIPTION OR TO PAY THE FEE WITHIN THE PRESCRIBED TIME-LIMIT Effective date: 20230602 Ref country code: FI Free format text: LAPSE BECAUSE OF FAILURE TO SUBMIT A TRANSLATION OF THE DESCRIPTION OR TO PAY THE FEE WITHIN THE PRESCRIBED TIME-LIMIT Effective date: 20230301 |
|
| PG25 | Lapsed in a contracting state [announced via postgrant information from national office to epo] |
Ref country code: SM Free format text: LAPSE BECAUSE OF FAILURE TO SUBMIT A TRANSLATION OF THE DESCRIPTION OR TO PAY THE FEE WITHIN THE PRESCRIBED TIME-LIMIT Effective date: 20230301 Ref country code: RO Free format text: LAPSE BECAUSE OF FAILURE TO SUBMIT A TRANSLATION OF THE DESCRIPTION OR TO PAY THE FEE WITHIN THE PRESCRIBED TIME-LIMIT Effective date: 20230301 Ref country code: PT Free format text: LAPSE BECAUSE OF FAILURE TO SUBMIT A TRANSLATION OF THE DESCRIPTION OR TO PAY THE FEE WITHIN THE PRESCRIBED TIME-LIMIT Effective date: 20230703 Ref country code: EE Free format text: LAPSE BECAUSE OF FAILURE TO SUBMIT A TRANSLATION OF THE DESCRIPTION OR TO PAY THE FEE WITHIN THE PRESCRIBED TIME-LIMIT Effective date: 20230301 Ref country code: CZ Free format text: LAPSE BECAUSE OF FAILURE TO SUBMIT A TRANSLATION OF THE DESCRIPTION OR TO PAY THE FEE WITHIN THE PRESCRIBED TIME-LIMIT Effective date: 20230301 |
|
| PG25 | Lapsed in a contracting state [announced via postgrant information from national office to epo] |
Ref country code: SK Free format text: LAPSE BECAUSE OF FAILURE TO SUBMIT A TRANSLATION OF THE DESCRIPTION OR TO PAY THE FEE WITHIN THE PRESCRIBED TIME-LIMIT Effective date: 20230301 Ref country code: IS Free format text: LAPSE BECAUSE OF FAILURE TO SUBMIT A TRANSLATION OF THE DESCRIPTION OR TO PAY THE FEE WITHIN THE PRESCRIBED TIME-LIMIT Effective date: 20230701 |
|
| REG | Reference to a national code |
Ref country code: DE Ref legal event code: R097 Ref document number: 502020002628 Country of ref document: DE |
|
| PLBE | No opposition filed within time limit |
Free format text: ORIGINAL CODE: 0009261 |
|
| STAA | Information on the status of an ep patent application or granted ep patent |
Free format text: STATUS: NO OPPOSITION FILED WITHIN TIME LIMIT |
|
| REG | Reference to a national code |
Ref country code: HR Ref legal event code: ODRP Ref document number: P20230495 Country of ref document: HR Payment date: 20240115 Year of fee payment: 5 |
|
| PG25 | Lapsed in a contracting state [announced via postgrant information from national office to epo] |
Ref country code: SI Free format text: LAPSE BECAUSE OF FAILURE TO SUBMIT A TRANSLATION OF THE DESCRIPTION OR TO PAY THE FEE WITHIN THE PRESCRIBED TIME-LIMIT Effective date: 20230301 Ref country code: DK Free format text: LAPSE BECAUSE OF FAILURE TO SUBMIT A TRANSLATION OF THE DESCRIPTION OR TO PAY THE FEE WITHIN THE PRESCRIBED TIME-LIMIT Effective date: 20230301 |
|
| 26N | No opposition filed |
Effective date: 20231204 |
|
| PG25 | Lapsed in a contracting state [announced via postgrant information from national office to epo] |
Ref country code: MC Free format text: LAPSE BECAUSE OF FAILURE TO SUBMIT A TRANSLATION OF THE DESCRIPTION OR TO PAY THE FEE WITHIN THE PRESCRIBED TIME-LIMIT Effective date: 20230301 |
|
| PG25 | Lapsed in a contracting state [announced via postgrant information from national office to epo] |
Ref country code: MC Free format text: LAPSE BECAUSE OF FAILURE TO SUBMIT A TRANSLATION OF THE DESCRIPTION OR TO PAY THE FEE WITHIN THE PRESCRIBED TIME-LIMIT Effective date: 20230301 |
|
| PG25 | Lapsed in a contracting state [announced via postgrant information from national office to epo] |
Ref country code: LU Free format text: LAPSE BECAUSE OF NON-PAYMENT OF DUE FEES Effective date: 20240116 |
|
| GBPC | Gb: european patent ceased through non-payment of renewal fee |
Effective date: 20240116 |
|
| PG25 | Lapsed in a contracting state [announced via postgrant information from national office to epo] |
Ref country code: LU Free format text: LAPSE BECAUSE OF NON-PAYMENT OF DUE FEES Effective date: 20240116 |
|
| PG25 | Lapsed in a contracting state [announced via postgrant information from national office to epo] |
Ref country code: GB Free format text: LAPSE BECAUSE OF NON-PAYMENT OF DUE FEES Effective date: 20240116 |
|
| PG25 | Lapsed in a contracting state [announced via postgrant information from national office to epo] |
Ref country code: BE Free format text: LAPSE BECAUSE OF NON-PAYMENT OF DUE FEES Effective date: 20240131 |
|
| PG25 | Lapsed in a contracting state [announced via postgrant information from national office to epo] |
Ref country code: GB Free format text: LAPSE BECAUSE OF NON-PAYMENT OF DUE FEES Effective date: 20240116 Ref country code: BE Free format text: LAPSE BECAUSE OF NON-PAYMENT OF DUE FEES Effective date: 20240131 |
|
| REG | Reference to a national code |
Ref country code: BE Ref legal event code: MM Effective date: 20240131 |
|
| PG25 | Lapsed in a contracting state [announced via postgrant information from national office to epo] |
Ref country code: BG Free format text: LAPSE BECAUSE OF FAILURE TO SUBMIT A TRANSLATION OF THE DESCRIPTION OR TO PAY THE FEE WITHIN THE PRESCRIBED TIME-LIMIT Effective date: 20230301 |
|
| PG25 | Lapsed in a contracting state [announced via postgrant information from national office to epo] |
Ref country code: BG Free format text: LAPSE BECAUSE OF FAILURE TO SUBMIT A TRANSLATION OF THE DESCRIPTION OR TO PAY THE FEE WITHIN THE PRESCRIBED TIME-LIMIT Effective date: 20230301 |
|
| PG25 | Lapsed in a contracting state [announced via postgrant information from national office to epo] |
Ref country code: IE Free format text: LAPSE BECAUSE OF NON-PAYMENT OF DUE FEES Effective date: 20240116 |
|
| PG25 | Lapsed in a contracting state [announced via postgrant information from national office to epo] |
Ref country code: IE Free format text: LAPSE BECAUSE OF NON-PAYMENT OF DUE FEES Effective date: 20240116 |
|
| REG | Reference to a national code |
Ref country code: HR Ref legal event code: ODRP Ref document number: P20230495 Country of ref document: HR Payment date: 20250103 Year of fee payment: 6 |
|
| PGFP | Annual fee paid to national office [announced via postgrant information from national office to epo] |
Ref country code: DE Payment date: 20250131 Year of fee payment: 6 Ref country code: HR Payment date: 20250103 Year of fee payment: 6 |
|
| PGFP | Annual fee paid to national office [announced via postgrant information from national office to epo] |
Ref country code: AT Payment date: 20250128 Year of fee payment: 6 Ref country code: CH Payment date: 20250204 Year of fee payment: 6 |
|
| PGFP | Annual fee paid to national office [announced via postgrant information from national office to epo] |
Ref country code: FR Payment date: 20250109 Year of fee payment: 6 |
|
| PGFP | Annual fee paid to national office [announced via postgrant information from national office to epo] |
Ref country code: IT Payment date: 20250110 Year of fee payment: 6 |
|
| PG25 | Lapsed in a contracting state [announced via postgrant information from national office to epo] |
Ref country code: CY Free format text: LAPSE BECAUSE OF FAILURE TO SUBMIT A TRANSLATION OF THE DESCRIPTION OR TO PAY THE FEE WITHIN THE PRESCRIBED TIME-LIMIT; INVALID AB INITIO Effective date: 20200116 |
|
| PG25 | Lapsed in a contracting state [announced via postgrant information from national office to epo] |
Ref country code: HU Free format text: LAPSE BECAUSE OF FAILURE TO SUBMIT A TRANSLATION OF THE DESCRIPTION OR TO PAY THE FEE WITHIN THE PRESCRIBED TIME-LIMIT; INVALID AB INITIO Effective date: 20200116 |
|
| REG | Reference to a national code |
Ref country code: DE Ref legal event code: R081 Ref document number: 502020002628 Country of ref document: DE Owner name: JANKECH, MIROSLAV, AT Free format text: FORMER OWNER: CARBONEON GMBH, WINTERTHUR, CH |
|
| REG | Reference to a national code |
Ref country code: CH Ref legal event code: R14 Free format text: ST27 STATUS EVENT CODE: U-0-0-R10-R14 (AS PROVIDED BY THE NATIONAL OFFICE) Effective date: 20251113 Ref country code: CH Ref legal event code: R17 Free format text: ST27 STATUS EVENT CODE: U-0-0-R10-R17 (AS PROVIDED BY THE NATIONAL OFFICE) Effective date: 20251113 |
