EP3552729A1 - Stanznietvorrichtung - Google Patents

Stanznietvorrichtung Download PDF

Info

Publication number
EP3552729A1
EP3552729A1 EP19160692.0A EP19160692A EP3552729A1 EP 3552729 A1 EP3552729 A1 EP 3552729A1 EP 19160692 A EP19160692 A EP 19160692A EP 3552729 A1 EP3552729 A1 EP 3552729A1
Authority
EP
European Patent Office
Prior art keywords
punch
drive
support arm
punch riveting
components
Prior art date
Legal status (The legal status is an assumption and is not a legal conclusion. Google has not performed a legal analysis and makes no representation as to the accuracy of the status listed.)
Granted
Application number
EP19160692.0A
Other languages
English (en)
French (fr)
Other versions
EP3552729B1 (de
Inventor
Reiner Ramsayer
Current Assignee (The listed assignees may be inaccurate. Google has not performed a legal analysis and makes no representation or warranty as to the accuracy of the list.)
Robert Bosch GmbH
Original Assignee
Robert Bosch GmbH
Priority date (The priority date is an assumption and is not a legal conclusion. Google has not performed a legal analysis and makes no representation as to the accuracy of the date listed.)
Filing date
Publication date
Application filed by Robert Bosch GmbH filed Critical Robert Bosch GmbH
Publication of EP3552729A1 publication Critical patent/EP3552729A1/de
Application granted granted Critical
Publication of EP3552729B1 publication Critical patent/EP3552729B1/de
Active legal-status Critical Current
Anticipated expiration legal-status Critical

Links

Images

Classifications

    • BPERFORMING OPERATIONS; TRANSPORTING
    • B21MECHANICAL METAL-WORKING WITHOUT ESSENTIALLY REMOVING MATERIAL; PUNCHING METAL
    • B21JFORGING; HAMMERING; PRESSING METAL; RIVETING; FORGE FURNACES
    • B21J15/00Riveting
    • B21J15/02Riveting procedures
    • B21J15/025Setting self-piercing rivets
    • BPERFORMING OPERATIONS; TRANSPORTING
    • B21MECHANICAL METAL-WORKING WITHOUT ESSENTIALLY REMOVING MATERIAL; PUNCHING METAL
    • B21JFORGING; HAMMERING; PRESSING METAL; RIVETING; FORGE FURNACES
    • B21J15/00Riveting
    • B21J15/10Riveting machines
    • B21J15/12Riveting machines with tools or tool parts having a movement additional to the feed movement, e.g. spin
    • BPERFORMING OPERATIONS; TRANSPORTING
    • B21MECHANICAL METAL-WORKING WITHOUT ESSENTIALLY REMOVING MATERIAL; PUNCHING METAL
    • B21JFORGING; HAMMERING; PRESSING METAL; RIVETING; FORGE FURNACES
    • B21J15/00Riveting
    • B21J15/10Riveting machines
    • B21J15/16Drives for riveting machines; Transmission means therefor

Definitions

  • the present invention relates to punch riveting with a vibrating system, in particular so-called. Ultraschallstanznietvortechnischen.
  • Methods and devices for punch riveting serve for connecting at least two in a connecting region in particular flat trained components.
  • a punch riveting method is characterized in that a pre-punching of the components to be joined together is not required. Rather, a rivet is pressed by means of a punch or a punch tool in the at least two components, which is ensured by a correspondingly shaped counter-holder, for example in the form of a die, which cooperates with the punch tool, that the rivet in a certain manner within deformed the components to be joined together to produce a positive and positive connection between the components while avoiding penetration of the rivet facing away from the component.
  • ultrasonic punch riveting methods or devices are known in which a vibration generator, such as an ultrasonic generator is used to enable one or more components in connecting the components in vibration. By this vibration, for example, the force to be applied for pressing the rivet is reduced.
  • the invention is based on a punch riveting device for connecting at least two components by means of a rivet, with a punch and a counter-holder, between which the at least two components and the rivet can be arranged.
  • the punch riveting on a vibrating system, which in turn has the punch and a vibration converter which is so coupled or coupled to a vibration generator that the vibrating system can be excited to vibrate.
  • the oscillation converter may be used, for example, as an electro-mechanical converter, such as an electro-mechanical converter. Be formed piezo-converter and directly or indirectly via a so-called.
  • Booster or amplitude amplifier
  • the vibration generator can in particular be a frequency or sound generator, in particular an ultrasonic generator, in each case preferably also in the form of a function generator which supplies the vibration converter with a suitable signal, so that it is excited accordingly to oscillate.
  • the punch riveting apparatus further comprises a drive, by means of which the oscillating system and thus the punch can be acted upon by a force and movable in a joining direction to a arranged between the punch and a stamp facing component of at least two components arranged rivet by means of the punch in the at least push in two components.
  • the problem with known punch riveting devices with vibration coupling may be that undesired tilting moments occur. This is especially true when the drive and the oscillating system are arranged in the joining direction in series or one behind the other. However, this can also occur if the drive and the oscillating system are arranged to overlap parallel or at least in the joining direction, but the drive is regularly mounted on the frame of the punch riveting device.
  • a guide means disposed on a frame of the punch riveting apparatus, in which a support arm extending at an angle of more than 0 ° and less than 180 °, in particular more than 45 ° and less than 135 °, in particular extends substantially 90 ° to the joining direction, feasible in the joining direction and is movable by means of the drive, wherein the oscillating system is arranged on the support arm perpendicular to the joining direction of the guide device spaced.
  • the support arm may in particular be fixedly connected to a carriage, which is mounted so that it can be guided in the guide device.
  • suitable bearings such as roller ball or plain bearings can be provided. Likewise, such bearings may be provided on the carriage.
  • the support arm used can be designed to be particularly stiff or torsion-resistant, and on the other hand, this support arm can also be performed particularly stable and straight in the guide device. This is achieved in particular because, in the proposed punch riveting apparatus, the oscillating system is no longer fixed or arranged via the drive on the frame, but rather via the support arm and the guide device. The latter two can be much more stable and stiffer than is the case with a conventional drive.
  • the support arm may preferably consist of a stiffer material than the frame, so that the necessary rigidity is achieved.
  • steel, high-strength steel, CFRP (carbon fiber reinforced plastic) or fiberglass-reinforced plastic may be used as materials for the support arm.
  • CFRP carbon fiber reinforced plastic
  • Aluminum or magnesium or materials containing aluminum and / or magnesium are also conceivable. It is also conceivable, for example, a truss structure, a pipe construction or a profile (for example, a T-profile, a double-T profile or a U-profile) or the like for the support arm. This can in turn be done in particular with the mentioned materials.
  • the drive is arranged on the frame and connected directly to the support arm.
  • the drive may be a spindle drive or the like. The movement of the drive is then converted directly into a movement of the support arm and is particularly easy to provide.
  • the drive is arranged on the frame and coupled by means of a lever to the support arm or possibly the carriage.
  • a lever may in particular be coupled between a pivot point on which the lever is rotatably mounted on the frame, and a point of application of the drive on the lever with the support arm or optionally via the carriage.
  • an arrangement of the drive at another position on the frame is possible.
  • the drive is integrated in the guide device and in particular is designed as a linear drive.
  • the drive is integrated in the guide device and in particular is designed as a linear drive.
  • the lever is coupled by means of link guide with the support arm.
  • a slot or the like may be provided, in which a guide pin or the like, which is arranged on the carriage or on the support arm, is guided. Through the slot or generally the scenery, the rotational movement of the lever can be particularly easily implemented in a linear movement of the carriage or the support arm.
  • a further guide device arranged on the frame of the punch riveting device perpendicular to the joining direction and spaced from the guide device in which the carrier arm can be guided in the joining direction.
  • two guide means are present, by means of which the support arm is guided, whereby an even higher torsional strength achieved becomes.
  • the drive can then be used as previously explained. For example, a connection is only necessary on one of the carriages.
  • a compensating element is provided which is arranged in the punch riveting device such that upon movement or actuation of the compensating element, an orientation of the ram and the counter-holder to one another changes.
  • the oscillating system is arranged on the drive, in particular directly attached thereto, wherein the compensating element between the oscillating system and the drive is arranged.
  • the compensating element in this case particularly preferably has a wedge plate, as will be explained in more detail below.
  • the compensating element is arranged in the frame of the punch riveting device.
  • the frame can be easily bent actively, so that any bending or tilting, which arises during regular operation of the punch riveting, can be compensated.
  • the compensation element in this case particularly preferably has an actuator, as will be explained in more detail below.
  • a arranged on a frame of the punch riveting guide means in which a perpendicular to the joining direction extending support arm in the joining direction is feasible and movable by means of the drive, wherein seen on the support arm perpendicular to the joining direction spaced the oscillating system is arranged.
  • the compensation element is then preferably arranged in the support arm.
  • the support arm can be actively bent or tilted, for example, in order to counteract any possible slight tilting which may still occur despite the support arm.
  • the compensating element proposed according to the second aspect of the invention may be used at the other positions or positions mentioned in relation to the second aspect, even though the support arm and guide means are used as mentioned with respect to the first aspect ,
  • the compensation element has an actuator, in particular a piezoelectric actuator, a hydraulic actuator, a mechanically actuated actuator or a lever mechanism on.
  • actuators can be controlled particularly easily automated, allowing a quick and easy application.
  • a piezoactuator for example, integrated in a support arm near an outer side, can be expanded by applying an electrical voltage, which causes a slight bending of the support arm.
  • the compensating element has a wedge plate that is rotatable and / or translationally movable. For example, by inserting such a wedge plate in a corresponding gap in the frame, the support arm or other component, a slight bend can be achieved.
  • an actuating device which is adapted to actuate the compensation element automatically.
  • the Actuator be adapted to actuate the compensation element such that an angle which is included between a movement and force application direction of the oscillating system and a perpendicular to a surface of the components, in terms of size is smaller.
  • Such an actuating device for example, in the context of a control or regulation of the punch riveting in their operation can be operated accordingly to counteract any tilting or bending quickly.
  • the tilt can be detected or measured for example by means of suitable sensors.
  • a suitable model by means of which it is estimated or predefined when and to what extent an actuation of the compensating element should take place.
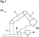
  • FIG. 1 is simplified and shown schematically a manufacturing device 100.
  • the production device 100 may be, for example, an industrial robot in a production hall, for example for an automotive body construction.
  • the production device 100 has a carrier structure 3 arranged on a base and two arms 4 and 5 arranged thereon and connected to one another and movable.
  • a punch riveting device 200 is arranged in a preferred embodiment, which is shown here only schematically and will be described in more detail below.
  • a computing unit 80 is shown, which is, for example, a control unit of the punch riveting apparatus 200.
  • the arithmetic unit 80 may also be used as a control unit for the entire manufacturing facility, i. be provided in addition to the punch riveting especially for the control of the movable arms.
  • display means 90 for example a display, are provided on which, for example, current operating parameters of the punch riveting apparatus can be displayed.
  • the element 90 may also be a combined display / input means, e.g. a touchscreen, act.
  • FIG. 2 schematically a non-inventive punch riveting apparatus 10 is shown, at which a problem to be solved, which is achieved with the present invention.
  • the punch riveting apparatus 10 has a frame 60, which is preferably in the form of a C-frame or C-bracket, on which the individual components are usually arranged in a punch riveting apparatus in order to be able to assume the desired position relative to one another.
  • the punch rivet 10 for example, on an arm as in FIG. 1 be shown attached.
  • the punch riveting apparatus 10 has a punch (or sonotrode) 15, by way of example with a round cross section.
  • the punch 15 is radially surrounded by a (sleeve-shaped) hold-down 16 and arranged movable relative to this in the longitudinal direction.
  • the hold-down device is preferably fastened to a so-called zero-amplitude passage of the punch, ie a position of the punch at which oscillation amplitudes are zero or at least as low as possible, by means of a spring.
  • the stamp 15 with a drive 50 coupled which serves to apply a force required for pressing the rivet 20 in the two components 11, 12 force F in the joining direction R.
  • the drive 50 can be controlled, for example, by means of the computing unit 80.
  • the force F can be predetermined, for example, via a desired value and recorded as an actual value.
  • the hold-down 16 is adapted to press against the surface of the die 15 facing member 11 with a hold-down force.
  • a separate drive can be provided.
  • the hold-down 16 may also (as shown here) be coupled to the drive 50 of the punch 15 or to the punch 15 itself, for example by means of a spring.
  • a counter-holder in the form of a die 18 is arranged on the stamp 15 and the hold-down 16 opposite side of the two components 11, 12, a counter-holder in the form of a die 18 is arranged.
  • the punch 15 and the die 18 are in the vertical direction, as well as the hold-16, arranged and movable relative to each other, wherein the die 18 itself is not movable in the rule.
  • the hold-down 16 and the die 18 serve to clamp or compress the two components 11, 12 between the hold-down 16 and the die 18 during processing by the punch 15.
  • the rivet 20 here by way of example a semi-hollow punch rivet, preferably consists of a material which is harder than the materials of the two components 11, 12, at least in the region of a rivet shank.
  • the component 11 facing away from the flat top of the rivet 20 is arranged in operative connection with the punch 15, which rests flat against the top of the rivet 20.
  • the punch 15 is operatively connected to an (electro-mechanical) vibration converter 30, for example a piezo-converter.
  • the oscillation converter 30 in turn is connected to an (electric) oscillation generator 32, for example an ultrasonic generator.
  • an (electric) oscillation generator 32 for example an ultrasonic generator.
  • vibrations or vibrations can be generated and coupled to the ram 15, and thus the rivet 20.
  • the vibration generator 32 and the vibration converter 30 ultrasonic vibrations with a vibration amplitude (distance between maximum positive and negative amplitude of a vibration) between 10 .mu.m and 110 .mu.m (corresponding to an amplitude of 5 .mu.m to 55 .mu.m) and a frequency between 15 kHz and 35 kHz or if necessary also produced higher.
  • the oscillator 32 is connected to the arithmetic unit 80 (or may also be part of the arithmetic unit) and can be controlled by it.
  • the drive 50 can be, for example, a ball, roller, planetary thread or threaded roller screw drive or the like which is suitable for applying a force F for pressing in the rivet 20 into the components 11, 12.
  • a holding device 35 for example in the form of a frame or a frame attached.
  • a vibration system 39 which in the present case comprises the oscillation converter 30, a booster 31 and the punch or the sonotrode 15 and the hold-down 16, respectively.
  • the high-frequency longitudinal oscillation of the joining tool i. Sonotrode 15, booster 31 and vibration converter 30 come to a lateral migration or kinking or evasion of the joining tool.
  • Such lateral forces are in FIG. 2 exemplified by F Q. Moreover, in FIG. 2 the tilting of the joining tool or of the entire oscillating system 39 is also shown graphically. Such transverse forces are not known in previous, conventional punch riveting devices (without vibration or ultrasound support) in these magnitudes, since the joining tool is not subjected to high-frequency longitudinal vibrations.
  • FIGS. 3 to 9 are shown schematically punch riveting according to the invention in various preferred embodiments.
  • the basic components of these punch riveting apparatuses correspond to the components of the punch riveting apparatus 10 according to FIG. 2 and are so far with the same Provided with reference numerals. In this respect, reference is also made to the description there. The clarity, however, some components are not shown.
  • FIG. 3 schematically a punch rivet 200 according to the invention is shown in a preferred embodiment.
  • the punch riveting apparatus 200 has a vibration system 39 with oscillation converter 30, booster 31 and sonotrode or stamp 15.
  • the oscillating system 39 is attached to a support arm 70. This can be done either directly or for example by a suitable holder, as in FIG. 2 shown. Such a holder would then be attached according to the side of the support arm 70 and not on the drive.
  • the support arm 70 extends here perpendicular to the joining direction R and is attached to a carriage 71.
  • This carriage 71 is arranged to be guidable in the joining direction R in a guide device 75 designed as a guide rail.
  • roller bearings are provided by way of example.
  • the guide device or the guide rail 75 may in this case be part of the frame 60 or else manufactured as an independent component and then suitably fastened to the frame. In this way, the support arm 70 in the guide device 75 and in the joining direction R can be performed.
  • the drive 50 is arranged on the frame 60 and coupled by means of a lever 51 with the carriage 71 and thus with the support arm 70.
  • the lever 51 may be rotatably attached to a part of the guide means 75, for example by means of a hinge.
  • the drive 50 can incidentally, ie in particular with regard to its operation, as with respect to FIG. 2 be explained explained.
  • the oscillating system 39 is therefore particularly stable in the joining direction R feasible and movable.
  • any resulting from lateral forces tilting or bending can be avoided or at least reduced.
  • the guide device 75 which can be configured in a particularly stable manner
  • the support arm 70 which can be configured in a particularly rigid manner, as has already been explained in detail above.
  • FIG. 4 schematically a punch rivet 300 according to the invention is shown in a further preferred embodiment.
  • the lever 51 is also the same as in the punch riveting apparatus 200 of FIG. 3 attached to guide means 75 by means of a hinge, but at a different location.
  • the lever 51 is not coupled by means of a joint directly to the carriage 71, but via a provided in the lever 51 and its lever arm slot 52 together with a provided on the carriage 71 guide pin 72. In this way, a so-called. Slotted guide educated.
  • the drive 50 can be compared to the embodiment according to FIG. 2 For example, be formed shorter or arranged at another position.
  • FIG. 5 schematically a punch rivet 400 according to the invention is shown in a further preferred embodiment.
  • the punch riveting device 400 two guide devices 75 and 76 are provided on the frame, each with a slide 71 and 73, respectively.
  • the support arm 70 is fastened to both slides 71 and 73, so that an even higher stability for reducing or reducing the use of only one guide device Avoidance of any tilting is achieved.
  • the drive 50 is in this case arranged directly between the frame 60 and the support arm 70.
  • no translation it is understood, however, that the drive 50 can be connected here by means of a lever, as for example in the Figures 3 or 4 is shown. It is then sufficient if the lever is only coupled to one of the carriages.
  • FIG. 6 schematically a punch rivet 500 according to the invention is shown in a further preferred embodiment.
  • the drive 50 is in this case integrated in the guide device 75 and can be designed in particular as a linear drive. This allows a more compact design than with externally arranged drive can be achieved.
  • FIG. 7 schematically a punch rivet 600 according to the invention is shown in a further preferred embodiment, as in FIG. 6 is shown. For the sake of clarity, however, only a part of the punch riveting apparatus is shown here.
  • a compensating element 85 is provided on a region opposite to the joining direction R.
  • This compensating element 85 can be, for example, a piezoelectric element that can be changed in length by applying a suitable voltage in a direction perpendicular to the joining direction R, and thus in particular in the direction of alignment or main extension direction of the support arm 70.
  • An activation of the compensating element 85 can take place, for example, by means of the arithmetic unit 80.
  • a linear drive is shown as a drive 50, it is understood that the compensation element, in particular when it is arranged in the support arm, with other types of drives, as for example in the FIGS. 3 to 5 are shown can be used.
  • FIG. 8 schematically a punch rivet 700 according to the invention is shown in a further preferred embodiment, as in FIG. 6 is shown.
  • a punch rivet 700 according to the invention is shown in a further preferred embodiment, as in FIG. 6 is shown.
  • a part of the punch riveting apparatus is shown here, namely in particular without the counterholder, the rivet and the components to be connected.
  • Such a wedge plate can cover, for example, only a part of the cross-sectional area of the support arm, so that furthermore a high stability of the support arm is ensured.
  • an actuating device 87 is provided, by means of which the wedge plate can be automated, for example by actuation of the arithmetic unit 80, actuated or moved.
  • the wedge plate 86 can for this purpose be rotated and / or moved translationally, so as to change the orientation of the oscillating system 39.
  • the actuating device may be configured to actuate the compensation element such that an angle which is included between a movement and force application direction of the oscillating system and a perpendicular to a surface of the components is smaller in magnitude. In this way, for example occurring during the punch riveting process tilting or bending can be compensated.
  • FIG. 9 schematically a punch rivet 800 according to the invention is shown in a further preferred embodiment.
  • the punch riveting apparatus 800 is similar to that in FIG. 2 constructed punching riveting, but the vibration system 39, ie without support, is arranged on the drive 50 directly.
  • a compensating element designed as a wedge plate 86 is arranged between the drive 50 and the oscillating system 39 or the oscillation converter 30.
  • This wedge plate may be like that FIG. 8 explained wedge plate be constructed and used.
  • an actuating device (not shown here) to be provided to rotate and / or translate the wedge plate as indicated. Even with such an arrangement of the wedge plate tilting or bending can be compensated.

Landscapes

  • Engineering & Computer Science (AREA)
  • Mechanical Engineering (AREA)
  • Presses And Accessory Devices Thereof (AREA)

Abstract

Die Erfindung betrifft eine Stanznietvorrichtung (600) zum Verbinden wenigstens zweier Bauteile mittels eines Niets, mit einem Stempel (15) und einem Gegenhalter, zwischen welchen die wenigstens zwei Bauteile und der Niet anordenbar sind, mit einem Schwingsystem (39), aufweisend den Stempel (15) und einen Schwingungskonverter (30), der mit einem Schwingungserzeuger (32) derart gekoppelt oder koppelbar ist, dass das Schwingsystem (39)zum Schwingen anregbar ist, und mit einem Antrieb (50), mittels dessen das Schwingsystem (39) und damit der Stempel (15) mit einer Kraft (F) beaufschlagbar und in einer Fügerichtung (R) bewegbar sind, um einen zwischen dem Stempel (15) und einem dem Stempel zugewandten Bauteil der wenigstens zwei Bauteile angeordneten Niet mittels des Stempels (15) in die wenigstens zwei Bauteile einzudrücken, wobei eine an einem Rahmen (60) der Stanznietvorrichtung angeordnete Führungseinrichtung (75), in der ein sich in einem Winkel zur Fügerichtung (R) erstreckender Tragarm (70) in Fügerichtung (R) führbar und mittels des Antriebs (50) bewegbar ist, und wobei das Schwingsystem (39) an dem Tragarm (70) senkrecht zur Fügerichtung (R) gesehen von der Führungseinrichtung (75) beabstandet angeordnet ist, und/oder mit einem Ausgleichselement (85), das derart in der Stanznietvorrichtung angeordnet ist, dass sich bei einer Bewegung des Ausgleichselements (85, 86) eine Orientierung des Stempels (15) und des Gegenhalters zueinander verändert.

Description

  • Die vorliegende Erfindung betrifft Stanznietvorrichtungen mit einem Schwingsystem, insbesondere sog. Ultraschallstanznietvorrichtungen.
  • Stand der Technik
  • Verfahren und Vorrichtungen zum Stanznieten dienen zum Verbinden wenigstens zweier in einem Verbindungsbereich insbesondere eben ausgebildeter Bauteile. Ein Stanznietverfahren zeichnet sich dadurch aus, dass ein Vorlochen der miteinander zu verbindenden Bauteile nicht erforderlich ist. Vielmehr wird ein Niet mittels eines Stempels oder eines Stempelwerkzeugs in die wenigstens zwei Bauteile eingedrückt, wobei durch einen entsprechend geformten Gegenhalter, beispielsweise in Form einer Matrize, der mit dem Stempelwerkzeug zusammenwirkt, sichergestellt ist, dass der Niet sich in einer bestimmten Art und Weise innerhalb der miteinander zu verbindenden Bauteile verformt, um eine kraft- und formschlüssige Verbindung zwischen den Bauteilen herzustellen und gleichzeitig ein Durchdringen des dem Niet abgewandten Bauteils zu vermeiden.
  • Weiterhin sind beispielsweise aus der EP 2 318 161 B1 , der DE 10 2014 203 357 A1 oder der DE 199 05 527 A1 sog. Ultraschall-Stanznietverfahren bzw. -vorrichtungen bekannt, bei denen ein Schwingungserzeuger, wie beispielsweise ein Ultraschall-Generator verwendet wird, um ein oder mehrere Komponenten beim Verbinden der Bauteile in Schwingung zu versetzen. Durch diese Schwingung wird beispielsweise die aufzuwendende Kraft zum Eindrücken des Niets reduziert.
  • Offenbarung der Erfindung
  • Erfindungsgemäß werden Stanznietvorrichtungen mit den Merkmalen der unabhängigen Patentansprüche vorgeschlagen. Vorteilhafte Ausgestaltungen sind Gegenstand der Unteransprüche sowie der nachfolgenden Beschreibung.
  • Die Erfindung geht aus von einer Stanznietvorrichtung zum Verbinden wenigstens zweier Bauteile mittels eines Niets, mit einem Stempel und einem Gegenhalter, zwischen welchen die wenigstens zwei Bauteile und der Niet anordenbar sind. Dabei weist die Stanznietvorrichtung ein Schwingsystem auf, welches wiederum den Stempel und einen Schwingungskonverter aufweist, der mit einem Schwingungserzeuger derart gekoppelt oder koppelbar ist, dass das Schwingsystem zum Schwingen anregbar ist. Der Schwingungskonverter kann beispielsweise als elektro-mechanischer Konverter, wie z.B. Piezo-Konverter ausgebildet sein und direkt oder indirekt über einen sog. Booster (bzw. Amplitudenverstärker) mit dem Stempel, der dann auch als Sontrode dient, verbunden bzw. gekoppelt sein. Bei dem Schwingungserzeuger kann es sich insbesondere um einen Frequenz- bzw. Schallgenerator, insbesondere um einen Ultraschallgenerator, jeweils bevorzugt auch in Form eines Funktionsgenerators handeln, der den Schwingungskonverter mit einem geeigneten Signal versorgt, sodass dieser entsprechend zum Schwingen angeregt wird.
  • Die Stanznietvorrichtung weist weiterhin einen Antrieb auf, mittels dessen das Schwingsystem und damit der Stempel mit einer Kraft beaufschlagbar und in einer Fügerichtung bewegbar sind, um einen zwischen dem Stempel und einem dem Stempel zugewandten Bauteil der wenigstens zwei Bauteile angeordneten Niet mittels des Stempels in die wenigstens zwei Bauteile einzudrücken.
  • Problematisch bei bekannten Stanznietvorrichtungen mit Schwingungseinkopplung kann sein, dass unerwünschte Kippmomente auftreten. Die gilt besonders dann, wenn der Antrieb und das Schwingsystem in Fügerichtung gesehen in Reihe bzw. hintereinander angeordnet sind. Jedoch kann dies ebenso auftreten, wenn der Antrieb und das Schwingsystem zwar parallel oder zumindest in Fügerichtung gesehen überlappend angeordnet sind, der Antrieb jedoch regulär am Rahmen der Stanznietvorrichtung angebracht ist.
  • Solche Kippmomente verursachen eine verstärkte Aufbiegung des gesamten Systems bzw. insbesondere des Rahmens der Stanznietvorrichtung, was dazu führt, dass die durch den Antrieb und das Schwingsystem erzeugten Kräfte bzw. Schwingungen nicht mehr senkrecht auf die Oberflächen der zu verbindenden Bauteile wirken. Dies kann zu unerwünschten Effekten im Fügeprozess führen und insbesondere die Symmetrie der erzeugten Nietverbindung negativ beeinflussen. Entsprechend wird auch die Verbindungsfestigkeit negativ beeinflusst.
  • Gemäß einem ersten Aspekt der Erfindung ist eine an einem Rahmen der Stanznietvorrichtung angeordnete Führungseinrichtung vorgesehen, in der ein Tragarm, der sich in einem Winkel von mehr als 0° und weniger als 180°, insbesondere mehr als 45° und weniger als 135°, insbesondere im Wesentlichen 90° zur Fügerichtung erstreckt, in Fügerichtung führbar und mittels des Antriebs bewegbar ist, wobei das Schwingsystem an dem Tragarm senkrecht zur Fügerichtung von der Führungseinrichtung beabstandet angeordnet ist. Der Tragarm kann dabei insbesondere fest mit einem Schlitten, der in der Führungseinrichtung führbar gelagert ist, verbunden sein. In der Führungseinrichtung, die selbst beispielsweise in Form einer oder mehrerer Führungsschienen vorliegen kann, können dann auch beispielsweise noch geeignete Lager wie Rollen- Kugel- oder Gleitlager vorgesehen sein. Ebenso können solche Lager an dem Schlitten vorgesehen sein.
  • Die erwähnten Nachteile werden auf diese Weise vermieden oder zumindest reduziert, da der verwendete Tragarm zum einen besonders steif bzw. verwindungsfest ausgebildet werden kann, und zum anderen dieser Tragarm zudem besonders stabil und geradlinig in der Führungseinrichtung geführt werden kann. Dies wird insbesondere deswegen erreicht, da bei der vorgeschlagenen Stanznietvorrichtung das Schwingsystem nicht mehr über den Antrieb an dem Rahmen befestigt bzw. angeordnet ist, sondern über den Tragarm und die Führungseinrichtung. Letztere beiden können viel stabiler und steifer ausgebildet werden, als dies bei einem herkömmlichen Antrieb der Fall ist.
  • Der Tragarm kann dabei vorzugsweise aus einem steiferen Material als der Rahmen bestehen, sodass die nötige Steifigkeit erreicht wird. Als Materialien für den Tragarm kommen hier insbesondere Stahl, hochfester Stahl, CFK (kohlenstofffaserverstärkter Kunststoff) oder GFK (glasfaserverstärkter Kunststoff) in Frage, denkbar sind auch Aluminium oder Magnesium bzw. Werkstoffe, die Aluminium und/oder Magnesium enthalten. Denkbar ist aber beispielsweise auch eine Fachwerkkonstruktion, eine Rohrkonstruktion oder ein Profil (beispielsweise ein T-Profil, ein Doppel-T-Profil oder ein U-Profil) oder dergleichen für den Tragarm. Dies kann dann wiederum insbesondere mit den erwähnten Materialien erfolgen.
  • Vorzugsweise ist der Antrieb an dem Rahmen angeordnet und direkt an den Tragarm angebunden. Bei dem Antrieb kann es sich dabei um einen Spindelantrieb oder dergleichen handeln. Die Bewegung des Antriebs wird dann direkt in eine Bewegung des Tragarms umgesetzt und ist besonders einfach bereitzustellen.
  • Alternativ ist es bevorzugt, wenn der Antrieb an dem Rahmen angeordnet und mittels eines Hebels an den Tragarm oder ggf. den Schlitten gekoppelt ist. Damit ist für den Antrieb beispielsweise eine geringere Maximalkraft ausreichend, da eine Übersetzung mittels des Hebels möglich ist. Hierzu kann der Hebel insbesondere zwischen einem Drehpunkt, an dem der Hebel an dem Rahmen drehbar gelagert ist, und einem Angriffspunkt des Antriebs an dem Hebel mit dem Tragarm oder ggf. über den Schlitten gekoppelt sein. Ebenso ist ggf. eine Anordnung des Antriebs an anderer Position am Rahmen möglich.
  • Weiter alternativ ist es bevorzugt, wenn der Antrieb in die Führungseinrichtung integriert und insbesondere als Linearantrieb ausgebildet ist. Damit wird eine besonders kompakte Stanznietvorrichtung ermöglicht, während jedoch weiterhin durch die nur mittelbare Verbindung von Antrieb und Schwingsystem eine besonders stabile Ausbildung des gesamten Systems möglich ist.
  • Besonders bevorzugt ist dabei, wenn der Hebel mittels Kulissenführung mit dem Tragarm gekoppelt ist. Hierzu kann in dem Hebel beispielsweise ein Langloch oder dergleichen vorgesehen sein, in dem ein Führungszapfen oder Ähnliches, der am Schlitten oder am Tragarm angeordnet ist, geführt wird. Durch das Langloch bzw. allgemein die Kulisse kann die Drehbewegung des Hebels besonders einfach in eine lineare Bewegung des Schlittens bzw. des Tragarms umgesetzt werden.
  • Weiterhin ist es bevorzugt, wenn an der Stanznietvorrichtung eine an dem Rahmen der Stanznietvorrichtung senkrecht zur Fügerichtung gesehen von der Führungseinrichtung beabstandet angeordnete weitere Führungseinrichtung vorgesehen ist, in der der Tragarm in Fügerichtung führbar ist. Damit sind also zwei Führungseinrichtungen vorhanden, mittels welcher der Tragarm geführt wird, wodurch eine noch höhere Verwindungsfestigkeit erreicht wird. Der Antrieb kann dann wie zuvor erläutert verwendet werden. Eine Anbindung ist beispielsweise dann auch nur an einem der Schlitten nötig.
  • Gemäß einem zweiten Aspekt der Erfindung ist - ebenfalls ausgehend von der zuvor erwähnten Stanznietvorrichtung - ein Ausgleichselement vorgesehen, das derart in der Stanznietvorrichtung angeordnet ist, dass sich bei einer Bewegung bzw. Betätigung des Ausgleichselements eine Orientierung des Stempels und des Gegenhalters zueinander verändert.
  • Auch auf diese Weise können die erwähnten Nachteile bekannter Stanznietvorrichtungen vermieden oder zumindest reduziert werden. Etwaigen Aufbiegungen oder Verkippungen kann dann nämlich einfach entgegengewirkt werden, indem aktiv eine entgegengesetzte Biegung oder Verkippung bewirkt wird.
  • Vorzugsweise ist das Schwingsystem an dem Antrieb angeordnet, insbesondere direkt daran angebracht, wobei das Ausgleichselement zwischen dem Schwingsystem und dem Antrieb angeordnet ist. Damit ist es möglich, das Schwingsystem gegenüber dem Antrieb leicht zu verkippen, sodass eine etwaige Aufbiegung bzw. Verkippung, die beim regulären Betrieb der Stanznietvorrichtung entsteht, ausgeglichen werden kann. Das Ausgleichselement weist hierbei besonders bevorzugt eine Keilplatte auf, wie sie nachfolgend noch näher erläutert wird.
  • Ebenso ist es bevorzugt, wenn das Ausgleichselement in dem Rahmen der Stanznietvorrichtung angeordnet ist. Auf diese Weise kann beispielsweise der Rahmen leicht aktiv verbogen werden, sodass eine etwaige Aufbiegung bzw. Verkippung, die beim regulären Betrieb der Stanznietvorrichtung entsteht, ausgeglichen werden kann. Das Ausgleichselement weist hierbei besonders bevorzugt einen Aktor auf, wie er nachfolgend noch näher erläutert wird.
  • Weiterhin ist es bevorzugt, wenn eine an einem Rahmen der Stanznietvorrichtung angeordnete Führungseinrichtung vorgesehen ist, in der ein sich senkrecht zur Fügerichtung erstreckender Tragarm in Fügerichtung führbar und mittels des Antriebs bewegbar ist, wobei an dem Tragarm senkrecht zur Fügerichtung gesehen beabstandet das Schwingsystem angeordnet ist. Das Ausgleichselement ist dann bevorzugt in dem Tragarm angeordnet. Bei dem Tragarm und der Führungseinrichtung kann es sich insbesondere um die in Bezug auf den ersten Aspekt der Erfindung beschriebenen Komponenten handeln, die insbesondere auch mit den dort erwähnten bevorzugten Ausgestaltungen versehen sein können.
  • Auf diese Weise kann der Tragarm also beispielsweise aktiv etwas verbogen bzw. verkippt werden, um so etwaigen, trotz des Tragarms ggf. noch auftretenden, leichten Verkippungen, entgegenzuwirken.
  • Es versteht sich, dass das gemäß zweitem Aspekt der Erfindung vorgeschlagene Ausgleichselement jedoch auch trotz Verwendung des Tragarms und der Führungseinrichtung, wie sie in Bezug auf den ersten Aspekt erwähnt wurde, an den anderen in Bezug auf den zweiten Aspekt erwähnten Stellen oder Positionen verwendet werden kann.
  • Ebenso sei erwähnt, dass auch mehrere der Ausgleichselemente an mehreren der erwähnten Stellen oder Positionen verwendet werden können. Ebenso können dann verschiedene Varianten der Ausgleichselemente, wie sie nachfolgend noch näher erläutert werden, verwendet werden.
  • Besonders bevorzugt weist das Ausgleichselement einen Aktor, insbesondere einen Piezo-Aktor, einen hydraulischen Aktor, einen mechanisch betätigbaren Aktor oder einen Hebelmechanismus, auf. Solche Aktoren können besonders einfach automatisiert angesteuert werden, was eine schnelle und einfache Anwendung ermöglicht. Ein Piezo-Aktor, der beispielsweise nahe einer Außenseite in einem Tragarm integriert ist, kann durch Anlegen einer elektrischen Spannung ausgedehnt werden, was eine leichte Biegung des Tragarms verursacht.
  • Ebenso ist es bevorzugt, wenn das Ausgleichselement eine drehbar und/oder translatorisch bewegbare Keilplatte aufweist. So kann beispielsweise durch Einschieben einer solchen Keilplatte in einen entsprechenden Spalt in dem Rahmen, dem Tragarm oder einer anderen Komponente eine leichte Biegung erreicht werden.
  • Es ist auch von Vorteil, wenn eine Betätigungsvorrichtung vorgesehen ist, die dazu eingerichtet ist, das Ausgleichselement automatisiert zu betätigen. Insbesondere kann die Betätigungsvorrichtung dazu eingerichtet sein, das Ausgleichselement derart zu betätigen, dass ein Winkel, der zwischen einer Bewegungs- und Kraftaufbringungsrichtung des Schwingsystems und einer Senkrechten zu einer Oberfläche der Bauteile eingeschlossen wird, betragsmäßig kleiner wird. Eine solche Betätigungsvorrichtung kann beispielsweise im Rahmen einer Steuerung oder Regelung der Stanznietvorrichtung bei deren Betrieb entsprechend betätigt werden, um einer etwaigen Verkippung bzw. Aufbiegung schnell entgegenzuwirken. Hierzu kann die Verkippung beispielsweise mittels geeigneter Sensoren erfasst bzw. gemessen werden. Denkbar ist aber auch die Verwendung eines geeigneten Modells, anhand dessen abgeschätzt oder vorgegeben wird, wann und in welchem Ausmaß eine Betätigung des Ausgleichselements erfolgen soll.
  • Weitere Vorteile und Ausgestaltungen der Erfindung ergeben sich aus der Beschreibung und der beiliegenden Zeichnungen.
  • Es versteht sich, dass die vorstehend genannten und die nachfolgend noch zu erläuternden Merkmale nicht nur in der jeweils angegebenen Kombination, sondern auch in anderen Kombinationen oder in Alleinstellung verwendbar sind, ohne den Rahmen der vorliegenden Erfindung zu verlassen.
  • Die Erfindung ist anhand von Ausführungsbeispielen in der Zeichnung schematisch dargestellt und wird im Folgenden unter Bezugnahme auf die Zeichnung ausführlich beschrieben.
  • Figurenbeschreibung
    • Figur 1 zeigt vereinfacht und schematisch eine Fertigungseinrichtung mit einer erfindungsgemäßen Stanznietvorrichtung.
    • Figur 2 zeigt schematisch eine nicht erfindungsgemäße Stanznietvorrichtung.
    • Figuren 3 bis 9 zeigen schematisch erfindungsgemäße Stanznietvorrichtungen in verschiedenen bevorzugten Ausführungsformen.
    Detaillierte Beschreibung der Zeichnungen:
  • In Figur 1 ist vereinfacht und schematisch eine Fertigungseinrichtung 100 gezeigt. Bei der Fertigungseinrichtung 100 kann es sich beispielsweise um einen Industrieroboter in einer Fertigungshalle, beispielsweise für einen automobilen Karosseriebau handeln.
  • Die Fertigungseinrichtung 100 weist dabei eine auf einem Boden angeordnete Trägerstruktur 3 und zwei daran angeordnete, miteinander verbundene und bewegliche Arme 4 und 5 auf. Am Ende des Armes 5 ist eine erfindungsgemäße Stanznietvorrichtung 200 in einer bevorzugten Ausführungsform angeordnet, welche hier nur schematisch gezeigt und nachfolgend noch detaillierter beschrieben wird.
  • Weiterhin ist eine Recheneinheit 80 gezeigt, bei der es sich beispielsweise um eine Steuereinheit der Stanznietvorrichtung 200 handelt. Die Recheneinheit 80 kann zudem auch als Steuereinheit für die gesamte Fertigungseinrichtung, d.h. neben der Stanznietvorrichtung insbesondere auch für die Ansteuerung der beweglichen Arme vorgesehen sein. Weiterhin sind Anzeigemittel 90, beispielsweise ein Display, vorgesehen, auf denen beispielsweise aktuelle Betriebsparameter der Stanznietvorrichtung angezeigt werden können. Es kann sich bei dem Element 90 auch um ein kombiniertes Anzeige-/Eingabemittel, z.B. einen Touchscreen, handeln.
  • In Figur 2 ist schematisch eine nicht erfindungsgemäße Stanznietvorrichtung 10 dargestellt, an der eine Problematik erläutert werden soll, die mit der vorliegenden Erfindung gelöst wird. Die Stanznietvorrichtung 10 weist einen Rahmen 60 auf, der vorzugsweise in Form eines C-Rahmens oder C-Bügels vorliegt, an welchem die einzelnen Komponenten bei einer Stanznietvorrichtung in der Regel angeordnet sind, um die gewünschte Position zueinander einnehmen zu können. Über den Rahmen 60 kann die Stanznietvorrichtung 10 beispielsweise an einem Arm wie in Figur 1 gezeigt befestigt sein.
  • Die Stanznietvorrichtung 10 weist einen Stempel (bzw. eine Sonotrode) 15 auf, beispielhaft mit einem runden Querschnitt. Der Stempel 15 ist von einem (hülsenförmigen) Niederhalter 16 radial umgeben und relativ zu diesem in Längsrichtung beweglich angeordnet. Der Niederhalter ist hierbei vorzugsweise an einem sog. Nullamplitudendurchgang des Stempels, d.h. einer Position des Stempels, an der Schwingungsamplituden Null oder zumindest möglichst gering sind, mittels einer Feder befestigt. Insbesondere ist der Stempel 15 mit einem Antrieb 50 gekoppelt, der dazu dient, eine zum Eindrücken des Niets 20 in die beiden Bauteile 11, 12 benötigte Kraft F in Fügerichtung R aufzubringen. Der Antrieb 50 kann beispielsweise mittels der Recheneinheit 80 gesteuert werden. Dabei kann die Kraft F beispielsweise über einen Sollwert vorgegeben und als Istwert erfasst werden.
  • Ebenfalls ist der Niederhalter 16 dazu eingerichtet, gegen die Oberfläche des dem Stempel 15 zugewandten Bauteils 11 mit einer Niederhaltekraft zu drücken. Hierzu kann beispielsweise ein eigener Antrieb vorgesehen sein. Jedoch kann der Niederhalter 16 auch (wie hier gezeigt) an den Antrieb 50 des Stempels 15 oder an den Stempel 15 selbst gekoppelt sein, beispielsweise mittels einer Feder.
  • Auf der dem Stempel 15 und dem Niederhalter 16 gegenüberliegenden Seite der beiden Bauteile 11, 12 ist ein Gegenhalter in Form einer Matrize 18 angeordnet. Der Stempel 15 und die Matrize 18 sind in vertikaler Richtung, wie auch der Niederhalter 16, angeordnet und relativ zueinander bewegbar, wobei die Matrize 18 selbst in der Regel nicht beweglich ist. Der Niederhalter 16 und die Matrize 18 dienen dazu, die beiden Bauteile 11, 12 zwischen dem Niederhalter 16 und der Matrize 18 während der Bearbeitung durch den Stempel 15 einzuspannen bzw. zusammenzudrücken.
  • Der Niet 20, hier beispielhaft ein Halbhohlstanzniet, besteht bevorzugt aus einem gegenüber den Werkstoffen der beiden Bauteile 11, 12 härteren Material, zumindest im Bereich eines Nietschafts. Die dem Bauteil 11 abgewandte, ebene Oberseite des Niets 20 ist in Wirkverbindung mit dem Stempel 15 angeordnet, der an der Oberseite des Niets 20 flächig anliegt.
  • Der Stempel 15 ist mit einem (elektro-mechanischen) Schwingungskonverter 30, beispielsweise einem Piezokonverter, wirkverbunden. Der Schwingungskonverter 30 wiederum ist mit einem (elektrischen) Schwingungserzeuger 32, beispielsweise einem Ultraschallgenerator, verbunden. Auf diese Weise können Schwingungen bzw. Vibrationen erzeugt und auf den Stempel 15, und damit den Niet 20 eingekoppelt werden. Insbesondere werden mittels des Schwingungserzeugers 32 und des Schwingungskonverters 30 Ultraschallschwingungen mit einer Schwingweite (Abstand zwischen maximaler positiver und negativer Amplitude einer Schwingung) zwischen 10 µm und 110 µm (entspricht einer Amplitude von 5 µm bis 55 µm) und einer Frequenz zwischen 15 kHz und 35 kHz oder ggf. auch höher erzeugt. Der Schwingungserzeuger 32 ist an die Recheneinheit 80 angebunden (oder kann auch Teil der Recheneinheit sein) und kann von dieser angesteuert werden.
  • Bei dem Antrieb 50 kann es sich beispielsweise um einen Antrieb mit Kugel-, Rollen-, Planetengewinde- oder Gewinderollenschraubtrieb oder dergleichen handeln, der dazu geeignet ist, eine Kraft F zum Eindrücken des Niets 20 in die Bauteile 11, 12 aufzubringen. An dem Antrieb 50 ist eine Haltevorrichtung 35, beispielsweise in Form eines Rahmens oder eines Gestells, angebracht. An der Haltevorrichtung 35 ist ein Schwingsystem 39, das vorliegend den Schwingungskonverter 30, einen Booster 31 sowie den Stempel bzw. die Sonotrode 15 sowie den Niederhalter 16 umfasst, angeordnet.
  • Beim Betrieb der Stanznietvorrichtung 10, also beim sog. Ultraschall-Stanznieten, kann es durch die hochfrequente Längsschwingung des Fügewerkzeuges, d.h. Sonotrode 15, Booster 31 und Schwingungskonverter 30, zu einem seitlichen Abwandern bzw. Abknicken oder Ausweichen des Fügewerkzeugs kommen. Dies wird durch hohe seitliche Querkräfte hervorgerufen, welche durch eine hämmernde bzw. schlagende Bewegung des Stempels 15 auf den Niet 20 oder durch eine schwingende Bewegung des Stempels 15 in Dauerkontakt mit dem Niet 20 jeweils in Kombination mit geringsten Unebenheiten (wie beispielsweise Bauteilradien, unebene Bleche, unzureichend eingestellte bzw. gefertigte Werkzeugfluchtung, Aufbiegung des Bügels bzw. Rahmens, unsymmetrischer Aufbau des Bügels und dergleichen auftreten können) und kann die Werkzeugstandzeit und die Fügepunktqualität negativ beeinträchtigen.
  • Solche Querkräfte sind in Figur 2 beispielhaft mit FQ bezeichnet. Zudem ist in Figur 2 das Verkippen des Fügewerkzeugs bzw. des gesamten Schwingsystems 39 auch graphisch dargestellt. Derartige Querkräfte sind bei bisherigen, konventionellen Stanznietvorrichtungen (ohne Schwingungs- bzw. Ultraschallunterstützung) in diesen Größenordnungen nicht bekannt, da das Fügewerkzeug nicht mit hochfrequenten Längsschwingungen beaufschlagt wird.
  • In den Figuren 3 bis 9 sind schematisch erfindungsgemäße Stanznietvorrichtungen in verschiedenen bevorzugten Ausführungsformen dargestellt. Die grundlegenden Komponenten dieser Stanznietvorrichtungen entsprechen den Komponenten der Stanznietvorrichtung 10 gemäß Figur 2 und sind insoweit auch mit den gleichen Bezugszeichen versehen. Insofern sei auch auf die dortige Beschreibung verwiesen. Der Übersichtlichkeit sind jedoch teils einzelne Komponenten nicht dargestellt.
  • In Figur 3 ist schematisch eine erfindungsgemäße Stanznietvorrichtung 200 in einer bevorzugten Ausführungsform dargestellt. Die Stanznietvorrichtung 200 weist ein Schwingsystem 39 mit Schwingungskonverter 30, Booster 31 und Sonotrode bzw. Stempel 15 auf. Das Schwingsystem 39 ist an einem Tragarm 70 befestigt. Dies kann entweder direkt oder beispielsweise auch durch eine geeignete Halterung erfolgen, wie in Figur 2 gezeigt. Eine solche Halterung würde dann entsprechend seitlich am Tragarm 70 und nicht am Antrieb befestigt.
  • Der Tragarm 70 erstreckt sich hier senkrecht zur Fügerichtung R und ist an einem Schlitten 71 befestigt. Dieser Schlitten 71 wiederum ist in einer als Führungsschiene ausgebildeten Führungseinrichtung 75 in Fügerichtung R führbar angeordnet. Hierzu sind beispielhaft Rollenlager vorgesehen. Die Führungseinrichtung bzw. die Führungsschiene 75 kann hierbei Teil des Rahmens 60 sein oder aber auch als eigenständige Komponente gefertigt und dann geeignet am Rahmen befestigt sein. Auf diese Weise ist der Tragarm 70 in der Führungseinrichtung 75 und in Fügerichtung R führbar.
  • Der Antrieb 50 ist an dem Rahmen 60 angeordnet und mittels eines Hebels 51 mit dem Schlitten 71 und damit mit dem Tragarm 70 gekoppelt. Hierzu kann der Hebel 51 beispielsweise mittels eines Gelenks an einem Teil der Führungseinrichtung 75 drehbar befestigt sein. Entsprechendes gilt für die Kopplung an dem Schlitten 71. Der Antrieb 50 kann im Übrigen, d.h. insbesondere hinsichtlich seiner Funktionsweise, wie in Bezug auf Figur 2 erläutert ausgebildet sein.
  • Auf diese Weise ist das Schwingsystem 39 also besonders stabil in Fügerichtung R führbar und bewegbar. Insbesondere können etwaige, aus Querkräften resultierende Verkippungen oder Aufbiegungen vermieden oder zumindest reduziert werden. Dies liegt zum einen in der besonders stabil ausgestaltbaren Führungseinrichtung 75 und zum anderen in dem besonders steif ausgestaltbaren Tragarm 70 begründet, wie dies eingangs bereits näher erläutert wurde.
  • In Figur 4 ist schematisch eine erfindungsgemäße Stanznietvorrichtung 300 in einer weiteren bevorzugten Ausführungsform dargestellt. Bei der Stanznietvorrichtung 300 ist der Hebel 51 zwar ebenfalls, wie bei der Stanznietvorrichtung 200 gemäß Figur 3, an der Führungseinrichtung 75 mittels eines Gelenks befestigt, jedoch an einer anderen Stelle.
  • Zudem ist der Hebel 51 hier nicht mittels eines Gelenks direkt an den Schlitten 71 gekoppelt, sondern über ein in dem Hebel 51 bzw. dessen Hebelarm vorgesehenes Langloch 52 zusammen mit einem an dem Schlitten 71 vorgesehen Führungszapfen 72. Auf diese Weise wird eine sog. Kulissenführung gebildet. Der Antrieb 50 kann im Vergleich zu der Ausführungsform gemäß Figur 2 beispielsweise kürzer ausgebildet oder an anderer Position angeordnet werden.
  • In Figur 5 ist schematisch eine erfindungsgemäße Stanznietvorrichtung 400 in einer weiteren bevorzugten Ausführungsform dargestellt. Bei der Stanznietvorrichtung 400 sind zwei Führungseinrichtungen 75 und 76 am Rahmen vorgesehen, mit jeweils einem Schlitten 71 bzw. 73. Der Tragarm 70 ist dabei an beiden Schlitten 71 und 73 befestigt, sodass gegenüber einer Verwendung nur einer Führungseinrichtung eine noch höhere Stabilität zur Reduzierung bzw. Vermeidung einer etwaigen Verkippung erreicht wird.
  • Der Antrieb 50 ist hierbei direkt zwischen dem Rahmen 60 und dem Tragarm 70 angeordnet. Damit gibt es, anders als bei der Verwendung eines Hebels gemäß der Ausführungsformen, wie sie in den Figuren 3 und 4 gezeigt sind, keine Übersetzung. Es versteht sich jedoch, dass der Antrieb 50 auch hier mittels eines Hebels angebunden werden kann, wie dies beispielsweise in den Figuren 3 oder 4 gezeigt ist. Hierbei ist es dann ausreichend, wenn der Hebel nur an einen der Schlitten gekoppelt wird.
  • In Figur 6 ist schematisch eine erfindungsgemäße Stanznietvorrichtung 500 in einer weiteren bevorzugten Ausführungsform dargestellt. Der Antrieb 50 ist hierbei in die Führungseinrichtung 75 integriert und kann dazu insbesondere als Linearantrieb ausgebildet sein. Damit kann ein kompakterer Aufbau als mit extern angeordnetem Antrieb erreicht werden.
  • In Figur 7 ist schematisch eine erfindungsgemäße Stanznietvorrichtung 600 in einer weiteren bevorzugten Ausführungsform dargestellt, wie sie auch in Figur 6 gezeigt ist. Der Übersichtlichkeit halber ist hier jedoch nur ein Teil der Stanznietvorrichtung gezeigt.
  • In dem Tragarm 70 ist, an einem entgegen der Fügerichtung R gelegenen Bereich, ein Ausgleichselement 85 vorgesehen. Bei diesem Ausgleichselement 85 kann es sich beispielsweise um ein Piezoelement handeln, das durch Anlegen einer geeigneten Spannung in einer Richtung senkrecht zur Fügerichtung R - und damit insbesondere in Richtung der Ausrichtung bzw. Haupterstreckungsrichtung des Tragarms 70 - in seiner Länge verändert werden kann.
  • Damit ist es möglich, aktiv eine Biegung des Tragarms 70 und damit auch der Orientierung des Schwingsystems 39 herbeizuführen. Eine Ansteuerung des Ausgleichselements 85 kann beispielsweise mittels der Recheneinheit 80 erfolgen.
  • Wenngleich im gezeigten Ausführungsbeispiel ein Linearantrieb als Antrieb 50 gezeigt ist, versteht es sich, dass das Ausgleichselement, insbesondere wenn es in dem Tragarm angeordnet ist, auch mit anderen Arten von Antrieben, wie sie beispielsweise in den Figuren 3 bis 5 gezeigt sind, verwendet werden kann.
  • In Figur 8 ist schematisch eine erfindungsgemäße Stanznietvorrichtung 700 in einer weiteren bevorzugten Ausführungsform dargestellt, wie sie auch in Figur 6 gezeigt ist. Der Übersichtlichkeit halber ist hier jedoch nur ein Teil der Stanznietvorrichtung gezeigt, nämlich insbesondere ohne den Gegenhalter, den Niet und die zu verbindenden Bauteile. Hier ist ein als Keilplatte ausgebildetes Ausgleichselement 86 im Tragarm 70 vorgesehen .Eine solche Keilplatte kann beispielsweise nur einen Teil der Querschnittsfläche des Tragarms abdecken, sodass weiterhin eine hohe Stabilität des Tragarms gewährleistet ist.
  • Zudem ist eine Betätigungsvorrichtung 87 vorgesehen, mittels welcher die Keilplatte automatisiert, beispielsweise durch Ansteuerung der Recheneinheit 80, betätigt bzw. bewegt werden kann. Insbesondere kann die Keilplatte 86 hierzu gedreht und/oder translatorisch bewegt werden, um so die Orientierung des Schwingsystems 39 zu ändern.
  • Insbesondere kann die Betätigungsvorrichtung dazu eingerichtet sein, das Ausgleichselement derart zu betätigen, dass ein Winkel, der zwischen einer Bewegungs- und Kraftaufbringungsrichtung des Schwingsystems und einer Senkrechten zu einer Oberfläche der Bauteile eingeschlossen wird, betragsmäßig kleiner wird. Auf diese Weise können beispielsweise während des Stanznietvorgangs auftretenden Verkippungen bzw. Aufbiegungen ausgeglichen werden.
  • In Figur 9 ist schematisch eine erfindungsgemäße Stanznietvorrichtung 800 in einer weiteren bevorzugten Ausführungsform dargestellt. Die Stanznietvorrichtung 800 ist ähnlich der in Figur 2 gezeigten Stanznietvorrichtung aufgebaut, wobei jedoch das Schwingsystem 39 direkt, d.h. ohne Halterung, am Antrieb 50 angeordnet ist. Allerdings ist dabei zwischen dem Antrieb 50 und dem Schwingsystem 39 bzw. dem Schwingungskonverter 30 ein als Keilplatte 86 ausgebildetes Ausgleichselement angeordnet.
  • Diese Keilplatte kann wie die in Bezug auf Figur 8 erläuterte Keilplatte aufgebaut sein und verwendet werden. Insbesondere kann beispielsweise auch eine - hier nicht gezeigte - Betätigungsvorrichtung vorgesehen werden, um die Keilplatte, wie angedeutet, zu drehen und/oder translatorisch zu bewegen. Auch mit einer solchen Anordnung der Keilplatte können Verkippungen bzw. Aufbiegungen ausgeglichen werden.
  • Es versteht sich, dass die verschiedenen Ausgleichselemente auch kombiniert werden können, insbesondere auch mit den beschriebenen Varianten des Tragarms. Damit sind verschiedene Optionen gegeben, um - beispielsweise je nach Anwendungsfall - einen geeigneten Ausgleich zu auftretenden Verkippungen bzw. Aufbiegungen zu erreichen.

Claims (15)

  1. Stanznietvorrichtung (200, 300, 400, 500, 600, 700) zum Verbinden wenigstens zweier Bauteile (11, 12) mittels eines Niets (20), mit einem Stempel (15) und einem Gegenhalter (18), zwischen welchen die wenigstens zwei Bauteile (11, 12) und der Niet (20) anordenbar sind, mit einem Schwingsystem (39), aufweisend den Stempel (15) und einen Schwingungskonverter (30), der mit einem Schwingungserzeuger (32) derart gekoppelt oder koppelbar ist, dass das Schwingsystem (39)zum Schwingen anregbar ist, und mit einem Antrieb (50), mittels dessen das Schwingsystem (39) und damit der Stempel (15) mit einer Kraft (F) beaufschlagbar und in einer Fügerichtung (R) bewegbar sind, um einen zwischen dem Stempel (15) und einem dem Stempel zugewandten Bauteil (11) der wenigstens zwei Bauteile angeordneten Niet (20) mittels des Stempels (15) in die wenigstens zwei Bauteile (11, 12) einzudrücken, gekennzeichnet durch eine an einem Rahmen (60) der Stanznietvorrichtung angeordnete Führungseinrichtung (75), in der ein sich in einem Winkel von mehr als 0° und weniger als 180°, insbesondere mehr als 45° und weniger als 135°, insbesondere im Wesentlichen senkrecht zur Fügerichtung (R) erstreckender Tragarm (70) in Fügerichtung (R) führbar und mittels des Antriebs (50) bewegbar ist, wobei das Schwingsystem (39) an dem Tragarm (70) senkrecht zur Fügerichtung (R) gesehen von der Führungseinrichtung (75) beabstandet angeordnet ist.
  2. Stanznietvorrichtung (400, 600) nach Anspruch 1, wobei der Antrieb (50) an dem Rahmen (60) angeordnet und direkt an den Tragarm (70) angebunden ist.
  3. Stanznietvorrichtung (200, 300) nach Anspruch 1, wobei der Antrieb (50) an dem Rahmen angeordnet und mittels eines Hebels (51) an den Tragarm (70) gekoppelt ist.
  4. Stanznietvorrichtung (300) nach Anspruch 3, wobei der Hebel (51) mittels Kulissenführung mit dem Tragarm (70) gekoppelt ist.
  5. Stanznietvorrichtung (500, 600, 700) nach Anspruch 1, wobei der Antrieb (50) in die Führungseinrichtung (75) integriert ist, und insbesondere als Linearantrieb ausgebildet ist.
  6. Stanznietvorrichtung (200, 300, 400, 500, 600, 700) nach einem der vorstehenden Ansprüche, wobei der Tragarm (70) fest mit einem Schlitten (71), der in der Führungseinrichtung (75) führbar gelagert ist, verbunden ist.
  7. Stanznietvorrichtung (400) nach einem der vorstehenden Ansprüche, mit einer an dem Rahmen (60) der Stanznietvorrichtung senkrecht zur Fügerichtung (R) gesehen von der Führungseinrichtung (75) beabstandet angeordneten weiteren Führungseinrichtung (76), in der der Tragarm (70) in Fügerichtung führbar ist.
  8. Stanznietvorrichtung (200, 300, 400, 500, 600, 700) nach einem der vorstehenden Ansprüche, wobei der Tragarm (70) aus einem steiferen Material als der Rahmen (60) besteht.
  9. Stanznietvorrichtung (200, 300, 400, 500, 600, 700) nach einem der vorstehenden Ansprüche oder nach dem Oberbegriff des Anspruchs 1, wobei ein Ausgleichselement (85, 86) vorgesehen ist, das derart in der Stanznietvorrichtung angeordnet ist, dass sich bei einer Bewegung des Ausgleichselements eine Orientierung des Stempels und des Gegenhalters zueinander verändert.
  10. Stanznietvorrichtung (600, 700) nach Anspruch 9, wobei das Ausgleichselement (85) in dem Tragarm (70) oder in dem Rahmen angeordnet ist.
  11. Stanznietvorrichtung (800) nach Anspruch 9 oder 10, wobei das Schwingsystem (39) an dem Antrieb (50) angeordnet ist, und wobei das Ausgleichselement (86) zwischen dem Schwingsystem (39) und dem Antrieb (50) angeordnet ist.
  12. Stanznietvorrichtung (600) nach einem der Ansprüche 9 bis 11, wobei das Ausgleichselement (85) einen Aktor, insbesondere einen Piezo-Aktor, einen hydraulischen Aktor, einen mechanisch betätigbaren Aktor oder einen Hebelmechanismus, aufweist.
  13. Stanznietvorrichtung (700, 800) nach einem der Ansprüche 9 bis 12, wobei das Ausgleichselement (86) eine drehbar und/oder translatorisch bewegbare Keilplatte aufweist.
  14. Stanznietvorrichtung (700) nach einem der Ansprüche 9 bis 13, mit einer Betätigungsvorrichtung (87), die dazu eingerichtet ist, das Ausgleichselement (86) automatisiert zu betätigen.
  15. Stanznietvorrichtung (700) nach Anspruch 14, wobei die Betätigungsvorrichtung (87) dazu eingerichtet ist, das Ausgleichselement (86) derart zu betätigen, dass ein Winkel, der zwischen einer Bewegungs- und Kraftaufbringungsrichtung des Schwingsystems (39) und einer Senkrechten zu einer Oberfläche der Bauteile eingeschlossen wird, betragsmäßig kleiner wird.
EP19160692.0A 2018-04-12 2019-03-05 Stanznietvorrichtung Active EP3552729B1 (de)

Applications Claiming Priority (1)

Application Number Priority Date Filing Date Title
DE102018205526.2A DE102018205526A1 (de) 2018-04-12 2018-04-12 Stanznietvorrichtungen

Publications (2)

Publication Number Publication Date
EP3552729A1 true EP3552729A1 (de) 2019-10-16
EP3552729B1 EP3552729B1 (de) 2021-01-27

Family

ID=65686782

Family Applications (1)

Application Number Title Priority Date Filing Date
EP19160692.0A Active EP3552729B1 (de) 2018-04-12 2019-03-05 Stanznietvorrichtung

Country Status (2)

Country Link
EP (1) EP3552729B1 (de)
DE (1) DE102018205526A1 (de)

Cited By (2)

* Cited by examiner, † Cited by third party
Publication number Priority date Publication date Assignee Title
CN115582506A (zh) * 2022-08-23 2023-01-10 苏州宝卓智能科技有限公司 一种笔记本枢纽器多工位自动化铆压装置
CN120205740A (zh) * 2025-05-28 2025-06-27 江苏恒义工业技术有限公司 一种通用压铆工装及压铆装置

Families Citing this family (1)

* Cited by examiner, † Cited by third party
Publication number Priority date Publication date Assignee Title
DE102021120409A1 (de) 2021-08-05 2023-02-09 Tox Pressotechnik Gmbh & Co. Kg Vorrichtung zum Durchsetzfügen

Citations (7)

* Cited by examiner, † Cited by third party
Publication number Priority date Publication date Assignee Title
FR1128851A (fr) * 1955-05-25 1957-01-11 Kumag A G Machine à river
US3483611A (en) * 1966-08-12 1969-12-16 Cavitron Corp Methods and apparatus for assembling parts together by ultrasonic energy
DE19905527A1 (de) * 1999-02-10 2000-08-17 Boellhoff Gmbh Vorrichtung zum Fügen von Werkstücken aus duktilem Material
DE102008039872A1 (de) * 2008-08-27 2010-03-04 Robert Bosch Gmbh Widerstandsschweißanordnung
DE102012102309A1 (de) * 2012-03-19 2013-09-19 Tkr Spezialwerkzeuge Gmbh Nietbügel zum Setzen von Nieten
DE102014224596A1 (de) * 2014-12-02 2016-06-02 Robert Bosch Gmbh Stanznietzange mit Vibrationsunterstützung in X-Bauart
DE102015007295B3 (de) * 2015-06-10 2016-09-08 Audi Ag Setzvorrichtung

Family Cites Families (4)

* Cited by examiner, † Cited by third party
Publication number Priority date Publication date Assignee Title
GB0813883D0 (en) 2008-07-30 2008-09-03 Henrob Ltd Joining apparatus and method
DE102014203357B4 (de) 2014-02-25 2016-11-03 Henkel Ag & Co. Kgaa Darreichungseinheit für eine Masse
DE102014203757B4 (de) * 2014-02-28 2022-03-31 Robert Bosch Gmbh Verfahren zum Verbinden wenigstens zweier Bauteile im Stanznietverfahren, Vorrichtung zum Durchführung des Verfahrens, Fertigungseinrichtung und Verwendung des Verfahrens
DE102017205659A1 (de) * 2017-04-03 2018-10-04 Robert Bosch Gmbh Stanznietvorrichtung zum setzen eines stanzniets mit einer eine stempelkraft unterstützenden schwingung und verfahren zum stanznieten mit einer solchen stanznietvorrichtung

Patent Citations (7)

* Cited by examiner, † Cited by third party
Publication number Priority date Publication date Assignee Title
FR1128851A (fr) * 1955-05-25 1957-01-11 Kumag A G Machine à river
US3483611A (en) * 1966-08-12 1969-12-16 Cavitron Corp Methods and apparatus for assembling parts together by ultrasonic energy
DE19905527A1 (de) * 1999-02-10 2000-08-17 Boellhoff Gmbh Vorrichtung zum Fügen von Werkstücken aus duktilem Material
DE102008039872A1 (de) * 2008-08-27 2010-03-04 Robert Bosch Gmbh Widerstandsschweißanordnung
DE102012102309A1 (de) * 2012-03-19 2013-09-19 Tkr Spezialwerkzeuge Gmbh Nietbügel zum Setzen von Nieten
DE102014224596A1 (de) * 2014-12-02 2016-06-02 Robert Bosch Gmbh Stanznietzange mit Vibrationsunterstützung in X-Bauart
DE102015007295B3 (de) * 2015-06-10 2016-09-08 Audi Ag Setzvorrichtung

Cited By (2)

* Cited by examiner, † Cited by third party
Publication number Priority date Publication date Assignee Title
CN115582506A (zh) * 2022-08-23 2023-01-10 苏州宝卓智能科技有限公司 一种笔记本枢纽器多工位自动化铆压装置
CN120205740A (zh) * 2025-05-28 2025-06-27 江苏恒义工业技术有限公司 一种通用压铆工装及压铆装置

Also Published As

Publication number Publication date
EP3552729B1 (de) 2021-01-27
DE102018205526A1 (de) 2019-10-17

Similar Documents

Publication Publication Date Title
DE19905527B4 (de) Vorrichtung zum Fügen von Werkstücken aus duktilem Material
EP2146818B1 (de) Modularer werkzeughalter
EP0890397A1 (de) Vorrichtung und Verfahren zum mechanischen Fügen von Blechen, Profilen und/oder Mehrblechverbindungen
EP3505270B1 (de) Setzeinheit für eine stanznietvorrichtung, stanznietvorrichtung und verfahren zum herstellen einer solchen
DE102018111496B4 (de) Verfahren zum Rührreibschweißen
EP3552729B1 (de) Stanznietvorrichtung
EP3117923B1 (de) Verfahren zum verbinden wenigstens zweier bauteile mittels einer stanznietvorrichtung und fertigungseinrichtung
EP3120951B1 (de) Stanznietvorrichtung und fertigungsvorrichtung
DE102015007295B3 (de) Setzvorrichtung
EP3281721B1 (de) Verfahren zum verbinden wenigstens zweier bauteile mittels einer stanznietvorrichtung und fertigungseinrichtung
EP3381581B1 (de) Stanznietvorrichtung und verfahren zum betreiben einer stanznietvorrichtung
EP3552731B1 (de) Setzeinheit für eine stanznietvorrichtung und stanznietvorrichtung
DE102019107539A1 (de) Gestell für eine Bearbeitungsmaschine und Verfahren zum Bearbeiten eines Werkstücks mit derselben
DE102018205621A1 (de) Stanznietvorrichtung mit Zuführeinheit für Niete
EP3546084B1 (de) Verfahren zum verbinden wenigstens zweier bauteile mittels einer stanznietvorrichtung und stanznietvorrichtung
DE102018222841A1 (de) Setzeinheit für eine Stanznietvorrichtung, Stanznietvorrichtung und Verfahren zum Verbinden von Bauteilen
DE102017220816A1 (de) Fügevorrichtung und verfahren zum fügen mindestens eines bauteils unter verwendung einer x-zange
EP3552730B1 (de) Stanznietvorrichtung
DE102017213233A1 (de) Stanznietvorrichtung und Verfahren zum Verbinden von Bauteilen
DE102017220335A1 (de) Stanznietvorrichtung und verfahren zum setzen eines stanzniets mit einer eine stempelkraft unterstützenden schwingung
DE19819721A1 (de) Vorrichtung zum mechanischen Fügen von aufeinanderliegenden Fügeteilen
DE102017205659A1 (de) Stanznietvorrichtung zum setzen eines stanzniets mit einer eine stempelkraft unterstützenden schwingung und verfahren zum stanznieten mit einer solchen stanznietvorrichtung
DE102016214534A1 (de) Stanznietvorrichtung und Fertigungsvorrichtung
DE102018203720A1 (de) Stanznietvorrichtung
DE102018205101A1 (de) Verfahren zum Verbinden wenigstens zweier Bauteile mittels einer Stanznietvorrichtung und Stanznietvorrichtung

Legal Events

Date Code Title Description
PUAI Public reference made under article 153(3) epc to a published international application that has entered the european phase

Free format text: ORIGINAL CODE: 0009012

STAA Information on the status of an ep patent application or granted ep patent

Free format text: STATUS: THE APPLICATION HAS BEEN PUBLISHED

AK Designated contracting states

Kind code of ref document: A1

Designated state(s): AL AT BE BG CH CY CZ DE DK EE ES FI FR GB GR HR HU IE IS IT LI LT LU LV MC MK MT NL NO PL PT RO RS SE SI SK SM TR

AX Request for extension of the european patent

Extension state: BA ME

STAA Information on the status of an ep patent application or granted ep patent

Free format text: STATUS: REQUEST FOR EXAMINATION WAS MADE

RAP1 Party data changed (applicant data changed or rights of an application transferred)

Owner name: ROBERT BOSCH GMBH

17P Request for examination filed

Effective date: 20200416

RBV Designated contracting states (corrected)

Designated state(s): AL AT BE BG CH CY CZ DE DK EE ES FI FR GB GR HR HU IE IS IT LI LT LU LV MC MK MT NL NO PL PT RO RS SE SI SK SM TR

GRAP Despatch of communication of intention to grant a patent

Free format text: ORIGINAL CODE: EPIDOSNIGR1

STAA Information on the status of an ep patent application or granted ep patent

Free format text: STATUS: GRANT OF PATENT IS INTENDED

RIC1 Information provided on ipc code assigned before grant

Ipc: B21J 15/16 20060101ALI20200914BHEP

Ipc: B21J 15/12 20060101ALI20200914BHEP

Ipc: B21J 15/24 20060101ALI20200914BHEP

Ipc: B21J 15/02 20060101AFI20200914BHEP

INTG Intention to grant announced

Effective date: 20201019

GRAS Grant fee paid

Free format text: ORIGINAL CODE: EPIDOSNIGR3

GRAA (expected) grant

Free format text: ORIGINAL CODE: 0009210

STAA Information on the status of an ep patent application or granted ep patent

Free format text: STATUS: THE PATENT HAS BEEN GRANTED

AK Designated contracting states

Kind code of ref document: B1

Designated state(s): AL AT BE BG CH CY CZ DE DK EE ES FI FR GB GR HR HU IE IS IT LI LT LU LV MC MK MT NL NO PL PT RO RS SE SI SK SM TR

REG Reference to a national code

Ref country code: GB

Ref legal event code: FG4D

Free format text: NOT ENGLISH

REG Reference to a national code

Ref country code: CH

Ref legal event code: EP

REG Reference to a national code

Ref country code: AT

Ref legal event code: REF

Ref document number: 1357877

Country of ref document: AT

Kind code of ref document: T

Effective date: 20210215

REG Reference to a national code

Ref country code: IE

Ref legal event code: FG4D

Free format text: LANGUAGE OF EP DOCUMENT: GERMAN

REG Reference to a national code

Ref country code: DE

Ref legal event code: R096

Ref document number: 502019000750

Country of ref document: DE

REG Reference to a national code

Ref country code: NL

Ref legal event code: MP

Effective date: 20210127

REG Reference to a national code

Ref country code: LT

Ref legal event code: MG9D

PG25 Lapsed in a contracting state [announced via postgrant information from national office to epo]

Ref country code: LT

Free format text: LAPSE BECAUSE OF FAILURE TO SUBMIT A TRANSLATION OF THE DESCRIPTION OR TO PAY THE FEE WITHIN THE PRESCRIBED TIME-LIMIT

Effective date: 20210127

Ref country code: PT

Free format text: LAPSE BECAUSE OF FAILURE TO SUBMIT A TRANSLATION OF THE DESCRIPTION OR TO PAY THE FEE WITHIN THE PRESCRIBED TIME-LIMIT

Effective date: 20210527

Ref country code: NO

Free format text: LAPSE BECAUSE OF FAILURE TO SUBMIT A TRANSLATION OF THE DESCRIPTION OR TO PAY THE FEE WITHIN THE PRESCRIBED TIME-LIMIT

Effective date: 20210427

Ref country code: BG

Free format text: LAPSE BECAUSE OF FAILURE TO SUBMIT A TRANSLATION OF THE DESCRIPTION OR TO PAY THE FEE WITHIN THE PRESCRIBED TIME-LIMIT

Effective date: 20210427

Ref country code: FI

Free format text: LAPSE BECAUSE OF FAILURE TO SUBMIT A TRANSLATION OF THE DESCRIPTION OR TO PAY THE FEE WITHIN THE PRESCRIBED TIME-LIMIT

Effective date: 20210127

Ref country code: GR

Free format text: LAPSE BECAUSE OF FAILURE TO SUBMIT A TRANSLATION OF THE DESCRIPTION OR TO PAY THE FEE WITHIN THE PRESCRIBED TIME-LIMIT

Effective date: 20210428

Ref country code: HR

Free format text: LAPSE BECAUSE OF FAILURE TO SUBMIT A TRANSLATION OF THE DESCRIPTION OR TO PAY THE FEE WITHIN THE PRESCRIBED TIME-LIMIT

Effective date: 20210127

PG25 Lapsed in a contracting state [announced via postgrant information from national office to epo]

Ref country code: PL

Free format text: LAPSE BECAUSE OF FAILURE TO SUBMIT A TRANSLATION OF THE DESCRIPTION OR TO PAY THE FEE WITHIN THE PRESCRIBED TIME-LIMIT

Effective date: 20210127

Ref country code: RS

Free format text: LAPSE BECAUSE OF FAILURE TO SUBMIT A TRANSLATION OF THE DESCRIPTION OR TO PAY THE FEE WITHIN THE PRESCRIBED TIME-LIMIT

Effective date: 20210127

Ref country code: LV

Free format text: LAPSE BECAUSE OF FAILURE TO SUBMIT A TRANSLATION OF THE DESCRIPTION OR TO PAY THE FEE WITHIN THE PRESCRIBED TIME-LIMIT

Effective date: 20210127

Ref country code: SE

Free format text: LAPSE BECAUSE OF FAILURE TO SUBMIT A TRANSLATION OF THE DESCRIPTION OR TO PAY THE FEE WITHIN THE PRESCRIBED TIME-LIMIT

Effective date: 20210127

PG25 Lapsed in a contracting state [announced via postgrant information from national office to epo]

Ref country code: IS

Free format text: LAPSE BECAUSE OF FAILURE TO SUBMIT A TRANSLATION OF THE DESCRIPTION OR TO PAY THE FEE WITHIN THE PRESCRIBED TIME-LIMIT

Effective date: 20210527

REG Reference to a national code

Ref country code: DE

Ref legal event code: R097

Ref document number: 502019000750

Country of ref document: DE

PG25 Lapsed in a contracting state [announced via postgrant information from national office to epo]

Ref country code: SM

Free format text: LAPSE BECAUSE OF FAILURE TO SUBMIT A TRANSLATION OF THE DESCRIPTION OR TO PAY THE FEE WITHIN THE PRESCRIBED TIME-LIMIT

Effective date: 20210127

Ref country code: EE

Free format text: LAPSE BECAUSE OF FAILURE TO SUBMIT A TRANSLATION OF THE DESCRIPTION OR TO PAY THE FEE WITHIN THE PRESCRIBED TIME-LIMIT

Effective date: 20210127

Ref country code: CZ

Free format text: LAPSE BECAUSE OF FAILURE TO SUBMIT A TRANSLATION OF THE DESCRIPTION OR TO PAY THE FEE WITHIN THE PRESCRIBED TIME-LIMIT

Effective date: 20210127

Ref country code: MC

Free format text: LAPSE BECAUSE OF FAILURE TO SUBMIT A TRANSLATION OF THE DESCRIPTION OR TO PAY THE FEE WITHIN THE PRESCRIBED TIME-LIMIT

Effective date: 20210127

PG25 Lapsed in a contracting state [announced via postgrant information from national office to epo]

Ref country code: DK

Free format text: LAPSE BECAUSE OF FAILURE TO SUBMIT A TRANSLATION OF THE DESCRIPTION OR TO PAY THE FEE WITHIN THE PRESCRIBED TIME-LIMIT

Effective date: 20210127

Ref country code: SK

Free format text: LAPSE BECAUSE OF FAILURE TO SUBMIT A TRANSLATION OF THE DESCRIPTION OR TO PAY THE FEE WITHIN THE PRESCRIBED TIME-LIMIT

Effective date: 20210127

Ref country code: RO

Free format text: LAPSE BECAUSE OF FAILURE TO SUBMIT A TRANSLATION OF THE DESCRIPTION OR TO PAY THE FEE WITHIN THE PRESCRIBED TIME-LIMIT

Effective date: 20210127

PLBE No opposition filed within time limit

Free format text: ORIGINAL CODE: 0009261

STAA Information on the status of an ep patent application or granted ep patent

Free format text: STATUS: NO OPPOSITION FILED WITHIN TIME LIMIT

REG Reference to a national code

Ref country code: BE

Ref legal event code: MM

Effective date: 20210331

26N No opposition filed

Effective date: 20211028

PG25 Lapsed in a contracting state [announced via postgrant information from national office to epo]

Ref country code: ES

Free format text: LAPSE BECAUSE OF FAILURE TO SUBMIT A TRANSLATION OF THE DESCRIPTION OR TO PAY THE FEE WITHIN THE PRESCRIBED TIME-LIMIT

Effective date: 20210127

Ref country code: AL

Free format text: LAPSE BECAUSE OF FAILURE TO SUBMIT A TRANSLATION OF THE DESCRIPTION OR TO PAY THE FEE WITHIN THE PRESCRIBED TIME-LIMIT

Effective date: 20210127

Ref country code: IE

Free format text: LAPSE BECAUSE OF NON-PAYMENT OF DUE FEES

Effective date: 20210305

Ref country code: LU

Free format text: LAPSE BECAUSE OF NON-PAYMENT OF DUE FEES

Effective date: 20210305

Ref country code: FR

Free format text: LAPSE BECAUSE OF NON-PAYMENT OF DUE FEES

Effective date: 20210327

PG25 Lapsed in a contracting state [announced via postgrant information from national office to epo]

Ref country code: SI

Free format text: LAPSE BECAUSE OF FAILURE TO SUBMIT A TRANSLATION OF THE DESCRIPTION OR TO PAY THE FEE WITHIN THE PRESCRIBED TIME-LIMIT

Effective date: 20210127

PG25 Lapsed in a contracting state [announced via postgrant information from national office to epo]

Ref country code: IT

Free format text: LAPSE BECAUSE OF FAILURE TO SUBMIT A TRANSLATION OF THE DESCRIPTION OR TO PAY THE FEE WITHIN THE PRESCRIBED TIME-LIMIT

Effective date: 20210127

PG25 Lapsed in a contracting state [announced via postgrant information from national office to epo]

Ref country code: IS

Free format text: LAPSE BECAUSE OF FAILURE TO SUBMIT A TRANSLATION OF THE DESCRIPTION OR TO PAY THE FEE WITHIN THE PRESCRIBED TIME-LIMIT

Effective date: 20210527

PG25 Lapsed in a contracting state [announced via postgrant information from national office to epo]

Ref country code: BE

Free format text: LAPSE BECAUSE OF NON-PAYMENT OF DUE FEES

Effective date: 20210331

REG Reference to a national code

Ref country code: CH

Ref legal event code: PL

PG25 Lapsed in a contracting state [announced via postgrant information from national office to epo]

Ref country code: LI

Free format text: LAPSE BECAUSE OF NON-PAYMENT OF DUE FEES

Effective date: 20220331

Ref country code: CH

Free format text: LAPSE BECAUSE OF NON-PAYMENT OF DUE FEES

Effective date: 20220331

PG25 Lapsed in a contracting state [announced via postgrant information from national office to epo]

Ref country code: NL

Free format text: LAPSE BECAUSE OF NON-PAYMENT OF DUE FEES

Effective date: 20210127

Ref country code: CY

Free format text: LAPSE BECAUSE OF FAILURE TO SUBMIT A TRANSLATION OF THE DESCRIPTION OR TO PAY THE FEE WITHIN THE PRESCRIBED TIME-LIMIT

Effective date: 20210127

PG25 Lapsed in a contracting state [announced via postgrant information from national office to epo]

Ref country code: HU

Free format text: LAPSE BECAUSE OF FAILURE TO SUBMIT A TRANSLATION OF THE DESCRIPTION OR TO PAY THE FEE WITHIN THE PRESCRIBED TIME-LIMIT; INVALID AB INITIO

Effective date: 20190305

GBPC Gb: european patent ceased through non-payment of renewal fee

Effective date: 20230305

PG25 Lapsed in a contracting state [announced via postgrant information from national office to epo]

Ref country code: GB

Free format text: LAPSE BECAUSE OF NON-PAYMENT OF DUE FEES

Effective date: 20230305

PG25 Lapsed in a contracting state [announced via postgrant information from national office to epo]

Ref country code: GB

Free format text: LAPSE BECAUSE OF NON-PAYMENT OF DUE FEES

Effective date: 20230305

PG25 Lapsed in a contracting state [announced via postgrant information from national office to epo]

Ref country code: MK

Free format text: LAPSE BECAUSE OF FAILURE TO SUBMIT A TRANSLATION OF THE DESCRIPTION OR TO PAY THE FEE WITHIN THE PRESCRIBED TIME-LIMIT

Effective date: 20210127

PG25 Lapsed in a contracting state [announced via postgrant information from national office to epo]

Ref country code: TR

Free format text: LAPSE BECAUSE OF FAILURE TO SUBMIT A TRANSLATION OF THE DESCRIPTION OR TO PAY THE FEE WITHIN THE PRESCRIBED TIME-LIMIT

Effective date: 20210127

PG25 Lapsed in a contracting state [announced via postgrant information from national office to epo]

Ref country code: MT

Free format text: LAPSE BECAUSE OF FAILURE TO SUBMIT A TRANSLATION OF THE DESCRIPTION OR TO PAY THE FEE WITHIN THE PRESCRIBED TIME-LIMIT

Effective date: 20210127

REG Reference to a national code

Ref country code: AT

Ref legal event code: MM01

Ref document number: 1357877

Country of ref document: AT

Kind code of ref document: T

Effective date: 20240305

PGFP Annual fee paid to national office [announced via postgrant information from national office to epo]

Ref country code: DE

Payment date: 20250522

Year of fee payment: 7

PG25 Lapsed in a contracting state [announced via postgrant information from national office to epo]

Ref country code: AT

Free format text: LAPSE BECAUSE OF NON-PAYMENT OF DUE FEES

Effective date: 20240305

PGFP Annual fee paid to national office [announced via postgrant information from national office to epo]

Ref country code: AT

Payment date: 20260410

Year of fee payment: 5