EP3552729B1 - Stanznietvorrichtung - Google Patents

Stanznietvorrichtung Download PDF

Info

Publication number
EP3552729B1
EP3552729B1 EP19160692.0A EP19160692A EP3552729B1 EP 3552729 B1 EP3552729 B1 EP 3552729B1 EP 19160692 A EP19160692 A EP 19160692A EP 3552729 B1 EP3552729 B1 EP 3552729B1
Authority
EP
European Patent Office
Prior art keywords
punch
riveting device
punch riveting
support arm
drive
Prior art date
Legal status (The legal status is an assumption and is not a legal conclusion. Google has not performed a legal analysis and makes no representation as to the accuracy of the status listed.)
Active
Application number
EP19160692.0A
Other languages
English (en)
French (fr)
Other versions
EP3552729A1 (de
Inventor
Reiner Ramsayer
Current Assignee (The listed assignees may be inaccurate. Google has not performed a legal analysis and makes no representation or warranty as to the accuracy of the list.)
Robert Bosch GmbH
Original Assignee
Robert Bosch GmbH
Priority date (The priority date is an assumption and is not a legal conclusion. Google has not performed a legal analysis and makes no representation as to the accuracy of the date listed.)
Filing date
Publication date
Application filed by Robert Bosch GmbH filed Critical Robert Bosch GmbH
Publication of EP3552729A1 publication Critical patent/EP3552729A1/de
Application granted granted Critical
Publication of EP3552729B1 publication Critical patent/EP3552729B1/de
Active legal-status Critical Current
Anticipated expiration legal-status Critical

Links

Images

Classifications

    • BPERFORMING OPERATIONS; TRANSPORTING
    • B21MECHANICAL METAL-WORKING WITHOUT ESSENTIALLY REMOVING MATERIAL; PUNCHING METAL
    • B21JFORGING; HAMMERING; PRESSING METAL; RIVETING; FORGE FURNACES
    • B21J15/00Riveting
    • B21J15/02Riveting procedures
    • B21J15/025Setting self-piercing rivets
    • BPERFORMING OPERATIONS; TRANSPORTING
    • B21MECHANICAL METAL-WORKING WITHOUT ESSENTIALLY REMOVING MATERIAL; PUNCHING METAL
    • B21JFORGING; HAMMERING; PRESSING METAL; RIVETING; FORGE FURNACES
    • B21J15/00Riveting
    • B21J15/10Riveting machines
    • B21J15/12Riveting machines with tools or tool parts having a movement additional to the feed movement, e.g. spin
    • BPERFORMING OPERATIONS; TRANSPORTING
    • B21MECHANICAL METAL-WORKING WITHOUT ESSENTIALLY REMOVING MATERIAL; PUNCHING METAL
    • B21JFORGING; HAMMERING; PRESSING METAL; RIVETING; FORGE FURNACES
    • B21J15/00Riveting
    • B21J15/10Riveting machines
    • B21J15/16Drives for riveting machines; Transmission means therefor

Definitions

  • the drive is arranged on the frame and coupled to the support arm or possibly the carriage by means of a lever.
  • a lever can in particular be coupled between a pivot point at which the lever is rotatably mounted on the frame and a point of application of the drive on the lever with the support arm or possibly via the slide. It is also possible to arrange the drive in a different position on the frame.
  • a further guide device is provided on the punch riveting device, which is arranged on the frame of the punch riveting device and is spaced from the guide device when viewed perpendicular to the joining direction and in which the support arm can be guided in the joining direction. So there are two guide devices by means of which the support arm is guided, whereby an even higher torsional strength is achieved becomes.
  • the drive can then be used as previously explained. A connection is then only necessary on one of the sleds, for example.
  • a punch riveting device 200 according to the invention is shown schematically in a preferred embodiment.
  • the punch riveting device 200 has a vibration system 39 with a vibration converter 30, booster 31 and sonotrode or punch 15.
  • the oscillating system 39 is attached to a support arm 70. This can be done either directly or, for example, by means of a suitable holder, as in FIG Figure 2 shown. Such a holder would then be attached to the side of the support arm 70 and not to the drive.

Landscapes

  • Engineering & Computer Science (AREA)
  • Mechanical Engineering (AREA)
  • Presses And Accessory Devices Thereof (AREA)

Description

  • Die vorliegende Erfindung betrifft Stanznietvorrichtungen mit einem Schwingsystem, insbesondere sog. Ultraschallstanznietvorrichtungen.
  • Stand der Technik
  • Verfahren und Vorrichtungen zum Stanznieten dienen zum Verbinden wenigstens zweier in einem Verbindungsbereich insbesondere eben ausgebildeter Bauteile. Ein Stanznietverfahren zeichnet sich dadurch aus, dass ein Vorlochen der miteinander zu verbindenden Bauteile nicht erforderlich ist. Vielmehr wird ein Niet mittels eines Stempels oder eines Stempelwerkzeugs in die wenigstens zwei Bauteile eingedrückt, wobei durch einen entsprechend geformten Gegenhalter, beispielsweise in Form einer Matrize, der mit dem Stempelwerkzeug zusammenwirkt, sichergestellt ist, dass der Niet sich in einer bestimmten Art und Weise innerhalb der miteinander zu verbindenden Bauteile verformt, um eine kraft- und formschlüssige Verbindung zwischen den Bauteilen herzustellen und gleichzeitig ein Durchdringen des dem Niet abgewandten Bauteils zu vermeiden.
  • Weiterhin sind beispielsweise aus der EP 2 318 161 B1 , der DE 10 2014 203 357 A1 , der DE 199 05 527 A1 , oder der DE 199 05 527 A1 , welche die Basis für den Oberbegriff des Anspruchs 1 bildet, sog. Ultraschall-Stanznietverfahren bzw. - vorrichtungen bekannt, bei denen ein Schwingungserzeuger, wie beispielsweise ein Ultraschall-Generator verwendet wird, um ein oder mehrere Komponenten beim Verbinden der Bauteile in Schwingung zu versetzen. Durch diese Schwingung wird beispielsweise die aufzuwendende Kraft zum Eindrücken des Niets reduziert. Eine Nietmaschine ist zudem aus der US 3 483 611 A bekannt, eine manuell zu betätigende Nietmaschine aus der FR 1 128 851 A
  • Offenbarung der Erfindung
  • Erfindungsgemäß werden Stanznietvorrichtungen mit den Merkmalen des Patentanspruchs 1 vorgeschlagen. Vorteilhafte Ausgestaltungen sind Gegenstand der Unteransprüche sowie der nachfolgenden Beschreibung.
  • Die Erfindung geht aus von einer Stanznietvorrichtung zum Verbinden wenigstens zweier Bauteile mittels eines Niets, mit einem Stempel und einem Gegenhalter, zwischen welchen die wenigstens zwei Bauteile und der Niet anordenbar sind. Dabei weist die Stanznietvorrichtung ein Schwingsystem auf, welches wiederum den Stempel und einen Schwingungskonverter aufweist, der mit einem Schwingungserzeuger derart gekoppelt oder koppelbar ist, dass das Schwingsystem zum Schwingen anregbar ist. Der Schwingungskonverter kann beispielsweise als elektro-mechanischer Konverter, wie z.B. Piezo-Konverter ausgebildet sein und direkt oder indirekt über einen sog. Booster (bzw. Amplitudenverstärker) mit dem Stempel, der dann auch als Sontrode dient, verbunden bzw. gekoppelt sein. Bei dem Schwingungserzeuger kann es sich insbesondere um einen Frequenz- bzw. Schallgenerator, insbesondere um einen Ultraschallgenerator, jeweils bevorzugt auch in Form eines Funktionsgenerators handeln, der den Schwingungskonverter mit einem geeigneten Signal versorgt, sodass dieser entsprechend zum Schwingen angeregt wird.
  • Die Stanznietvorrichtung weist weiterhin einen Antrieb auf, mittels dessen das Schwingsystem und damit der Stempel mit einer Kraft beaufschlagbar und in einer Fügerichtung bewegbar sind, um einen zwischen dem Stempel und einem dem Stempel zugewandten Bauteil der wenigstens zwei Bauteile angeordneten Niet mittels des Stempels in die wenigstens zwei Bauteile einzudrücken.
  • Problematisch bei bekannten Stanznietvorrichtungen mit Schwingungseinkopplung kann sein, dass unerwünschte Kippmomente auftreten. Die gilt besonders dann, wenn der Antrieb und das Schwingsystem in Fügerichtung gesehen in Reihe bzw. hintereinander angeordnet sind. Jedoch kann dies ebenso auftreten, wenn der Antrieb und das Schwingsystem zwar parallel oder zumindest in Fügerichtung gesehen überlappend angeordnet sind, der Antrieb jedoch regulär am Rahmen der Stanznietvorrichtung angebracht ist.
  • Solche Kippmomente verursachen eine verstärkte Aufbiegung des gesamten Systems bzw. insbesondere des Rahmens der Stanznietvorrichtung, was dazu führt, dass die durch den Antrieb und das Schwingsystem erzeugten Kräfte bzw. Schwingungen nicht mehr senkrecht auf die Oberflächen der zu verbindenden Bauteile wirken. Dies kann zu unerwünschten Effekten im Fügeprozess führen und insbesondere die Symmetrie der erzeugten Nietverbindung negativ beeinflussen. Entsprechend wird auch die Verbindungsfestigkeit negativ beeinflusst.
  • Gemäß einem ersten Aspekt der Erfindung ist eine an einem Rahmen der Stanznietvorrichtung angeordnete Führungseinrichtung vorgesehen, in der ein Tragarm, der sich in einem Winkel von mehr als 0° und weniger als 180°, insbesondere mehr als 45° und weniger als 135°, insbesondere im Wesentlichen 90° zur Fügerichtung erstreckt, in Fügerichtung führbar und mittels des Antriebs bewegbar ist, wobei das Schwingsystem an dem Tragarm senkrecht zur Fügerichtung von der Führungseinrichtung beabstandet angeordnet ist. Der Tragarm kann dabei insbesondere fest mit einem Schlitten, der in der Führungseinrichtung führbar gelagert ist, verbunden sein. In der Führungseinrichtung, die selbst beispielsweise in Form einer oder mehrerer Führungsschienen vorliegen kann, können dann auch beispielsweise noch geeignete Lager wie Rollen- Kugel- oder Gleitlager vorgesehen sein. Ebenso können solche Lager an dem Schlitten vorgesehen sein.
  • Die erwähnten Nachteile werden auf diese Weise vermieden oder zumindest reduziert, da der verwendete Tragarm zum einen besonders steif bzw. verwindungsfest ausgebildet werden kann, und zum anderen dieser Tragarm zudem besonders stabil und geradlinig in der Führungseinrichtung geführt werden kann. Dies wird insbesondere deswegen erreicht, da bei der vorgeschlagenen Stanznietvorrichtung das Schwingsystem nicht mehr über den Antrieb an dem Rahmen befestigt bzw. angeordnet ist, sondern über den Tragarm und die Führungseinrichtung. Letztere beiden können viel stabiler und steifer ausgebildet werden, als dies bei einem herkömmlichen Antrieb der Fall ist.
  • Der Tragarm besteht erfindungsgemäß aus einem steiferen Material als der Rahmen, sodass die nötige Steifigkeit erreicht wird. Als Materialien für den Tragarm kommen hier insbesondere Stahl, hochfester Stahl, CFK (kohlenstofffaserverstärkter Kunststoff) oder GFK (glasfaserverstärkter Kunststoff) in Frage, denkbar sind auch Aluminium oder Magnesium bzw. Werkstoffe, die Aluminium und/oder Magnesium enthalten. Denkbar ist aber beispielsweise auch eine Fachwerkkonstruktion, eine Rohrkonstruktion oder ein Profil (beispielsweise ein T-Profil, ein Doppel-T-Profil oder ein U-Profil) oder dergleichen für den Tragarm. Dies kann dann wiederum insbesondere mit den erwähnten Materialien erfolgen.
  • Vorzugsweise ist der Antrieb an dem Rahmen angeordnet und direkt an den Tragarm angebunden. Bei dem Antrieb kann es sich dabei um einen Spindelantrieb oder dergleichen handeln. Die Bewegung des Antriebs wird dann direkt in eine Bewegung des Tragarms umgesetzt und ist besonders einfach bereitzustellen.
  • Alternativ ist es bevorzugt, wenn der Antrieb an dem Rahmen angeordnet und mittels eines Hebels an den Tragarm oder ggf. den Schlitten gekoppelt ist. Damit ist für den Antrieb beispielsweise eine geringere Maximalkraft ausreichend, da eine Übersetzung mittels des Hebels möglich ist. Hierzu kann der Hebel insbesondere zwischen einem Drehpunkt, an dem der Hebel an dem Rahmen drehbar gelagert ist, und einem Angriffspunkt des Antriebs an dem Hebel mit dem Tragarm oder ggf. über den Schlitten gekoppelt sein. Ebenso ist ggf. eine Anordnung des Antriebs an anderer Position am Rahmen möglich.
  • Weiter alternativ ist es bevorzugt, wenn der Antrieb in die Führungseinrichtung integriert und insbesondere als Linearantrieb ausgebildet ist. Damit wird eine besonders kompakte Stanznietvorrichtung ermöglicht, während jedoch weiterhin durch die nur mittelbare Verbindung von Antrieb und Schwingsystem eine besonders stabile Ausbildung des gesamten Systems möglich ist.
  • Besonders bevorzugt ist dabei, wenn der Hebel mittels Kulissenführung mit dem Tragarm gekoppelt ist. Hierzu kann in dem Hebel beispielsweise ein Langloch oder dergleichen vorgesehen sein, in dem ein Führungszapfen oder Ähnliches, der am Schlitten oder am Tragarm angeordnet ist, geführt wird. Durch das Langloch bzw. allgemein die Kulisse kann die Drehbewegung des Hebels besonders einfach in eine lineare Bewegung des Schlittens bzw. des Tragarms umgesetzt werden.
  • Weiterhin ist es bevorzugt, wenn an der Stanznietvorrichtung eine an dem Rahmen der Stanznietvorrichtung senkrecht zur Fügerichtung gesehen von der Führungseinrichtung beabstandet angeordnete weitere Führungseinrichtung vorgesehen ist, in der der Tragarm in Fügerichtung führbar ist. Damit sind also zwei Führungseinrichtungen vorhanden, mittels welcher der Tragarm geführt wird, wodurch eine noch höhere Verwindungsfestigkeit erreicht wird. Der Antrieb kann dann wie zuvor erläutert verwendet werden. Eine Anbindung ist beispielsweise dann auch nur an einem der Schlitten nötig.
  • Gemäß einem zweiten Aspekt der Erfindung ist - ebenfalls ausgehend von der zuvor erwähnten Stanznietvorrichtung - ein Ausgleichselement vorgesehen, das derart in der Stanznietvorrichtung angeordnet ist, dass sich bei einer Bewegung bzw. Betätigung des Ausgleichselements eine Orientierung des Stempels und des Gegenhalters zueinander verändert.
  • Auch auf diese Weise können die erwähnten Nachteile bekannter Stanznietvorrichtungen vermieden oder zumindest reduziert werden. Etwaigen Aufbiegungen oder Verkippungen kann dann nämlich einfach entgegengewirkt werden, indem aktiv eine entgegengesetzte Biegung oder Verkippung bewirkt wird.
  • Vorzugsweise ist das Schwingsystem an dem Antrieb angeordnet, insbesondere direkt daran angebracht, wobei das Ausgleichselement zwischen dem Schwingsystem und dem Antrieb angeordnet ist. Damit ist es möglich, das Schwingsystem gegenüber dem Antrieb leicht zu verkippen, sodass eine etwaige Aufbiegung bzw. Verkippung, die beim regulären Betrieb der Stanznietvorrichtung entsteht, ausgeglichen werden kann. Das Ausgleichselement weist hierbei besonders bevorzugt eine Keilplatte auf, wie sie nachfolgend noch näher erläutert wird.
  • Ebenso ist es bevorzugt, wenn das Ausgleichselement in dem Rahmen der Stanznietvorrichtung angeordnet ist. Auf diese Weise kann beispielsweise der Rahmen leicht aktiv verbogen werden, sodass eine etwaige Aufbiegung bzw. Verkippung, die beim regulären Betrieb der Stanznietvorrichtung entsteht, ausgeglichen werden kann. Das Ausgleichselement weist hierbei besonders bevorzugt einen Aktor auf, wie er nachfolgend noch näher erläutert wird.
  • Weiterhin ist es bevorzugt, wenn eine an einem Rahmen der Stanznietvorrichtung angeordnete Führungseinrichtung vorgesehen ist, in der ein sich senkrecht zur Fügerichtung erstreckender Tragarm in Fügerichtung führbar und mittels des Antriebs bewegbar ist, wobei an dem Tragarm senkrecht zur Fügerichtung gesehen beabstandet das Schwingsystem angeordnet ist. Das Ausgleichselement ist dann bevorzugt in dem Tragarm angeordnet. Bei dem Tragarm und der Führungseinrichtung kann es sich insbesondere um die in Bezug auf den ersten Aspekt der Erfindung beschriebenen Komponenten handeln, die insbesondere auch mit den dort erwähnten bevorzugten Ausgestaltungen versehen sein können.
  • Auf diese Weise kann der Tragarm also beispielsweise aktiv etwas verbogen bzw. verkippt werden, um so etwaigen, trotz des Tragarms ggf. noch auftretenden, leichten Verkippungen, entgegenzuwirken.
  • Es versteht sich, dass das gemäß zweitem Aspekt der Erfindung vorgeschlagene Ausgleichselement jedoch auch trotz Verwendung des Tragarms und der Führungseinrichtung, wie sie in Bezug auf den ersten Aspekt erwähnt wurde, an den anderen in Bezug auf den zweiten Aspekt erwähnten Stellen oder Positionen verwendet werden kann.
  • Ebenso sei erwähnt, dass auch mehrere der Ausgleichselemente an mehreren der erwähnten Stellen oder Positionen verwendet werden können. Ebenso können dann verschiedene Varianten der Ausgleichselemente, wie sie nachfolgend noch näher erläutert werden, verwendet werden.
  • Besonders bevorzugt weist das Ausgleichselement einen Aktor, insbesondere einen Piezo-Aktor, einen hydraulischen Aktor, einen mechanisch betätigbaren Aktor oder einen Hebelmechanismus, auf. Solche Aktoren können besonders einfach automatisiert angesteuert werden, was eine schnelle und einfache Anwendung ermöglicht. Ein Piezo-Aktor, der beispielsweise nahe einer Außenseite in einem Tragarm integriert ist, kann durch Anlegen einer elektrischen Spannung ausgedehnt werden, was eine leichte Biegung des Tragarms verursacht.
  • Ebenso ist es bevorzugt, wenn das Ausgleichselement eine drehbar und/oder translatorisch bewegbare Keilplatte aufweist. So kann beispielsweise durch Einschieben einer solchen Keilplatte in einen entsprechenden Spalt in dem Rahmen, dem Tragarm oder einer anderen Komponente eine leichte Biegung erreicht werden.
  • Es ist auch von Vorteil, wenn eine Betätigungsvorrichtung vorgesehen ist, die dazu eingerichtet ist, das Ausgleichselement automatisiert zu betätigen. Insbesondere kann die Betätigungsvorrichtung dazu eingerichtet sein, das Ausgleichselement derart zu betätigen, dass ein Winkel, der zwischen einer Bewegungs- und Kraftaufbringungsrichtung des Schwingsystems und einer Senkrechten zu einer Oberfläche der Bauteile eingeschlossen wird, betragsmäßig kleiner wird. Eine solche Betätigungsvorrichtung kann beispielsweise im Rahmen einer Steuerung oder Regelung der Stanznietvorrichtung bei deren Betrieb entsprechend betätigt werden, um einer etwaigen Verkippung bzw. Aufbiegung schnell entgegenzuwirken. Hierzu kann die Verkippung beispielsweise mittels geeigneter Sensoren erfasst bzw. gemessen werden. Denkbar ist aber auch die Verwendung eines geeigneten Modells, anhand dessen abgeschätzt oder vorgegeben wird, wann und in welchem Ausmaß eine Betätigung des Ausgleichselements erfolgen soll.
  • Weitere Vorteile und Ausgestaltungen der Erfindung ergeben sich aus der Beschreibung und der beiliegenden Zeichnungen.
  • Es versteht sich, dass die vorstehend genannten und die nachfolgend noch zu erläuternden Merkmale nicht nur in der jeweils angegebenen Kombination, sondern auch in anderen Kombinationen oder in Alleinstellung verwendbar sind, ohne den Rahmen der vorliegenden Erfindung zu verlassen.
  • Die Erfindung ist anhand von Ausführungsbeispielen in der Zeichnung schematisch dargestellt und wird im Folgenden unter Bezugnahme auf die Zeichnung ausführlich beschrieben.
  • Figurenbeschreibung
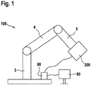
  • Figur 1
    zeigt vereinfacht und schematisch eine Fertigungseinrichtung mit einer erfindungsgemäßen Stanznietvorrichtung.
    Figur 2
    zeigt schematisch eine nicht erfindungsgemäße Stanznietvorrichtung.
    Figuren 3 bis 9
    zeigen schematisch erfindungsgemäße Stanznietvorrichtungen in verschiedenen bevorzugten Ausführungsformen.
    Detaillierte Beschreibung der Zeichnungen:
  • In Figur 1 ist vereinfacht und schematisch eine Fertigungseinrichtung 100 gezeigt. Bei der Fertigungseinrichtung 100 kann es sich beispielsweise um einen Industrieroboter in einer Fertigungshalle, beispielsweise für einen automobilen Karosseriebau handeln.
  • Die Fertigungseinrichtung 100 weist dabei eine auf einem Boden angeordnete Trägerstruktur 3 und zwei daran angeordnete, miteinander verbundene und bewegliche Arme 4 und 5 auf. Am Ende des Armes 5 ist eine erfindungsgemäße Stanznietvorrichtung 200 in einer bevorzugten Ausführungsform angeordnet, welche hier nur schematisch gezeigt und nachfolgend noch detaillierter beschrieben wird.
  • Weiterhin ist eine Recheneinheit 80 gezeigt, bei der es sich beispielsweise um eine Steuereinheit der Stanznietvorrichtung 200 handelt. Die Recheneinheit 80 kann zudem auch als Steuereinheit für die gesamte Fertigungseinrichtung, d.h. neben der Stanznietvorrichtung insbesondere auch für die Ansteuerung der beweglichen Arme vorgesehen sein. Weiterhin sind Anzeigemittel 90, beispielsweise ein Display, vorgesehen, auf denen beispielsweise aktuelle Betriebsparameter der Stanznietvorrichtung angezeigt werden können. Es kann sich bei dem Element 90 auch um ein kombiniertes Anzeige-/Eingabemittel, z.B. einen Touchscreen, handeln.
  • In Figur 2 ist schematisch eine nicht erfindungsgemäße Stanznietvorrichtung 10 dargestellt, an der eine Problematik erläutert werden soll, die mit der vorliegenden Erfindung gelöst wird. Die Stanznietvorrichtung 10 weist einen Rahmen 60 auf, der vorzugsweise in Form eines C-Rahmens oder C-Bügels vorliegt, an welchem die einzelnen Komponenten bei einer Stanznietvorrichtung in der Regel angeordnet sind, um die gewünschte Position zueinander einnehmen zu können. Über den Rahmen 60 kann die Stanznietvorrichtung 10 beispielsweise an einem Arm wie in Figur 1 gezeigt befestigt sein.
  • Die Stanznietvorrichtung 10 weist einen Stempel (bzw. eine Sonotrode) 15 auf, beispielhaft mit einem runden Querschnitt. Der Stempel 15 ist von einem (hülsenförmigen) Niederhalter 16 radial umgeben und relativ zu diesem in Längsrichtung beweglich angeordnet. Der Niederhalter ist hierbei vorzugsweise an einem sog. Nullamplitudendurchgang des Stempels, d.h. einer Position des Stempels, an der Schwingungsamplituden Null oder zumindest möglichst gering sind, mittels einer Feder befestigt. Insbesondere ist der Stempel 15 mit einem Antrieb 50 gekoppelt, der dazu dient, eine zum Eindrücken des Niets 20 in die beiden Bauteile 11, 12 benötigte Kraft F in Fügerichtung R aufzubringen. Der Antrieb 50 kann beispielsweise mittels der Recheneinheit 80 gesteuert werden. Dabei kann die Kraft F beispielsweise über einen Sollwert vorgegeben und als Istwert erfasst werden.
  • Ebenfalls ist der Niederhalter 16 dazu eingerichtet, gegen die Oberfläche des dem Stempel 15 zugewandten Bauteils 11 mit einer Niederhaltekraft zu drücken. Hierzu kann beispielsweise ein eigener Antrieb vorgesehen sein. Jedoch kann der Niederhalter 16 auch (wie hier gezeigt) an den Antrieb 50 des Stempels 15 oder an den Stempel 15 selbst gekoppelt sein, beispielsweise mittels einer Feder.
  • Auf der dem Stempel 15 und dem Niederhalter 16 gegenüberliegenden Seite der beiden Bauteile 11, 12 ist ein Gegenhalter in Form einer Matrize 18 angeordnet. Der Stempel 15 und die Matrize 18 sind in vertikaler Richtung, wie auch der Niederhalter 16, angeordnet und relativ zueinander bewegbar, wobei die Matrize 18 selbst in der Regel nicht beweglich ist. Der Niederhalter 16 und die Matrize 18 dienen dazu, die beiden Bauteile 11, 12 zwischen dem Niederhalter 16 und der Matrize 18 während der Bearbeitung durch den Stempel 15 einzuspannen bzw. zusammenzudrücken.
  • Der Niet 20, hier beispielhaft ein Halbhohlstanzniet, besteht bevorzugt aus einem gegenüber den Werkstoffen der beiden Bauteile 11, 12 härteren Material, zumindest im Bereich eines Nietschafts. Die dem Bauteil 11 abgewandte, ebene Oberseite des Niets 20 ist in Wirkverbindung mit dem Stempel 15 angeordnet, der an der Oberseite des Niets 20 flächig anliegt.
  • Der Stempel 15 ist mit einem (elektro-mechanischen) Schwingungskonverter 30, beispielsweise einem Piezokonverter, wirkverbunden. Der Schwingungskonverter 30 wiederum ist mit einem (elektrischen) Schwingungserzeuger 32, beispielsweise einem Ultraschallgenerator, verbunden. Auf diese Weise können Schwingungen bzw. Vibrationen erzeugt und auf den Stempel 15, und damit den Niet 20 eingekoppelt werden. Insbesondere werden mittels des Schwingungserzeugers 32 und des Schwingungskonverters 30 Ultraschallschwingungen mit einer Schwingweite (Abstand zwischen maximaler positiver und negativer Amplitude einer Schwingung) zwischen 10 µm und 110 µm (entspricht einer Amplitude von 5 µm bis 55 µm) und einer Frequenz zwischen 15 kHz und 35 kHz oder ggf. auch höher erzeugt. Der Schwingungserzeuger 32 ist an die Recheneinheit 80 angebunden (oder kann auch Teil der Recheneinheit sein) und kann von dieser angesteuert werden.
  • Bei dem Antrieb 50 kann es sich beispielsweise um einen Antrieb mit Kugel-, Rollen-, Planetengewinde- oder Gewinderollenschraubtrieb oder dergleichen handeln, der dazu geeignet ist, eine Kraft F zum Eindrücken des Niets 20 in die Bauteile 11, 12 aufzubringen. An dem Antrieb 50 ist eine Haltevorrichtung 35, beispielsweise in Form eines Rahmens oder eines Gestells, angebracht. An der Haltevorrichtung 35 ist ein Schwingsystem 39, das vorliegend den Schwingungskonverter 30, einen Booster 31 sowie den Stempel bzw. die Sonotrode 15 sowie den Niederhalter 16 umfasst, angeordnet.
  • Beim Betrieb der Stanznietvorrichtung 10, also beim sog. Ultraschall-Stanznieten, kann es durch die hochfrequente Längsschwingung des Fügewerkzeuges, d.h. Sonotrode 15, Booster 31 und Schwingungskonverter 30, zu einem seitlichen Abwandern bzw. Abknicken oder Ausweichen des Fügewerkzeugs kommen. Dies wird durch hohe seitliche Querkräfte hervorgerufen, welche durch eine hämmernde bzw. schlagende Bewegung des Stempels 15 auf den Niet 20 oder durch eine schwingende Bewegung des Stempels 15 in Dauerkontakt mit dem Niet 20 jeweils in Kombination mit geringsten Unebenheiten (wie beispielsweise Bauteilradien, unebene Bleche, unzureichend eingestellte bzw. gefertigte Werkzeugfluchtung, Aufbiegung des Bügels bzw. Rahmens, unsymmetrischer Aufbau des Bügels und dergleichen auftreten können) und kann die Werkzeugstandzeit und die Fügepunktqualität negativ beeinträchtigen.
  • Solche Querkräfte sind in Figur 2 beispielhaft mit FQ bezeichnet. Zudem ist in Figur 2 das Verkippen des Fügewerkzeugs bzw. des gesamten Schwingsystems 39 auch graphisch dargestellt. Derartige Querkräfte sind bei bisherigen, konventionellen Stanznietvorrichtungen (ohne Schwingungs- bzw. Ultraschallunterstützung) in diesen Größenordnungen nicht bekannt, da das Fügewerkzeug nicht mit hochfrequenten Längsschwingungen beaufschlagt wird.
  • In den Figuren 3 bis 9 sind schematisch erfindungsgemäße Stanznietvorrichtungen in verschiedenen bevorzugten Ausführungsformen dargestellt. Die grundlegenden Komponenten dieser Stanznietvorrichtungen entsprechen den Komponenten der Stanznietvorrichtung 10 gemäß Figur 2 und sind insoweit auch mit den gleichen Bezugszeichen versehen. Insofern sei auch auf die dortige Beschreibung verwiesen. Der Übersichtlichkeit sind jedoch teils einzelne Komponenten nicht dargestellt.
  • In Figur 3 ist schematisch eine erfindungsgemäße Stanznietvorrichtung 200 in einer bevorzugten Ausführungsform dargestellt. Die Stanznietvorrichtung 200 weist ein Schwingsystem 39 mit Schwingungskonverter 30, Booster 31 und Sonotrode bzw. Stempel 15 auf. Das Schwingsystem 39 ist an einem Tragarm 70 befestigt. Dies kann entweder direkt oder beispielsweise auch durch eine geeignete Halterung erfolgen, wie in Figur 2 gezeigt. Eine solche Halterung würde dann entsprechend seitlich am Tragarm 70 und nicht am Antrieb befestigt.
  • Der Tragarm 70 erstreckt sich hier senkrecht zur Fügerichtung R und ist an einem Schlitten 71 befestigt. Dieser Schlitten 71 wiederum ist in einer als Führungsschiene ausgebildeten Führungseinrichtung 75 in Fügerichtung R führbar angeordnet. Hierzu sind beispielhaft Rollenlager vorgesehen. Die Führungseinrichtung bzw. die Führungsschiene 75 kann hierbei Teil des Rahmens 60 sein oder aber auch als eigenständige Komponente gefertigt und dann geeignet am Rahmen befestigt sein. Auf diese Weise ist der Tragarm 70 in der Führungseinrichtung 75 und in Fügerichtung R führbar.
  • Der Antrieb 50 ist an dem Rahmen 60 angeordnet und mittels eines Hebels 51 mit dem Schlitten 71 und damit mit dem Tragarm 70 gekoppelt. Hierzu kann der Hebel 51 beispielsweise mittels eines Gelenks an einem Teil der Führungseinrichtung 75 drehbar befestigt sein. Entsprechendes gilt für die Kopplung an dem Schlitten 71. Der Antrieb 50 kann im Übrigen, d.h. insbesondere hinsichtlich seiner Funktionsweise, wie in Bezug auf Figur 2 erläutert ausgebildet sein.
  • Auf diese Weise ist das Schwingsystem 39 also besonders stabil in Fügerichtung R führbar und bewegbar. Insbesondere können etwaige, aus Querkräften resultierende Verkippungen oder Aufbiegungen vermieden oder zumindest reduziert werden. Dies liegt zum einen in der besonders stabil ausgestaltbaren Führungseinrichtung 75 und zum anderen in dem besonders steif ausgestaltbaren Tragarm 70 begründet, wie dies eingangs bereits näher erläutert wurde.
  • In Figur 4 ist schematisch eine erfindungsgemäße Stanznietvorrichtung 300 in einer weiteren bevorzugten Ausführungsform dargestellt. Bei der Stanznietvorrichtung 300 ist der Hebel 51 zwar ebenfalls, wie bei der Stanznietvorrichtung 200 gemäß Figur 3, an der Führungseinrichtung 75 mittels eines Gelenks befestigt, jedoch an einer anderen Stelle.
  • Zudem ist der Hebel 51 hier nicht mittels eines Gelenks direkt an den Schlitten 71 gekoppelt, sondern über ein in dem Hebel 51 bzw. dessen Hebelarm vorgesehenes Langloch 52 zusammen mit einem an dem Schlitten 71 vorgesehen Führungszapfen 72. Auf diese Weise wird eine sog. Kulissenführung gebildet. Der Antrieb 50 kann im Vergleich zu der Ausführungsform gemäß Figur 2 beispielsweise kürzer ausgebildet oder an anderer Position angeordnet werden.
  • In Figur 5 ist schematisch eine erfindungsgemäße Stanznietvorrichtung 400 in einer weiteren bevorzugten Ausführungsform dargestellt. Bei der Stanznietvorrichtung 400 sind zwei Führungseinrichtungen 75 und 76 am Rahmen vorgesehen, mit jeweils einem Schlitten 71 bzw. 73. Der Tragarm 70 ist dabei an beiden Schlitten 71 und 73 befestigt, sodass gegenüber einer Verwendung nur einer Führungseinrichtung eine noch höhere Stabilität zur Reduzierung bzw. Vermeidung einer etwaigen Verkippung erreicht wird.
  • Der Antrieb 50 ist hierbei direkt zwischen dem Rahmen 60 und dem Tragarm 70 angeordnet. Damit gibt es, anders als bei der Verwendung eines Hebels gemäß der Ausführungsformen, wie sie in den Figuren 3 und 4 gezeigt sind, keine Übersetzung. Es versteht sich jedoch, dass der Antrieb 50 auch hier mittels eines Hebels angebunden werden kann, wie dies beispielsweise in den Figuren 3 oder 4 gezeigt ist. Hierbei ist es dann ausreichend, wenn der Hebel nur an einen der Schlitten gekoppelt wird.
  • In Figur 6 ist schematisch eine erfindungsgemäße Stanznietvorrichtung 500 in einer weiteren bevorzugten Ausführungsform dargestellt. Der Antrieb 50 ist hierbei in die Führungseinrichtung 75 integriert und kann dazu insbesondere als Linearantrieb ausgebildet sein. Damit kann ein kompakterer Aufbau als mit extern angeordnetem Antrieb erreicht werden.
  • In Figur 7 ist schematisch eine erfindungsgemäße Stanznietvorrichtung 600 in einer weiteren bevorzugten Ausführungsform dargestellt, wie sie auch in Figur 6 gezeigt ist. Der Übersichtlichkeit halber ist hier jedoch nur ein Teil der Stanznietvorrichtung gezeigt.
  • In dem Tragarm 70 ist, an einem entgegen der Fügerichtung R gelegenen Bereich, ein Ausgleichselement 85 vorgesehen. Bei diesem Ausgleichselement 85 kann es sich beispielsweise um ein Piezoelement handeln, das durch Anlegen einer geeigneten Spannung in einer Richtung senkrecht zur Fügerichtung R - und damit insbesondere in Richtung der Ausrichtung bzw. Haupterstreckungsrichtung des Tragarms 70 - in seiner Länge verändert werden kann.
  • Damit ist es möglich, aktiv eine Biegung des Tragarms 70 und damit auch der Orientierung des Schwingsystems 39 herbeizuführen. Eine Ansteuerung des Ausgleichselements 85 kann beispielsweise mittels der Recheneinheit 80 erfolgen.
  • Wenngleich im gezeigten Ausführungsbeispiel ein Linearantrieb als Antrieb 50 gezeigt ist, versteht es sich, dass das Ausgleichselement, insbesondere wenn es in dem Tragarm angeordnet ist, auch mit anderen Arten von Antrieben, wie sie beispielsweise in den Figuren 3 bis 5 gezeigt sind, verwendet werden kann.
  • In Figur 8 ist schematisch eine erfindungsgemäße Stanznietvorrichtung 700 in einer weiteren bevorzugten Ausführungsform dargestellt, wie sie auch in Figur 6 gezeigt ist. Der Übersichtlichkeit halber ist hier jedoch nur ein Teil der Stanznietvorrichtung gezeigt, nämlich insbesondere ohne den Gegenhalter, den Niet und die zu verbindenden Bauteile. Hier ist ein als Keilplatte ausgebildetes Ausgleichselement 86 im Tragarm 70 vorgesehen. Eine solche Keilplatte kann beispielsweise nur einen Teil der Querschnittsfläche des Tragarms abdecken, sodass weiterhin eine hohe Stabilität des Tragarms gewährleistet ist.
  • Zudem ist eine Betätigungsvorrichtung 87 vorgesehen, mittels welcher die Keilplatte automatisiert, beispielsweise durch Ansteuerung der Recheneinheit 80, betätigt bzw. bewegt werden kann. Insbesondere kann die Keilplatte 86 hierzu gedreht und/oder translatorisch bewegt werden, um so die Orientierung des Schwingsystems 39 zu ändern.
  • Insbesondere kann die Betätigungsvorrichtung dazu eingerichtet sein, das Ausgleichselement derart zu betätigen, dass ein Winkel, der zwischen einer Bewegungs- und Kraftaufbringungsrichtung des Schwingsystems und einer Senkrechten zu einer Oberfläche der Bauteile eingeschlossen wird, betragsmäßig kleiner wird. Auf diese Weise können beispielsweise während des Stanznietvorgangs auftretenden Verkippungen bzw. Aufbiegungen ausgeglichen werden.
  • In Figur 9 ist schematisch eine erfindungsgemäße Stanznietvorrichtung 800 in einer weiteren bevorzugten Ausführungsform dargestellt. Die Stanznietvorrichtung 800 ist ähnlich der in Figur 2 gezeigten Stanznietvorrichtung aufgebaut, wobei jedoch das Schwingsystem 39 direkt, d.h. ohne Halterung, am Antrieb 50 angeordnet ist. Allerdings ist dabei zwischen dem Antrieb 50 und dem Schwingsystem 39 bzw. dem Schwingungskonverter 30 ein als Keilplatte 86 ausgebildetes Ausgleichselement angeordnet.
  • Diese Keilplatte kann wie die in Bezug auf Figur 8 erläuterte Keilplatte aufgebaut sein und verwendet werden. Insbesondere kann beispielsweise auch eine - hier nicht gezeigte - Betätigungsvorrichtung vorgesehen werden, um die Keilplatte, wie angedeutet, zu drehen und/oder translatorisch zu bewegen. Auch mit einer solchen Anordnung der Keilplatte können Verkippungen bzw. Aufbiegungen ausgeglichen werden.
  • Es versteht sich, dass die verschiedenen Ausgleichselemente auch kombiniert werden können, insbesondere auch mit den beschriebenen Varianten des Tragarms. Damit sind verschiedene Optionen gegeben, um - beispielsweise je nach Anwendungsfall - einen geeigneten Ausgleich zu auftretenden Verkippungen bzw. Aufbiegungen zu erreichen.

Claims (14)

  1. Stanznietvorrichtung (200, 300, 400, 500, 600, 700) zum Verbinden wenigstens zweier Bauteile (11, 12) mittels eines Niets (20), mit einem Stempel (15) und einem Gegenhalter (18), zwischen welchen die wenigstens zwei Bauteile (11, 12) und der Niet (20) anordenbar sind, mit einem Schwingsystem (39), aufweisend den Stempel (15) und einen Schwingungskonverter (30), der mit einem Schwingungserzeuger (32) derart gekoppelt oder koppelbar ist, dass das Schwingsystem (39) zum Schwingen anregbar ist, und mit einem Antrieb (50), mittels dessen das Schwingsystem (39) und damit der Stempel (15) mit einer Kraft (F) beaufschlagbar und in einer Fügerichtung (R) bewegbar sind, um einen zwischen dem Stempel (15) und einem dem Stempel zugewandten Bauteil (11) der wenigstens zwei Bauteile angeordneten Niet (20) mittels des Stempels (15) in die wenigstens zwei Bauteile (11, 12) einzudrücken, gekennzeichnet durch eine an einem Rahmen (60) der Stanznietvorrichtung angeordnete Führungseinrichtung (75), in der ein sich in einem Winkel von mehr als 0° und weniger als 180°, insbesondere mehr als 45° und weniger als 135°, insbesondere im Wesentlichen senkrecht zur Fügerichtung (R) erstreckender Tragarm (70) in Fügerichtung (R) führbar und mittels des Antriebs (50) bewegbar ist, wobei das Schwingsystem (39) an dem Tragarm (70) senkrecht zur Fügerichtung (R) gesehen von der Führungseinrichtung (75) beabstandet angeordnet ist, wobei der Tragarm (70) aus einem steiferen Material als der Rahmen (60) besteht oder mit einer Fachwerkkonstruktion, einer Rohrkonstruktion oder einem Profil ausgebildet ist.
  2. Stanznietvorrichtung (400, 600) nach Anspruch 1, wobei der Antrieb (50) an dem Rahmen (60) angeordnet und direkt an den Tragarm (70) angebunden ist.
  3. Stanznietvorrichtung (200, 300) nach Anspruch 1, wobei der Antrieb (50) an dem Rahmen angeordnet und mittels eines Hebels (51) an den Tragarm (70) gekoppelt ist.
  4. Stanznietvorrichtung (300) nach Anspruch 3, wobei der Hebel (51) mittels Kulissenführung mit dem Tragarm (70) gekoppelt ist.
  5. Stanznietvorrichtung (500, 600, 700) nach Anspruch 1, wobei der Antrieb (50) in die Führungseinrichtung (75) integriert ist, und insbesondere als Linearantrieb ausgebildet ist.
  6. Stanznietvorrichtung (200, 300, 400, 500, 600, 700) nach einem der vorstehenden Ansprüche, wobei der Tragarm (70) fest mit einem Schlitten (71), der in der Führungseinrichtung (75) führbar gelagert ist, verbunden ist.
  7. Stanznietvorrichtung (400) nach einem der vorstehenden Ansprüche, mit einer an dem Rahmen (60) der Stanznietvorrichtung senkrecht zur Fügerichtung (R) gesehen von der Führungseinrichtung (75) beabstandet angeordneten weiteren Führungseinrichtung (76), in der der Tragarm (70) in Fügerichtung führbar ist.
  8. Stanznietvorrichtung (200, 300, 400, 500, 600, 700) nach einem der vorstehenden Ansprüche, wobei ein Ausgleichselement (85, 86) vorgesehen ist, das derart in der Stanznietvorrichtung angeordnet ist, dass sich bei einer Bewegung des Ausgleichselements eine Orientierung des Stempels und des Gegenhalters zueinander verändert.
  9. Stanznietvorrichtung (600, 700) nach Anspruch 8, wobei das Ausgleichselement (85) in dem Tragarm (70) oder in dem Rahmen angeordnet ist.
  10. Stanznietvorrichtung (800) nach Anspruch 8 oder 9, wobei das Schwingsystem (39) an dem Antrieb (50) angeordnet ist, und wobei das Ausgleichselement (86) zwischen dem Schwingsystem (39) und dem Antrieb (50) angeordnet ist.
  11. Stanznietvorrichtung (600) nach einem der Ansprüche 8 bis 10, wobei das Ausgleichselement (85) einen Aktor, insbesondere einen Piezo-Aktor, einen hydraulischen Aktor, einen mechanisch betätigbaren Aktor oder einen Hebelmechanismus, aufweist.
  12. Stanznietvorrichtung (700, 800) nach einem der Ansprüche 8 bis 11, wobei das Ausgleichselement (86) eine drehbar und/oder translatorisch bewegbare Keilplatte aufweist.
  13. Stanznietvorrichtung (700) nach einem der Ansprüche 8 bis 12, mit einer Betätigungsvorrichtung (87), die dazu eingerichtet ist, das Ausgleichselement (86) automatisiert zu betätigen.
  14. Stanznietvorrichtung (700) nach Anspruch 13, wobei die Betätigungsvorrichtung (87) dazu eingerichtet ist, das Ausgleichselement (86) derart zu betätigen, dass ein Winkel, der zwischen einer Bewegungs- und Kraftaufbringungsrichtung des Schwingsystems (39) und einer Senkrechten zu einer Oberfläche der Bauteile eingeschlossen wird, betragsmäßig kleiner wird.
EP19160692.0A 2018-04-12 2019-03-05 Stanznietvorrichtung Active EP3552729B1 (de)

Applications Claiming Priority (1)

Application Number Priority Date Filing Date Title
DE102018205526.2A DE102018205526A1 (de) 2018-04-12 2018-04-12 Stanznietvorrichtungen

Publications (2)

Publication Number Publication Date
EP3552729A1 EP3552729A1 (de) 2019-10-16
EP3552729B1 true EP3552729B1 (de) 2021-01-27

Family

ID=65686782

Family Applications (1)

Application Number Title Priority Date Filing Date
EP19160692.0A Active EP3552729B1 (de) 2018-04-12 2019-03-05 Stanznietvorrichtung

Country Status (2)

Country Link
EP (1) EP3552729B1 (de)
DE (1) DE102018205526A1 (de)

Families Citing this family (3)

* Cited by examiner, † Cited by third party
Publication number Priority date Publication date Assignee Title
DE102021120409A1 (de) 2021-08-05 2023-02-09 Tox Pressotechnik Gmbh & Co. Kg Vorrichtung zum Durchsetzfügen
CN115582506A (zh) * 2022-08-23 2023-01-10 苏州宝卓智能科技有限公司 一种笔记本枢纽器多工位自动化铆压装置
CN120205740B (zh) * 2025-05-28 2025-08-08 江苏恒义工业技术有限公司 一种通用压铆工装及压铆装置

Family Cites Families (11)

* Cited by examiner, † Cited by third party
Publication number Priority date Publication date Assignee Title
FR1128851A (fr) * 1955-05-25 1957-01-11 Kumag A G Machine à river
US3483611A (en) * 1966-08-12 1969-12-16 Cavitron Corp Methods and apparatus for assembling parts together by ultrasonic energy
DE19905527B4 (de) 1999-02-10 2006-11-23 Böllhoff GmbH Vorrichtung zum Fügen von Werkstücken aus duktilem Material
GB0813883D0 (en) 2008-07-30 2008-09-03 Henrob Ltd Joining apparatus and method
DE102008039872A1 (de) * 2008-08-27 2010-03-04 Robert Bosch Gmbh Widerstandsschweißanordnung
DE102012102309A1 (de) * 2012-03-19 2013-09-19 Tkr Spezialwerkzeuge Gmbh Nietbügel zum Setzen von Nieten
DE102014203357B4 (de) 2014-02-25 2016-11-03 Henkel Ag & Co. Kgaa Darreichungseinheit für eine Masse
DE102014203757B4 (de) * 2014-02-28 2022-03-31 Robert Bosch Gmbh Verfahren zum Verbinden wenigstens zweier Bauteile im Stanznietverfahren, Vorrichtung zum Durchführung des Verfahrens, Fertigungseinrichtung und Verwendung des Verfahrens
DE102014224596B4 (de) * 2014-12-02 2022-03-24 Robert Bosch Gmbh Stanznietzange mit Vibrationsunterstützung in X-Bauart
DE102015007295B3 (de) * 2015-06-10 2016-09-08 Audi Ag Setzvorrichtung
DE102017205659A1 (de) * 2017-04-03 2018-10-04 Robert Bosch Gmbh Stanznietvorrichtung zum setzen eines stanzniets mit einer eine stempelkraft unterstützenden schwingung und verfahren zum stanznieten mit einer solchen stanznietvorrichtung

Non-Patent Citations (1)

* Cited by examiner, † Cited by third party
Title
None *

Also Published As

Publication number Publication date
EP3552729A1 (de) 2019-10-16
DE102018205526A1 (de) 2019-10-17

Similar Documents

Publication Publication Date Title
EP1230063B1 (de) Vorrichtung zum verbinden von werkstücken nach der methode des reibruhrschweissens
EP2905108B1 (de) Gestell für eine Maschine
EP2146818B1 (de) Modularer werkzeughalter
DE102013114184B4 (de) Doppelpunktschweißvorrichtung
EP3552729B1 (de) Stanznietvorrichtung
DE19956963B4 (de) Einrichtung zum Verbinden von wenigstens zwei wenigstens im Verbindungsbereich aneinanderliegenden Werkstücken nach der Methode des Reibrührschweißens
EP4117837B1 (de) Biegemaschine
DE102018111496B4 (de) Verfahren zum Rührreibschweißen
EP3505270B1 (de) Setzeinheit für eine stanznietvorrichtung, stanznietvorrichtung und verfahren zum herstellen einer solchen
EP3199288A2 (de) Elementzuführeinrichtung eines setz-schweiss-geräts, ein setz-schweiss-gerät sowie ein verbindungsverfahren in form eines mechanisch-thermischen setz-schweiss-prozesses
EP3231585B1 (de) Vorrichtung zum ultraschallschweissen
EP3112083A1 (de) Portalanordnung einer werkzeugmaschine und werkzeugmaschine mit einer derartigen portalanordnung
EP3552731B1 (de) Setzeinheit für eine stanznietvorrichtung und stanznietvorrichtung
DE102019107539A1 (de) Gestell für eine Bearbeitungsmaschine und Verfahren zum Bearbeiten eines Werkstücks mit derselben
EP3381581B1 (de) Stanznietvorrichtung und verfahren zum betreiben einer stanznietvorrichtung
EP3552730B1 (de) Stanznietvorrichtung
EP3820679A1 (de) Schweissvorrichtung und gestell dafür
DE102018205621A1 (de) Stanznietvorrichtung mit Zuführeinheit für Niete
CH698147B1 (de) Schleifmaschine und Verfahren zum Einrichten eines Werkstückträgers an einer Schleifmaschine.
DE102018222841A1 (de) Setzeinheit für eine Stanznietvorrichtung, Stanznietvorrichtung und Verfahren zum Verbinden von Bauteilen
EP3546084B1 (de) Verfahren zum verbinden wenigstens zweier bauteile mittels einer stanznietvorrichtung und stanznietvorrichtung
DE102017220816A1 (de) Fügevorrichtung und verfahren zum fügen mindestens eines bauteils unter verwendung einer x-zange
EP1103348B1 (de) Rahmenschweissvorrichtung
EP1207007A2 (de) Vorrichtung zur Ultraschallbearbeiten von Werkstücken
DE102017220335A1 (de) Stanznietvorrichtung und verfahren zum setzen eines stanzniets mit einer eine stempelkraft unterstützenden schwingung

Legal Events

Date Code Title Description
PUAI Public reference made under article 153(3) epc to a published international application that has entered the european phase

Free format text: ORIGINAL CODE: 0009012

STAA Information on the status of an ep patent application or granted ep patent

Free format text: STATUS: THE APPLICATION HAS BEEN PUBLISHED

AK Designated contracting states

Kind code of ref document: A1

Designated state(s): AL AT BE BG CH CY CZ DE DK EE ES FI FR GB GR HR HU IE IS IT LI LT LU LV MC MK MT NL NO PL PT RO RS SE SI SK SM TR

AX Request for extension of the european patent

Extension state: BA ME

STAA Information on the status of an ep patent application or granted ep patent

Free format text: STATUS: REQUEST FOR EXAMINATION WAS MADE

RAP1 Party data changed (applicant data changed or rights of an application transferred)

Owner name: ROBERT BOSCH GMBH

17P Request for examination filed

Effective date: 20200416

RBV Designated contracting states (corrected)

Designated state(s): AL AT BE BG CH CY CZ DE DK EE ES FI FR GB GR HR HU IE IS IT LI LT LU LV MC MK MT NL NO PL PT RO RS SE SI SK SM TR

GRAP Despatch of communication of intention to grant a patent

Free format text: ORIGINAL CODE: EPIDOSNIGR1

STAA Information on the status of an ep patent application or granted ep patent

Free format text: STATUS: GRANT OF PATENT IS INTENDED

RIC1 Information provided on ipc code assigned before grant

Ipc: B21J 15/16 20060101ALI20200914BHEP

Ipc: B21J 15/12 20060101ALI20200914BHEP

Ipc: B21J 15/24 20060101ALI20200914BHEP

Ipc: B21J 15/02 20060101AFI20200914BHEP

INTG Intention to grant announced

Effective date: 20201019

GRAS Grant fee paid

Free format text: ORIGINAL CODE: EPIDOSNIGR3

GRAA (expected) grant

Free format text: ORIGINAL CODE: 0009210

STAA Information on the status of an ep patent application or granted ep patent

Free format text: STATUS: THE PATENT HAS BEEN GRANTED

AK Designated contracting states

Kind code of ref document: B1

Designated state(s): AL AT BE BG CH CY CZ DE DK EE ES FI FR GB GR HR HU IE IS IT LI LT LU LV MC MK MT NL NO PL PT RO RS SE SI SK SM TR

REG Reference to a national code

Ref country code: GB

Ref legal event code: FG4D

Free format text: NOT ENGLISH

REG Reference to a national code

Ref country code: CH

Ref legal event code: EP

REG Reference to a national code

Ref country code: AT

Ref legal event code: REF

Ref document number: 1357877

Country of ref document: AT

Kind code of ref document: T

Effective date: 20210215

REG Reference to a national code

Ref country code: IE

Ref legal event code: FG4D

Free format text: LANGUAGE OF EP DOCUMENT: GERMAN

REG Reference to a national code

Ref country code: DE

Ref legal event code: R096

Ref document number: 502019000750

Country of ref document: DE

REG Reference to a national code

Ref country code: NL

Ref legal event code: MP

Effective date: 20210127

REG Reference to a national code

Ref country code: LT

Ref legal event code: MG9D

PG25 Lapsed in a contracting state [announced via postgrant information from national office to epo]

Ref country code: LT

Free format text: LAPSE BECAUSE OF FAILURE TO SUBMIT A TRANSLATION OF THE DESCRIPTION OR TO PAY THE FEE WITHIN THE PRESCRIBED TIME-LIMIT

Effective date: 20210127

Ref country code: PT

Free format text: LAPSE BECAUSE OF FAILURE TO SUBMIT A TRANSLATION OF THE DESCRIPTION OR TO PAY THE FEE WITHIN THE PRESCRIBED TIME-LIMIT

Effective date: 20210527

Ref country code: NO

Free format text: LAPSE BECAUSE OF FAILURE TO SUBMIT A TRANSLATION OF THE DESCRIPTION OR TO PAY THE FEE WITHIN THE PRESCRIBED TIME-LIMIT

Effective date: 20210427

Ref country code: BG

Free format text: LAPSE BECAUSE OF FAILURE TO SUBMIT A TRANSLATION OF THE DESCRIPTION OR TO PAY THE FEE WITHIN THE PRESCRIBED TIME-LIMIT

Effective date: 20210427

Ref country code: FI

Free format text: LAPSE BECAUSE OF FAILURE TO SUBMIT A TRANSLATION OF THE DESCRIPTION OR TO PAY THE FEE WITHIN THE PRESCRIBED TIME-LIMIT

Effective date: 20210127

Ref country code: GR

Free format text: LAPSE BECAUSE OF FAILURE TO SUBMIT A TRANSLATION OF THE DESCRIPTION OR TO PAY THE FEE WITHIN THE PRESCRIBED TIME-LIMIT

Effective date: 20210428

Ref country code: HR

Free format text: LAPSE BECAUSE OF FAILURE TO SUBMIT A TRANSLATION OF THE DESCRIPTION OR TO PAY THE FEE WITHIN THE PRESCRIBED TIME-LIMIT

Effective date: 20210127

PG25 Lapsed in a contracting state [announced via postgrant information from national office to epo]

Ref country code: PL

Free format text: LAPSE BECAUSE OF FAILURE TO SUBMIT A TRANSLATION OF THE DESCRIPTION OR TO PAY THE FEE WITHIN THE PRESCRIBED TIME-LIMIT

Effective date: 20210127

Ref country code: RS

Free format text: LAPSE BECAUSE OF FAILURE TO SUBMIT A TRANSLATION OF THE DESCRIPTION OR TO PAY THE FEE WITHIN THE PRESCRIBED TIME-LIMIT

Effective date: 20210127

Ref country code: LV

Free format text: LAPSE BECAUSE OF FAILURE TO SUBMIT A TRANSLATION OF THE DESCRIPTION OR TO PAY THE FEE WITHIN THE PRESCRIBED TIME-LIMIT

Effective date: 20210127

Ref country code: SE

Free format text: LAPSE BECAUSE OF FAILURE TO SUBMIT A TRANSLATION OF THE DESCRIPTION OR TO PAY THE FEE WITHIN THE PRESCRIBED TIME-LIMIT

Effective date: 20210127

PG25 Lapsed in a contracting state [announced via postgrant information from national office to epo]

Ref country code: IS

Free format text: LAPSE BECAUSE OF FAILURE TO SUBMIT A TRANSLATION OF THE DESCRIPTION OR TO PAY THE FEE WITHIN THE PRESCRIBED TIME-LIMIT

Effective date: 20210527

REG Reference to a national code

Ref country code: DE

Ref legal event code: R097

Ref document number: 502019000750

Country of ref document: DE

PG25 Lapsed in a contracting state [announced via postgrant information from national office to epo]

Ref country code: SM

Free format text: LAPSE BECAUSE OF FAILURE TO SUBMIT A TRANSLATION OF THE DESCRIPTION OR TO PAY THE FEE WITHIN THE PRESCRIBED TIME-LIMIT

Effective date: 20210127

Ref country code: EE

Free format text: LAPSE BECAUSE OF FAILURE TO SUBMIT A TRANSLATION OF THE DESCRIPTION OR TO PAY THE FEE WITHIN THE PRESCRIBED TIME-LIMIT

Effective date: 20210127

Ref country code: CZ

Free format text: LAPSE BECAUSE OF FAILURE TO SUBMIT A TRANSLATION OF THE DESCRIPTION OR TO PAY THE FEE WITHIN THE PRESCRIBED TIME-LIMIT

Effective date: 20210127

Ref country code: MC

Free format text: LAPSE BECAUSE OF FAILURE TO SUBMIT A TRANSLATION OF THE DESCRIPTION OR TO PAY THE FEE WITHIN THE PRESCRIBED TIME-LIMIT

Effective date: 20210127

PG25 Lapsed in a contracting state [announced via postgrant information from national office to epo]

Ref country code: DK

Free format text: LAPSE BECAUSE OF FAILURE TO SUBMIT A TRANSLATION OF THE DESCRIPTION OR TO PAY THE FEE WITHIN THE PRESCRIBED TIME-LIMIT

Effective date: 20210127

Ref country code: SK

Free format text: LAPSE BECAUSE OF FAILURE TO SUBMIT A TRANSLATION OF THE DESCRIPTION OR TO PAY THE FEE WITHIN THE PRESCRIBED TIME-LIMIT

Effective date: 20210127

Ref country code: RO

Free format text: LAPSE BECAUSE OF FAILURE TO SUBMIT A TRANSLATION OF THE DESCRIPTION OR TO PAY THE FEE WITHIN THE PRESCRIBED TIME-LIMIT

Effective date: 20210127

PLBE No opposition filed within time limit

Free format text: ORIGINAL CODE: 0009261

STAA Information on the status of an ep patent application or granted ep patent

Free format text: STATUS: NO OPPOSITION FILED WITHIN TIME LIMIT

REG Reference to a national code

Ref country code: BE

Ref legal event code: MM

Effective date: 20210331

26N No opposition filed

Effective date: 20211028

PG25 Lapsed in a contracting state [announced via postgrant information from national office to epo]

Ref country code: ES

Free format text: LAPSE BECAUSE OF FAILURE TO SUBMIT A TRANSLATION OF THE DESCRIPTION OR TO PAY THE FEE WITHIN THE PRESCRIBED TIME-LIMIT

Effective date: 20210127

Ref country code: AL

Free format text: LAPSE BECAUSE OF FAILURE TO SUBMIT A TRANSLATION OF THE DESCRIPTION OR TO PAY THE FEE WITHIN THE PRESCRIBED TIME-LIMIT

Effective date: 20210127

Ref country code: IE

Free format text: LAPSE BECAUSE OF NON-PAYMENT OF DUE FEES

Effective date: 20210305

Ref country code: LU

Free format text: LAPSE BECAUSE OF NON-PAYMENT OF DUE FEES

Effective date: 20210305

Ref country code: FR

Free format text: LAPSE BECAUSE OF NON-PAYMENT OF DUE FEES

Effective date: 20210327

PG25 Lapsed in a contracting state [announced via postgrant information from national office to epo]

Ref country code: SI

Free format text: LAPSE BECAUSE OF FAILURE TO SUBMIT A TRANSLATION OF THE DESCRIPTION OR TO PAY THE FEE WITHIN THE PRESCRIBED TIME-LIMIT

Effective date: 20210127

PG25 Lapsed in a contracting state [announced via postgrant information from national office to epo]

Ref country code: IT

Free format text: LAPSE BECAUSE OF FAILURE TO SUBMIT A TRANSLATION OF THE DESCRIPTION OR TO PAY THE FEE WITHIN THE PRESCRIBED TIME-LIMIT

Effective date: 20210127

PG25 Lapsed in a contracting state [announced via postgrant information from national office to epo]

Ref country code: IS

Free format text: LAPSE BECAUSE OF FAILURE TO SUBMIT A TRANSLATION OF THE DESCRIPTION OR TO PAY THE FEE WITHIN THE PRESCRIBED TIME-LIMIT

Effective date: 20210527

PG25 Lapsed in a contracting state [announced via postgrant information from national office to epo]

Ref country code: BE

Free format text: LAPSE BECAUSE OF NON-PAYMENT OF DUE FEES

Effective date: 20210331

REG Reference to a national code

Ref country code: CH

Ref legal event code: PL

PG25 Lapsed in a contracting state [announced via postgrant information from national office to epo]

Ref country code: LI

Free format text: LAPSE BECAUSE OF NON-PAYMENT OF DUE FEES

Effective date: 20220331

Ref country code: CH

Free format text: LAPSE BECAUSE OF NON-PAYMENT OF DUE FEES

Effective date: 20220331

PG25 Lapsed in a contracting state [announced via postgrant information from national office to epo]

Ref country code: NL

Free format text: LAPSE BECAUSE OF NON-PAYMENT OF DUE FEES

Effective date: 20210127

Ref country code: CY

Free format text: LAPSE BECAUSE OF FAILURE TO SUBMIT A TRANSLATION OF THE DESCRIPTION OR TO PAY THE FEE WITHIN THE PRESCRIBED TIME-LIMIT

Effective date: 20210127

PG25 Lapsed in a contracting state [announced via postgrant information from national office to epo]

Ref country code: HU

Free format text: LAPSE BECAUSE OF FAILURE TO SUBMIT A TRANSLATION OF THE DESCRIPTION OR TO PAY THE FEE WITHIN THE PRESCRIBED TIME-LIMIT; INVALID AB INITIO

Effective date: 20190305

GBPC Gb: european patent ceased through non-payment of renewal fee

Effective date: 20230305

PG25 Lapsed in a contracting state [announced via postgrant information from national office to epo]

Ref country code: GB

Free format text: LAPSE BECAUSE OF NON-PAYMENT OF DUE FEES

Effective date: 20230305

PG25 Lapsed in a contracting state [announced via postgrant information from national office to epo]

Ref country code: GB

Free format text: LAPSE BECAUSE OF NON-PAYMENT OF DUE FEES

Effective date: 20230305

PG25 Lapsed in a contracting state [announced via postgrant information from national office to epo]

Ref country code: MK

Free format text: LAPSE BECAUSE OF FAILURE TO SUBMIT A TRANSLATION OF THE DESCRIPTION OR TO PAY THE FEE WITHIN THE PRESCRIBED TIME-LIMIT

Effective date: 20210127

PG25 Lapsed in a contracting state [announced via postgrant information from national office to epo]

Ref country code: TR

Free format text: LAPSE BECAUSE OF FAILURE TO SUBMIT A TRANSLATION OF THE DESCRIPTION OR TO PAY THE FEE WITHIN THE PRESCRIBED TIME-LIMIT

Effective date: 20210127

PG25 Lapsed in a contracting state [announced via postgrant information from national office to epo]

Ref country code: MT

Free format text: LAPSE BECAUSE OF FAILURE TO SUBMIT A TRANSLATION OF THE DESCRIPTION OR TO PAY THE FEE WITHIN THE PRESCRIBED TIME-LIMIT

Effective date: 20210127

REG Reference to a national code

Ref country code: AT

Ref legal event code: MM01

Ref document number: 1357877

Country of ref document: AT

Kind code of ref document: T

Effective date: 20240305

PGFP Annual fee paid to national office [announced via postgrant information from national office to epo]

Ref country code: DE

Payment date: 20250522

Year of fee payment: 7

PG25 Lapsed in a contracting state [announced via postgrant information from national office to epo]

Ref country code: AT

Free format text: LAPSE BECAUSE OF NON-PAYMENT OF DUE FEES

Effective date: 20240305