EP3368429B2 - Packet for smoking articles - Google Patents

Packet for smoking articles Download PDF

Info

Publication number
EP3368429B2
EP3368429B2 EP16787758.8A EP16787758A EP3368429B2 EP 3368429 B2 EP3368429 B2 EP 3368429B2 EP 16787758 A EP16787758 A EP 16787758A EP 3368429 B2 EP3368429 B2 EP 3368429B2
Authority
EP
European Patent Office
Prior art keywords
collar
container
packet
front wall
wrapper
Prior art date
Legal status (The legal status is an assumption and is not a legal conclusion. Google has not performed a legal analysis and makes no representation as to the accuracy of the status listed.)
Active
Application number
EP16787758.8A
Other languages
German (de)
French (fr)
Other versions
EP3368429B1 (en
EP3368429A1 (en
Inventor
Fiorenzo Draghetti
Current Assignee (The listed assignees may be inaccurate. Google has not performed a legal analysis and makes no representation or warranty as to the accuracy of the list.)
IMA Industria Macchine Automatiche SpA
Original Assignee
IMA Industria Macchine Automatiche SpA
Priority date (The priority date is an assumption and is not a legal conclusion. Google has not performed a legal analysis and makes no representation as to the accuracy of the date listed.)
Filing date
Publication date
Family has litigation
First worldwide family litigation filed litigation Critical https://patents.darts-ip.com/?family=55359663&utm_source=google_patent&utm_medium=platform_link&utm_campaign=public_patent_search&patent=EP3368429(B2) "Global patent litigation dataset” by Darts-ip is licensed under a Creative Commons Attribution 4.0 International License.
Application filed by IMA Industria Macchine Automatiche SpA filed Critical IMA Industria Macchine Automatiche SpA
Priority to PL16787758.8T priority Critical patent/PL3368429T5/en
Publication of EP3368429A1 publication Critical patent/EP3368429A1/en
Publication of EP3368429B1 publication Critical patent/EP3368429B1/en
Application granted granted Critical
Publication of EP3368429B2 publication Critical patent/EP3368429B2/en
Active legal-status Critical Current
Anticipated expiration legal-status Critical

Links

Images

Classifications

    • BPERFORMING OPERATIONS; TRANSPORTING
    • B65CONVEYING; PACKING; STORING; HANDLING THIN OR FILAMENTARY MATERIAL
    • B65DCONTAINERS FOR STORAGE OR TRANSPORT OF ARTICLES OR MATERIALS, e.g. BAGS, BARRELS, BOTTLES, BOXES, CANS, CARTONS, CRATES, DRUMS, JARS, TANKS, HOPPERS, FORWARDING CONTAINERS; ACCESSORIES, CLOSURES, OR FITTINGS THEREFOR; PACKAGING ELEMENTS; PACKAGES
    • B65D5/00Rigid or semi-rigid containers of polygonal cross-section, e.g. boxes, cartons or trays, formed by folding or erecting one or more blanks made of paper
    • B65D5/42Details of containers or of foldable or erectable container blanks
    • B65D5/44Integral, inserted or attached portions forming internal or external fittings
    • B65D5/50Internal supporting or protecting elements for contents
    • B65D5/5028Elements formed separately from the container body
    • B65D5/5035Paper elements
    • BPERFORMING OPERATIONS; TRANSPORTING
    • B65CONVEYING; PACKING; STORING; HANDLING THIN OR FILAMENTARY MATERIAL
    • B65DCONTAINERS FOR STORAGE OR TRANSPORT OF ARTICLES OR MATERIALS, e.g. BAGS, BARRELS, BOTTLES, BOXES, CANS, CARTONS, CRATES, DRUMS, JARS, TANKS, HOPPERS, FORWARDING CONTAINERS; ACCESSORIES, CLOSURES, OR FITTINGS THEREFOR; PACKAGING ELEMENTS; PACKAGES
    • B65D85/00Containers, packaging elements or packages, specially adapted for particular articles or materials
    • B65D85/07Containers, packaging elements or packages, specially adapted for particular articles or materials for compressible or flexible articles
    • B65D85/08Containers, packaging elements or packages, specially adapted for particular articles or materials for compressible or flexible articles rod-shaped or tubular
    • B65D85/10Containers, packaging elements or packages, specially adapted for particular articles or materials for compressible or flexible articles rod-shaped or tubular for cigarettes
    • B65D85/1036Containers formed by erecting a rigid or semi-rigid blank
    • B65D85/1045Containers formed by erecting a rigid or semi-rigid blank having a cap-like lid hinged to an edge
    • B65D85/1056Containers formed by erecting a rigid or semi-rigid blank having a cap-like lid hinged to an edge characterized by the lid
    • B65D85/10564Containers formed by erecting a rigid or semi-rigid blank having a cap-like lid hinged to an edge characterized by the lid having means for holding the lid in a closed position
    • BPERFORMING OPERATIONS; TRANSPORTING
    • B65CONVEYING; PACKING; STORING; HANDLING THIN OR FILAMENTARY MATERIAL
    • B65DCONTAINERS FOR STORAGE OR TRANSPORT OF ARTICLES OR MATERIALS, e.g. BAGS, BARRELS, BOTTLES, BOXES, CANS, CARTONS, CRATES, DRUMS, JARS, TANKS, HOPPERS, FORWARDING CONTAINERS; ACCESSORIES, CLOSURES, OR FITTINGS THEREFOR; PACKAGING ELEMENTS; PACKAGES
    • B65D85/00Containers, packaging elements or packages, specially adapted for particular articles or materials
    • B65D85/07Containers, packaging elements or packages, specially adapted for particular articles or materials for compressible or flexible articles
    • B65D85/08Containers, packaging elements or packages, specially adapted for particular articles or materials for compressible or flexible articles rod-shaped or tubular
    • B65D85/10Containers, packaging elements or packages, specially adapted for particular articles or materials for compressible or flexible articles rod-shaped or tubular for cigarettes
    • B65D85/1081Inserts or accessories added or joined to the container, e.g. coins, pens, cards, spacers
    • BPERFORMING OPERATIONS; TRANSPORTING
    • B65CONVEYING; PACKING; STORING; HANDLING THIN OR FILAMENTARY MATERIAL
    • B65DCONTAINERS FOR STORAGE OR TRANSPORT OF ARTICLES OR MATERIALS, e.g. BAGS, BARRELS, BOTTLES, BOXES, CANS, CARTONS, CRATES, DRUMS, JARS, TANKS, HOPPERS, FORWARDING CONTAINERS; ACCESSORIES, CLOSURES, OR FITTINGS THEREFOR; PACKAGING ELEMENTS; PACKAGES
    • B65D5/00Rigid or semi-rigid containers of polygonal cross-section, e.g. boxes, cartons or trays, formed by folding or erecting one or more blanks made of paper
    • B65D5/0005Rigid or semi-rigid containers of polygonal cross-section, e.g. boxes, cartons or trays, formed by folding or erecting one or more blanks made of paper of variable capacity

Definitions

  • This invention refers to a packet for smoking articles, especially cigarettes.
  • the invention has a useful application, especially in the tobacco industry.
  • Cigarettes are traditionally packaged in rigid packets, substantially shaped as a rectangular parallelepiped, with a hinged lid on the upper part along a hinging axis that enables access to the cigarettes contained inside.
  • the technical problem underlying this invention is, therefore, to provide a rigid packet for smoking articles, especially cigarettes, which solves said drawbacks in the art background, and in particular that stably contains a charge of cigarettes that overall occupies a smaller volume than the volume provided by the container in which it is placed, without compromising the rigidity of the packet itself, as part of a simple and rational constructive solution.
  • the aim of this invention is to meet said requirement and at the same to solve the drawbacks mentions above with reference to the known art.
  • Packet 1 comprises a container 2 made of a rigid parallelepiped carton or cardboard box, with a front wall 21, a rear wall 22, a bottom wall 24 and two lateral walls 23. Inside the container 2, a single parallelepiped-shaped wrapper 3 encloses a charge of smoking articles.
  • the container 2 has an open upper end bounded by an upper edge 20 and has a lid 5, which is cup-shaped and hinged to the container 2 along a hinge 50 for rotating, with respect to the container 2 itself, between an open position and a closed position.
  • the lid 5 when in its closed position, gives the container 2 a rectangular parallelepiped shaped with an upper side and a lower side parallel to and opposite each other, two major lateral sides parallel and opposite each other and two minor lateral sides parallel and opposite each other.
  • one of the major lateral sides defines the front wall 21 of the container 2
  • the other major lateral side defines the rear wall 22 of the container 2
  • the two minor lateral sides defines those that we refer to here simply as lateral walls 23.
  • front wall 21 and rear wall 22 four longitudinal edges are defined, in the upright example, while between the upper and bottom walls and the front, rear and lateral walls a total of eight transverse edges are defined.
  • Packet 1 also includes a rigid collar 6 (that is composed of rigid carton or cardboard), provided inside the container 2 and projecting outside of the container 2 through the open upper end 20.
  • the collar 6 has a front wall 61 and two lateral walls 63 arranged in contact, respectively, with the front wall 21 and the lateral walls 23 of the container 2.
  • the collar 6 is folded around the wrapper 3 to cover at least partially an upper part of the wrapper 3 and is fixed (normally by glue) to the container 2 or to the wrapper 3 or even to both the wrapper 3 and to the container 2.
  • the wrapper 3 can in turn be fixed, by glue, to the container 2 to a point where the collar 6 is not present, which is interposed between the wrapper 3 and the container 2.
  • the collar 6 projects partially outside of the upper edge 20 (together with the partially-covering wrapper 3) and engages an inner surface of the lid 5 when the lid 5 itself is in the closed position.
  • the collar 6 has a pair of teeth 66 which project laterally to engage by interference the lateral sides of the lid 5 in order to keep the lid 5 closed.
  • the width of the wrapper 3 is less than the width of the container 2, measured as the distance between the two lateral walls 23 of the container 2.
  • the charge of smoking articles enclosed in the wrapper 3 is placed centrally in the container 2 and occupies total volume less than that provided by the container 2, so as to leave, at the sides, a respective empty chamber 69, defined by an area without the wrapper 3 at the two lateral sides of the wrapper 3.
  • these empty chambers 69 are two cavities at the sides of the wrapper 3 inside the container 2. These cavities 69 are hollow spaces placed between the wrapper 3 and the container 2.
  • Each empty chamber 69 is located between one of the lateral wall of the container 2 and the nearest lateral side of the wrapper 3.
  • the collar 6 includes two partition walls 64 that divide the internal volume of the container 2 into a central chamber 68 occupied by the wrapper 3 and the two side empty chambers 69 to the two lateral sides of the wrapper 3.
  • each partition wall 64 is formed by two flat panels 64a, 64b folded and joined.
  • Each flat partition panel 64a, 64b of each partition wall 64 extends from the front wall 21 of the container 2 to the rear wall 22 of the container 2.
  • the flat partition panels 64a, 64b of each partition wall 64 are joined to the front wall 61 of the collar 6 by parallel fold lines 61a', 61b'.
  • the collar 6 includes a folded tab 7 placed within each of the two empty chambers 69 in order to immobilize the wrapper 3 in the container 2.
  • the flat partition panels 64a, 64b of each partition wall 64 are identical in size. Additionally, the flat partition panels 64a, 64b are substantially perpendicular to the front wall 61 of the collar 6.
  • each partition wall 64 is identical in size to the lateral walls 63 of the collar 6.
  • the flat partition panels 64a, 64b preferably have an identical extension to that of the entire lateral surface of the wrapper 3.
  • the flat partition panels (64a, 64b) and the front wall 61 of the collar 61 are formed by a single folded piece.
  • the collar 6 has no rear side and the wrapper 3 is in contact with the rear wall 22 of the container 2, on the inner face.
  • the front wall 61 of the collar 6 is formed by a central portion 61a and by two lateral sides 61b placed at the sides of the central portion 61a, in which said central 61a and lateral portions 61b are arranged side by side on a common plane.
  • the front wall 61 of the collar 6 is formed by three portions arranged side by side on a common plane: the central portion 61a and the two lateral portions 61b arranged at the sides of the central portion 61a.
  • the central 61a and lateral 61b portions of the front wall 61 of the collar 6 are externally in contact with the front wall 21 of the container 2, while internally, the central portion 61a of the front wall 61 of the collar 6 is in contact with a front side 31 of the wrapper 3, and internally, the lateral portions 61b of the front wall 61 of the collar 6 are arranged on the respective empty space 69.
  • the collar 6 is formed by a single piece from a folded blank 600.
  • the central portion 61a of the front wall 61 of the collar 6 has a window at the top 25 arranged on the outside of the container 2 and shaped into a "U".
  • Each folded tab 7 of the collar 6 is placed transversally to the lateral walls 23 of the container 2 and at a certain distance from an upper side 32 of the wrapper 3.
  • the folded tabs 7 of the collar 6 are hinged to the collar along a respective folding line 72, substantially perpendicular to the lateral walls 23 of the container 2.
  • the folded tabs 7 can be arranged parallel to the bottom wall 24 of the container 2 and at a distance so as to remain below the upper edge 20 of the container 2.
  • the collar is composed of a single blank 600 which is folded around the wrapper 3.
  • the blank 600 comprises a plurality of panels divided by lines of weakness.
  • the blank 600 includes: a central panel comprising the central portion 61a of the front wall 61 of the collar 6, the sides of the central panel to develop a respective pair of partition panels which constitutes the pair of flat partition panels 64a, 64b forming the partition wall 64.
  • the panels forming each pair of partition panels 64a, 64b are separated by folding line 64'.
  • each secondary panel develops constituting the lateral side 63 of the collar 6.
  • Each secondary panel is separated by part of the pair of partition panels and by the top part of the side panel by a respective folding line respectively with 61b' and 63' in figure 5 .
  • each secondary panel On each secondary panel a U-shaped incision 71 is created.
  • the two arms of the incision 71 are created with two longitudinal cuts along the folding lines 61b' and 63' and a transversal cut to join the longitudinal cuts to create the U-shaped incision.
  • the portion of the secondary panel inside the incision 71 forms the tab 7, by it folding 90° along the folding line 72 located parallel to the bottom wall 24 of the container 2.
  • the tab 7 may be folded at an angle less or than or greater than 90°.
  • the collar in this invention, refers to any reinforcement element placed between the wrapper and the container containing the wrapper itself.
  • the packet for smoking articles according to this invention enables the requirements to be met and overcomes the drawbacks referred to in the introduction to this description, with reference to the known technique.
  • the packet for smoking articles according to this invention ensures an adequate stability of the internal wrapper containing a charge of cigarettes and, at the same time, gives rigidity to the larger-sized container that contains it.

Landscapes

  • Engineering & Computer Science (AREA)
  • Mechanical Engineering (AREA)
  • Packaging Of Annular Or Rod-Shaped Articles, Wearing Apparel, Cassettes, Or The Like (AREA)
  • Cigarettes, Filters, And Manufacturing Of Filters (AREA)

Description

    Field of application
  • This invention refers to a packet for smoking articles, especially cigarettes.
  • The invention has a useful application, especially in the tobacco industry.
  • Background art
  • Cigarettes are traditionally packaged in rigid packets, substantially shaped as a rectangular parallelepiped, with a hinged lid on the upper part along a hinging axis that enables access to the cigarettes contained inside.
  • It is common practice, in order to better optimise the space provided by the packet itself, to realize containers that are fully occupied by charges of cigarettes placed inside.
  • In the case of a reduced number of cigarettes, there is therefore a tendency to create packets of an equally reduced size.
  • One problem with rigid cigarettes packets with a reduced size is the fact that the space remaining available on the external surface is also reduced, therefore the information that can be provided on the external surface of these smaller packets is limited. In addition, in countries where the law requires that a certain minimum surface area is required for "health warning" messages, it may be that, on the one hand, the smaller packets do not provide the minimum surface area required and, on the other hand, there may not be sufficient space to be able to include other desired information.
  • When creating a packet containing a charge of cigarettes which, overall, occupies a smaller space compared with the space provided, an empty space remains inside, with the risk that the charge of cigarettes may move freely inside the container, resulting in the possibility of causing a sudden deterioration in the structure of the cigarettes themselves, caused by the free movement.
  • Therefore, it is necessary that the stability of the charge of cigarettes is still guaranteed even in the event of a space provided by the container that is larger than the space occupied by the charge of cigarettes contained inside.
  • The technical problem underlying this invention is, therefore, to provide a rigid packet for smoking articles, especially cigarettes, which solves said drawbacks in the art background, and in particular that stably contains a charge of cigarettes that overall occupies a smaller volume than the volume provided by the container in which it is placed, without compromising the rigidity of the packet itself, as part of a simple and rational constructive solution.
  • The aim of this invention is to meet said requirement and at the same to solve the drawbacks mentions above with reference to the known art.
  • Document WO2015/067999A1 discloses a packet according to the preamble of claim 1.
  • Summary of the Invention
  • This aim is achieved by a packet for smoking articles, in accordance with Claim 1 of this invention.
  • The dependent claims outline the preferred and particularly advantageous embodiments of the packets according to the invention.
  • Further characteristics and advantages will become more apparent by the detailed description given below of a preferred, but not exclusive, embodiment of this invention, with reference to the accompanying drawings, given by way of example and not of limitation.
  • Brief description of the drawings
    • figure 1 shows a perspective view of a packet for smoking articles with the lid open, according to this invention;
    • figure 2A shows a perspective view of a folded collar in the state of use in the packet of figure 1;
    • figure 2B shows a perspective view of the collar in figure 2A prior to complete folding;
    • figure 3 shows a view of the top of the collar in figure 2A with a charge of cigarettes;
    • figure 4 shows a view of the top of the collar in the conditions of figure 2B;
    • figure 5 shows a plan view of a blank from which the collar is obtained, according to this invention.
    Detailed description
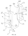
  • With reference to figure 1, a packet for smoking articles, particularly cigarettes, is generally identified with 1. Packet 1 comprises a container 2 made of a rigid parallelepiped carton or cardboard box, with a front wall 21, a rear wall 22, a bottom wall 24 and two lateral walls 23. Inside the container 2, a single parallelepiped-shaped wrapper 3 encloses a charge of smoking articles.
  • The container 2 has an open upper end bounded by an upper edge 20 and has a lid 5, which is cup-shaped and hinged to the container 2 along a hinge 50 for rotating, with respect to the container 2 itself, between an open position and a closed position.
  • The lid 5, when in its closed position, gives the container 2 a rectangular parallelepiped shaped with an upper side and a lower side parallel to and opposite each other, two major lateral sides parallel and opposite each other and two minor lateral sides parallel and opposite each other. Specifically, one of the major lateral sides defines the front wall 21 of the container 2, while the other major lateral side defines the rear wall 22 of the container 2; the two minor lateral sides defines those that we refer to here simply as lateral walls 23. Between the lateral walls 23, front wall 21 and rear wall 22 four longitudinal edges are defined, in the upright example, while between the upper and bottom walls and the front, rear and lateral walls a total of eight transverse edges are defined.
  • Packet 1 also includes a rigid collar 6 (that is composed of rigid carton or cardboard), provided inside the container 2 and projecting outside of the container 2 through the open upper end 20. The collar 6 has a front wall 61 and two lateral walls 63 arranged in contact, respectively, with the front wall 21 and the lateral walls 23 of the container 2.
  • The collar 6 is folded around the wrapper 3 to cover at least partially an upper part of the wrapper 3 and is fixed (normally by glue) to the container 2 or to the wrapper 3 or even to both the wrapper 3 and to the container 2. The wrapper 3 can in turn be fixed, by glue, to the container 2 to a point where the collar 6 is not present, which is interposed between the wrapper 3 and the container 2. The collar 6 projects partially outside of the upper edge 20 (together with the partially-covering wrapper 3) and engages an inner surface of the lid 5 when the lid 5 itself is in the closed position. Preferably, the collar 6 has a pair of teeth 66 which project laterally to engage by interference the lateral sides of the lid 5 in order to keep the lid 5 closed.
  • The width of the wrapper 3 is less than the width of the container 2, measured as the distance between the two lateral walls 23 of the container 2.
  • The charge of smoking articles enclosed in the wrapper 3 is placed centrally in the container 2 and occupies total volume less than that provided by the container 2, so as to leave, at the sides, a respective empty chamber 69, defined by an area without the wrapper 3 at the two lateral sides of the wrapper 3.
  • In practice, these empty chambers 69 are two cavities at the sides of the wrapper 3 inside the container 2. These cavities 69 are hollow spaces placed between the wrapper 3 and the container 2.
  • Each empty chamber 69 is located between one of the lateral wall of the container 2 and the nearest lateral side of the wrapper 3.
  • Specifically, the collar 6 includes two partition walls 64 that divide the internal volume of the container 2 into a central chamber 68 occupied by the wrapper 3 and the two side empty chambers 69 to the two lateral sides of the wrapper 3.
  • In accordance with this invention, each partition wall 64 is formed by two flat panels 64a, 64b folded and joined. Each flat partition panel 64a, 64b of each partition wall 64 extends from the front wall 21 of the container 2 to the rear wall 22 of the container 2. Also, the flat partition panels 64a, 64b of each partition wall 64 are joined to the front wall 61 of the collar 6 by parallel fold lines 61a', 61b'.
  • In accordance with this invention, the collar 6 includes a folded tab 7 placed within each of the two empty chambers 69 in order to immobilize the wrapper 3 in the container 2.
  • The flat partition panels 64a, 64b of each partition wall 64 are identical in size. Additionally, the flat partition panels 64a, 64b are substantially perpendicular to the front wall 61 of the collar 6.
  • Preferably, the flat partition panels 64a, 64b of each partition wall 64 are identical in size to the lateral walls 63 of the collar 6.
  • In order to improve the stability of the wrapper 3, the flat partition panels 64a, 64b preferably have an identical extension to that of the entire lateral surface of the wrapper 3.
  • Preferably, the flat partition panels (64a, 64b) and the front wall 61 of the collar 61 are formed by a single folded piece.
  • In the example shown, the collar 6 has no rear side and the wrapper 3 is in contact with the rear wall 22 of the container 2, on the inner face.
  • In accordance with the illustrated form, the front wall 61 of the collar 6 is formed by a central portion 61a and by two lateral sides 61b placed at the sides of the central portion 61a, in which said central 61a and lateral portions 61b are arranged side by side on a common plane.
  • In practice, the front wall 61 of the collar 6 is formed by three portions arranged side by side on a common plane: the central portion 61a and the two lateral portions 61b arranged at the sides of the central portion 61a.
  • The central 61a and lateral 61b portions of the front wall 61 of the collar 6 are externally in contact with the front wall 21 of the container 2, while internally, the central portion 61a of the front wall 61 of the collar 6 is in contact with a front side 31 of the wrapper 3, and internally, the lateral portions 61b of the front wall 61 of the collar 6 are arranged on the respective empty space 69.
  • The division of the entire internal volume of the container 2 respectively between the central chamber 68 occupied by the wrapper 3 and the empty side chambers 69 is achieved by three portions of collar folded into a U shape.
  • Preferably, the collar 6 is formed by a single piece from a folded blank 600.
  • As clearly shown in the figures, the central portion 61a of the front wall 61 of the collar 6 has a window at the top 25 arranged on the outside of the container 2 and shaped into a "U".
  • Each folded tab 7 of the collar 6 is placed transversally to the lateral walls 23 of the container 2 and at a certain distance from an upper side 32 of the wrapper 3.
  • In addition, each folded tab 7 of the collar 6 is in contact with the lateral part 63 of the collar 6 and with the nearest partition wall 64 of the collar 6.
  • The folded tabs 7 of the collar 6 are hinged to the collar along a respective folding line 72, substantially perpendicular to the lateral walls 23 of the container 2.
  • Specifically, each of the folded tabs 7 of the collar 6 is initially part of the lateral portion 61b of the front wall 61 of the collar 6, is separated from the lateral portion 61b of the front wall 61 of the collar 6 by a U-shaped incision 71, and is folded 90° with respect to the lateral portion 61b itself.
  • In this way, the distance between the wrapper 3 and the container 2 is kept fixed by the folded tabs 7.
  • The folded tabs 7 can be arranged parallel to the bottom wall 24 of the container 2 and at a distance so as to remain below the upper edge 20 of the container 2.
  • Each folded tab 7 also has its own two opposite lateral edges 7a, placed in direct contact with the lateral wall 63 and the partition wall 64 of the collar 6.
  • As shown in figure 5, the collar is composed of a single blank 600 which is folded around the wrapper 3. The blank 600 comprises a plurality of panels divided by lines of weakness.
  • In order to facilitate an understanding of the arrangement of the panels, the numbering used in figure 5 is the same of that used for the finished folded collar 6.
  • The blank 600 includes: a central panel comprising the central portion 61a of the front wall 61 of the collar 6, the sides of the central panel to develop a respective pair of partition panels which constitutes the pair of flat partition panels 64a, 64b forming the partition wall 64. The panels forming each pair of partition panels 64a, 64b are separated by folding line 64'.
  • At the sides of each pair of partition panels a secondary panel develops, constituting the lateral portion 61b of the front wall 61 of the collar 6.
  • Finally from the outermost side of each secondary panel, a lateral panel develops constituting the lateral side 63 of the collar 6.
  • Each secondary panel is separated by part of the pair of partition panels and by the top part of the side panel by a respective folding line respectively with 61b' and 63' in figure 5.
  • On each secondary panel a U-shaped incision 71 is created. The two arms of the incision 71 are created with two longitudinal cuts along the folding lines 61b' and 63' and a transversal cut to join the longitudinal cuts to create the U-shaped incision.
  • The portion of the secondary panel inside the incision 71 forms the tab 7, by it folding 90° along the folding line 72 located parallel to the bottom wall 24 of the container 2.
  • The tab 7 may be folded at an angle less or than or greater than 90°.
  • The collar, in this invention, refers to any reinforcement element placed between the wrapper and the container containing the wrapper itself.
  • As can be appreciated from what is described, the packet for smoking articles according to this invention enables the requirements to be met and overcomes the drawbacks referred to in the introduction to this description, with reference to the known technique.
  • Specifically, the packet for smoking articles according to this invention ensures an adequate stability of the internal wrapper containing a charge of cigarettes and, at the same time, gives rigidity to the larger-sized container that contains it.
  • Obviously, in order to meet contingent and specific requirements, a skilled technician may make numerous modifications and variants to the invention described above, all of which, however, contained within the scope of protection of the invention as defined by the following claims.

Claims (11)

  1. Packet (1) for smoking articles, comprising
    - a parallelepiped-shaped container (2) with a front wall (21), a rear wall (22), a bottom wall (24) and two lateral walls (23);
    - a single parallelepiped-shaped wrapper (3) enclosing a charge of smoking articles inside the container (2), this wrapper (3) having a width less than the width of the container (2) measured as the distance between the two lateral walls (23) of the container (2), this wrapper (3) being placed substantially centrally to the container (2);
    - a lid (5) hinged to the container (2) in order to be able to close an open upper end (20) of the container (2); and
    - a collar (6) arranged inside the container (2), projecting outside of the container (2) through said open upper end (20); this collar having a front wall (61) and two lateral walls (63) respectively arranged in contact with the front wall (21) and lateral walls (23) of the container (2); this collar (6) including two partition walls (64) that divide the internal volume of the container (2) into a central chamber (68) occupied by the wrapper (3) and two empty side chambers (69) at the lateral sides of the wrapper (3),
    wherein each partition wall (64) is formed by two flat partition panels (64a, 64b) folded and joined, each flat partition panel (64a, 64b) of each partition wall (64) extending from the front wall (21) of the container (2) to the rear wall (22) of the container (2), the flat partition panels (64a, 64b) of each partition wall (64) being joined to the front wall (61) of the collar (6) by parallel folding lines (61a', 61b') and wherein the collar (6) comprises a respective folded tab (7) placed inside each of the two empty chambers (69) in order to immobilize said wrapper (3) in the container (2), characterised by the fact that each of the folded tabs (7) of the collar (6) is initially part of the front wall (61) of the collar (6), is separated from the front wall (61) of the collar (6) by a U-shaped incision (71) and is folded by 90° with respect to the front wall (61) of the collar (6) and that each folded tab (7) of the collar (6) is hinged to the front wall (61) of the collar (6) along a folding line (72) substantially perpendicular to the lateral walls (23) of the container (2). [granted claims 1+12+13+14]
  2. Packet (1) according to claim 1, wherein the flat partition panels (64a, 64b) of each partition wall (64) are mutually identical in size.
  3. Packet (1) according to claim 1 or 2, wherein the flat partition panels (64a, 64b) are substantially perpendicular to the front wall (61) of the collar (6).
  4. Packet (1) according to any one of the preceding claims, wherein the flat partition panels (64a, 64b) of each partition wall (64) are identical in size to the lateral walls (63) of the collar (6).
  5. Packet (1) according to any one of the preceding claims, wherein the flat partition panels (64a, 64b) have an extension identical to that of the entire lateral surface of the wrapper (3).
  6. Packet (1) according to any one of the preceding claims, wherein the flat partition panels (64a, 64b) and the front wall (61) of the collar (6) are formed in a single folded piece.
  7. Packet (1) according to any one of the preceding claims, wherein the collar (6) has no rear side and the wrapper (3) is in contact with the rear wall (22) of the container (2).
  8. Packet (1) according to any one of the preceding claims, wherein the front wall (61) of the collar (6) is formed by a central portion (61a) and by two lateral portions (61b) placed at the sides of the central portion (61a); these central (61a) and lateral (61b) portions being arranged side by side on a common plane.
  9. Packet (1) according to claim 8, wherein the central portion (61a) of the front wall (61) of the collar (6) has a U-shaped window (25) at the top, arranged outside of the container (2).
  10. Packet (1) according to any one of the preceding claims, wherein each folded tab (7) of the collar (6) is placed transversely with respect to the lateral walls (23) of the container (2) and at a certain distance from an upper side (32) of the wrapper (3).
  11. Packet (1) according to any one of the preceding claims, wherein each folded tab (7) of the collar (6) is in contact with the lateral wall (63) of the collar (6) and with the partition wall (64) of the collar (6).
EP16787758.8A 2015-10-28 2016-10-12 Packet for smoking articles Active EP3368429B2 (en)

Priority Applications (1)

Application Number Priority Date Filing Date Title
PL16787758.8T PL3368429T5 (en) 2015-10-28 2016-10-12 SMOKING ITEM PACKAGING

Applications Claiming Priority (2)

Application Number Priority Date Filing Date Title
ITUB2015A005348A ITUB20155348A1 (en) 2015-10-28 2015-10-28 Package for smoking items
PCT/EP2016/074476 WO2017071957A1 (en) 2015-10-28 2016-10-12 Packet for smoking articles

Publications (3)

Publication Number Publication Date
EP3368429A1 EP3368429A1 (en) 2018-09-05
EP3368429B1 EP3368429B1 (en) 2019-08-21
EP3368429B2 true EP3368429B2 (en) 2025-01-08

Family

ID=55359663

Family Applications (1)

Application Number Title Priority Date Filing Date
EP16787758.8A Active EP3368429B2 (en) 2015-10-28 2016-10-12 Packet for smoking articles

Country Status (4)

Country Link
EP (1) EP3368429B2 (en)
IT (1) ITUB20155348A1 (en)
PL (1) PL3368429T5 (en)
WO (1) WO2017071957A1 (en)

Families Citing this family (5)

* Cited by examiner, † Cited by third party
Publication number Priority date Publication date Assignee Title
IT201700047993A1 (en) 2017-05-04 2018-11-04 Gd Spa Pack of cigarettes and method to make it happen.
DE102019108824A1 (en) * 2019-04-04 2020-10-08 Focke & Co. (Gmbh & Co. Kg) Package for products of the tobacco industry and process for the production thereof
ES2926174T3 (en) 2020-05-12 2022-10-24 Jt Int Sa Inner frame for a pack of cigarettes
DE102021104858A1 (en) 2021-03-01 2022-09-01 Focke & Co. (Gmbh & Co. Kg) Pack for stick shaped products
DE102021118906A1 (en) 2021-07-21 2023-01-26 Focke & Co. (Gmbh & Co. Kg) Pack for cigarette industry products

Citations (8)

* Cited by examiner, † Cited by third party
Publication number Priority date Publication date Assignee Title
GB162948A (en) † 1920-06-03 1921-05-12 Guy Allen Improved carton or case for containing cigarettes or the like
US1585683A (en) † 1924-12-17 1926-05-25 Ferdinand S Oppenheim Container
GB522469A (en) † 1938-10-12 1940-06-19 John Walker Chalmers Improvements in or relating to cigarette containers
GB588741A (en) † 1945-01-31 1947-06-02 John Walker Chalmers Improvements in or relating to boxes
DE4342523A1 (en) † 1993-12-14 1995-06-22 Focke & Co Flip top box for accommodating internally wrapped block of cigarettes
DE20017818U1 (en) † 2000-10-17 2001-03-15 Haak, Bertram, 71332 Waiblingen Use, especially for outer packaging
WO2015114589A1 (en) † 2014-01-31 2015-08-06 G.D Societa' Per Azioni A rigid packet with hinged lid and containing a group of smoking articles of reduced size
EP2977334A1 (en) † 2014-07-21 2016-01-27 Focke & Co. (GmbH & Co. KG) Package for cigarettes and method and device for the manufacturing of such packages

Family Cites Families (10)

* Cited by examiner, † Cited by third party
Publication number Priority date Publication date Assignee Title
US5158664A (en) * 1991-12-04 1992-10-27 Philip Morris Incorporated Innerframe for packing cigarettes of variable diameter in standard width pack
DE4310769A1 (en) * 1993-04-02 1994-10-06 Focke & Co Hinged box
ITBO20080411A1 (en) 2008-06-27 2009-12-28 Gd Spa PACKAGE FOR EXTENDED SHAPE ITEMS.
DE102010035938B4 (en) 2010-08-31 2022-02-10 British American Tobacco (Germany) Gmbh Cigarette pack with cavity
ITBO20130613A1 (en) * 2013-11-08 2015-05-09 Gima Tt Srl RIGID PACKAGE WITH HINGED LID
PL3099586T3 (en) 2014-01-31 2019-11-29 Gd Spa A rigid packet with hinged lid and containing a group of smoking articles of reduced size
WO2015114561A1 (en) * 2014-01-31 2015-08-06 G.D S.P.A. Packet for tobacco products
DE102014014381A1 (en) * 2014-02-07 2015-08-13 Focke & Co. (Gmbh & Co. Kg) Pack for cigarettes
EP3107831B1 (en) 2014-02-21 2017-09-20 GIMA TT S.p.A. Rigid package with hinged lid
EP3227196B1 (en) 2014-12-02 2018-10-24 G.D Societa' Per Azioni Rigid packet with hinged lid and containing a group of smoking articles of reduced size

Patent Citations (8)

* Cited by examiner, † Cited by third party
Publication number Priority date Publication date Assignee Title
GB162948A (en) † 1920-06-03 1921-05-12 Guy Allen Improved carton or case for containing cigarettes or the like
US1585683A (en) † 1924-12-17 1926-05-25 Ferdinand S Oppenheim Container
GB522469A (en) † 1938-10-12 1940-06-19 John Walker Chalmers Improvements in or relating to cigarette containers
GB588741A (en) † 1945-01-31 1947-06-02 John Walker Chalmers Improvements in or relating to boxes
DE4342523A1 (en) † 1993-12-14 1995-06-22 Focke & Co Flip top box for accommodating internally wrapped block of cigarettes
DE20017818U1 (en) † 2000-10-17 2001-03-15 Haak, Bertram, 71332 Waiblingen Use, especially for outer packaging
WO2015114589A1 (en) † 2014-01-31 2015-08-06 G.D Societa' Per Azioni A rigid packet with hinged lid and containing a group of smoking articles of reduced size
EP2977334A1 (en) † 2014-07-21 2016-01-27 Focke & Co. (GmbH & Co. KG) Package for cigarettes and method and device for the manufacturing of such packages

Also Published As

Publication number Publication date
WO2017071957A1 (en) 2017-05-04
EP3368429B1 (en) 2019-08-21
ITUB20155348A1 (en) 2017-04-28
PL3368429T3 (en) 2020-03-31
PL3368429T5 (en) 2025-02-10
EP3368429A1 (en) 2018-09-05

Similar Documents

Publication Publication Date Title
EP3368429B2 (en) Packet for smoking articles
KR100719309B1 (en) Rigid cigarette packs with hinged lids and packs of cigarettes
EP2141090B1 (en) Package for rod-shaped smoking article and its blank
CN105980265B (en) For the hard packing of tobacco product and the packing method of manufacture rigid packets of cigarettes
EP3380406B1 (en) Packet for smoking articles
EP3164342B1 (en) Package for smoking articles
EP1601589B1 (en) Smoking article pack blank(s)
EP3099586B1 (en) A rigid packet with hinged lid and containing a group of smoking articles of reduced size
JP2007527826A (en) Rigid packaging for tobacco products
IT201900001127A1 (en) Rigid package of smoking articles with double hinged lid and blank to make said rigid package of smoking articles.
EP3099583B1 (en) A rigid packet with hinged lid and containing a group of smoking articles of reduced size
WO2015186089A1 (en) Package of smoke articles with a sliding opening and respective blanks
ITBO990181A1 (en) RIGID ENCLOSURE WITH HINGED COVER FOR TOBACCO ITEMS.
ITBO20130613A1 (en) RIGID PACKAGE WITH HINGED LID
EP3099587B1 (en) A rigid packet with hinged lid and containing a group of smoking articles of reduced size
EP3166859B1 (en) Rigid packet of cigarettes and respective blank
ITBO20090298A1 (en) PACKAGE OF RIGID CIGARETTE
WO2015015399A1 (en) Packet for smoker's articles, in particular cigarettes.
US20070108074A1 (en) Flip-top packet for cigarettes
EP3681812B1 (en) Package for articles
EP4010271B1 (en) Pack for smoking articles
EP3197795B1 (en) Packet of smoking articles with laterally hinged lid
KR20100008277U (en) Cookie packing tray
ITBO20150033U1 (en) PACKAGE FOR SMOKE ITEMS
HK1089734A1 (en) Folding box for cigarettes

Legal Events

Date Code Title Description
STAA Information on the status of an ep patent application or granted ep patent

Free format text: STATUS: UNKNOWN

STAA Information on the status of an ep patent application or granted ep patent

Free format text: STATUS: THE INTERNATIONAL PUBLICATION HAS BEEN MADE

PUAI Public reference made under article 153(3) epc to a published international application that has entered the european phase

Free format text: ORIGINAL CODE: 0009012

STAA Information on the status of an ep patent application or granted ep patent

Free format text: STATUS: REQUEST FOR EXAMINATION WAS MADE

17P Request for examination filed

Effective date: 20180528

AK Designated contracting states

Kind code of ref document: A1

Designated state(s): AL AT BE BG CH CY CZ DE DK EE ES FI FR GB GR HR HU IE IS IT LI LT LU LV MC MK MT NL NO PL PT RO RS SE SI SK SM TR

AX Request for extension of the european patent

Extension state: BA ME

DAV Request for validation of the european patent (deleted)
DAX Request for extension of the european patent (deleted)
GRAP Despatch of communication of intention to grant a patent

Free format text: ORIGINAL CODE: EPIDOSNIGR1

STAA Information on the status of an ep patent application or granted ep patent

Free format text: STATUS: GRANT OF PATENT IS INTENDED

TPAC Observations filed by third parties

Free format text: ORIGINAL CODE: EPIDOSNTIPA

INTG Intention to grant announced

Effective date: 20190402

GRAS Grant fee paid

Free format text: ORIGINAL CODE: EPIDOSNIGR3

GRAA (expected) grant

Free format text: ORIGINAL CODE: 0009210

STAA Information on the status of an ep patent application or granted ep patent

Free format text: STATUS: THE PATENT HAS BEEN GRANTED

AK Designated contracting states

Kind code of ref document: B1

Designated state(s): AL AT BE BG CH CY CZ DE DK EE ES FI FR GB GR HR HU IE IS IT LI LT LU LV MC MK MT NL NO PL PT RO RS SE SI SK SM TR

REG Reference to a national code

Ref country code: GB

Ref legal event code: FG4D

REG Reference to a national code

Ref country code: CH

Ref legal event code: EP

REG Reference to a national code

Ref country code: DE

Ref legal event code: R096

Ref document number: 602016019136

Country of ref document: DE

REG Reference to a national code

Ref country code: AT

Ref legal event code: REF

Ref document number: 1169479

Country of ref document: AT

Kind code of ref document: T

Effective date: 20190915

REG Reference to a national code

Ref country code: IE

Ref legal event code: FG4D

RAP2 Party data changed (patent owner data changed or rights of a patent transferred)

Owner name: I.M.A. INDUSTRIA MACCHINE AUTOMATICHE S.P.A

REG Reference to a national code

Ref country code: LT

Ref legal event code: MG4D

REG Reference to a national code

Ref country code: NL

Ref legal event code: MP

Effective date: 20190821

PG25 Lapsed in a contracting state [announced via postgrant information from national office to epo]

Ref country code: LT

Free format text: LAPSE BECAUSE OF FAILURE TO SUBMIT A TRANSLATION OF THE DESCRIPTION OR TO PAY THE FEE WITHIN THE PRESCRIBED TIME-LIMIT

Effective date: 20190821

Ref country code: FI

Free format text: LAPSE BECAUSE OF FAILURE TO SUBMIT A TRANSLATION OF THE DESCRIPTION OR TO PAY THE FEE WITHIN THE PRESCRIBED TIME-LIMIT

Effective date: 20190821

Ref country code: NL

Free format text: LAPSE BECAUSE OF FAILURE TO SUBMIT A TRANSLATION OF THE DESCRIPTION OR TO PAY THE FEE WITHIN THE PRESCRIBED TIME-LIMIT

Effective date: 20190821

Ref country code: BG

Free format text: LAPSE BECAUSE OF FAILURE TO SUBMIT A TRANSLATION OF THE DESCRIPTION OR TO PAY THE FEE WITHIN THE PRESCRIBED TIME-LIMIT

Effective date: 20191121

Ref country code: NO

Free format text: LAPSE BECAUSE OF FAILURE TO SUBMIT A TRANSLATION OF THE DESCRIPTION OR TO PAY THE FEE WITHIN THE PRESCRIBED TIME-LIMIT

Effective date: 20191121

Ref country code: SE

Free format text: LAPSE BECAUSE OF FAILURE TO SUBMIT A TRANSLATION OF THE DESCRIPTION OR TO PAY THE FEE WITHIN THE PRESCRIBED TIME-LIMIT

Effective date: 20190821

Ref country code: HR

Free format text: LAPSE BECAUSE OF FAILURE TO SUBMIT A TRANSLATION OF THE DESCRIPTION OR TO PAY THE FEE WITHIN THE PRESCRIBED TIME-LIMIT

Effective date: 20190821

Ref country code: PT

Free format text: LAPSE BECAUSE OF FAILURE TO SUBMIT A TRANSLATION OF THE DESCRIPTION OR TO PAY THE FEE WITHIN THE PRESCRIBED TIME-LIMIT

Effective date: 20191223

REG Reference to a national code

Ref country code: DE

Ref legal event code: R081

Ref document number: 602016019136

Country of ref document: DE

Owner name: I.M.A. INDUSTRIA MACCHINE AUTOMATICHE S.P.A., , IT

Free format text: FORMER OWNER: GIMA TT S.P.A., OZZANO DELL'EMILIA, IT

RAP2 Party data changed (patent owner data changed or rights of a patent transferred)

Owner name: I.M.A. INDUSTRIA MACCHINE AUTOMATICHE S.P.A.

PG25 Lapsed in a contracting state [announced via postgrant information from national office to epo]

Ref country code: IS

Free format text: LAPSE BECAUSE OF FAILURE TO SUBMIT A TRANSLATION OF THE DESCRIPTION OR TO PAY THE FEE WITHIN THE PRESCRIBED TIME-LIMIT

Effective date: 20191221

Ref country code: LV

Free format text: LAPSE BECAUSE OF FAILURE TO SUBMIT A TRANSLATION OF THE DESCRIPTION OR TO PAY THE FEE WITHIN THE PRESCRIBED TIME-LIMIT

Effective date: 20190821

Ref country code: RS

Free format text: LAPSE BECAUSE OF FAILURE TO SUBMIT A TRANSLATION OF THE DESCRIPTION OR TO PAY THE FEE WITHIN THE PRESCRIBED TIME-LIMIT

Effective date: 20190821

Ref country code: GR

Free format text: LAPSE BECAUSE OF FAILURE TO SUBMIT A TRANSLATION OF THE DESCRIPTION OR TO PAY THE FEE WITHIN THE PRESCRIBED TIME-LIMIT

Effective date: 20191122

Ref country code: AL

Free format text: LAPSE BECAUSE OF FAILURE TO SUBMIT A TRANSLATION OF THE DESCRIPTION OR TO PAY THE FEE WITHIN THE PRESCRIBED TIME-LIMIT

Effective date: 20190821

Ref country code: ES

Free format text: LAPSE BECAUSE OF FAILURE TO SUBMIT A TRANSLATION OF THE DESCRIPTION OR TO PAY THE FEE WITHIN THE PRESCRIBED TIME-LIMIT

Effective date: 20190821

REG Reference to a national code

Ref country code: AT

Ref legal event code: MK05

Ref document number: 1169479

Country of ref document: AT

Kind code of ref document: T

Effective date: 20190821

PG25 Lapsed in a contracting state [announced via postgrant information from national office to epo]

Ref country code: TR

Free format text: LAPSE BECAUSE OF FAILURE TO SUBMIT A TRANSLATION OF THE DESCRIPTION OR TO PAY THE FEE WITHIN THE PRESCRIBED TIME-LIMIT

Effective date: 20190821

PG25 Lapsed in a contracting state [announced via postgrant information from national office to epo]

Ref country code: EE

Free format text: LAPSE BECAUSE OF FAILURE TO SUBMIT A TRANSLATION OF THE DESCRIPTION OR TO PAY THE FEE WITHIN THE PRESCRIBED TIME-LIMIT

Effective date: 20190821

Ref country code: AT

Free format text: LAPSE BECAUSE OF FAILURE TO SUBMIT A TRANSLATION OF THE DESCRIPTION OR TO PAY THE FEE WITHIN THE PRESCRIBED TIME-LIMIT

Effective date: 20190821

Ref country code: DK

Free format text: LAPSE BECAUSE OF FAILURE TO SUBMIT A TRANSLATION OF THE DESCRIPTION OR TO PAY THE FEE WITHIN THE PRESCRIBED TIME-LIMIT

Effective date: 20190821

Ref country code: RO

Free format text: LAPSE BECAUSE OF FAILURE TO SUBMIT A TRANSLATION OF THE DESCRIPTION OR TO PAY THE FEE WITHIN THE PRESCRIBED TIME-LIMIT

Effective date: 20190821

REG Reference to a national code

Ref country code: DE

Ref legal event code: R026

Ref document number: 602016019136

Country of ref document: DE

PG25 Lapsed in a contracting state [announced via postgrant information from national office to epo]

Ref country code: SM

Free format text: LAPSE BECAUSE OF FAILURE TO SUBMIT A TRANSLATION OF THE DESCRIPTION OR TO PAY THE FEE WITHIN THE PRESCRIBED TIME-LIMIT

Effective date: 20190821

Ref country code: SK

Free format text: LAPSE BECAUSE OF FAILURE TO SUBMIT A TRANSLATION OF THE DESCRIPTION OR TO PAY THE FEE WITHIN THE PRESCRIBED TIME-LIMIT

Effective date: 20190821

Ref country code: CZ

Free format text: LAPSE BECAUSE OF FAILURE TO SUBMIT A TRANSLATION OF THE DESCRIPTION OR TO PAY THE FEE WITHIN THE PRESCRIBED TIME-LIMIT

Effective date: 20190821

Ref country code: MC

Free format text: LAPSE BECAUSE OF FAILURE TO SUBMIT A TRANSLATION OF THE DESCRIPTION OR TO PAY THE FEE WITHIN THE PRESCRIBED TIME-LIMIT

Effective date: 20190821

Ref country code: IS

Free format text: LAPSE BECAUSE OF FAILURE TO SUBMIT A TRANSLATION OF THE DESCRIPTION OR TO PAY THE FEE WITHIN THE PRESCRIBED TIME-LIMIT

Effective date: 20200224

PLBI Opposition filed

Free format text: ORIGINAL CODE: 0009260

REG Reference to a national code

Ref country code: CH

Ref legal event code: PL

PLAX Notice of opposition and request to file observation + time limit sent

Free format text: ORIGINAL CODE: EPIDOSNOBS2

26 Opposition filed

Opponent name: FOCKE & CO. (GMBH & CO. KG)

Effective date: 20200520

PG2D Information on lapse in contracting state deleted

Ref country code: IS

PG25 Lapsed in a contracting state [announced via postgrant information from national office to epo]

Ref country code: LI

Free format text: LAPSE BECAUSE OF NON-PAYMENT OF DUE FEES

Effective date: 20191031

Ref country code: LU

Free format text: LAPSE BECAUSE OF NON-PAYMENT OF DUE FEES

Effective date: 20191012

Ref country code: CH

Free format text: LAPSE BECAUSE OF NON-PAYMENT OF DUE FEES

Effective date: 20191031

REG Reference to a national code

Ref country code: BE

Ref legal event code: MM

Effective date: 20191031

PG25 Lapsed in a contracting state [announced via postgrant information from national office to epo]

Ref country code: SI

Free format text: LAPSE BECAUSE OF FAILURE TO SUBMIT A TRANSLATION OF THE DESCRIPTION OR TO PAY THE FEE WITHIN THE PRESCRIBED TIME-LIMIT

Effective date: 20190821

Ref country code: BE

Free format text: LAPSE BECAUSE OF NON-PAYMENT OF DUE FEES

Effective date: 20191031

PLBB Reply of patent proprietor to notice(s) of opposition received

Free format text: ORIGINAL CODE: EPIDOSNOBS3

PG25 Lapsed in a contracting state [announced via postgrant information from national office to epo]

Ref country code: IE

Free format text: LAPSE BECAUSE OF NON-PAYMENT OF DUE FEES

Effective date: 20191012

Ref country code: FR

Free format text: LAPSE BECAUSE OF NON-PAYMENT OF DUE FEES

Effective date: 20191021

PG25 Lapsed in a contracting state [announced via postgrant information from national office to epo]

Ref country code: CY

Free format text: LAPSE BECAUSE OF FAILURE TO SUBMIT A TRANSLATION OF THE DESCRIPTION OR TO PAY THE FEE WITHIN THE PRESCRIBED TIME-LIMIT

Effective date: 20190821

GBPC Gb: european patent ceased through non-payment of renewal fee

Effective date: 20201012

PG25 Lapsed in a contracting state [announced via postgrant information from national office to epo]

Ref country code: HU

Free format text: LAPSE BECAUSE OF FAILURE TO SUBMIT A TRANSLATION OF THE DESCRIPTION OR TO PAY THE FEE WITHIN THE PRESCRIBED TIME-LIMIT; INVALID AB INITIO

Effective date: 20161012

Ref country code: MT

Free format text: LAPSE BECAUSE OF FAILURE TO SUBMIT A TRANSLATION OF THE DESCRIPTION OR TO PAY THE FEE WITHIN THE PRESCRIBED TIME-LIMIT

Effective date: 20190821

PG25 Lapsed in a contracting state [announced via postgrant information from national office to epo]

Ref country code: GB

Free format text: LAPSE BECAUSE OF NON-PAYMENT OF DUE FEES

Effective date: 20201012

PG25 Lapsed in a contracting state [announced via postgrant information from national office to epo]

Ref country code: MK

Free format text: LAPSE BECAUSE OF FAILURE TO SUBMIT A TRANSLATION OF THE DESCRIPTION OR TO PAY THE FEE WITHIN THE PRESCRIBED TIME-LIMIT

Effective date: 20190821

APBM Appeal reference recorded

Free format text: ORIGINAL CODE: EPIDOSNREFNO

APBP Date of receipt of notice of appeal recorded

Free format text: ORIGINAL CODE: EPIDOSNNOA2O

APAH Appeal reference modified

Free format text: ORIGINAL CODE: EPIDOSCREFNO

APBQ Date of receipt of statement of grounds of appeal recorded

Free format text: ORIGINAL CODE: EPIDOSNNOA3O

P01 Opt-out of the competence of the unified patent court (upc) registered

Effective date: 20230508

APBU Appeal procedure closed

Free format text: ORIGINAL CODE: EPIDOSNNOA9O

PUAH Patent maintained in amended form

Free format text: ORIGINAL CODE: 0009272

STAA Information on the status of an ep patent application or granted ep patent

Free format text: STATUS: PATENT MAINTAINED AS AMENDED

27A Patent maintained in amended form

Effective date: 20250108

AK Designated contracting states

Kind code of ref document: B2

Designated state(s): AL AT BE BG CH CY CZ DE DK EE ES FI FR GB GR HR HU IE IS IT LI LT LU LV MC MK MT NL NO PL PT RO RS SE SI SK SM TR

REG Reference to a national code

Ref country code: DE

Ref legal event code: R102

Ref document number: 602016019136

Country of ref document: DE

PGFP Annual fee paid to national office [announced via postgrant information from national office to epo]

Ref country code: PL

Payment date: 20250928

Year of fee payment: 10

Ref country code: IT

Payment date: 20250923

Year of fee payment: 10

PGFP Annual fee paid to national office [announced via postgrant information from national office to epo]

Ref country code: DE

Payment date: 20250923

Year of fee payment: 10