EP3296022B1 - Dispositif d'application - Google Patents
Dispositif d'application Download PDFInfo
- Publication number
- EP3296022B1 EP3296022B1 EP17190768.6A EP17190768A EP3296022B1 EP 3296022 B1 EP3296022 B1 EP 3296022B1 EP 17190768 A EP17190768 A EP 17190768A EP 3296022 B1 EP3296022 B1 EP 3296022B1
- Authority
- EP
- European Patent Office
- Prior art keywords
- nozzle
- product
- gun according
- passage
- gun
- Prior art date
- Legal status (The legal status is an assumption and is not a legal conclusion. Google has not performed a legal analysis and makes no representation as to the accuracy of the status listed.)
- Active
Links
Images
Classifications
-
- B—PERFORMING OPERATIONS; TRANSPORTING
- B05—SPRAYING OR ATOMISING IN GENERAL; APPLYING FLUENT MATERIALS TO SURFACES, IN GENERAL
- B05B—SPRAYING APPARATUS; ATOMISING APPARATUS; NOZZLES
- B05B1/00—Nozzles, spray heads or other outlets, with or without auxiliary devices such as valves, heating means
- B05B1/30—Nozzles, spray heads or other outlets, with or without auxiliary devices such as valves, heating means designed to control volume of flow, e.g. with adjustable passages
- B05B1/3033—Nozzles, spray heads or other outlets, with or without auxiliary devices such as valves, heating means designed to control volume of flow, e.g. with adjustable passages the control being effected by relative coaxial longitudinal movement of the controlling element and the spray head
- B05B1/304—Nozzles, spray heads or other outlets, with or without auxiliary devices such as valves, heating means designed to control volume of flow, e.g. with adjustable passages the control being effected by relative coaxial longitudinal movement of the controlling element and the spray head the controlling element being a lift valve
- B05B1/3046—Nozzles, spray heads or other outlets, with or without auxiliary devices such as valves, heating means designed to control volume of flow, e.g. with adjustable passages the control being effected by relative coaxial longitudinal movement of the controlling element and the spray head the controlling element being a lift valve the valve element, e.g. a needle, co-operating with a valve seat located downstream of the valve element and its actuating means, generally in the proximity of the outlet orifice
-
- B—PERFORMING OPERATIONS; TRANSPORTING
- B05—SPRAYING OR ATOMISING IN GENERAL; APPLYING FLUENT MATERIALS TO SURFACES, IN GENERAL
- B05B—SPRAYING APPARATUS; ATOMISING APPARATUS; NOZZLES
- B05B1/00—Nozzles, spray heads or other outlets, with or without auxiliary devices such as valves, heating means
- B05B1/34—Nozzles, spray heads or other outlets, with or without auxiliary devices such as valves, heating means designed to influence the nature of flow of the liquid or other fluent material, e.g. to produce swirl
-
- B—PERFORMING OPERATIONS; TRANSPORTING
- B05—SPRAYING OR ATOMISING IN GENERAL; APPLYING FLUENT MATERIALS TO SURFACES, IN GENERAL
- B05B—SPRAYING APPARATUS; ATOMISING APPARATUS; NOZZLES
- B05B1/00—Nozzles, spray heads or other outlets, with or without auxiliary devices such as valves, heating means
- B05B1/34—Nozzles, spray heads or other outlets, with or without auxiliary devices such as valves, heating means designed to influence the nature of flow of the liquid or other fluent material, e.g. to produce swirl
- B05B1/3405—Nozzles, spray heads or other outlets, with or without auxiliary devices such as valves, heating means designed to influence the nature of flow of the liquid or other fluent material, e.g. to produce swirl to produce swirl
- B05B1/341—Nozzles, spray heads or other outlets, with or without auxiliary devices such as valves, heating means designed to influence the nature of flow of the liquid or other fluent material, e.g. to produce swirl to produce swirl before discharging the liquid or other fluent material, e.g. in a swirl chamber upstream the spray outlet
- B05B1/3415—Nozzles, spray heads or other outlets, with or without auxiliary devices such as valves, heating means designed to influence the nature of flow of the liquid or other fluent material, e.g. to produce swirl to produce swirl before discharging the liquid or other fluent material, e.g. in a swirl chamber upstream the spray outlet with swirl imparting inserts upstream of the swirl chamber
-
- B—PERFORMING OPERATIONS; TRANSPORTING
- B05—SPRAYING OR ATOMISING IN GENERAL; APPLYING FLUENT MATERIALS TO SURFACES, IN GENERAL
- B05B—SPRAYING APPARATUS; ATOMISING APPARATUS; NOZZLES
- B05B1/00—Nozzles, spray heads or other outlets, with or without auxiliary devices such as valves, heating means
- B05B1/34—Nozzles, spray heads or other outlets, with or without auxiliary devices such as valves, heating means designed to influence the nature of flow of the liquid or other fluent material, e.g. to produce swirl
- B05B1/3405—Nozzles, spray heads or other outlets, with or without auxiliary devices such as valves, heating means designed to influence the nature of flow of the liquid or other fluent material, e.g. to produce swirl to produce swirl
- B05B1/341—Nozzles, spray heads or other outlets, with or without auxiliary devices such as valves, heating means designed to influence the nature of flow of the liquid or other fluent material, e.g. to produce swirl to produce swirl before discharging the liquid or other fluent material, e.g. in a swirl chamber upstream the spray outlet
- B05B1/3468—Nozzles, spray heads or other outlets, with or without auxiliary devices such as valves, heating means designed to influence the nature of flow of the liquid or other fluent material, e.g. to produce swirl to produce swirl before discharging the liquid or other fluent material, e.g. in a swirl chamber upstream the spray outlet with means for controlling the flow of liquid entering or leaving the swirl chamber
-
- B—PERFORMING OPERATIONS; TRANSPORTING
- B05—SPRAYING OR ATOMISING IN GENERAL; APPLYING FLUENT MATERIALS TO SURFACES, IN GENERAL
- B05B—SPRAYING APPARATUS; ATOMISING APPARATUS; NOZZLES
- B05B12/00—Arrangements for controlling delivery; Arrangements for controlling the spray area
- B05B12/002—Manually-actuated controlling means, e.g. push buttons, levers or triggers
-
- B—PERFORMING OPERATIONS; TRANSPORTING
- B05—SPRAYING OR ATOMISING IN GENERAL; APPLYING FLUENT MATERIALS TO SURFACES, IN GENERAL
- B05B—SPRAYING APPARATUS; ATOMISING APPARATUS; NOZZLES
- B05B7/00—Spraying apparatus for discharge of liquids or other fluent materials from two or more sources, e.g. of liquid and air, of powder and gas
- B05B7/02—Spray pistols; Apparatus for discharge
- B05B7/025—Nozzles having elongated outlets, e.g. slots, for the material to be sprayed
-
- B—PERFORMING OPERATIONS; TRANSPORTING
- B05—SPRAYING OR ATOMISING IN GENERAL; APPLYING FLUENT MATERIALS TO SURFACES, IN GENERAL
- B05B—SPRAYING APPARATUS; ATOMISING APPARATUS; NOZZLES
- B05B7/00—Spraying apparatus for discharge of liquids or other fluent materials from two or more sources, e.g. of liquid and air, of powder and gas
- B05B7/02—Spray pistols; Apparatus for discharge
- B05B7/04—Spray pistols; Apparatus for discharge with arrangements for mixing liquids or other fluent materials before discharge
- B05B7/0408—Spray pistols; Apparatus for discharge with arrangements for mixing liquids or other fluent materials before discharge with arrangements for mixing two or more liquids
-
- B—PERFORMING OPERATIONS; TRANSPORTING
- B05—SPRAYING OR ATOMISING IN GENERAL; APPLYING FLUENT MATERIALS TO SURFACES, IN GENERAL
- B05B—SPRAYING APPARATUS; ATOMISING APPARATUS; NOZZLES
- B05B7/00—Spraying apparatus for discharge of liquids or other fluent materials from two or more sources, e.g. of liquid and air, of powder and gas
- B05B7/02—Spray pistols; Apparatus for discharge
- B05B7/08—Spray pistols; Apparatus for discharge with separate outlet orifices, e.g. to form parallel jets, i.e. the axis of the jets being parallel, to form intersecting jets, i.e. the axis of the jets converging but not necessarily intersecting at a point
- B05B7/0807—Spray pistols; Apparatus for discharge with separate outlet orifices, e.g. to form parallel jets, i.e. the axis of the jets being parallel, to form intersecting jets, i.e. the axis of the jets converging but not necessarily intersecting at a point to form intersecting jets
- B05B7/0815—Spray pistols; Apparatus for discharge with separate outlet orifices, e.g. to form parallel jets, i.e. the axis of the jets being parallel, to form intersecting jets, i.e. the axis of the jets converging but not necessarily intersecting at a point to form intersecting jets with at least one gas jet intersecting a jet constituted by a liquid or a mixture containing a liquid for controlling the shape of the latter
- B05B7/0823—Spray pistols; Apparatus for discharge with separate outlet orifices, e.g. to form parallel jets, i.e. the axis of the jets being parallel, to form intersecting jets, i.e. the axis of the jets converging but not necessarily intersecting at a point to form intersecting jets with at least one gas jet intersecting a jet constituted by a liquid or a mixture containing a liquid for controlling the shape of the latter comprising a rotatable spray pattern adjusting plate controlling the flow rate of the spray shaping gas jets
-
- B—PERFORMING OPERATIONS; TRANSPORTING
- B05—SPRAYING OR ATOMISING IN GENERAL; APPLYING FLUENT MATERIALS TO SURFACES, IN GENERAL
- B05B—SPRAYING APPARATUS; ATOMISING APPARATUS; NOZZLES
- B05B7/00—Spraying apparatus for discharge of liquids or other fluent materials from two or more sources, e.g. of liquid and air, of powder and gas
- B05B7/02—Spray pistols; Apparatus for discharge
- B05B7/10—Spray pistols; Apparatus for discharge producing a swirling discharge
-
- B—PERFORMING OPERATIONS; TRANSPORTING
- B05—SPRAYING OR ATOMISING IN GENERAL; APPLYING FLUENT MATERIALS TO SURFACES, IN GENERAL
- B05B—SPRAYING APPARATUS; ATOMISING APPARATUS; NOZZLES
- B05B7/00—Spraying apparatus for discharge of liquids or other fluent materials from two or more sources, e.g. of liquid and air, of powder and gas
- B05B7/02—Spray pistols; Apparatus for discharge
- B05B7/12—Spray pistols; Apparatus for discharge designed to control volume of flow, e.g. with adjustable passages
- B05B7/1209—Spray pistols; Apparatus for discharge designed to control volume of flow, e.g. with adjustable passages the controlling means for each liquid or other fluent material being manual and interdependent
- B05B7/1218—With means for adjusting or modifying the action of the controlling means
-
- B—PERFORMING OPERATIONS; TRANSPORTING
- B05—SPRAYING OR ATOMISING IN GENERAL; APPLYING FLUENT MATERIALS TO SURFACES, IN GENERAL
- B05B—SPRAYING APPARATUS; ATOMISING APPARATUS; NOZZLES
- B05B7/00—Spraying apparatus for discharge of liquids or other fluent materials from two or more sources, e.g. of liquid and air, of powder and gas
- B05B7/02—Spray pistols; Apparatus for discharge
- B05B7/06—Spray pistols; Apparatus for discharge with at least one outlet orifice surrounding another approximately in the same plane
- B05B7/062—Spray pistols; Apparatus for discharge with at least one outlet orifice surrounding another approximately in the same plane with only one liquid outlet and at least one gas outlet
- B05B7/066—Spray pistols; Apparatus for discharge with at least one outlet orifice surrounding another approximately in the same plane with only one liquid outlet and at least one gas outlet with an inner liquid outlet surrounded by at least one annular gas outlet
-
- B—PERFORMING OPERATIONS; TRANSPORTING
- B05—SPRAYING OR ATOMISING IN GENERAL; APPLYING FLUENT MATERIALS TO SURFACES, IN GENERAL
- B05B—SPRAYING APPARATUS; ATOMISING APPARATUS; NOZZLES
- B05B7/00—Spraying apparatus for discharge of liquids or other fluent materials from two or more sources, e.g. of liquid and air, of powder and gas
- B05B7/02—Spray pistols; Apparatus for discharge
- B05B7/08—Spray pistols; Apparatus for discharge with separate outlet orifices, e.g. to form parallel jets, i.e. the axis of the jets being parallel, to form intersecting jets, i.e. the axis of the jets converging but not necessarily intersecting at a point
- B05B7/0807—Spray pistols; Apparatus for discharge with separate outlet orifices, e.g. to form parallel jets, i.e. the axis of the jets being parallel, to form intersecting jets, i.e. the axis of the jets converging but not necessarily intersecting at a point to form intersecting jets
- B05B7/0815—Spray pistols; Apparatus for discharge with separate outlet orifices, e.g. to form parallel jets, i.e. the axis of the jets being parallel, to form intersecting jets, i.e. the axis of the jets converging but not necessarily intersecting at a point to form intersecting jets with at least one gas jet intersecting a jet constituted by a liquid or a mixture containing a liquid for controlling the shape of the latter
-
- B—PERFORMING OPERATIONS; TRANSPORTING
- B05—SPRAYING OR ATOMISING IN GENERAL; APPLYING FLUENT MATERIALS TO SURFACES, IN GENERAL
- B05B—SPRAYING APPARATUS; ATOMISING APPARATUS; NOZZLES
- B05B7/00—Spraying apparatus for discharge of liquids or other fluent materials from two or more sources, e.g. of liquid and air, of powder and gas
- B05B7/02—Spray pistols; Apparatus for discharge
- B05B7/12—Spray pistols; Apparatus for discharge designed to control volume of flow, e.g. with adjustable passages
- B05B7/1254—Spray pistols; Apparatus for discharge designed to control volume of flow, e.g. with adjustable passages the controlling means being fluid actuated
- B05B7/1263—Spray pistols; Apparatus for discharge designed to control volume of flow, e.g. with adjustable passages the controlling means being fluid actuated pneumatically actuated
- B05B7/1272—Spray pistols; Apparatus for discharge designed to control volume of flow, e.g. with adjustable passages the controlling means being fluid actuated pneumatically actuated actuated by gas involved in spraying, i.e. exiting the nozzle, e.g. as a spraying or jet shaping gas
-
- B—PERFORMING OPERATIONS; TRANSPORTING
- B05—SPRAYING OR ATOMISING IN GENERAL; APPLYING FLUENT MATERIALS TO SURFACES, IN GENERAL
- B05B—SPRAYING APPARATUS; ATOMISING APPARATUS; NOZZLES
- B05B7/00—Spraying apparatus for discharge of liquids or other fluent materials from two or more sources, e.g. of liquid and air, of powder and gas
- B05B7/24—Spraying apparatus for discharge of liquids or other fluent materials from two or more sources, e.g. of liquid and air, of powder and gas with means, e.g. a container, for supplying liquid or other fluent material to a discharge device
- B05B7/26—Apparatus in which liquids or other fluent materials from different sources are brought together before entering the discharge device
- B05B7/28—Apparatus in which liquids or other fluent materials from different sources are brought together before entering the discharge device in which one liquid or other fluent material is fed or drawn through an orifice into a stream of a carrying fluid
- B05B7/32—Apparatus in which liquids or other fluent materials from different sources are brought together before entering the discharge device in which one liquid or other fluent material is fed or drawn through an orifice into a stream of a carrying fluid the fed liquid or other fluent material being under pressure
Definitions
- the present invention relates to a device for rotating a fluid circulating inside a nozzle.
- the invention applies to the nozzle of a spray gun for a coating product, whether manual or automatic.
- a spray gun comprises a spray head with a head ring and the nozzle, which is disposed coaxially inside the head.
- the nozzle comprises a liquid passage channel configured to be selectively closed by a needle movable in translation inside the nozzle. The movement of the needle regulates the opening of the passage of the coating product. Depending on the position of the needle, the coating material will be expelled from the nozzle with more or less flow.
- the spray head disposed around the nozzle comprises two horns each crossed by a compressed air ejection duct.
- Each duct is configured so that air is expelled radially towards the spray of coating material.
- the latter is then atomized into fine droplets under the impact of high-pressure air jets.
- too high a compressed air pressure leads to the formation of a mist which reduces the transfer rate of the gun, that is to say the ratio between the quantity of product sprayed by the gun and the quantity of product actually deposited on the part to be coated (overspray).
- EP-A-1 391 246 discloses a solution for improving atomization without increasing the compressed air pressure.
- This solution consists in accommodating, inside the central duct of the nozzle, a device for fragmenting the liquid flow.
- This device comprises a housing, a seat for positioning the housing and a spacer piece.
- the housing and the seat delimit product passage holes, arranged to impose sudden changes of direction to the flow of coating product, which disturbs the flow.
- the flow is thus destabilized upstream of the outlet orifice and the product is ejected from the nozzle in a turbulent form, ie in part defragmented.
- the drawbacks of this device are its inability to expand the spray, its manufacturing cost (three separate parts) and its assembly difficulties. In addition, this device is difficult to clean.
- the invention more particularly intends to remedy by proposing a device for setting in rotation which is easier to manufacture, less expensive, and easier to mount inside the nozzle.
- US 3,123,306 discloses to figures 3 and 4 a gun with a mixer provided with a helical groove.
- US 2013/0288195 A1 discloses a nozzle for sandblasting with detergents and EP 2 383 043 A2 discloses a spray gun for a two-component product, which relates to a very particular technical field which is that of sprayers equipped with a mixer.
- the invention relates to a gun for spraying a coating product according to claim 1.
- the invention also relates, as a variant, to a spray gun for a coating product according to claim 2.
- this gun can comprise the characteristics of claim 3.
- the groove (s) and / or the hole (s) of the device give the liquid circulating inside the nozzle a helical direction around a spray axis.
- the rotation upstream of the outlet orifice of the nozzle results in a widening of the spray.
- the flow is destabilized, even turbulent, which makes it easier to atomize.
- the device makes it possible to obtain a distribution of drops of finer size, without increasing the pressure and / or the flow rate of the atomizing air jets.
- the device makes it possible to obtain a gun with an atomization fineness identical to that of the guns of the prior art, but with less compressed air consumption, and therefore better efficiency.
- the coating material can be a liquid comprising one or more components or a powder material. It can be paint, primer, varnish, etc.
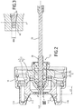
- the gun 1 comprises a body 10, a gripping handle 11 and an actuating trigger 12 articulated on the body 10.
- the gun 1 comprises a spray head 14 and a head ring 16 disposed around the head 14.
- the head 14 and the head ring 16 are centered on a spray axis X-X '.
- the spray head 14 can advantageously be pivoted about the axis XX 'to direct the spray in a substantially horizontal plane, as in the configuration of figures 1 to 3 , or in a substantially vertical plane, as in the configuration of figure 6 to 8 .
- the head 14 is hollow. It comprises two protuberances 14a and 14b, more commonly called horns or ears, which are arranged diametrically opposed to one another.
- the horns 14a and 14b project parallel to the axis XX 'relative to the rest of the head 14. They each define two orifices 140 for ejection of compressed air.
- the orifices 140 are shaped to guide air jets in the direction of the spray axis X-X '. More precisely, the air jets issuing from the orifices 140 have a direction which is substantially radial and centripetal with respect to the spray axis XX 'of the gun.
- the adjective “substantially” is understood to mean that there is a difference of a few degrees between a direction strictly radial to the axis XX ′ and the direction of the air jets.
- the pistol depicted in the figure 1 is therefore a gun of the pneumatic type, using air jets for the formation of the spray.
- a nozzle 2 is disposed coaxially inside the head 14.
- the nozzle 2 is a standard spray gun nozzle. It is about a part with geometry of revolution around the axis X-X '.
- the nozzle 2 comprises two coaxial parts 2a and 2b, the part 2a being arranged inside the part 2b.
- the nozzle 2 delimits a duct 6 of passage for the product. Conduit 6 is located inside part 2a.
- the nozzle 2 is a “flat jet” type nozzle, that is to say that it is a nozzle whose footprint takes the form of a stretched ellipse.
- the nozzle 2 can be a nozzle of the “round jet” type, that is to say a nozzle whose imprint takes the form of a disc or a ring.
- the duct 6 is configured to be selectively closed by a needle 22 movable axially in translation inside the nozzle 2.
- the movement of the needle 22 is controlled by the trigger 12.
- a return spring (not shown) enables the return to be made. needle in the closed position when the operator releases the trigger 12.
- An upstream direction is defined as a direction oriented in the direction opposite to the flow of liquid and a downstream direction as a direction oriented in the direction of the flow.
- upstream is directed to the right, while downstream is directed to the left.
- the duct 6 comprises, from upstream to downstream, a first section 60, cylindrical, a second section 62, frustoconical, the passage section of which decreases from upstream to downstream, a third section 64, also frustoconical and whose section decreases from upstream to downstream and an ejection channel 66, of constant passage section.
- the “size” of a nozzle corresponds to the diameter of the last section of passage of the fluid before ejection, that is to say in the example to the diameter d66 of the ejection channel 66.
- the size of a nozzle varies between 0.4 mm (4 gauge nozzle) and 2.7 mm (27 gauge nozzle).
- a plane P is defined as the sealing plane of the needle 22 inside the nozzle 2.
- the plane P is perpendicular to the spray axis X-X '. As visible at the figure 3 , the plane P is disposed at the interface between the section 64 and the channel 66.
- the nozzle 2 according to the invention has the advantage that the position of the sealing plane P along the axis XX 'is standard, c' that is to say that the nozzle 2 is compatible with an existing commercial needle, such as the needle 22. This makes it possible to guarantee the flow rate of the nozzle 2 and to limit the presence of dead volumes, liable to retain product and cause drops to form after closing the nozzle 2.
- buttons 18 and 20, visible at the bottom. figure 1 are designed to interrupt the spraying of product and the use of compressed air, respectively.
- a removable device 30 is immobilized inside the conduit 6.
- the device 30 is designed for standard gun nozzles. This is a rotating device fluid circulating inside the conduit 6. It comprises a body 32, the envelope surface S32 of which has a circular section.
- the envelope surface is defined as a surface enveloping the body 32. It is then possible to imagine the surface S32 as the surface of the body 32 when the latter is enveloped in a film of zero thickness.
- the envelope surface S32 is centered on an axis X32 which coincides with the axis XX 'when the device 30 is in place inside the duct 6.
- the device 30 is a machined metal part.
- the device 30 can be made of plastic and can be produced by other means, such as by molding or by means of a 3D printer.
- the envelope surface S32 of the body comprises a cylindrical part S32a and a frustoconical part S32b disposed downstream of the cylindrical part S32a.
- the diameter of the frustoconical part S32b of the surface S32 decreases going downstream.
- the angle of convergence A32b of the frustoconical part S32b is between 10 and 350 °, in particular between 10 ° and 180 ° or between 180 ° and 350 °, preferably from 10 to 80 °, here equal to 60 °.
- the duct 6 defines a housing for receiving the device 30 which is of a shape complementary to that of the body 32.
- the diameter of the housing 60 is at all points identical to the diameter of the envelope surface S32.
- This housing is formed by the sections 60 and 62 of the duct 6.
- the diameter of the cylindrical part S32a of the casing surface of the body 32 is substantially identical to the diameter of the cylindrical section 60 of the duct 6 and the angle of convergence of the frustoconical part S32b of the surface S32 is identical to that of the section 62.
- the device 30 is slid inside the duct 6. In the example, it is long enough to remain immobile in translation when handling the gun 1.
- an additional stop device such as a tubular jacket mounted tightly or glued inside the duct 6, can be incorporated into the nozzle 2 to keep the device 30 stationary in translation.
- the device 30 can also be force-fitted inside the duct 6.
- the body 32 comprises at least one helical groove 34, preferably four helical grooves 34, each having a pitch of between 1 mm and 50 mm, in the example equal to 20 mm.
- the pitch of each groove 34 is constant. However, in a variant not shown, this pitch can be variable.
- Each groove 34 extends over the outer surface of the body 32 and which defines a passage duct for the product. More precisely, in operation, the product circulates in the grooves 34, between the body 32 and the wall constituting the duct 6.
- the grooves 34 give the fluid a helical direction around the spray axis X-X '.
- the speed of the fluid at the outlet of the device 30 therefore has an axial component and a radial component with respect to the spray axis X-X '.
- the body 32 comprises a cylindrical upstream part and a frustoconical downstream part, and each helical groove 34 extends continuously on the surface of the cylindrical upstream part and on the surface of the frustoconical downstream part.
- the depth P34 of each groove 34 is between 1% and 49% of the maximum diameter of the surface S32, in particular equal to 25% of this diameter.
- the device 30 is in one piece, which facilitates assembly.
- the ratio between the radial speed component and the axial speed component at the outlet of the device 30 depends on the pitch of the groove or grooves 34.
- the rotational component of the speed vector of the fluid at the outlet of the device 30 is all the greater when the pace is weak.
- the pitch is chosen lower when the fluid is viscous.
- the rotational component of the speed vector at the output of the device 30 is approximately three times greater than the axial component.
- the rotary effect is attenuated at the nozzle outlet for the small-caliber nozzles 2, in particular for the nozzles whose size is less than 0.9 mm, because the fluid undergoes a strong axial acceleration in the channel 66 due to reduction of the passage section.
- the axial component of the fluid at the nozzle outlet predominates over the radial component.
- the device 30 is rather intended to be mounted inside the nozzles whose gauge is at least 0.9 mm.
- the device 30 is pushed as deeply as possible inside the duct 6, that is to say as close as possible to the outlet orifice of the nozzle 2.
- the distance d1 between the the downstream end of the device 30 and the outlet orifice of the nozzle 2 is less than 10 mm, in particular equal to 6 mm. This ensures that the fluid retains its rotation until it exits nozzle 2.
- the device 30 further comprises a gripping handle 36, which is of reduced diameter relative to the body 32.
- the gripping handle 36 extends axially upstream with respect to the body 32. It advantageously allows manual removal. of the device 30 out of the nozzle 2 for cleaning and / or replacement.
- the handle 36 advantageously extends over a length I36 at least equal to 5 mm. This minimum length makes it possible to manually push the device 30 as deeply as possible inside the duct 6, that is to say as close as possible to the outlet orifice of the nozzle 2.
- the device 30 defines a through-bore 38 for the passage of the needle 22 for closing the nozzle 2.
- the bore 38 extends axially through the handle 36 and the body 32.
- the diameter d38 of the bore 38 is substantially equal to the diameter of the needle 22, so that the product does not pass inside the body 32.
- the diameter of the bore 38 can be chosen greater than the diameter of the needle 22 , so that the product can pass inside the body 32. This has the advantage that the spray obtained is easier to spray and requires less energy (pneumatic for example) to be sprayed.
- the gun 1 comprises a connection 40 for supplying coating product.
- This connector 40 is oriented perpendicularly with respect to the spray axis XX 'and extends in particular downwards from the body 10 of the gun 1. It is intended to be connected to a product supply pipe (not shown ).
- the path of the coating product from the connector 40 to the outlet of the nozzle 2 is represented by the arrows F1 at the bottom. figure 8 .
- the figures 9 and 10 represent a second embodiment of the invention.
- This second embodiment relates to a device 30 for rotating a fluid inside a nozzle 2, this device comprising a body 32 delimiting at least one helical hole 33 for the passage of all or part of the fluid.
- at least one groove 34 is replaced by a helical duct, that is to say a hole 33 running through the body of the device 30 in a substantially helical direction.
- a helical duct that is to say a hole 33 running through the body of the device 30 in a substantially helical direction.
- Such a device can for example be manufactured using 3D printing.
- the body 32 defines several helical holes 33 for the passage of all or part of the fluid.
- the needle 22 and the device 30 are integral with one another.
- the device 30 can be mounted tight around the needle 22 or crimped or glued to the needle 22.
- the device 30 and the needle 22 can also be in one piece.
- the nozzle 2 and the device 30 are linked in a non-removable manner.
- the nozzle 2 and the device 30 can be two parts integral with one another or one and the same part, manufactured for example by 3D printing.
- the groove or grooves 34 of the device 30 are cleaned by injection of solvent in place of the coating product.
- the device 30 is mounted inside an automatic gun, which operates without manual action on the part of an operator and which is controlled remotely.
- the section and / or the width of the grooves 34 may be different from one groove to another.
- the section and / or the width of each groove can also vary according to its length.
- the section of each groove 34 can be rectangular, triangular, elliptical, polygonal or a shape inspired by these solutions (3D printing).
- the area of the section can also be variable. It is between 0.2 mm 2 to 8 mm 2 .
- the duct 6 of the nozzle 2 comprises an ejection section which is flared and of rounded shape. This makes it possible to further expand the spray at the nozzle outlet by the Coanda effect.
- This solution for widening the jet is particularly suitable for small caliber nozzles (less than 0.9 mm), for which the rotary effect conferred by the device 30 is less.
- this type of nozzle provides a synergistic effect with the device 30 when the size is between 0.7 and 1.2 mm.
- two devices for rotating in accordance with the invention that is to say comparable or identical to the device for setting rotation 30, are arranged in series one behind the other inside the duct 6.
- the two devices have inverted pitches: each groove of a first device has a right-hand pitch, while each groove of the second device has a step to the left, or vice versa. This further destabilizes the fluid flow.
- the two devices can be made in one piece.
- the application device comprises two separate coating product supply conduits. It can be the same product or two different products to mix.
- Each supply duct communicates with a corresponding groove 34 of the device 30, which then comprises at least two grooves.
- the products circulating in the two separate conduits are mixed downstream from the device 30. A part of the fluid circulating inside the nozzle therefore therefore passes through a groove.
- each groove of the device communicates with a separate coating product supply duct.
- the number of product supply conduits can therefore be greater than 2.
Landscapes
- Physics & Mathematics (AREA)
- Fluid Mechanics (AREA)
- Nozzles (AREA)
- Chemical & Material Sciences (AREA)
- Engineering & Computer Science (AREA)
- Manufacturing & Machinery (AREA)
- Materials Engineering (AREA)
Applications Claiming Priority (1)
| Application Number | Priority Date | Filing Date | Title |
|---|---|---|---|
| FR1658549A FR3055818A1 (fr) | 2016-09-14 | 2016-09-14 | Dispositif de mise en rotation d'un fluide a l'interieur d'une buse, ensemble comprenant un tel dispositif et dispositif d'application |
Publications (2)
| Publication Number | Publication Date |
|---|---|
| EP3296022A1 EP3296022A1 (fr) | 2018-03-21 |
| EP3296022B1 true EP3296022B1 (fr) | 2021-01-13 |
Family
ID=57190183
Family Applications (1)
| Application Number | Title | Priority Date | Filing Date |
|---|---|---|---|
| EP17190768.6A Active EP3296022B1 (fr) | 2016-09-14 | 2017-09-13 | Dispositif d'application |
Country Status (10)
| Country | Link |
|---|---|
| US (1) | US11097294B2 (enExample) |
| EP (1) | EP3296022B1 (enExample) |
| JP (1) | JP6959076B2 (enExample) |
| KR (1) | KR102512019B1 (enExample) |
| CN (1) | CN107812624A (enExample) |
| BR (1) | BR102017017642A2 (enExample) |
| CA (1) | CA2976569A1 (enExample) |
| ES (1) | ES2851723T3 (enExample) |
| FR (1) | FR3055818A1 (enExample) |
| RU (1) | RU2743569C2 (enExample) |
Families Citing this family (11)
| Publication number | Priority date | Publication date | Assignee | Title |
|---|---|---|---|---|
| JP6877174B2 (ja) * | 2017-02-20 | 2021-05-26 | ニッタン株式会社 | 防災用表示灯 |
| CN108325767A (zh) * | 2018-04-08 | 2018-07-27 | 南通凯顺生物科技有限公司 | 一种可旋转的喷洒设备的生产工艺 |
| CN108906353B (zh) * | 2018-07-27 | 2019-10-29 | 江苏省中跃涂装设备有限公司 | 一种用于喷涂机器人的均匀喷涂出料口 |
| CN109228340A (zh) * | 2018-10-29 | 2019-01-18 | 共享智能铸造产业创新中心有限公司 | 一种应用于fdm打印机的打印头 |
| USD900966S1 (en) * | 2019-03-06 | 2020-11-03 | Krimelte Oü | Nozzle for polyurethane foam gun |
| AU2020203722B2 (en) * | 2019-06-21 | 2024-07-11 | Engineering & Industrial Solutions Group Pty Ltd | An improved pick back flushing spray for shearing drums |
| CN110193285B (zh) * | 2019-07-12 | 2024-06-21 | 中电华创(苏州)电力技术研究有限公司 | 一种scr脱硝系统的氨喷射混流装置 |
| CN111685158A (zh) * | 2020-05-07 | 2020-09-22 | 宁波英德菲尔机械科技有限公司 | 去鱼神经枪及杀鱼方法 |
| US20220305502A1 (en) * | 2021-03-29 | 2022-09-29 | Zyxogen, Llc | Flow-focusing seed treatment device and methods |
| KR102494943B1 (ko) * | 2021-07-16 | 2023-02-06 | 주식회사 에스엠뿌레 | 약액 분무장치 |
| CN113617551B (zh) * | 2021-10-09 | 2021-12-07 | 寿光市博达机械制造有限公司 | 旋涡式尿素喷嘴 |
Family Cites Families (32)
| Publication number | Priority date | Publication date | Assignee | Title |
|---|---|---|---|---|
| BE555294A (enExample) * | ||||
| US3123306A (en) * | 1964-03-03 | C bradley | ||
| FR1317768A (enExample) | 1963-05-08 | |||
| US2237842A (en) * | 1938-12-16 | 1941-04-08 | Harry M Reynolds | Spraying device |
| US2908422A (en) * | 1953-12-05 | 1959-10-13 | Reischl & Co K G | Atomizers |
| JPS53145215U (enExample) | 1977-04-22 | 1978-11-15 | ||
| US4375275A (en) * | 1980-12-05 | 1983-03-01 | Loctite Corporation | High viscosity product dispenser |
| JPS596471A (ja) * | 1982-06-29 | 1984-01-13 | Iwata Tosouki Kogyo Kk | 摺動部の軸封装置 |
| US4801051A (en) * | 1984-03-26 | 1989-01-31 | Nordson Corporation | Flow control device for a fluid dispensing apparatus |
| US4582330A (en) * | 1984-09-24 | 1986-04-15 | Lew Hyok S | Seal with cleft seating surface |
| US4953756A (en) * | 1987-06-03 | 1990-09-04 | Loctite Corporation | Modular dispensing system |
| US4852773A (en) * | 1987-12-28 | 1989-08-01 | Jesco Products Company, Inc. | Adjustable flow applicator for a positive displacement constant flow-rate dispenser |
| CN1047815A (zh) | 1989-06-03 | 1990-12-19 | 全苏铝镁电气工业科学研究所设计院 | 液体雾化装置 |
| US5072883A (en) * | 1990-04-03 | 1991-12-17 | Spraying Systems Co. | Full cone spray nozzle with external air atomization |
| US5171613A (en) * | 1990-09-21 | 1992-12-15 | Union Carbide Chemicals & Plastics Technology Corporation | Apparatus and methods for application of coatings with supercritical fluids as diluents by spraying from an orifice |
| US5277342A (en) * | 1992-12-11 | 1994-01-11 | Loctite Corporation | Sealless dispensing apparatus |
| GB9611582D0 (en) * | 1996-06-04 | 1996-08-07 | Thin Film Technology Consultan | 3D printing and forming of structures |
| US6460787B1 (en) * | 1998-10-22 | 2002-10-08 | Nordson Corporation | Modular fluid spray gun |
| US6076744A (en) | 1998-12-23 | 2000-06-20 | Spraying Systems Co. | Full cone spray nozzle |
| JP4441025B2 (ja) | 1999-12-15 | 2010-03-31 | Hoya株式会社 | 内視鏡用噴霧具 |
| US7762476B2 (en) | 2002-08-19 | 2010-07-27 | Illinois Tool Works Inc. | Spray gun with improved atomization |
| RU82142U1 (ru) | 2008-12-19 | 2009-04-20 | Андрей Михайлович Кривоносов | Пистолет-смеситель для распыления высокореактивных композиций |
| KR20100088473A (ko) | 2009-01-30 | 2010-08-09 | 주식회사 엔엑스 | 와류형 유체 분사를 위한 노즐과 이를 구비한 분사장치 |
| KR101229696B1 (ko) * | 2009-12-30 | 2013-02-05 | 박근조 | 스프레이 건 |
| JP5689604B2 (ja) | 2010-01-29 | 2015-03-25 | 株式会社タカギ | ミストノズル |
| CN102205289B (zh) | 2010-03-31 | 2013-03-13 | 深圳华强智能技术有限公司 | 一种雾化喷头 |
| EP2383043A3 (de) * | 2010-04-28 | 2012-08-29 | Wakol GmbH | Sprühpistole für das Aufbringen von 2-komponentigen Medien und Verwendung der erfindungsgemäßen Sprühpistole zur Aufbringung von Klebstoffen |
| DE102010051227A1 (de) | 2010-11-12 | 2012-05-16 | Dental Care Innovation Gmbh | Düse zur Abstrahlung von flüssigen Reinigungsmitteln mit darin dispergierten abrasiven Partikeln |
| DE202011003941U1 (de) | 2011-03-14 | 2011-08-19 | Sata Gmbh & Co. Kg | Farbspritzpistole |
| US8690080B2 (en) | 2011-09-21 | 2014-04-08 | Delavan Inc | Compact high flow pressure atomizers |
| AU2012323301B2 (en) | 2011-10-12 | 2016-03-24 | 3M Innovative Properties Company | Spray head assemblies for liquid spray guns |
| US8524312B2 (en) | 2011-11-16 | 2013-09-03 | Csl Silicones Inc. | Applicator for spraying elastomeric materials |
-
2016
- 2016-09-14 FR FR1658549A patent/FR3055818A1/fr not_active Ceased
-
2017
- 2017-08-15 CA CA2976569A patent/CA2976569A1/fr not_active Abandoned
- 2017-08-17 BR BR102017017642-8A patent/BR102017017642A2/pt not_active Application Discontinuation
- 2017-08-22 US US15/683,432 patent/US11097294B2/en active Active
- 2017-08-31 CN CN201710777888.3A patent/CN107812624A/zh active Pending
- 2017-09-05 JP JP2017170081A patent/JP6959076B2/ja active Active
- 2017-09-13 ES ES17190768T patent/ES2851723T3/es active Active
- 2017-09-13 RU RU2017131920A patent/RU2743569C2/ru active
- 2017-09-13 KR KR1020170117412A patent/KR102512019B1/ko active Active
- 2017-09-13 EP EP17190768.6A patent/EP3296022B1/fr active Active
Non-Patent Citations (1)
| Title |
|---|
| None * |
Also Published As
| Publication number | Publication date |
|---|---|
| US20180071757A1 (en) | 2018-03-15 |
| EP3296022A1 (fr) | 2018-03-21 |
| RU2017131920A (ru) | 2019-03-14 |
| RU2017131920A3 (enExample) | 2020-09-21 |
| US11097294B2 (en) | 2021-08-24 |
| KR102512019B1 (ko) | 2023-03-20 |
| BR102017017642A2 (pt) | 2018-04-03 |
| KR20180030392A (ko) | 2018-03-22 |
| JP2018043235A (ja) | 2018-03-22 |
| FR3055818A1 (fr) | 2018-03-16 |
| RU2743569C2 (ru) | 2021-02-19 |
| JP6959076B2 (ja) | 2021-11-02 |
| CA2976569A1 (fr) | 2018-03-14 |
| ES2851723T3 (es) | 2021-09-08 |
| CN107812624A (zh) | 2018-03-20 |
Similar Documents
| Publication | Publication Date | Title |
|---|---|---|
| EP3296022B1 (fr) | Dispositif d'application | |
| EP2429716B1 (fr) | Projecteur et organe de pulverisation de produit de revetement et procede de projection mettant en oeuvre un tel projecteur | |
| EP2139604B1 (fr) | Organe de pulverisation, dispositif de projection comportant un tel organe, installation de projection et methode de nettoyage d'un tel organe | |
| EP3231516B1 (fr) | Buse de pulverisation, notamment pour un systeme de distribution d'un produit sous pression muni d'un bouton poussoir, et systeme de distribution comprenant une telle buse | |
| EP3479906B1 (fr) | Buse de pulvérisation avec rétrécissement de pré-atomisation, et tête de pulvérisation et dispositif de pulvérisation comprenant une telle buse | |
| EP3033179B1 (fr) | Pulverisateur d'un produit lubrifiant et installation de lubrification comprenant ce pulverisateur | |
| EP1480756B2 (fr) | Dispositif de pulverisation de produit de revetement liquide | |
| FR2928567A1 (fr) | Buse de pulverisation de liquide et pulverisateur de liquide comprenant une telle buse | |
| EP2361157B1 (fr) | Projecteur de produit de revetement | |
| WO2015022328A1 (fr) | Pulverisateur d'un produit de revetement liquide et installation de pulverisation comprenant un tel pulverisateur | |
| CH642280A5 (fr) | Buse de pulverisation. | |
| EP3871792A1 (fr) | Buse de pulverisation a jet plat et faible derive | |
| EP3873677B1 (fr) | Bol de pulvérisation de produit de revêtement, projecteur rotatif incluant un tel bol et procédé de nettoyage d'un tel projecteur | |
| EP1883478B1 (fr) | Buse a chambre tourbillonnaire | |
| LU86331A1 (fr) | Procede de production de mousse et distributeur de mousse pour la mise en oeuvre du procede | |
| EP3140032B1 (fr) | Dispositif d'injection, notamment pour injecter une charge d'hydrocarbures dans une unité de raffinage. | |
| FR3055817A1 (fr) | Buse pour un dispositif d'application d'un produit de revetement et dispositif d'application comprenant une telle buse | |
| BE479168A (enExample) | ||
| WO2010149881A1 (fr) | Procédé de fabrication et de contrôle d'un injecteur de brumisation | |
| FR2947190A1 (fr) | Procede de controle d'un injecteur de brumisation | |
| BE421291A (enExample) |
Legal Events
| Date | Code | Title | Description |
|---|---|---|---|
| PUAI | Public reference made under article 153(3) epc to a published international application that has entered the european phase |
Free format text: ORIGINAL CODE: 0009012 |
|
| STAA | Information on the status of an ep patent application or granted ep patent |
Free format text: STATUS: THE APPLICATION HAS BEEN PUBLISHED |
|
| AK | Designated contracting states |
Kind code of ref document: A1 Designated state(s): AL AT BE BG CH CY CZ DE DK EE ES FI FR GB GR HR HU IE IS IT LI LT LU LV MC MK MT NL NO PL PT RO RS SE SI SK SM TR |
|
| AX | Request for extension of the european patent |
Extension state: BA ME |
|
| STAA | Information on the status of an ep patent application or granted ep patent |
Free format text: STATUS: REQUEST FOR EXAMINATION WAS MADE |
|
| 17P | Request for examination filed |
Effective date: 20180821 |
|
| RBV | Designated contracting states (corrected) |
Designated state(s): AL AT BE BG CH CY CZ DE DK EE ES FI FR GB GR HR HU IE IS IT LI LT LU LV MC MK MT NL NO PL PT RO RS SE SI SK SM TR |
|
| STAA | Information on the status of an ep patent application or granted ep patent |
Free format text: STATUS: EXAMINATION IS IN PROGRESS |
|
| 17Q | First examination report despatched |
Effective date: 20200319 |
|
| GRAP | Despatch of communication of intention to grant a patent |
Free format text: ORIGINAL CODE: EPIDOSNIGR1 |
|
| STAA | Information on the status of an ep patent application or granted ep patent |
Free format text: STATUS: GRANT OF PATENT IS INTENDED |
|
| INTG | Intention to grant announced |
Effective date: 20200909 |
|
| GRAS | Grant fee paid |
Free format text: ORIGINAL CODE: EPIDOSNIGR3 |
|
| GRAA | (expected) grant |
Free format text: ORIGINAL CODE: 0009210 |
|
| STAA | Information on the status of an ep patent application or granted ep patent |
Free format text: STATUS: THE PATENT HAS BEEN GRANTED |
|
| AK | Designated contracting states |
Kind code of ref document: B1 Designated state(s): AL AT BE BG CH CY CZ DE DK EE ES FI FR GB GR HR HU IE IS IT LI LT LU LV MC MK MT NL NO PL PT RO RS SE SI SK SM TR |
|
| REG | Reference to a national code |
Ref country code: GB Ref legal event code: FG4D Free format text: NOT ENGLISH |
|
| REG | Reference to a national code |
Ref country code: CH Ref legal event code: EP |
|
| REG | Reference to a national code |
Ref country code: IE Ref legal event code: FG4D Free format text: LANGUAGE OF EP DOCUMENT: FRENCH |
|
| REG | Reference to a national code |
Ref country code: DE Ref legal event code: R096 Ref document number: 602017031294 Country of ref document: DE |
|
| REG | Reference to a national code |
Ref country code: AT Ref legal event code: REF Ref document number: 1354155 Country of ref document: AT Kind code of ref document: T Effective date: 20210215 |
|
| REG | Reference to a national code |
Ref country code: AT Ref legal event code: MK05 Ref document number: 1354155 Country of ref document: AT Kind code of ref document: T Effective date: 20210113 |
|
| REG | Reference to a national code |
Ref country code: NL Ref legal event code: MP Effective date: 20210113 |
|
| REG | Reference to a national code |
Ref country code: LT Ref legal event code: MG9D |
|
| PG25 | Lapsed in a contracting state [announced via postgrant information from national office to epo] |
Ref country code: BG Free format text: LAPSE BECAUSE OF FAILURE TO SUBMIT A TRANSLATION OF THE DESCRIPTION OR TO PAY THE FEE WITHIN THE PRESCRIBED TIME-LIMIT Effective date: 20210413 Ref country code: LT Free format text: LAPSE BECAUSE OF FAILURE TO SUBMIT A TRANSLATION OF THE DESCRIPTION OR TO PAY THE FEE WITHIN THE PRESCRIBED TIME-LIMIT Effective date: 20210113 Ref country code: PT Free format text: LAPSE BECAUSE OF FAILURE TO SUBMIT A TRANSLATION OF THE DESCRIPTION OR TO PAY THE FEE WITHIN THE PRESCRIBED TIME-LIMIT Effective date: 20210513 Ref country code: NO Free format text: LAPSE BECAUSE OF FAILURE TO SUBMIT A TRANSLATION OF THE DESCRIPTION OR TO PAY THE FEE WITHIN THE PRESCRIBED TIME-LIMIT Effective date: 20210413 Ref country code: HR Free format text: LAPSE BECAUSE OF FAILURE TO SUBMIT A TRANSLATION OF THE DESCRIPTION OR TO PAY THE FEE WITHIN THE PRESCRIBED TIME-LIMIT Effective date: 20210113 Ref country code: FI Free format text: LAPSE BECAUSE OF FAILURE TO SUBMIT A TRANSLATION OF THE DESCRIPTION OR TO PAY THE FEE WITHIN THE PRESCRIBED TIME-LIMIT Effective date: 20210113 Ref country code: GR Free format text: LAPSE BECAUSE OF FAILURE TO SUBMIT A TRANSLATION OF THE DESCRIPTION OR TO PAY THE FEE WITHIN THE PRESCRIBED TIME-LIMIT Effective date: 20210414 |
|
| PG25 | Lapsed in a contracting state [announced via postgrant information from national office to epo] |
Ref country code: SE Free format text: LAPSE BECAUSE OF FAILURE TO SUBMIT A TRANSLATION OF THE DESCRIPTION OR TO PAY THE FEE WITHIN THE PRESCRIBED TIME-LIMIT Effective date: 20210113 Ref country code: RS Free format text: LAPSE BECAUSE OF FAILURE TO SUBMIT A TRANSLATION OF THE DESCRIPTION OR TO PAY THE FEE WITHIN THE PRESCRIBED TIME-LIMIT Effective date: 20210113 Ref country code: LV Free format text: LAPSE BECAUSE OF FAILURE TO SUBMIT A TRANSLATION OF THE DESCRIPTION OR TO PAY THE FEE WITHIN THE PRESCRIBED TIME-LIMIT Effective date: 20210113 Ref country code: PL Free format text: LAPSE BECAUSE OF FAILURE TO SUBMIT A TRANSLATION OF THE DESCRIPTION OR TO PAY THE FEE WITHIN THE PRESCRIBED TIME-LIMIT Effective date: 20210113 Ref country code: AT Free format text: LAPSE BECAUSE OF FAILURE TO SUBMIT A TRANSLATION OF THE DESCRIPTION OR TO PAY THE FEE WITHIN THE PRESCRIBED TIME-LIMIT Effective date: 20210113 |
|
| PG25 | Lapsed in a contracting state [announced via postgrant information from national office to epo] |
Ref country code: IS Free format text: LAPSE BECAUSE OF FAILURE TO SUBMIT A TRANSLATION OF THE DESCRIPTION OR TO PAY THE FEE WITHIN THE PRESCRIBED TIME-LIMIT Effective date: 20210513 |
|
| REG | Reference to a national code |
Ref country code: DE Ref legal event code: R097 Ref document number: 602017031294 Country of ref document: DE |
|
| PG25 | Lapsed in a contracting state [announced via postgrant information from national office to epo] |
Ref country code: SM Free format text: LAPSE BECAUSE OF FAILURE TO SUBMIT A TRANSLATION OF THE DESCRIPTION OR TO PAY THE FEE WITHIN THE PRESCRIBED TIME-LIMIT Effective date: 20210113 Ref country code: CZ Free format text: LAPSE BECAUSE OF FAILURE TO SUBMIT A TRANSLATION OF THE DESCRIPTION OR TO PAY THE FEE WITHIN THE PRESCRIBED TIME-LIMIT Effective date: 20210113 Ref country code: EE Free format text: LAPSE BECAUSE OF FAILURE TO SUBMIT A TRANSLATION OF THE DESCRIPTION OR TO PAY THE FEE WITHIN THE PRESCRIBED TIME-LIMIT Effective date: 20210113 |
|
| PLBE | No opposition filed within time limit |
Free format text: ORIGINAL CODE: 0009261 |
|
| STAA | Information on the status of an ep patent application or granted ep patent |
Free format text: STATUS: NO OPPOSITION FILED WITHIN TIME LIMIT |
|
| PG25 | Lapsed in a contracting state [announced via postgrant information from national office to epo] |
Ref country code: DK Free format text: LAPSE BECAUSE OF FAILURE TO SUBMIT A TRANSLATION OF THE DESCRIPTION OR TO PAY THE FEE WITHIN THE PRESCRIBED TIME-LIMIT Effective date: 20210113 Ref country code: RO Free format text: LAPSE BECAUSE OF FAILURE TO SUBMIT A TRANSLATION OF THE DESCRIPTION OR TO PAY THE FEE WITHIN THE PRESCRIBED TIME-LIMIT Effective date: 20210113 Ref country code: SK Free format text: LAPSE BECAUSE OF FAILURE TO SUBMIT A TRANSLATION OF THE DESCRIPTION OR TO PAY THE FEE WITHIN THE PRESCRIBED TIME-LIMIT Effective date: 20210113 |
|
| 26N | No opposition filed |
Effective date: 20211014 |
|
| PG25 | Lapsed in a contracting state [announced via postgrant information from national office to epo] |
Ref country code: AL Free format text: LAPSE BECAUSE OF FAILURE TO SUBMIT A TRANSLATION OF THE DESCRIPTION OR TO PAY THE FEE WITHIN THE PRESCRIBED TIME-LIMIT Effective date: 20210113 |
|
| PG25 | Lapsed in a contracting state [announced via postgrant information from national office to epo] |
Ref country code: SI Free format text: LAPSE BECAUSE OF FAILURE TO SUBMIT A TRANSLATION OF THE DESCRIPTION OR TO PAY THE FEE WITHIN THE PRESCRIBED TIME-LIMIT Effective date: 20210113 |
|
| REG | Reference to a national code |
Ref country code: CH Ref legal event code: PL |
|
| REG | Reference to a national code |
Ref country code: BE Ref legal event code: MM Effective date: 20210930 |
|
| PG25 | Lapsed in a contracting state [announced via postgrant information from national office to epo] |
Ref country code: IS Free format text: LAPSE BECAUSE OF FAILURE TO SUBMIT A TRANSLATION OF THE DESCRIPTION OR TO PAY THE FEE WITHIN THE PRESCRIBED TIME-LIMIT Effective date: 20210513 Ref country code: MC Free format text: LAPSE BECAUSE OF FAILURE TO SUBMIT A TRANSLATION OF THE DESCRIPTION OR TO PAY THE FEE WITHIN THE PRESCRIBED TIME-LIMIT Effective date: 20210113 |
|
| PG25 | Lapsed in a contracting state [announced via postgrant information from national office to epo] |
Ref country code: LU Free format text: LAPSE BECAUSE OF NON-PAYMENT OF DUE FEES Effective date: 20210913 Ref country code: IE Free format text: LAPSE BECAUSE OF NON-PAYMENT OF DUE FEES Effective date: 20210913 Ref country code: BE Free format text: LAPSE BECAUSE OF NON-PAYMENT OF DUE FEES Effective date: 20210930 |
|
| PG25 | Lapsed in a contracting state [announced via postgrant information from national office to epo] |
Ref country code: LI Free format text: LAPSE BECAUSE OF NON-PAYMENT OF DUE FEES Effective date: 20210930 Ref country code: CH Free format text: LAPSE BECAUSE OF NON-PAYMENT OF DUE FEES Effective date: 20210930 |
|
| PG25 | Lapsed in a contracting state [announced via postgrant information from national office to epo] |
Ref country code: HU Free format text: LAPSE BECAUSE OF FAILURE TO SUBMIT A TRANSLATION OF THE DESCRIPTION OR TO PAY THE FEE WITHIN THE PRESCRIBED TIME-LIMIT; INVALID AB INITIO Effective date: 20170913 |
|
| PG25 | Lapsed in a contracting state [announced via postgrant information from national office to epo] |
Ref country code: NL Free format text: LAPSE BECAUSE OF NON-PAYMENT OF DUE FEES Effective date: 20210113 Ref country code: CY Free format text: LAPSE BECAUSE OF FAILURE TO SUBMIT A TRANSLATION OF THE DESCRIPTION OR TO PAY THE FEE WITHIN THE PRESCRIBED TIME-LIMIT Effective date: 20210113 |
|
| PG25 | Lapsed in a contracting state [announced via postgrant information from national office to epo] |
Ref country code: MK Free format text: LAPSE BECAUSE OF FAILURE TO SUBMIT A TRANSLATION OF THE DESCRIPTION OR TO PAY THE FEE WITHIN THE PRESCRIBED TIME-LIMIT Effective date: 20210113 |
|
| PG25 | Lapsed in a contracting state [announced via postgrant information from national office to epo] |
Ref country code: MT Free format text: LAPSE BECAUSE OF FAILURE TO SUBMIT A TRANSLATION OF THE DESCRIPTION OR TO PAY THE FEE WITHIN THE PRESCRIBED TIME-LIMIT Effective date: 20210113 |
|
| PGFP | Annual fee paid to national office [announced via postgrant information from national office to epo] |
Ref country code: ES Payment date: 20241007 Year of fee payment: 8 |
|
| PGFP | Annual fee paid to national office [announced via postgrant information from national office to epo] |
Ref country code: DE Payment date: 20250916 Year of fee payment: 9 |
|
| PGFP | Annual fee paid to national office [announced via postgrant information from national office to epo] |
Ref country code: TR Payment date: 20250905 Year of fee payment: 9 Ref country code: IT Payment date: 20250909 Year of fee payment: 9 |
|
| PGFP | Annual fee paid to national office [announced via postgrant information from national office to epo] |
Ref country code: GB Payment date: 20250919 Year of fee payment: 9 |
|
| PGFP | Annual fee paid to national office [announced via postgrant information from national office to epo] |
Ref country code: FR Payment date: 20250929 Year of fee payment: 9 |