EP3064689B2 - Feststellanordnung für eine tür - Google Patents

Feststellanordnung für eine tür Download PDF

Info

Publication number
EP3064689B2
EP3064689B2 EP15203032.6A EP15203032A EP3064689B2 EP 3064689 B2 EP3064689 B2 EP 3064689B2 EP 15203032 A EP15203032 A EP 15203032A EP 3064689 B2 EP3064689 B2 EP 3064689B2
Authority
EP
European Patent Office
Prior art keywords
hold
retaining device
open
energy
voltage
Prior art date
Legal status (The legal status is an assumption and is not a legal conclusion. Google has not performed a legal analysis and makes no representation as to the accuracy of the status listed.)
Active
Application number
EP15203032.6A
Other languages
English (en)
French (fr)
Other versions
EP3064689A1 (de
EP3064689B1 (de
Inventor
Michael Bruckert
Felix BÖSE
Thomas Wamser
Stefan Kampmeier
Current Assignee (The listed assignees may be inaccurate. Google has not performed a legal analysis and makes no representation or warranty as to the accuracy of the list.)
Dormakaba Deutschland GmbH
Original Assignee
Dormakaba Deutschland GmbH
Priority date (The priority date is an assumption and is not a legal conclusion. Google has not performed a legal analysis and makes no representation as to the accuracy of the date listed.)
Filing date
Publication date
Family has litigation
First worldwide family litigation filed litigation Critical https://patents.darts-ip.com/?family=55027553&utm_source=google_patent&utm_medium=platform_link&utm_campaign=public_patent_search&patent=EP3064689(B2) "Global patent litigation dataset” by Darts-ip is licensed under a Creative Commons Attribution 4.0 International License.
Application filed by Dormakaba Deutschland GmbH filed Critical Dormakaba Deutschland GmbH
Priority to EP19158913.4A priority Critical patent/EP3508675B1/de
Publication of EP3064689A1 publication Critical patent/EP3064689A1/de
Publication of EP3064689B1 publication Critical patent/EP3064689B1/de
Application granted granted Critical
Publication of EP3064689B2 publication Critical patent/EP3064689B2/de
Active legal-status Critical Current
Anticipated expiration legal-status Critical

Links

Images

Classifications

    • EFIXED CONSTRUCTIONS
    • E05LOCKS; KEYS; WINDOW OR DOOR FITTINGS; SAFES
    • E05FDEVICES FOR MOVING WINGS INTO OPEN OR CLOSED POSITION; CHECKS FOR WINGS; WING FITTINGS NOT OTHERWISE PROVIDED FOR, CONCERNED WITH THE FUNCTIONING OF THE WING
    • E05F1/00Closers or openers for wings, not otherwise provided for in this subclass
    • E05F1/002Closers or openers for wings, not otherwise provided for in this subclass controlled by automatically acting means
    • E05F1/006Closers or openers for wings, not otherwise provided for in this subclass controlled by automatically acting means by emergency conditions, e.g. fire
    • EFIXED CONSTRUCTIONS
    • E05LOCKS; KEYS; WINDOW OR DOOR FITTINGS; SAFES
    • E05FDEVICES FOR MOVING WINGS INTO OPEN OR CLOSED POSITION; CHECKS FOR WINGS; WING FITTINGS NOT OTHERWISE PROVIDED FOR, CONCERNED WITH THE FUNCTIONING OF THE WING
    • E05F3/00Closers or openers with braking devices, e.g. checks; Construction of pneumatic or liquid braking devices
    • E05F3/22Additional arrangements for closers, e.g. for holding the wing in opened or other position
    • E05F3/221Mechanical power-locks, e.g. for holding the wing open or for free-moving zones
    • E05F3/222Mechanical power-locks, e.g. for holding the wing open or for free-moving zones electrically operated
    • EFIXED CONSTRUCTIONS
    • E05LOCKS; KEYS; WINDOW OR DOOR FITTINGS; SAFES
    • E05YINDEXING SCHEME ASSOCIATED WITH SUBCLASSES E05D AND E05F, RELATING TO CONSTRUCTION ELEMENTS, ELECTRIC CONTROL, POWER SUPPLY, POWER SIGNAL OR TRANSMISSION, USER INTERFACES, MOUNTING OR COUPLING, DETAILS, ACCESSORIES, AUXILIARY OPERATIONS NOT OTHERWISE PROVIDED FOR, APPLICATION THEREOF
    • E05Y2201/00Constructional elements; Accessories therefor
    • E05Y2201/40Motors; Magnets; Springs; Weights; Accessories therefor
    • E05Y2201/46Magnets
    • E05Y2201/462Electromagnets
    • EFIXED CONSTRUCTIONS
    • E05LOCKS; KEYS; WINDOW OR DOOR FITTINGS; SAFES
    • E05YINDEXING SCHEME ASSOCIATED WITH SUBCLASSES E05D AND E05F, RELATING TO CONSTRUCTION ELEMENTS, ELECTRIC CONTROL, POWER SUPPLY, POWER SIGNAL OR TRANSMISSION, USER INTERFACES, MOUNTING OR COUPLING, DETAILS, ACCESSORIES, AUXILIARY OPERATIONS NOT OTHERWISE PROVIDED FOR, APPLICATION THEREOF
    • E05Y2400/00Electronic control; Electrical power; Power supply; Power or signal transmission; User interfaces
    • E05Y2400/10Electronic control
    • E05Y2400/40Control units therefor
    • EFIXED CONSTRUCTIONS
    • E05LOCKS; KEYS; WINDOW OR DOOR FITTINGS; SAFES
    • E05YINDEXING SCHEME ASSOCIATED WITH SUBCLASSES E05D AND E05F, RELATING TO CONSTRUCTION ELEMENTS, ELECTRIC CONTROL, POWER SUPPLY, POWER SIGNAL OR TRANSMISSION, USER INTERFACES, MOUNTING OR COUPLING, DETAILS, ACCESSORIES, AUXILIARY OPERATIONS NOT OTHERWISE PROVIDED FOR, APPLICATION THEREOF
    • E05Y2400/00Electronic control; Electrical power; Power supply; Power or signal transmission; User interfaces
    • E05Y2400/10Electronic control
    • E05Y2400/45Control modes
    • E05Y2400/458Control modes for generating service signals
    • EFIXED CONSTRUCTIONS
    • E05LOCKS; KEYS; WINDOW OR DOOR FITTINGS; SAFES
    • E05YINDEXING SCHEME ASSOCIATED WITH SUBCLASSES E05D AND E05F, RELATING TO CONSTRUCTION ELEMENTS, ELECTRIC CONTROL, POWER SUPPLY, POWER SIGNAL OR TRANSMISSION, USER INTERFACES, MOUNTING OR COUPLING, DETAILS, ACCESSORIES, AUXILIARY OPERATIONS NOT OTHERWISE PROVIDED FOR, APPLICATION THEREOF
    • E05Y2400/00Electronic control; Electrical power; Power supply; Power or signal transmission; User interfaces
    • E05Y2400/10Electronic control
    • E05Y2400/50Fault detection
    • E05Y2400/502Fault detection of components
    • EFIXED CONSTRUCTIONS
    • E05LOCKS; KEYS; WINDOW OR DOOR FITTINGS; SAFES
    • E05YINDEXING SCHEME ASSOCIATED WITH SUBCLASSES E05D AND E05F, RELATING TO CONSTRUCTION ELEMENTS, ELECTRIC CONTROL, POWER SUPPLY, POWER SIGNAL OR TRANSMISSION, USER INTERFACES, MOUNTING OR COUPLING, DETAILS, ACCESSORIES, AUXILIARY OPERATIONS NOT OTHERWISE PROVIDED FOR, APPLICATION THEREOF
    • E05Y2400/00Electronic control; Electrical power; Power supply; Power or signal transmission; User interfaces
    • E05Y2400/10Electronic control
    • E05Y2400/50Fault detection
    • E05Y2400/512Fault detection of electric power
    • EFIXED CONSTRUCTIONS
    • E05LOCKS; KEYS; WINDOW OR DOOR FITTINGS; SAFES
    • E05YINDEXING SCHEME ASSOCIATED WITH SUBCLASSES E05D AND E05F, RELATING TO CONSTRUCTION ELEMENTS, ELECTRIC CONTROL, POWER SUPPLY, POWER SIGNAL OR TRANSMISSION, USER INTERFACES, MOUNTING OR COUPLING, DETAILS, ACCESSORIES, AUXILIARY OPERATIONS NOT OTHERWISE PROVIDED FOR, APPLICATION THEREOF
    • E05Y2400/00Electronic control; Electrical power; Power supply; Power or signal transmission; User interfaces
    • E05Y2400/61Power supply
    • EFIXED CONSTRUCTIONS
    • E05LOCKS; KEYS; WINDOW OR DOOR FITTINGS; SAFES
    • E05YINDEXING SCHEME ASSOCIATED WITH SUBCLASSES E05D AND E05F, RELATING TO CONSTRUCTION ELEMENTS, ELECTRIC CONTROL, POWER SUPPLY, POWER SIGNAL OR TRANSMISSION, USER INTERFACES, MOUNTING OR COUPLING, DETAILS, ACCESSORIES, AUXILIARY OPERATIONS NOT OTHERWISE PROVIDED FOR, APPLICATION THEREOF
    • E05Y2400/00Electronic control; Electrical power; Power supply; Power or signal transmission; User interfaces
    • E05Y2400/61Power supply
    • E05Y2400/612Batteries
    • EFIXED CONSTRUCTIONS
    • E05LOCKS; KEYS; WINDOW OR DOOR FITTINGS; SAFES
    • E05YINDEXING SCHEME ASSOCIATED WITH SUBCLASSES E05D AND E05F, RELATING TO CONSTRUCTION ELEMENTS, ELECTRIC CONTROL, POWER SUPPLY, POWER SIGNAL OR TRANSMISSION, USER INTERFACES, MOUNTING OR COUPLING, DETAILS, ACCESSORIES, AUXILIARY OPERATIONS NOT OTHERWISE PROVIDED FOR, APPLICATION THEREOF
    • E05Y2800/00Details, accessories and auxiliary operations not otherwise provided for
    • E05Y2800/20Combinations of elements
    • E05Y2800/246Combinations of elements with at least one element being redundant
    • EFIXED CONSTRUCTIONS
    • E05LOCKS; KEYS; WINDOW OR DOOR FITTINGS; SAFES
    • E05YINDEXING SCHEME ASSOCIATED WITH SUBCLASSES E05D AND E05F, RELATING TO CONSTRUCTION ELEMENTS, ELECTRIC CONTROL, POWER SUPPLY, POWER SIGNAL OR TRANSMISSION, USER INTERFACES, MOUNTING OR COUPLING, DETAILS, ACCESSORIES, AUXILIARY OPERATIONS NOT OTHERWISE PROVIDED FOR, APPLICATION THEREOF
    • E05Y2800/00Details, accessories and auxiliary operations not otherwise provided for
    • E05Y2800/25Emergency conditions
    • E05Y2800/252Emergency conditions the elements functioning only in case of emergency
    • EFIXED CONSTRUCTIONS
    • E05LOCKS; KEYS; WINDOW OR DOOR FITTINGS; SAFES
    • E05YINDEXING SCHEME ASSOCIATED WITH SUBCLASSES E05D AND E05F, RELATING TO CONSTRUCTION ELEMENTS, ELECTRIC CONTROL, POWER SUPPLY, POWER SIGNAL OR TRANSMISSION, USER INTERFACES, MOUNTING OR COUPLING, DETAILS, ACCESSORIES, AUXILIARY OPERATIONS NOT OTHERWISE PROVIDED FOR, APPLICATION THEREOF
    • E05Y2800/00Details, accessories and auxiliary operations not otherwise provided for
    • E05Y2800/40Physical or chemical protection
    • E05Y2800/414Physical or chemical protection against high or low temperatures
    • E05Y2800/416Physical or chemical protection against high or low temperatures against fire

Definitions

  • the invention relates to a locking arrangement for a door, with a holding device for locking the door, in particular in an open position, wherein the holding device can be transferred from a locking state to a releasing state by supplying electrical energy, according to the preamble of patent claim 1. Furthermore, the invention relates to a method for operating a locking arrangement.
  • Hold-open arrangements are widely used in building technology for door and gate systems with which fire protection closures are equipped in accordance with the applicable regulations.
  • the hold-open arrangement enables a door equipped with a mounted door closer to be held open at either a fixed or selected angle until it is electrically triggered.
  • the individual components of the hold-open arrangement are connected to the building's power network for energy supply. Wiring to the building's power network is particularly costly when retrofitting or extending existing buildings. In order to lay the wiring in a visually acceptable way, it may be necessary to pry open the walls and ceilings so that the cables can be laid "under the plaster". In the case of historic buildings, retrofitting hold-open arrangements for fire doors can sometimes cause considerable damage.
  • the WO92/04519 A1 discloses a locking arrangement in which the locking arrangement is transferred to the release state when energy is supplied.
  • the energy is provided by a battery.
  • the locking arrangement is transferred to the release state when the battery voltage falls below a certain level and when the battery is removed.
  • the invention is based on the object of providing a locking arrangement and a method for operating a locking arrangement which avoids the aforementioned disadvantage, in particular to provide a locking arrangement and methods which are easy to install.
  • the locking arrangement is designed to transfer the holding device from the locking state to the releasing state if a defect occurs in the intended supply of electrical current to the holding device and/or a predetermined voltage value for an energy storage unit which serves to supply electrical energy to the holding device is undershot.
  • the locking arrangement according to the invention implements the working current principle. It is provided that the locking arrangement is designed to transfer the holding device from a locking state to a releasing state by supplying electrical energy. In particular, it is possible for the holding device to be in the locking and/or releasing state without supplying electrical energy. This enables energy-saving operation of the locking arrangement. The energy-saving operation makes it possible to dispense with wiring to the building's power network and thus provide an assembly-friendly locking arrangement.
  • the locking state of the holding device is understood in particular to be a state that serves to lock the door by the holding device.
  • the releasing state is understood in particular to be a state in which the holding device has released the door so that the door can be moved, in particular closed.
  • a door operator present in addition to the locking arrangement is allowed in particular to close the door from the previously held position.
  • the transfer of the holding device from the locking to the releasing state thus serves in particular to release the door.
  • the holding device can be transferred from the releasing state to the locking state by supplying electrical energy.
  • the holding device is always transferred to the release state when a transfer can no longer be safely guaranteed at a later point in time, in particular in the event of a fire.
  • the transfer to the release state always takes place when only the energy for a predetermined number of transfers, in particular for one transfer, is reliably available and/or when the initiation of the transfer to the release state can no longer be safely guaranteed.
  • a defect in the intended supply of electrical power to the holding device therefore also includes defects that affect the control of the transfer.
  • the locking arrangement according to the invention achieves a high level of release reliability, so that the door is released safely and reliably in the event of danger, in particular a fire.
  • the locking device is particularly preferably battery-operated and thus independent of an external power supply.
  • the locking arrangement is particularly free from an electrical connection to a building's power grid.
  • the energy storage unit can have one or more electrochemical energy storage devices.
  • the electrochemical energy storage device can be designed as a battery or as an accumulator.
  • the multiple energy storage devices can be connected in series and/or in parallel. For example, several, e.g. two, energy storage devices can be connected in series and the rows of energy storage devices can be connected in parallel to one another.
  • the energy storage unit can be designed as an energy storage package with multiple energy storage devices.
  • the locking arrangement preferably comprises a danger detector, in particular a fire and/or smoke detector.
  • the danger detector can transmit a trigger signal to a control device of the locking arrangement, in particular in the event of a fire.
  • the control device then controls the holding device so that the holding device is transferred from the locking state to the releasing state.
  • the locking arrangement can have a sliding element in a slide rail.
  • the sliding element can preferably be locked and/or released within a slide rail by the holding device. This means that when the holding device is transferred from the locking to the releasing state, the sliding element is released so that the sliding element can move in the slide rail.
  • the sliding element can be connected to the door.
  • the sliding element In the locking state, the sliding element is locked in the slide rail by the holding device.
  • the holding device in particular a holding mechanism of the holding device, preferably blocks the sliding element in the slide rail in the locking state.
  • the sliding element In the releasing state, the sliding element is arranged to be movable in the slide rail so that the door can also move.
  • Such a holding device is in the DE 10 2010 061 246 A1
  • the energy storage unit, the slide rail, the danger detector, the holding device and the control device can be provided for arrangement on a frame of the door.
  • the energy storage unit, the slide rail, the danger detector, the holding device and the control device are arranged in a common housing.
  • the holding device is designed to lock the door in the open position.
  • the locking arrangement is preferably designed to transfer the holding device into the release state when the trigger signal is sent, so that the door can be closed.
  • the locking arrangement has at least one energy buffer, which is designed in particular as at least one capacitor element, in which an amount of electrical energy can be stored, by means of which the holding device can be transferred from the locking state to the releasing state.
  • the sliding element can be released by means of the amount of energy. Because an energy buffer is provided, the holding device can be transferred to the releasing state at least once even if the energy storage unit or an electrical connection line of the energy storage unit is defective. The installation of the energy buffer can thus contribute to the reliability of the locking arrangement, which works according to the working current principle. In addition, it may be the case that only the energy buffer can provide sufficient current for the magnetic coil.
  • the recommended maximum continuous current of an energy storage device of the energy storage unit can, however, be between 20 mA and 200 mA, preferably between 60 mA and 120 mA.
  • the maximum pulsed discharge current of the energy storage device can be between 80 mA and 400 mA, preferably between 150 mA and 250 mA.
  • the energy buffer is in particular electrically connected between the energy storage unit and the holding device.
  • the amount of energy can only be supplied to the energy storage unit via the energy buffer of the holding device.
  • the energy buffer can in particular only be charged from the energy storage unit.
  • the control device in particular a microcontroller, can in particular be designed to initiate the transfer of the holding device from the locking state to the releasing state if a defect occurs in the intended supply of electrical current to the holding device and/or the voltage falls below the predetermined value.
  • the control device can in particular detect the defect and/or the voltage falling below the predetermined value.
  • a first voltage measuring point for determining a voltage value characterizing the electrical voltage of the energy storage unit. If the voltage value determined by the first voltage measuring point is below the predetermined voltage value, the holding device is transferred to the release state.
  • the first voltage measuring point can be electrically connected in parallel to the energy storage unit and the control device.
  • the predetermined voltage value can in particular be a voltage value that can be determined at the first voltage measuring point and characterizes the predetermined voltage of the energy storage unit.
  • the voltage measurement can be carried out at first predetermined time intervals.
  • the first predetermined time intervals can be stored in the control device.
  • the control device can carry out the voltage measurement.
  • a voltage divider can be used at the first voltage measuring point, for example. be provided.
  • the first voltage measuring point can have a voltmeter which transmits the determined voltage value to the control unit.
  • the control unit compares the determined voltage value with the predetermined voltage value and, if necessary, allows the holding device to be transferred to the release state.
  • the predetermined voltage value can be stored in the control device.
  • a predetermined threshold value can be provided for a voltage value determined by the first voltage measuring point, at which a warning is issued.
  • a warning for example, a light element of the locking arrangement can light up. The light element can flash, for example. The warning informs an operator that the energy storage unit will soon need to be replaced.
  • the individual electrochemical energy storage device can have at least a ratio V1 of the nominal voltage to a recommended maximum continuous current of 10 ⁇ ⁇ V1 ⁇ 40 ⁇ , preferably 15 ⁇ ⁇ V1 ⁇ 30 ⁇ . Additionally or alternatively, the individual energy storage device can have a ratio V2 of the nominal voltage to a maximum pulsed discharge current of 20 ⁇ ⁇ V2 ⁇ 100 ⁇ , preferably 30 ⁇ ⁇ V2 ⁇ 70 ⁇ . This prevents critical heating of the energy storage device. Additionally or alternatively, a fuse can be provided in the energy storage unit. This can thus contribute to the reliability of the locking arrangement operating according to the working current principle.
  • the holding device is thus transferred from the locking state to the releasing state.
  • the energy buffer can provide the electrical energy here.
  • the short circuit or interruption can occur due to the voltage value determined at the first voltage measuring point, which is below the specified voltage value.
  • the holding device has a component through which electrical flow can be carried.
  • the release state can be achieved with the help of the electrically flowable component.
  • the electrically flowable component can be designed, for example, as a magnetic coil.
  • the component can move an element of the holding device, e.g. an armature, through which the transfer to the release state takes place. For example, a blockage of a holding mechanism of the holding device can be removed.
  • the component can be part of an actuator, e.g. an electromagnet or an electric motor.
  • the electrically flowable component can in particular be passed through by electric current with different current directions.
  • the magnetic fields generated in this way can move the element between two positions that correspond to the locking state and the release state.
  • DE 10 2010 061 246 A1 referred to.
  • the locking arrangement can have a measuring point for determining an electrical current that flows through the electrically flowable component, wherein there is a defect in the intended supply of the holding device with electrical current if the determined current lies outside a predetermined value range.
  • the control device can determine the current.
  • a resistor can be provided at the measuring point.
  • the current is determined by measuring a voltage applied to the resistor.
  • the current measuring point can have an ammeter that transmits the measured current to the control unit.
  • the control unit checks whether the measured current lies within the predetermined value range and, if not, switches the holding device to the release state.
  • An upper limit of the value range can be used, for example, to detect a short circuit.
  • a lower limit of the value range can be used, for example, to determine whether there is an interruption in the circuit and/or whether there is sufficient current to generate a sufficient magnetic field to switch the holding device to the release state.
  • the current intensity can be determined at second predetermined time intervals.
  • the current intensity can therefore also be determined for test purposes.
  • the current intensity can therefore also be determined if no transition to the releasing or detecting state is to take place.
  • the second predetermined time intervals can be stored in the control device.
  • the second predetermined time intervals can in particular be identical. For example, such a measurement can be carried out every twenty-four hours.
  • the electrically flowable component is energized with such polarity that the energization has no effect on the state of the holding device. Additionally or alternatively, the current intensity is determined when the release state is triggered by the trigger signal.
  • the energy storage unit can be connected to the energy buffer via a voltage converter.
  • the voltage converter can generate a higher electrical voltage in the energy buffer than in the energy storage unit.
  • the voltage converter can the control device initiates charging of the energy buffer.
  • a second voltage measuring point for determining a voltage value characterizing the electrical voltage of the energy buffer.
  • the second voltage measuring point can be electrically connected in parallel to the energy buffer and the control device.
  • the voltage measurement at the second voltage measuring point can be carried out at predetermined third time intervals.
  • the third predetermined time intervals can be stored in the control device.
  • the control device can carry out the voltage measurement at the second voltage measuring point.
  • a voltage divider can be provided at the second voltage measuring point.
  • the second voltage measuring point can have a voltmeter that transmits the measured voltage value to the control unit.
  • the voltage value characterizing the energy buffer which was determined at the second voltage measuring point, is compared with a target voltage value. If the voltage value falls below the target voltage value by a predetermined amount, the control device in particular causes the energy buffer to be charged to the target voltage value.
  • the target voltage value can be stored in the control unit.
  • the predetermined time intervals can in particular be identical. This ensures that the energy buffer has stored a sufficient amount of energy to transfer the holding device to the release state and has not discharged too far over time.
  • the control unit can in particular check whether the energy buffer reaches the target voltage value within the predetermined charging period. If the target voltage value is not reached within the charging period, there is a defect in the intended supply of electrical energy to the holding device. In this case, the holding device is transferred to the release state. For example, there may be a short circuit in the energy buffer or the voltage converter may be defective.
  • the energy buffer may also be aged and have a low capacity, so that charging to the target voltage value occurs too quickly.
  • the specified charging time period ⁇ t 4 can thus be limited by an upper limit t upper and a lower limit t lower greater than zero.
  • t lower and t upper can be selected depending on the amount to be undershot and the capacitance of the capacitor element.
  • t lower can be selected, for example, between 0.1 s and 10 s, preferably between 1 s and 4 s.
  • t upper can be selected, for example, between 10 s and 60 s, preferably between 5 s and 30 s.
  • the lower limit t bottom takes into account an aging of the energy buffer, e.g. by 10% to 50%, preferably by 20% to 40%.
  • a defect in the intended supply of electrical energy to the holding device if a voltage drop determined at the second voltage measuring point when the energy buffer is discharged for a predetermined discharge period is greater than a predetermined maximum value.
  • the energy buffer can lose capacity. It is also conceivable that the energy buffer has different capacities at different temperatures. With a lower capacity, however, a smaller amount of charge is stored in the energy buffer at a predetermined voltage. In order to prevent the amount of charge stored from being insufficient to transfer the holding device to the release state, the voltage drop when the energy buffer is discharged for the predetermined discharge period is checked; this is an indicator of the amount of charge stored and thus of the capacity of the energy buffer.
  • the maximum value for the voltage drop and/or the discharge time period can be stored in the control device.
  • the comparison between the maximum value and the determined voltage drop can be carried out by the control device.
  • the energy buffer is discharged to determine the voltage drop in the discharge period by carrying out the previously described test in which the electrically flowable component is energized with such a polarity that the energization has no effect on the state of the holding device. In this way, both the current flow through the electrically flowable component and the capacity of the energy buffer can be checked in one process.
  • the locking arrangement has at least two mutually redundant energy buffers and/or at least two mutually redundant electrically flowable components.
  • the transfer of the holding device into the release position can be reliably effected.
  • the serious defect can be, for example, a short circuit in the energy buffer.
  • Each electrically flowable component is designed in such a way that the release state can be brought about without the help of the other electrically flowable component.
  • At least two subsystems are provided, each of which comprises at least one energy buffer and one component through which electricity can flow, wherein the subsystems are each designed independently of one another.
  • the subsystems are in particular redundant with respect to one another.
  • the locking arrangement has at least two control devices that monitor each other, whereby a defect in the intended supply of the holding device with electrical current is present if one control device is faulty.
  • a cyclic trigger signal is absent, one of the control devices can detect a defect in the other control device and cause the holding device to be transferred to the release state.
  • the control devices can monitor themselves at predetermined monitoring intervals, which are stored in particular in the control devices. It can also be provided that the control devices monitor themselves. For this purpose, for example, CPU and RAM tests can be carried out. In particular, self-monitoring is carried out at regular, predetermined self-monitoring intervals. If an error is detected during monitoring, e.g. during the CPU or RAM test, a defect in the intended supply of the holding device with electrical current is detected and the holding device is transferred to the release state, in particular by the other intact control device.
  • the at least two control devices can each be part of a subsystem.
  • each subsystem can extend from receiving a trigger signal to the electrically flowing component of the holding device.
  • each of the subsystems can transfer the holding device to the release state independently of the other subsystem.
  • the control device does not exit an energy-saving mode.
  • the control device can be in an energy-saving mode. If the control device cannot exit the energy-saving mode, the holding device is transferred to the release state. This defect can be detected in particular by another control device.
  • a button is provided to enable the holding device to be rearranged into the locking state after a transfer to the release state, in particular after receiving a fire alarm signal and/or changing the energy storage unit. It may also be the case that after a defect has been rectified, in particular a short circuit, e.g. in the energy buffer or in the energy storage unit, a renewed transfer to the locking state can be made possible by pressing the button and a self-test. Alternatively, it can be provided that when the button is pressed, the holding device can only be rearranged into the locking state if a fire alarm signal has been received and/or if a cyclical hazard detector signal is missing and/or if the energy storage unit has been replaced.
  • a capacitor is provided is to supply the control device with electrical energy in the event of a failure of the energy supply unit.
  • a capacitor is assigned to each control device.
  • at least the amount of energy required for the control device to initiate the transfer of the holding device to the releasing state can be stored in the capacitor.
  • the predetermined voltage value U V1 can be a voltage value of the energy storage unit at which the holding device can only be transferred into the released state in a secured manner once. Additionally or alternatively, the predetermined voltage value U V1 can be predetermined as a value from an interval 0.5*U N ⁇ U V1 ⁇ 0.9*U N , preferably 0.65*U N ⁇ U V1 ⁇ 0.9*U N , particularly preferably 0.75*U N ⁇ U V1 ⁇ 0.85*U N , depending on the nominal voltage U N of the energy storage unit. For example, the predetermined voltage value U V1 can be a value between 5V and 6.5 V, preferably between 5.5 V and 6.3 V.
  • the threshold value U S is above the predetermined voltage value U V1 .
  • the threshold value can also be a value from an interval 0.7*U N ⁇ U S ⁇ 0.98*U N , preferably 0.8*U N ⁇ U S ⁇ 0.98*U N , particularly preferably 0.9*U N ⁇ U S ⁇ 0.95*U N.
  • the threshold value U S can be a value between 6 V and 7.0 V, preferably between 6.5 V and 6.9 V.
  • the target voltage value U V2 is to be selected such that, depending on the capacitance of the capacitor element used, the amount of charge is sufficient to transfer the holding device into the release state.
  • the amount of charge is preferably sufficient for an n-fold transfer into the release state, where n is selected from the range 2 ⁇ n ⁇ 4, preferably 2 ⁇ n ⁇ 10.
  • U V2 can be a value from a range with 8V ⁇ U V2 ⁇ 16 V, preferably 10V ⁇ U V2 ⁇ 14 V.
  • the amount B by which the voltage value U 2 determined at the second voltage measuring point may fall below the target voltage value U V2 without charging can be selected as a value from the interval 0.05 U V2 ⁇ B ⁇ (n-1)/n U V2 . Additionally or alternatively, the amount B can be a value from an interval 0.05 U V2 ⁇ B ⁇ 0.4 U V2 , preferably 0.05 U V2 ⁇ B ⁇ 0.2 U V2 , particularly preferably 0.05 U V2 ⁇ B ⁇ 0.1 U V2 . For example, B can be selected as a value between 0.5 V and 1.5 V.
  • the maximum value ⁇ U V can be selected in such a way that an aging of the capacitance of the capacitor element by 10% to 50%, preferably by 20% to 40%, is taken into account. Accordingly, the maximum value ⁇ U V can correspond to a value of 1.1 to 2 times, preferably 1.25 to 1.7 times, the voltage drop of the non-aged capacitor element for the specified discharge period. For example, the maximum value ⁇ U V can be a value between 0.3 V and 1 V.
  • the lower limit I 0 and the upper limit I 2 for the current intensity I magnet depend on the current intensity that is required and/or preferred for the component through which electricity can flow, in particular the magnet coil, e.g. on the nominal current intensity.
  • the lower limit I 0 can, for example, be selected such that the magnet coil generates a sufficient magnetic field above the lower limit I 0 to transfer the holding device to the released state.
  • the upper limit I 2 can, for example, be selected such that a short-circuit current is present above the upper limit I 2.
  • the lower limit I 0 can be selected as a value from the interval 0.5* I magnet ⁇ I 0 ⁇ 0.95 *I magnet , preferably 0.6* I magnet ⁇ I 0 ⁇ 0.9* I magnet , preferably 0.75* I magnet ⁇ I 0 ⁇ 0.85 *I magnet .
  • the upper limit I 2 can be selected as a value from the interval 1.3* I magnet ⁇ I 2 ⁇ 3 *I magnet , preferably 1.5* I magnet ⁇ I 2 ⁇ 2.5* I magnet , preferably 1.7* I magnet ⁇ I 0 ⁇ 2.2* I magnet .
  • the lower limit I 0 can be selected as a value from the interval 300 mA ⁇ I 0 ⁇ 575 mA, preferably 350 mA ⁇ I 0 ⁇ 550 mA, particularly preferably 400 mA ⁇ I 0 ⁇ 500 mA.
  • the upper limit I 2 should be selected as a value from the interval 800 mA ⁇ I 2 ⁇ 2000 mA, preferably 1000 mA ⁇ I 2 ⁇ 1500 mA. It is conceivable that different current intensities are required for the magnetic coil of each subsystem.
  • the predetermined discharge time period ⁇ t 2 can be a very short time period in order not to unnecessarily discharge the energy storage unit.
  • the predetermined discharge time period ⁇ t 2 can be specified as a time between 10 ms and 2 s, preferably between 20 ms and 80 ms.
  • ⁇ t 3 can be selected as a value from the interval 2 h ⁇ ⁇ t 3 ⁇ 48 h, preferably 6h ⁇ ⁇ t 3 ⁇ 36 h, particularly preferably 12h ⁇ ⁇ t 3 ⁇ 30 h.
  • the first predetermined time interval ⁇ t 1 , the third predetermined time interval ⁇ t 5 , the monitoring and/or self-monitoring time interval ⁇ t 6 , ⁇ t 7 can in particular be identical.
  • ⁇ t 1 , ⁇ t 5 , ⁇ t 6 , ⁇ t 7 can be 8s. It is conceivable that ⁇ t 1 , ⁇ t 5 , ⁇ t 6 , ⁇ t 7 are also selected as different values within the intervals.
  • the object of the invention is also achieved by a method for operating a locking arrangement, wherein the locking arrangement comprises a holding device for locking a door, in particular in an open position, wherein the holding device is transferred from a locking state to a releasing state by supplying electrical energy.
  • the holding device is transferred from the locking state to the releasing state if a defect occurs in the intended supply of electrical current to the holding device and/or a predetermined Voltage value for an energy storage unit, which serves to supply the holding device with electrical energy, is exceeded.
  • the defect may in particular be a defect previously described.
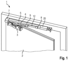
  • Fig. 1 shows a locking arrangement 1 according to the embodiment.
  • a door 2 is shown.
  • a door operator 3 designed as a door closer, is mounted on this door 2, in addition to the locking arrangement 1, a door operator 3, designed as a door closer, is mounted.
  • a closer spring is integrated in the door operator 3. The force of the closer spring is transferred from the closer spring via a rod 4 to a sliding element 9.
  • the sliding element 9 is guided in a slide rail 5 of the locking arrangement 1 mounted on the lintel side.
  • the locking arrangement 1 comprises a danger detector 8. This is designed as a smoke detector and/or fire detector.
  • the danger detector 8 is connected to further signal transmitters 6, in particular further danger detectors (cf. Figure 2 ), whereby the signal transmitters 6 are mounted in particular on the ceiling.
  • Another component of the locking arrangement 1 is a holding device 7, with which the sliding element 9 can be locked.
  • the holding device 7 is in the locking state SZ. By locking the sliding element 9, the door 2 can be held in the open position.
  • the holding device 7 is controlled by and within two subsystems 25, the structure and function of which are described below with reference to Figure 2
  • the holding device 7 is controlled by the subsystems 25 in such a way that the sliding element 9 is held in place in particular until the danger detector 8 sends a trigger signal to the subsystems 25.
  • the hazard detector 8 In the event of smoke or fire development, this is detected by the hazard detector 8 and/or by the external signal transmitters 6.
  • the external signal transmitters 6 are linked to the hazard detector 8 via radio.
  • the hazard detector 8 generates the trigger signal when a fire or smoke development has been detected. This trigger signal is forwarded to the subsystems 25, whereby the holding device 7 releases the sliding element 9, whereby the holding device is transferred to the release state GZ.
  • the energy pre-stored in the closing springs of the door operator 3 can thus close the door leaves of the door 2.
  • FIG. 2 shows a schematic diagram of the locking arrangement 1.
  • the signal transmitters 6 are thus able to transmit a signal to the hazard detector 8 when the signal transmitters 6 detect smoke or a fire.
  • the hazard detector 8 is also designed to detect a fire.
  • the locking arrangement 1 has two subsystems 25, with the danger detector 8 being connected to the subsystems 25.
  • the danger detector 8 is connected to two control devices 11.
  • the control devices 11 have an identical function.
  • the control devices 11 are in particular microcontrollers.
  • the control devices 11 are connected to one another via a data line 20 for data exchange, so that mutual monitoring of the control devices 11 is implemented. This allows defects within one subsystem 25 to be detected by the other subsystem 25. This provides redundancy within the locking arrangement 1.
  • the control devices 11 are designed to control magnetic coils 10.
  • Each subsystem 25 has at least one magnetic coil 10, so that each magnetic coil 10 of a subsystem 25 can be controlled by the control device 11 of the subsystem 25.
  • the magnetic coils 10 are part of a holding device 7, with which an armature 22 can be held in at least two different positions without the need for external energy.
  • the holding device 7 has an electromagnet. The electromagnet holds the armature 22 in a first position until a current pulse on one of the magnetic coils 10 switches the electromagnet and thus transfers the armature 22 to a second position different from the first position.
  • the electromagnet also holds the armature 22 in the second position until a current pulse on one of the magnetic coils 10, the electromagnet switches over and moves the armature 22 into the first position. In the first position, the sliding element 9 and thus the door is locked, in the second position the sliding element 9 is released. The current supply to an electromagnet is sufficient to move the armature 22 into the positions.
  • the magnetic coils 10 are thus redundant to one another.
  • Each control device 11 is designed to apply a current pulse to a magnetic coil 10 in order to release the door 2.
  • each control device 11 is connected to a switch 16, whereby electrical energy is delivered via the switches 16 to a magnetic coil 10 assigned to the switch 16 in accordance with the specifications of the control devices 11. Current can flow through the magnetic coil 10 in different directions through the switch 16. The sliding element 9 is released by applying electrical energy to the magnetic coils 10.
  • the locking arrangement 1 is therefore based on a working current principle.
  • the locking arrangement 1 has at least one measuring point 17 in each subsystem 25, in particular a separate measuring point 17 for each magnetic coil 10. At the measuring point 17, it is checked whether the switching signals assigned to the magnetic coil 10 are implemented and/or whether there is an interruption in the circuit of the magnetic coil 10. For this purpose, the measuring point 17 of a subsystem 25 is electrically connected to the control device 11 of the subsystem 25. If a fault in the magnetic coil 10 of the subsystem 25 is detected, for example an interruption in the circuit of the magnetic coil 10, there is no guarantee that controlling the magnetic coil 10 will release the sliding element 9.
  • a further magnetic coil 10 is present so that the door 2 can be released by controlling the further magnetic coil 10.
  • a current intensity I 1 can be determined using the measuring point 17.
  • the control unit 11 checks whether the current intensity I 1 is within a predetermined value range.
  • each subsystem has at least one energy buffer 15.
  • the electrical energy required to operate the magnetic coils 10 is stored in the energy buffer 15, with each magnetic coil 10 being assigned an energy buffer 15.
  • the energy buffer 15 is electrically connected to the switch 16, so that the electrical energy stored in the energy buffer 15 can be delivered to the magnetic coil 10 via the switch 16.
  • Each subsystem 25 also has at least one voltage converter 14, wherein the energy buffers 15 are charged via the voltage converters 14, in particular each energy buffer 15 via its own voltage converter 14, from a common energy storage unit 12.
  • the energy storage unit 12 is shown in three elements.
  • the energy storage unit 12 is in particular a battery or an accumulator or a circuit comprising several batteries or accumulators.
  • the locking arrangement 1 is thus independent of an external power supply, for example a house network.
  • Each subsystem 25 has at least a first voltage measuring point 13, wherein the energy storage unit 12 is connected to the control devices 11 via the first voltage measuring point 13.
  • a voltage failure and/or an undervoltage of the energy storage unit 12 is detected by means of the first voltage measuring point 13. If a voltage value U 1 for the energy storage unit 12 is detected by means of the first voltage measuring point 13 that is below a predetermined voltage value U V1 and thus does not enable reliable charging of the energy buffer 15, one of the control devices 11 then controls the magnetic coil 10 in such a way that the sliding element 9 is released. This prevents the sliding element 9 from being held by the locking arrangement 1 and release is no longer possible due to a failure of the energy storage unit 12.
  • the locking arrangement 1 advantageously has a display device 18 with which the state of each magnetic coil 10 and/or the energy storage unit 12 can be displayed.
  • the display device 18 can issue a warning if the voltage value U 1 determined by the first voltage measuring point 13 is below a threshold value U s .
  • the threshold value U s is above the predetermined voltage value U V1 .
  • a button 19 is preferably provided.
  • the control devices 11 initially prevent the holding device 7 from being transferred again to the locking state SZ.
  • the button 19 serves to enable the holding device 7 to be transferred again to the locking state SZ.
  • the locking arrangement 1 has a position sensor 23 which detects a position of the armature 22.
  • the position sensor 23 is in particular a magnetic switch.
  • a second voltage measuring point 26 is also provided, which determines electrical voltage values U 2 for the energy buffer 15.
  • Capacitors 27 are provided between the energy storage unit 12 and the control devices in order to supply the respective control device 11 with electrical energy in the event of failure of the energy supply unit 12.
  • Methods 30, 40, 50, 60 are shown, whereby all methods 30, 40, 50, 60 in the locking arrangement 1 according to the invention, in particular according to the Figures 1 and 2 , are integrated.
  • the methods 30, 40, 50, 60 are preferably stored in the control devices 11.
  • the locking arrangement 1 can be designed in particular by means of the control devices 11 to carry out the methods 30, 40, 50, 60.
  • a method 30 is shown in which a voltage value U 1 is determined for the energy supply unit 12 in a method step 31.
  • the voltage value U 1 is compared with a predetermined voltage value U V1 stored in the control device 11. If the voltage value U 1 is smaller than the voltage value U V1 , which in Figure 3 is represented by a "+", the holding device 7 is transferred to the releasing state GZ according to method step 33. Without changing the energy storage unit 12, it is not possible to return the holding device 7 to the locking state SZ even by pressing the button 19.
  • a warning W is issued in a method step 35.
  • the determination of the voltage value U 1 and the subsequent routine are repeated at regular initial time intervals ⁇ t 1 .
  • a method 40 is shown in which the magnetic coil 10 is to be energized for test purposes.
  • the position of the armature 22 must first be determined in a method step 41 by the position sensor 23 and thereby it must be established whether the holding device 7 is in the locking state SZ or in the releasing state GZ.
  • a method step 42 in a test T the magnetic coil 10 is energized by the switch 16 in such a way that the current flowing through the magnetic coil 10 has no effect on the state of the holding device 7.
  • the test T is carried out for a predetermined discharge period ⁇ t 2 .
  • the current intensity I 1 is measured at the measuring point 17 in a method step 43.
  • the control unit 11 checks in a method step 44 whether the current intensity I 1 is in a value range I 0 , I 2 with I 0 ⁇ I 1 ⁇ I 2 . If this is not the case, which in Figure 4 is marked with a "-", the holding device 7 is transferred to the releasing state GZ, which corresponds to method step 45.
  • the voltage value U 2 determined at the second voltage measuring point 26 is also determined before and after the discharge period ⁇ t 2 of the test T and a voltage value difference, ie a voltage drop ⁇ U 2 , is calculated from this in a process step 46. It is then checked in a process step 47 whether the voltage drop ⁇ U 2 is greater than a maximum value ⁇ U V . If this is the case, which is the case in Figure 4 is marked with a "+”, the holding device 7 is transferred to the releasing state GZ according to method step 45. This prevents the holding device 7 from having to be transferred to the releasing state GZ in the event of a fire in the case of an energy buffer 15 that is aged and can only store a small amount of electrical energy.
  • FIG. 5 A further method 50 is shown.
  • the energy buffer 15 is determined at predetermined third time intervals ⁇ t 5 within a voltage value U 2 for the energy buffer 15.
  • a method step 52 it is checked whether the determined voltage value U 2 falls below a target voltage value U V2 by a predetermined amount B. If this is the case, which is the case in Figure 5 is marked with a "+”, an attempt is made to recharge the energy buffer 15 according to method step 53. If this is not the case, which is shown in Figure 5 is marked with a "-", a new determination of U 2 is carried out in the predetermined third time interval ⁇ t 5 .
  • the charging time period ⁇ t 4 has both an upper and a lower limit in the range of seconds. This means that charging can take place too slowly, e.g. because the voltage converter 14 is defective, or too quickly, e.g. because the energy buffer 15 has too little capacity. If charging does not take place within the charging time period ⁇ t 4 , which in Figure 5 is marked with "-", the holding device 7 is transferred to the releasing state GZ in a method step 55. Otherwise, the routine is repeated in the predetermined third time intervals ⁇ t 5 .
  • a method 60 is shown in which the control devices 11 monitor each other according to method step 61 and themselves according to the respective method step 62. In this case, in method step 61 it is also checked whether the control devices 11 are leaving an energy saving mode.
  • control device 11 switches the holding device 7 into the releasing state GZ according to the method step 63. If no defect is detected, process step 61 is repeated at monitoring time intervals ⁇ t 6 and process step 62 is repeated at self-monitoring time intervals ⁇ t 7 .

Landscapes

  • Engineering & Computer Science (AREA)
  • Mechanical Engineering (AREA)
  • Business, Economics & Management (AREA)
  • Emergency Management (AREA)
  • Charge And Discharge Circuits For Batteries Or The Like (AREA)

Description

  • Die Erfindung betrifft eine Feststellanordnung für eine Tür, mit einer Haltevorrichtung zum Feststellen der Tür, insbesondere in einer offenen Stellung, wobei die Haltevorrichtung unter Zufuhr von elektrischer Energie von einem feststellenden Zustand in einen freigebenden Zustand überführbar ist, gemäß dem Oberbegriff des Patentanspruchs 1. Ferner betrifft die Erfindung ein Verfahren zum Betreiben einer Feststellanordnung.
  • Feststellanordnungen sind in der Gebäudetechnik weit verbreitet für Tür- und Torsysteme, mit denen Brandschutzabschlüsse gemäß den geltenden Vorschriften ausgestattet werden. Die Feststellanordnung ermöglicht eine mit einem montierten Türschließer ausgerüstete Tür entweder in einem festgelegten oder gewählten Winkel offenzuhalten, bis sie elektrisch ausgelöst wird. In vorbekannten Lösungen werden die einzelnen Komponenten der Feststellanordnung mit dem Gebäudestromnetz zur Energieversorgung verbunden. Insbesondere bei der Nachrüstung oder Erweiterung bestehender Gebäude entsteht durch eine Verkabelung mit dem Gebäudestromnetz ein großer Aufwand. Um die Verkabelung optisch annehmbar zu verlegen, ist es gegebenenfalls notwendig, die Wände und Decken aufzustemmen, damit die Kabel "unter Putz" verlegt werden können. Im Falle historischer Gebäudesubstanzen entstehen dabei zum Teil erhebliche Schäden durch die Nachrüstung mit Feststellanordnungen für Feuerschutztüren.
  • Die WO92/04519 A1 offenbart eine Feststellanordnung, bei der unter Zufuhr von Energie die Feststellanordnung in den freigebenden Zustand überführt wird. Die Energie wird von einer Batterie zur Verfügung gestellt. Die Feststellanordnung wird bei Unterschreiten einer Batteriespannung und beim Entfernen der Batterie in den freigebenden Zustand überführt.
  • Der Erfindung liegt die Aufgabe zugrunde, eine Feststellanordnung und ein Verfahren zum Betreiben einer Feststellanordnung bereitzustellen, welche den vorgenannten Nachteil vermeidet, insbesondere eine Feststellanordnung und Verfahren bereitzustellen, die montagefreundlich sind.
  • Die Aufgabe wird gelöst durch den unabhängigen Anspruch 1. Vorteilhafte Weiterbildungen der Feststellanordnung sind in den abhängigen Vorrichtungsansprüchen, der Beschreibung und in den Figuren angegeben. Ferner wird die Erfindung auch durch die Merkmale des unabhängigen Verfahrensanspruchs gemäß dem unabhängigen Anspruch 11 gelöst. Vorteilhafte Weiterbildungen des Verfahrens sind in der Beschreibung und in den Figuren angegeben. Merkmale und Details, die in Zusammenhang mit der erfindungsgemäßen Feststellanordnung beschrieben sind, gelten dabei auch in Zusammenhang mit dem erfindungsgemäßen Verfahren und umgekehrt.
  • Erfindungsgemäß ist vorgesehen, dass die Feststellanordnung dazu ausgebildet ist, die Haltevorrichtung von dem feststellenden Zustand in den freigebenden Zustand zu überführen, wenn ein Defekt bei der vorgesehenen Versorgung der Haltevorrichtung mit elektrischem Strom auftritt und/oder ein vorgegebener Spannungswert für eine Energiespeichereinheit, die zur Zufuhr von elektrischer Energie für die Haltevorrichtung dient, unterschritten wird.
  • Bei der erfindungsgemäßen Feststellanordnung ist das Arbeitsstromprinzip realisiert. Dabei ist vorgesehen, dass die Feststellanordnung ausgebildet ist, durch Zufuhr elektrischer Energie die Haltevorrichtung von einem feststellenden Zustand in einen freigebenden Zustand zu überführen. Insbesondere ist es möglich, dass sich die Haltevorrichtung ohne Zufuhr elektrischer Energie in dem feststellenden und/oder freigebenden Zustand befinden kann. Dies ermöglicht einen energiesparenden Betrieb der Feststellanordnung. Durch den energiesparenden Betrieb ist es möglich, auf eine Verkabelung zu dem Gebäudestromnetz zu verzichten und damit eine montagefreundliche Feststellanordnung bereitzustellen. Unter dem feststellenden Zustand der Haltevorrichtung wird insbesondere ein Zustand verstanden, der zum Feststellen der Tür durch die Haltevorrichtung dient. Unter dem freigebenden Zustand wird insbesondere ein Zustand verstanden, bei dem die Haltevorrichtung die Tür freigegeben hat, so dass die Tür bewegbar, insbesondere schließbar, ist. In dem freigebenden Zustand wird es insbesondere einem zusätzlich zu der Feststellanordnung vorhandenen Türbetätiger erlaubt, die Tür aus der zuvor gehaltenen Stellung zu schließen. Die Überführung der Haltevorrichtung von dem feststellenden in den freigebenden Zustand dient somit insbesondere zum Freigeben der Tür. Optional kann vorgesehen sein, dass durch Zufuhr von elektrischer Energie die Haltevorrichtung von dem freigebenden Zustand in den feststellenden Zustand überführbar ist.
  • Durch die erfindungsgemäße Ausgestaltung der Feststellanordnung wird die Haltevorrichtung immer dann in den freigebenden Zustand überführt, wenn eine Überführung zu einem späteren Zeitpunkt, insbesondere in einem Brandfall, nicht mehr sicher gewährleistet werden kann. Insbesondere erfolgt die Überführung in den freigebenden Zustand immer dann, wenn zuverlässig nur noch die Energie für eine vorgegebene Anzahl an Überführungen, insbesondere für eine Überführung, zur Verfügung steht und/oder wenn die Einleitung der Überführung in den freigebenden Zustand nicht mehr sicher gewährleistet ist. Unter einem Defekt bei der vorgesehenen Versorgung der Haltevorrichtung mit elektrischem Strom sind daher auch solche Defekte zu verstehen, die die Steuerung der Überführung betreffen.
  • Durch die erfindungsgemäße Feststellanordnung ist eine hohe Zuverlässigkeit der Freigabe erreicht, so dass die Tür im Falle einer Gefahr, insbesondere eines Brandes, sicher und zuverlässig freigegeben wird. Die Feststellvorrichtung ist besonders bevorzugt batteriebetrieben und damit unabhängig von einer externen Stromversorgung. Die Feststellanordnung ist insbesondere frei von einer elektrischen Verbindung zu einem Gebäudestromnetz.
  • Die Energiespeichereinheit kann einen oder mehrere elektrochemische Energiespeicher aufweisen. Der elektrochemische Energiespeicher kann als Batterie oder als Akkumulator ausgebildet sein. Die mehrere Energiespeicher können in Reihe und/oder parallel geschaltet sein. Beispielsweise können mehrere, z. B. zwei, Energiespeicher in Reihe und die Reihen der Energiespeicher zueinander wiederum parallel geschaltet sein. Insbesondere kann die Energiespeichereinheit als ein Energiespeicherpaket mit mehreren Energiespeichern ausgebildet sein.
  • Die Feststellanordnung umfasst bevorzugt einen Gefahrendetektor, insbesondere einen Brand- und/oder Rauchmelder. Der Gefahrendetektor kann, insbesondere bei einem Brand, ein Auslösesignal an eine Steuervorrichtung der Feststellanordnung übermitteln. Hiernach steuert die Steuervorrichtung die Haltevorrichtung an, so dass die Haltevorrichtung von dem feststellenden in den freigebenden Zustand überführt wird.
  • Die Feststellanordnung kann ein Gleitelement in einer Gleitschiene aufweisen. Bevorzugt ist durch die Haltevorrichtung das Gleitelement innerhalb einer Gleitschiene feststellbar und/oder freigebbar. Das heißt, bei einer Überführung der Haltevorrichtung von dem feststellenden in den freigebenden Zustand wird das Gleitelement freigegeben, so dass das Gleitelement in der Gleitschiene bewegbar wird. Das Gleitelement ist mit der Tür verbindbar. In dem feststellenden Zustand ist das Gleitelement in der Gleitschiene durch die Haltevorrichtung festgestellt. Bevorzugt blockiert die Haltevorrichtung, insbesondere eine Haltemechanik der Haltevorrichtung, das Gleitelement in der Gleitschiene in dem feststellenden Zustand. In dem freigebenden Zustand ist das Gleitelement in der Gleitschiene beweglich angeordnet, so dass auch die Tür bewegbar ist. Eine derartige Haltevorrichtung ist in der DE 10 2010 061 246 A1 offenbart. Insbesondere können die Energiespeichereinheit, die Gleitschiene, der Gefahrendetektor, die Haltevorrichtung und die Steuervorrichtung zum Anordnen an einem Rahmen der Tür vorgesehen sein. Besonders bevorzugt sind die Energiespeichereinheit, die Gleitschiene, der Gefahrendetektor, die Haltevorrichtung und die Steuervorrichtung in einem gemeinsamen Gehäuse angeordnet.
  • Insbesondere ist die Haltevorrichtung dazu ausgebildet, die Tür in offener Stellung zu festzustellen. Entsprechend ist die Feststellanordnung bevorzugt dazu ausgebildet, bei Aussenden des Auslösesignals die Haltevorrichtung in den freigebenden Zustand zu überführen, so dass die Tür schließbar ist.
  • Erfindungsgemäß weist die Feststellanordnung zumindest einen Energiezwischenspeicher, der insbesondere als zumindest ein Kondensatorelement ausgebildet ist, auf, in dem eine elektrische Energiemenge speicherbar ist, durch die die Haltevorrichtung von dem feststellenden Zustand in den freigebenden Zustand überführbar ist. Insbesondere ist durch die Energiemenge das Gleitelement freigebbar. Dadurch, dass ein Energiezwischenspeicher vorgesehen ist, kann auch bei einem Defekt der Energiespeichereinheit oder einer elektrischen Anschlussleitung der Energiespeichereinheit noch zumindest einmal die Haltevorrichtung in den freigebenden Zustand überführt werden. Durch den Einbau des Energiezwischenspeichers kann somit zur Zuverlässigkeit der nach dem Arbeitsstromprinzip arbeitenden Feststellanordnung beigetragen werden. Zudem kann es sein, dass nur der Energiezwischenspeicher eine genügende Stromstärke für die Magnetspule zur Verfügung stellen kann. Der empfohlene maximale Dauerstrom eines Energiespeichers der Energiespeichereinheit kann hingegen z. B. zwischen 20 mA und 200 mA, bevorzugt zwischen 60 mA und 120 mA betragen. Der maximale gepulste Entladestrom des Energiespeichers kann zwischen 80 mA und 400 mA, bevorzugt zwischen 150 mA und 250 mA betragen.
  • Bevorzugt ist zumindest die zweifache Energiemenge, die zur Überführung der Haltevorrichtung notwendig ist, in dem Energiezwischenspeicher speicherbar. Der Energiezwischenspeicher ist insbesondere elektrisch zwischen der Energiespeichereinheit und der Haltevorrichtung geschaltet. Besonders bevorzugt ist die Energiemenge der Energiespeichereinheit nur über dem Energiezwischenspeicher der Haltevorrichtung zuführbar. Der Energiezwischenspeicher kann insbesondere nur aus der Energiespeichereinheit aufladbar sein.
  • Die Steuervorrichtung, insbesondere ein Mikrocontroller, kann insbesondere dazu ausgebildet sein, zu initiieren, dass die Haltevorrichtung von dem feststellenden in den freigebenden Zustand überführt wird, wenn ein Defekt bei der vorgesehenen Versorgung der Haltevorrichtung mit elektrischem Strom auftritt und/oder der vorgegebenen Spannungswert unterschritten wird. Hierbei kann die Steuervorrichtung insbesondere den Defekt und/oder die Unterschreitung des vorgegebenen Spannungswerts detektieren.
  • Erfindungsgemäß ist eine erste Spannungsmessstelle zum Ermitteln eines die elektrische Spannung der Energiespeichereinheit charakterisierenden Spannungswertes vorgesehen. Bei einem durch die erste Spannungsmessstelle ermittelten Spannungswert unterhalb des vorgegebenen Spannungswertes wird die Haltevorrichtung in den freigebenden Zustand überführt. Die erste Spannungsmessstelle kann elektrisch parallel zu der Energiespeichereinheit und der Steuervorrichtung geschaltet sein. Der vorgegebene Spannungswert kann insbesondere ein an der ersten Spannungsmessstelle ermittelbarer, die vorgegebene Spannung der Energiespeichereinheit charakterisierender Spannungswert sein. Die Spannungsmessung kann in ersten vorgegebenen Zeitabständen durchgeführt werden. Die ersten vorgegebenen Zeitabstände können in der Steuervorrichtung hinterlegt sein. Die Steuervorrichtung kann die Spannungsmessung durchführen. Hierbei kann an der ersten Spannungsmessstelle z. B. ein Spannungsteiler vorgesehen sein. Alternativ oder zusätzlich kann die erste Spannungsmessstelle einen Spannungsmesser aufweisen, der den ermittelten Spannungswert an die Steuereinheit übermittelt. Die Steuereinheit vergleicht den ermittelten mit dem vorgegebenen Spannungswert und lässt gegebenenfalls die Haltevorrichtung in den freigebenden Zustand überführen. Der vorgegebene Spannungswert kann in der Steuervorrichtung hinterlegt sein. Oberhalb des vorgegebenen Spannungswerts kann ein vorgegebener Schwellenwert für einen durch die erste Spannungsmessstelle ermittelten Spannungswert vorgesehen sein, bei dem eine Warnung herausgegeben wird. Als Warnung kann beispielsweise ein Leuchtelement der Feststellanordnung leuchten. Hierbei kann das Leuchtelement z. B. blinken. Durch die Warnung wird eine Bedienperson darauf hingewiesen, dass die Energiespeichereinheit demnächst auszutauschen ist.
  • Der einzelne elektrochemische Energiespeicher kann mindestens ein Verhältnis V1 der Nominalspannung zu einem empfohlenen maximalen Dauerstrom von 10 Ω ≤ V1 ≤ 40 Ω, bevorzugt 15 Ω ≤ V1 ≤ 30 Ω aufweisen. Zusätzlich oder alternativ kann der einzelne Energiespeicher ein Verhältnis V2 der Nominalspannung zu einem maximalen gepulsten Entladungsstrom von 20 Ω ≤ V2 ≤ 100 Ω, bevorzugt 30 Ω ≤ V2 ≤ 70 Ω aufweisen. Hierdurch ist eine kritische Erwärmung des Energiespeichers ausgeschlossen. Zusätzlich oder alternativ kann in der Energiespeichereinheit eine Sicherung vorgesehen sein. Hierdurch kann somit zur Zuverlässigkeit der nach dem Arbeitsstromprinzip arbeitenden Feststellanordnung beigetragen werden.
  • Bevorzugt liegt ein Defekt bei der vorgesehenen Versorgung der Haltevorrichtung mit elektrischem Strom vor, wenn ein Kurzschluss und/oder eine Unterbrechung innerhalb der Energiespeichereinheit und/oder in der Anschlussleitung der Energiespeichereinheit erfolgt. Somit wird die Haltevorrichtung von dem feststellenden in den freigebenden Zustand überführt. Hierbei kann der Energiezwischenspeicher die elektrische Energie zur Verfügung stellen. Der Kurzschluss oder die Unterbrechung kann durch den an der ersten Spannungsmessstelle ermittelten Spannungswert erfolgen, der unter dem vorgegebenen Spannungswert liegt.
  • Es kann vorgesehen sein, dass die Haltevorrichtung eine elektrisch durchfließbare Komponente aufweist. Mit der Hilfe der elektrisch durchfließbaren Komponente kann der freigebende Zustand erreicht werden. Die elektrisch durchfließbare Komponente kann z. B. als eine Magnetspule ausgebildet sein. Durch die Komponente ist ein Element der Haltevorrichtung, z. B. ein Anker, bewegbar, durch das die Überführung in den freigebenden Zustand erfolgt. Beispielsweise kann hierbei eine Blockade einer Haltemechanik der Haltevorrichtung aufgehoben werden. Die Komponente kann hierbei Teil eines Aktors, z. B. eines Elektromagneten oder eines Elektromotors, sein. Die elektrisch durchfließbare Komponente kann insbesondere mit elektrischen Strom mit unterschiedlichen Stromrichtungen durchfließbar sein. Die hierdurch erzeugten Magnetfelder können das Element zwischen zwei Positionen bewegen, die dem feststellenden Zustand und dem freigebenden Zustand entsprechen. Hierzu wird erneut auf die DE 10 2010 061 246 A1 verwiesen.
  • Die Feststellanordnung kann eine Messstelle zur Ermittlung einer elektrischen Stromstärke, der durch die elektrisch durchfließbare Komponente fließt, aufweisen, wobei ein Defekt bei der vorgesehenen Versorgung der Haltevorrichtung mit elektrischem Strom vorliegt, wenn die ermittelte Stromstärke außerhalb eines vorgegebenen Wertebereichs liegt. Die Steuervorrichtung kann die Stromstärke ermitteln. Hierbei kann an der Messstelle ein Widerstand vorgesehen sein. Insbesondere wird über einer Messung einer am Widerstand anliegenden Spannung die Stromstärke ermittelt. Alternativ oder zusätzlich kann die Strommessstelle einen Strommesser aufweisen, der die gemessenen Stromstärke an die Steuereinheit übermittelt. Die Steuereinheit überprüft, ob die gemessene Stromstärke innerhalb des vorgegebenen Wertebereichs liegt und lässt, falls nicht, die Haltevorrichtung in den freigebenden Zustand überführen. Eine obere Grenze des Wertebereichs kann z. B. dazu dienen, einen Kurzschluss festzustellen. Eine untere Grenze des Wertebereichs kann z. B. dazu dienen, festzustellen, ob eine Unterbrechung des Stromkreises vorliegt und/oder ob eine genügende Stromstärke zur Erzeugung eines ausreichenden Magnetfelds zur Überführung der Haltevorrichtung in den freigebenden Zustand vorliegt.
  • Die Ermittlung der Stromstärke kann in zweiten vorgegebenen Zeitabständen durchgeführt werden. Somit kann die Ermittlung der Stromstärke auch nur testhalber durchgeführt werden. Daher kann die Ermittlung der Stromstärke auch dann erfolgen, wenn keine Überführung in den freigebenden oder den feststellenden Zustand erfolgen soll. Die zweiten vorgegebenen Zeitabstände können in der Steuervorrichtung hinterlegt sein. Die zweiten vorgegebenen Zeitabstände können insbesondere identisch sein. So kann beispielsweise alle vierundzwanzig Stunden eine derartige Messung durchgeführt werden. Damit durch den Stromfluss durch die elektrisch durchfließbare Komponente bei einem Test keine Überführung in den freigebenden Zustand erfolgt, kann vorgesehen sein, dass zur Durchführung der Messung, die testhalber durchgeführt wird, die elektrisch durchfließbare Komponente mit einer derartigen Polung bestromt wird, dass die Bestromung wirkungslos auf den Zustand der Haltevorrichtung ist. Zusätzlich oder alternativ wird die Stromstärke bei einer durch das Auslösesignal ausgelösten Überführung in den freigebenden Zustand ermittelt.
  • Die Energiespeichereinheit kann über einen Spannungswandler mit dem Energiezwischenspeicher verbunden. Über den Spannungswandler kann eine höhere elektrische Spannung in dem Energiezwischenspeicher als in dem Energiespeichereinheit erzeugt werden. Insbesondere über den Spannungswandler kann die Steuervorrichtung ein Aufladen des Energiezwischenspeichers veranlassen.
  • Erfindungsgemäß ist eine zweite Spannungsmessstelle zur Ermittlung eines die elektrischen Spannung des Energiezwischenspeichers charakterisierenden Spannungswerts vorgesehen. Die zweite Spannungsmessstelle kann elektrisch parallel zu dem Energiezwischenspeicher und der Steuervorrichtung geschaltet sein. Die Spannungsmessung an der zweiten Spannungsmessstelle kann in vorgegebenen dritten Zeitabständen durchgeführt werden. Die dritten vorgegebenen Zeitabstände können in der Steuervorrichtung hinterlegt sein. Die Steuervorrichtung kann die Spannungsmessung an der zweiten Spannungsmessstelle durchführen. Hierbei kann an der zweiten Spannungsmessstelle ein Spannungsteiler vorgesehen sein. Alternativ oder zusätzlich kann die zweite Spannungsmessstelle einen Spannungsmesser aufweisen, der den gemessenen Spannungswert an die Steuereinheit übermittelt.
  • Bevorzugt wird der den Energiezwischenspeicher charakterisierenden Spannungswert, der an der zweiten Spannungsmessstelle ermittelt wurde, mit einem Sollspannungswert verglichen. Unterschreitet der Spannungswert den Sollspannungswert um einen vorgegebenen Betrag, so wird insbesondere durch die Steuervorrichtung veranlasst, dass der Energiezwischenspeicher auf den Sollspannungswert aufgeladen wird. Der Sollspannungswert kann in der Steuereinheit hinterlegt sein. Die vorgegebenen Zeitabstände können insbesondere identisch sein. Hierdurch wird sichergestellt, dass der Energiezwischenspeicher eine genügende Energiemenge zur Überführung der Haltevorrichtung in den freigebenden Zustand gespeichert hat und sich nicht über die Zeit zu weit entladen hat.
  • Erfindungsgemäß liegt ein Defekt bei der vorgesehenen Versorgung der Haltevorrichtung mit elektrischem Strom vor, wenn eine Aufladung des Energiezwischenspeichers auf eine Sollspannungswert innerhalb einer vorgegebenen Ladezeitspanne scheitert. Hierzu kann insbesondere die Steuereinheit überprüfen, ob der Energiezwischenspeicher innerhalb der vorgegebenen Ladezeitspanne den Sollspannungswert erreicht. Wird innerhalb der Ladezeitspanne der Sollspannungswert nicht erreicht, so liegt ein Defekt bei der vorgesehenen Versorgung der Haltevorrichtung mit elektrischer Energie vor. In diesem Fall wird die Haltevorrichtung in den freigebenden Zustand überführt. Beispielsweise kann ein Kurzschluss in dem Energiezwischenspeicher vorliegen oder der Spannungswandler defekt sein. Ebenfalls kann der Energiezwischenspeicher gealtert sein und eine geringe Kapazität aufweisen, so dass die Aufladung auf den Sollspannungswert zu schnell erfolgt.
  • Die vorgegebene Ladezeitspanne Δt4 kann damit durch einen oberen Grenzwert toben und einen unteren Grenzwert tunten größer Null begrenzt sein. Hierbei können tunten und toben in Abhängigkeit von dem zu unterschreitenden Betrag und der Kapazität des Kondensatorelements gewählt sein. Als ein Wert kann tunten z. B. zwischen 0,1 s und 10 s, bevorzugt zwischen 1 s und 4 s gewählt sein. Als ein Wert kann toben z. B. zwischen 10 s und 60 s, bevorzugt zwischen 5 s und 30 s gewählt sein. Beispielsweise kann die Ladezeitspanne Δt4 gegeben sein durch 0,1 s=tunten ≤ Δt4 ≤ 60 s=toben oder 1 s=tunten ≤ Δt4 ≤ 30 s=toben oder 3 s = tunten ≤ Δt4 ≤ 16 s=toben. Insbesondere wird durch die untere Grenze tunten einer Alterung des Energiezwischenspeichers, z. B. um 10 % bis 50 %, bevorzugt um 20% bis 40%, Rechnung getragen.
  • Erfindungsgemäß liegt ein Defekt bei der vorgesehenen Versorgung der Haltevorrichtung mit elektrischer Energie vorliegt, wenn ein an der zweiten Spannungsmessstelle ermittelter Spannungsabfall bei einer Entladung des Energiezwischenspeichers für eine vorgegebene Entladezeitspanne größer als ein vorgegebener Maximalwert ist. Durch eine Alterung des Energiezwischenspeichers kann der Energiezwischenspeicher an Kapazität verlieren. Ebenfalls ist es denkbar, dass der Energiezwischenspeicher bei unterschiedlichen Temperaturen unterschiedliche Kapazitäten inne hat. Bei einer geringeren Kapazität ist jedoch bei einer vorgegebenen Spannung eine geringere Ladungsmenge in dem Energiezwischenspeicher gespeichert. Um zu verhindern, dass die gespeicherte Ladungsmenge für eine Überführung der Haltevorrichtung in den freigebenden Zustand nicht ausreicht, wird der Spannungsabfall bei einer Entladung des Energiezwischenspeichers für die vorgegebene Entladezeitspanne überprüft, der ein Indikator für die gespeicherte Ladungsmenge und damit für die Kapazität des Energiezwischenspeichers ist.
  • Der Maximalwert für den Spannungsabfall und/oder die Entladezeitspanne können in der Steuervorrichtung hinterlegt sein. Der Vergleich zwischen dem Maximalwert und dem ermittelten Spannungsabfall kann durch die Steuervorrichtung erfolgen.
  • Bevorzugt wird der Energiezwischenspeicher zur Ermittlung des Spannungsabfalls in der Entladezeitspanne entladen, indem der zuvor beschriebene Test durchgeführt wird, bei dem die elektrisch durchfließbare Komponente mit einer derartigen Polung bestromt wird, dass die Bestromung wirkungslos auf den Zustand der Haltevorrichtung ist. Somit können in einem Vorgang sowohl der Stromfluss durch die elektrisch durchfließbare Komponente als auch die Kapazität des Energiezwischenspeichers überpüft werden.
  • Es kann sein, dass die Feststellanordnung zumindest zwei zueinander redundante Energiezwischenspeicher und/oder zumindest zwei zueinander redundante elektrisch durchfließbare Komponenten aufweist. Somit kann bei einem Defekt eines Energiezwischenspeichers oder einer elektrisch durchfließbaren Komponente die Überführung der Haltevorrichtung in die freigebende Stellung zuverlässig bewirkt werden. Hierdurch ist es möglich, dass bei einem schwerwiegenden Defekt des Energiezwischenspeichers und/oder der elektrisch durchfließbaren Komponente durch den redundanten Energiezwischenspeicher und/oder die redundante elektrisch durchfließbare Komponente die Haltevorrichtung dennoch in den freigebenden Zustand überführbar ist. Der schwerwiegende Defekt kann z. B. ein Kurzschluss in dem Energiezwischenspeicher sein. Jede elektrisch durchfließbare Komponente ist dabei derart ausgestaltet, dass ohne die Hilfe der weiteren elektrisch durchfließbare Komponente der freigebende Zustand herbeigeführt werden kann.
  • Bevorzugt sind zumindest zwei Subsysteme vorgesehen, die jeweils zumindest einen Energiezwischenspeicher und eine elektrisch durchfließbare Komponente umfassen, wobei die Subsysteme jeweils unabhängig voneinander ausgestaltet sind. Die Subsysteme sind insbesondere redundant zueinander.
  • Es kann vorgesehen sein, dass die Feststellanordnung zumindest zwei Steuervorrichtungen aufweist, die sich gegenseitig überwachen, wobei ein Defekt bei der vorgesehenen Versorgung der Haltevorrichtung mit elektrischem Strom vorliegt, wenn eine Steuervorrichtung fehlerhaft ist. Beispielsweise kann bei einem Ausbleiben eines cyclischen Triggersignals eine der Steuervorrichtungen einen Defekt bei der anderen Steuervorrichtung feststellen und die Überführung der Haltevorrichtung in den freigebenden Zustand veranlassen. Die Steuervorrichtungen können sich in vorgegebenen Überwachungszeitabständen, die insbesondere in den Steuervorrichtungen hinterlegt sind, überwachen. Ferner kann vorgesehen sein, dass die Steuervorrichtungen sich selber überwachen. Hierzu können beispielsweise CPU und RAM-Test durchgeführt werden. Insbesondere wird die Selbstüberwachung in regelmäßigen, vorgegebenen Selbstüberwachungsabständen durchgeführt. Wird bei einer Überwachung ein Fehler, z. B. beim CPU- oder RAM-Test festgestellt, so wird ein Defekt bei der vorgesehen Versorgung der Haltevorrichtung mit elektrischem Strom detektiert und die Haltevorrichtung insbesondere durch die weitere intakte Steuervorrichtung in den freigebenden Zustand überführt.
  • Die zumindest zwei Steuervorrichtungen können jeweils Teil eines Subsystems sein. Somit kann jedes Subsystem von einem Empfang eines Auslösesignals bis zur elektrisch durchfließbaren Komponente der Haltevorrichtung reichen. Hierbei kann durch jedes der Subsysteme die Haltevorrichtung unabhängig von dem anderen Subsystem in den freigebenden Zustand überführt werden.
  • Bevorzugt liegt ein Defekt bei der vorgesehen Versorgung der Haltevorrichtung mit elektrischem Strom vor, wenn das Verlassen eines Energiesparmodus der Steuervorrichtung ausbleibt. In einem Zeitraum, in der die Steuervorrichtung keine Überwachung und keine Überführung in den freigebenden Zustand vornehmen muss, kann sich die Steuervorrichtung in einem Energiesparmodus befinden. Kann die Steuervorrichtung den Energiesparmodus nicht verlassen, so wird die Haltevorrichtung in den freigebenden Zustand überführt. Dieser Defekt kann insbesondere durch eine andere Steuervorrichtung detektiert werden.
  • Es ist denkbar, dass ein Taster vorgesehen ist, um nach einer Überführung in den freigebenden Zustand, insbesondere nach einem Empfang eines Brandmeldesignals und/oder einem Wechsel der Energiespeichereinheit, eine erneute Anordnung der Haltevorrichtung in den feststellenden Zustand zu ermöglichen. Ebenfalls kann es sein, dass nach Behebung eines Defekts, insbesondere eines Kurzschlusses z. B. im Energiezwischenspeicher oder in der Energiespeichereinheit, durch Betätigung des Tasters und einem Selbsttest eine erneute Überführung in den feststellenden Zustand ermöglicht sein kann. Alternativ kann vorgesehen sein, dass bei einer Betätigung des Tasters nur in eine erneute Überführung der Haltevorrichtung in den feststellenden Zustand möglich ist, wenn ein Brandmeldesignal empfangen wurde und/oder wenn ein cyclisches Gefahrendetektorsignal ausbleibt und/oder wenn die Energiespeichereinheit ausgewechselt wurde.
  • Vorzugsweise ist vorgesehen, dass nach einem bestimmten Defekt und/oder nach Unterschreiten des vorgegebenen Spannungswertes vor Wechsel der Energiespeichereinheit die Haltevorrichtung in dem freigebenden Zustand verharrt. D. h. ein Versuch, die Tür erneut in geöffneter Stellung festzustellen, scheitert. Hierbei kann insbesondere bei einer Betätigung des Tasters eine erneute Überführung der Haltevorrichtung in den feststellenden Zustand verhindert sein. Hierzu kann insbesondere eine Bestromung der elektrisch durchfließbaren Komponente in einer Stromrichtung, die den feststellenden Zustand hervorruft, verhindert sein. Ein Defekt, bei dem die Haltevorrichtung in dem freigebenden Zustand verharrt, kann zumindest einer der folgenden Defekte sein:
    • Bei einem Kurzschluss in der Anschlussleitung der Energiespeichereinheit und/oder in dem Energiezwischenspeicher bei einer Beschädigung weitere Bauteile. Hierbei kann die Beschädigung durch einen Selbsttest ermittelt werden,
    • Bei dem an der zweiten Spannungsmessstelle ermittelter Spannungsabfall bei einer Entladung des Energiezwischenspeichers für eine vorgegebene Entladezeitspanne, der größer als ein vorgegebener Maximalwert ist,
    • Bei einem Unterschreiten der an der ersten Spannungsmessstelle ermittelten Spannungswerts für die Energiespeichereinheit unter den vorgegebenen Spannungswert bevor einem Wechsel der Energiespeichereinheit,
    • bei einer an der Messstelle ermittelten Stromstärke außerhalb des vorgegebenen Wertebereichs,
    • bei einer Aufladung des Energiezwischenspeichers auf eine Sollladespannung außerhalb der vorgegebenen Ladezeitspanne,
    • bei einer defekten Steuervorrichtung.
  • Es kann sein, dass ein Kondensator vorgesehen ist, um bei Ausfall der Energieversorgungseinheit die Steuervorrichtung mit elektrischer Energie zu versorgen. Im Falle redundanter Steuervorrichtungen ist insbesondere jeder Steuervorrichtung ein Kondensator zugeordnet. Insbesondere ist in dem Kondensator zumindest die Energiemenge speicherbar, die notwendig ist, damit die Steuervorrichtung die Überführung der Haltevorrichtung in den freigebenden Zustand initiiert.
  • Der vorgegebene Spannungswert UV1 kann ein Spannungswert der Energiespeichereinheit sein, bei dem nur noch einmal die Haltevorrichtung gesichert in den freigebenden Zustand überführbar ist. Zusätzlich oder alternativ kann der vorgegebene Spannungswert UV1 in Abhängigkeit von der Nominalspannung UN der Energiespeichereinheit als ein Wert aus einem Intervall 0,5*UN ≤ UV1 ≤ 0,9*UN, bevorzugt 0,65*UN ≤ UV1 ≤ 0,9*UN, besonders bevorzugt 0,75*UN ≤ UV1 ≤ 0,85*UN, vorgegeben sein. Beispielsweise kann der vorgegebene Spannungswert UV1 ein Wert zwischen 5V und 6,5 V, bevorzugt zwischen 5,5 V und 6,3 V sein.
  • Der Schwellenwert US liegt über dem vorgegebene Spannungswert UV1. Hierbei kann zusätzlich der Schwellenwert ein Wert aus einem Intervall 0,7*UN ≤ US ≤ 0,98*UN, bevorzugt 0,8*UN ≤ US ≤ 0,98*UN, besonders bevorzugt 0,9*UN ≤ US ≤ 0,95*UN sein. Beispielsweise kann der Schwellenwert US ein Wert zwischen 6 V und 7,0 V, bevorzugt zwischen 6,5 V und 6,9 V sein.
  • Der Sollspannungswert UV2 ist derart zu wählen, dass in Abhängigkeit von der Kapazität des verwendeten Kondensatorelements die Ladungsmenge zur Überführung der Haltevorrichtung in den freigebenden Zustand ausreicht. Bevorzugt reicht die Ladungsmenge für eine n-fache Überführung in den freigebenden Zustand aus, wobei n aus dem Bereich 2 ≤ n ≤ 4, bevorzugt 2 ≤ n ≤ 10 gewählt ist. Beispielsweise kann UV2 ein Wert aus einem Bereich mit 8V ≤ UV2 ≤ 16 V, bevorzugt 10V ≤ UV2 ≤ 14 V sein.
  • Der Betrag B, um den der an der zweiten Spannungsmessstelle ermittelte Spannungswert U2 den Sollspannungswert UV2 ohne Aufladen unterschreiten darf, kann als ein Wert aus dem Intervall 0,05 UV2 ≤ B ≤ (n-1)/n UV2 gewählt werden. Zusätzlich oder alternativ kann der Betrag B ein Wert aus einem Intervall 0,05 UV2 ≤ B ≤ 0,4 UV2, bevorzugt 0,05 UV2 ≤ B ≤ 0,2 UV2, besonders bevorzugt 0,05 UV2 ≤ B ≤ 0,1 UV2 sein. Beispielsweise kann B als einWert zwischen 0,5 V und 1,5 V gewählt sein.
  • Der Maximalwert ΔUV kann derart gewählt werden, dass eine Alterung der Kapazität des Kondensatorelements um 10 % bis 50 %, bevorzugt um 20% bis 40% Rechnung getragen wird. Entsprechend kann der Maximalwert ΔUV einem Wert aus dem 1,1- bis 2- fachen, bevorzugt dem 1,25- bis 1,7-fachen, des Spannungsabfalls des nicht gealterten Kondensatorelements für die vorgegeben Entladezeitspanne entsprechen. Beispielsweise kann der Maximalwert ΔUV ein Wert zwischen 0,3 V und 1 V sein.
  • Die untere Grenze I0 und die obere Grenze I2 für die Stromstärke IMagnet sind von der Stromstärke, die für die elektrisch durchfließbare Komponente, insbesondere die Magnetspule, benötigt und/oder bevorzugt wird, z. B. von der Nennstromstärke, abhängig. Die untere Grenze I0 kann z. B. so gewählt werden, dass die Magnetspule oberhalb der unteren Grenze I0 ein genügendes Magnetfeld für die Überführung der Haltevorrichtung in den freigebenden Zustand erzeugt. Die obere Grenze I2 kann z. B. so gewählt werden, dass oberhalb der oberen Grenze I2 ein Kurzschlussstrom vorliegt. Z. B. kann die untere Grenze I0 als ein Wert aus dem Intervall 0,5* IMagnet ≤ I0 ≤ 0,95 *IMagnet, bevorzugt 0,6* IMagnet ≤ I0 ≤ 0,9* IMagnet, bevorzugt 0,75* IMagnet ≤ I0 ≤ 0,85 *IMagnet ausgewählt sein. Z. B. kann die obere Grenze I2 als ein Wert aus dem Intervall 1,3* IMagnet ≤ I2 ≤ 3 *IMagnet, bevorzugt 1,5* IMagnet ≤ I2 ≤ 2,5* IMagnet, bevorzugt 1,7* IMagnet ≤ I0 ≤ 2,2* IMagnet ausgewählt sein. Rein exemplarisch kann die untere Grenze I0 als ein Wert aus dem Intervall 300 mA ≤ I0 ≤ 575 mA, bevorzugt 350 mA ≤ I0 ≤ 550 mA, besonders bevorzugt 400 mA ≤ I0 ≤ 500 mA gewählt sein. Die obere Grenze I2 als ein Wert aus dem Intervall 800 mA ≤ I2 ≤ 2000 mA, bevorzugt 1000 mA ≤ I2 ≤ 1500 mA, gewählt sein. Es ist denkbar, dass für die Magnetspule jedes Subsystems unterschiedliche Stromstärken benötigt werden.
  • Die vorgegebene Entladezeitspanne Δt2 kann eine sehr geringere Zeitspanne sein, um die Energiespeichereinheit nicht unnötig zu entladen. So kann beispielsweise die vorgegebene Entladezeitspanne Δt2 als eine Zeit zwischen 10 ms und 2 s, bevorzugt zwischen 20 ms und 80 ms vorgegeben sein.
  • Es kann ausreichend sein, den zweiten vorgegebenen Zeitabstand Δt3 als einen großen Zeitabstand zu wählen. Beispielsweise kann Δt3 als ein Wert aus dem Intervall 2 h ≤ Δt3≤ 48 h, bevorzugt 6h ≤ Δt3 ≤ 36 h, besonders bevorzugt 12h ≤ Δt3 ≤ 30 h gewählt sein.
  • Der erste vorgebene Zeitabstand Δt1, der dritte vorgegebene Zeitabstand Δt5, der Überwachungs- und/oder der Selbstüberwachungszeitabstand Δt6, Δt7 können insbesondere identisch sein. Beispielsweise kann gelten 2s ≤ Δt1, Δt5, Δt6, Δt7 ≤ 20 s, bevorzugt 4s ≤ Δt1, Δt5, Δt6, Δt7 ≤ 12 s. Insbesondere können Δt1, Δt5, Δt6, Δt7 8s betragen. Es ist denkbar, dass Δt1, Δt5, Δt6, Δt7 auch als unterschiedliche Werte innerhalb der Intervalle gewählt sind.
  • Die Aufgabe der Erfindung wird auch gelöst durch ein Verfahren zum Betreiben einer Feststellanordnung, wobei die Feststellanordnung eine Haltevorrichtung zum Feststellen einer Tür, insbesondere in einer offenen Stellung, umfasst, wobei die Haltevorrichtung durch Zufuhr von elektrischer Energie von einem feststellenden Zustand in einen freigebenden Zustand überführt wird. Gemäß dem erfindungsgemäßen Verfahren wird die Haltevorrichtung von den feststellenden Zustand in den freigebenden Zustand überführt, wenn ein Defekt bei der vorgesehenen Zufuhr der Haltevorrichtung mit elektrischem Strom auftritt und/oder ein vorgegebener Spannungswert für eine Energiespeichereinheit, die zur Versorgung der Haltevorrichtung mit elektrischer Energie dient, unterschritten wird.
  • Bei dem Defekt kann es sich insbesondere um einen zuvor beschriebenen Defekt handeln.
  • Im Folgenden wird die Erfindung anhand eines Ausführungsbeispiels gezeigt und in den Figuren genauer erläutert. Hierzu zeigt:
  • Fig. 1
    eine erfindungsgemäße Feststellanordnung gemäß einem Ausführungsbeispiel,
    Fig. 2
    ein schematisches Schaltbild der erfindungsgemäßen Feststellanordnung gemäß dem Ausführungsbeispiel,
    Fig. 3
    ein erstes Ausführungsbeispiel eines erfindungsgemäßen Verfahrens, das in einer erfindungsgemäßen Feststellanordnung hinterlegt ist,
    Fig. 4
    ein zweites Ausführungsbeispiel eines erfindungsgemäßen Verfahrens, das in einer erfindungsgemäßen Feststellanordnung hinterlegt ist,
    Fig. 5
    ein drittes Ausführungsbeispiel eines erfindungsgemäßen Verfahrens, das in einer erfindungsgemäßen Feststellanordnung hinterlegt ist und
    Fig. 6
    ein viertes Ausführungsbeispiel eines erfindungsgemäßen Verfahrens, das in einer erfindungsgemäßen Feststellanordnung hinterlegt ist.
  • Fig. 1 zeigt eine Feststellanordnung 1 gemäß dem Ausführungsbeispiel. Dargestellt ist eine Tür 2. An dieser Tür 2 ist neben der Feststellanordnung 1 ein Türbetätiger 3, ausgebildet als Türschließer, montiert. In dem Türbetätiger 3 ist eine Schließerfeder integriert. Die Kraft der Schließerfeder überträgt sich von der Schließerfeder über ein Gestänge 4 auf ein Gleitelement 9. Das Gleitelement 9 ist in einer sturzseitig montierten Gleitschiene 5 der Feststellanordnung 1 geführt.
  • Des Weiteren umfasst die Feststellanordnung 1 einen Gefahrendetektor 8. Dieser ist als Rauchmelder und/oder Brandmelder ausgebildet. Der Gefahrendetektor 8 ist mit weiteren Signalgebern 6, insbesondere weiteren Gefahrendetektoren, (vgl. Figur 2) verbindbar, wobei die Signalgeber 6 insbesondere an der Decke montiert sind. Weiterer Bestandteil der Feststellanordnung 1 ist eine Haltevorrichtung 7, mit der das Gleitelement 9 feststellbar ist. Hierbei befindet sich die Haltevorrichtung 7 in dem feststellenden Zustand SZ. Durch das Feststellen des Gleitelements 9 ist die Tür 2 in der offenen Stellung haltbar. Eine Ansteuerung der Haltevorrichtung 7 erfolgt durch und innerhalb zweier Subsysteme 25, deren Aufbau und Funktion nachfolgend mit Bezug auf Figur 2 beschrieben wird. Die Haltevorrichtung 7 wird von den Subsystemen 25 derart angesteuert, dass das Gleitelement 9 insbesondere solange festgestellt wird, bis der Gefahrendetektor 8 ein Auslösesignal an die Subsysteme 25 aussendet.
  • Im Falle einer Rauchentwicklung oder einer Brandentwicklung wird dies von dem Gefahrendetektor 8 und/oder von den externen Signalgebern 6 detektiert. Die externen Signalgeber 6 sind über Funk an den Gefahrendetektor 8 gekoppelt. Der Gefahrendetektor 8 erzeugt das Auslösesignal, wenn ein Brand oder eine Rauchentwicklung detektiert wurde. Dieses Auslösesignal wird an die Subsysteme 25 weitergeleitet, wodurch die Haltevorrichtung 7 das Gleitelement 9 freigibt, wobei die Haltevorrichtung in den freigebenden Zustand GZ überführt wird. Somit kann die in den Schließfedern des Türbetätigers 3 vorgespeicherte Energie die Türflügel der Tür 2 schließen.
  • Figur 2 zeigt ein schematisches Schaltbild der Feststellanordnung 1. In dem in Figur 2 gezeigten Ausführungsbeispiel sind zwei Signalgeber 6 vorhanden, die über eine Funkstrecke mit dem Gefahrendetektor 8 kommunizieren. Die Signalgeber 6 sind somit in der Lage, ein Signal an den Gefahrendetektor 8 zu übertragen, wenn die Signalgeber 6 Rauch oder einen Brand detektieren. Ebenso ist der Gefahrendetektor 8 ausgebildet, einen Brand zu detektieren.
  • Außerdem weist die Feststellanordnung 1 zwei Subsysteme 25 auf, wobei der Gefahrendetektor 8 mit den Subsystemen 25 verbunden ist. Dabei ist der Gefahrendetektor 8 mit zwei Steuervorrichtungen 11 verbunden. Die Steuervorrichtungen 11 haben eine identische Funktion. Die Steuervorrichtungen 11 sind insbesondere Mikrocontroller. Die Steuervorrichtungen 11 sind über eine Datenleitung 20 zum Datenaustauch miteinander verbunden, sodass eine gegenseitige Überwachung der Steuervorrichtungen 11 realisiert ist. Dies erlaubt das Erkennen von Defekten innerhalb des einen Subsystems 25 durch das andere Subsystem 25. Somit ist eine Redundanz innerhalb der Feststellanordnung 1 gegeben.
  • Die Steuervorrichtungen 11 sind derart eingerichtet, Magnetspulen 10 anzusteuern. Jedes Subsystem 25 weist zumindest eine Magnetspule 10 auf, sodass jede Magnetspule 10 eines Subsystems 25 von der Steuervorrichtung 11 des Subsystems 25 ansteuerbar ist. Die Magnetspulen 10 sind Teil einer Haltevorrichtung 7, mit der ein Anker 22 in zumindest zwei unterschiedlichen Positionen haltbar ist, ohne dass von außen Energie zugeführt werden muss. Insbesondere weist die Haltevorrichtung 7 einen Elektromagneten auf. Der Elektromagnet hält den Anker 22 so lange in einer ersten Position, bis ein Stromimpuls an einer der Magnetspulen 10 den Elektromagnet umschaltet und somit den Anker 22 in eine von der ersten Position verschiedene zweite Position überführt. Ebenfalls hält der Elektromagnet den Anker 22 so lange in der zweiten Position, bis ein Stromimpuls an einer der Magnetspulen 10 den Elektromagneten umschaltet und den Anker 22 in die erste Position überführt. In der ersten Position ist das Gleitelement 9 und damit die Tür festgestellt, in der zweiten Position ist das Gleitelement 9 freigegeben. Die Bestromung eines Elektromagneten ist ausreichend, um den Anker 22 in die Positionen zu überführen. Somit sind die Magnetspulen 10 redundant zueinander.
  • Jede Steuervorrichtung 11 ist eingerichtet, eine Magnetspule 10 mit einem Stromimpuls zu beaufschlagen, um die Tür 2 freizugeben. Dazu ist jede Steuervorrichtung 11 mit jeweils einem Schalter 16 verbunden, wobei über die Schalter 16 elektrische Energie jeweils nach den Vorgaben der Steuervorrichtungen 11 an eine dem Schalter 16 zugeordnete Magnetspule 10 abgegeben wird. Durch den Schalter 16 kann Strom die die Magnetspule 10 in verschiedene Stromrichtungen durchfließen. Durch das Beaufschlagen der Magnetspulen 10 mit elektrischer Energie wird das Gleitelement 9 freigegeben. Somit basiert die Feststellanordnung 1 auf einem Arbeitsstromprinzip.
  • Durch die Verwendung des Arbeitsstromprinzips muss eine zuverlässige Freigabe im Falle des Empfangens des Auslösesignals von dem Gefahrendetektor 8 gewährleistet sein. Daher weist die Feststellanordnung 1 in jedem Subsystem 25 zumindest eine Messtelle 17, insbesondere für jede Magnetspule 10 eine eigene Messstelle 17, auf. An der Messstelle 17 wird überprüft, ob die der Magnetspule 10 zugewiesene Schaltsignale umgesetzt werden und/oder ob eine Unterbrechung des Stromkreises der Magnetspule 10 vorliegt. Dazu ist die Messstelle 17 eines Subsystems 25 mit der Steuervorrichtung 11 des Subsystems 25 elektrisch verbunden. Sollte ein Fehler der Magnetspule 10 des Subsystems 25 erkannt werden, beispielsweise eine Unterbrechung im Stromkreis der Magnetspule 10, so ist nicht gewährleistet, dass ein Ansteuern der Magnetspule 10 das Gleitelement 9 freigibt. Aufgrund des Vorhandenseins mehrerer Subsysteme 25 innerhalb der Feststellanordnung 1 ist jedoch eine weitere Magnetspule 10 vorhanden, so dass die Tür 2 durch Ansteuerung der weiteren Magnetspule 10 freigebbar ist. Mittels der Messstelle 17 kann eine Stromstärke I1 ermittelt werden. Die Steuereinheit 11 überprüft, ob die Stromstärke I1 innerhalb eines vorgegebenen Wertebereichs liegt.
  • Ferner weist jedes Subsystem zumindest einen Energiezwischenspeicher 15 auf. Die zum Betreiben der Magnetspulen 10 benötigte elektrische Energie ist jeweils in dem Energiezwischenspeicher 15 gespeichert, wobei insbesondere jeder Magnetspule 10 ein Energiezwischenspeicher 15 zugeordnet ist. Der Energiezwischenspeicher 15 ist elektrisch mit dem Schalter 16 verbunden, so dass die elektrische Energie, die in dem Energiezwischenspeicher 15 gespeichert ist, über den Schalter 16 an die Magnetspule 10 abgebbar ist.
  • Jedes Subsystem 25 weist außerdem zumindest einen Spannungswandler 14 auf, wobei die Energiezwischenspeicher 15 über die Spannungswandler 14, insbesondere jeder Energiezwischenspeicher 15 über jeweils einen eigenen Spannungswandler 14, von einer gemeinsamen Energiespeichereinheit 12 geladen werden. Lediglich zur besseren Übersicht ist in Figur 2 die Energiespeichereinheit 12 in drei Elementen dargestellt. Die Energiespeichereinheit 12 ist insbesondere eine Batterie oder ein Akkumulator oder eine Schaltung aus mehreren Batterien oder Akkumulatoren. Somit ist die Feststellanordnung 1 unabhängig von einer externen Stromversorgung, beispielsweise einem Hausnetz.
  • Jedes Subsystem 25 weist zumindest eine erste Spannungsmessstelle 13 auf, wobei die Energiespeichereinheit 12 über die erste Spannungsmessstelle 13 mit den Steuervorrichtungen 11 verbunden ist. Mittels der ersten Spannungsmessstelle 13 wird ein Spannungsausfall und/oder eine Unterspannung der Energiespeichereinheit 12 detektiert. Sollte ein Spannungswert U1 für die Energiespeichereinheit 12 mittels der ersten Spannungsmessstelle 13 detektiert werden, der unter einem vorgegebenen Spannungswert UV1 liegt und somit ein zuverlässiges Aufladen der Energiezwischenspeicher 15 nicht ermöglicht, so steuert eine der Steuervorrichtungen 11 anschließend die Magnetspule 10 derart an, dass das Gleitelement 9 freigegeben wird. Somit ist verhindert, dass das Gleitelement 9 von der Feststellanordnung 1 gehalten wird und aufgrund eines Ausfalls der Energiespeichereinheit 12 ein Freigeben nicht mehr möglich ist.
  • Außerdem weist die Feststellanordnung 1 vorteilhafterweise eine Anzeigevorrichtung 18 auf, mit der der Zustand jeder Magnetspule 10 und/oder der Energiespeichereinheit 12 darstellbar ist. Beispielsweise kann die Anzeigevorrichtung 18 eine Warnung ausgeben, wenn der durch der ersten Spannungsmessstelle 13 ermittelte Spannungswert U1 unterhalb eines Schwellenwertes Us liegt. Der Schwellenwertes Us liegt über dem vorgegebenen Spannungswert UV1. Weiterhin ist bevorzugt ein Taster 19 vorgesehen.
  • Hat beispielsweise die Feststellanordnung 1 in einem Brandfall die Haltevorrichtung 7 in den freigebenden Zustand GZ überführt, so verhindern zunächst die Steuervorrichtungen 11 eine erneute Überführung der Haltevorrichtung 7 in den feststellenden Zustand SZ. Der Taster 19 dient dazu zu ermöglichen, dass die Haltevorrichtung 7 erneut in den feststellenden Zustand SZ überführt werden kann.
  • Schließlich weist die Feststellanordnung 1 einen Positionssensor 23 auf, der eine Position des Ankers 22 erfasst. Der Positionssensor 23 ist insbesondere ein magnetischer Schalter.
  • Ebenfalls ist eine zweite Spannungsmessstelle 26 vorgesehen, die elektrische Spannungswerte U2 für den Energiezwischenspeicher 15 ermittelt.
  • Zwischen der Energiespeichereinheit 12 und den Steuervorrichtungen sind jeweils Kondensatoren 27 vorgesehen, um bei Ausfall der Energieversorgungseinheit 12 die jeweilige Steuervorrichtung 11 mit elektrischer Energie zu versorgen.
  • In den Figuren 3 bis 6 sind jeweils Verfahren 30, 40, 50, 60 dargestellt, wobei alle Verfahren 30, 40, 50, 60 in der erfindungsgemäßen Feststellanordnung 1, insbesondere nach den Figuren 1 und 2, integriert sind. Bevorzugt sind die Verfahren 30, 40, 50, 60 in den Steuervorrichtungen 11 hinterlegt. Die Feststellanordnung 1 kann insbesondere mittels der Steuervorrichtungen 11 ausgebildet sein, die Verfahren 30, 40, 50, 60 durchzuführen.
  • In Figur 3 ist ein Verfahren 30 dargestellt, bei dem in einem Verfahrensschritt 31 ein Spannungswert U1 für die Energieversorgungseinheit 12 ermittelt wird. In einem zweiten Verfahrensschritt 32 wird der Spannungswert U1 mit einem in der Steuervorrichtung 11 hinterlegten vorgegebenen Spannungswert UV1 verglichen. Ist der Spannungswert U1 kleiner als der Spannungswert UV1, was in Figur 3 durch ein "+" dargestellt ist, so wird gemäß Verfahrensschritt 33 die Haltevorrichtung 7 in den freigebenden Zustand GZ überführt. Ohne einen Wechsel der Energiespeichereinheit 12 ist es selbst durch Drücken des Tasters 19 nicht möglich, die Haltevorrichtung 7 wieder in den feststellenden Zustand SZ zurückzuführen.
  • Ist der Spannungswert U1 größer gleich als der Spannungswert UV1, jedoch kleiner als ein Schwellenwert Us, was in einem Verfahrensschritt 34 überprüft wird, so wird in einem Verfahrensschritt 35 eine Warnung W herausgegeben. In den Fällen, in denen der Spannungswert U1 größer gleich als der Spannungswert UV1 ist, wird die Ermittlung des Spannungswerts U1 und die anschließende Routine in regelmäßigen ersten Zeitabständen Δt1 wiederholt.
  • In Figur 4 ist ein Verfahren 40 dargestellt, bei dem die Magnetspule 10 testhalber bestromt werden soll. Hierzu muss zunächst in einem Verfahrensschritt 41 durch den Positionssensor 23 die Position des Ankers 22 ermittelt und dadurch festgestellt werden, ob sich die Haltevorrichtung 7 in dem feststellenden Zustand SZ oder in dem freigebenden Zustand GZ befindet. Entsprechend wird in einem Verfahrensschritt 42 in einem Test T die Magnetspule 10 durch den Schalter 16 derart bestromt werden, dass der durch die Magnetspule 10 fließende Strom wirkungslos auf den Zustand der Haltevorrichtung 7 ist. Der Test T wird eine vorgegebene Entladezeitspanne Δt2 lang durchgeführt. Während des Test T wird in einem Verfahrensschritt 43 die Stromstärke I1 an der Messstelle 17 gemessen. Die Steuereinheit 11 überprüft in einem Verfahrensschritt 44, ob sich die Stromstärke I1 in einem Wertebereich I0, I2 befindet mit I0 < I1 < I2. Ist dieses nicht der Fall, was in Figur 4 mit einem "-" gekennzeichnet ist, wird die Haltevorrichtung 7 in den freigebenden Zustand GZ überführt, was dem Verfahrensschritt 45 entspricht.
  • Ebenfalls wird der an der zweiten Spannungsmessstelle 26 ermittelte Spannungswert U2 vor und nach der Entladezeitspanne Δt2 des Tests T ermittelt und daraus in einem Verfahrensschritt 46 eine Spannungswertdifferenz, d. h. ein Spannungsabfall ΔU2 berechnet. Anschließend wird in einem Verfahrensschritt 47 überprüft, ob der Spannungsabfall ΔU2 größer ist als ein Maximalwert ΔUV. Ist dieses der Fall, was in Figur 4 mit einem "+" gekennzeichnet ist, so wird die Haltevorrichtung 7 in den freigebenden Zustand GZ gemäß Verfahrensschritt 45 überführt. Hierdurch wird verhindert, dass im Falle eines Energiezwischenspeicher 15, der gealtert ist und nur noch eine geringe elektrische Energiemenge speichern kann, im Brandfall die Haltevorrichtung 7 in den freigebenden Zustand GZ überführt werden muss.
  • Liegt die Stromstärke I1 in einem Wertebereich I0, I2, was in Figur 4 mit einem "+" dargestellt ist und ist der Spannungsabfall ΔU2 kleiner als ein Maximalwert ΔUV, so wird lediglich in einem zweiten vorgegebenen Zeitabstand Δt3 das Verfahren 40 erneut gestartet.
  • In Figur 5 ist ein weiteres Verfahren 50 dargestellt. Um genügend elektrische Energie in dem Energiezwischenspeicher 15 zur Verfügung zu haben, wird gemäß dem Verfahrensschritt 51 der Energiezwischenspeicher 15 in vorgegebenen dritten Zeitabständen Δt5 innerhalb ein Spannungswert U2 für den Energiezwischenspeicher 15 ermittelt. In einem Verfahrensschritt 52 wird überprüft, ob der ermittelte Spannungswert U2 einen Sollspannungswert UV2 um einen vorgegebenen Betrag B unterschreitet. Falls dieses der Fall ist, was in Figur 5 durch ein "+" gekennzeichnet ist, so wird versucht den Energiezwischenspeicher 15 gemäß dem Verfahrensschritt 53 wieder aufzuladen. Ist dieses nicht der Fall, was in Figur 5 durch ein "-" gekennzeichnet ist, wird in dem vorgegebenen dritten Zeitabstand Δt5 eine erneute Ermittlung von U2 durchgeführt. Im Falle einer Aufladung wird in einem Verfahrensschritt 54 überprüft, ob Zeit t (U2=UV2) für die Aufladung des Energiezwischenspeichers 15 auf den Sollspannungswert UV2 innerhalb einer vorgegebenen Ladezeitspanne Δt4 erfolgt. Hierbei hat die Ladezeitspanne Δt4 sowohl einen oberen als auch einen unteren Grenzwert im Sekundenbereich. D. h. die Aufladung kann zu langsam erfolgen z. B. weil der Spannungswandler 14 defekt ist oder zu schnell, z. B. weil der Energiezwischenspeicher 15 eine zu geringe Kapaztät aufweist. Erfolgt die Aufladung nicht in der Ladezeitspanne Δt4, was in Figur 5 mit "-" gekennzeichnet ist, wird in einem Verfahrensschritt 55 die Haltevorrichtung 7 in den freigebenden Zustand GZ überführt. Ansonsten wird die Routine in den vorgegebenen dritten Zeitabständen Δt5 wiederholt.
  • In Figur 6 ist ein Verfahren 60 dargestellt, bei dem sich die Steuervorrichtungen 11 gegenseitig gemäß dem Verfahrensschritt 61 und jeweils sich selbst gemäß dem jeweiligen Verfahrensschritt 62 überwachen. Hierbei wird in dem Verfahrensschritt 61 jeweils auch überprüft, ob die Steuervorrichtungen 11 einen Energiesparmodus verlassen.
  • Wird in den Verfahrensschritten 61, 62 ein Defekt in einer der Steuervorrichtungen 11 festgestellt, was in Figur 6 durch ein "-" dargestellt ist, so wird durch die andere Steuervorrichtung 11 die Haltevorrichtung 7 in den freigebenden Zustand GZ gemäß dem Verfahrensschritt 63 überführt. Wird kein Defekt festgestellt, so wird der Verfahrensschritt 61 in Überwachungszeitabständen Δt6 und der Verfahrensschritt 62 in Selbstüberwachungszeitabstände Δt7 wiederholt.
  • Bezugszeichenliste
  • 1
    Feststellanordnung
    2
    Tür
    3
    Türbetätiger
    4
    Gestänge
    5
    Gleitschiene
    6
    Signalgeber
    7
    Haltevorrichtung
    8
    Gefahrendetektor
    9
    Gleitelement
    10
    Magnetspule
    11
    Steuervorrichtung
    12
    Energiespeichereinheit
    13
    erste Spannungsmessstelle
    14
    Spannungswandler
    15
    Energiezwischenspeicher
    16
    Schalter
    17
    Strommessstelle
    18
    Anzeigevorrichtung
    19
    Taster
    20
    Datenleitung
    22
    Anker
    23
    Positionssensor
    25
    Subsystem
    26
    zweite Spannungsmessstelle
    27
    Kondensator
    SZ
    Feststellender Zustand
    GZ
    Freigebender Zustand
    U1
    an 13 gemessener Spannungswert für 12
    UV1
    vorgegebener Spannungswert
    US
    Schwellenwert
    U2
    gemessener Spannungswert für 15
    UV2
    Sollspannungswert
    B
    Betrag
    t
    Zeit, um den Sollspannungswert zu erreichen
    I1
    gemessene Stromstärke
    I0, I2
    Grenzen des Wertebereichs
    W
    Warnung
    T
    Test
    ΔU2
    Spannungsabfall für 15
    ΔUV
    Maximalwert
    Δt1
    erster vorgegebener Zeitabstand
    Δt2
    vorgegebene Entladezeitspanne
    Δt3
    zweiter vorgegebener Zeitabstand
    Δt4
    vorgegebene Ladezeitspanne
    Δt5
    dritter vorgegebener Zeitabstand
    Δt6
    Überwachungszeitabstände
    Δt7
    Selbstüberwachungszeitabstände
    30
    Verfahren
    31-35
    Verfahrensschritte
    40
    Verfahren
    41-45
    Verfahrensschritte
    50
    Verfahrensschritte
    51-55
    Verfahrensschritte
    60
    Verfahren
    61-63
    Verfahrensschritte

Claims (10)

  1. Feststellanordnung (1) für eine Tür,
    mit einer Haltevorrichtung (7) zum Feststellen der Tür, insbesondere in einer offenen Stellung, einer Steuervorrichtung (11) zum Steuern der Haltevorrichtung (7) und einer Energiespeichereinheit (12),
    wobei die Haltevorrichtung (7) unter Zufuhr von elektrischer Energie von einem feststellenden Zustand (SZ) in einen freigebenden Zustand (GZ) überführbar ist,
    wobei die Feststellanordnung (1) dazu ausgebildet ist, die Haltevorrichtung (7) von dem feststellenden Zustand (SZ) in den freigebenden Zustand (GZ) zu überführen, wenn ein Defekt bei der vorgesehenen Versorgung der Haltevorrichtung (7) mit elektrischem Strom auftritt und wobei die Feststellanordnung (1) dazu ausgebildet ist, die Haltevorrichtung (7) von dem feststellenden Zustand (SZ) in den freigebenden Zustand (GZ) zu überführen, wenn ein vorgegebener Spannungswert (Uv1) für die Energiespeichereinheit (12), die zur Zufuhr von elektrischer Energie für die Haltevorrichtung (7) dient, unterschritten wird,
    wobei eine erste Spannungsmessstelle (13) zum Ermitteln eines die elektrische Spannung der Energiespeichereinheit (12) charakterisierenden Spannungswerts (U1) vorgesehen ist, wobei bei einem durch die Spannungsmessstelle (13) ermittelten Spannungswerts (U1) unterhalb des vorgegebenen Spannungswertes (Uv1) die Haltevorrichtung (7) in den freigebenden Zustand überführt wird,
    dadurch gekennzeichnet, dass
    die Feststellanordnung (1) zumindest einen Energiezwischenspeicher (15) aufweist, in dem zumindest eine elektrische Energiemenge speicherbar ist, durch die die Haltevorrichtung (7) von dem feststellenden Zustand (SZ) in den freigebenden Zustand (GZ) überführbar ist, so dass auch bei einem Defekt der Energiespeichereinheit (12) oder einer elektrischen Anschlussleitung der Energiespeichereinheit (12) noch zumindest einmal die Haltevorrichtung (7) in den freigebenden Zustand überführt werden kann,
    wobei eine zweite Spannungsmessstelle (26) zum Ermitteln eines die elektrische Spannung des Energiezwischenspeichers (15) charakterisierenden Spannungswerts (U2) vorgesehen ist,
    und wobei ein Defekt bei der vorgesehenen Versorgung der Haltevorrichtung (7) mit elektrischem Strom vorliegt, wenn eine Aufladung des Energiezwischenspeichers (15) auf einen Sollspannungswert (Uv2) innerhalb einer vorgegebenen Ladezeitspanne (Δt4) scheitert.
  2. Feststellanordnung (1) für eine Tür,
    mit einer Haltevorrichtung (7) zum Feststellen der Tür, insbesondere in einer offenen Stellung, einer Steuervorrichtung (11) zum Steuern der Haltevorrichtung (7) und einer Energiespeichereinheit (12),
    wobei die Haltevorrichtung (7) unter Zufuhr von elektrischer Energie von einem feststellenden Zustand (SZ) in einen freigebenden Zustand (GZ) überführbar ist,
    wobei die Feststellanordnung (1) dazu ausgebildet ist, die Haltevorrichtung (7) von dem feststellenden Zustand (SZ) in den freigebenden Zustand (GZ) zu überführen, wenn ein Defekt bei der vorgesehenen Versorgung der Haltevorrichtung (7) mit elektrischem Strom auftritt und wobei die Feststellanordnung (1) dazu ausgebildet ist, die Haltevorrichtung (7) von dem feststellenden Zustand (SZ) in den freigebenden Zustand (GZ) zu überführen, wenn ein vorgegebener Spannungswert (Uv1) für die Energiespeichereinheit (12), die zur Zufuhr von elektrischer Energie für die Haltevorrichtung (7) dient, unterschritten wird,
    wobei eine erste Spannungsmessstelle (13) zum Ermitteln eines die elektrische Spannung der Energiespeichereinheit (12) charakterisierenden Spannungswerts (U1) vorgesehen ist, wobei bei einem durch die Spannungsmessstelle (13) ermittelten Spannungswerts (U1) unterhalb des vorgegebenen Spannungswertes (Uv1) die Haltevorrichtung (7) in den freigebenden Zustand überführt wird,
    dadurch gekennzeichnet, dass
    die Feststellanordnung (1) zumindest einen Energiezwischenspeicher (15) aufweist, in dem zumindest eine elektrische Energiemenge speicherbar ist, durch die die Haltevorrichtung (7) von dem feststellenden Zustand (SZ) in den freigebenden Zustand (GZ) überführbar ist, so dass auch bei einem Defekt der Energiespeichereinheit (12) oder einer elektrischen Anschlussleitung der Energiespeichereinheit (12) noch zumindest einmal die Haltevorrichtung (7) in den freigebenden Zustand überführt werden kann,
    wobei eine zweite Spannungsmessstelle (26) zum Ermitteln eines die elektrische Spannung des Energiezwischenspeichers (15) charakterisierenden Spannungswerts (U2) vorgesehen ist,
    und wobei ein Defekt bei der vorgesehenen Versorgung der Haltevorrichtung (7) mit elektrischem Strom vorliegt, wenn ein an der zweiten Spannungsmessstelle ermittelter Spannungsabfall (ΔU2) bei einer Entladung des Energiezwischenspeichers (15) für eine vorgegebene Entladezeitspanne (Δt2) größer als ein vorgegebener Maximalwert (ΔUV) ist.
  3. Feststellanordnung (1) nach Anspruch 1 oder 2, dadurch gekennzeichnet, dass die Energiespeichereinheit (12) mindestens einen elektrochemischen Energiespeicher aufweist, wobei der elektrochemische Energiespeicher mindestens ein Verhältnis V1 der Nominalspannung zu einem empfohlenen maximalen Dauerstrom von 10 Ω ≤ V1 ≤ 40 Ω, bevorzugt 15 Ω ≤ V1 ≤ 30 Ω und/oder ein Verhältnis V2 der Nominalspannung zu einem maximalen gepulsten Entladungsstrom von 20 Ω ≤ V2 ≤ 100 Ω, bevorzugt 30 Ω ≤ V2 ≤ 70 Ω aufweist und/oder eine Sicherung in der Energiespeichereinheit (12) vorgesehen ist.
  4. Feststellanordnung (1) nach einem der vorhergehenden Ansprüche, dadurch gekennzeichnet, dass die Haltevorrichtung (7) eine elektrisch durchfließbare Komponente (10), insbesondere eine Magnetspule, aufweist, wobei die Feststellanordnung (1) eine Messstelle (17) zur Ermittlung einer elektrischen Stromstärke (I1), die durch die elektrisch durchfließbare Komponente (10) fließt, aufweist, wobei ein Defekt bei der vorgesehenen Versorgung der Haltevorrichtung (7) mit elektrischem Strom vorliegt, wenn die gemessene Stromstärke (I1) außerhalb eines vorgegebenen Wertebereichs (I0, I2) liegt.
  5. Feststellanordnung (1) nach einem der vorhergehenden Ansprüche, dadurch gekennzeichnet, dass zumindest zwei zueinander redundante Energiezwischenspeicher (15) und/oder zumindest zwei zueinander redundante elektrisch durchfließbare Komponenten (10) aufweist.
  6. Feststellanordnung (1) nach einem der vorhergehenden Ansprüche, dadurch gekennzeichnet, dass die Feststellanordnung (1) zumindest zwei Steuervorrichtungen (11) aufweist, die sich gegenseitig überwachen, wobei ein Defekt bei der vorgesehenen Versorgung der Haltevorrichtung (7) mit elektrischem Strom vorliegt, wenn eine Steuervorrichtung (11) fehlerhaft ist.
  7. Feststellanordnung (1) nach einem der vorhergehenden Ansprüche, dadurch gekennzeichnet, dass ein Defekt bei der vorgesehenen Versorgung der Haltevorrichtung (7) mit elektrischem Strom vorliegt, wenn das Verlassen eines Energiesparmodus der Steuervorrichtung (1) ausbleibt.
  8. Feststellanordnung (1) nach einem der vorhergehenden Ansprüche, dadurch gekennzeichnet, dass ein Taster (19) vorgesehen ist, um nach einer Überführung in die freigebende Stellung (GZ), insbesondere nach einem Empfang eines Auslösesignals eines Gefahrendetektors und/oder einem Wechsel der Energiespeichereinheit (12), eine erneute Anordnung der Haltevorrichtung (7) in dem feststellenden Zustand (SZ) zu ermöglichen.
  9. Feststellanordnung (1) nach einem der vorhergehenden Ansprüche, dadurch gekennzeichnet, dass nach Unterschreiten des vorgegebenen Spannungswertes (Uv1) und/oder Überschreiten des vorgegebenen Maximalwerts (ΔUv) die Haltevorrichtung (7) in dem freigegebene Zustand (GZ) verharrt, wobei insbesondere bei einer Betätigung des Tasters (19) eine Überführung in den feststellenden Zustand (SZ) verhindert ist.
  10. Verfahren (30, 40, 50, 60) zum Betreiben einer Feststellanordnung (1) nach einem der Ansprüche 1 bis 9, wobei die Feststellanordnung die Haltevorrichtung (7) zum Feststellen einer Tür (2), insbesondere in einer offenen Stellung, umfasst, wobei die Haltevorrichtung (7) durch Zufuhr von elektrischer Energie von einem feststellenden Zustand (SZ) in einen freigebenden Zustand (GZ) überführt wird, dadurch gekennzeichnet, dass die Haltevorrichtung (7) von den feststellenden Zustand (SZ) in den freigebenden Zustand (GZ) überführt wird, wenn ein Defekt bei der vorgesehenen Zufuhr der Haltevorrichtung (7) mit elektrischem Strom auftritt und/oder ein vorgegebener Spannungswert (Uv1) für die Energiespeichereinheit (12), die zur Versorgung der Haltevorrichtung (7) mit elektrischer Energie dient, unterschritten wird.
EP15203032.6A 2015-03-02 2015-12-30 Feststellanordnung für eine tür Active EP3064689B2 (de)

Priority Applications (1)

Application Number Priority Date Filing Date Title
EP19158913.4A EP3508675B1 (de) 2015-03-02 2015-12-30 Feststellanordnung für eine tür

Applications Claiming Priority (1)

Application Number Priority Date Filing Date Title
DE102015102924.3A DE102015102924A1 (de) 2015-03-02 2015-03-02 Feststellanordnung für eine Tür

Related Child Applications (2)

Application Number Title Priority Date Filing Date
EP19158913.4A Division EP3508675B1 (de) 2015-03-02 2015-12-30 Feststellanordnung für eine tür
EP19158913.4A Division-Into EP3508675B1 (de) 2015-03-02 2015-12-30 Feststellanordnung für eine tür

Publications (3)

Publication Number Publication Date
EP3064689A1 EP3064689A1 (de) 2016-09-07
EP3064689B1 EP3064689B1 (de) 2019-04-24
EP3064689B2 true EP3064689B2 (de) 2025-02-19

Family

ID=55027553

Family Applications (2)

Application Number Title Priority Date Filing Date
EP19158913.4A Active EP3508675B1 (de) 2015-03-02 2015-12-30 Feststellanordnung für eine tür
EP15203032.6A Active EP3064689B2 (de) 2015-03-02 2015-12-30 Feststellanordnung für eine tür

Family Applications Before (1)

Application Number Title Priority Date Filing Date
EP19158913.4A Active EP3508675B1 (de) 2015-03-02 2015-12-30 Feststellanordnung für eine tür

Country Status (2)

Country Link
EP (2) EP3508675B1 (de)
DE (1) DE102015102924A1 (de)

Families Citing this family (6)

* Cited by examiner, † Cited by third party
Publication number Priority date Publication date Assignee Title
DE102018208426B4 (de) 2018-05-28 2022-05-19 Geze Gmbh Vorrichtung zum Sperren der Feststellung eines Tür- oder Fensterflügels
DE102018008812A1 (de) 2018-11-09 2020-05-14 Eco Schulte Gmbh & Co. Kg Ausfallsicherer batteriebetriebener Freilauftürschließer
CN113467116B (zh) * 2021-05-28 2023-09-12 深圳市华立诺显示技术有限公司 一种液晶显示器面板检测装置
EP4299869A1 (de) * 2022-07-01 2024-01-03 Peneder Bau-Elemente GmbH Antrieb für eine drehflügeltür und verfahren zum verschwenken eines türblattes einer drehflügeltür
DE102022212732A1 (de) * 2022-11-28 2024-05-29 Geze Gmbh Feststellanlage
DE102022212733A1 (de) * 2022-11-28 2024-05-29 Geze Gmbh Feststellanlage

Citations (5)

* Cited by examiner, † Cited by third party
Publication number Priority date Publication date Assignee Title
DE19913996A1 (de) 1998-03-28 1999-09-30 Geze Gmbh & Co Antrieb für eine Tür
DE102004004526A1 (de) 2003-01-21 2004-08-05 Gesellschaft für physikalische Technologie und Elektronik mbH Brandschutzantrieb eines selbstschließenden Öffnungsabschlusses
US20050091928A1 (en) 2003-09-03 2005-05-05 Dpnkd Holdings Inc. Automatic portable door operating system
DE102004039894A1 (de) 2003-11-25 2005-06-30 Martin Reuter Feststellvorrichtung zum Offenhalten einer selbstschliessenden Tür
US20110252598A1 (en) 2010-04-16 2011-10-20 Yale Securlty Inc. Door closer with self-powered control unit

Family Cites Families (9)

* Cited by examiner, † Cited by third party
Publication number Priority date Publication date Assignee Title
US4967305A (en) 1989-01-06 1990-10-30 Datatrak, Inc. Electronic door lock apparatus, system and method
WO1992004519A1 (en) * 1990-09-05 1992-03-19 Motus Incorporated Power conserving door holder
US5744876A (en) 1994-09-30 1998-04-28 Wnf-1 Capacitive backup power source for electromechanical actuator
US6014307A (en) * 1998-03-24 2000-01-11 The Chamberlain Group, Inc. Fire door operator having an integrated electronically controlled descent device
DE202006004069U1 (de) * 2005-03-20 2006-06-22 Reuter, Martin Feststellvorrichtung
DE102005013215B4 (de) 2005-03-20 2010-09-23 Martin Reuter Feststellvorrichtung
GB0713293D0 (en) 2007-07-09 2007-08-15 Stephenson Gobin Ltd Improvements in or relating to closure retention and release mechanisms
DE102008053816A1 (de) 2007-10-26 2009-05-07 Volkswagen Ag Verfahren zum Schutz einer ansteuerbaren Spule
DE102010061246A1 (de) 2010-05-05 2011-11-10 Dorma Gmbh & Co Kg Verriegelungs- bzw. Feststellanlage für eine Flügelanlage

Patent Citations (5)

* Cited by examiner, † Cited by third party
Publication number Priority date Publication date Assignee Title
DE19913996A1 (de) 1998-03-28 1999-09-30 Geze Gmbh & Co Antrieb für eine Tür
DE102004004526A1 (de) 2003-01-21 2004-08-05 Gesellschaft für physikalische Technologie und Elektronik mbH Brandschutzantrieb eines selbstschließenden Öffnungsabschlusses
US20050091928A1 (en) 2003-09-03 2005-05-05 Dpnkd Holdings Inc. Automatic portable door operating system
DE102004039894A1 (de) 2003-11-25 2005-06-30 Martin Reuter Feststellvorrichtung zum Offenhalten einer selbstschliessenden Tür
US20110252598A1 (en) 2010-04-16 2011-10-20 Yale Securlty Inc. Door closer with self-powered control unit

Also Published As

Publication number Publication date
EP3508675A1 (de) 2019-07-10
EP3064689A1 (de) 2016-09-07
EP3508675B1 (de) 2021-09-01
EP3064689B1 (de) 2019-04-24
DE102015102924A1 (de) 2016-09-08

Similar Documents

Publication Publication Date Title
EP3064689B2 (de) Feststellanordnung für eine tür
EP2981431B1 (de) Verfahren zum betreiben einer ladestation mit ladeleistung abhängig von der temperatur der ladestation
EP2726889B1 (de) Photovoltaik-modul
EP2785558B1 (de) Vorrichtung zur erfassung des zustands eines zu prüfenden akkumulators
DE102006030655A1 (de) Notlichtgerät zum Betreiben einer Lichtquelle, insbesondere einer LED
DE102015106853B4 (de) Motorantrieb mit Funktion zum Erkennen eines Verschweißens eines elektromagnetischen Konnektors
DE102019112839B3 (de) Schutz- und Überwachungseinrichtung in einer Ladeinfrastruktur zum Laden von elektrisch angetriebenen Fahrzeugen und Verfahren zur Überwachung einer Ladeinfrastruktur
WO2016045925A1 (de) Energiespeichervorrichtung für ein kraftfahrzeug und verfahren zum betreiben einer energiespeichereinrichtung
WO2010124886A2 (de) Verfahren zum betreiben eines rotorblattverstellantriebs
WO2015121065A1 (de) Sicherheitseinrichtung für einen batterieschütz in einem elektrischen fahrzeug
EP3064692B1 (de) Feststellanordnung für eine tür
WO2019202030A1 (de) Batteriemanagementsystem mit schaltersteuerung, insbesondere für ein schienenfahrzeug
EP2546852B1 (de) Bistabiles Sicherheitsrelais
DE2110196A1 (de) Autonome Einrichtung für Speicherung und Nutzung elektrischer Energie
EP3481556B1 (de) Verfahren zum betrieb einer hochspannungsimpulsanlage
AT516240B1 (de) Verfahren und Prüfsystem zur Prüfung eines Leistungsschalters
EP3327911B1 (de) Verfahren zur steuerung eines schaltmoduls basierend auf thyristor-schaltelementen
EP1789286B1 (de) Schaltungsanordnung zur kurzzeitigen aufrechterhaltung einer versorgungsspannung
EP2437228B1 (de) Gefahrenmelder, Gefahrenmeldeanlage und Verfahren zum Erkennen von Leitungsfehlern
DE102014017569A1 (de) Verfahren zum Betrieb eines Bordnetzes eines Kraftfahrzeugs und Kraftfahrzeug
DE102018210227A1 (de) Kabeltrommel
DE102020128054B4 (de) Verfahren zur Detektion eines Lichtbogenfehlers in einer elektrischen Schaltungsanordnung und Kraftfahrzeug
DE102016216845A1 (de) Vorrichtung und Verfahren zur Erkennung einer fehlenden elektrischen Verbindung eines Energiespeichers mit einem Energieversorgungssystem, insbesondere ein Bordnetz eines Kraftfahrzeugs
DE102019118817A1 (de) Wechselstrom-Ladestation zum Laden von Elektrofahrzeugen
DE102022213760B3 (de) Verfahren zur Fremdkörpererkennung in einer Batterie für Kraftfahrzeug, Messvorrichtung sowie ein Kraftfahrzeug

Legal Events

Date Code Title Description
PUAI Public reference made under article 153(3) epc to a published international application that has entered the european phase

Free format text: ORIGINAL CODE: 0009012

AK Designated contracting states

Kind code of ref document: A1

Designated state(s): AL AT BE BG CH CY CZ DE DK EE ES FI FR GB GR HR HU IE IS IT LI LT LU LV MC MK MT NL NO PL PT RO RS SE SI SK SM TR

AX Request for extension of the european patent

Extension state: BA ME

STAA Information on the status of an ep patent application or granted ep patent

Free format text: STATUS: REQUEST FOR EXAMINATION WAS MADE

17P Request for examination filed

Effective date: 20170303

RBV Designated contracting states (corrected)

Designated state(s): AL AT BE BG CH CY CZ DE DK EE ES FI FR GB GR HR HU IE IS IT LI LT LU LV MC MK MT NL NO PL PT RO RS SE SI SK SM TR

RAP1 Party data changed (applicant data changed or rights of an application transferred)

Owner name: DORMAKABA DEUTSCHLAND GMBH

STAA Information on the status of an ep patent application or granted ep patent

Free format text: STATUS: EXAMINATION IS IN PROGRESS

17Q First examination report despatched

Effective date: 20171027

GRAP Despatch of communication of intention to grant a patent

Free format text: ORIGINAL CODE: EPIDOSNIGR1

STAA Information on the status of an ep patent application or granted ep patent

Free format text: STATUS: GRANT OF PATENT IS INTENDED

INTG Intention to grant announced

Effective date: 20181102

GRAS Grant fee paid

Free format text: ORIGINAL CODE: EPIDOSNIGR3

GRAA (expected) grant

Free format text: ORIGINAL CODE: 0009210

STAA Information on the status of an ep patent application or granted ep patent

Free format text: STATUS: THE PATENT HAS BEEN GRANTED

AK Designated contracting states

Kind code of ref document: B1

Designated state(s): AL AT BE BG CH CY CZ DE DK EE ES FI FR GB GR HR HU IE IS IT LI LT LU LV MC MK MT NL NO PL PT RO RS SE SI SK SM TR

REG Reference to a national code

Ref country code: GB

Ref legal event code: FG4D

Free format text: NOT ENGLISH

REG Reference to a national code

Ref country code: CH

Ref legal event code: EP

REG Reference to a national code

Ref country code: AT

Ref legal event code: REF

Ref document number: 1124368

Country of ref document: AT

Kind code of ref document: T

Effective date: 20190515

Ref country code: IE

Ref legal event code: FG4D

Free format text: LANGUAGE OF EP DOCUMENT: GERMAN

REG Reference to a national code

Ref country code: DE

Ref legal event code: R096

Ref document number: 502015008790

Country of ref document: DE

REG Reference to a national code

Ref country code: CH

Ref legal event code: NV

Representative=s name: FREI PATENTANWALTSBUERO AG, CH

REG Reference to a national code

Ref country code: NL

Ref legal event code: FP

REG Reference to a national code

Ref country code: SE

Ref legal event code: TRGR

REG Reference to a national code

Ref country code: LT

Ref legal event code: MG4D

PG25 Lapsed in a contracting state [announced via postgrant information from national office to epo]

Ref country code: NO

Free format text: LAPSE BECAUSE OF FAILURE TO SUBMIT A TRANSLATION OF THE DESCRIPTION OR TO PAY THE FEE WITHIN THE PRESCRIBED TIME-LIMIT

Effective date: 20190724

Ref country code: LT

Free format text: LAPSE BECAUSE OF FAILURE TO SUBMIT A TRANSLATION OF THE DESCRIPTION OR TO PAY THE FEE WITHIN THE PRESCRIBED TIME-LIMIT

Effective date: 20190424

Ref country code: ES

Free format text: LAPSE BECAUSE OF FAILURE TO SUBMIT A TRANSLATION OF THE DESCRIPTION OR TO PAY THE FEE WITHIN THE PRESCRIBED TIME-LIMIT

Effective date: 20190424

Ref country code: HR

Free format text: LAPSE BECAUSE OF FAILURE TO SUBMIT A TRANSLATION OF THE DESCRIPTION OR TO PAY THE FEE WITHIN THE PRESCRIBED TIME-LIMIT

Effective date: 20190424

Ref country code: AL

Free format text: LAPSE BECAUSE OF FAILURE TO SUBMIT A TRANSLATION OF THE DESCRIPTION OR TO PAY THE FEE WITHIN THE PRESCRIBED TIME-LIMIT

Effective date: 20190424

Ref country code: PT

Free format text: LAPSE BECAUSE OF FAILURE TO SUBMIT A TRANSLATION OF THE DESCRIPTION OR TO PAY THE FEE WITHIN THE PRESCRIBED TIME-LIMIT

Effective date: 20190824

Ref country code: FI

Free format text: LAPSE BECAUSE OF FAILURE TO SUBMIT A TRANSLATION OF THE DESCRIPTION OR TO PAY THE FEE WITHIN THE PRESCRIBED TIME-LIMIT

Effective date: 20190424

PG25 Lapsed in a contracting state [announced via postgrant information from national office to epo]

Ref country code: RS

Free format text: LAPSE BECAUSE OF FAILURE TO SUBMIT A TRANSLATION OF THE DESCRIPTION OR TO PAY THE FEE WITHIN THE PRESCRIBED TIME-LIMIT

Effective date: 20190424

Ref country code: LV

Free format text: LAPSE BECAUSE OF FAILURE TO SUBMIT A TRANSLATION OF THE DESCRIPTION OR TO PAY THE FEE WITHIN THE PRESCRIBED TIME-LIMIT

Effective date: 20190424

Ref country code: GR

Free format text: LAPSE BECAUSE OF FAILURE TO SUBMIT A TRANSLATION OF THE DESCRIPTION OR TO PAY THE FEE WITHIN THE PRESCRIBED TIME-LIMIT

Effective date: 20190725

Ref country code: PL

Free format text: LAPSE BECAUSE OF FAILURE TO SUBMIT A TRANSLATION OF THE DESCRIPTION OR TO PAY THE FEE WITHIN THE PRESCRIBED TIME-LIMIT

Effective date: 20190424

Ref country code: BG

Free format text: LAPSE BECAUSE OF FAILURE TO SUBMIT A TRANSLATION OF THE DESCRIPTION OR TO PAY THE FEE WITHIN THE PRESCRIBED TIME-LIMIT

Effective date: 20190724

PG25 Lapsed in a contracting state [announced via postgrant information from national office to epo]

Ref country code: IS

Free format text: LAPSE BECAUSE OF FAILURE TO SUBMIT A TRANSLATION OF THE DESCRIPTION OR TO PAY THE FEE WITHIN THE PRESCRIBED TIME-LIMIT

Effective date: 20190824

REG Reference to a national code

Ref country code: DE

Ref legal event code: R026

Ref document number: 502015008790

Country of ref document: DE

PLBI Opposition filed

Free format text: ORIGINAL CODE: 0009260

PG25 Lapsed in a contracting state [announced via postgrant information from national office to epo]

Ref country code: CZ

Free format text: LAPSE BECAUSE OF FAILURE TO SUBMIT A TRANSLATION OF THE DESCRIPTION OR TO PAY THE FEE WITHIN THE PRESCRIBED TIME-LIMIT

Effective date: 20190424

Ref country code: RO

Free format text: LAPSE BECAUSE OF FAILURE TO SUBMIT A TRANSLATION OF THE DESCRIPTION OR TO PAY THE FEE WITHIN THE PRESCRIBED TIME-LIMIT

Effective date: 20190424

Ref country code: SK

Free format text: LAPSE BECAUSE OF FAILURE TO SUBMIT A TRANSLATION OF THE DESCRIPTION OR TO PAY THE FEE WITHIN THE PRESCRIBED TIME-LIMIT

Effective date: 20190424

Ref country code: DK

Free format text: LAPSE BECAUSE OF FAILURE TO SUBMIT A TRANSLATION OF THE DESCRIPTION OR TO PAY THE FEE WITHIN THE PRESCRIBED TIME-LIMIT

Effective date: 20190424

Ref country code: EE

Free format text: LAPSE BECAUSE OF FAILURE TO SUBMIT A TRANSLATION OF THE DESCRIPTION OR TO PAY THE FEE WITHIN THE PRESCRIBED TIME-LIMIT

Effective date: 20190424

PLBI Opposition filed

Free format text: ORIGINAL CODE: 0009260

PLAX Notice of opposition and request to file observation + time limit sent

Free format text: ORIGINAL CODE: EPIDOSNOBS2

26 Opposition filed

Opponent name: GEZE GMBH

Effective date: 20200123

PG25 Lapsed in a contracting state [announced via postgrant information from national office to epo]

Ref country code: IT

Free format text: LAPSE BECAUSE OF FAILURE TO SUBMIT A TRANSLATION OF THE DESCRIPTION OR TO PAY THE FEE WITHIN THE PRESCRIBED TIME-LIMIT

Effective date: 20190424

Ref country code: SM

Free format text: LAPSE BECAUSE OF FAILURE TO SUBMIT A TRANSLATION OF THE DESCRIPTION OR TO PAY THE FEE WITHIN THE PRESCRIBED TIME-LIMIT

Effective date: 20190424

26 Opposition filed

Opponent name: ASSA ABLOY SICHERHEITSTECHNIK GMBH

Effective date: 20200124

PG25 Lapsed in a contracting state [announced via postgrant information from national office to epo]

Ref country code: TR

Free format text: LAPSE BECAUSE OF FAILURE TO SUBMIT A TRANSLATION OF THE DESCRIPTION OR TO PAY THE FEE WITHIN THE PRESCRIBED TIME-LIMIT

Effective date: 20190424

PG25 Lapsed in a contracting state [announced via postgrant information from national office to epo]

Ref country code: SI

Free format text: LAPSE BECAUSE OF FAILURE TO SUBMIT A TRANSLATION OF THE DESCRIPTION OR TO PAY THE FEE WITHIN THE PRESCRIBED TIME-LIMIT

Effective date: 20190424

PLBB Reply of patent proprietor to notice(s) of opposition received

Free format text: ORIGINAL CODE: EPIDOSNOBS3

REG Reference to a national code

Ref country code: BE

Ref legal event code: MM

Effective date: 20191231

PG25 Lapsed in a contracting state [announced via postgrant information from national office to epo]

Ref country code: MC

Free format text: LAPSE BECAUSE OF FAILURE TO SUBMIT A TRANSLATION OF THE DESCRIPTION OR TO PAY THE FEE WITHIN THE PRESCRIBED TIME-LIMIT

Effective date: 20190424

GBPC Gb: european patent ceased through non-payment of renewal fee

Effective date: 20191230

PG25 Lapsed in a contracting state [announced via postgrant information from national office to epo]

Ref country code: LU

Free format text: LAPSE BECAUSE OF NON-PAYMENT OF DUE FEES

Effective date: 20191230

Ref country code: GB

Free format text: LAPSE BECAUSE OF NON-PAYMENT OF DUE FEES

Effective date: 20191230

Ref country code: IE

Free format text: LAPSE BECAUSE OF NON-PAYMENT OF DUE FEES

Effective date: 20191230

PG25 Lapsed in a contracting state [announced via postgrant information from national office to epo]

Ref country code: BE

Free format text: LAPSE BECAUSE OF NON-PAYMENT OF DUE FEES

Effective date: 20191231

PG25 Lapsed in a contracting state [announced via postgrant information from national office to epo]

Ref country code: CY

Free format text: LAPSE BECAUSE OF FAILURE TO SUBMIT A TRANSLATION OF THE DESCRIPTION OR TO PAY THE FEE WITHIN THE PRESCRIBED TIME-LIMIT

Effective date: 20190424

PG25 Lapsed in a contracting state [announced via postgrant information from national office to epo]

Ref country code: MT

Free format text: LAPSE BECAUSE OF FAILURE TO SUBMIT A TRANSLATION OF THE DESCRIPTION OR TO PAY THE FEE WITHIN THE PRESCRIBED TIME-LIMIT

Effective date: 20190424

Ref country code: HU

Free format text: LAPSE BECAUSE OF FAILURE TO SUBMIT A TRANSLATION OF THE DESCRIPTION OR TO PAY THE FEE WITHIN THE PRESCRIBED TIME-LIMIT; INVALID AB INITIO

Effective date: 20151230

APBM Appeal reference recorded

Free format text: ORIGINAL CODE: EPIDOSNREFNO

APBP Date of receipt of notice of appeal recorded

Free format text: ORIGINAL CODE: EPIDOSNNOA2O

PG25 Lapsed in a contracting state [announced via postgrant information from national office to epo]

Ref country code: MK

Free format text: LAPSE BECAUSE OF FAILURE TO SUBMIT A TRANSLATION OF THE DESCRIPTION OR TO PAY THE FEE WITHIN THE PRESCRIBED TIME-LIMIT

Effective date: 20190424

APAH Appeal reference modified

Free format text: ORIGINAL CODE: EPIDOSCREFNO

APAW Appeal reference deleted

Free format text: ORIGINAL CODE: EPIDOSDREFNO

APAL Date of receipt of statement of grounds of an appeal modified

Free format text: ORIGINAL CODE: EPIDOSCNOA3O

APBQ Date of receipt of statement of grounds of appeal recorded

Free format text: ORIGINAL CODE: EPIDOSNNOA3O

APAH Appeal reference modified

Free format text: ORIGINAL CODE: EPIDOSCREFNO

APBU Appeal procedure closed

Free format text: ORIGINAL CODE: EPIDOSNNOA9O

PGFP Annual fee paid to national office [announced via postgrant information from national office to epo]

Ref country code: DE

Payment date: 20241210

Year of fee payment: 10

PGFP Annual fee paid to national office [announced via postgrant information from national office to epo]

Ref country code: NL

Payment date: 20241219

Year of fee payment: 10

PUAH Patent maintained in amended form

Free format text: ORIGINAL CODE: 0009272

STAA Information on the status of an ep patent application or granted ep patent

Free format text: STATUS: PATENT MAINTAINED AS AMENDED

PGFP Annual fee paid to national office [announced via postgrant information from national office to epo]

Ref country code: FR

Payment date: 20241224

Year of fee payment: 10

PGFP Annual fee paid to national office [announced via postgrant information from national office to epo]

Ref country code: AT

Payment date: 20241220

Year of fee payment: 10

PGFP Annual fee paid to national office [announced via postgrant information from national office to epo]

Ref country code: SE

Payment date: 20241219

Year of fee payment: 10

27A Patent maintained in amended form

Effective date: 20250219

AK Designated contracting states

Kind code of ref document: B2

Designated state(s): AL AT BE BG CH CY CZ DE DK EE ES FI FR GB GR HR HU IE IS IT LI LT LU LV MC MK MT NL NO PL PT RO RS SE SI SK SM TR

REG Reference to a national code

Ref country code: DE

Ref legal event code: R102

Ref document number: 502015008790

Country of ref document: DE

PGFP Annual fee paid to national office [announced via postgrant information from national office to epo]

Ref country code: CH

Payment date: 20250101

Year of fee payment: 10

REG Reference to a national code

Ref country code: SE

Ref legal event code: RPEO

REG Reference to a national code

Ref country code: NL

Ref legal event code: FP