EP3031997A2 - System zur einfassung von öffnungen auf dächern - Google Patents
System zur einfassung von öffnungen auf dächern Download PDFInfo
- Publication number
- EP3031997A2 EP3031997A2 EP15198768.2A EP15198768A EP3031997A2 EP 3031997 A2 EP3031997 A2 EP 3031997A2 EP 15198768 A EP15198768 A EP 15198768A EP 3031997 A2 EP3031997 A2 EP 3031997A2
- Authority
- EP
- European Patent Office
- Prior art keywords
- profile
- rail
- connection
- roof
- horizontal leg
- Prior art date
- Legal status (The legal status is an assumption and is not a legal conclusion. Google has not performed a legal analysis and makes no representation as to the accuracy of the status listed.)
- Withdrawn
Links
- 239000002184 metal Substances 0.000 claims abstract description 12
- 238000000034 method Methods 0.000 claims description 7
- 239000000463 material Substances 0.000 claims description 6
- 239000002390 adhesive tape Substances 0.000 claims description 3
- 230000001419 dependent effect Effects 0.000 claims 1
- XLYOFNOQVPJJNP-UHFFFAOYSA-N water Substances O XLYOFNOQVPJJNP-UHFFFAOYSA-N 0.000 description 16
- 230000007704 transition Effects 0.000 description 12
- 238000005452 bending Methods 0.000 description 7
- 230000006978 adaptation Effects 0.000 description 4
- 230000001681 protective effect Effects 0.000 description 4
- 239000002131 composite material Substances 0.000 description 3
- 238000009825 accumulation Methods 0.000 description 2
- 238000004026 adhesive bonding Methods 0.000 description 2
- 230000015572 biosynthetic process Effects 0.000 description 2
- 238000010276 construction Methods 0.000 description 2
- 239000000428 dust Substances 0.000 description 2
- 238000009434 installation Methods 0.000 description 2
- -1 snow Substances 0.000 description 2
- 240000004752 Laburnum anagyroides Species 0.000 description 1
- 150000001875 compounds Chemical class 0.000 description 1
- 238000005520 cutting process Methods 0.000 description 1
- 238000007688 edging Methods 0.000 description 1
- 230000000694 effects Effects 0.000 description 1
- 239000011521 glass Substances 0.000 description 1
- 238000003780 insertion Methods 0.000 description 1
- 230000037431 insertion Effects 0.000 description 1
- 238000005304 joining Methods 0.000 description 1
- 238000003754 machining Methods 0.000 description 1
- 230000000873 masking effect Effects 0.000 description 1
- 238000005555 metalworking Methods 0.000 description 1
- 238000002360 preparation method Methods 0.000 description 1
- 239000005871 repellent Substances 0.000 description 1
- 239000011435 rock Substances 0.000 description 1
- 238000007789 sealing Methods 0.000 description 1
- 238000004826 seaming Methods 0.000 description 1
- 239000010454 slate Substances 0.000 description 1
- 238000005476 soldering Methods 0.000 description 1
- 238000004078 waterproofing Methods 0.000 description 1
- 238000003466 welding Methods 0.000 description 1
Images
Classifications
-
- E—FIXED CONSTRUCTIONS
- E04—BUILDING
- E04D—ROOF COVERINGS; SKY-LIGHTS; GUTTERS; ROOF-WORKING TOOLS
- E04D13/00—Special arrangements or devices in connection with roof coverings; Protection against birds; Roof drainage ; Sky-lights
- E04D13/14—Junctions of roof sheathings to chimneys or other parts extending above the roof
- E04D13/147—Junctions of roof sheathings to chimneys or other parts extending above the roof specially adapted for inclined roofs
- E04D13/1473—Junctions of roof sheathings to chimneys or other parts extending above the roof specially adapted for inclined roofs specially adapted to the cross-section of the parts extending above the roof
- E04D13/1475—Junctions of roof sheathings to chimneys or other parts extending above the roof specially adapted for inclined roofs specially adapted to the cross-section of the parts extending above the roof wherein the parts extending above the roof have a generally rectangular cross-section
Definitions
- the present invention relates to a system of prefabricated parts for creating openings of openings in roofs.
- the object of the invention is to provide a cost-effective and time-saving system, which allows easy and quick installation of an enclosure of a roof opening according to the local conditions and regardless of the type, height and width of the tiles used to protect against the weather.
- the inventive system of an enclosure comprises at least one upper and / or at least one lower connection element with a width B, wherein the connection element at least one Connecting profile, wherein the connection profile has an L-shaped profile shape having a first horizontal leg and a second vertical leg, wherein the horizontal leg has one or more protrusions to form one or more gutters, the bulges substantially along the profile extend; and wherein the connection element has at least one sheet which is bent along the width B and the connection profile is suitable for connection of the other connection element.
- connection profile of the upper connection element can be connected to the connection profile of the lower connection element.
- the enclosure forms an enclosure and a vertical termination around the respective opening so that water is kept from the opening and can be routed away.
- the present invention preferably uses prefabricated individual elements which can be assembled according to the specific opening and the respective local conditions.
- connection profile of the upper connection element and the connection profile of the lower connection profile are arranged overlapping.
- a water-sealing transition between the connection elements is created.
- the upper connection element should be arranged above the lower connection element. The two-part form of the system, due to the upper and lower connection element is required for adaptation to the different inclination, since the upper connection element is arranged for the purpose of water drainage under the roof surface and the lower connection element on the roof surface.
- the lower connection element is intended to correspond to the length of a roof tile and compensates for the inclination, which arises that the lower region of the connection element rests on the adjacent roof surface.
- the lower (and the upper) connecting element can be provided at the factory in each case with an overall length, which in each case has the maximum length of a roof tile both in the region of the underside and in the region of the upper side of the connecting element.
- the bending of the sheet metal of the connection element depends on the roof pitch.
- connection elements are manufactured and provided according to the required width.
- the plate of the connection element has a length (about 150-500mm), which depends on the roof pitch. This ensures that a seamless transition is provided between the object of the opening (e.g., window, fireplace) and the enclosure.
- the edge of the lower connection element should be flush with the edge of the roof tiles and must be adapted to the existing roof tiles on site.
- the length of the sheet is shortened accordingly on site.
- the system according to the invention comprises, in a preferred embodiment, at least one lateral rail of length L, the rail having an L-shaped profile having a first horizontal leg and a second vertical leg, the horizontal leg one or more protrusions to form one or more gutters, the bulges extending substantially along the length L of the rail.
- the profile rails are used for profile extension of the connection profiles of the connection elements, if they are not sufficient in their length. In this way, the system according to the invention can be used for any length or depth of a roof opening.
- the profile rails are prefabricated in terms of profile and length and also come in other areas, such as. in glass and window construction for use.
- the L-profile of the rail and the connection profile of the connection element are arranged overlapping.
- a waterproofing transition between the rail and connection element is created.
- the upper connection element should be arranged above the profile rail and the profile rail above the lower connection element.
- the vertical leg of the L-shaped profile of the rail can be adapted in the region of the connection profile according to the shape of the connection element. This is done by cutouts or recesses corresponding to the rounding / edging / shape of the bent sheet metal of the connection element. The rounded and / or folded sheet metal is inserted and fastened in this area of the profile rail.
- connection element is done either by seaming, soldering, welding or gluing or by other joining techniques.
- the system according to the invention may preferably comprise a cover element for connection to an element of the system, wherein the cover element has a groove in which a Abziehklebeband is attached.
- the release tape is centrally kinked in the groove and thereby covers both sides of the groove.
- the cover element covers the transition to the adjacent roof surface and for this purpose consists of a flexible, adaptable material that can adapt to the roof surface and thereby creates a watertight transition between the enclosure and the roof surface.
- the cover may further comprise a corrugation for the discharge of water.
- the masking tape is protected from damage and dirt by a protective film before mounting on the roof. Before the gluing with the system element, the protective film is removed, the cover is moved to the system element and glued to it.
- the invention also includes a cover member for connection to an element of a system, wherein the cover member has a groove in which a Abziehklebeband is attached. It is preferably an adhesive tape used, which can be used even at low temperatures.
- the cover is connectable by introducing the edge of the system element in the groove.
- the kinked arrangement of the adhesive tape in the groove, both sides of the introduced edge are glued.
- the groove of the cover may be formed as a double fold.
- a profile rail of length L is used, wherein the rail has an L-shaped profile having a first horizontal leg and a second vertical leg, wherein the horizontal leg has one or more protrusions to form one or more gutters and the bulges extend substantially along the length L of the rail.
- the rail according to the invention can be used in addition to the described enclosure of a roof opening for every possible form of rainproof completion of lateral roof areas (so-called verge) and the subsequent discharge of water.
- verge lateral roof areas
- the conclusion of a gable or dormer structure is possible under other special roof shapes.
- the L-profile of the profile rail forms the connection to the respective roof surface and is suitable for every type of roof covering (for example roof tiles, slate, sheet metal, etc.).
- the system according to the invention can be used for roofs with a slope (from 22%) up to pitched roofs for each roof angle of inclination, are applied to the roof tiles in the rule.
- the completion of the ridge can be achieved and in the case of a roof surface with different angles of inclination (for example with a tail roof, towing roof, mansard roof, etc.) or with a possibly odd lateral roof run.
- the rails are adapted to the different roof pitch, or to the respective roof course.
- any form of lateral closure and possibly connection to other adjacent roof surfaces or structures is possible.
- the connection of the roof surfaces of densely juxtaposed buildings can be generated.
- the rain-proof transition from one roof surface to the other can be created here.
- the connection can be created from a roof surface to the adjacent wall at different building heights.
- connection of the roof surface to other artificial or natural walls, such as walls or rocks conceivable.
- the horizontal leg of the aforementioned rail can have at least two lobes to form gutters and the lobes can extend substantially along the length L of the rail and a bulge is substantially lower than the at least other bulge.
- the different height of the bulges to produce an adaptation to the final roof tiles. It is e.g. the middle area of the final roof tiles on the lower protrusion of the profile rail on and off at the outer bulge. As a result, the roof surface is held in a plane and there are no distortions, or height intervals on the final roof tiles.
- the vertical leg of the rail for example, a length of about 200 mm.
- the first bulge has a height of about 50 mm, the second bulge a height of about 3 to 7 mm at the end of the upstand or the envelope.
- the rail on the horizontal leg of the L-profile of the rail along the length of an insulating rail of flexible material This forms a connection and termination to the lower transition region of the final tiles and causes a seal to be created to protect against water, snow, dust, etc.
- the side rail consists of a prefabricated standard profile.
- the width of the metal sheet of the connection element is made according to the individually required width information at the factory.
- the upper and lower connection elements are moved and fastened on site. If necessary, the connection elements are pushed onto or under the profile rails and fastened.
- the respective upper and the lower connection plate are already connected in advance to a respective profile rail, which thus form two parts. These two parts are connected on site, wherein the upper connection element is pushed with the already connected rail over the lower connection element and the rail connected thereto.
- the overlap of the connections between the rail and the connection element causes the desired rain protection.
- the assembled skirt is flush with the opening to form a rainproof finish.
- the system according to the invention has the advantage that the mounting of the enclosure contrary to the conventional procedure does not necessarily have to be done by a person skilled in the art. On site, only the depth and width of the opening and the inclination of the roof for the corresponding creation of the connection plates must be recorded. In addition, a time-consuming adaptation on site is no longer required, so that the preparation can be created in parallel to the construction project.
- FIG. 1 a composite system according to the invention (1) can be seen.
- the lower connection element (5) and the upper connection element (4) each having a bent sheet metal (41, 51) can be seen.
- the illustrated connection elements (4, 5) are preliminary embodiments without bulges.
- the L-profile of the connection profile (42, 52) with the horizontal leg (421, 521) and the vertical leg (422, 522) can be seen.
- the vertical leg (422, 522) forms the flush conclusion to the roof opening, or the fireplace.
- FIG. 2 shows the upper connection element (4) in a final embodiment, which consists of a bent connecting plate (41) and two lateral connection profiles (42).
- the L-shaped profile of the lateral connection profiles (42) in each case has a horizontal (421) and a vertical leg (422), on the vertical leg (422) are bulges (423) for forming gutters, with an outer elevation, which limits the profile to the outside and forms a conclusion to the roof.
- the upper connection element (4) further comprises a bent plate (41), the bending and length of which is based on the inclination of the roof, or on the fireplace to be clad and causes the coming of the upper region of the roof and the fireplace water led away from the fireplace and in the lateral water grooves of the connection profiles (42) is passed and is derived due to the roof pitch over the roof.
- a bent plate (41) the bending and length of which is based on the inclination of the roof, or on the fireplace to be clad and causes the coming of the upper region of the roof and the fireplace water led away from the fireplace and in the lateral water grooves of the connection profiles (42) is passed and is derived due to the roof pitch over the roof.
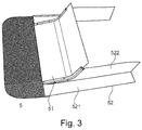
- FIG. 3 shows the lower connection element (5) in a preliminary embodiment without bulges, corresponding to the upper connection element according to FIG. 2 is constructed and has a bent connecting plate (51) and two lateral connection profiles (52).
- the L-shaped profile of the lateral connection profiles (52) has a horizontal (521) and a vertical Leg (522), wherein on the vertical leg (522) bulges (523) are formed to form gutters (not included in the preliminary embodiment). These are according to those in the FIG. 2 formed connection profiles.
- the profiled rail (2, 3) serves, on the one hand, to extend the system described at the outset and, on the other hand, to terminate and connect roof surfaces.
- FIG. 5 is the L-profile (21) of the rail (2, 3) visible.
- the vertical leg (22) forms the flush conclusion to the roof opening, or the fireplace.
- the horizontal leg (23) has recesses (24) for the formation of gutters, with an outer elevation that limits the profile to the outside and forms a conclusion to the roof.
- FIGS. 6 to 8 a composite inventive system (1) is shown in a further embodiment.
- the aforementioned system was the FIGS. 1 to 3 in the length, or the depth by profile rails (2, 3) extended.
- two roof tiles show the basic installation in the roof structure.
- the other figures show the aforementioned elements in detail.
- FIG. 7 shows a lateral right profile rail (3), connected to the upper connection element (4).
- the connection profile (42) of the connection element (4) in this case rests on the L-profile (21) of the profile rail (3) in order to create a water-impermeable transition.
- the rail (3) has over almost the entire length of two bulges (24) for the formation of gutters, which serve to dissipate the water.
- the individual tiles show the principle of insertion of the rail (3) in the roof structure and the transition of the rail (3) to the roof.
- an additional insulating rail (6) the lateral transition between the rail (3) and roof tiles is sealed against ingress of water.
- FIG. 8 shows in detail the connection of the right profile rail (3) and the upper connection element (4) according to FIG. 7 ,
- the profile rail (3) is adapted by appropriate shape of the vertical leg (22) of the L-profile (21) to the bending of the connecting plate (41).
- the lateral connection profile (42) of the upper connection element (4) is arranged and connected on the corresponding part of the L-profile (21) of the profile rail (3).
- the shape of the connection profile (42) corresponds to that of the L-profile (21) of the profile rail (3). It is off FIG. 8 it can be seen that the connection profile (42) is connected to the connecting plate (41).
- FIG. 9 shows the shape of the L-profile (21) of the profiled rail (2, 3) adapted to the shape of the connecting plate (4, 5) in detail.
- the lower (5) and upper connection elements (4) are manufactured according to individual dimensions.
- the assembly takes place according to FIG. 1 starting with the lower connecting element (5) on which the two profiled rails (2, 3) are arranged overlapping.
- the upper connection element (4) is finally arranged overlapping over the two profile rails (2; 3).
- the system (1) according to the invention has a cover element (7), which in the present case is connected to the lower connection element (5).
- a cover element (7) can be seen, which is provided with a groove (71) in which a Abziehklebeband is attached.
- the cover member (7) has a corrugated cover mat, which allows the watertight transition to the adjacent roof surface and guides the drainage of the water through the corrugation.
- FIG. 11 It can be seen that the Abziehklebeband (72) is centrally bent in the groove (71) of the cover (7) is mounted so that both sides of the groove (71) with the Abziehklebeband (72) are provided.
- FIG. 12 shows the connection of the cover (7) to the lower connection element (5) of the system (1).
- the protective film of the release tape (72) is removed prior to assembly. Thereafter, the cover member (7) is moved to the lower connection element (5) and the lower edge of the connection element (5) introduced into the groove (71) of the cover and glued.
- FIG. 13 represents a further embodiment for covering a roof ridge.
- two profile rails (2, 3) end according to the angle of the roof on the ridge. The bulges are lowered accordingly.
Landscapes
- Engineering & Computer Science (AREA)
- Architecture (AREA)
- Civil Engineering (AREA)
- Structural Engineering (AREA)
- Roof Covering Using Slabs Or Stiff Sheets (AREA)
Abstract
Description
- Die vorliegende Erfindung betrifft ein System aus vorgefertigten Einzelteilen zur Erstellung von Einfassungen von Öffnungen in Dächern.
- Herkömmliche Einfassungen von Öffnungen werden handwerklich einzeln erstellt und individuell an die örtlichen Gegebenheiten des Dachs angepasst. Diese Einfassung bestehen in der Regel aus Blech, das zum einem die nötige Widerstandskraft gegen äußere Witterungsbedingungen aufweist, zum anderen flexibel genug ist, um an die örtliche Dachgeometrie angepasst zu werden. Die Einfassung besteht grundsätzlich aus vier einzelnen Blechen für jede Seite der Öffnung (oben, unten, links und rechts), welche zunächst der Größe nach erstellt werden. Obere und untere Bleche werden durch entsprechende Bearbeitung, z.B. durch Rundung, Biegung, an die Öffnung und die Dachgeometrie angepasst. Im Anschluss werden an den Blechen Verbindungen erstellt und die Bleche miteinander verbunden. Die bisherige Methode setzt zum einen umfangreiche handwerkliche Fähigkeiten und Kenntnisse in der Blechbearbeitung und der Dachdeckung voraus, zum anderen erfordert die individuelle Erstellung und Anpassung der Bleche einen erheblichen Zeitaufwand. Die individuelle Anpassung beinhaltet zudem das Risiko, dass die Anpassung fehlerhaft erfolgt und die Einfassung nicht regensicher ist. Da bei der Blechbearbeitung keine Korrekturmöglichkeit besteht, muss die Anpassung im schlimmsten Fall nochmals komplett neu erfolgen, mit dem damit verbundenen Mehraufwand hinsichtlich Material und Zeit.
- Es sind sogenannte (Kamin-)schablonen bekannt, mit denen die Einzelbleche durch vorgegebene Anpassvorgänge mittels Biegen oder Schneiden an die individuelle örtliche Gegebenheit des Daches angepasst und zusammengefügt werden können. Diese Systeme vereinfachen zwar die Arbeitsschritte und vermindern das Risiko einer Fehlanpassung, es bedarf aber dennoch eines relativ hohen Zeitaufwands und eines hohen Maßes an handwerklichen Fähigkeiten im Bereich der Blechbearbeitung.
- Die Aufgabe der Erfindung besteht darin, ein kostengünstiges und zeitsparendes System bereitzustellen, das eine einfache und schnelle Montage einer Einfassung einer Dachöffnung nach der jeweiligen örtlichen Gegebenheit und unabhängig von der Art, Höhe und Breite der verwendeten Dachziegel zum Schutz vor Witterungseinflüssen ermöglicht.
- Das erfindungsgemäße System einer Einfassung umfasst wenigstens ein oberes und/oder wenigstens ein unteres Anschlusselement mit einer Breite B, wobei das Anschlusselement wenigstens ein Anschlussprofil aufweist, wobei das Anschlussprofil eine L-förmige Profilform aufweist, das einen ersten waagrechten Schenkel und einen zweiten senkrechten Schenkel hat, wobei der waagrechte Schenkel eine oder mehrere Ausbuchtungen zur Bildung von einer oder mehrerer Wasserrinnen aufweist, die Ausbuchtungen sich im Wesentlichen entlang des Profils erstrecken; und wobei das Anschlusselement wenigstens ein Blech aufweist, das entlang der Breite B gebogen ist und das Anschlussprofil zum Anschluss des anderen Anschlusselements geeignet ist.
- Das Anschlussprofil des oberen Anschlusselements kann mit dem Anschlussprofil des unteren Anschlusselements verbunden sein.
- Einfassungen sind bei allen Öffnungen in Dächern von Gebäuden, wie z.B. für Dachfenster, Kamine etc., erforderlich, um die schützende, wasserabweisende Wirkung der Dachfläche im Hinblick auf Wassereintritt durch äußere Witterungsumstände wie z.B. Regen, Schneefall und Temperaturunterschiede, beizubehalten. Die Einfassung bildet eine Umfassung und einen senkrechten Abschluss um die jeweilige Öffnung, so dass Wasser von der Öffnung abgehalten wird und weggeleitet werden kann.
- Die vorliegende Erfindung verwendet vorzugsweise vorgefertigte Einzelelemente, die entsprechend der konkreten Öffnung und der jeweiligen örtlichen Gegebenheit zusammengefügt werden können.
- Vorzugsweise sind das Anschlussprofil des oberen Anschlusselements und das Anschlussprofil des unteren Anschlussprofils überlappend angeordnet. Dadurch wird ein wasserabdichtender Übergang zwischen den Anschlusselementen geschaffen. Dabei soll das in der Dachanordnung jeweilig höher liegende Element über dem anderen Element angeordnet werden, um den Wasserfluss nicht zu beeinträchtigen und die Ansammlung von Wasser in diesem Bereich zu verhindern. Bevorzugt sollte das obere Anschlusselement über der dem unteren Anschlusselement angeordnet sein. Die zweiteilige Form des Systems, bedingt durch das obere und untere Anschlusselement ist für die Anpassung an der unterschiedlichen Neigung erforderlich, da das obere Anschlusselement zum Zwecke der Wasserableitung unter der Dachfläche und das untere Anschlusselement über der Dachfläche angeordnet ist. Das untere Anschlusselement soll dabei der Länge eines Dachziegels entsprechen und gleicht die Neigung aus, die entsteht, dass das der untere Bereich des Anschlusselements auf der angrenzenden Dachfläche aufliegt. Dazu kann werkseitig das untere (und das obere) Anschlusselement jeweils mit einer Gesamtlänge bereitgestellt werden, die sowohl im Bereich der Unterseite als auch im Bereich der Oberseite des Anschlusselements jeweils die maximale Länge eines Dachziegels aufweist.
- Die Biegung des Blechs des Anschlusselements ist von der Dachneigung abhängig.
- Die Biegung des Blechs des Anschlusselements ist gerundet und/oder gekantet oder in sonstiger Weise gebogen. Die Anschlusselemente werden nach der jeweilig benötigten Breite hergestellt und bereitgestellt.
- Das Blech des Anschlusselements hat eine Länge (ca. 150-500mm), die von der Dachneigung abhängig ist. Damit ist gewährleistet, dass ein nahtloser Übergang zwischen dem Gegenstand der Öffnung (z.B. Fenster, Kamin) und der Einfassung bereitgestellt wird.
- Die Kante des unteren Anschlusselements sollte mit der Kante der Dachziegel bündig abschließen und ist vor Ort an die vorhandenen Dachziegel anzupassen. Dabei wird die Länge des Blechs bauseitig entsprechend gekürzt.
- Das erfindungsgemäße System umfasst in einer bevorzugten Ausführung wenigstens eine seitliche Profilschiene der Länge L, wobei die Profilschiene ein L-förmiges Profil aufweist, das einen ersten waagrechten Schenkel und einen zweiten senkrechten Schenkel hat, wobei der waagrechte Schenkel eine oder mehrere Ausbuchtungen zur Bildung von einer oder mehrerer Wasserrinnen aufweist, die Ausbuchtungen sich im Wesentlichen entlang der Länge L der Profilschiene erstrecken.
- Die Profilschienen dienen der Profilverlängerung der Anschlussprofile der Anschlusselemente, sofern diese in ihrer Länge nicht ausreichend sind. Auf diese Weise kann das erfindungsgemäße System für jede Länge, bzw. Tiefe einer Dachöffnung verwendet werden.
- Die Profilschienen sind hinsichtlich des Profils und der Länge vorgefertigt und kommen auch in anderen Bereichen, wie z.B. beim Glas- und Fensterbau zur Anwendung.
- Vorzugsweise sind das L-Profil der Profilschiene und das Anschlussprofil des Anschlusselements überlappend angeordnet. Dadurch wird ein wasserabdichtender Übergang zwischen Profilschiene und Anschlusselement geschaffen. Dabei soll das in der Dachanordnung jeweilig höher liegende Element über dem anderen Element angeordnet werden, um den Wasserfluss durch überstehende Profile nicht zu beeinträchtigen und die Ansammlung von Wasser in diesem Bereich zu verhindern. Bevorzugt sollten das obere Anschlusselement über der Profilschiene und die Profilschiene über dem unteren Anschlusselement angeordnet sein. Der senkrechte Schenkel des L-förmigen Profils der Profilschiene kann im Bereich des Anschlussprofils entsprechend der Form des Anschlusselements angepasst sein. Dies erfolgt durch Ausschnitte oder Aussparungen entsprechend der Rundung/ Kantung/ Form des gebogenen Blechs des Anschlusselements. Das gerundete und/ oder gekantete Blech wird in diesem Bereich der Profilschiene eingesetzt und befestigt.
- Die Befestigung der Profilschiene mit dem Anschlusselement erfolgt entweder durch Falzbildung, Löten, Schweißen oder Verkleben oder durch andere Verbindungstechniken.
- Auf dem waagrechten Schenkel des L-Profils der Profilschiene kann sich entlang der Länge eine Isolierschiene aus flexiblem Material befinden, wodurch eine Abdichtung zu der seitlichen Dachstruktur erreicht wird. Diese bildet einen Anschluss und Abschluss zu dem unteren Übergangsbereich der abschließenden Dachziegel und bewirkt, dass eine Abdichtung geschaffen wird, die vor Wasser, Schnee, Staub etc. schützen soll.
- Das erfindungsgemäße System kann vorzugsweise ein Abdeckelement zum Anschluss an ein Element des Systems aufweisen, wobei das Abdeckelement eine Nut aufweist, in der ein Abziehklebeband angebracht ist. Das Abziehklebeband ist mittig geknickt in der Nut angebracht und bedeckt dadurch beide Seiten der Nut. Das Abdeckelement bedeckt den Übergang zu der angrenzenden Dachfläche und besteht zu diesem Zweck aus einem flexiblen, anpassungsfähigen Material, das sich an die Dachfläche anpassen kann und dadurch einen wasserdichten Übergang zwischen Einfassung und Dachfläche herstellt. Das Abdeckelement kann weiter eine Riffelung zur Ableitung von Wasser aufweisen. Das Abziehklebeband ist vor der Montage am Dach mit einer Schutzfolie vor Schäden und vor Schmutz geschützt. Vor dem Verkleben mit dem Systemelement wird die Schutzfolie entfernt, das Abdeckelement an das Systemelement verschoben und mit diesem verklebt.
- Die Erfindung umfasst außerdem ein Abdeckelement zum Anschluss an ein Element eines Systems, wobei das Abdeckelement eine Nut aufweist, in der ein Abziehklebeband angebracht ist. Es wird dafür vorzugsweise ein Klebeband verwendet, das auch bei niedrigen Temperaturen verwendet werden kann.
- Bevorzugt ist das Abdeckelement durch Einbringen der Kante des Systemelements in die Nut anschließbar. Durch die geknickte Anordnung des Klebebands in der Nut werden beide Seiten der eingebrachten Kante verklebt.
- Daneben kann die Nut des Abdeckelements als Doppelfalz ausgebildet sein.
- Neben der Erstellung von Einfassungen von Dachöffnungen kann durch die vorliegende Erfindung auch der regenssichere seitliche Abschluss und Anschluss von Dachflächen realisiert werden. Hierzu wird eine Profilschiene der Länge L verwendet, wobei die Profilschiene ein L-förmiges Profil aufweist, das einen ersten waagrechten Schenkel und einen zweiten senkrechten Schenkel hat, wobei der waagrechte Schenkel eine oder mehrere Ausbuchtungen zur Bildung von einer oder mehrere Wasserrinnen aufweist und die Ausbuchtungen sich im Wesentlichen entlang der Länge L der Profilschiene erstrecken.
- Die erfindungsgemäße Profilschiene kann neben der beschriebenen Einfassung einer Dachöffnung auch für jede mögliche Form des regensicheren Abschlusses seitlicher Dachflächen (sogenannter Ortgang) und zur anschließenden Ableitung von Wasser verwendet werden. Auch der Abschluss einer Giebel- oder Gaubenstruktur ist unter anderen speziellen Dachformen möglich. Das L-Profil der Profilschiene bildet den Anschluss zur jeweiligen Dachfläche und ist für jede Art der Dachbedeckung (z.B. Dachziegel, Schiefer, Blech, etc.) geeignet. Außerdem kann das erfindungsgemäße System für jeden Neigungswinkel des Daches, bei dem Dachziegel zur Anwendung kommen, in der Regel bei Dächern mit einer Neigung (ab 22%) bis hin zu Steildächern verwendet werden. Durch die Verwendung von mehreren Profilschienen kann der Abschluss des Firsts und bei einer Dachfläche mit unterschiedlichen Neigungswinkeln (z.B. bei einem Frackdach, Schleppdach, Mansarddach, etc.) oder bei einem eventuell ungeraden seitlichen Dachverlauf geschaffen werden. Die Profilschienen werden dabei an die unterschiedliche Dachneigung, bzw. an den jeweiligen Dachverlauf angepasst.
- Daneben ist auch jede Form des seitlichen Abschlusses und ggf. Anschluss an andere angrenzende Dachflächen oder Strukturen möglich. So kann der Anschluss der Dachflächen von dicht nebeneinanderstehenden Gebäuden erzeugt werden. Zum einen kann hierbei der regensichere Übergang von einer Dachfläche zu der anderen geschaffen werden. Zum anderen kann bei unterschiedlichen Gebäudehöhen der Anschluss von einer Dachfläche zu der angrenzenden Wand geschaffen werden.
- Auch ist der Anschluss der Dachfläche an sonstige künstliche oder natürliche Wände, wie Mauern oder Felsen denkbar.
- Vorzugsweise kann der waagrechte Schenkel der vorgenannten Profilschiene mindestens zwei Ausbuchtungen zur Bildung von Wasserrinnen aufweisen und die Ausbuchtungen können sich im Wesentlichen entlang der Länge L der Profilschiene erstrecken und eine Ausbuchtung ist wesentlich niedriger als die mindestens andere Ausbuchtung. Die unterschiedliche Höhe der Ausbuchtungen soll eine Anpassung an den abschließenden Dachziegeln erzeugen. Dabei liegt z.B. der mittlere Bereich der abschließenden Dachziegel auf der niedrigeren Ausbuchtung der Profilschiene auf und an der äußeren Ausbuchtung ab. Dadurch wird die Dachfläche in einer Ebene gehalten und es entstehen keine Verwerfungen, bzw. Höhenabstände an den abschließenden Dachziegeln.
- Dabei weist der senkrechte Schenkel der Profilschiene beispielsweise eine Länge von ca. 200 mm auf. Hinsichtlich des waagrechten Schenkels der Profilschiene weist der erste Abschnitt vom senkrechten Schenkel zu der ersten Ausbuchtung eine Länge von ca. 50 mm auf und von der ersten Ausbuchtung zur zweiten Ausbuchtung einen weiteren Abschnitt von ca. 50 mm auf. Ab der zweiten Ausbuchtung bis zum Ende hat der waagrechten Schenkel eine Länge von ca. 30 mm. Die erste Ausbuchtung hat eine Höhe von ca. 50 mm, die zweite Ausbuchtung eine Höhe von ca. 3 bis 7 mm am Ende der Aufkantung oder dem Umschlag.
- In einer bevorzugten Ausführung weist die Profilschiene auf dem waagrechten Schenkel des L-Profils der Profilschiene entlang der Länge eine Isolierschiene aus flexiblem Material auf. Diese bildet einen Anschluss und Abschluss zu dem unteren Übergangsbereich der abschließenden Dachziegel und bewirkt, dass eine Abdichtung geschaffen wird, die vor Wasser, Schnee, Staub etc. schützen soll.
- Die Erfindung stellt außerdem ein Verfahren zur Begrenzung von Dachflächen bereit, das die folgenden Verfahrensschritte umfasst:
- Bereitstellen eines Profils das ein L-förmiges Profil aufweist, das einen ersten waagrechten Schenkel und einen zweiten senkrechten Schenkel hat, wobei der waagrechte Schenkel mindestens zwei Ausbuchtungen zur Bildung von Wasserrinnen aufweist und die Ausbuchtungen sich im Wesentlichen entlang der Länge L der Profilschiene erstrecken und eine Ausbuchtung wesentlich niedriger als die mindestens andere Ausbuchtung ist.
- Anbringen des Profils an der seitlichen Begrenzung der Dachfläche.
- Anschluss der Dachfläche, wobei die abschließenden Dachziegel auf der niedrigeren Ausbuchtung der Profilschiene aufliegen und der Überdeckungsbereich der Dachziegel an bzw. seitlich nahe der höheren Ausbuchtung abgeschnitten wird.
- Wie bereits erwähnt, besteht die seitliche Profilschiene aus einem vorgefertigten Standardprofil. Die Breite des Blechs des Anschlusselements wird nach den individuell benötigten Breitenangaben werkseitig angefertigt. Die oberen und unteren Anschlusselemente werden vor Ort verschoben und befestigt. Nach Bedarf werden die Anschlusselemente auf, bzw. unter die Profilschienen geschoben und befestigt. Alternativ werden bereits vorab das jeweilige obere und das untere Anschlussblech werkseitig fest mit jeweils einer Profilschiene verbunden, die somit zwei Teile bilden. Diese zwei Teile werden vor Ort verbunden, wobei das obere Anschlusselement mit der bereits verbundenen Profilschiene über das untere Anschlusselement und der damit verbunden Profilschiene geschoben wird. Die Überlappung der Anschlüsse zwischen Profilschiene und Anschlusselement bewirkt die gewünschte Regensicherheit. Die zusammengefügte Einfassung schließt bündig an die Öffnung an, um einen regensicheren Abschluss zu bilden.
- Das erfindungsgemäße System besitzt den Vorteil, dass die Montage der Einfassung entgegen der herkömmlichen Vorgehensweise nicht zwangsläufig durch einen Fachmann erfolgen muss. Es muss bauseitig lediglich die Tiefe und die Breite der Öffnung und die Neigung des Dachs für die entsprechende Erstellung der Anschlussbleche erfasst werden. Daneben ist eine zeitaufwändige Anpassung vor Ort nicht mehr erforderlich, so dass die Anfertigung parallel zum Bauvorhaben erstellt werden kann.
-
- Figur 1
- Seitliche Ansicht von unten auf ein zusammengesetzes Einfassungssystem mit unterem und oberen Anschlusselement, wobei das Anschlussprofil des oberen Anschlusselements über dem Anschlussprofil des unteren Anschlusselements liegt
- Figur 2
- Ansicht von oben auf ein oberes Anschlusselement mit Anschlussblech und seitlichen Anschlussprofilen
- Figur 3
- Ansicht von unten auf ein unteres Anschlusselement
- Figur 4
- Gesamtansicht der Profilschiene mit L-Profil, seitlicher Schenkel zum Abschluss der Öffnung, waagrechter Schenkel mit zwei Ausbuchtungen und Isolierschiene und seitlicher rechter Erhebung
- Figur 5
- Profilschiene mit L-Profil, seitlicher Schenkel zum Abschluss der Öffnung, waagrechter Schenkel mit zwei Ausbuchtungen und Isolierschiene und seitlicher rechter Erhebung
- Figur 6
- Ansicht von unten: zusammengesetztes Einfassungssystem, mit unterem Anschlusselement, zwei seitlichen Profilschienen mit jeweils zwei Wasserrinnen und Isolierschiene und oberen Anschlusselement mit oberen Anschlussblech
- Figur 7
- Ansicht von oben: oberes Anschlusselement, verbunden mit rechter Profilschiene, oberes Anschlusselement liegt über Profilschiene
- Figur 8
- Ansicht von rechts oben: rechte Profilschiene, verbunden mit oberen Anschlusselement, Anschlusselement liegt auf Profilschiene; Profilschiene ist an Biegung des Anschlussblechs angepasst
- Figur 9
- Seitliche Ansicht auf angepasstes L-Profil der Profilschiene
- Figur 10
- Seitliche Ansicht des Abdeckelements mit einer Nut, in der das Abziehklebeband angebracht ist und an den seitlichen oberen und unteren Enden aus der Nut hervorsteht und einer geriffelten Abdeckmatte
- Figur 11
- Ansicht auf die Nut des Abdeckelements in der das Abziehklebeband mittig geknickt angebracht ist und am unteren Ende hervorsteht
- Figur 12
- Anschluss des Abdeckelements an ein unteres Anschlusselement des Systems, wobei die Kante des Anschlusselement in die Nut des Abdeckelements eingebracht und verklebt wird
- Figur 13
- Abdeckung eines Dachfirstes mit zwei Profilschienen
- Nachfolgend wird zunächst eine Ausführung eines Systems (1) zur Einfassung eines Kamins beschrieben.
- Aus
Figur 1 wird ein zusammengesetztes erfindungsgemäßes System (1) ersichtlich. Dabei sind das untere Anschlusselement (5) und das obere Anschlusselement (4) mit jeweils einem gebogenen Blech (41, 51) erkennbar. Bei den dargestellten Anschlusselementen (4, 5) handelt es sich um vorläufige Ausführungsformen ohne Ausbuchtungen. Weiter ist das L-Profil des Anschlussprofils (42, 52) mit dem waagrechten Schenkel (421; 521) und dem senkrechten Schenkel (422; 522) ersichtlich. Der senkrechte Schenkel (422; 522) bildet den bündigen Abschluss zu der Dachöffnung, bzw. dem Kamin. -
Figur 2 zeigt das obere Anschlusselement (4) in einer endgültigen Ausführungsform, das aus einem gebogenen Anschlussblech (41) und zwei seitlichen Anschlussprofilen (42) besteht. Das L-förmige Profil der seitlichen Anschlussprofile (42) weist jeweils einen waagrechten (421) und einen senkrechten Schenkel (422) auf, wobei auf dem senkrechten Schenkel (422) Ausbuchtungen (423) zur Bildung von Wasserrinnen sind, mit einer äußeren Erhöhung, die das Profil nach außen hin begrenzt und einen Abschluss zum Dach bildet. Das obere Anschlusselement (4) weist weiter ein gebogenes Blech (41) auf, dessen Biegung und Länge sich an der Neigung des Dachs, bzw. an dem zu verkleidenden Kamin orientiert und bewirkt, dass das vom oberen Bereich des Dachs und des Kamins kommende Wasser vom Kamin weggeführt wird und in die seitlichen Wasserrillen der Anschlussprofile (42) geleitet wird und infolge der Dachneigung über das Dach abgeleitet wird. -
Figur 3 zeigt das untere Anschlusselement (5) in einer vorläufigen Ausführungsform ohne Ausbuchtungen, das entsprechend dem oberen Anschlusselement gemäßFigur 2 aufgebaut ist und ein gebogenes Anschlussblech (51) und zwei seitliche Anschlussprofile (52) aufweist. Das L-förmige Profil der seitlichen Anschlussprofile (52) weist einen waagrechten (521) und einen senkrechten Schenkel(522) auf, wobei auf dem senkrechten Schenkel (522) Ausbuchtungen (523) zur Bildung von Wasserrinnen gebildet sind (bei der vorläufigen Ausführung nicht enthalten). Diese sind entsprechend den in derFigur 2 gezeigten Anschlussprofilen ausgebildet. - Aus den
Figuren 4 bis 6 werden die seitlichen Profilschienen (2; 3) ersichtlich. - Die erfindungsgemäße Profilschiene (2; 3) dient einerseits der Verlängerung des eingangs beschriebenen Systems und andererseits dem Abschluss und Anschluss von Dachflächen.
- Aus
Figur 4 ist zunächst die Profilschiene (2; 3) im Gesamten ersichtlich. - Aus
Figur 5 ist das L-Profil (21) der Profilschiene (2; 3) ersichtlich. Der senkrechte Schenkel (22) bildet den bündigen Abschluss zu der Dachöffnung, bzw. dem Kamin. Der waagrechte Schenkel (23) weist Ausbuchtungen (24) zur Bildung von Wasserrinnen auf, mit einer äußeren Erhöhung, die das Profil nach außen begrenzt und einen Abschluss zum Dach bildet. - Bei den
Figuren 6 bis 8 wird ein zusammengesetztes erfindungsgemäßes System (1) in einem weiteren Ausführungsbeispiel gezeigt. Dabei wurde das vorgenannte System derFiguren 1 bis 3 in der Länge, bzw. der Tiefe durch Profilschienen (2; 3) verlängert. Zu Demonstrationszwecken zeigen zwei Dachziegeln den prinzipiellen Einbau in die Dachstruktur. Die weiteren Figuren zeigen die vorgenannten Elemente im Detail. -
Figur 7 zeigt eine seitliche rechte Profilschiene (3), verbunden mit dem oberen Anschlusselement (4). Das Anschlussprofil (42) des Anschlusselements (4) liegt hierbei auf dem L-Profil (21) der Profilschiene (3) auf, um einen wasserabdichtenden Übergang zu schaffen. Die Profilschiene (3) weist über nahezu der gesamten Länge zwei Ausbuchtungen (24) zur Bildung von Wasserrinnen auf, die der Ableitung des Wassers dienen. Die einzelnen Dachziegel zeigen die prinzipielle Einfügung der Profilschiene (3) in die Dachstruktur und den Übergang der Profilschiene (3) zum Dach. Durch eine zusätzliche Isolierschiene (6) wird der seitliche Übergang zwischen Profilschiene (3) und Dachziegel vor Wassereinbruch abgedichtet. -
Figur 8 zeigt im Detail die Verbindung der rechten Profilschiene (3) und des oberen Anschlusselements (4) gemäßFigur 7 . Die Profilschiene (3) ist durch entsprechende Form des senkrechten Schenkels (22) des L-Profils (21) an die Biegung des Anschlussblechs (41) angepasst. Das seitliche Anschlussprofil (42) des oberen Anschlusselements (4) ist auf dem entsprechenden Teil des L-Profils (21) der Profilschiene (3) angeordnet und verbunden. Dabei entspricht die Form des Anschlussprofils (42) der des L-Profils (21) der Profilschiene (3). Daneben ist ausFigur 8 ersichtlich, dass das Anschlussprofil (42) mit dem Anschlussblech (41) verbunden ist. -
Figur 9 zeigt die an die Form des Anschlussblechs (4; 5) angepasste Form des L-Profils (21) der Profilschiene (2; 3) im Detail. - Die unteren (5) und oberen Anschlusselemente (4) werden nach individuellen Maßen hergestellt. Der Zusammenbau erfolgt gemäß
Figur 1 beginnend mit dem unteren Anschlusselement (5) auf dem die beiden Profilschienen (2; 3) überlappend angeordnet werden. Das obere Anschlusselement (4) wird zum Schluss über den beiden Profilschienen (2; 3) überlappend angeordnet. - Nachfolgend wird ein weiteres Ausführungsbeispiel anhand der
Figuren 10 bis 12 dargestellt. Dabei hat das erfindungsgemäße System (1) ein Abdeckelement (7), das vorliegend an das untere Anschlusselement (5) angeschlossen wird. - Aus
Figur 10 ist ein Abdeckelement (7) erkennbar, das mit einer Nut (71) versehen ist, in der ein Abziehklebeband angebracht ist. Außerdem hat das Abdeckelement (7) eine geriffelte Abdeckmatte, die den wasserdichten Übergang zur angrenzenden Dachfläche ermöglicht und durch die Riffelung den Abfluss des Wassers leitet. - Aus
Figur 11 wird erkennbar, dass das Abziehklebeband (72) mittig geknickt in der Nut (71) des Abdeckelements (7) angebracht ist, so dass beide Seiten der Nut (71) mit dem Abziehklebeband (72) versehen sind. -
Figur 12 zeigt den Anschluss des Abdeckelements (7) an das untere Anschlusselement (5) des Systems (1). Vor der Montage wird der Schutzfilm des Abziehbands (72) entfernt. Danach wird das Abdeckelement (7) an das untere Anschlusselement (5) verschoben und die untere Kante des Anschlusselements (5) in die Nut (71) des Abdeckelements eingebracht und verklebt. -
Figur 13 stellt ein weiteres Ausführungsbeispiel zur Abdeckung eines Dachfirstes dar. Dabei enden zwei Profilschienen (2; 3) entsprechend des Winkels des Dachs am First. Die Ausbuchtungen sind entsprechend abgesenkt.
Claims (15)
- System (1) zur Einfassung von Dachöffnungen umfassend
wenigstens ein oberes (4) und/oder wenigstens ein unteres Anschlusselement (5) mit einer Breite B, wobei das Anschlusselement (4; 5) wenigstens ein Anschlussprofil aufweist (42; 52), wobei das Anschlussprofil (42; 52) eine L-förmige Profilform aufweist, das einen ersten waagrechten Schenkel (421; 521) und einen zweiten senkrechten Schenkel (422; 522) hat, wobei der waagrechte Schenkel (421; 521) eine oder mehrere Ausbuchtungen (423; 523) zur Bildung von einer oder mehrere Wasserrinnen aufweist, die Ausbuchtungen (423; 523) sich im Wesentlichen entlang des Anschlussprofils (42; 52) erstrecken; und wobei das Anschlusselement (4; 5) wenigstens ein Blech (41; 51) aufweist, das entlang der Breite B gebogen und das Anschlussprofil (42; 52) zum Anschluss des anderen Anschlusselements geeignet ist, und wobei insbesondere das Anschlussprofil (42; 52) des oberen Anschlusselements (4)) mit dem Anschlussprofil (51) des unteren Anschlusselements (5) verbunden ist. - System(1) nach Anspruch 1, wobei das Anschlussprofil (42) des oberen Anschlusselements (4) und das Anschlussprofil (52) des unteren Anschlussprofils (5) überlappend angeordnet ist.
- System (1) nach Anspruch 1, wobei die Biegung des Blechs (41; 51) des Anschlusselements (4; 5) von der Dachneigung abhängig ist und eine Länge aufweist, die von der Dachneigung abhängig ist.
- System (1) nach den vorhergehenden Ansprüchen, das wenigstens eine seitliche Profilschiene (2; 3) der Länge L aufweist und wobei die Profilschiene (2; 3) ein L-förmiges Profil (21) aufweist, das einen ersten waagrechten Schenkel (22) und einen zweiten senkrechten Schenkel (23) hat, wobei der waagrechte Schenkel (22) eine oder mehrere Ausbuchtungen (24) zur Bildung von einer oder mehrere Wasserrinnen aufweist, die Ausbuchtungen (24) sich im Wesentlichen entlang der Länge L der Profilschiene (2; 3) erstrecken.
- System nach Anspruch 4, wobei die Profilschiene (2; 3) über das L-Profil (21) mit dem Anschlussprofil (42; 52) des Anschlusselements (4; 5) verbunden ist.
- System(1) nach Anspruch 4, wobei das L-Profil (21) der Profilschiene (2; 3) und das Anschlussprofil (42; 52) des Anschlussprofils überlappend angeordnet sind.
- System (1) nach Anspruch 4, wobei der senkrechte Schenkel (22) des L-förmigen Profils (21) des Profilelements (2; 3) im Bereich des Anschlussprofils (42; 52) entsprechend der Form des Anschlusselements (4; 5) angepasst ist.
- System (1) nach den vorhergehenden Ansprüchen 4 bis 7, wobei sich auf dem waagrechten Schenkel (23) des L-Profils (21) der Profilschiene (2; 3) entlang der Länge eine Isolierschiene (6) aus flexiblem Material befindet.
- System (1) nach den vorhergehenden Ansprüchen, das ein Abdeckelement (7) zum Anschluss an ein Systemelement aufweist, wobei das Abdeckelement (7) eine Nut (71) aufweist, in der ein Abziehklebeband (72) angebracht ist.
- Abdeckelement (7) zum Anschluss an ein Element eines Systems (1) gemäß den Ansprüchen 1 bis 11, wobei das Abdeckelement (7) eine Nut (71) aufweist, in der ein Abziehklebeband (72) angebracht ist.
- Abdeckelement (7) nach Anspruch 9 oder 10, bei dem eine Kante des Systemelements durch Einbringen der Kante in die Nut (71) anschließbar ist.
- Profilschiene (2; 3) der Länge L, wobei die Profilschiene (2; 3) ein L-förmiges Profil (21) aufweist, das einen ersten waagrechten Schenkel (22) und einen zweiten senkrechten Schenkel (23) hat, wobei der waagrechte Schenkel (22) eine oder mehrere Ausbuchtungen (24) zur Bildung von einer oder mehrere Wasserrinnen aufweist und die Ausbuchtungen (24) sich im Wesentlichen entlang der Länge L der Profilschiene (2; 3) erstrecken.
- Profilschiene (2; 3) nach Anspruch 12, wobei der waagrechte Schenkel (22) mindestens zwei Ausbuchtungen (24) und eine Ausbuchtung wesentlich niedriger als die mindestens andere Ausbuchtung ist.
- Profilschiene nach einem der vorhergehenden Ansprüchen 12 oder 13, wobei sich auf dem waagrechten Schenkel (23) des L-Profils (21) der Profilschiene (2; 3) entlang der Länge eine Isolierschiene (6) aus flexiblem Material befindet.
- Verfahren zur Begrenzung von Dachflächen, umfassend die folgenden Verfahrensschritte:Bereitstellen einer Profilschiene (2; 3), das ein L-förmiges Profil (21) aufweist, das einen ersten waagrechten Schenkel (22) und einen zweiten senkrechten Schenkel (23) hat, wobei der waagrechte Schenkel (22) mindestens zwei Ausbuchtungen (24) zur Bildung von Wasserrinnen aufweist und die Ausbuchtungen (24) sich im Wesentlichen entlang der Länge L der Profilschiene (2; 3) erstrecken und eine Ausbuchtung wesentlich niedriger als die mindestens andere Ausbuchtung istAnbringen der Profilschiene (2; 3) an der seitlichen Begrenzung der DachflächeAnschluss der Dachfläche, wobei die abschließenden Dachziegel auf der niedrigeren Ausbuchtung der Profilschiene aufliegen und der Überdeckungsbereich der Dachziegel an der höheren Ausbuchtung abgeschnitten werden.
Applications Claiming Priority (1)
| Application Number | Priority Date | Filing Date | Title |
|---|---|---|---|
| DE102014118312 | 2014-12-10 |
Publications (2)
| Publication Number | Publication Date |
|---|---|
| EP3031997A2 true EP3031997A2 (de) | 2016-06-15 |
| EP3031997A3 EP3031997A3 (de) | 2017-01-11 |
Family
ID=54848435
Family Applications (1)
| Application Number | Title | Priority Date | Filing Date |
|---|---|---|---|
| EP15198768.2A Withdrawn EP3031997A3 (de) | 2014-12-10 | 2015-12-09 | System zur einfassung von öffnungen auf dächern |
Country Status (1)
| Country | Link |
|---|---|
| EP (1) | EP3031997A3 (de) |
Cited By (2)
| Publication number | Priority date | Publication date | Assignee | Title |
|---|---|---|---|---|
| WO2021058073A1 (en) * | 2019-09-25 | 2021-04-01 | Vkr Holding A/S | Flashing assembly for a roof penetrating structure and a method for manufacturing a flashing assembly |
| WO2023275008A1 (en) | 2021-06-28 | 2023-01-05 | Milford I/S | A footing channel |
Family Cites Families (5)
| Publication number | Priority date | Publication date | Assignee | Title |
|---|---|---|---|---|
| DE7516940U (de) * | 1974-05-31 | 1979-04-05 | Prix, Helmut, Hainburg (Oesterreich) | Einrichtung zum anschluss einer profilierten dachdeckung an eine dachdurchdringung |
| DE7726813U1 (de) * | 1977-08-30 | 1978-04-06 | Reinhard, Sigrid, Dipl.-Ing., 2803 Weyhe | Abdichtung fuer sonnenenergiekollektoren |
| NL1009317C2 (nl) * | 1998-06-04 | 1999-12-07 | Redland Dakprod Bv | Schuin dak met dakraam en indekdeel. |
| PL225268B1 (pl) * | 2009-08-28 | 2017-03-31 | Fakro Pp Spółka Z Ograniczoną Odpowiedzialnością | Kołnierz uszczelniający połączenie pokrycia dachowego z konstrukcją okna dachowego |
| PL223391B1 (pl) * | 2010-10-29 | 2016-10-31 | Fakro Pp Spółka Z Ograniczoną Odpowiedzialnością | Kołnierz uszczelniający połączenie pokrycia dachowego z konstrukcją przenikającą przez dach wyposażony w zatrzaskowe połączenie elementów kołnierza |
-
2015
- 2015-12-09 EP EP15198768.2A patent/EP3031997A3/de not_active Withdrawn
Non-Patent Citations (1)
| Title |
|---|
| None |
Cited By (7)
| Publication number | Priority date | Publication date | Assignee | Title |
|---|---|---|---|---|
| WO2021058073A1 (en) * | 2019-09-25 | 2021-04-01 | Vkr Holding A/S | Flashing assembly for a roof penetrating structure and a method for manufacturing a flashing assembly |
| CN113396261A (zh) * | 2019-09-25 | 2021-09-14 | Vkr控股公司 | 用于屋顶穿透结构的防护组件及用于制造防护组件的方法 |
| JP2022530597A (ja) * | 2019-09-25 | 2022-06-30 | ヴィーケーアール・ホールディング・アー・エス | 屋根貫通構造体のためのフラッシングアセンブリ及びフラッシングアセンブリの製造方法 |
| CN113396261B (zh) * | 2019-09-25 | 2023-07-25 | Vkr控股公司 | 用于屋顶穿透结构的防护组件及用于制造防护组件的方法 |
| US11795695B2 (en) | 2019-09-25 | 2023-10-24 | Vkr Holding A/S | Flashing assembly for a roof penetrating structure and a method for manufacturing a flashing assembly |
| EP4343074A3 (de) * | 2019-09-25 | 2024-06-19 | VKR Holding A/S | Abdeckblechanordnung für eine dachdurchdringende struktur und verfahren zur herstellung einer abdeckblechanordnung |
| WO2023275008A1 (en) | 2021-06-28 | 2023-01-05 | Milford I/S | A footing channel |
Also Published As
| Publication number | Publication date |
|---|---|
| EP3031997A3 (de) | 2017-01-11 |
Similar Documents
| Publication | Publication Date | Title |
|---|---|---|
| EP4023959B1 (de) | Abdeckvorrichtung | |
| DE19909049A1 (de) | Einfassung zur Montage in einem Steildach, Verfahren zum Installieren einer rechteckigen Einfassungseinheit und Dachkonstruktion | |
| DE19510094A1 (de) | Blechdachsystem | |
| WO2016020051A1 (de) | Abdeckvorrichtung mit sich fortsetzenden abdeckplatten | |
| DE102005028830A1 (de) | Dacheindeckung und Verfahren hierfür | |
| DE202018100517U1 (de) | Dachgaubenanordnung | |
| DE69513162T2 (de) | Anschlussstreifen für dachelemente | |
| DE202007000526U1 (de) | Modulares Energiegewinnungssystem | |
| DE10240939B4 (de) | Vorrichtung für die In-Dach-Verbindung von wenigstens zwei plattenförmigen Bauteilen auf einem Schrägdach | |
| DE202008015141U1 (de) | Eindeckung und Solaranlage | |
| DE60306605T2 (de) | Anschlussstreifen für Ecke | |
| EP3031997A2 (de) | System zur einfassung von öffnungen auf dächern | |
| AT523015B1 (de) | Rahmen eines Moduls für ein modulares Photovoltaiksystem, damit hergestelltes Modul und modulares Photovoltaiksystem | |
| DE102010010676A1 (de) | Überdachung, insbesondere Dachabdeckung | |
| EP0288020A2 (de) | Firstbohle mit aufliegendem Firstabdichtungs- und Belüftungselement | |
| DE102011122340A1 (de) | Photovoltaikanlage und ein Verfahren zur Herstellung einer Photovoltaikanlage | |
| DE102006006718B4 (de) | Solarkollektor | |
| EP0915212A2 (de) | Dachelement zur Herstellung eines Hausdachs | |
| EP0127071A2 (de) | Dachabdeckungsstein | |
| EP1818625B1 (de) | Solarkollektoranordnung | |
| EP1120511B1 (de) | Vorrichtung zum Abdecken einer Dachöffnung | |
| EP1857605B1 (de) | Bodenabdeckung für ein Gebäudeteil | |
| EP4701070A1 (de) | Befestigungssystem für ein plattenförmiges bauelement an einer dachkonstruktion und modul für ein dach | |
| DE202021004147U1 (de) | Abdeckvorrichtung | |
| DE202004003187U1 (de) | Kopfabdeckung für eine Mauer |
Legal Events
| Date | Code | Title | Description |
|---|---|---|---|
| PUAI | Public reference made under article 153(3) epc to a published international application that has entered the european phase |
Free format text: ORIGINAL CODE: 0009012 |
|
| AK | Designated contracting states |
Kind code of ref document: A2 Designated state(s): AL AT BE BG CH CY CZ DE DK EE ES FI FR GB GR HR HU IE IS IT LI LT LU LV MC MK MT NL NO PL PT RO RS SE SI SK SM TR |
|
| AX | Request for extension of the european patent |
Extension state: BA ME |
|
| RIC1 | Information provided on ipc code assigned before grant |
Ipc: E04D 13/147 20060101AFI20160817BHEP |
|
| RIC1 | Information provided on ipc code assigned before grant |
Ipc: E04D 13/147 20060101AFI20160826BHEP |
|
| PUAL | Search report despatched |
Free format text: ORIGINAL CODE: 0009013 |
|
| AK | Designated contracting states |
Kind code of ref document: A3 Designated state(s): AL AT BE BG CH CY CZ DE DK EE ES FI FR GB GR HR HU IE IS IT LI LT LU LV MC MK MT NL NO PL PT RO RS SE SI SK SM TR |
|
| AX | Request for extension of the european patent |
Extension state: BA ME |
|
| RIC1 | Information provided on ipc code assigned before grant |
Ipc: E04D 13/147 20060101AFI20161202BHEP |
|
| STAA | Information on the status of an ep patent application or granted ep patent |
Free format text: STATUS: THE APPLICATION HAS BEEN PUBLISHED |
|
| STAA | Information on the status of an ep patent application or granted ep patent |
Free format text: STATUS: THE APPLICATION IS DEEMED TO BE WITHDRAWN |
|
| 18D | Application deemed to be withdrawn |
Effective date: 20170712 |