EP2524385B1 - Verfahren zur schaltzeitmessung an einem laststufenschalter und schaltung zur schaltzeitmessung - Google Patents

Verfahren zur schaltzeitmessung an einem laststufenschalter und schaltung zur schaltzeitmessung Download PDF

Info

Publication number
EP2524385B1
EP2524385B1 EP10800700.6A EP10800700A EP2524385B1 EP 2524385 B1 EP2524385 B1 EP 2524385B1 EP 10800700 A EP10800700 A EP 10800700A EP 2524385 B1 EP2524385 B1 EP 2524385B1
Authority
EP
European Patent Office
Prior art keywords
measuring
load
switching
switch
voltage
Prior art date
Legal status (The legal status is an assumption and is not a legal conclusion. Google has not performed a legal analysis and makes no representation as to the accuracy of the status listed.)
Not-in-force
Application number
EP10800700.6A
Other languages
English (en)
French (fr)
Other versions
EP2524385A1 (de
Inventor
Alfred Bieringer
Current Assignee (The listed assignees may be inaccurate. Google has not performed a legal analysis and makes no representation or warranty as to the accuracy of the list.)
Maschinenfabrik Reinhausen GmbH
Scheubeck GmbH and Co
Original Assignee
Maschinenfabrik Reinhausen GmbH
Maschinenfabrik Reinhausen Gebrueder Scheubeck GmbH and Co KG
Priority date (The priority date is an assumption and is not a legal conclusion. Google has not performed a legal analysis and makes no representation as to the accuracy of the date listed.)
Filing date
Publication date
Application filed by Maschinenfabrik Reinhausen GmbH, Maschinenfabrik Reinhausen Gebrueder Scheubeck GmbH and Co KG filed Critical Maschinenfabrik Reinhausen GmbH
Publication of EP2524385A1 publication Critical patent/EP2524385A1/de
Application granted granted Critical
Publication of EP2524385B1 publication Critical patent/EP2524385B1/de
Not-in-force legal-status Critical Current
Anticipated expiration legal-status Critical

Links

Images

Classifications

    • HELECTRICITY
    • H01ELECTRIC ELEMENTS
    • H01HELECTRIC SWITCHES; RELAYS; SELECTORS; EMERGENCY PROTECTIVE DEVICES
    • H01H9/00Details of switching devices, not covered by groups H01H1/00 - H01H7/00
    • H01H9/0005Tap change devices
    • HELECTRICITY
    • H01ELECTRIC ELEMENTS
    • H01HELECTRIC SWITCHES; RELAYS; SELECTORS; EMERGENCY PROTECTIVE DEVICES
    • H01H11/00Apparatus or processes specially adapted for the manufacture of electric switches
    • H01H11/0062Testing or measuring non-electrical properties of switches, e.g. contact velocity
    • HELECTRICITY
    • H01ELECTRIC ELEMENTS
    • H01HELECTRIC SWITCHES; RELAYS; SELECTORS; EMERGENCY PROTECTIVE DEVICES
    • H01H9/00Details of switching devices, not covered by groups H01H1/00 - H01H7/00
    • H01H9/0005Tap change devices
    • H01H2009/0061Monitoring tap change switching devices
    • HELECTRICITY
    • H01ELECTRIC ELEMENTS
    • H01HELECTRIC SWITCHES; RELAYS; SELECTORS; EMERGENCY PROTECTIVE DEVICES
    • H01H9/00Details of switching devices, not covered by groups H01H1/00 - H01H7/00
    • H01H9/0005Tap change devices
    • H01H9/0038Tap change devices making use of vacuum switches

Definitions

  • the invention relates to a method for measuring the chronological order of successively during operation of an on-load tap-changer individual circuits of different contact and switching elements.
  • the invention further relates to a suitable circuit for such a method.
  • a method and a circuit of the type mentioned are from the DE 10 2004 052 316 B3 already known.
  • non-volatile storage of the switch-specific sequence of the switching sequence takes place when the on-load tap-changer is switched over, subsequently a measuring circuit is connected between the respective sides of the electrical switches facing the movable switching elements. Subsequently, a changeover of the on-load tap-changer is then carried out and at the same time a measurement of the voltage curve is made via a measuring resistor of the measuring circuit. From this course, finally, the actual switching sequence can be determined by making an assignment of the respective times of the occurrence of measuring edges with the previously stored switching sequence.
  • the measuring circuit used consists of a series connection of a voltage source and the already mentioned measuring resistor as well as means for measuring the voltage which drops across this measuring resistor.
  • on-load tap-changer which has a separate selector for powerless preselection of the winding tap to be switched to, and, separately, a diverter switch for the actual uninterrupted switching of the load between the winding taps.
  • the circuit of such an on-load tap-changer is from the DE 10 2005 048 308 B3 known and described in detail there in Figure 8: There are shown the two sides of the diverter switch A and B, between which the uninterrupted switching takes place.
  • Contacts MCA and MCB are the respective permanent main contacts, one of which is closed in stationary operation and thus carries current.
  • MSV designates a vacuum switching cell in the main switching branch, TTV a vacuum switching cell in the resistance branch, which has the additional switching resistance R.
  • the acting as a main switching contact mechanical switching contact II is referred to as MTF
  • acting as a resistance switching contact mechanical switching contact I is referred to as TTF.
  • Y denotes the load derivation.
  • the object of the invention is therefore, even for on-load tap-changers of the type VACUTAP® VR and comparable devices specify a method that allows on site with simple means to make a switching time measurement during operation of the on-load tap-changer and to decide in the result, if this on-load tap-changer fully functional is.
  • the object of the invention is, in turn, to provide a circuit with which such a method can be carried out in a simple manner.
  • FIG. 1 shows the circuit of the known on-load tap changer described, more precisely, whose diverter switch, shown in bold lines.
  • the connected measuring circuit according to the invention is shown with dashed lines.
  • the measuring circuit has four connection points C, D, E, Y and three separate resistors R2, R3, R4.
  • the first connection point C is connected between the mechanical switching element MTF and the vacuum switching cell MSV of the tap changer. It leads via a first resistor R2 to a first voltage source U1, furthermore via a series connection of two further resistors R4 and R3 to a further voltage source U2.
  • connection point D is connected between the mechanical switch TTF and the vacuum switching cell TTV of the on-load tap-changer and leads to the other side of the second voltage source U2.
  • the further connection point E is arranged between the vacuum switching cell TTV and the overshoot resistance R of the on-load tap-changer and leads between the series connection of the two resistors R4 and R3.
  • connection point Y is connected to the other side of the voltage source U1 and leads to the load derivation, i. H. the star point of the on-load tap-changer.
  • a first measuring device U_R is provided between the connection points Y and E.
  • a second measuring device U_R3 is provided.
  • the two measuring devices U_R and U_R3 record the voltage curves over time.
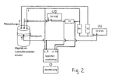
  • FIG. 2 shows the measuring circuit according to the invention again only in a schematic representation.
  • the on-load tap-changer is symbolized here only by a cylinder, arranged on the left in the picture. Shown are the connection points C, D, E, Y, which are electrically connected to the already explained points in the diverter switch.
  • the connection point C leads via the first resistor R2 to the voltage source U1.
  • the measuring point D leads to the positive pole of the voltage source U2, whose other side is connected to the series connection of two further resistors R3, R4 and leads to the first voltage source U1.
  • connection point E leads to the point between the resistors R3 and R4.
  • connection point Y which is connected to the neutral point, ie the load lead, leads to the positive pole of the voltage source U1.
  • the two voltage sources U1, U2 are DC voltage sources with 24 V DC.
  • U_R is connected between the connection points E and Y.
  • U_R3 is connected in parallel to the resistor R3.
  • the resistors R2 and R3 are particularly advantageously adapted to the value of the over-resistance R of the diverter switch.
  • a two-channel memory is used as an oscilloscope as a common voltage measuring device.
  • FIG. 3 shows the switching sequence of the known on-load tap changer, which is to be measured or checked by the inventive method and by means of the measuring circuit according to the invention.
  • the switching sequence can be seen when switching from the stage n to the adjacent stage n + 1 - ie a complete load switching.
  • both the mechanical switching elements MTF, TTF and the vacuum switching cells MSV, TTV open or close exactly in the intended time sequence, ie the sequence of times t1... T8. This can be checked by the invention.
  • FIG. 4 shows a real recorded Oszillogramm recorded by the two measuring devices U_R and U_R3 measured voltages in a real load switching. It is shown here how the individual voltage edges of the recorded voltage profiles are assigned to the individual times t1... T8 of the switching sequence.
  • FIG. 5 again shows a schematic representation of the complete inventive method. It begins with the non-volatile storage of the switch-specific sequence of the switching sequence of the tap changer to be checked in each case, ie a switching sequence in which the switching times correspond to switch-specific setpoints. It ends with the comparison, ie the assignment of the individual times of the actually measured switching sequence with these previously stored setpoints.

Landscapes

  • Measurement Of Resistance Or Impedance (AREA)
  • Measuring Fluid Pressure (AREA)
  • Housings And Mounting Of Transformers (AREA)

Description

  • Die Erfindung betrifft ein Verfahren zur Messung der zeitlichen Reihenfolge von während der Betätigung eines Laststufenschalters nacheinander ablaufenden einzelnen Schaltungen von unterschiedlichen Kontakt- und Schaltelementen. Die Erfindung betrifft weiterhin eine für ein solches Verfahren geeignete Schaltung.
  • Ein Verfahren und eine Schaltung der eingangs genannten Art sind aus der DE 10 2004 052 316 B3 bereits bekannt.
  • Beim bekannten Verfahren erfolgt zunächst eine nichtflüchtige Speicherung der schalterspezifischen Reihenfolge der Schaltsequenz bei einer Umschaltung des Laststufenschalters, nachfolgend wird eine Messschaltung zwischen den jeweils den beweglichen Schaltelementen zugewandten Seiten der elektrischen Schalter angeschlossen. Nachfolgend wird dann eine Umschaltung des Laststufenschalters vorgenommen und gleichzeitig eine Messung des Spannungsverlaufes über einen Messwiderstand der Messschaltung vorgenommen. Aus diesem Verlauf lässt sich schließlich die tatsächliche Schaltsequenz ermitteln, indem eine Zuordnung der jeweiligen Zeitpunkte des Auftretens von Messflanken mit der vorab gespeicherten Schaltsequenz vorgenommen wird. Die verwendete Messschaltung besteht aus einer Reihenschaltung einer Spannungsquelle und des bereits erwähnten Messwiderstandes sowie Mitteln zur Messung der Spannung, die über diesen Messwiderstand abfällt.
  • Dieses bekannte Verfahren und die dazugehörige Messschaltung sind prinzipiell für einen Laststufenschalter vom Typ eines Lastwählers geeignet und konzipiert, so wie dies auch an Hand der Figuren 1 bis 4 in der oben genannten Druckschrift erläutert ist.
  • Daneben gibt es auch Laststufenschalter, die einen separaten Wähler zur leistungslosen Vorwahl der Wicklungsanzapfung, auf die umgeschaltet werden soll, sowie, getrennt davon, einen Lastumschalter zur eigentlichen unterbrechungslosen Umschaltung der Last zwischen den Wicklungsanzapfungen aufweisen. Die Schaltung eines solchen Laststufenschalters, wie ihn die Anmelderin unter der Typenbezeichnung VACUTAP® VR herstellt und vertreibt, ist aus der DE 10 2005 048 308 B3 bekannt und dort in Figur 8 detailliert beschrieben: Es sind die beiden Seiten des Lastumschalters A und B gezeigt, zwischen denen die unterbrechungslose Umschaltung erfolgt. Kontakte MCA und MCB sind die jeweiligen Dauerhauptkontakte, von denen einer im stationären Betrieb geschlossen und damit stromführend ist. MSV bezeichnet eine Vakuumschaltzelle im Hauptschaltzweig, TTV eine Vakuumschaltzelle im Widerstandszweig, der den zusätzlichen Überschaltwiderstand R aufweist. Der als Hauptschaltkontakt wirkende mechanische Schaltkontakt II ist als MTF bezeichnet, der als Widerstandsschaltkontakt wirkende mechanische Schaltkontakt I ist als TTF bezeichnet. Y bezeichnet die Lastableitung.
  • Auch bei derartigen Laststufenschaltern besteht gleichermaßen das Bedürfnis sicherzustellen, dass die einzelnen Zeitpunkte während der Lastumschaltung eine normierte schalterspezifische zeitliche Reihenfolge innerhalb der Gesamtschaltsequenz aufweisen. Es ist also auch bei den letztgenannten Laststufenschaltern mit getrenntem Wähler und Lastumschalter wichtig, mit einfachen Mitteln vor Ort zuverlässig entsprechende Schaltzeitmessungen vornehmen zu können.
  • Das aus der eingangs genannten DE 10 2004 052 316 B3 bekannte Verfahren und die dazugehörige Messschaltung sind jedoch für derartige Lastumschalter nicht geeignet; andere Verfahren und/oder Schaltungen sind nicht bekannt.
  • Aufgabe der Erfindung ist es demnach, auch für Laststufenschalter des Typs VACUTAP® VR sowie vergleichbare Geräte ein Verfahren anzugeben, das es vor Ort mit einfachen Mitteln gestattet, eine Schaltzeitmessung während einer Betätigung des Laststufenschalters vorzunehmen und im Ergebnis zu entscheiden, ob dieser Laststufenschalter voll funktionsfähig ist. Aufgabe der Erfindung ist es weiterhin, wiederum eine Schaltung anzugeben, mit der ein solches Verfahren auf einfache Weise durchführbar ist.
  • Diese Aufgabe wird durch ein Verfahren mit den Merkmalen des ersten Patentanspruches sowie eine Schaltung mit den Merkmalen des zweiten Patentanspruches gelöst.
  • Mit der Erfindung ist es jetzt erstmals möglich, direkt vor Ort, d. h. bei einem in den entsprechenden Stufentransformator eingebauten Laststufenschalter, die Schaltzeit und die Schaltsequenz zu messen und damit für Laststufenschalter vom Typ VACUTAP® VR mit getrenntem Wähler und Lastumschalter dieselben Vorteile zu erzielen, die der Stand der Technik bislang nur für Lastwähler gestattete.
  • Die Erfindung soll nachfolgend an Hand von Zeichnungen beispielhaft noch näher erläutert werden.
  • Es zeigen:
  • Figur 1
    die Schaltung eines bekannten Laststufenschalters VACUTAP® VR mit angeschlossener erfindungsgemäßer Messschaltung
    Figur 2
    nochmals eine schematische Darstellung der erfindungsgemäßen Messschaltung
    Figur 3
    eine (bekannte) Schaltsequenz des Laststufenschalters, an den die erfindungsgemäße Messschaltung angeschlossen werden soll
    Figur 4
    ein Oszillogramm der mittels der erfindungsgemäßen Messschaltung ermittelten Spannungsverläufe während der Umschaltung, d. h. Betätigung des Lastumschalters sowie darunter die erfindungsgemäße Zuordnung der Spannungsverläufe zur Betätigungssequenz der einzelnen beteiligten mechanischen und Vakuumschalter
    Figur 5
    das erfindungsgemäße Verfahren im Gesamtüberblick.
  • Figur 1 zeigt die Schaltung des beschriebenen bekannten Laststufenschalters, genauer gesagt, dessen Lastumschalter, mit fetten Linien dargestellt. Die angeschlossene erfindungsgemäße Messschaltung hingegen ist mit Strichlinien dargestellt.
  • Die Messschaltung weist vier Anschlusspunkte C, D, E, Y sowie drei separate Widerstände R2, R3, R4 auf.
  • Der erste Anschlusspunkt C wird zwischen dem mechanischen Schaltelement MTF und der Vakuumschaltzelle MSV des Stufenschalters angeschlossen. Er führt über einen ersten Widerstand R2 zu einer ersten Spannungsquelle U1, weiterhin über eine Reihenschaltung von zwei weiteren Widerständen R4 und R3 zu einer weiteren Spannungsquelle U2.
  • Der Anschlusspunkt D wird zwischen mechanischem Schalter TTF und Vakuumschaltzelle TTV des Laststufenschalters angeschlossen und führt zur anderen Seite der zweiten Spannungsquelle U2.
  • Der weitere Anschlusspunkt E wird zwischen der Vakuumschaltzelle TTV und dem Überschaltwiderstand R des Laststufenschalters angeordnet und führt zwischen die Reihenschaltung der beiden Widerstände R4 und R3.
  • Der Anschlusspunkt Y schließlich ist mit der anderen Seite der Spannungsquelle U1 verbunden und führt zur Lastableitung, d. h. dem Sternpunkt des Laststufenschalters.
  • Zwischen den Anschlusspunkten Y und E ist eine erste Messeinrichtung U_R vorgesehen. Über den Widerstand R3, d. h. parallel dazu, ist eine zweite Messeinrichtung U_R3 vorgesehen. Die beiden Messeinrichtungen U_R und U_R3 erfassen die Spannungsverläufe über die Zeit.
  • Figur 2 zeigt die erfindungsgemäße Messschaltung noch einmal allein in schematischer Darstellung. Der Laststufenschalter ist hier nur durch einen Zylinder, links im Bild angeordnet, symbolisiert. Gezeigt sind die Anschlusspunkte C, D, E, Y, die mit den bereits erläuterten Stellen im Lastumschalter elektrisch verbunden werden. Der Anschlusspunkt C führt über den ersten Widerstand R2 zur Spannungsquelle U1.
  • Der Messpunkt D führt zum Pluspol der Spannungsquelle U2, deren andere Seite mit der Reihenschaltung zweier weiterer Widerstände R3, R4 verbunden ist und zur ersten Spannungsquelle U1 führt.
  • Der Anschlusspunkt E führt zum Punkt zwischen den Widerständen R3 und R4.
  • Der Anschlusspunkt Y, der mit dem Sternpunkt, d. h. der Lastableitung verbunden ist, führt zum Pluspol der Spannungsquelle U1.
  • Auf besonders vorteilhafte Weise handelt es sich bei den beiden Spannungsquellen U1, U2 um Gleichspannungsquellen mit 24 V DC.
  • Gezeigt sind ebenfalls die bereits erläuterten Spannungsmesseinrichtungen U_R und U_R3.
  • U_R ist zwischen die Anschlusspunkte E und Y geschaltet.
  • U_R3 ist parallel zum Widerstand R3 geschaltet.
  • Die Widerstände R2 und R3 werden besonders vorteilhaft an den Wert des Überschattwiderstandes R des Lastumschalters angepasst.
  • Auf vorteilhafte Weise wird als gemeinsame Spannungsmesseinrichtung ein 2-Kanal-Speicher als Oszilloskop verwendet.
  • Es ist weiterhin vorteilhaft, diesen Speicher-Oszilloskop noch eine separate Auswerteeinrichtung, beispielsweise zum Soll-/Ist-Vergleich der ermittelten Schaltsequenz nachzuschalten.
  • Figur 3 zeigt die Schaltsequenz des bekannten Laststufenschalters, die durch das erfindungsgemäße Verfahren und mittels der erfindungsgemäßen Messschaltung gemessen bzw. überprüft werden soll. Zu sehen ist die Schaltsequenz bei einer Umschaltung von der Stufe n auf die benachbarte Stufe n+1 - d. h. einer vollständigen Lastumschaltung. Für das ordnungsgemäße Funktionieren des Laststufenschalters ist es zwingend erforderlich, dass sowohl die mechanischen Schaltelemente MTF, TTF als auch die Vakuumschaltzellen MSV, TTV genau in der vorgesehen zeitlichen Reihenfolge, d. h. der Sequenz der Zeitpunkte t1...t8, öffnen bzw. schließen. Dies kann durch die Erfindung überprüft werden.
  • Figur 4 zeigt ein real aufgenommenes Oszillogramm der mittels der beiden Messeinrichtungen U_R und U_R3 aufgenommenen Messspannungen bei einer realen Lastumschaltung. Es ist hier gezeigt, wie die einzelnen Spannungsflanken der aufgezeichneten Spannungsverläufe den einzelnen Zeitpunkten t1... t8 der Schaltsequenz zugeordnet werden.
  • Aus dieser Zuordnung ergibt sich die darunter dargestellte, real ermittelte Schaltsequenz in Balkendarstellung. Es ist zu sehen, dass in diesem Fall besonders die Schaltzeitpunkte der Schaltelemente TTF und TTV vom in Figur 3 dargestellten Soll-Verlauf abweichen.
  • Aus dieser Abweichung des Ist-Verlaufes der Umschaltsequenz vom vorab nichtflüchtig gespeicherten Soll-Verlauf der Schaltsequenz lassen sich wertvolle Rückschlüsse auf den Betriebszustand des aktuell untersuchten Laststufenschalters ziehen.
  • Figur 5 zeigt noch einmal in schematischer Darstellung das vollständige erfindungsgemäße Verfahren. Es beginnt mit der nichtflüchtigen Speicherung der schalterspezifischen Reihenfolge der Schaltsequenz des jeweils zu überprüfenden Stufenschalters, d.h. einer Schaltsequenz, bei der die Schaltzeiten schalterspezifischen Sollwerten entsprechen. Es endet mit dem Vergleich, d. h. der Zuordnung der einzelnen Zeitpunkte der tatsächlich gemessenen Schaltsequenz mit diesen vorab gespeicherten Sollwerten.
  • Zum erfindungsgemäßen Verfahren im Einzelnen:
    • Zunächst erfolgt eine nichtflüchtige Speicherung der schaltspezifischen zeitlichen Reihenfolge der Schaltsequenz, d. h. der nacheinander bei einer Umschaltung des Lastumschalters öffnenden und schließenden mechanischen Schaltkontakte (MTF; TTF) und der Vakuumschaltzellen (MSV; TTV),
    • nachfolgend wird eine Umschaltung des Lastumschalters durchgeführt,
    • der Verlauf einer ersten, vor der Umschaltung angelegten Messspannung (U_R) zwischen der zweiten Vakuumschaltzelle (TTV) und dem in Reihe dazu geschalteten Überschaltwiderstand (R) einerseits und der Lastableitung (Y) andererseits während der Lastumschaltung wird gemessen,
    • der Verlauf einer zweiten, ebenfalls vor der Umschaltung angelegten Messspannung (U_R3) über einen parallel zur zweiten Vakuumschaltzelle (TTV) ständig oder zeitweise eingeschleiften Messwiderstand (R3) während der Lastumschaltung wird gemessen, d.h. der konkrete zeitliche Verlauf der ersten und der zweiten anliegenden bzw. abfallenden Spannung (Flanken) wird erfasst,
    • die Zeitpunkte (t1... t8) des Auftretens von Flanken am Verlauf der erfassten beiden Messspannungen (U_R; U_R3) werden erfasst,
    • schließlich erfolgt eine Zuordnung der erfassten tatsächlichen Zeitpunkte (t1 ...t8) zur vorab gespeicherten schalterspezifischen Reihenfolge der Soll-Schaltsequenz erfolgt, d. h. die Ist-Werte der Zeitpunkte (t1...t8) werden mit den stufenschalterspezifischen Soll-Zeitpunkten verglichen und Abweichungen erfasst und signalisiert.

Claims (5)

  1. Verfahren zur Schaltzeitmessung an einem Laststufenschalter, der einen Wähler zur leistungslosen Vorwahl einer Wicklungsanzapfung (n+1) und einen Lastumschalter zur eigentlichen Umschaltung von der bisherigen Wicklungsanzapfung (n) auf die vorgewählte Wicklungsanzapfung (n+1) besitzt,
    wobei der Lastumschalter einen ersten mechanischen Schaltkontakt (MTF) und einen zweiten mechanischen Schaltkontakt (TTF) aufweist, durch die wahlweise jede der beiden Wicklungsanzapfungen (n; n+1) direkt über einen ersten Zweig mit einer ersten Vakuumschaltzelle (MSV) oder einem zweiten Zweig mit einer Reihenschaltung aus einer zweiten Vakuumschaltzelle (TTV) und einem Überschaltwiderstand (R) mit einer Lastableitung (Y) verbindbar ist,
    dadurch gekennzeichnet,
    dass zunächst eine nichtflüchtige Speicherung der schaltspezifischen zeitlichen Reihenfolge der Schaltsequenz, d. h. der nacheinander bei einer Umschaltung des Lastumschalters öffnenden und schließenden mechanischen Schaltkontakte (MTF; TTF) und der Vakuumschaltzellen (MSV; TTV) erfolgt,
    dass nachfolgend eine Umschaltung des Lastumschalters durchgeführt wird,
    dass der Verlauf einer ersten angelegten Messspannung (U_R) zwischen der zweiten Vakuumschaltzelle (TTV) und dem in Reihe dazu geschalteten Überschaltwiderstand (R) einerseits und der Lastableitung (Y) andererseits während der Lastumschaltung gemessen wird, dass weiterhin der Verlauf einer zweiten angelegten Messspannung (U_R3) über einen parallel zur zweiten Vakuumschaltzelle (TTV) eingeschleiften Messwiderstand (R3) während der Lastumschaltung gemessen wird,
    dass nachfolgend die Zeitpunkte (t1... t8) des Auftretens von Flanken am Verlauf der erfassten beiden Messspannungen (U_R; U_R3) erfasst werden
    und dass schließlich eine Zuordnung der erfassten Zeitpunkte (t1...t8) zur vorab gespeicherten schalterspezifischen Reihenfolge der Schaltsequenz erfolgt, d. h. die Ist-Werte der Zeitpunkte (t1...t8) mit deren Soll-Werten verglichen und Abweichungen erfasst werden.
  2. Verfahren zur Schaltzeitmessung nach Anspruch 1,
    dadurch gekennzeichnet,
    dass zur Erzeugung der beiden Messspannungen (U_R; U_R3) zwei separate Gleichspannungsquellen (U1, U2) verwendet werden.
  3. Messschaltung zur Schaltzeitmessung an einem Laststufenschalter, der einen Wähler zur leistungslosen Vorwahl einer Wicklungsanzapfung (n+1) und einen Lastumschalter zur eigentlichen Umschaltung von der bisherigen Wicklungsanzapfung (n) auf die vorgewählte Wicklungsanzapfung (n+1) besitzt,
    wobei der Lastumschalter einen ersten mechanischen Schaltkontakt (MTF) und einen zweiten mechanischen Schaltkontakt (TTF) aufweist, durch die wahlweise jede der beiden Wicklungsanzapfungen (n; n+1) direkt über einen ersten Zweig mit einer ersten Vakuumschaltzelle (MSV) oder einem zweiten Zweig mit einer Reihenschaltung aus einer zweiten Vakuumschaltzelle (TTV) und einem Überschaltwiderstand (R) mit einer Lastableitung (Y) verbindbar ist,
    dadurch gekennzeichnet,
    dass die Messschaltung vier Anschlusspunkte (C, D, E, Y) sowie drei separate Widerstände (R2, R3, R4) aufweist,
    dass der erste Anschlusspunkte (C) über einen ersten Widerstand (R2) zu einer ersten Spannungsquelle (U1), weiterhin über eine Reihenschaltung von einem zweiten und einem dritten Widerstand (R3, R4) zu einer zweiten Spannungsquelle (U2) führt,
    dass der zweite Anschlusspunkt (D) zur anderen Seite der zweiten Spannungsquelle (U2) führt, dass der dritte Anschlusspunkte (E) elektrisch zwischen die Reihenschaltung des zweiten und dritten Widerstandes (R3, R4) führt,
    dass der vierte Anschlusspunkte (Y) mit der anderen Seite der ersten Spannungsquelle (U1) verbunden ist,
    dass zwischen drittem und viertem Anschlusspunkt (E; Y) eine erste Messeinrichtung zur Spannungsmessung (U_R) vorgesehen ist
    und dass parallel zum zweiten Widerstand (R3) eine zweite Messeinrichtung zur Messung einer weiteren Spannung (U_R3) vorgesehen ist.
  4. Messschaltung nach Anspruch 3
    dadurch gekennzeichnet,
    dass die beiden Spannungsquellen (U1, U2) Gleichspannungsquellen sind.
  5. Messschaltung nach Anspruch 3 oder 4,
    dadurch gekennzeichnet,
    dass beide Messeinrichtungen als kombinierter Zwei-Kanal-Speicher als Oszilloskop ausgebildet sind.
EP10800700.6A 2010-01-16 2010-12-11 Verfahren zur schaltzeitmessung an einem laststufenschalter und schaltung zur schaltzeitmessung Not-in-force EP2524385B1 (de)

Applications Claiming Priority (2)

Application Number Priority Date Filing Date Title
DE102010004784 2010-01-16
PCT/EP2010/007562 WO2011085763A1 (de) 2010-01-16 2010-12-11 Verfahren zur schaltzeitmessung an einem laststufenschalter und schaltung zur schaltzeitmessung

Publications (2)

Publication Number Publication Date
EP2524385A1 EP2524385A1 (de) 2012-11-21
EP2524385B1 true EP2524385B1 (de) 2013-10-23

Family

ID=43759908

Family Applications (1)

Application Number Title Priority Date Filing Date
EP10800700.6A Not-in-force EP2524385B1 (de) 2010-01-16 2010-12-11 Verfahren zur schaltzeitmessung an einem laststufenschalter und schaltung zur schaltzeitmessung

Country Status (3)

Country Link
EP (1) EP2524385B1 (de)
ES (1) ES2443155T3 (de)
WO (1) WO2011085763A1 (de)

Cited By (1)

* Cited by examiner, † Cited by third party
Publication number Priority date Publication date Assignee Title
WO2016001150A1 (de) * 2014-07-02 2016-01-07 Omicron Electronics Gmbh Verfahren und vorrichtung zum prüfen eines stufenschalters eines transformators

Families Citing this family (9)

* Cited by examiner, † Cited by third party
Publication number Priority date Publication date Assignee Title
AT516005B1 (de) * 2014-07-02 2016-11-15 Omicron Electronics Gmbh Verfahren und Vorrichtung zum Prüfen eines Stufenschalters eines Transformators
AT515960B1 (de) * 2014-07-02 2016-08-15 Omicron Electronics Gmbh Verfahren und Vorrichtung zum Prüfen eines Stufenschalters eines Transformators
CN108957308B (zh) * 2018-08-01 2021-03-16 河北科技师范学院 一种有载分接开关本体及切换参数离线测量方法及测量系统
DE102018119163A1 (de) * 2018-08-07 2020-02-13 Maschinenfabrik Reinhausen Gmbh Laststufenschalter zur unterbrechungslosen umschaltung zwischen wicklungsanzapfungen eines stufentransformators sowie stufentransformator
CN112630644B (zh) * 2020-12-15 2023-03-14 中国电力科学研究院有限公司 一种基于光电信号对有载分接开关切换程序进行在线监测的方法及系统
CN113113261B (zh) * 2021-03-19 2022-09-27 北京航天控制仪器研究所 一种真空有载分接开关双真空管往复式过渡电路及其切换控制方法
CN113985270B (zh) * 2021-11-02 2022-05-27 广东电网有限责任公司 一种有载分接开关切换时序检测方法、系统和介质
DE102022106774A1 (de) * 2022-03-23 2023-09-28 Maschinenfabrik Reinhausen Gmbh Zustandsanalyse eines laststufenschalters
CN117434437B (zh) * 2023-12-14 2024-03-15 清华四川能源互联网研究院 变压器有载分接开关切换程序解析方法

Family Cites Families (4)

* Cited by examiner, † Cited by third party
Publication number Priority date Publication date Assignee Title
DE19530776C1 (de) * 1995-08-22 1996-12-12 Reinhausen Maschf Scheubeck Verfahren zur Überwachung eines Lastumschalters für einen Stufenschalter
DE10352580B3 (de) * 2003-11-11 2005-04-28 Reinhausen Maschf Scheubeck Verfahren zur Überwachung des Kontaktabbrandes bei Stufenschaltern
DE102004052316B3 (de) 2004-10-28 2005-12-01 Maschinenfabrik Reinhausen Gmbh Verfahren zur Schaltzeitmessung an einem Laststufenschalter und Schaltung zur Schaltzeitmessung
DE102005048308B3 (de) 2005-10-08 2006-11-23 Maschinenfabrik Reinhausen Gmbh Mechanischer Schaltkontakt

Cited By (1)

* Cited by examiner, † Cited by third party
Publication number Priority date Publication date Assignee Title
WO2016001150A1 (de) * 2014-07-02 2016-01-07 Omicron Electronics Gmbh Verfahren und vorrichtung zum prüfen eines stufenschalters eines transformators

Also Published As

Publication number Publication date
EP2524385A1 (de) 2012-11-21
ES2443155T3 (es) 2014-02-18
WO2011085763A1 (de) 2011-07-21

Similar Documents

Publication Publication Date Title
EP2524385B1 (de) Verfahren zur schaltzeitmessung an einem laststufenschalter und schaltung zur schaltzeitmessung
DE102012107446B4 (de) Lastumschalter, Laststufenschalter und Verfahren zum Umschalten eines Laststufenschalters
DE102018119163A1 (de) Laststufenschalter zur unterbrechungslosen umschaltung zwischen wicklungsanzapfungen eines stufentransformators sowie stufentransformator
EP3164726B1 (de) Verfahren und vorrichtung zum prüfen eines stufenschalters eines transformators
AT515960B1 (de) Verfahren und Vorrichtung zum Prüfen eines Stufenschalters eines Transformators
DE102014106997A1 (de) Schaltanordnung für einen Stufentransformator sowie Verfahren zum Betreiben einer derartigen Schaltanordnung
EP3050067B1 (de) Stufenschalter
DE102020119344A1 (de) Laststufenschalter und verfahren zur betätigung eines laststufenschalters
DE102004052316B3 (de) Verfahren zur Schaltzeitmessung an einem Laststufenschalter und Schaltung zur Schaltzeitmessung
DE102014118715B3 (de) Verfahren zum Reinigen eines Laststufenschalters und Laststufenschalter
EP3164725B1 (de) Verfahren und vorrichtung zum prüfen eines stufenschalters eines transformators
DE962184C (de) Sicherheitsvorrichtung zum phasenrichtigen Anschliessen ortsbeweglicher Anlagen
DE467560C (de) Schalteinrichtung zum Umschalten der Anzapfungen eines Stufentransformators waehrenddes normalen, ununterbrochenen Betriebs durch Stufenschalter, Schaltwiderstand und Leistungsschalter
EP4226403B1 (de) Laststufenschalter und verfahren zur betätigung eines laststufenschalters
DE598245C (de) Einrichtung zur unterbrechungslosen Spannungsregelung unter Last mittels Stufentransformatoren
DE672501C (de) Stufentransformatoranordnung zur Speisung eines oder mehrerer Motoren
DE697965C (de) Verfahren zur Strommessung in je einem von mehreren parallelen, an einen gemeinsamen Verbraucher gefuehrten Stromkreisen verschiedener Nennstromstaerke
DE1513994A1 (de) Regeleinrichtung fuer Stufentransformatoren
DE2451011C2 (de) Hochspannungs-Leistungsschalter mit Ein- und Ausschaltwiderständen
DE659353C (de) Schalter fuer Zaehlereichstationen
DE735371C (de) Einrichtung zum Betriebe mehrerer Roentgenroehren mit selbsttaetiger Einstellung des Roehrenstromes in Abhaengigkeit von der Roehrenspannung und der Belastungszeit
DE916546C (de) Hochspannungstransformator mit angezapfter Hochspannungswicklung, insbesondere fuer Roentgenanlagen
DE643273C (de) Einrichtung zur UEberwachung des Betriebes gittergesteuerter Gleichrichter
DE380251C (de) Anordnung zur Beschraenkung des Stoerungsgebietes in Leitungsnetzen mit mehr als zwei parallelen Zweigen
DE405201C (de) Verfahren zum selbsttaetigen Messen, Anzeigen und Aufzeichnen des Wirkungsgrades von elektrischen Kraftwerken

Legal Events

Date Code Title Description
PUAI Public reference made under article 153(3) epc to a published international application that has entered the european phase

Free format text: ORIGINAL CODE: 0009012

17P Request for examination filed

Effective date: 20120816

AK Designated contracting states

Kind code of ref document: A1

Designated state(s): AL AT BE BG CH CY CZ DE DK EE ES FI FR GB GR HR HU IE IS IT LI LT LU LV MC MK MT NL NO PL PT RO RS SE SI SK SM TR

DAX Request for extension of the european patent (deleted)
GRAP Despatch of communication of intention to grant a patent

Free format text: ORIGINAL CODE: EPIDOSNIGR1

INTG Intention to grant announced

Effective date: 20130702

GRAS Grant fee paid

Free format text: ORIGINAL CODE: EPIDOSNIGR3

GRAA (expected) grant

Free format text: ORIGINAL CODE: 0009210

AK Designated contracting states

Kind code of ref document: B1

Designated state(s): AL AT BE BG CH CY CZ DE DK EE ES FI FR GB GR HR HU IE IS IT LI LT LU LV MC MK MT NL NO PL PT RO RS SE SI SK SM TR

REG Reference to a national code

Ref country code: GB

Ref legal event code: FG4D

Free format text: NOT ENGLISH

REG Reference to a national code

Ref country code: CH

Ref legal event code: EP

REG Reference to a national code

Ref country code: AT

Ref legal event code: REF

Ref document number: 637969

Country of ref document: AT

Kind code of ref document: T

Effective date: 20131115

REG Reference to a national code

Ref country code: IE

Ref legal event code: FG4D

Free format text: LANGUAGE OF EP DOCUMENT: GERMAN

REG Reference to a national code

Ref country code: DE

Ref legal event code: R096

Ref document number: 502010005199

Country of ref document: DE

Effective date: 20131219

REG Reference to a national code

Ref country code: ES

Ref legal event code: FG2A

Ref document number: 2443155

Country of ref document: ES

Kind code of ref document: T3

Effective date: 20140218

REG Reference to a national code

Ref country code: NL

Ref legal event code: VDEP

Effective date: 20131023

REG Reference to a national code

Ref country code: LT

Ref legal event code: MG4D

PG25 Lapsed in a contracting state [announced via postgrant information from national office to epo]

Ref country code: LT

Free format text: LAPSE BECAUSE OF FAILURE TO SUBMIT A TRANSLATION OF THE DESCRIPTION OR TO PAY THE FEE WITHIN THE PRESCRIBED TIME-LIMIT

Effective date: 20131023

Ref country code: HR

Free format text: LAPSE BECAUSE OF FAILURE TO SUBMIT A TRANSLATION OF THE DESCRIPTION OR TO PAY THE FEE WITHIN THE PRESCRIBED TIME-LIMIT

Effective date: 20131023

Ref country code: NO

Free format text: LAPSE BECAUSE OF FAILURE TO SUBMIT A TRANSLATION OF THE DESCRIPTION OR TO PAY THE FEE WITHIN THE PRESCRIBED TIME-LIMIT

Effective date: 20140123

Ref country code: FI

Free format text: LAPSE BECAUSE OF FAILURE TO SUBMIT A TRANSLATION OF THE DESCRIPTION OR TO PAY THE FEE WITHIN THE PRESCRIBED TIME-LIMIT

Effective date: 20131023

Ref country code: NL

Free format text: LAPSE BECAUSE OF FAILURE TO SUBMIT A TRANSLATION OF THE DESCRIPTION OR TO PAY THE FEE WITHIN THE PRESCRIBED TIME-LIMIT

Effective date: 20131023

Ref country code: SE

Free format text: LAPSE BECAUSE OF FAILURE TO SUBMIT A TRANSLATION OF THE DESCRIPTION OR TO PAY THE FEE WITHIN THE PRESCRIBED TIME-LIMIT

Effective date: 20131023

Ref country code: IS

Free format text: LAPSE BECAUSE OF FAILURE TO SUBMIT A TRANSLATION OF THE DESCRIPTION OR TO PAY THE FEE WITHIN THE PRESCRIBED TIME-LIMIT

Effective date: 20140223

PG25 Lapsed in a contracting state [announced via postgrant information from national office to epo]

Ref country code: RS

Free format text: LAPSE BECAUSE OF FAILURE TO SUBMIT A TRANSLATION OF THE DESCRIPTION OR TO PAY THE FEE WITHIN THE PRESCRIBED TIME-LIMIT

Effective date: 20131023

Ref country code: CY

Free format text: LAPSE BECAUSE OF FAILURE TO SUBMIT A TRANSLATION OF THE DESCRIPTION OR TO PAY THE FEE WITHIN THE PRESCRIBED TIME-LIMIT

Effective date: 20131023

Ref country code: LV

Free format text: LAPSE BECAUSE OF FAILURE TO SUBMIT A TRANSLATION OF THE DESCRIPTION OR TO PAY THE FEE WITHIN THE PRESCRIBED TIME-LIMIT

Effective date: 20131023

BERE Be: lapsed

Owner name: MASCHINENFABRIK REINHAUSEN G.M.B.H.

Effective date: 20131231

PG25 Lapsed in a contracting state [announced via postgrant information from national office to epo]

Ref country code: PT

Free format text: LAPSE BECAUSE OF FAILURE TO SUBMIT A TRANSLATION OF THE DESCRIPTION OR TO PAY THE FEE WITHIN THE PRESCRIBED TIME-LIMIT

Effective date: 20140224

REG Reference to a national code

Ref country code: DE

Ref legal event code: R097

Ref document number: 502010005199

Country of ref document: DE

PG25 Lapsed in a contracting state [announced via postgrant information from national office to epo]

Ref country code: EE

Free format text: LAPSE BECAUSE OF FAILURE TO SUBMIT A TRANSLATION OF THE DESCRIPTION OR TO PAY THE FEE WITHIN THE PRESCRIBED TIME-LIMIT

Effective date: 20131023

PG25 Lapsed in a contracting state [announced via postgrant information from national office to epo]

Ref country code: SK

Free format text: LAPSE BECAUSE OF FAILURE TO SUBMIT A TRANSLATION OF THE DESCRIPTION OR TO PAY THE FEE WITHIN THE PRESCRIBED TIME-LIMIT

Effective date: 20131023

Ref country code: RO

Free format text: LAPSE BECAUSE OF FAILURE TO SUBMIT A TRANSLATION OF THE DESCRIPTION OR TO PAY THE FEE WITHIN THE PRESCRIBED TIME-LIMIT

Effective date: 20131023

Ref country code: PL

Free format text: LAPSE BECAUSE OF FAILURE TO SUBMIT A TRANSLATION OF THE DESCRIPTION OR TO PAY THE FEE WITHIN THE PRESCRIBED TIME-LIMIT

Effective date: 20131023

Ref country code: CZ

Free format text: LAPSE BECAUSE OF FAILURE TO SUBMIT A TRANSLATION OF THE DESCRIPTION OR TO PAY THE FEE WITHIN THE PRESCRIBED TIME-LIMIT

Effective date: 20131023

Ref country code: LU

Free format text: LAPSE BECAUSE OF FAILURE TO SUBMIT A TRANSLATION OF THE DESCRIPTION OR TO PAY THE FEE WITHIN THE PRESCRIBED TIME-LIMIT

Effective date: 20131211

PLBE No opposition filed within time limit

Free format text: ORIGINAL CODE: 0009261

STAA Information on the status of an ep patent application or granted ep patent

Free format text: STATUS: NO OPPOSITION FILED WITHIN TIME LIMIT

REG Reference to a national code

Ref country code: IE

Ref legal event code: MM4A

PG25 Lapsed in a contracting state [announced via postgrant information from national office to epo]

Ref country code: DK

Free format text: LAPSE BECAUSE OF FAILURE TO SUBMIT A TRANSLATION OF THE DESCRIPTION OR TO PAY THE FEE WITHIN THE PRESCRIBED TIME-LIMIT

Effective date: 20131023

26N No opposition filed

Effective date: 20140724

PG25 Lapsed in a contracting state [announced via postgrant information from national office to epo]

Ref country code: BE

Free format text: LAPSE BECAUSE OF NON-PAYMENT OF DUE FEES

Effective date: 20131231

Ref country code: IE

Free format text: LAPSE BECAUSE OF NON-PAYMENT OF DUE FEES

Effective date: 20131211

REG Reference to a national code

Ref country code: DE

Ref legal event code: R097

Ref document number: 502010005199

Country of ref document: DE

Effective date: 20140724

PG25 Lapsed in a contracting state [announced via postgrant information from national office to epo]

Ref country code: SI

Free format text: LAPSE BECAUSE OF FAILURE TO SUBMIT A TRANSLATION OF THE DESCRIPTION OR TO PAY THE FEE WITHIN THE PRESCRIBED TIME-LIMIT

Effective date: 20131023

PG25 Lapsed in a contracting state [announced via postgrant information from national office to epo]

Ref country code: MC

Free format text: LAPSE BECAUSE OF FAILURE TO SUBMIT A TRANSLATION OF THE DESCRIPTION OR TO PAY THE FEE WITHIN THE PRESCRIBED TIME-LIMIT

Effective date: 20131023

PG25 Lapsed in a contracting state [announced via postgrant information from national office to epo]

Ref country code: SM

Free format text: LAPSE BECAUSE OF FAILURE TO SUBMIT A TRANSLATION OF THE DESCRIPTION OR TO PAY THE FEE WITHIN THE PRESCRIBED TIME-LIMIT

Effective date: 20131023

PG25 Lapsed in a contracting state [announced via postgrant information from national office to epo]

Ref country code: MK

Free format text: LAPSE BECAUSE OF FAILURE TO SUBMIT A TRANSLATION OF THE DESCRIPTION OR TO PAY THE FEE WITHIN THE PRESCRIBED TIME-LIMIT

Effective date: 20131023

Ref country code: HU

Free format text: LAPSE BECAUSE OF FAILURE TO SUBMIT A TRANSLATION OF THE DESCRIPTION OR TO PAY THE FEE WITHIN THE PRESCRIBED TIME-LIMIT; INVALID AB INITIO

Effective date: 20101211

Ref country code: BG

Free format text: LAPSE BECAUSE OF FAILURE TO SUBMIT A TRANSLATION OF THE DESCRIPTION OR TO PAY THE FEE WITHIN THE PRESCRIBED TIME-LIMIT

Effective date: 20131023

REG Reference to a national code

Ref country code: CH

Ref legal event code: PL

PG25 Lapsed in a contracting state [announced via postgrant information from national office to epo]

Ref country code: GR

Free format text: LAPSE BECAUSE OF NON-PAYMENT OF DUE FEES

Effective date: 20131023

Ref country code: MT

Free format text: LAPSE BECAUSE OF FAILURE TO SUBMIT A TRANSLATION OF THE DESCRIPTION OR TO PAY THE FEE WITHIN THE PRESCRIBED TIME-LIMIT

Effective date: 20131023

PG25 Lapsed in a contracting state [announced via postgrant information from national office to epo]

Ref country code: LI

Free format text: LAPSE BECAUSE OF NON-PAYMENT OF DUE FEES

Effective date: 20141231

Ref country code: CH

Free format text: LAPSE BECAUSE OF NON-PAYMENT OF DUE FEES

Effective date: 20141231

REG Reference to a national code

Ref country code: FR

Ref legal event code: PLFP

Year of fee payment: 6

PGFP Annual fee paid to national office [announced via postgrant information from national office to epo]

Ref country code: DE

Payment date: 20151209

Year of fee payment: 6

Ref country code: GB

Payment date: 20151221

Year of fee payment: 6

PGFP Annual fee paid to national office [announced via postgrant information from national office to epo]

Ref country code: ES

Payment date: 20151218

Year of fee payment: 6

Ref country code: FR

Payment date: 20151218

Year of fee payment: 6

Ref country code: AT

Payment date: 20151217

Year of fee payment: 6

PG25 Lapsed in a contracting state [announced via postgrant information from national office to epo]

Ref country code: GR

Free format text: LAPSE BECAUSE OF FAILURE TO SUBMIT A TRANSLATION OF THE DESCRIPTION OR TO PAY THE FEE WITHIN THE PRESCRIBED TIME-LIMIT

Effective date: 20140124

PGFP Annual fee paid to national office [announced via postgrant information from national office to epo]

Ref country code: IT

Payment date: 20151222

Year of fee payment: 6

REG Reference to a national code

Ref country code: DE

Ref legal event code: R119

Ref document number: 502010005199

Country of ref document: DE

REG Reference to a national code

Ref country code: AT

Ref legal event code: MM01

Ref document number: 637969

Country of ref document: AT

Kind code of ref document: T

Effective date: 20161211

GBPC Gb: european patent ceased through non-payment of renewal fee

Effective date: 20161211

REG Reference to a national code

Ref country code: FR

Ref legal event code: ST

Effective date: 20170831

PG25 Lapsed in a contracting state [announced via postgrant information from national office to epo]

Ref country code: IT

Free format text: LAPSE BECAUSE OF NON-PAYMENT OF DUE FEES

Effective date: 20161211

Ref country code: FR

Free format text: LAPSE BECAUSE OF NON-PAYMENT OF DUE FEES

Effective date: 20170102

Ref country code: AT

Free format text: LAPSE BECAUSE OF NON-PAYMENT OF DUE FEES

Effective date: 20161211

PG25 Lapsed in a contracting state [announced via postgrant information from national office to epo]

Ref country code: GB

Free format text: LAPSE BECAUSE OF NON-PAYMENT OF DUE FEES

Effective date: 20161211

Ref country code: DE

Free format text: LAPSE BECAUSE OF NON-PAYMENT OF DUE FEES

Effective date: 20170701

PG25 Lapsed in a contracting state [announced via postgrant information from national office to epo]

Ref country code: ES

Free format text: LAPSE BECAUSE OF NON-PAYMENT OF DUE FEES

Effective date: 20161212

PG25 Lapsed in a contracting state [announced via postgrant information from national office to epo]

Ref country code: AL

Free format text: LAPSE BECAUSE OF FAILURE TO SUBMIT A TRANSLATION OF THE DESCRIPTION OR TO PAY THE FEE WITHIN THE PRESCRIBED TIME-LIMIT

Effective date: 20131023

REG Reference to a national code

Ref country code: ES

Ref legal event code: FD2A

Effective date: 20181107

PG25 Lapsed in a contracting state [announced via postgrant information from national office to epo]

Ref country code: TR

Free format text: LAPSE BECAUSE OF FAILURE TO SUBMIT A TRANSLATION OF THE DESCRIPTION OR TO PAY THE FEE WITHIN THE PRESCRIBED TIME-LIMIT

Effective date: 20131023