EP2375475B1 - Wiederaufladbare Batterie - Google Patents

Wiederaufladbare Batterie Download PDF

Info

Publication number
EP2375475B1
EP2375475B1 EP11152639A EP11152639A EP2375475B1 EP 2375475 B1 EP2375475 B1 EP 2375475B1 EP 11152639 A EP11152639 A EP 11152639A EP 11152639 A EP11152639 A EP 11152639A EP 2375475 B1 EP2375475 B1 EP 2375475B1
Authority
EP
European Patent Office
Prior art keywords
case
retainer
lead tab
buffer
rechargeable battery
Prior art date
Legal status (The legal status is an assumption and is not a legal conclusion. Google has not performed a legal analysis and makes no representation as to the accuracy of the status listed.)
Active
Application number
EP11152639A
Other languages
English (en)
French (fr)
Other versions
EP2375475A1 (de
Inventor
Sung-Bae Kim
Yong-Sam Kim
Sang-Won Byun
Current Assignee (The listed assignees may be inaccurate. Google has not performed a legal analysis and makes no representation or warranty as to the accuracy of the list.)
SB LiMotive Co Ltd
Original Assignee
SB LiMotive Co Ltd
Priority date (The priority date is an assumption and is not a legal conclusion. Google has not performed a legal analysis and makes no representation as to the accuracy of the date listed.)
Filing date
Publication date
Application filed by SB LiMotive Co Ltd filed Critical SB LiMotive Co Ltd
Publication of EP2375475A1 publication Critical patent/EP2375475A1/de
Application granted granted Critical
Publication of EP2375475B1 publication Critical patent/EP2375475B1/de
Active legal-status Critical Current
Anticipated expiration legal-status Critical

Links

Images

Classifications

    • HELECTRICITY
    • H01ELECTRIC ELEMENTS
    • H01MPROCESSES OR MEANS, e.g. BATTERIES, FOR THE DIRECT CONVERSION OF CHEMICAL ENERGY INTO ELECTRICAL ENERGY
    • H01M50/00Constructional details or processes of manufacture of the non-active parts of electrochemical cells other than fuel cells, e.g. hybrid cells
    • H01M50/20Mountings; Secondary casings or frames; Racks, modules or packs; Suspension devices; Shock absorbers; Transport or carrying devices; Holders
    • HELECTRICITY
    • H01ELECTRIC ELEMENTS
    • H01MPROCESSES OR MEANS, e.g. BATTERIES, FOR THE DIRECT CONVERSION OF CHEMICAL ENERGY INTO ELECTRICAL ENERGY
    • H01M10/00Secondary cells; Manufacture thereof
    • H01M10/05Accumulators with non-aqueous electrolyte
    • H01M10/052Li-accumulators
    • HELECTRICITY
    • H01ELECTRIC ELEMENTS
    • H01MPROCESSES OR MEANS, e.g. BATTERIES, FOR THE DIRECT CONVERSION OF CHEMICAL ENERGY INTO ELECTRICAL ENERGY
    • H01M10/00Secondary cells; Manufacture thereof
    • H01M10/05Accumulators with non-aqueous electrolyte
    • H01M10/058Construction or manufacture
    • H01M10/0587Construction or manufacture of accumulators having only wound construction elements, i.e. wound positive electrodes, wound negative electrodes and wound separators
    • HELECTRICITY
    • H01ELECTRIC ELEMENTS
    • H01MPROCESSES OR MEANS, e.g. BATTERIES, FOR THE DIRECT CONVERSION OF CHEMICAL ENERGY INTO ELECTRICAL ENERGY
    • H01M50/00Constructional details or processes of manufacture of the non-active parts of electrochemical cells other than fuel cells, e.g. hybrid cells
    • H01M50/50Current conducting connections for cells or batteries
    • H01M50/543Terminals
    • HELECTRICITY
    • H01ELECTRIC ELEMENTS
    • H01MPROCESSES OR MEANS, e.g. BATTERIES, FOR THE DIRECT CONVERSION OF CHEMICAL ENERGY INTO ELECTRICAL ENERGY
    • H01M50/00Constructional details or processes of manufacture of the non-active parts of electrochemical cells other than fuel cells, e.g. hybrid cells
    • H01M50/50Current conducting connections for cells or batteries
    • H01M50/572Means for preventing undesired use or discharge
    • H01M50/574Devices or arrangements for the interruption of current
    • H01M50/579Devices or arrangements for the interruption of current in response to shock
    • HELECTRICITY
    • H01ELECTRIC ELEMENTS
    • H01MPROCESSES OR MEANS, e.g. BATTERIES, FOR THE DIRECT CONVERSION OF CHEMICAL ENERGY INTO ELECTRICAL ENERGY
    • H01M50/00Constructional details or processes of manufacture of the non-active parts of electrochemical cells other than fuel cells, e.g. hybrid cells
    • H01M50/10Primary casings; Jackets or wrappings
    • H01M50/102Primary casings; Jackets or wrappings characterised by their shape or physical structure
    • H01M50/103Primary casings; Jackets or wrappings characterised by their shape or physical structure prismatic or rectangular
    • HELECTRICITY
    • H01ELECTRIC ELEMENTS
    • H01MPROCESSES OR MEANS, e.g. BATTERIES, FOR THE DIRECT CONVERSION OF CHEMICAL ENERGY INTO ELECTRICAL ENERGY
    • H01M50/00Constructional details or processes of manufacture of the non-active parts of electrochemical cells other than fuel cells, e.g. hybrid cells
    • H01M50/40Separators; Membranes; Diaphragms; Spacing elements inside cells
    • H01M50/463Separators, membranes or diaphragms characterised by their shape
    • H01M50/469Separators, membranes or diaphragms characterised by their shape tubular or cylindrical
    • HELECTRICITY
    • H01ELECTRIC ELEMENTS
    • H01MPROCESSES OR MEANS, e.g. BATTERIES, FOR THE DIRECT CONVERSION OF CHEMICAL ENERGY INTO ELECTRICAL ENERGY
    • H01M50/00Constructional details or processes of manufacture of the non-active parts of electrochemical cells other than fuel cells, e.g. hybrid cells
    • H01M50/50Current conducting connections for cells or batteries
    • H01M50/531Electrode connections inside a battery casing
    • H01M50/538Connection of several leads or tabs of wound or folded electrode stacks
    • HELECTRICITY
    • H01ELECTRIC ELEMENTS
    • H01MPROCESSES OR MEANS, e.g. BATTERIES, FOR THE DIRECT CONVERSION OF CHEMICAL ENERGY INTO ELECTRICAL ENERGY
    • H01M50/00Constructional details or processes of manufacture of the non-active parts of electrochemical cells other than fuel cells, e.g. hybrid cells
    • H01M50/50Current conducting connections for cells or batteries
    • H01M50/572Means for preventing undesired use or discharge
    • H01M50/584Means for preventing undesired use or discharge for preventing incorrect connections inside or outside the batteries
    • H01M50/586Means for preventing undesired use or discharge for preventing incorrect connections inside or outside the batteries inside the batteries, e.g. incorrect connections of electrodes
    • YGENERAL TAGGING OF NEW TECHNOLOGICAL DEVELOPMENTS; GENERAL TAGGING OF CROSS-SECTIONAL TECHNOLOGIES SPANNING OVER SEVERAL SECTIONS OF THE IPC; TECHNICAL SUBJECTS COVERED BY FORMER USPC CROSS-REFERENCE ART COLLECTIONS [XRACs] AND DIGESTS
    • Y02TECHNOLOGIES OR APPLICATIONS FOR MITIGATION OR ADAPTATION AGAINST CLIMATE CHANGE
    • Y02EREDUCTION OF GREENHOUSE GAS [GHG] EMISSIONS, RELATED TO ENERGY GENERATION, TRANSMISSION OR DISTRIBUTION
    • Y02E60/00Enabling technologies; Technologies with a potential or indirect contribution to GHG emissions mitigation
    • Y02E60/10Energy storage using batteries
    • YGENERAL TAGGING OF NEW TECHNOLOGICAL DEVELOPMENTS; GENERAL TAGGING OF CROSS-SECTIONAL TECHNOLOGIES SPANNING OVER SEVERAL SECTIONS OF THE IPC; TECHNICAL SUBJECTS COVERED BY FORMER USPC CROSS-REFERENCE ART COLLECTIONS [XRACs] AND DIGESTS
    • Y02TECHNOLOGIES OR APPLICATIONS FOR MITIGATION OR ADAPTATION AGAINST CLIMATE CHANGE
    • Y02PCLIMATE CHANGE MITIGATION TECHNOLOGIES IN THE PRODUCTION OR PROCESSING OF GOODS
    • Y02P70/00Climate change mitigation technologies in the production process for final industrial or consumer products
    • Y02P70/50Manufacturing or production processes characterised by the final manufactured product
    • YGENERAL TAGGING OF NEW TECHNOLOGICAL DEVELOPMENTS; GENERAL TAGGING OF CROSS-SECTIONAL TECHNOLOGIES SPANNING OVER SEVERAL SECTIONS OF THE IPC; TECHNICAL SUBJECTS COVERED BY FORMER USPC CROSS-REFERENCE ART COLLECTIONS [XRACs] AND DIGESTS
    • Y02TECHNOLOGIES OR APPLICATIONS FOR MITIGATION OR ADAPTATION AGAINST CLIMATE CHANGE
    • Y02TCLIMATE CHANGE MITIGATION TECHNOLOGIES RELATED TO TRANSPORTATION
    • Y02T10/00Road transport of goods or passengers
    • Y02T10/60Other road transportation technologies with climate change mitigation effect
    • Y02T10/70Energy storage systems for electromobility, e.g. batteries

Definitions

  • the present invention relates to a rechargeable battery for controlling a position of an electrode assembly in a case.
  • a rechargeable battery includes a jelly-roll-type electrode assembly having a separator and an anode and a cathode disposed at both sides of the separator, a case housing the electrode assembly, a cap plate sealing an opening of the case, an electrode terminal electrically connected to the electrode assembly and protruded outside the cap plate through a terminal hole formed on the cap plate, and a lead tab connecting the cathode and the anode of the electrode assembly to the electrode terminal, respectively.
  • the electrode assembly has an uncoated region connected to the lead tab, and it is inserted into the case through the opening. Therefore, there is a gap between the uncoated region of the electrode assembly and an inner wall of the case. The gap enables the electrode assembly to be freely inserted into the case, but it generates movement of the electrode assembly in the case after the insertion.
  • the present invention is defined in claim 1 and has been made in an effort to provide a rechargeable battery for improving vibration durability and electric insulating property of an electrode assembly by providing easy insertion of the electrode assembly and controlling a position of the electrode assembly in a case.
  • An exemplary embodiment of the present invention provides a rechargeable battery including: an electrode assembly formed by winding an anode and a cathode installed at both sides of a separator together with the separator; a case housing the electrode assembly; a cap plate closing and sealing an opening formed at an end of the case; an electrode terminal installed at a terminal hole of the cap plate and extended to the inside/outside of the case; a lead tab connecting the electrode terminal and the electrode assembly in the case; and a retainer interposed between the lead tab and the case and formed with an electric insulating material.
  • a further exemplary embodiment of the present invention provides a rechargeable battery comprising: at least one electrode assembly; a case accommodating the at least one electrode assembly, the case comprising a front surface, a rear surface and side surfaces; at least one electrode terminal being electrically connected to the at least one electrode assembly by at least one lead tab, wherein a retainer is joined to the at least one lead tab and disposed between the at least one lead tab and an inner wall of at least one of the front surface, the rear surface and the side surfaces of the case.
  • the retainer directly contacts both, the inner wall of at least one of the front surface, the rear surface and the side surfaces of the case and the at least one lead tab.
  • the retainer comprises an insulating material that electrically insulates the inner wall of the case from the lead tab.
  • the retainer is a monolithic unit formed of an insulating material.
  • the electrode assembly comprises an anode, a cathode and a separator disposed therebetween, each of the anode and the cathode comprising a current collecting part comprising a coated region in which an active material is coated on the current collecting part, and an uncoated region in which no active material is coated on the current collecting part, and further comprising a first electrode terminal and a second electrode terminal are provided, wherein the first electrode terminal is directly connected to a first lead tab, and the first lead tab is directly connected to the uncoated region of the anode, wherein the second electrode terminal is directly connected to a second lead tab, and the second lead tab is directly connected to the uncoated region of the cathode, and wherein a first retainer is interposed between the first lead tab and an inner wall of the case and a second retainer is interposed between the second lead tab and an inner wall of the case.
  • each of the at least one lead tab comprises a connector directly connected to the electrode terminal; a body connected to the connector and facing the end portion of the uncoated region of the electrode assembly; and a current collector connected to the body and welded to both sides of the uncoated region of the electrode assembly.
  • the retainer comprises a buffer attached to the body of the lead tab, a first hook connected to the buffer and hooked on the top of the body of the lead tab, and a second hook connected to the buffer and hooked on the bottom of the body of the lead tab.
  • the first hook is configured as a pair hooked on the top of the body of the lead tab at both bottom sides of the connector.
  • each of the at least one lead tab comprises a connector directly connected to the electrode terminal; a body formed as a current collector and connected to the connector and being welded at the end portion of the uncoated region of the electrode assembly; and an installing hole formed in the current collector.
  • the retainer comprises a buffer attached to the current collector of the lead tab, a first hook connected to the buffer and hooked on a side portion of the current collector, and a second hook connected to the buffer and hooked in the installing hole of the current collector.
  • the first hook is configured as a pair hooked on the current collector at both sides of the current collector.
  • a distance between opposite inner side walls of the case, which are in direct contact with the first retainer and the second retainer, respectively, is equal to the sum of the distances between a side portion of the uncoated region of the anode and a side portion of the uncoated region of the cathode, the thickness of the body of the first lead tab, the thickness of the body of the second lead tab, the thickness of the buffer of the first retainer and the thickness of the buffer of the second retainer.
  • a first thickness of the retainer along a first direction extending from a first side surface of the case to a second side surface of the case is equal to a gap between the at least one lead tab and an inner wall of one of the side surfaces of the case.
  • a second thickness of the retainer along a second direction extending from the front surface of the case to the rear surface of the case is equal to a gap between the at least one lead tab and an inner wall of one of the front surface and the rear surface of the case.
  • the rechargeable battery further comprises an additional buffer member formed of an elastic material between a buffer of each of the first and second retainer and the inside of the case, wherein a distance between opposite inner side walls of the case, which are in direct contact with the first retainer and the second retainer, respectively, is equal to the sum of the distances between a side portion of the uncoated region of the anode and a side portion of the uncoated region of the cathode, the thickness of the body of the first lead tab, the thickness of the body of the second lead tab, the thickness of the buffer of the first retainer and the thickness of the buffer of the second retainer, the thickness of the additional buffer member formed between the buffer of the first retainer the inside of the case and the thickness of the additional buffer member formed between the buffer of the second retainer the inside of the case.
  • an additional buffer member formed of an elastic material between a buffer of each of the first and second retainer and the inside of the case, wherein a distance between opposite inner side walls of the case, which are in direct contact with the first retainer and
  • the electric insulating material has an electrical conductivity (at 20°C) of less than 10 -4 S/m, more preferably less than 10 -5 S/m, more preferably less than 10 -6 S/m, more preferably less than 10 -7 S/m, more preferably less than 10 -8 S/m, more preferably less than 10 -9 S/m, more preferably less than 10 -10 S/m and still more preferably less than 10 -11 S/m.
  • the retainer is formed of a thermoplastic, but the invention is not limited thereto.
  • the retainer is formed of polypropylene, but the invention is not limited thereto.
  • the complete retainer is formed of polypropylene.
  • the retainer is monolithically formed as one piece. That is, retainer is an integrally formed component.
  • the hardness of the material used for the retainer ranges between 10% and 1000%, more preferably between 50% and 500% of the hardness of polypropylene.
  • the material of the additional buffer member may be different from the other material of the (monolithic) retainer. That is, preferably the retainer is monolithic except the additional buffer member. Preferably, the elasticity of the material of the additional buffer member is greater than the elasticity of the material of the (residual) retainer.
  • the position of the electrode assembly is fixed in the case without degrading easy insertion of the electrode assembly by providing a retainer of an electrical insulating material between the lead tab and the case. Therefore, durability to the vibration of the electrode assembly in the case is improved, and the electric insulating property between the case and the uncoated region is improved.
  • a further exemplary embodiment of the present invention provides a vehicle comprising the rechargeable battery according to at least one of the above-mentioned features.
  • FIG. 1 shows a perspective view of a rechargeable battery according to a first exemplary embodiment of the present invention.
  • FIG. 2 shows a cross-sectional view with respect to a II-II line in FIG. 1 .
  • FIG. 3 shows an exploded perspective view of a retainer, a lead tab, and an electrode assembly.
  • FIG. 4 shows a cross-sectional view with respect to a IV-IV line in FIG. 3 .
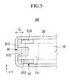
  • FIG. 5 shows a cross-sectional view with respect to a V-V line in FIG. 3 .
  • FIG. 6 shows an exploded perspective view of a retainer, a lead tab, and an electrode assembly in a rechargeable battery according to a second exemplary embodiment of the present invention.
  • FIG. 7 shows a cross-sectional view with respect to a VII-VII line in FIG. 6 .
  • FIG. 8 shows a cross-sectional view with respect to a VIII-VIII line in FIG. 6 .
  • FIG. 9 shows a cross-sectional view of a rechargeable battery according to a third exemplary embodiment of the present invention.
  • Fig. 10 shows a schematic diagram of a vehicle including a rechargeable battery according to an embodiment of the present invention.
  • FIG. 1 shows a perspective view of a rechargeable battery according to a first exemplary embodiment of the present invention
  • FIG. 2 shows a cross-sectional view with respect to a II-II line in FIG. 1
  • a rechargeable battery 100 includes a case 20 having an electrode assembly 10, a cap plate 30 closing and sealing an opening formed at one end of the case 20, electrode terminals 41 and 42 installed in terminal holes 311 and 312 of the cap plate 30, lead tabs 51 and 52 connecting the electrode terminals 41 and 42 to the electrode assembly 10, and retainers 61 and 62 interposed between the lead tabs 51 and 52 and an inner wall of the case 20.
  • the lead tabs 51 and 52 are first welded to the respective uncoated regions 111 and 121 while the electrode assembly 10 is positioned outside the case, then the retainers 61, 62 are assembled to the respective lead tabs 51 and 52 and then this assembly is inserted into the case 20.
  • the electrode assembly 10 includes a separator 13 that is an insulator, and an anode 11 and a cathode 12 disposed at both sides of the separator 13, and it is formed in the jelly roll form by winding the anode 11, the cathode 12, and the separator 13.
  • the anode 11 and the cathode 12 include a current collecting part made of thin plate metal foil, and an active material being coated on a surface of the current collecting part. Also, the anode 11 and the cathode 12 can be divided into a coated region in which an active material is coated on the current collecting part, and uncoated regions 111 and 121 without an active material coated on the current collecting part.
  • the coated region forms the major part of the anode 11 and the cathode 12 in the electrode assembly 10 (the major part preferably extends over more than 80%), and the uncoated regions 111 and 121 are disposed on both sides of the coated region in a jelly-roll state of the electrode assembly 10 where the anode 11, the cathode 12 and the separator 13 are formed in a jelly roll shape.
  • the electrode assembly 10 in the jelly roll state forms an area with a wide front and rear, and the ends of the uncoated regions 111 and 121 form a narrow and long area (refer to FIG. 3 ), wherein the electrode assembly 10 is substantially a hexahedron.
  • the case 20 forms the overall appearance of the rechargeable battery 100, and is formed of a conductive metal such as aluminum, an aluminum alloy, or nickel-plated steel.
  • the conductive metal has an electrical conductivity (at 20°C) of more than 10 4 S/m, more preferably more than 10 5 S/m, more preferably more than 10 6 S/m, more preferably more than 10 7 S/m and still more preferably more than 3*10 7 S/m.
  • the case 20 provides a space for housing the electrode assembly 10.
  • the case 20 can be configured to be a hexahedron having an opening at one end so as to house the electrode assembly 10 that is hexahedral.
  • the opening is oriented toward the top in the drawing.
  • the case has planar side surfaces.
  • the case has a cuboid shape.
  • the cap plate 30 is made of a thin plate, and is combined with the opening of the case 20 to close and seal the opening.
  • the cap plate 30 blocks the inside of the closed and sealed case 20 from the outside, and can also connect the inside and the outside if needed.
  • the cap plate 30 includes an electrolyte injection hole 32 through which an electrolyte is injected inside the closed and sealed case 20.
  • the electrolyte injection hole 32 is sealed by a sealing cap 33 after the electrolyte is injected.
  • the cap plate 30 has a vent hole 35, and has a vent plate 34 that is thinner than the cap plate 30 and welded in the vent hole 35.
  • the vent plate 34 is opened to discharge gas and prevent explosion of the rechargeable battery 100 when the internal pressure of the case 20 is increased to be greater than a predetermined value by gas that is generated by charging and discharging the electrode assembly 10.
  • the electrode terminals 41 and 42 are installed in the terminal holes 311 and 312 formed in the cap plate 30, and draw out the anode 11 and the cathode 12 of the electrode assembly 10.
  • the electrode terminals 41 and 42 are electrically insulated from the cap plate 30 since they are installed in the terminal holes 311 and 312 by providing external insulators 431 and 432 and internal insulators 441 and 442. Since the terminal holes 311 and 312, the internal insulators 441 and 442, and the external insulators 431 and 432 can be formed in a like configuration at the two electrode terminals 41 and 42, the end electrode terminal 41, the terminal hole 311, the internal insulator 441, and the external insulator 431 will be exemplarily described.
  • the external insulator 431 is partially inserted into the terminal hole 311 from the external side of the cap plate 30 to electrically insulate the electrode terminal 41 and the cap plate 30. That is, the external insulator 431 insulates the external side of the electrode terminal 41 and the external side of the cap plate 30, and simultaneously insulates the external side of the electrode terminal 41 and the internal side of the terminal hole 311.
  • the internal insulator 441 electrically insulates the cap plate 30 and the lead tab 51 corresponding to the terminal hole 311 inside the cap plate 30. That is, the internal insulator 441 insulates the top side of the lead tab 51 and the inside of the cap plate 30.
  • FIG. 3 shows an exploded perspective view of a retainer 61, a lead tab 51, and an electrode assembly 10.
  • the uncoated regions 111 and 121 and the retainers 61, 62 in the uncoated regions 111 and 121 are identically formed at the anode 11 and the cathode 12. Hence, only a part of the uncoated region 111 on the anode 11 is illustrated in Fig. 3 , and the uncoated region 111 on the anode 11 will be exemplified. Since the uncoated region 111 is continuously wound, the end of the uncoated region 111 forms lines that are gradually increased from the same center line.
  • the lines at the end of the uncoated region 111 form a straight line unit that are formed as straight lines in the z-axis direction and are overlapped (or stacked) in the y-axis direction, and an arc portion is formed as a semicircle or as a semi-oval at both ends of the straight line unit in the z-axis direction and is overlapped in the z-axis direction.
  • the lead tab 51 includes a connector 511 connected to the electrode terminal 41, a body 512 connected to the connector 511 and facing the end of the uncoated region 111 of the electrode assembly 10, and a current collector 513 connected to the body 512 and welded to both sides of the uncoated region 111.
  • the connector 511 can be connected to the electrode terminal 41 by a caulking process which is inserting one end of the electrode terminal 41 into a hole of the connector 511 and transforming the end of the electrode terminal 41, and is provided between the cap plate 30 and the electrode assembly 10.
  • the body 512 is connected to the connector 511 that is bent in the vertical direction from the horizontal direction to reach the end of the uncoated region 111, and is provided between the end of the uncoated region 111 and the case 20.
  • the current collector 513 is formed to be on a plane corresponding to the front surface and the rear surface of the uncoated region 111 so as to be attached and welded to the surface of the uncoated region 111, and is provided between the front surface and the rear surface of the uncoated region 111 and the case 20.
  • FIG. 4 shows a cross-sectional view with respect to a IV-IV line in FIG. 3
  • FIG. 5 shows a cross-sectional view with respect to a V-V line in FIG. 3
  • the retainer 61 is disposed at a gap G that is set between the lead tab 51 and the inner wall of the case 20 facing each other, and fixes the position of the electrode assembly 10 in the case 20. That is, the gap G between the lead tab 51 and the inner wall of the case 20 is filled with the retainer 61. Therefore, the retainer 61 prevents the electrode assembly 10 from moving along the x-axis direction in the case 20. As a result, durability to vibration of the electrode assembly 10 in the case 20 is improved, and the electric insulating property between the case 20 and the uncoated region 111 or between the case 20 and the lead tab 51 is improved.
  • the retainer 61 is installed in the body 512 of the lead tab 51, and is provided between the body 512 and the case 20.
  • the retainer 61 includes a buffer 613 attached to the body 512, a first hook 611 connected to the buffer 613 and hooked on the top of the body 512, and a second hook 612 connected to the buffer 613 and hooked on the bottom of the body 512.
  • the first hook 611 is configured as a pair hooked on the top of the body 512 at both bottom sides of the connector 511. That is, the retainer 61 is stably installed at 3 points in the body 512 of the lead tab 51 by the first and second hooks 611 and 612.
  • FIG. 6 shows an exploded perspective view of a retainer, a lead tab, and an electrode assembly in a rechargeable battery according to a second exemplary embodiment of the present invention
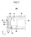
  • FIG. 7 shows a cross-sectional view with respect to a VII-VII line in FIG. 6
  • FIG. 8 shows a cross-sectional view with respect to a VIII-VIII line in FIG. 6 .
  • a lead tab 53 in a rechargeable battery 200 according to the second exemplary embodiment, includes a connector 531 connected to the electrode terminal 41 and a current collector 532 connected to the connector 531 and welded at the end of the uncoated region 111 of the electrode assembly 10.
  • the connector 531 can be connected to the electrode terminal 41 by a caulking process, and is provided between the cap plate 30 and the electrode assembly 10.
  • the current collector 532 is connected to the connector 531 that is bent in the vertical direction from the horizontal direction to reach the end of the uncoated region 111, and is provided between the end of the uncoated region 111 and the case 20.
  • a retainer 63 is disposed at the gap G1 that is set between the lead tab 53 and the inner wall of the case 20 facing each other, and fixes the position of the electrode assembly 10 in the case 20. That is, the gap G1 between the lead tab 53 and the inner wall of the case 20 is filled with the retainer 63. Therefore, the retainer 63 prevents the electrode assembly 10 from moving along the x-axis direction in the case 20. As a result, durability to vibration of the electrode assembly 10 in the case 20 is improved, and the electric insulating property between the case 20 and the uncoated region 111 or between the case 20 and the lead tab 53 is improved.
  • the retainer 63 is installed in the current collector 532 of the lead tab 53, and is provided between of the current collector 532 and the case 20.
  • the retainer 63 includes a buffer 633 attached to the current collector 532, a first hook 631 connected to the buffer 633 and hooked on the side of the current collector 532, and a second hook 632 connected to the buffer 633 and hooked in an installing hole 533 of the current collector 532.
  • the first hook 631 is configured as a pair hooked on the current collector 532 at both sides of the current collector 532. That is, the retainer 63 is stably installed at 3 points in the current collector 532 of the lead tab 53 by the first and second hooks 631 and 632.
  • the first hook 631 is provided between both sides of the current collector 532 and the case 20 (refer to FIG. 7 )
  • the second hook 632 is provided between the current collector 532 and the case 20 (refer to FIG. 8 ).
  • the retainer 63 according to the second exemplary embodiment is filled as the buffer 633 in the gap G1 that is set between the current collector 532 facing the end of the uncoated region 111 and the inner wall of the case 20, and is simultaneously filled as the first hook 631 in the gap G2 that is set between both ends of the current collector 532 facing the surface of the uncoated region 111 and the inner wall of the case 20 (front and rear side of the case) to thereby fix the position of the electrode assembly 10 in the case 20. That is, the retainer 63 prevents the electrode assembly 10 from moving in the x-axis and y-axis direction in the case 20. Hence, durability to vibration by the electrode assembly 10 in the case 20 is improved, and the electric insulating property between the case 20 and the uncoated region 111 or between the case 20 and the lead tab 53 is improved.
  • FIG. 9 shows a cross-sectional view of a rechargeable battery according to a third exemplary embodiment of the present invention.
  • a retainer 64 further includes a buffer member 65 between a buffer 633 of the retainer 63 according to the second exemplary embodiment and the inside of the case 20.
  • the buffer member 65 can be formed with a foaming resin, a spring, or an elastic member.
  • the rechargeable battery 300 discloses a configuration of the retainer 64 which is given by further adding the buffer member 65 to the retainer 63 compared to the second exemplary embodiment, and it is also possible to further apply a buffer member to the buffer 613 of the retainer 61 according to the first exemplary embodiment. Due to the elasticity of the buffer member 65, durability to vibration of the electrode assembly in the case is further improved, and also the electric insulating property between the case and the uncoated region or between the case and the lead tab is improved. Preferably, elasticity of the buffer is higher than the elasticity of the other components of the retainer.
  • FIG. 10 shows a schematic diagram of a vehicle including a rechargeable battery according to an embodiment of the present invention.
  • the vehicle may be, e.g., a hybrid electric vehicle, and all-electric vehicle, etc.
  • the vehicle may include a power source that provides a motive power for the vehicle, as well as the rechargeable battery 300 described above.
  • the rechargeable batteries 100 and 200 described above may be similarly used.
  • a plurality of rechargeable batteries may be configured as a battery pack that provides electricity to and/or receives electricity from the power source.
  • the rechargeable battery 300 may be housed in a housing 310, which may include a vent 320 to release gases, provide air flow to the rechargeable battery 300, etc.

Landscapes

  • Chemical & Material Sciences (AREA)
  • Chemical Kinetics & Catalysis (AREA)
  • Electrochemistry (AREA)
  • General Chemical & Material Sciences (AREA)
  • Engineering & Computer Science (AREA)
  • Manufacturing & Machinery (AREA)
  • Connection Of Batteries Or Terminals (AREA)
  • Secondary Cells (AREA)
  • Cell Separators (AREA)

Claims (15)

  1. Wiederaufladbare Batterie (100, 200, 300), aufweisend:
    zumindest eine Elektrodenanordnung (10);
    ein Gehäuse (20), das die zumindest eine Elektrodenanordnung (10) aufnimmt, wobei das Gehäuse (20) eine Vorderfläche, eine Rückfläche und Seitenflächen aufweist;
    zumindest einen Elektrodenanschluss (41, 42), der durch zumindest einen Leitungsstreifen (51, 52) mit der zumindest einen Elektrodenanordnung (10) elektrisch verbunden ist,
    wobei eine Haltevorrichtung (61, 62, 63, 64) mit dem zumindest einen Leitungsstreifen (51, 52) verbunden ist und zwischen dem zumindest einen Leitungsstreifen (51, 52) und einer Innenwand der Vorderfläche und/oder der Rückfläche und/oder der Seitenflächen des Gehäuses (20) angeordnet ist,
    dadurch gekennzeichnet, dass
    jeder des zumindest einen Leitungsstreifens (51, 52) einen Verbinder (511), der mit dem Elektrodenanschluss (41) direkt verbunden ist; und/oder einen Körper (512), der mit dem Verbinder (511) verbunden ist und dem Endabschnitt des unbeschichteten Bereichs (111) der Elektrodenanordnung (10) zugewandt ist; und/oder einen Stromkollektor (513, 532), der mit dem Körper (512) des Verbinders verbunden ist, aufweist; und
    wobei die Haltevorrichtung (61, 62, 63, 64) einen Puffer (613, 633), der an dem Leitungsstreifen (51) befestigt ist, einen ersten Haken (611, 631) und einen zweiten Haken (612, 632) aufweist, die sich vom Puffer (613, 633) erstrecken und auf dem Verbinder (511) und/oder dem Körper (512) und/oder dem Stromkollektor (513, 532) des Leitungsstreifens (51) festgehakt sind.
  2. Wiederaufladbare Batterie nach Anspruch 1, wobei die Haltevorrichtung (61, 62, 63, 64) sowohl mit der Innenwand der Vorderfläche und/oder der Rückfläche und/oder den Seitenflächen des Gehäuses (20) als auch mit dem zumindest einen Leitungsstreifen (51, 52) direkt in Kontakt steht.
  3. Wiederaufladbare Batterie nach einem der vorhergehenden Ansprüche, wobei die Haltevorrichtung (61, 62, 63, 64) ein Isoliermaterial aufweist, das die Innenwand des Gehäuses (20) elektrisch von dem Leitungsstreifen (51, 52) isoliert.
  4. Wiederaufladbare Batterie nach einem der vorhergehenden Ansprüche, wobei die Haltevorrichtung (61, 62, 63) eine aus einem Isoliermaterial ausgebildete monolithische Einheit ist.
  5. Wiederaufladbare Batterie nach einem der vorhergehenden Ansprüche, wobei die Elektrodenanordnung (10) eine Anode (11), eine Kathode (12) und einen zwischen diesen angeordneten Separator (13) aufweist, wobei die Anode (11) und die Kathode (12) jeweils einen Stromkollektorteil aufweisen, der einen beschichteten Bereich, in dem ein aktives Material auf dem Stromkollektorteil aufgebracht ist, und einen unbeschichteten Bereich (111, 121), in dem kein aktives Material auf dem Stromkollektorteil aufgebracht ist, aufweist, und weiterhin aufweisend einen ersten Elektrodenanschluss (41) und einen zweiten Elektrodenanschluss (42), die bereitgestellt werden, wobei der erste Elektrodenanschluss (41) mit einem ersten Leitungsstreifen (51) direkt verbunden ist und der erste Leitungsstreifen (51) mit dem unbeschichteten Bereich (111) der Anode (11) direkt verbunden ist, wobei der zweite Elektrodenanschluss (42) mit einem zweiten Leitungsstreifen (42) direkt verbunden ist und der zweite Leitungsstreifen (52) mit dem unbeschichteten Bereich (121) der Kathode (12) direkt verbunden ist, und wobei eine erste Haltevorrichtung (61) zwischen dem ersten Leitungsstreifen (51) und einer Innenwand des Gehäuses (20) angeordnet ist und eine zweite Haltevorrichtung (62) zwischen dem zweiten Leitungsstreifen (52) und einer Innenwand des Gehäuses (20) angeordnet ist.
  6. Wiederaufladbare Batterie nach Anspruch 5, wobei der Stromkollektor (513) mit beiden Seiten des unbeschichteten Bereichs (111) der Elektrodenanordnung (10) verschweißt ist.
  7. Wiederaufladbare Batterie nach Anspruch 6, wobei der Puffer (613) am Körper (512) des Leitungsstreifens (51) befestigt ist, der erste Haken (611) auf der Oberseite des Körpers (512) des Leitungsstreifens (51) festgehakt ist und der zweite Haken (612) mit dem Puffer (613) verbunden ist und auf der Unterseite des Körpers (512) des Leitungsstreifens (51) festgehakt ist.
  8. Wiederaufladbare Batterie nach Anspruch 7, wobei der erste Haken (611) als ein Paar konfiguriert ist, das auf der Oberseite des Körpers (512) des Leitungsstreifens (51) auf beiden Unterseiten des Verbinders (511) festgehakt ist.
  9. Wiederaufladbare Batterie nach Anspruch 5, wobei der Körper (532) als Stromkollektor ausgebildet ist, der mit dem Verbinder (531) verbunden ist und am Endabschnitt des unbeschichteten Bereichs (111) der Elektrodenanordnung (10) angeschweißt ist; wobei ein Installationsloch (533) im Stromkollektor (532) ausgebildet ist.
  10. Wiederaufladbare Batterie nach Anspruch 9, wobei der Puffer (633) am Stromkollektor (532) des Leitungsstreifens (53) befestigt ist, der erste Haken (631) mit dem Puffer (633) verbunden ist und auf einem Seitenabschnitt des Stromkollektors (532) festgehakt ist und der zweite Haken (632) mit dem Puffer (633) verbunden ist und im Installationsloch (533) des Stromkollektors (532) festgehakt ist.
  11. Wiederaufladbare Batterie nach Anspruch 10, wobei der erste Haken (631) als ein Paar konfiguriert ist, das auf dem Stromkollektor (532) auf beiden Seiten des Stromkollektors (532) festgehakt ist.
  12. Wiederaufladbare Batterie nach einem der Ansprüche 5 bis 11, wobei ein Abstand zwischen gegenüberliegenden inneren Seitenwänden des Gehäuses (20), die jeweils mit der ersten Haltevorrichtung (61) und der zweiten Haltevorrichtung (62) in direktem Kontakt stehen, gleich der Summe der Abstände zwischen einem Seitenabschnitt des unbeschichteten Bereichs (111) der Anode (11) und einem Seitenabschnitt des unbeschichteten Bereichs (121) der Kathode (12), der Dicke des Körpers (512, 532) des ersten Leitungsstreifens (51, 53), der Dicke des Körpers des zweiten Leitungsstreifens (52, 62), der Dicke des Puffers (613, 633) der ersten Haltevorrichtung (61, 63) und der Dicke des Puffers der zweiten Haltevorrichtung (62) ist.
  13. Wiederaufladbare Batterie nach einem der vorhergehenden Ansprüche, wobei eine erste Dicke der Haltevorrichtung (61, 62, 63, 64) entlang einer ersten Richtung, die sich von einer ersten Seitenfläche des Gehäuses (20) zu einer zweiten Seitenfläche des Gehäuses (20) erstreckt, gleich einer Lücke zwischen dem zumindest einen Leitungsstreifen (51, 52) und einer Innenwand einer der Seitenflächen des Gehäuses (20) ist und/oder wobei eine zweite Dicke der Haltevorrichtung (61, 62, 63, 64) entlang einer zweiten Richtung, die sich von der Vorderfläche des Gehäuses (20) zur Rückfläche des Gehäuses (20) erstreckt, gleich einer Lücke zwischen dem zumindest einen Leitungsstreifen (51, 52) und einer Innenwand der Vorderfläche oder der Rückfläche des Gehäuses (20) ist.
  14. Wiederaufladbare Batterie nach einem der Ansprüche 5 bis 11, weiterhin aufweisend eine zusätzliches Pufferglied (65), das aus einem elastischen Material zwischen einem Puffer (633) jeweils der ersten und zweiten Haltevorrichtung (61, 62, 63) und dem Inneren des Gehäuses (20) ausgebildet ist, wobei ein Abstand zwischen gegenüberliegenden Innenwänden des Gehäuses (20), die jeweils mit der ersten Haltevorrichtung (61) und der zweiten Haltevorrichtung (62) in direktem Kontakt stehen, gleich der Summe der Abstände zwischen einem Seitenabschnitt des unbeschichteten Bereichs (111) der Anode (11) und einem Seitenabschnitt des unbeschichteten Bereichs (121) der Kathode (12), der Dicke des Körpers (512, 532) des ersten Leitungsstreifens (51, 53), der Dicke des Körpers des zweiten Leitungsstreifens (52, 62), der Dicke des Puffers (613, 633) der ersten Haltevorrichtung (61, 63) und der Dicke des Puffers der zweiten Haltevorrichtung (62), der Dicke des zusätzlichen Puffergliedes (65), das zwischen dem Puffer (633) der ersten Haltevorrichtung (61) das Innere des Gehäuses (20) ausgebildet ist, und der Dicke des zusätzlichen Puffergliedes (65), das zwischen dem Puffer und der zweiten Haltevorrichtung (62) das Innere des Gehäuses (20) ausgebildet ist, ist.
  15. Fahrzeug, das die wiederaufladbare Batterie (100, 200, 300) nach einem der Ansprüche 1 bis 14 aufweist.
EP11152639A 2010-04-12 2011-01-31 Wiederaufladbare Batterie Active EP2375475B1 (de)

Applications Claiming Priority (2)

Application Number Priority Date Filing Date Title
US28285910P 2010-04-12 2010-04-12
US12/801,967 US8628878B2 (en) 2010-04-12 2010-07-06 Hooked retainer for electrode body in rechargeable battery

Publications (2)

Publication Number Publication Date
EP2375475A1 EP2375475A1 (de) 2011-10-12
EP2375475B1 true EP2375475B1 (de) 2012-11-14

Family

ID=44146712

Family Applications (1)

Application Number Title Priority Date Filing Date
EP11152639A Active EP2375475B1 (de) 2010-04-12 2011-01-31 Wiederaufladbare Batterie

Country Status (5)

Country Link
US (1) US8628878B2 (de)
EP (1) EP2375475B1 (de)
JP (1) JP5204173B2 (de)
KR (1) KR101223523B1 (de)
CN (1) CN102214837B (de)

Families Citing this family (31)

* Cited by examiner, † Cited by third party
Publication number Priority date Publication date Assignee Title
KR101147174B1 (ko) * 2010-11-25 2012-05-25 에스비리모티브 주식회사 이차 전지
JP5852926B2 (ja) * 2011-07-01 2016-02-03 株式会社Gsユアサ 蓄電素子及びスペーサ
US8889292B2 (en) * 2011-10-13 2014-11-18 Samsung Sdi Co., Ltd. Rechargeable battery
US8962177B2 (en) * 2011-12-09 2015-02-24 Samsung Sdi Co., Ltd. Secondary battery
KR20140010633A (ko) * 2012-07-16 2014-01-27 삼성에스디아이 주식회사 배터리 팩
KR20140096815A (ko) * 2013-01-29 2014-08-06 삼성에스디아이 주식회사 이차 전지
US20140272490A1 (en) * 2013-03-12 2014-09-18 Samsung Sdi Co., Ltd. Rechargeable battery
KR101741028B1 (ko) * 2013-04-08 2017-05-29 삼성에스디아이 주식회사 전지 유니트 및 이를 채용한 전지 모듈
US10333113B2 (en) 2013-06-19 2019-06-25 Samsung Sdi Co., Ltd. Rechargeable battery having retainer
KR101744087B1 (ko) * 2013-06-25 2017-06-07 삼성에스디아이 주식회사 이차 전지
KR101718060B1 (ko) * 2013-11-22 2017-03-20 삼성에스디아이 주식회사 전극 집전체의 굽힘 강도를 강화한 이차 전지
KR101749507B1 (ko) * 2013-12-18 2017-07-03 삼성에스디아이 주식회사 전극 조립체의 절연을 강화한 이차 전지
KR20150089311A (ko) 2014-01-27 2015-08-05 삼성에스디아이 주식회사 이차 전지
DE102014108803A1 (de) * 2014-06-24 2015-12-24 Dr. Ing. H.C. F. Porsche Aktiengesellschaft Energiespeicher für ein Fahrzeug und Verfahren zum Bereitstellen eines Energiespeichers für ein Fahrzeug
KR101586949B1 (ko) 2014-09-01 2016-01-20 주식회사다스 시트백 래치
KR102251330B1 (ko) 2014-11-19 2021-05-13 삼성에스디아이 주식회사 이차 전지
KR102371196B1 (ko) * 2017-08-31 2022-03-07 삼성에스디아이 주식회사 이차 전지
KR102450146B1 (ko) * 2017-08-31 2022-10-04 삼성에스디아이 주식회사 이차 전지
KR102571487B1 (ko) * 2017-08-31 2023-08-28 삼성에스디아이 주식회사 이차 전지 및 그 조립 방법
JP7059548B2 (ja) * 2017-09-27 2022-04-26 株式会社Gsユアサ 蓄電素子
JP6479924B1 (ja) * 2017-10-03 2019-03-06 カルソニックカンセイ株式会社 組電池の製造方法及び組電池
JP6962167B2 (ja) * 2017-12-12 2021-11-05 三洋電機株式会社 二次電池
CN108198989B (zh) * 2018-01-16 2021-01-12 宁德时代新能源科技股份有限公司 连接构件和充电电池
CN111969166B (zh) * 2018-01-16 2022-11-29 宁德时代新能源科技股份有限公司 集流构件和电池
CN111384350B (zh) * 2018-12-29 2024-10-15 宁德时代新能源科技股份有限公司 二次电池以及电池模组
KR102777223B1 (ko) * 2019-03-11 2025-03-07 삼성에스디아이 주식회사 이차 전지
KR102890541B1 (ko) * 2019-05-14 2025-11-26 삼성에스디아이 주식회사 이차 전지
CN112397817B (zh) * 2019-07-30 2022-03-18 比亚迪股份有限公司 固态锂电池及其制备方法
JP7529619B2 (ja) * 2021-06-09 2024-08-06 プライムプラネットエナジー&ソリューションズ株式会社 固定部材を備えた電池
KR20250077128A (ko) * 2023-11-23 2025-05-30 삼성에스디아이 주식회사 리테이너를 포함하는 이차 전지
WO2025218258A1 (zh) * 2024-04-15 2025-10-23 惠州亿纬动力电池有限公司 集流件、顶盖组件、电池和用电设备

Family Cites Families (7)

* Cited by examiner, † Cited by third party
Publication number Priority date Publication date Assignee Title
JP3536391B2 (ja) * 1994-12-19 2004-06-07 ソニー株式会社 巻回電極素子体及びその製造方法並びに巻回電極素子体を用いた電池の製造方法
KR100551050B1 (ko) * 2003-11-24 2006-02-09 삼성에스디아이 주식회사 형상기억합금에 의한 이차 전지의 캡 조립체
KR100599709B1 (ko) * 2004-07-28 2006-07-12 삼성에스디아이 주식회사 이차 전지
KR100591425B1 (ko) * 2004-09-09 2006-06-21 삼성에스디아이 주식회사 캔형 이차전지
KR100637445B1 (ko) 2005-07-07 2006-10-20 삼성에스디아이 주식회사 이차 전지
JP4806270B2 (ja) 2006-02-21 2011-11-02 三洋電機株式会社 角形電池
JP5084205B2 (ja) 2006-08-11 2012-11-28 三洋電機株式会社 非水電解質二次電池

Also Published As

Publication number Publication date
EP2375475A1 (de) 2011-10-12
US8628878B2 (en) 2014-01-14
CN102214837A (zh) 2011-10-12
CN102214837B (zh) 2014-06-04
US20110250491A1 (en) 2011-10-13
KR20110114411A (ko) 2011-10-19
KR101223523B1 (ko) 2013-01-17
JP2011222474A (ja) 2011-11-04
JP5204173B2 (ja) 2013-06-05

Similar Documents

Publication Publication Date Title
EP2375475B1 (de) Wiederaufladbare Batterie
US12218302B2 (en) Rechargeable battery and pack of the same
EP2287942B1 (de) Wiederaufladbare Batterie
CN102035017B (zh) 可再充电电池
US10673055B2 (en) Secondary battery
EP2736097B1 (de) Wiederaufladbare Batterie und Modul daraus
CN113966562B (zh) 可再充电电池
EP3007246B1 (de) Wiederaufladbare batterie
US8945758B2 (en) Secondary battery having cap plate assembly with short circuit safety member
US9705153B2 (en) Rechargeable battery and pack of the same
EP2362461A1 (de) Wiederaufladbare Batterie
US20110300419A1 (en) Secondary battery
US10033026B2 (en) Rechargeable battery having an external terminal and module thereof
US20140377639A1 (en) Rechargeable battery having retainer
EP2849263B1 (de) Wiederaufladbare Batterie
KR20130116087A (ko) 이차 전지 및 그 모듈
US11075434B2 (en) Rechargeable battery
CN106450407A (zh) 二次电池
US8142921B2 (en) Rechargeable battery and battery module
US9692034B2 (en) Secondary battery
US20140205877A1 (en) Rechargeable battery
JP2015228362A (ja) 二次電池

Legal Events

Date Code Title Description
PUAI Public reference made under article 153(3) epc to a published international application that has entered the european phase

Free format text: ORIGINAL CODE: 0009012

AK Designated contracting states

Kind code of ref document: A1

Designated state(s): AL AT BE BG CH CY CZ DE DK EE ES FI FR GB GR HR HU IE IS IT LI LT LU LV MC MK MT NL NO PL PT RO RS SE SI SK SM TR

AX Request for extension of the european patent

Extension state: BA ME

17P Request for examination filed

Effective date: 20120326

REG Reference to a national code

Ref country code: DE

Ref legal event code: R079

Ref document number: 602011000426

Country of ref document: DE

Free format text: PREVIOUS MAIN CLASS: H01M0002260000

Ipc: H01M0010052000

GRAP Despatch of communication of intention to grant a patent

Free format text: ORIGINAL CODE: EPIDOSNIGR1

RIC1 Information provided on ipc code assigned before grant

Ipc: H01M 10/0587 20100101ALI20120619BHEP

Ipc: H01M 2/26 20060101AFI20120619BHEP

Ipc: H01M 2/18 20060101ALI20120619BHEP

Ipc: H01M 2/02 20060101ALI20120619BHEP

Ipc: H01M 2/34 20060101ALI20120619BHEP

RIC1 Information provided on ipc code assigned before grant

Ipc: H01M 10/0587 20100101ALI20120629BHEP

Ipc: H01M 2/26 20060101ALI20120629BHEP

Ipc: H01M 10/052 20100101AFI20120629BHEP

Ipc: H01M 2/02 20060101ALI20120629BHEP

Ipc: H01M 2/34 20060101ALI20120629BHEP

Ipc: H01M 2/18 20060101ALI20120629BHEP

RIN1 Information on inventor provided before grant (corrected)

Inventor name: BYUN, SANG-WON

Inventor name: KIM, SUNG-BAE

Inventor name: KIM, YONG-SAM

GRAS Grant fee paid

Free format text: ORIGINAL CODE: EPIDOSNIGR3

GRAA (expected) grant

Free format text: ORIGINAL CODE: 0009210

AK Designated contracting states

Kind code of ref document: B1

Designated state(s): AL AT BE BG CH CY CZ DE DK EE ES FI FR GB GR HR HU IE IS IT LI LT LU LV MC MK MT NL NO PL PT RO RS SE SI SK SM TR

REG Reference to a national code

Ref country code: GB

Ref legal event code: FG4D

REG Reference to a national code

Ref country code: CH

Ref legal event code: EP

Ref country code: AT

Ref legal event code: REF

Ref document number: 584391

Country of ref document: AT

Kind code of ref document: T

Effective date: 20121115

REG Reference to a national code

Ref country code: IE

Ref legal event code: FG4D

REG Reference to a national code

Ref country code: DE

Ref legal event code: R096

Ref document number: 602011000426

Country of ref document: DE

Effective date: 20130110

REG Reference to a national code

Ref country code: FR

Ref legal event code: TQ

Owner name: SAMSUNG SDI CO., LTD., KR

Effective date: 20130218

Ref country code: FR

Ref legal event code: TQ

Owner name: ROBERT BOSCH GMBH, DE

Effective date: 20130218

REG Reference to a national code

Ref country code: NL

Ref legal event code: VDEP

Effective date: 20121114

REG Reference to a national code

Ref country code: AT

Ref legal event code: MK05

Ref document number: 584391

Country of ref document: AT

Kind code of ref document: T

Effective date: 20121114

REG Reference to a national code

Ref country code: LT

Ref legal event code: MG4D

PG25 Lapsed in a contracting state [announced via postgrant information from national office to epo]

Ref country code: LT

Free format text: LAPSE BECAUSE OF FAILURE TO SUBMIT A TRANSLATION OF THE DESCRIPTION OR TO PAY THE FEE WITHIN THE PRESCRIBED TIME-LIMIT

Effective date: 20121114

Ref country code: SE

Free format text: LAPSE BECAUSE OF FAILURE TO SUBMIT A TRANSLATION OF THE DESCRIPTION OR TO PAY THE FEE WITHIN THE PRESCRIBED TIME-LIMIT

Effective date: 20121114

Ref country code: NO

Free format text: LAPSE BECAUSE OF FAILURE TO SUBMIT A TRANSLATION OF THE DESCRIPTION OR TO PAY THE FEE WITHIN THE PRESCRIBED TIME-LIMIT

Effective date: 20130214

Ref country code: HR

Free format text: LAPSE BECAUSE OF FAILURE TO SUBMIT A TRANSLATION OF THE DESCRIPTION OR TO PAY THE FEE WITHIN THE PRESCRIBED TIME-LIMIT

Effective date: 20121114

Ref country code: ES

Free format text: LAPSE BECAUSE OF FAILURE TO SUBMIT A TRANSLATION OF THE DESCRIPTION OR TO PAY THE FEE WITHIN THE PRESCRIBED TIME-LIMIT

Effective date: 20130225

Ref country code: FI

Free format text: LAPSE BECAUSE OF FAILURE TO SUBMIT A TRANSLATION OF THE DESCRIPTION OR TO PAY THE FEE WITHIN THE PRESCRIBED TIME-LIMIT

Effective date: 20121114

REG Reference to a national code

Ref country code: GB

Ref legal event code: 732E

Free format text: REGISTERED BETWEEN 20130425 AND 20130501

REG Reference to a national code

Ref country code: DE

Ref legal event code: R081

Ref document number: 602011000426

Country of ref document: DE

Owner name: ROBERT BOSCH GMBH, DE

Free format text: FORMER OWNER: SB LIMOTIVE CO., LTD., YONGIN-SI, GYEONGGI-DO, KR

Effective date: 20130410

Ref country code: DE

Ref legal event code: R081

Ref document number: 602011000426

Country of ref document: DE

Owner name: SAMSUNG SDI CO., LTD., YONGIN-SI, KR

Free format text: FORMER OWNER: SB LIMOTIVE CO., LTD., YONGIN-SI, GYEONGGI-DO, KR

Effective date: 20130410

Ref country code: DE

Ref legal event code: R081

Ref document number: 602011000426

Country of ref document: DE

Owner name: SAMSUNG SDI CO., LTD., KR

Free format text: FORMER OWNER: SB LIMOTIVE CO., LTD., YONGIN-SI, KR

Effective date: 20130410

Ref country code: DE

Ref legal event code: R081

Ref document number: 602011000426

Country of ref document: DE

Owner name: ROBERT BOSCH GMBH, DE

Free format text: FORMER OWNER: SB LIMOTIVE CO., LTD., YONGIN-SI, KR

Effective date: 20130410

PG25 Lapsed in a contracting state [announced via postgrant information from national office to epo]

Ref country code: GR

Free format text: LAPSE BECAUSE OF FAILURE TO SUBMIT A TRANSLATION OF THE DESCRIPTION OR TO PAY THE FEE WITHIN THE PRESCRIBED TIME-LIMIT

Effective date: 20130215

Ref country code: PL

Free format text: LAPSE BECAUSE OF FAILURE TO SUBMIT A TRANSLATION OF THE DESCRIPTION OR TO PAY THE FEE WITHIN THE PRESCRIBED TIME-LIMIT

Effective date: 20121114

Ref country code: PT

Free format text: LAPSE BECAUSE OF FAILURE TO SUBMIT A TRANSLATION OF THE DESCRIPTION OR TO PAY THE FEE WITHIN THE PRESCRIBED TIME-LIMIT

Effective date: 20130314

Ref country code: SI

Free format text: LAPSE BECAUSE OF FAILURE TO SUBMIT A TRANSLATION OF THE DESCRIPTION OR TO PAY THE FEE WITHIN THE PRESCRIBED TIME-LIMIT

Effective date: 20121114

Ref country code: BE

Free format text: LAPSE BECAUSE OF FAILURE TO SUBMIT A TRANSLATION OF THE DESCRIPTION OR TO PAY THE FEE WITHIN THE PRESCRIBED TIME-LIMIT

Effective date: 20121114

Ref country code: LV

Free format text: LAPSE BECAUSE OF FAILURE TO SUBMIT A TRANSLATION OF THE DESCRIPTION OR TO PAY THE FEE WITHIN THE PRESCRIBED TIME-LIMIT

Effective date: 20121114

PG25 Lapsed in a contracting state [announced via postgrant information from national office to epo]

Ref country code: AT

Free format text: LAPSE BECAUSE OF FAILURE TO SUBMIT A TRANSLATION OF THE DESCRIPTION OR TO PAY THE FEE WITHIN THE PRESCRIBED TIME-LIMIT

Effective date: 20121114

PG25 Lapsed in a contracting state [announced via postgrant information from national office to epo]

Ref country code: DK

Free format text: LAPSE BECAUSE OF FAILURE TO SUBMIT A TRANSLATION OF THE DESCRIPTION OR TO PAY THE FEE WITHIN THE PRESCRIBED TIME-LIMIT

Effective date: 20121114

Ref country code: RS

Free format text: LAPSE BECAUSE OF FAILURE TO SUBMIT A TRANSLATION OF THE DESCRIPTION OR TO PAY THE FEE WITHIN THE PRESCRIBED TIME-LIMIT

Effective date: 20121114

Ref country code: EE

Free format text: LAPSE BECAUSE OF FAILURE TO SUBMIT A TRANSLATION OF THE DESCRIPTION OR TO PAY THE FEE WITHIN THE PRESCRIBED TIME-LIMIT

Effective date: 20121114

Ref country code: CZ

Free format text: LAPSE BECAUSE OF FAILURE TO SUBMIT A TRANSLATION OF THE DESCRIPTION OR TO PAY THE FEE WITHIN THE PRESCRIBED TIME-LIMIT

Effective date: 20121114

Ref country code: SK

Free format text: LAPSE BECAUSE OF FAILURE TO SUBMIT A TRANSLATION OF THE DESCRIPTION OR TO PAY THE FEE WITHIN THE PRESCRIBED TIME-LIMIT

Effective date: 20121114

Ref country code: BG

Free format text: LAPSE BECAUSE OF FAILURE TO SUBMIT A TRANSLATION OF THE DESCRIPTION OR TO PAY THE FEE WITHIN THE PRESCRIBED TIME-LIMIT

Effective date: 20130214

PG25 Lapsed in a contracting state [announced via postgrant information from national office to epo]

Ref country code: RO

Free format text: LAPSE BECAUSE OF FAILURE TO SUBMIT A TRANSLATION OF THE DESCRIPTION OR TO PAY THE FEE WITHIN THE PRESCRIBED TIME-LIMIT

Effective date: 20121114

Ref country code: MC

Free format text: LAPSE BECAUSE OF NON-PAYMENT OF DUE FEES

Effective date: 20130131

Ref country code: IT

Free format text: LAPSE BECAUSE OF FAILURE TO SUBMIT A TRANSLATION OF THE DESCRIPTION OR TO PAY THE FEE WITHIN THE PRESCRIBED TIME-LIMIT

Effective date: 20121114

Ref country code: NL

Free format text: LAPSE BECAUSE OF FAILURE TO SUBMIT A TRANSLATION OF THE DESCRIPTION OR TO PAY THE FEE WITHIN THE PRESCRIBED TIME-LIMIT

Effective date: 20121114

PLBE No opposition filed within time limit

Free format text: ORIGINAL CODE: 0009261

STAA Information on the status of an ep patent application or granted ep patent

Free format text: STATUS: NO OPPOSITION FILED WITHIN TIME LIMIT

26N No opposition filed

Effective date: 20130815

REG Reference to a national code

Ref country code: IE

Ref legal event code: MM4A

PG25 Lapsed in a contracting state [announced via postgrant information from national office to epo]

Ref country code: CY

Free format text: LAPSE BECAUSE OF FAILURE TO SUBMIT A TRANSLATION OF THE DESCRIPTION OR TO PAY THE FEE WITHIN THE PRESCRIBED TIME-LIMIT

Effective date: 20121114

REG Reference to a national code

Ref country code: DE

Ref legal event code: R097

Ref document number: 602011000426

Country of ref document: DE

Effective date: 20130815

PG25 Lapsed in a contracting state [announced via postgrant information from national office to epo]

Ref country code: AL

Free format text: LAPSE BECAUSE OF FAILURE TO SUBMIT A TRANSLATION OF THE DESCRIPTION OR TO PAY THE FEE WITHIN THE PRESCRIBED TIME-LIMIT

Effective date: 20121114

Ref country code: IE

Free format text: LAPSE BECAUSE OF NON-PAYMENT OF DUE FEES

Effective date: 20130131

PG25 Lapsed in a contracting state [announced via postgrant information from national office to epo]

Ref country code: MT

Free format text: LAPSE BECAUSE OF FAILURE TO SUBMIT A TRANSLATION OF THE DESCRIPTION OR TO PAY THE FEE WITHIN THE PRESCRIBED TIME-LIMIT

Effective date: 20121114

REG Reference to a national code

Ref country code: CH

Ref legal event code: PL

PG25 Lapsed in a contracting state [announced via postgrant information from national office to epo]

Ref country code: LI

Free format text: LAPSE BECAUSE OF NON-PAYMENT OF DUE FEES

Effective date: 20140131

Ref country code: CH

Free format text: LAPSE BECAUSE OF NON-PAYMENT OF DUE FEES

Effective date: 20140131

PG25 Lapsed in a contracting state [announced via postgrant information from national office to epo]

Ref country code: SM

Free format text: LAPSE BECAUSE OF FAILURE TO SUBMIT A TRANSLATION OF THE DESCRIPTION OR TO PAY THE FEE WITHIN THE PRESCRIBED TIME-LIMIT

Effective date: 20121114

PG25 Lapsed in a contracting state [announced via postgrant information from national office to epo]

Ref country code: TR

Free format text: LAPSE BECAUSE OF FAILURE TO SUBMIT A TRANSLATION OF THE DESCRIPTION OR TO PAY THE FEE WITHIN THE PRESCRIBED TIME-LIMIT

Effective date: 20121114

PG25 Lapsed in a contracting state [announced via postgrant information from national office to epo]

Ref country code: MK

Free format text: LAPSE BECAUSE OF FAILURE TO SUBMIT A TRANSLATION OF THE DESCRIPTION OR TO PAY THE FEE WITHIN THE PRESCRIBED TIME-LIMIT

Effective date: 20121114

Ref country code: HU

Free format text: LAPSE BECAUSE OF FAILURE TO SUBMIT A TRANSLATION OF THE DESCRIPTION OR TO PAY THE FEE WITHIN THE PRESCRIBED TIME-LIMIT; INVALID AB INITIO

Effective date: 20110131

Ref country code: LU

Free format text: LAPSE BECAUSE OF NON-PAYMENT OF DUE FEES

Effective date: 20130131

REG Reference to a national code

Ref country code: FR

Ref legal event code: PLFP

Year of fee payment: 6

PG25 Lapsed in a contracting state [announced via postgrant information from national office to epo]

Ref country code: IS

Free format text: LAPSE BECAUSE OF FAILURE TO SUBMIT A TRANSLATION OF THE DESCRIPTION OR TO PAY THE FEE WITHIN THE PRESCRIBED TIME-LIMIT

Effective date: 20121114

REG Reference to a national code

Ref country code: FR

Ref legal event code: PLFP

Year of fee payment: 7

REG Reference to a national code

Ref country code: FR

Ref legal event code: PLFP

Year of fee payment: 8

P01 Opt-out of the competence of the unified patent court (upc) registered

Effective date: 20230528

PGFP Annual fee paid to national office [announced via postgrant information from national office to epo]

Ref country code: DE

Payment date: 20241231

Year of fee payment: 15

PGFP Annual fee paid to national office [announced via postgrant information from national office to epo]

Ref country code: GB

Payment date: 20250102

Year of fee payment: 15

PGFP Annual fee paid to national office [announced via postgrant information from national office to epo]

Ref country code: FR

Payment date: 20251231

Year of fee payment: 16