EP2322725A1 - Drainage siphon for drain - Google Patents

Drainage siphon for drain Download PDF

Info

Publication number
EP2322725A1
EP2322725A1 EP10014443A EP10014443A EP2322725A1 EP 2322725 A1 EP2322725 A1 EP 2322725A1 EP 10014443 A EP10014443 A EP 10014443A EP 10014443 A EP10014443 A EP 10014443A EP 2322725 A1 EP2322725 A1 EP 2322725A1
Authority
EP
European Patent Office
Prior art keywords
drain
drainage
siphon
drainage siphon
housing
Prior art date
Legal status (The legal status is an assumption and is not a legal conclusion. Google has not performed a legal analysis and makes no representation as to the accuracy of the status listed.)
Granted
Application number
EP10014443A
Other languages
German (de)
French (fr)
Other versions
EP2322725B1 (en
Inventor
Pedro Ivars Ortiz
Gabriel Molina Nuñez-Lagos
Current Assignee (The listed assignees may be inaccurate. Google has not performed a legal analysis and makes no representation or warranty as to the accuracy of the list.)
Industrias Riuvert SA
Original Assignee
Industrias Riuvert SA
Priority date (The priority date is an assumption and is not a legal conclusion. Google has not performed a legal analysis and makes no representation as to the accuracy of the date listed.)
Filing date
Publication date
Application filed by Industrias Riuvert SA filed Critical Industrias Riuvert SA
Publication of EP2322725A1 publication Critical patent/EP2322725A1/en
Application granted granted Critical
Publication of EP2322725B1 publication Critical patent/EP2322725B1/en
Active legal-status Critical Current
Anticipated expiration legal-status Critical

Links

Images

Classifications

    • EFIXED CONSTRUCTIONS
    • E02HYDRAULIC ENGINEERING; FOUNDATIONS; SOIL SHIFTING
    • E02DFOUNDATIONS; EXCAVATIONS; EMBANKMENTS; UNDERGROUND OR UNDERWATER STRUCTURES
    • E02D29/00Independent underground or underwater structures; Retaining walls
    • E02D29/12Manhole shafts; Other inspection or access chambers; Accessories therefor
    • E02D29/14Covers for manholes or the like; Frames for covers
    • EFIXED CONSTRUCTIONS
    • E03WATER SUPPLY; SEWERAGE
    • E03FSEWERS; CESSPOOLS
    • E03F5/00Sewerage structures
    • E03F5/04Gullies inlets, road sinks, floor drains with or without odour seals or sediment traps
    • EFIXED CONSTRUCTIONS
    • E03WATER SUPPLY; SEWERAGE
    • E03FSEWERS; CESSPOOLS
    • E03F5/00Sewerage structures
    • E03F5/04Gullies inlets, road sinks, floor drains with or without odour seals or sediment traps
    • E03F5/06Gully gratings
    • EFIXED CONSTRUCTIONS
    • E03WATER SUPPLY; SEWERAGE
    • E03FSEWERS; CESSPOOLS
    • E03F5/00Sewerage structures
    • E03F5/04Gullies inlets, road sinks, floor drains with or without odour seals or sediment traps
    • E03F5/0407Floor drains for indoor use
    • E03F5/0409Devices for preventing seepage around the floor drain

Definitions

  • the present invention relates to a drainage siphon intended to collect water coming from the overflowing of a drain and water collected by means of waterproof fabric, and to lead them to a drainage pipe. Its field of application is that of auxiliary materials for construction.
  • Simple drainage siphons consisting of a central body that extends upwards in a perimetric flange and downwards in a central tubular exit intended to be inserted in a drainage pipe.
  • the depth of the central body of the drainage siphon is normally sufficient for partially housing the drain inside itself, which ensures that the water can circulate.
  • the distance between the drain and the drainage siphon can sometimes be such that it becomes necessary to incorporate an appropriate means for ducting the water between the two elements, especially water coming from the overflowing of a drain and water collected by means of the waterproof fabric.
  • the traditional solution consists of constructing a brickwork catchpit. This is slow, expensive and not secure, as well as being subject to deterioration with time. More recently, attempts have been made to replace the catchpit by laying waterproof fabric covered with gravel, with a perforated pipe being provided to prevent the gravel from passing through. This arrangement allows the circulation of the water overflowing from a drain and the water collected by means of the waterproof fabric. This solution is more secure and longer lasting, but it compels the use of a perforated pipe.
  • a drainage siphon which incorporates a grooved housing in the interior of its central body such that this housing is able to receive a standard drainage pipe inside it, with the latter resting on at least one lug provided on the inner surface of the grooved housing.
  • the grooved housing advantageously presents the form of a circular pipe which extends the lower exit of the drainage siphon upwards.
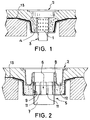
  • FIG 1 a habitual arrangement in the prior art can be seen in which a perforated pipe (1) is inserted between a drain (2) and a conventional drainage siphon (3) in order to prevent the passage of gravel (4) though permitting drainage of the water collected by the waterproof fabric (13).
  • Figure 2 represents the drainage siphon (5) of the invention, which incorporates a grooved housing (6) basically arranged as an extension of an exit (7), and which fits on the outside of the mouth (8) of a drain (2).
  • the drain (2) is of the trap type, with just its base having been represented, once the habitual grating and skirting have been removed.
  • the grooved housing (6) thus remains located between the mouth (8) and a depressed cavity (12).
  • FIG 3 a perspective view can be seen of the grooved housing (6) of the drainage siphon (5) of the invention, along with a lug (9), intended to support a hypothetical additional pipe (10), as shown in figure 4 .
  • the functioning of the device as a whole is as follows. Most of the water evacuated via the drain (2) will circulate, either directly or via the additional pipe (10), as far as the drainage siphon (5). For its part, the water that does not reach the drain (2) will be led to a waterproof sheet (13) and, via a gravel fill (4), as far as the grooved housing (6) of the drainage siphon (5), given that the additional pipe (10), when incorporated, rests on the lug (9) and does not completely cover the grooves (11). See figures 2 and 4 .
  • grooved housing (6) has been represented in which the grooves (11) are open in their upper part in order to facilitate the stripping of the drainage siphon (5) from its mould. It is evident that the shape and arrangement of the grooves (91) is irrelevant for the functionality of the invention. In the context of this document, grooved housing (6) will be understood as being any device with openings to permit the passage of water but not of gravel (4) through it.

Landscapes

  • Engineering & Computer Science (AREA)
  • Life Sciences & Earth Sciences (AREA)
  • Health & Medical Sciences (AREA)
  • Water Supply & Treatment (AREA)
  • Public Health (AREA)
  • Hydrology & Water Resources (AREA)
  • General Life Sciences & Earth Sciences (AREA)
  • General Engineering & Computer Science (AREA)
  • Structural Engineering (AREA)
  • Civil Engineering (AREA)
  • Paleontology (AREA)
  • Mining & Mineral Resources (AREA)
  • Environmental & Geological Engineering (AREA)
  • Jet Pumps And Other Pumps (AREA)
  • Sink And Installation For Waste Water (AREA)

Abstract

The drainage siphon (5) of the invention comprises a grooved housing (6) fitted to an exit mouth (8) of the drain (2) and, occasionally, to an additional pipe (10) for drainage, that in the current case rests on a lug (9) in order to leave a free passage. The grooved housing (6) advantageously comprises grooves (11) that are open in their upper part presenting a circular cross-section. If the drain (2) is of the trap type, the groove housing (6) remains located between the mouth (8) and the depressed cavity (12).
Thus it permits the drainage of the water collected by the waterproof fabric (13) arranged perimeter to the drainage siphon (5).

Description

  • The present invention relates to a drainage siphon intended to collect water coming from the overflowing of a drain and water collected by means of waterproof fabric, and to lead them to a drainage pipe. Its field of application is that of auxiliary materials for construction.
  • Simple drainage siphons are known consisting of a central body that extends upwards in a perimetric flange and downwards in a central tubular exit intended to be inserted in a drainage pipe. The depth of the central body of the drainage siphon is normally sufficient for partially housing the drain inside itself, which ensures that the water can circulate.
  • Nevertheless, the distance between the drain and the drainage siphon can sometimes be such that it becomes necessary to incorporate an appropriate means for ducting the water between the two elements, especially water coming from the overflowing of a drain and water collected by means of the waterproof fabric. The traditional solution consists of constructing a brickwork catchpit. This is slow, expensive and not secure, as well as being subject to deterioration with time. More recently, attempts have been made to replace the catchpit by laying waterproof fabric covered with gravel, with a perforated pipe being provided to prevent the gravel from passing through. This arrangement allows the circulation of the water overflowing from a drain and the water collected by means of the waterproof fabric. This solution is more secure and longer lasting, but it compels the use of a perforated pipe.
  • It is consequently an objective of the present invention to provide a drainage siphon capable of receiving water coming from the overflowing of a drain and that collected by means of the waterproof fabric, without using special additional elements.
  • In order to achieve the proposed objective, a drainage siphon has been conceived which incorporates a grooved housing in the interior of its central body such that this housing is able to receive a standard drainage pipe inside it, with the latter resting on at least one lug provided on the inner surface of the grooved housing.
  • The grooved housing advantageously presents the form of a circular pipe which extends the lower exit of the drainage siphon upwards.
  • Such a solution displays clear advantages. So:
    • It solves the problem created by an excessive distance between drain and drainage siphon in a way that is economical, secure and lasting.
    • For medium distances, it can be used without having to incorporate an additional drainage pipe between drain and drainage siphon, always provided that the height of the grooved housing is sufficient.
  • In order to complement the foregoing description, and with the aim of aiding a better understanding of the characteristics of the invention, a detailed description is going to be given of a preferred embodiment, on the basis of a set of drawings attached to this descriptive specification and in which the following has been represented in an illustrative and non-limiting way.
    • Figure 1 shows an arrangement according to the prior art, which uses a perforated pipe.
    • Figure 2 shows the solution proposed in the present invention, when the height of the grooved housing is sufficient so that the additional use of a drainage pipe becomes unnecessary.
    • Figure 3 shows a cross-section in perspective of the inventive drainage siphon.
    • Figure 4 shows the solution proposed in the present invention, when an additional drainage pipe needs to be used.
    • In the above figures, the numerical references correspond to the following parts and elements
      1. 1. Perforated pipe.
      2. 2. Drain.
      3. 3. Conventional drainage siphon.
      4. 4. Gravel.
      5. 5. Drainage siphon according to the invention.
      6. 6. Grooved housing of the drainage siphon.
      7. 7. Exit of the drainage siphon.
      8. 8. Mouth of the drain.
      9. 9. Lug.
      10. 10. Additional pipe.
      11. 11. Grooves.
      12. 12. Depressed cavity.
      13. 13. Waterproof fabric.
  • In figure 1 a habitual arrangement in the prior art can be seen in which a perforated pipe (1) is inserted between a drain (2) and a conventional drainage siphon (3) in order to prevent the passage of gravel (4) though permitting drainage of the water collected by the waterproof fabric (13).
  • Figure 2, on the other hand, represents the drainage siphon (5) of the invention, which incorporates a grooved housing (6) basically arranged as an extension of an exit (7), and which fits on the outside of the mouth (8) of a drain (2). In this particular case the drain (2) is of the trap type, with just its base having been represented, once the habitual grating and skirting have been removed. The grooved housing (6) thus remains located between the mouth (8) and a depressed cavity (12).
  • In figure 3 a perspective view can be seen of the grooved housing (6) of the drainage siphon (5) of the invention, along with a lug (9), intended to support a hypothetical additional pipe (10), as shown in figure 4.
  • The functioning of the device as a whole is as follows. Most of the water evacuated via the drain (2) will circulate, either directly or via the additional pipe (10), as far as the drainage siphon (5). For its part, the water that does not reach the drain (2) will be led to a waterproof sheet (13) and, via a gravel fill (4), as far as the grooved housing (6) of the drainage siphon (5), given that the additional pipe (10), when incorporated, rests on the lug (9) and does not completely cover the grooves (11). See figures 2 and 4.
  • It will be evident to an expert in the field that there is a series of modifications and alternatives for adapting the invention to the chosen design and the means of production that are available. So, in the preferred embodiment, a single lug (9) has been represented, though a set of lugs could have been used or a perimetric step could even have been used on which the additional pipe would rest (10). Likewise, a grooved housing (6) has been represented in which the grooves (11) are open in their upper part in order to facilitate the stripping of the drainage siphon (5) from its mould. It is evident that the shape and arrangement of the grooves (91) is irrelevant for the functionality of the invention. In the context of this document, grooved housing (6) will be understood as being any device with openings to permit the passage of water but not of gravel (4) through it.

Claims (3)

  1. Improved drainage siphon (5) for drain (2), characterized by comprising a grooved housing (6) fitted to an exit mouth (8) of the drain (2) and, occasionally, to an additional pipe (10) for drainage, and a lug (9) provided so that the additional pipe (10) can rest on it, as the case might be.
  2. Improved drainage siphon (5) for drain (2), according to claim 1, characterized in that the grooved housing (6) comprises grooves (11) that are open in their upper part.
  3. Improved drainage siphon (5) for drain (2), according to claim 2, characterized in that the grooved housing (6) presents a circular cross-section,
EP10014443A 2009-11-12 2010-11-10 Drainage siphon for drain Active EP2322725B1 (en)

Applications Claiming Priority (1)

Application Number Priority Date Filing Date Title
ES200930641U ES1071660Y (en) 2009-11-12 2009-11-12 PERFECTED BOILER FOR SINK

Publications (2)

Publication Number Publication Date
EP2322725A1 true EP2322725A1 (en) 2011-05-18
EP2322725B1 EP2322725B1 (en) 2012-05-16

Family

ID=41800359

Family Applications (1)

Application Number Title Priority Date Filing Date
EP10014443A Active EP2322725B1 (en) 2009-11-12 2010-11-10 Drainage siphon for drain

Country Status (4)

Country Link
EP (1) EP2322725B1 (en)
ES (1) ES1071660Y (en)
PT (1) PT2322725E (en)
ZA (1) ZA201008085B (en)

Cited By (3)

* Cited by examiner, † Cited by third party
Publication number Priority date Publication date Assignee Title
EP2620554A1 (en) * 2012-01-19 2013-07-31 Industrias Riuvert, S.A. Securing device for impermeable fabrics in water evacuation systems
CN108867833A (en) * 2018-08-28 2018-11-23 张兵 A siphon manhole cover
EP3705655A1 (en) * 2019-03-08 2020-09-09 Viega Technology GmbH & Co. KG Floor drain for removing water from a walkable floor into a sewer pipe

Citations (4)

* Cited by examiner, † Cited by third party
Publication number Priority date Publication date Assignee Title
US20020136604A1 (en) * 2001-03-22 2002-09-26 Chris Sondrup Adjustable height utility access device
US20040028470A1 (en) * 2002-08-07 2004-02-12 Guy Boudreau Self-leveling system
US20060267336A1 (en) * 2005-03-09 2006-11-30 Peters John Jr Step flange catch basin adaptor and method of using
DE202007006970U1 (en) * 2007-05-15 2007-09-20 Selfsan Consult Gmbh Manhole cover with a monitoring device

Patent Citations (4)

* Cited by examiner, † Cited by third party
Publication number Priority date Publication date Assignee Title
US20020136604A1 (en) * 2001-03-22 2002-09-26 Chris Sondrup Adjustable height utility access device
US20040028470A1 (en) * 2002-08-07 2004-02-12 Guy Boudreau Self-leveling system
US20060267336A1 (en) * 2005-03-09 2006-11-30 Peters John Jr Step flange catch basin adaptor and method of using
DE202007006970U1 (en) * 2007-05-15 2007-09-20 Selfsan Consult Gmbh Manhole cover with a monitoring device

Cited By (4)

* Cited by examiner, † Cited by third party
Publication number Priority date Publication date Assignee Title
EP2620554A1 (en) * 2012-01-19 2013-07-31 Industrias Riuvert, S.A. Securing device for impermeable fabrics in water evacuation systems
CN108867833A (en) * 2018-08-28 2018-11-23 张兵 A siphon manhole cover
EP3705655A1 (en) * 2019-03-08 2020-09-09 Viega Technology GmbH & Co. KG Floor drain for removing water from a walkable floor into a sewer pipe
US11208795B2 (en) 2019-03-08 2021-12-28 Viega Technology Gmbh & Co. Kg Floor drain for draining water from a walk-in floor into a sewage pipe

Also Published As

Publication number Publication date
ZA201008085B (en) 2012-04-25
PT2322725E (en) 2012-07-25
ES1071660U (en) 2010-03-24
ES1071660U8 (en) 2011-04-12
EP2322725B1 (en) 2012-05-16
ES1071660Y (en) 2010-06-18

Similar Documents

Publication Publication Date Title
US9587851B2 (en) Dehumidifier and float assembly thereof
EP2322725A1 (en) Drainage siphon for drain
KR102075928B1 (en) Apparatus to prevent overflow and intercept bad smellof drainage
EP3215684B1 (en) Drain assembly, drain body for use in such an assembly and odor trap of use in such an assembly
JP2018174820A (en) Pot stand with water reception function
KR20170011104A (en) Drain hole cover
EP2754764B1 (en) Stench trap with flexible seal
JP3197713U (en) Wastewater collection container and water storage container
KR102284595B1 (en) Drainage tank with automatic odor blocking and prevention of infestation
JP2013221266A (en) Toilet bowl device
EP2206841B1 (en) Siphon accessible to plumbing snake via feed opening
KR200482899Y1 (en) A draining trap
JP2012102576A (en) Remotely-operated drain plug system
KR101761553B1 (en) Grating Cover
DK2884016T3 (en) Drain with siphon
JP2016050477A (en) Drainage device and drainage system
JP6496291B2 (en) Water storage structure, water storage structure aggregate form, water collecting member
CA2665085A1 (en) Stair flower boxes
KR20190000344U (en) A flowerpot
KR20130082225A (en) The drain trap trench a stench intercept structure
KR101674158B1 (en) Floor drains
KR200416033Y1 (en) Flowerpot with drip tray
KR20090032740A (en) Trench where the trench cover is coupled by screw
EP2216449B1 (en) Drain with inspection hole
KR20110096272A (en) Bathroom drainage

Legal Events

Date Code Title Description
PUAI Public reference made under article 153(3) epc to a published international application that has entered the european phase

Free format text: ORIGINAL CODE: 0009012

AK Designated contracting states

Kind code of ref document: A1

Designated state(s): AL AT BE BG CH CY CZ DE DK EE ES FI FR GB GR HR HU IE IS IT LI LT LU LV MC MK MT NL NO PL PT RO RS SE SI SK SM TR

AX Request for extension of the european patent

Extension state: BA ME

17P Request for examination filed

Effective date: 20110915

GRAJ Information related to disapproval of communication of intention to grant by the applicant or resumption of examination proceedings by the epo deleted

Free format text: ORIGINAL CODE: EPIDOSDIGR1

GRAP Despatch of communication of intention to grant a patent

Free format text: ORIGINAL CODE: EPIDOSNIGR1

GRAP Despatch of communication of intention to grant a patent

Free format text: ORIGINAL CODE: EPIDOSNIGR1

GRAS Grant fee paid

Free format text: ORIGINAL CODE: EPIDOSNIGR3

GRAA (expected) grant

Free format text: ORIGINAL CODE: 0009210

AK Designated contracting states

Kind code of ref document: B1

Designated state(s): AL AT BE BG CH CY CZ DE DK EE ES FI FR GB GR HR HU IE IS IT LI LT LU LV MC MK MT NL NO PL PT RO RS SE SI SK SM TR

REG Reference to a national code

Ref country code: GB

Ref legal event code: FG4D

REG Reference to a national code

Ref country code: CH

Ref legal event code: EP

REG Reference to a national code

Ref country code: AT

Ref legal event code: REF

Ref document number: 558169

Country of ref document: AT

Kind code of ref document: T

Effective date: 20120615

REG Reference to a national code

Ref country code: IE

Ref legal event code: FG4D

REG Reference to a national code

Ref country code: DE

Ref legal event code: R096

Ref document number: 602010001542

Country of ref document: DE

Effective date: 20120712

REG Reference to a national code

Ref country code: PT

Ref legal event code: SC4A

Free format text: AVAILABILITY OF NATIONAL TRANSLATION

Effective date: 20120717

REG Reference to a national code

Ref country code: NL

Ref legal event code: VDEP

Effective date: 20120516

REG Reference to a national code

Ref country code: LT

Ref legal event code: MG4D

Effective date: 20120516

REG Reference to a national code

Ref country code: GR

Ref legal event code: EP

Ref document number: 20120401783

Country of ref document: GR

Effective date: 20120920

PG25 Lapsed in a contracting state [announced via postgrant information from national office to epo]

Ref country code: LT

Free format text: LAPSE BECAUSE OF FAILURE TO SUBMIT A TRANSLATION OF THE DESCRIPTION OR TO PAY THE FEE WITHIN THE PRESCRIBED TIME-LIMIT

Effective date: 20120516

Ref country code: CY

Free format text: LAPSE BECAUSE OF FAILURE TO SUBMIT A TRANSLATION OF THE DESCRIPTION OR TO PAY THE FEE WITHIN THE PRESCRIBED TIME-LIMIT

Effective date: 20120516

Ref country code: RS

Free format text: LAPSE BECAUSE OF FAILURE TO SUBMIT A TRANSLATION OF THE DESCRIPTION OR TO PAY THE FEE WITHIN THE PRESCRIBED TIME-LIMIT

Effective date: 20120516

Ref country code: IS

Free format text: LAPSE BECAUSE OF FAILURE TO SUBMIT A TRANSLATION OF THE DESCRIPTION OR TO PAY THE FEE WITHIN THE PRESCRIBED TIME-LIMIT

Effective date: 20120916

Ref country code: SE

Free format text: LAPSE BECAUSE OF FAILURE TO SUBMIT A TRANSLATION OF THE DESCRIPTION OR TO PAY THE FEE WITHIN THE PRESCRIBED TIME-LIMIT

Effective date: 20120516

Ref country code: NO

Free format text: LAPSE BECAUSE OF FAILURE TO SUBMIT A TRANSLATION OF THE DESCRIPTION OR TO PAY THE FEE WITHIN THE PRESCRIBED TIME-LIMIT

Effective date: 20120816

Ref country code: PL

Free format text: LAPSE BECAUSE OF FAILURE TO SUBMIT A TRANSLATION OF THE DESCRIPTION OR TO PAY THE FEE WITHIN THE PRESCRIBED TIME-LIMIT

Effective date: 20120516

Ref country code: FI

Free format text: LAPSE BECAUSE OF FAILURE TO SUBMIT A TRANSLATION OF THE DESCRIPTION OR TO PAY THE FEE WITHIN THE PRESCRIBED TIME-LIMIT

Effective date: 20120516

REG Reference to a national code

Ref country code: AT

Ref legal event code: MK05

Ref document number: 558169

Country of ref document: AT

Kind code of ref document: T

Effective date: 20120516

PG25 Lapsed in a contracting state [announced via postgrant information from national office to epo]

Ref country code: SI

Free format text: LAPSE BECAUSE OF FAILURE TO SUBMIT A TRANSLATION OF THE DESCRIPTION OR TO PAY THE FEE WITHIN THE PRESCRIBED TIME-LIMIT

Effective date: 20120516

Ref country code: HR

Free format text: LAPSE BECAUSE OF FAILURE TO SUBMIT A TRANSLATION OF THE DESCRIPTION OR TO PAY THE FEE WITHIN THE PRESCRIBED TIME-LIMIT

Effective date: 20120516

Ref country code: LV

Free format text: LAPSE BECAUSE OF FAILURE TO SUBMIT A TRANSLATION OF THE DESCRIPTION OR TO PAY THE FEE WITHIN THE PRESCRIBED TIME-LIMIT

Effective date: 20120516

PG25 Lapsed in a contracting state [announced via postgrant information from national office to epo]

Ref country code: BE

Free format text: LAPSE BECAUSE OF FAILURE TO SUBMIT A TRANSLATION OF THE DESCRIPTION OR TO PAY THE FEE WITHIN THE PRESCRIBED TIME-LIMIT

Effective date: 20120516

PG25 Lapsed in a contracting state [announced via postgrant information from national office to epo]

Ref country code: NL

Free format text: LAPSE BECAUSE OF FAILURE TO SUBMIT A TRANSLATION OF THE DESCRIPTION OR TO PAY THE FEE WITHIN THE PRESCRIBED TIME-LIMIT

Effective date: 20120516

Ref country code: EE

Free format text: LAPSE BECAUSE OF FAILURE TO SUBMIT A TRANSLATION OF THE DESCRIPTION OR TO PAY THE FEE WITHIN THE PRESCRIBED TIME-LIMIT

Effective date: 20120516

Ref country code: SK

Free format text: LAPSE BECAUSE OF FAILURE TO SUBMIT A TRANSLATION OF THE DESCRIPTION OR TO PAY THE FEE WITHIN THE PRESCRIBED TIME-LIMIT

Effective date: 20120516

Ref country code: AT

Free format text: LAPSE BECAUSE OF FAILURE TO SUBMIT A TRANSLATION OF THE DESCRIPTION OR TO PAY THE FEE WITHIN THE PRESCRIBED TIME-LIMIT

Effective date: 20120516

Ref country code: CZ

Free format text: LAPSE BECAUSE OF FAILURE TO SUBMIT A TRANSLATION OF THE DESCRIPTION OR TO PAY THE FEE WITHIN THE PRESCRIBED TIME-LIMIT

Effective date: 20120516

Ref country code: DK

Free format text: LAPSE BECAUSE OF FAILURE TO SUBMIT A TRANSLATION OF THE DESCRIPTION OR TO PAY THE FEE WITHIN THE PRESCRIBED TIME-LIMIT

Effective date: 20120516

Ref country code: RO

Free format text: LAPSE BECAUSE OF FAILURE TO SUBMIT A TRANSLATION OF THE DESCRIPTION OR TO PAY THE FEE WITHIN THE PRESCRIBED TIME-LIMIT

Effective date: 20120516

PLBE No opposition filed within time limit

Free format text: ORIGINAL CODE: 0009261

STAA Information on the status of an ep patent application or granted ep patent

Free format text: STATUS: NO OPPOSITION FILED WITHIN TIME LIMIT

26N No opposition filed

Effective date: 20130219

PG25 Lapsed in a contracting state [announced via postgrant information from national office to epo]

Ref country code: ES

Free format text: LAPSE BECAUSE OF FAILURE TO SUBMIT A TRANSLATION OF THE DESCRIPTION OR TO PAY THE FEE WITHIN THE PRESCRIBED TIME-LIMIT

Effective date: 20120827

REG Reference to a national code

Ref country code: DE

Ref legal event code: R097

Ref document number: 602010001542

Country of ref document: DE

Effective date: 20130219

PG25 Lapsed in a contracting state [announced via postgrant information from national office to epo]

Ref country code: BG

Free format text: LAPSE BECAUSE OF FAILURE TO SUBMIT A TRANSLATION OF THE DESCRIPTION OR TO PAY THE FEE WITHIN THE PRESCRIBED TIME-LIMIT

Effective date: 20120816

REG Reference to a national code

Ref country code: IE

Ref legal event code: MM4A

REG Reference to a national code

Ref country code: DE

Ref legal event code: R119

Ref document number: 602010001542

Country of ref document: DE

Effective date: 20130601

PG25 Lapsed in a contracting state [announced via postgrant information from national office to epo]

Ref country code: IE

Free format text: LAPSE BECAUSE OF NON-PAYMENT OF DUE FEES

Effective date: 20121110

Ref country code: DE

Free format text: LAPSE BECAUSE OF NON-PAYMENT OF DUE FEES

Effective date: 20130601

PG25 Lapsed in a contracting state [announced via postgrant information from national office to epo]

Ref country code: MT

Free format text: LAPSE BECAUSE OF FAILURE TO SUBMIT A TRANSLATION OF THE DESCRIPTION OR TO PAY THE FEE WITHIN THE PRESCRIBED TIME-LIMIT

Effective date: 20120516

Ref country code: AL

Free format text: LAPSE BECAUSE OF FAILURE TO SUBMIT A TRANSLATION OF THE DESCRIPTION OR TO PAY THE FEE WITHIN THE PRESCRIBED TIME-LIMIT

Effective date: 20120516

PG25 Lapsed in a contracting state [announced via postgrant information from national office to epo]

Ref country code: TR

Free format text: LAPSE BECAUSE OF FAILURE TO SUBMIT A TRANSLATION OF THE DESCRIPTION OR TO PAY THE FEE WITHIN THE PRESCRIBED TIME-LIMIT

Effective date: 20120516

Ref country code: MC

Free format text: LAPSE BECAUSE OF NON-PAYMENT OF DUE FEES

Effective date: 20121130

PG25 Lapsed in a contracting state [announced via postgrant information from national office to epo]

Ref country code: LU

Free format text: LAPSE BECAUSE OF NON-PAYMENT OF DUE FEES

Effective date: 20121110

Ref country code: SM

Free format text: LAPSE BECAUSE OF FAILURE TO SUBMIT A TRANSLATION OF THE DESCRIPTION OR TO PAY THE FEE WITHIN THE PRESCRIBED TIME-LIMIT

Effective date: 20120516

PG25 Lapsed in a contracting state [announced via postgrant information from national office to epo]

Ref country code: HU

Free format text: LAPSE BECAUSE OF FAILURE TO SUBMIT A TRANSLATION OF THE DESCRIPTION OR TO PAY THE FEE WITHIN THE PRESCRIBED TIME-LIMIT

Effective date: 20101110

REG Reference to a national code

Ref country code: CH

Ref legal event code: PL

PG25 Lapsed in a contracting state [announced via postgrant information from national office to epo]

Ref country code: LI

Free format text: LAPSE BECAUSE OF NON-PAYMENT OF DUE FEES

Effective date: 20141130

Ref country code: CH

Free format text: LAPSE BECAUSE OF NON-PAYMENT OF DUE FEES

Effective date: 20141130

Ref country code: MK

Free format text: LAPSE BECAUSE OF FAILURE TO SUBMIT A TRANSLATION OF THE DESCRIPTION OR TO PAY THE FEE WITHIN THE PRESCRIBED TIME-LIMIT

Effective date: 20120516

REG Reference to a national code

Ref country code: PT

Ref legal event code: PC4A

Owner name: JIMTEN, S.A., ES

Effective date: 20150805

REG Reference to a national code

Ref country code: GB

Ref legal event code: 732E

Free format text: REGISTERED BETWEEN 20150813 AND 20150819

REG Reference to a national code

Ref country code: FR

Ref legal event code: PLFP

Year of fee payment: 6

REG Reference to a national code

Ref country code: FR

Ref legal event code: TP

Owner name: JIMTEN S.A., ES

Effective date: 20151210

REG Reference to a national code

Ref country code: FR

Ref legal event code: PLFP

Year of fee payment: 7

REG Reference to a national code

Ref country code: FR

Ref legal event code: PLFP

Year of fee payment: 8

REG Reference to a national code

Ref country code: FR

Ref legal event code: PLFP

Year of fee payment: 9

PGFP Annual fee paid to national office [announced via postgrant information from national office to epo]

Ref country code: LU

Payment date: 20181219

Year of fee payment: 15

PG25 Lapsed in a contracting state [announced via postgrant information from national office to epo]

Ref country code: GR

Free format text: LAPSE BECAUSE OF NON-PAYMENT OF DUE FEES

Effective date: 20200609

GBPC Gb: european patent ceased through non-payment of renewal fee

Effective date: 20191110

PG25 Lapsed in a contracting state [announced via postgrant information from national office to epo]

Ref country code: GB

Free format text: LAPSE BECAUSE OF NON-PAYMENT OF DUE FEES

Effective date: 20191110

P01 Opt-out of the competence of the unified patent court (upc) registered

Effective date: 20230523

PGFP Annual fee paid to national office [announced via postgrant information from national office to epo]

Ref country code: FR

Payment date: 20250120

Year of fee payment: 16

PGFP Annual fee paid to national office [announced via postgrant information from national office to epo]

Ref country code: PT

Payment date: 20250527

Year of fee payment: 16

PGFP Annual fee paid to national office [announced via postgrant information from national office to epo]

Ref country code: IT

Payment date: 20251119

Year of fee payment: 16