EP2301598B2 - Katheter-vorrichtung - Google Patents
Katheter-vorrichtung Download PDFInfo
- Publication number
- EP2301598B2 EP2301598B2 EP10008270.0A EP10008270A EP2301598B2 EP 2301598 B2 EP2301598 B2 EP 2301598B2 EP 10008270 A EP10008270 A EP 10008270A EP 2301598 B2 EP2301598 B2 EP 2301598B2
- Authority
- EP
- European Patent Office
- Prior art keywords
- rotor
- drive shaft
- catheter device
- pump
- distal
- Prior art date
- Legal status (The legal status is an assumption and is not a legal conclusion. Google has not performed a legal analysis and makes no representation as to the accuracy of the status listed.)
- Active
Links
Images
Classifications
-
- A—HUMAN NECESSITIES
- A61—MEDICAL OR VETERINARY SCIENCE; HYGIENE
- A61M—DEVICES FOR INTRODUCING MEDIA INTO, OR ONTO, THE BODY; DEVICES FOR TRANSDUCING BODY MEDIA OR FOR TAKING MEDIA FROM THE BODY; DEVICES FOR PRODUCING OR ENDING SLEEP OR STUPOR
- A61M60/00—Blood pumps; Devices for mechanical circulatory actuation; Balloon pumps for circulatory assistance
- A61M60/40—Details relating to driving
- A61M60/403—Details relating to driving for non-positive displacement blood pumps
- A61M60/419—Details relating to driving for non-positive displacement blood pumps the force acting on the blood contacting member being permanent magnetic, e.g. from a rotating magnetic coupling between driving and driven magnets
-
- A—HUMAN NECESSITIES
- A61—MEDICAL OR VETERINARY SCIENCE; HYGIENE
- A61M—DEVICES FOR INTRODUCING MEDIA INTO, OR ONTO, THE BODY; DEVICES FOR TRANSDUCING BODY MEDIA OR FOR TAKING MEDIA FROM THE BODY; DEVICES FOR PRODUCING OR ENDING SLEEP OR STUPOR
- A61M60/00—Blood pumps; Devices for mechanical circulatory actuation; Balloon pumps for circulatory assistance
- A61M60/10—Location thereof with respect to the patient's body
- A61M60/122—Implantable pumps or pumping devices, i.e. the blood being pumped inside the patient's body
- A61M60/126—Implantable pumps or pumping devices, i.e. the blood being pumped inside the patient's body implantable via, into, inside, in line, branching on, or around a blood vessel
- A61M60/13—Implantable pumps or pumping devices, i.e. the blood being pumped inside the patient's body implantable via, into, inside, in line, branching on, or around a blood vessel by means of a catheter allowing explantation, e.g. catheter pumps temporarily introduced via the vascular system
-
- A—HUMAN NECESSITIES
- A61—MEDICAL OR VETERINARY SCIENCE; HYGIENE
- A61M—DEVICES FOR INTRODUCING MEDIA INTO, OR ONTO, THE BODY; DEVICES FOR TRANSDUCING BODY MEDIA OR FOR TAKING MEDIA FROM THE BODY; DEVICES FOR PRODUCING OR ENDING SLEEP OR STUPOR
- A61M60/00—Blood pumps; Devices for mechanical circulatory actuation; Balloon pumps for circulatory assistance
- A61M60/20—Type thereof
- A61M60/205—Non-positive displacement blood pumps
- A61M60/216—Non-positive displacement blood pumps including a rotating member acting on the blood, e.g. impeller
- A61M60/237—Non-positive displacement blood pumps including a rotating member acting on the blood, e.g. impeller the blood flow through the rotating member having mainly axial components, e.g. axial flow pumps
-
- A—HUMAN NECESSITIES
- A61—MEDICAL OR VETERINARY SCIENCE; HYGIENE
- A61M—DEVICES FOR INTRODUCING MEDIA INTO, OR ONTO, THE BODY; DEVICES FOR TRANSDUCING BODY MEDIA OR FOR TAKING MEDIA FROM THE BODY; DEVICES FOR PRODUCING OR ENDING SLEEP OR STUPOR
- A61M60/00—Blood pumps; Devices for mechanical circulatory actuation; Balloon pumps for circulatory assistance
- A61M60/80—Constructional details other than related to driving
- A61M60/802—Constructional details other than related to driving of non-positive displacement blood pumps
- A61M60/804—Impellers
- A61M60/806—Vanes or blades
- A61M60/808—Vanes or blades specially adapted for deformable impellers, e.g. expandable impellers
-
- A—HUMAN NECESSITIES
- A61—MEDICAL OR VETERINARY SCIENCE; HYGIENE
- A61M—DEVICES FOR INTRODUCING MEDIA INTO, OR ONTO, THE BODY; DEVICES FOR TRANSDUCING BODY MEDIA OR FOR TAKING MEDIA FROM THE BODY; DEVICES FOR PRODUCING OR ENDING SLEEP OR STUPOR
- A61M60/00—Blood pumps; Devices for mechanical circulatory actuation; Balloon pumps for circulatory assistance
- A61M60/80—Constructional details other than related to driving
- A61M60/802—Constructional details other than related to driving of non-positive displacement blood pumps
- A61M60/81—Pump housings
-
- A—HUMAN NECESSITIES
- A61—MEDICAL OR VETERINARY SCIENCE; HYGIENE
- A61M—DEVICES FOR INTRODUCING MEDIA INTO, OR ONTO, THE BODY; DEVICES FOR TRANSDUCING BODY MEDIA OR FOR TAKING MEDIA FROM THE BODY; DEVICES FOR PRODUCING OR ENDING SLEEP OR STUPOR
- A61M60/00—Blood pumps; Devices for mechanical circulatory actuation; Balloon pumps for circulatory assistance
- A61M60/80—Constructional details other than related to driving
- A61M60/802—Constructional details other than related to driving of non-positive displacement blood pumps
- A61M60/818—Bearings
- A61M60/825—Contact bearings, e.g. ball-and-cup or pivot bearings
-
- A—HUMAN NECESSITIES
- A61—MEDICAL OR VETERINARY SCIENCE; HYGIENE
- A61M—DEVICES FOR INTRODUCING MEDIA INTO, OR ONTO, THE BODY; DEVICES FOR TRANSDUCING BODY MEDIA OR FOR TAKING MEDIA FROM THE BODY; DEVICES FOR PRODUCING OR ENDING SLEEP OR STUPOR
- A61M60/00—Blood pumps; Devices for mechanical circulatory actuation; Balloon pumps for circulatory assistance
- A61M60/10—Location thereof with respect to the patient's body
- A61M60/122—Implantable pumps or pumping devices, i.e. the blood being pumped inside the patient's body
- A61M60/126—Implantable pumps or pumping devices, i.e. the blood being pumped inside the patient's body implantable via, into, inside, in line, branching on, or around a blood vessel
- A61M60/148—Implantable pumps or pumping devices, i.e. the blood being pumped inside the patient's body implantable via, into, inside, in line, branching on, or around a blood vessel in line with a blood vessel using resection or like techniques, e.g. permanent endovascular heart assist devices
-
- A—HUMAN NECESSITIES
- A61—MEDICAL OR VETERINARY SCIENCE; HYGIENE
- A61M—DEVICES FOR INTRODUCING MEDIA INTO, OR ONTO, THE BODY; DEVICES FOR TRANSDUCING BODY MEDIA OR FOR TAKING MEDIA FROM THE BODY; DEVICES FOR PRODUCING OR ENDING SLEEP OR STUPOR
- A61M60/00—Blood pumps; Devices for mechanical circulatory actuation; Balloon pumps for circulatory assistance
- A61M60/40—Details relating to driving
- A61M60/403—Details relating to driving for non-positive displacement blood pumps
- A61M60/408—Details relating to driving for non-positive displacement blood pumps the force acting on the blood contacting member being mechanical, e.g. transmitted by a shaft or cable
- A61M60/411—Details relating to driving for non-positive displacement blood pumps the force acting on the blood contacting member being mechanical, e.g. transmitted by a shaft or cable generated by an electromotor
- A61M60/414—Details relating to driving for non-positive displacement blood pumps the force acting on the blood contacting member being mechanical, e.g. transmitted by a shaft or cable generated by an electromotor transmitted by a rotating cable, e.g. for blood pumps mounted on a catheter
-
- A—HUMAN NECESSITIES
- A61—MEDICAL OR VETERINARY SCIENCE; HYGIENE
- A61M—DEVICES FOR INTRODUCING MEDIA INTO, OR ONTO, THE BODY; DEVICES FOR TRANSDUCING BODY MEDIA OR FOR TAKING MEDIA FROM THE BODY; DEVICES FOR PRODUCING OR ENDING SLEEP OR STUPOR
- A61M60/00—Blood pumps; Devices for mechanical circulatory actuation; Balloon pumps for circulatory assistance
- A61M60/80—Constructional details other than related to driving
- A61M60/802—Constructional details other than related to driving of non-positive displacement blood pumps
- A61M60/827—Sealings between moving parts
- A61M60/829—Sealings between moving parts having a purge fluid supply
Definitions
- the invention relates to a catheter device which is a miniaturized pump.
- Implantable blood pumps are increasingly being used to treat patients with severe heart disease. Blood pumps of this type have so far been primarily intended for long-term use. However, blood pumps are also being developed that are designed for short-term cardiac support and can be used minimally invasively. The medical goals here are to relieve the heart and restore it to health or to bridge the gap until a heart transplant is possible. The range of applications for such pumps depends on the one hand on how easy it is to insert them into the body and on the other hand on the achievable technical properties and, in particular, the reliably achievable operating time of the available pump systems. Ideally, such a blood pump should be able to be used percutaneously-intravascularly for short-term treatment without any surgical intervention.
- a temporary left ventricular support system is intended to partially or largely take over the pumping function of the left ventricle and improve the coronary supply. In cardiac surgery, such a system can be used in the left and right ventricle and replace a heart-lung machine.
- a percutaneous-intravascular implantable system that has achieved clinical significance to date is the intra-aortic balloon pump (IABP).
- the intra-aortic balloon pump or intra-aortic counterpulsation is a mechanical system that is also used to support the pumping performance of the heart in patients with cardiogenic shock.
- a catheter with a cylindrical plastic balloon is pushed through the groin into the thoracic aorta so that the balloon lies below the exit of the left subclavian artery (sinister subclavian artery).
- the balloon is rhythmically inflated with 30-40 cm3 of helium with an external pump with each heart action in diastole and deflated again in systole.
- the balloon pump improves the blood flow to the heart muscle and all other organs.
- the hemodynamic improvement that can be achieved is very limited because, due to the design principle of the IABP, no active blood pumping takes place. Counterpulsation simply closes the aorta below the left ventricle in the rhythm of the heartbeat, pushing the blood ejected by the heart back and redistributing it, including into the coronary arteries. There is no increase in blood flow.
- a well-known transfemoral implantable micro-axial pump “Hemopump TM” from Medtronic Inc, USA, has been shown after experimental and preliminary clinical testing to be a promising concept that can provide sufficient left heart relief.
- the pump's intake port is placed retrogradely over the aortic valve in the left ventricle.
- the pump rotor is located at the end of a cannula in the upper descending aorta and is driven by an external motor.
- the disadvantage of the system is that due to the large diameter of the rotor, transfemoral implantation is only possible surgically via a femoral arterytomy and, if necessary, by means of a graft coupling.
- the result is an axial pump that can be inserted through the vascular system of a patient.
- the axial pump has a flexible, compressible tube that forms the pump housing.
- a radially compressible rotor is located in the tube.
- the drive shaft of the rotor runs through a catheter.
- the catheter can be pulled into a cover tube together with the tube and the rotor.
- the radial compressibility of the components allows the realization of a puncture diameter that is acceptable for percutaneous implantation using the Seldinger technique.
- a relatively large pump diameter of 10 to 14 mm can be provided. This reduces the rotor speed and thus the mechanical stress on the components.
- the blood pump is an axial pump that is arranged inside a catheter tube, at the end of which a balloon is provided that can be inflated to unfold the pump casing and to close the flow path leading past the pump and in this way to secure the pump in the blood vessel.
- a balloon is provided that can be inflated to unfold the pump casing and to close the flow path leading past the pump and in this way to secure the pump in the blood vessel.
- it is provided to arrange a cup-shaped end of the catheter in a tubular guide catheter, to pull this back and in this way to unfold the cup-shaped end.
- the pump has a drive part and a pump part that have such a small diameter that they can be pushed through a blood vessel.
- a flexible cannula is connected to the pump part.
- the cannula can be expanded to a diameter that is larger than that of the drive part or the pump part.
- the cannula is constricted, in which it has a small diameter. In the blood vessel, it is expanded so that it offers less flow resistance for the blood to be pumped.
- the artificial heart has a pump section and a drive section for driving the pump section
- the pump section is relatively small and is used to accommodate an axial flow pump.
- the axial flow pump is designed as a screw pump. Various designs of screw pumps are provided.
- a catheter with an integrated blood pump is described.
- a flexible rim extends over a tubular section of the catheter and contacts the walls of the aorta, thus ensuring that all blood within the aorta flows through the pump.
- the flexible, expandable rim distances the pump from the aortic valve.
- the WO 03/103745 A2 discloses an expandable rotor of a blood pump with a longitudinal axis, a wire wound helically around the longitudinal axis, which is made of Nitinol and is firmly connected to the longitudinal axis at one end and connected at the other end to a sliding body arranged so as to be displaceable on the longitudinal axis.
- the wire is surrounded by an elastic sheath. When the wire is stretched, it is located within the elastic sheath, with no rotor being formed. If the sliding body is moved on the central axis so that the wire is pressed together, the wire forms a helical shape. As a result, the elastic sheath is stretched around the wire and forms rotor blades.
- the present invention is based on the object of providing a blood pump for cardiac support that can be inserted percutaneously-intravascularly through the femoral artery and can be introduced without surgical intervention.
- the catheter device comprises a drive shaft that is connected to a motor and a rotor that is attached to the drive shaft at the distal end region.
- the rotor has a frame structure that is formed from a helical limiting frame and rotor struts that extend radially inward from the limiting frame.
- the rotor struts are attached to the drive shaft with their ends remote from the limiting frame.
- An elastic covering extends between the limiting frame and the drive shaft.
- the frame structure is formed from an elastic material in such a way that the rotor unfolds independently after an imposed compression.
- the frame structure of the rotor with its limiting frame and rotor struts makes the rotor very stable, but still foldable and can be compressed to almost any diameter. Because the rotor can be made almost any length in the longitudinal and radial directions, the rotor can be optimized for maximum conveying capacity depending on the space available. It is therefore possible to optimally adapt the conveying capacity for each application.
- the rotor is so compressible that it can be introduced into the body with a puncture needle through a puncture with a diameter of approximately 9 French (approx. 3 mm).
- the independent unfolding of the rotor results in a rotor diameter that is many times larger than the diameter of the rotor in the compressed state. This results in a high delivery capacity.
- the framework-like structure of the limiting frame and rotor struts gives the rotor a high level of strength, which allows the rotor to rotate at high speeds without becoming unbalanced.
- a prototype of this catheter device was able to operate for several hours to pump a liquid at a speed of around 32,000 rpm.
- This catheter device also represents a significant advance in terms of reliability and service life.
- the frame structure of the rotor is preferably made of a shape memory material, such as nitinol.
- a shape memory material such as nitinol.
- the rotor When compressed, the rotor can be brought to a temperature at which the shape memory material becomes soft.
- a rotor made of nitinol When heated, the shape memory material becomes solid again and unfolds. As a rule, it is not possible to compress the rotor again without cooling it down without causing damage.
- the elastic covering between the limiting frame and the drive shaft is preferably made of a polymer coating, such as PU, PE, PP, silicone or parylene.
- the rotor is expediently surrounded by a tubular pump section of a pump housing.
- the pump housing is made of a grid, the openings of which are closed at least in the area of the pump section by means of an elastic covering.
- Such a pump housing can be designed with a small gap distance from the rotor, which creates optimal flow conditions and allows the delivery capacity to be further optimized.
- the grid of the pump housing is preferably made of a shape memory material that is compressible together with the rotor.
- the pump housing protects the rotor from external influences.
- Figure 1 shows a catheter device 1.
- the catheter device 1 according to the invention represents a pump.
- the catheter device 1 has a pump head 3 at a distal end 2.
- the pump head 3 has a rotor 3.2 for conveying a medium in the conveying direction 5, which is connected to a drive shaft 4.
- the conveying direction 5 is directed from the distal end 2 to a proximal end 6.
- a motor 7 is arranged at the proximal end 6, which is spaced from the pump head 3.
- the drive shaft 4 is surrounded by a catheter shaft 8 and is connected to the motor 7 in a force-fitting manner by means of a coupling 9.
- the pump head 3 is first explained in more detail below.
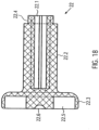
- the pump head 3 comprises a shaft cap 10 at the distal end, the rotor 3.2 arranged on the drive shaft 4, a pump housing 3.1 and an outflow hose 18.
- the butt cap 10 is formed from a ball 10.1 with an attached cylindrical section 10.2.
- the butt cap 10 is made of stainless steel, for example ( Fig.2 , Fig.3 ).
- the butt cap 10 could also be made of polyethylene PE, polypropylene PP, polyetheretherketone PEEK, polyvinyl chloride PVC, Teflon PTFE, acrylic glass, epoxy resin, polyurethane PU, carbon fiber, coated materials, composite materials, PEBAX, a polyether block amide. In principle, all hemocompatible materials are suitable, since only a low mechanical load occurs on this component.
- the diameter of the ball 10.1 is approximately 3.2 mm.
- the cylindrical section 10.2 is approximately 5.5 mm long and has a diameter of approximately 2.2 mm.
- the total length of the butt cap is approximately 7.0 mm.
- the cylindrical section 10.2 has a through hole 10.3 arranged transversely to the conveying direction 5 at its distal end in the connection area to the ball 10.1.
- the cylinder 10.2 also has an axial hole 10.4 which extends from the proximal end of the cylindrical section 10.2 to the ball 10.1, so that a communicating passage is formed from the through hole 10.3 to the proximal end of the shaft cap 10.
- a step 10.5 is formed in the area of the axial hole 10.4, so that the axial hole is widened in the direction of the proximal end.
- the through hole 10.3 prevents a blind hole from being created in the shaft cap and, on the other hand, the through hole allows the attachment of a thread which is helpful when compressing the pump head 3.
- a pigtail, a spiral, a meandering wire with a ball tip or an atraumatic fiber bundle can also be provided. Due to its small size, the butt cap is preferred.
- the tip of the shaft cap 10 is an atraumatic ball to protect the heart muscle (endocardium).
- the pump head 3 can be supported on the heart wall via the shaft cap 10.
- a tubular or hose-shaped distal catheter shaft piece 8.1 is inserted from the proximal end into the shaft cap 10 up to the step.
- the distal catheter shaft piece 8.1 is precisely received in the axial bore 10.4 and is fixed there ( Fig.4 ).
- the distal catheter shaft piece 8.1 is made of polyurethane or another suitable material, in particular an elastic plastic material (e.g. PE, PVC, Teflon, elastomer).
- the distal end of the distal catheter shaft piece 8.1 is connected to the shaft cap 10.
- the connection can be made as an adhesive connection using cyanoacrylate adhesive, for example, or it can be made as a welded, clamped or shrink-fit connection.
- These connecting means are generally suitable for connecting a catheter shaft piece to another, in particular rigid, part. In the following description, this is therefore not carried out at every individual connection point.
- the distal catheter shaft piece 8.1 forms a straight but slightly flexible connection between the shaft cap 10 and the pump housing 3.1.
- the straight connection ensures coaxiality of all components arranged in it (drive shaft, shaft protection, housing, connecting bushing).
- the distal catheter shaft piece 8.1 serves in conjunction with the shaft cap 10 as a positioning aid for the pump head 3 when it is inserted into a vessel or the heart.
- the catheter shaft piece 8.1 in the present embodiment has a length of approximately 25 mm, an outer diameter of approximately 1.9 mm and an inner diameter of approximately 1.3 mm.
- a distal, tubular connecting sleeve 12.1 is provided ( Fig.5 , Fig.6 ).
- the distal connection bushing 12.1 has a larger inner diameter in the distal area than in the proximal area.
- the proximal end of the distal catheter shaft piece 8.1 is precisely accommodated and fixed in the distal area of the connection bushing 12.1.
- a distal connection section 3.1.1 of the pump housing 3.1 is accommodated in the proximal area of the distal connection bushing 12.1.
- the distal connection section 3.1.1 of the pump housing 3.1 is connected to the distal connection bushing 12.1 and the proximal end of the distal catheter shaft piece 8.1 ( Fig. 7a, Fig. 7b ).
- the distal connecting sleeve 12.1 has a length of approximately 5 mm and an outer diameter of approximately 2.2 mm. In the distal area, the diameter is approximately 2 mm and in the proximal area approximately 1.5 mm. The shorter the connecting sleeve, the less stiffening it provides.
- the distal and an analogously designed proximal connection bushing 12.1, 12.2 are made, for example, of stainless steel, copper, brass, titanium or another suitable metal, of polyethylene (PE), polypropylene (PP), Teflon (PTFE), PEBAX, a polyether block amide, or another suitable material.
- PE polyethylene
- PP polypropylene
- PTFE Teflon
- PEBAX PEBAX
- a polyether block amide or another suitable material.
- the expandable or compressible pump housing 3.1 is a tubular lattice structure 3.1.6 made of Nitinol or another suitable shape memory alloy or another shape memory material, e.g. plastic, iron alloy, copper alloy.
- the pump housing 3.1 is divided into five sections from distal to proximal ( Fig.8 ).
- the first distal section is a tubular distal connecting section 3.1.1.
- a second section is a suction section 3.1.2 which widens conically in the conveying direction 5.
- the suction section 3.1.2 is followed by a pump section 3.1.3.
- the tubular pump section 3.1.3 accommodates the rotor 3.2.
- the inner diameter of the pump section 3.1.3 in the expanded state is approximately 6.15 mm.
- An outlet section 3.1.4 narrows conically in the conveying direction 5 and forms the connection between the pump section 3.1.3 and a proximal connecting section 3.1.5.
- the proximal connecting section 3.1.5 is tubular in shape, analogous to the distal connecting section 3.1.1, with a smaller diameter than the pump section 3.1.3.
- the pump housing 3.1 can be compressed in such a way that it does not exceed a maximum diameter of less than 3 mm over its entire length.
- the lattice structure 3.1.6 of the pump housing 3.1 has openings 3.1.7 between the lattice struts ( Fig.8 , Fig.9 ).
- the openings are designed as polygons 3.1.7, which are diamonds in the present embodiment.
- Small diamonds 3.1.7.1 are provided in the pump section 3.1.3.
- the small diamonds 3.1.7.1 are gradually combined to form larger diamonds.
- a larger diamond with twice the edge length is arranged adjacent to a small diamond. This doubling of the edge length is repeated until the openings have the desired size.
- Large diamonds 3.1.7.2 are provided in the intake section 3.1.2 and the outlet section 3.1.4, which have approximately four times the edge length of the small diamonds 3.1.7.1.
- the large diamonds 3.1.7.2 are combined to form smaller diamonds.
- the distal and proximal connecting sections medium-sized diamonds 3.1.7.3 are provided, which have approximately twice the edge length of the small diamonds 3.1.7.1 ( Fig.9 ).
- the design of the openings 3.1.7 and the number of multiplications can be arbitrary. When moving from smaller to larger diamonds, the width of the lattice struts is increased. This keeps the strength of the lattice struts approximately the same or even reinforced towards the larger diamonds.
- the grid structure 3.1.6 of the pump housing 3.1 is covered with a PU covering 3.1.8 in the pump section 3.1.3, whereby the grid openings are sealed liquid-tight.
- This covering or the sealing of the grid structure 3.1.6 can also be formed, for example, by a PU hose which is arranged on the outside or inside of the surface.
- a covering other than PU can also be used, such as PE, PP, silicone or parylene, as long as it meets the mechanical and geometric requirements.
- the performance parameters of the pump including blood damage, can be specifically controlled.
- the polygonal structure and the special design of the PU covering result in an almost round cross-sectional shape for the pump housing 3.1. In conjunction with the round rotor 3.2, this results in very small gaps between the rotor 3.2 and the pump housing 3.1. This leads to comparatively low blood damage, low leakage currents and good efficiency.
- the lattice structure 3.1.6 results in very good radial and axial stability as well as very good axial compressibility and expandability.
- the special structure makes it very easy to adapt the length and diameter to the performance requirements.
- the proximal connecting section 3.1.5 of the pump housing 3.1 is accommodated in the proximal connecting socket 12.2 and connected to it.
- a tubular proximal catheter shaft piece 8.2 is accommodated and connected to it in the same way as the distal connecting socket 12.1 ( Fig. 7a, Fig. 7b ).
- the same types of connections as described above can be used.
- a distal shaft protector 13.1 and a proximal shaft protector 13.2 are arranged in the axial direction ( Fig.6 ).
- the distal and proximal shaft protection 13.1, 13.2 are designed as a tube made of PU or one of the other materials listed above.
- the distal shaft protection 13.1 extends in the conveying direction 5 from just before the distal connecting bushing 12.1 to the distal end of the pump section 3.1.3 of the pump housing 3.1, i.e. to the rotor 3.2.
- the proximal shaft protection 13.2 extends from the proximal end of the rotor 3.2 to just behind the proximal end of the proximal connecting bushing 12.1.
- the distal and proximal shaft protectors 13.1, 13.2 are connected to the distal and proximal connecting sleeves 12.1, 12.2 and the distal and proximal catheter shaft pieces 8.1, 8.2 in the two areas in which they are arranged within these.
- the connecting bushings 12.1, 12.2 ensure the axial centering of the drive shaft 4, particularly in the pump housing 3.1.
- the drive shaft 4 is arranged in the axial direction within the distal and proximal shaft protection 13.1, 13.2 or the pump housing 3.1.
- the drive shaft 4 has three sections in the conveying direction 5.
- a distal section of the drive shaft 4.1 in the area of the shaft cap 10.
- the rotor 3.2 is glued to the drive shaft.
- other force-fit connections such as welding or clamping can also be provided.
- the proximal shaft protection 13.2 ( Fig.2 , Fig.6 ) separates the proximal section 4.3 of the drive shaft 4 from the pump medium to protect against blood damage caused by the rotational movement of the drive shaft 4 and adhesion of blood components to the drive shaft 4. This means that no shear forces build up. There is no direct interaction between the drive shaft 4 and the blood due to the very small gap and only minimal blood transport is possible through this gap.
- the distal and proximal shaft protection 13.1, 13.2 center and support the drive shaft 4 during operation and during the compression and expansion process.
- the drive shaft 4 is preferably made of several, in particular six wires (not shown), which are wound left or right around a core (not shown).
- the outer diameter of the drive shaft 4 is approximately 0.48 mm.
- the drive shaft 4 can also have a different number of cores and wires and a smaller or larger diameter.
- the diameter of the drive shaft can be in the range from 0.3 mm to 1 mm and is preferably approximately 0.4 mm to 0.6 mm.
- the smaller the diameter of the drive shaft the higher the rotational speed can be, because the smaller the diameter, the lower the speed at which the circumference of the drive shaft moves relative to its surroundings. A high circumferential speed is problematic if the drive shaft comes into contact with the surroundings.
- the catheter device is designed for speeds of more than 20,000 rpm and up to 40,000 rpm.
- the diameter of the drive shaft 4 is therefore made as small as possible, but thick enough that it still has sufficient strength.
- spiral-shaped guide spiral 14 is arranged to minimize the friction of the drive shaft 4, to avoid wall contact of the drive shaft 4 with the proximal catheter shaft piece 8.2 and to prevent the drive shaft 4 from kinking as a result of bending.
- the drive shaft 4 is guided and splinted or stabilized by the guide spiral 14 ( Fig.10 ).
- the guide spiral 14 can be made of stainless steel and glued to the shaft protection 13.1, 13.2. It can also be provided that the guide spiral is designed as a spring.
- the winding direction of the guide spiral 14 can also be the same as the winding direction of the drive shaft 4.
- the drive shaft 4 extends from the distal end of the distal shaft guard 13.1 in the conveying direction 5 behind the distal connecting bush 12.1 to the coupling 9.
- the proximal catheter shaft piece 8.2 in conjunction with the guide spiral 14 provides a length and torsion-constant connection between the pump head 3 and the coupling 9.
- a bearing disk 15 is arranged ( Fig.6 ).
- the bearing disk 15 is provided with a through hole 15.1.
- the diameter of the through hole 15.1 corresponds approximately to the outer diameter of the drive shaft 4.
- the bearing disk 15 is arranged on the drive shaft 4 in such a way that it receives the proximal end of the distal shaft guard 13.1 and limits it in the conveying direction 5.
- the bearing disk 15 is made of stainless steel, Teflon or ceramic, for example, or another suitable material.
- the bearing disk 15 is connected to the fixed shaft guard using cyanoacrylate adhesive and can therefore absorb axial forces against the conveying direction 5 (connecting means see above).
- the spiral-shaped, expandable rotor 3.2 is arranged in a rotationally fixed manner on the drive shaft 4.
- the rotor 3.2 is a two-winged, comb-shaped frame structure 3.2.1 made of Nitinol or another shape memory material, e.g. plastic (see above), which is coated with a PU skin or surrounded by it in a liquid-tight manner ( Fig. 11a ). This means that the covering in the form of the PU skin is stretched between the comb-shaped frame structure.
- the construction of the rotor 3.2 as a coated frame structure 3.2.1 made of Nitinol makes it possible to expand or compress the rotor 3.2.
- the PU skin has a high elasticity, so that it is not damaged when compressed.
- the frame structure 3.2.1 has a circumferential, helical or spiral outer boundary frame 3.2.2 with several rotor struts 3.2.3 connected to the boundary frame 3.2.2 and extending radially inward ( Fig. 12 ). Rings 3.2.4 are formed at the free ends of the rotor struts 3.2.3.
- the drive shaft 4 extends through the rings 3.2.4 of the rotor struts 3.2.3.
- a spacer sleeve 16 is arranged between each two adjacent rings 3.2.4.
- the distal end of the rotor 3.2 rests against the bearing disk 15 with a distal end spacer sleeve 16.
- the end spacer sleeve 16 can also be designed as a special bearing spacer sleeve 16. In this way, two of the frame structures 3.2.1 form a two-blade rotor 3.2.
- the rotor 3.2 can also be made in one piece ( Fig. 11 b) or have multiple frame structures ( Fig. 11 a) . Each frame structure forms a rotor blade.
- Fig. 11b and 12 a frame structure 3.2.1 for a rotor 3.2 is shown, which forms two rotor blades. If required, several rotor blades and accordingly several frame structures 3.2.1 can be arranged on a rotor 3.2.
- the frame structure can also have any other suitable shape.
- the distance between two adjacent rings 3.2.4 is smaller than the corresponding section of the spiral-shaped limiting frame 3.2.2.
- the pitch of the rotor 3.2 can thus be determined by the length of the spacer sleeves 16. It can vary within a rotor 3.2.
- the pitch of the rotor 3.2 is determined by the length or number of spacer sleeves 16 in relation to the dimensions of the rotating, spiral-shaped outer limiting frame 3.2.2 between two rotor struts 3.2.3.
- the length of the spacer sleeves 16 can be uniform for all positions, but it can also be varied symmetrically or asymmetrically for each position.
- the complete freedom of design allows a very flexible design of the rotor 3.2.
- the flexible design makes it possible to generate different conveying or pumping properties of the rotor 3.2.
- the Rotor 3.2 has a high degree of dimensional stability with flexible design options and minimal use of materials (e.g. thin frame structure). Maximum rigidity and stability is achieved. Nevertheless, the combination of the frame structure with the covering, which further supports the properties of the frame structure through stabilization, allows for very strong compression. This leads to the rotor's very good compressibility and expandability. Due to the good surface formation of the PU skin on the lattice structure, the housing structure can be very well adapted to the rotor structure.
- the rotor 3.2 In the compressed state, the rotor 3.2 has approximately the inner diameter of the compressed pump housing 3.1.
- the outer diameter of the compressed pump housing is approximately between 2 mm and 4 mm and preferably approximately 3.3 mm.
- the spiral-shaped outer limiting frame 3.2.2 of the rotor 3.2 is slightly spaced from the inner surface of the pump housing 3.1.
- the distance between the outer limiting frame 3.2.2 and the inner surface of the pump housing 3.1 is approximately between 0.01 mm and 0.5 mm. The smaller the distance between the frame structure 3.2.1 and the inner surface of the pump housing 3.1, the higher the delivery capacity of the rotor 3.2.
- the distal spacer sleeve 16 of the rotor 3.2 contacts the bearing disk 15 in the manner of a sliding bearing. In this way, a distal rotor bearing 17 is formed ( Fig.6 ).
- the drive shaft 4 is accommodated in the through hole of the bearing disk 15 with almost no play. Only small clearances remain (not shown) due to the design of the drive shaft 4.
- the rotor 3.2 is subjected to an axial force counter to the conveying direction 5 due to the conveying of the pumped medium. This force is diverted to the bearing disk 15 via the distal end spacer sleeve 16.
- the drive shaft 4 is similarly received by a proximal connecting bushing 12.2 on the proximal end spacer sleeve 16 of the rotor 3.2.
- a tubular elastic discharge hose 18 is arranged ( Fig.1 , Fig. 13 ).
- the outflow hose 18 is made of PU.
- the outflow hose 18 has a length of approximately 70 mm, a diameter of approximately 10 mm and a wall thickness of approximately 0.01 mm to 0.1 mm and preferably approximately 0.03 mm.
- the two ends of the outflow hose 18 are tapered, with a cylindrical section being arranged at the proximal conical end of the outflow hose.
- the distal, tapered end of the outflow hose 18 is tightly sealed with the PU covering of the pump section 3.1.3 of the pump housing 3.1.
- the cylindrical proximal section is firmly connected to the proximal catheter shaft piece 8.2. Both are connected to each other in a liquid-tight manner using dissolved PU.
- outlet openings 18.1 are arranged radially all the way around.
- the outlet openings 18.1 can be oval in the conveying direction 5, for example. It can also be provided that the outlet openings are round, crescent-shaped or have any geometry in order to generate other outlet flows.
- the outlet openings 18.1 swirl the blood exiting the bulbus aorticus. This prevents a laminar flow and thus the water jet pump effect in relation to the coronary arteries.
- the outflow tube 18 directs the pump volume from the left ventricle via the aortic valve into the aorta.
- the outflow tube 18 acts like a check valve. If there is a positive pressure difference between the outflow tube 18 and the aorta, the outflow tube 18 is more or less open depending on the flow rate generated by the pump. If the pressure difference is zero or negative, the outflow tube 18 closes just like the aortic valve due to its high flexibility and fits tightly against the proximal catheter shaft piece 8.2. This flexibility leads to a good seal during the flow against the leaflets of the aortic valve. In this way, only minimal backflow from the aorta into the left ventricle occurs.
- the coupling 9 and the motor 7 are arranged at the proximal end of the catheter shaft 8.2.
- the distance between the pump head 3 and the coupling 9 or the length of the proximal catheter shaft section 8.2 can vary depending on the patient and is approximately 90 to 150 cm.
- a tubular cover tube 29 is arranged above the catheter device 1.
- the cover tube 29 is designed such that it surrounds the compressed pump head 3 and the proximal catheter shaft piece 8.2.
- the cover tube 29 holds the pump head 3 in its compressed state.
- the cover tube 29 is pulled back from the fixed catheter device 1 until the pump head 3 is exposed.
- the pump housing 3.1 and rotor 3.2 expand radially outwards due to the spring force of the elastic material. This means that the grid structure 3.1.6 of the pump housing 3.1 and the frame structure 3.2.1 of the rotor 3.2 expand until they have reached their predetermined diameter. It can also be provided to use temperature effects of the memory material to support the expansion.
- the cover tube 29 is advanced to the shaft cap 10, whereby the rotor 3.2 and the pump housing 3.1 are compressed and drawn into the cover tube, after which the latter is extracted through the puncture site.
- the clutch 9 is a magnetic clutch ( Fig. 14 , Fig. 15 ).
- the coupling 9 has a coupling housing 19 with a distal magnet unit 23.1.
- the coupling housing 19 is connected to the proximal catheter shaft piece 8.2, which forms a continuous cavity.
- the coupling housing 19 hermetically separates the proximal catheter shaft piece 8.2 from a motor arrangement 30.
- the motor arrangement 30 has a proximal magnet unit 23.2.
- the proximal magnet unit 23.2 is non-positively connected to the motor 7.
- the distal magnet unit 23.1 is connected to the drive shaft 4 via a coupling element 22.
- the distal magnet unit 23.1 and the proximal magnet unit 23.2 are coupled to one another in a rotationally fixed manner via magnetic forces.
- the two magnet units 23.1, 23.2 ensure a force-locking connection with contact-free rotational force transmission.
- the coupling housing 19 has, from distal to proximal, a distal cylindrical section 19.1, a conically widening section 19.2, a second cylindrical section 19.3 and a proximal cylindrical section 19.4.
- the coupling housing is made, for example, from polymethyl acrylate (PMMA) or another material that can be injection molded or machined.
- a through hole is formed in the distal cylindrical section 19.1, arranged centrally in the axial direction.
- the through hole extends through the entire coupling housing 19.
- the through-bore narrows in three stages from a first catheter shaft receiving section 19.5 to a second guide spiral receiving section 19.6 and to a third drive shaft passage section 19.7.
- the bore diameter of the catheter shaft receiving section 19.5 is approximately 1.9 mm, that of the guide coil receiving section 19.6 is approximately 1.28 mm and that of the third bore section is approximately 1.0 mm.
- the proximal end of the proximal catheter shaft is arranged in the catheter shaft receiving section 19.5 of the coupling housing 19 and is firmly connected thereto.
- the guide spiral 14 is accommodated in the guide spiral receiving section 19.6.
- the drive shaft 4 extends through the through hole of the drive shaft passage section 19.7 of the distal cylindrical section 19.1 and the conically widening section 19.1, 19.2.
- the drive shaft passage section 19.7 widens in the conically widening section 19.2 into a fourth bore section 19.8.
- the fourth bore section merges into a hollow cylindrical bearing section 19.9 at the beginning of the second cylindrical section 19.3.
- An outer ring magnet 20.1 is arranged in the distal end region of the bearing section 19.9.
- the outer ring magnet 20.1 is fixed in the bore of the bearing section 19.9 by means of a press fit and can additionally or alternatively be fixed by means of an adhesive.
- the bearing section 19.9 has a diameter of approximately 10 mm.
- a pump (not shown) is connected to the flushing bore for introducing a medium, e.g. NaCl, glucose solution, Ringer's solution, plasma expander, etc.
- a medium e.g. NaCl, glucose solution, Ringer's solution, plasma expander, etc.
- the bore of the distal coupling section 19.10 merges into a larger proximal coupling section 19.11.
- 19.11, 8 x M 1.6 threaded holes 19.13 are formed radially symmetrically.
- three L-shaped milled recesses 19.14 are arranged, distributed around the circumference.
- the distal coupling section 19.10 has a diameter of approximately 22 mm.
- the flushing bore 19.15 has a diameter of approximately 6.5 mm and the proximal coupling section 19.11 has a diameter of approximately 30 mm.
- the proximal end of the drive shaft 4 is connected to a cuboid-shaped square rod 21 in a rotationally, tensile and compressively resistant manner (force-locking) ( Fig.17 ).
- the square rod 21 has a recess 21.1 for receiving the proximal end of the drive shaft 4.
- the drive shaft 4 is fixed in the recess.
- the square rod 21 is made of brass, for example, which has good lubricating properties. Other suitable materials are all materials that can be extruded or machined, such as PE, PP, PTFE, gold, silver, titanium, diamond, etc.
- the square bar 21 has a length of approximately 19.4 mm and a cross-section of approximately 2.88 mm x 2.88 mm.
- the square rod 21 transmits the rotary motion of the motor to the drive shaft.
- the square rod 21 can have any geometric shape that allows a statically determined force input.
- the square rod 21 is axially displaceably received in an axial recess 22.1 within a rotationally symmetrical coupling element 22 ( Fig. 23 ). This enables it to compensate for length differences in the axial direction ( Fig. 18 ).
- the recess 22.1 is formed by a larger, central bore and four smaller bores arranged along the circumference of the central bore.
- the bores can be formed by drilling, erosion, ultrasonic drilling, laser drilling or water jet drilling.
- the arrangement of the holes provides four axially extending double stop edges.
- the recess 22.1 is arranged within a cylindrical section 22.2 of the coupling element 22 and extends from the distal end of the coupling element 22 to just before a disk-shaped proximal section 22.3 of the coupling element 22.
- the cylindrical section 22.2 has an outer diameter of approximately 8 mm and the disk-shaped section 22.3 has an outer diameter of approximately 18 mm.
- the recess 22.1 is designed in such a way that the square bar 21 is fixed radially or in the circumferential direction and accommodated in an axially displaceable manner.
- the radial fixation of the square bar 21 is achieved by contacting all four longitudinal edges of the square bar 21 with one of the four double stop edges of the recess 22.1.
- More or fewer stop edges can also be provided.
- a square bar for example, a triangular or pentagonal bar or a profile bar with any cross-sectional area that remains constant in the longitudinal direction of the bar can be provided.
- the shape of the recess 22.1 must be adapted to the cross-sectional area of the profile bar.
- a shoulder 22.4 is formed on the distal outer end or circumference of the cylindrical section 22.2 of the coupling element 22.
- a second inner ring magnet 20.2 is arranged on this shoulder 22.4.
- the shoulder 22.4 accommodates the ring magnet 20.2 in such a way that its outer surface is flush with the outer surface of the cylindrical section 22.2.
- this forms a magnetic ring bearing 20.3.
- the two ring magnets 20.1, 20.2 are arranged in such a way that, for example, the north pole of the outer ring magnet is oriented distally and the south pole is oriented proximally.
- the north and south poles of the inner ring magnet are designed in opposite directions. Accordingly, the north and south poles of the two ring magnets can also be arranged in reverse.
- the magnetic ring bearing 20.3 centers the drive shaft 4 in the axial and radial directions. Radial centering is achieved by the magnetic attraction forces in the radial direction.
- Axial centering is achieved by generating magnetic restoring forces when the inner ring magnet 20.2 is slightly offset, which pull the inner ring magnet 20.2 into a position that corresponds to the position of the outer ring magnet 20.1 in the axial direction. With a larger offset, however, repulsive forces occur between the two magnetic rings 20.1 and 20.2, which pushes them apart.
- the ring magnets 20.1, 20.2 do not touch each other, i.e. no lubrication is required.
- the magnetic ring bearing also has a vibration-damping effect.
- a magnet holder 22.5 is formed in the disk-shaped section 22.3 of the magnetic coupling element 22.
- the magnet holder 22.5 is a centric circular milled recess.
- the centric circular milling 22.5 has a diameter of approximately 16.5 mm and a depth of approximately 3 mm.
- the magnet holder 22.5 holds the ring-shaped distal magnet unit 23.1, which consists of four segments.
- the ring-shaped distal magnet unit is glued into the magnet holder 22.5.
- a ball head bearing holder 22.6 is formed centrally in the proximal end face of the coupling element 22.
- the ball head bearing holder 22.6 is an approximately hemispherical recess 22.6.
- the hemispherical recess 22.6 has a diameter of approximately 0.5 to 1.3 mm.
- the square rod 21 or the cylindrical section of the coupling element 22 is received by the fourth bore section 19.8 or the bearing section 19.9 of the coupling housing 19.
- the disk-shaped section 22.3 of the coupling element 22 is received by the distal coupling section 19.10 of the coupling housing 19.
- the clutch housing 19 is hermetically separated from the engine assembly by a cover plate 24 ( Fig. 19 ).
- the clutch housing 19 is gas and liquid tight except for the flushing bore 19.15 in the clutch housing 22 and the free spaces between the drive shaft passage section 19.7 and the drive shaft 4.
- the cover plate 24 is arranged on the shoulder 19.12 of the coupling housing 19 and is fixed by means of eight screws, which are received in corresponding radially symmetrically arranged holes 24.1 in the cover plate 24 and are screwed into the threaded holes 19.13 of the coupling housing 19. This connection is designed to be liquid and gas tight.
- the cover plate 24 is made, for example, from polymethyl acrylate (PMMA) or another non-metallic material (such as Peek, PEBAX, Teflon, PP, PE, all injection-moldable, extrudable or machined, non-magnetic materials).
- the cover plate 24 On the distal side, the cover plate 24 has a central thickening 24.2. In the center of the cover plate 24 there is a through hole 24.3 and a central hemispherical milling 24.4. A cylindrical centering pin 24.5 is fixed in the through hole 24.3 ( Fig.21 ). A ball head 24.6 is arranged on the centering pin 24.5 and is accommodated in the hemispherical milling ( Fig. 15 , Fig. 20 ).
- the distal magnet unit 23.1 is subjected to a force in the proximal direction. These opposing forces cause a resulting force with which the coupling element 22 is pressed against the ball head 24.6. This resulting force is adjusted so that the ball head 24.6 is securely mounted and yet the wear in the ball head bearing is kept to a minimum.
- the ball head 24.6 forms a ball head bearing 25 in conjunction with the distally arranged ball head bearing holder 22.7 of the coupling element 22.
- the ball head bearing 25 is a plain bearing.
- other plain bearings are also possible, such as a conical head bearing or a cylinder head bearing, in which a cone or a cylinder is provided as the bearing body instead of the ball.
- the holder is adapted to the shape of the bearing body.
- the axial centering of the magnetic ring bearing 20.3 is achieved by the inner ring magnet 20.2 not being positioned exactly in the middle of the outer ring magnet 20.1 in the axial direction, but being slightly offset proximally. This means that the inner ring magnet 20.2 is subjected to a force in a distal direction.
- the ball head 24.6 can be made of ruby, aluminum oxide or a hard plastic.
- the motor assembly comprises the proximal magnet unit 23.2, a proximal magnet holder 26, a coupling flange 27, a motor holder 7.1, with a cooling fan arranged thereon and the motor 7 ( Fig. 14 , Fig. 22 ).
- a proximal magnet unit 23.2 is arranged axially aligned with the distal magnet unit 23.1 at a distance of approximately 0.5 to 8 mm and preferably approximately 1 to 2 mm.
- the proximal ring-shaped magnet unit 23.2 has four segments, analogous to the distal magnet unit 23.1.
- the magnet holder 26 is disk-shaped and has a central circular milling 26.1 on its distal side. Analogous to the distal magnet unit 23.1, four magnet segments are glued into the milling 26.1 using two-component epoxy resin adhesive or cyanoacrylate adhesive (see above).
- the four segments of the distal and proximal magnet units 23.1, 23.2 can be designed as curved bar magnets, each of which has a different polarity at its end.
- the four segments can also be designed as four quarters of a curved ring magnet.
- the segments can also be designed as short, axially aligned bar magnets that are arranged in a ring shape. More than four segments can also be provided. In the starting position, the two magnets are arranged in such a way that a north and a south pole of the bar magnets of the two magnet units 23.1, 23.2 overlap and attract each other.
- the four segments are arranged four times with their north and south poles alternating in abutment so that the segments of a magnet unit attract each other.
- the distal and proximal magnet units 23.1, 23.2 are arranged in such a way that complementary poles are arranged opposite each other. This causes the two magnet units to attract each other and a torque can be transmitted because the magnetic forces want to maintain this complementary pole arrangement.
- the centric circular milling 26.1 has a diameter of approximately 16.5 mm and a depth of approximately 3 mm.
- the magnet holder 26 is connected to a motor shaft 7.2 of the motor 7.
- the magnet holder 26 is arranged rotatably within a correspondingly shaped recess in the coupling flange 27 of the motor holder.
- Three dowel pins 27.1 are arranged evenly spaced along the outer circumference of the annular web of the recess.
- the clutch housing 19 is connected to the dowel pins 27.1 of the clutch flange 27 of the motor assembly via the L-shaped millings 19.14 of the clutch housing 19.
- the coupling flange 27 is attached to a distal end face 7.1.1 of the motor mount while maintaining axial symmetry.
- the motor mount 7.1 is a cuboid-shaped body, on whose side surfaces 7.1.2 cooling fins 7.1.3 are arranged.
- the motor mount 7.1 has a centrally arranged bore 7.1.4 in the axial direction. This The motor shaft 7.2 is guided in bore 7.1.4. An axially aligned recess 7.1.5 is also provided in which the motor 7 is arranged.
- the motor 7 is, for example, a standard electric motor from Faulhaber with an output of 38 W at 30,000 rpm or another suitable motor.
- a cooling fan is arranged on a side surface 7.1.2 of the cuboid-shaped motor mount 7.1.
- a cover tube 29 is arranged above the pump head 3 and a distal region of the proximal catheter shaft piece.
- the cover tube 29 has an inner diameter which, in the region of the pump head 3, corresponds to the outer diameter of the non-expanded pump housing.
- the outer diameter of the cover tube is approximately 3 mm.
- the two magnet units 23.1, 23.2 are spatially separated from one another by the cover plate 24 in the clutch housing 19.
- the magnetic attraction forces between the two magnet units 23.1, 23.2 create a force-locking connection.
- Opposite poles of the two magnet units 23.1, 23.2 face each other, causing them to attract one another and forming a non-rotating force-locking connection.
- the ball head bearing holder 22.7 of the coupling element 22 is pressed onto the ball head 24.6 of the cover plate 24 and forms the ball head bearing 25.
- the ball head bearing centers the axial run of the drive shaft 4.
- the inner ring magnet 20.1 is guided radially at a constant distance in the outer ring magnet 20.2.
- the magnetic ring bearing 20.3 in conjunction with the ball head bearing 25 centers and guides the rotationally symmetrical running of the coupling element 22 or the drive shaft 4 in order to prevent impacts or imbalance.
- the motor shaft 7.2 rotates at a speed of approximately 20,000 rpm to 40,000 rpm and preferably approximately 32,000 rpm to 35,000 rpm, which is transmitted to the drive shaft 4.
- the rotor 3.2 has a delivery capacity of approximately 2 l/min to 2.5 l/min at a differential pressure of 60 mm Hg.
- the drive shaft 4 twists or shortens and the resistance at the distal magnet unit 23.1 increases.
- the magnetic fields between the proximal and distal magnet units 23.2, 23.1 do not completely overlap during operation because the distal magnet unit 23.1 always lags behind the proximal magnet unit 23.2 a little. If the torque required at the distal magnet unit 23.1 increases, the north and south poles of the magnet units 23.1, 23.2 no longer overlap but repel each other. This causes the distal magnet unit 23.1 to be pushed distally by the proximal magnet unit 23.2. The magnetic connection between the two magnet units 23.1, 23.2 is severed. The drive shaft 4 immediately stops.
- the inner ring magnet 20.2 of the coupling element 22 is also moved in the distal direction and the north and south poles of the two ring magnets 20.1, 20.2 of the magnetic ring bearing 20.3 no longer overlap but repel each other. This keeps the coupling 9 in the decoupled state and results in a permanent decoupling of the motor 7 and drive shaft 4.
- the amount of torque that can be transmitted is limited by the magnetic ring bearing 20.3 or the magnetic connection between the two magnet units 23.1, 23.2. As soon as the set torque is exceeded, the two magnet units 23.1, 23.2 separate. The distal magnet unit 23.1 can no longer keep up with the proximal magnet unit 23.2 due to the rapid rotation, as the magnetic binding forces are no longer sufficient. As a result, the north and south poles no longer overlap and the magnet units 23.1, 23.2 repel each other. The connection between the magnet units 23.1, 23.2 is separated and the maximum torque that can be transmitted is limited. The magnet units 23.1, 23.2 are held in the decoupled state by the magnetic ring bearing 20.3 through the mutual repulsion of the ring magnets 20.1, 20.2.
- This state can be changed again by applying an external magnetic field.
- the two magnet units 23.1, 23.2 can be brought back into their coupled starting position.
- the clutch housing 19 and the motor arrangement 30 are spatially separated from one another. This makes it possible to lubricate the drive shaft 4 via the pump arranged on the flushing bore 19.15 at around 5-10 ml/h despite the high speed in order to minimize friction. It can also be provided to introduce an infusion via the flushing bore 19.15, which also lubricates the drive shaft 4.
- the small diameter of the drive shaft is advantageous at high speeds of around 32,000 rpm. With larger diameters, the peripheral speed would be too high and friction could lead to Damage to the drive shaft 4 or the adjacent components may occur.
- the arrangement of the ball head bearing 25 (plain bearing), the magnetic ring bearing 20.3 (contact-free, damping and centering) and the axial plain bearing between the drive shaft 4 and the clutch housing 19 results in three stabilization points.
- a change in length occurs, for example, when the pump head 3 is compressed.
- the rotor 3.2 is compressed, folded around the drive shaft and clamped in the housing.
- the pump housing 3.1 extends proximally. The drive shaft 4 can move so far that it is not torn off the rotor 3.2.
- the ability to move the drive shaft 4 allows the length change of the PU catheter shaft due to fluid absorption, temperature differences, and bending of the catheter shaft 8.2, which affect the length ratios between the drive shaft 4 and the catheter shaft 8.2, to be compensated. This mechanism is possible due to the ability to move the square rod 21 within the axial recess 22.1.
- the pump head 3 is arranged in the left ventricle in such a way that the outflow tube 18 is arranged approximately in the middle of the transition from the aorta to the heart, i.e. in the area of the heart valve.
- the catheter device 1 is preferably designed in such a way that it can generate a certain pump pressure in the range of approximately 100 mm Hg to 150 mm Hg. If the heart is in systole, the catheter device pumps blood if the pressure built up by the heart is less than the pump pressure. A diseased heart is thus relieved. During diastole, an opposite pressure difference exists. If the pressure difference is greater than the pump pressure, the catheter device cannot pump blood. The outflow tube is compressed by the heart valve so that it is sealed. If the pressure difference is less than the pump pressure, however, some blood is pumped against the pressure difference.
- Fig. 24 shows the positioned catheter device 1 for left heart support.
- the pump head 3 is located completely in the left ventricle.
- the outflow tube extends through the heart valve.
- a cover tube 29 is first guided into the left ventricle using a guide wire (Seldinger technique). The guide wire is then removed from the cover tube.
- the catheter device 1 is inserted through the cover tube with the compressed and cooled pump housing 3.1 and rotor 3.2 until the catheter device 1 with the pump head 3 has reached the left ventricle. The device is deployed by pulling the cover tube 29 back on the fixed catheter shaft 8 until the tip of the cover tube 29 has released the pump head 3.
- the cover tube 29 is advanced to the shaft cap 10, whereby the rotor 3.2 and pump housing 3.1 are drawn into the cover tube 29 in a compressed state, after which the cover tube is extracted through the puncture site.
- the bearing disk 15 is arranged on the proximal side of the rotor 3.2.
- the distal conveying direction can be achieved either by reversing the direction of rotation compared to the above embodiment or by reversing the pitch of the rotor 3.2.
- the discharge hose 18 is arranged at the distal end of the pump section of the pump housing 19 and extends distally beyond the pump head. To stiffen the discharge hose 18, the discharge hose can have a grid structure made of a shape memory material, e.g. similar to that of the pump housing.
- the shaft cap 10 extends beyond the distal end of the discharge hose.
- the pump medium flows through the outlet openings of the pump housing, which now serve as inlets, into the pump housing and passes through the inlet opening of the pump housing, which now serves as outlet, into the outflow hose 18.
- the pump medium exits the catheter device 1 via the distal end of the outflow hose.
- the embodiment just described can, for example, be intended for use in the right ventricle.
- the catheter device according to the invention can also be designed in such a way that pumping from distal to proximal and from proximal to distal is possible ( Fig. 25 (III).
- bearing disks 15 are provided at the distal and proximal ends of the rotor 3.2.
- the discharge hose 18 is arranged at the distal end of the pump section 3.1.3 of the pump housing 3.1 and extends in the distal direction.
- the discharge hose 18 has a grid structure for stiffening, e.g. similar to the pump housing.
- the grid structure is covered with a PU skin.
- the diameter of the discharge hose corresponds approximately to that of the expanded pump housing.
- a pumped medium can enter or exit through the outlet openings of the pump housing.
- the pump medium then enters the outflow hose, for example, via the outlet openings of the pump housing and the inlet openings of the pump housing and exits at the distal end of the outflow hose. If the pumping direction is reversed, the flow through the catheter device is reversed accordingly. This means that the pump medium enters the outflow hose at the distal end of the outflow hose and reaches the outlet openings of the pump housing via the inlet opening of the pump housing. This allows distal or proximal flow through the pressure and suction-stabilized outflow hose 18.
- the embodiment just described can be used, for example, for drainage or for filling hollow organs or spaces.
- the reversal of the conveying direction can be achieved on the one hand by reversing the direction of rotation of the rotor and on the other hand by reversing the pitch of the rotor.
- the magnet units each have four curved bar magnets, each of which is placed against one another with opposite poles.
- the magnet units can also be designed such that the north and south poles of the magnet units are aligned in the axial direction, with the poles being arranged on the axially distal and proximal surfaces.
- the magnets are arranged in a ring shape in accordance with the previous embodiments.
- Such a coupling can be used, for example, to drive a milling head instead of a rotor.
- a milling head instead of a rotor.
- kidney stones or bones can be milled in a minimally invasive manner.
- the number of magnets can basically be varied as desired.
- the radial compressibility of the components allows the realization of a puncture diameter that is acceptable for percutaneous implantation using the Seldinger technique, due to the very small diameter of the catheter device of around 3 mm.
- the rotor after the WO 99/44651 has an elastic band to connect the ends of a Nitinol coil to a rotation axis.
- This elastic connection means that the coil is not perfectly centered. This causes vibrations when pumping, which make higher speeds or flow rates impossible.
- the frame structure of the rotor with limiting frame and rotor struts according to the catheter device 1 makes the rotor more stable, foldable and can be expanded to almost any diameter. Since the rotor can be made to be almost any length in the longitudinal direction, the radial extension of the rotor can be freely selected. This means that any desired, particularly very high, delivery capacity can be achieved and it is possible to individually adapt the delivery capacity for each application.
- the pitch of the rotor can also be varied as desired.
- the rotor can be designed with one or more rotor blades, whereby the rotor blades have a quarter, a half, a whole or any number of wraps around the drive shaft.
- This means that the rotor according to the invention can be varied as desired in terms of its size, shape and pitch and can therefore be used for a wide variety of applications.
Landscapes
- Health & Medical Sciences (AREA)
- Heart & Thoracic Surgery (AREA)
- Engineering & Computer Science (AREA)
- Life Sciences & Earth Sciences (AREA)
- General Health & Medical Sciences (AREA)
- Anesthesiology (AREA)
- Biomedical Technology (AREA)
- Hematology (AREA)
- Cardiology (AREA)
- Animal Behavior & Ethology (AREA)
- Mechanical Engineering (AREA)
- Public Health (AREA)
- Veterinary Medicine (AREA)
- Vascular Medicine (AREA)
- External Artificial Organs (AREA)
- Non-Portable Lighting Devices Or Systems Thereof (AREA)
- Endoscopes (AREA)
- Eye Examination Apparatus (AREA)
Description
- Die Erfindung betrifft eine Katheter-Vorrichtung, die eine miniaturisierte Pumpe ist.
- Für die Behandlung schwer herzkranker Patienten werden zunehmend implantierbare Blutpumpen eingesetzt. Derartige Blutpumpen sind bisher vorwiegend für den langfristigen Einsatz vorgesehen. Es werden aber auch Blutpumpen entwickelt, die für die kurzfristige Herzunterstützung ausgelegt sind und minimal-invasiv eingesetzt werden können. Medizinische Ziele sind dabei die Entlastung und Gesundung des Herzens oder aber die Überbrückung bis zu einer möglichen Herztransplantation. Die Breite des Einsatzgebietes solcher Pumpen hängt einerseits von der Einfachheit der Einbringung in den Körper, andererseits von den realisierbaren technischen Eigenschaften und insbesondere der zuverlässig realisierbaren Betriebsdauer der verfügbaren Pumpensysteme ab. Idealerweise sollte eine solche Blutpumpe für die Kurzfristbehandlung perkutan-intravasal ohne jeglichen chirurgischen Eingriff einsetzbar sein.
- Im kardiogenen Schock ist die Auswurfleistung des linken Ventrikels erheblich reduziert. Die verminderte Koronarversorgung kann zum irreversiblen Herzversagen führen. Durch den Einsatz eines temporären linksventrikulären Unterstützungssystems soll die Pumpfunktion des linken Ventrikels teilweise bzw. weitgehend übernommen und die Koronarversorgung verbessert werden. Bei Herzoperationen kann ein solches System links- und rechtsventrikulär eingesetzt werden und eine Herz-Lungenmaschine ersetzen.
- Ein perkutan-intravsal implantierbares System, das bisher klinische Bedeutung erlangt hat, ist die intraaortale Ballonpumpe (IABP). Die Intraaortale Ballonpumpe oder intraaortale Gegenpulsation ist ein mechanisches System, das auch zur Unterstützung der Pumpleistung des Herzens bei Patienten mit einem kardiogenen Schock eingesetzt wird. Dabei wird ein Katheter mit einem zylindrisch geformten Kunststoffballon über die Leiste in die Brustschlagader (Aorta thoracalis) vorgeschoben, so dass der Ballon unterhalb des Abgangs der linken Schlüsselbeinarterie (Arteria subclavia sinistra) liegt. Dort wird der Ballon mit einer externen Pumpe rhythmisch mit jeder Herzaktion in der Diastole mit 30-40 cm3 Helium aufgeblasen und in der Systole wieder abgelassen. Auf diese Weise verbessert die Ballonpumpe die Durchblutung des Herzmuskels und auch die aller anderen Organe. Die erzielbare hämodynamische Verbesserung ist jedoch nur sehr begrenzt, da aufgrund des Konstruktionsprinzips der IABP keine aktive Blutförderung stattfindet. Durch eine Gegenpulsation wird lediglich im Rhythmus des Herzschlags die Aorta unterhalb des linken Ventrikels verschlossen und somit das vom Herzen noch ausgeworfene Blut zurückgedrückt und umverteilt, damit auch in die Koronarien. Eine Steigerung des Blutflusses erfolgt nicht.
- Eine bekannte transfemoral implantierbare Mikro-Axialpumpe "Hemopump™" der Firma Medtronic Inc, USA, stellt sich nach experimenteller und vorläufiger klinischer Prüfung als erfolgsversprechendes Konzept dar, welches eine ausreichende Linksherzentlastung bewirken kann. Der Ansaugstutzen der Pumpe wird retrograd über die Aortenklappe im linken Ventrikel platziert. Der Pumpenrotor befindet sich am Ende einer Kanüle in der oberen Aorta descendens und wird durch einen externen Motor angetrieben. Nachteil des Systems ist, dass die transfemorale Implantation aufgrund des großen Durchmessers des Rotors nur operativ über eine femorale Arterietomie und gegebenenfalls durch eine Graftankopplung möglich ist.
- Aus der
geht eine durch das Blutgefäßsystem eines Patienten einführbare Axialpumpe hervor. Die Axialpumpe weist ein flexibles komprimierbares Rohr auf, welches das Pumpengehäuse bildet. In dem Rohr befindet sich ein radial komprimierbarer Rotor. Die Antriebswelle des Rotors verläuft durch einen Katheter hindurch. Der Katheter kann zusammen mit dem Rohr und dem Rotor in einen Deckschlauch hineingezogen werden. Die radiale Komprimierbarkeit der Komponenten erlaubt die Realisierung eines für eine perkutane Implantation in Seldinger-Technik vertretbar kleinen Punktionsdurchmessers. Durch die Entfaltung im Herz-Gefäßsystem kann ein relativ großer Pumpendurchmesser von 10 bis 14 mm vorgesehen werden. Hierdurch sinkt die Rotordrehzahl und damit die mechanische Beanspruchung der Komponenten.WO 99/44651 - In der
US 4,753,221 ist ein Katheter mit integrierter Blutpumpe, die klappbare Flügel aufweist, beschrieben. Die Blutpumpe ist eine Axialpumpe, die innerhalb eines Katheterrohres angeordnet ist, an dessen Ende ein Ballon vorgesehen ist, der aufgepumpt werden kann, um den Pumpenmantel zu entfalten und um den an der Pumpe vorbeiführenden Strömungsweg zu verschließen und auf diese Weise die Pumpe im Blutgefäß zu befestigen. In einem weiteren Ausführungsbeispiel ist vorgesehen, ein becherartig ausgebildetes Ende des Katheters in einem röhrenförmigen Führungskatheter anzuordnen, diesen zurückzuziehen und auf diese Weise das becherartige Ende zu entfalten. - Aus der
DE 10 059 714 C1 geht eine intravasale Pumpe hervor. Die Pumpe weist ein Antriebsteil und ein Pumpenteil auf, die einen so geringen Durchmesser haben, dass sie durch ein Blutgefäß geschoben werden können. An den Pumpenteil schließt sich eine flexible Kanüle an. Zur Verringerung des Strömungswiderstandes kann die Kanüle auf einen Durchmesser aufgeweitet werden, der größer ist als derjenige des Antriebsteils bzw. des Pumpenteils. Um die Pumpe in Seldinger-Technik durch Punktionen des Blutgefäßes in den Körper einführen zu können, wird die Kanüle in den eingeschnürten Zustand versetzt, in dem sie einen kleinen Durchmesser hat. Im Blutgefäß wird sie aufgeweitet, so dass sie dort einen geringeren Strömungswiderstand für das zu pumpende Blut bietet. - In der
bzw. derJP 4126158 EP 0 445 782 A1 ist ein künstliches in den Körper implantierbares Herz beschrieben. Das künstliche Herz weist einen Pumpenabschnitt und einen Antriebsabschnitt zum Antrieb des Pumpenabschnittes auf. Der Pumpenabschnitt ist relativ klein ausgebildet und dient zur Aufnahme einer Axialstrompumpe. Die Axialstrompumpe ist als Schraubenspindelpumpe ausgebildet. Es sind verschiedene Ausführungsformen von Schraubenspindelpumpen vorgesehen. - In der
EP 0 364 293 A2 ist ein Katheter mit integrierter Blutpumpe beschrieben. Ein flexibler Rand erstreckt sich über einen rohrförmigen Abschnitt des Katheters und kontaktiert die Wände der Aorta und stellt auf diese Weise sicher, dass das gesamte Blut innerhalb der Aorta durch die Pumpe fließt. Zudem beabstandet der flexible expandierbare Rand die Pumpe von der Aortenklappe. - Die
offenbart einen expandierbaren Rotor einer Blutpumpe mit einer Längsachse, einem schraubenförmig um die Längsachse gewickelten Draht, der aus Nitinol ausgebildet ist und an einem Ende mit der Längsachse fest verbunden ist und am anderen Ende mit einem auf der Längsachse verschieblich angeordneten Gleitkörper verbunden ist. Der Draht ist von einer elastischen Hülle umgeben. Im gestreckten Zustand des Drahtes befindet er sich innerhalb der elastischen Hülle, wobei kein Rotor ausgebildet ist. Wird der Gleitkörper auf der zentralen Achse verschoben, so dass der Draht zusammen gedrückt wird, bildet der Draht eine schraubenförmige Form aus. Hierdurch spannt sich die elastische Hülle um den Draht und bildet Rotorblätter aus.WO 03/103745 A2 - Der vorliegenden Erfindung liegt die Aufgabe zugrunde, eine perkutan-intravasal durch die Femoralarterie einsetzbare Blutpumpe zur Herzunterstützung bereitzustellen, die ohne chirurgischen Eingriff eingeführt werden kann.
- Die Aufgabe wird mit einer Katheter-Vorrichtung gemäß Anspruch 1 gelöst. Vorteilhafte Ausgestaltungen der Erfindung sind in den Unteransprüchen angegeben.
- Die Katheter-Vorrichtung umfasst eine Antriebswelle, die mit einem Motor verbunden ist und einen Rotor, der am distalen Endbereich auf der Antriebswelle befestigt ist. Der Rotor weist eine Rahmenstruktur auf, die aus einem schraubenförmigen Begrenzungsrahmen und sich radial nach innen vom Begrenzungsrahmen erstreckenden Rotorstreben ausgebildet ist. Die Rotorstreben sind mit ihren vom Begrenzungsrahmen entfernten Enden an der Antriebswelle befestigt. Zwischen den Begrenzungsrahmen und der Antriebswelle erstreckt sich eine elastische Bespannung. Die Rahmenstruktur ist aus einem elastischen Material derart ausgebildet, dass sich der Rotor nach einer aufgezwungenen Kompression selbständig entfaltet.
- Durch die Rahmenstruktur des Rotors mit Begrenzungsrahmen und Rotorstreben ist der Rotor sehr stabil, aber dennoch faltbar und lässt sich auf nahezu beliebig kleine Durchmesser komprimieren. Dadurch, dass prinzipiell eine nahezu beliebig lange Ausbildung des Rotors in Längsrichtung und Radialrichtung möglich ist, kann der Rotor je nach dem zur Verfügung stehenden Raum im Hinblick auf eine maximale Förderleistung optimiert werden. Es ist somit möglich, die Förderleistung für eine jede Anwendung optimal anzupassen.
- Der Rotor ist derart komprimierbar, dass die Einbringung in den Körper mit einer Punktionsnadel über eine Punktion mit einem Durchmesser von in etwa 9 French (ca. 3 mm) erfolgen kann. Durch das selbständige Entfalten des Rotors wird ein Rotordurchmesser erzielt, der um ein Vielfaches größer als der Durchmesser des Rotors im komprimierten Zustand ist. Hierdurch wird eine hohe Förderleistung erzielt.
- Durch den gerüstartigen Aufbau aus Begrenzungsrahmen und Rotorstreben wird dem Rotor eine hohe Festigkeit verliehen, die es erlaubt, den Rotor mit hohen Drehzahlen zu drehen, ohne dass er unwucht wird. Ein Prototyp dieser Katheter-Vorrichtung konnte über mehrere Stunden zum Fördern einer Flüssigkeit mit einer Drehzahl von etwa 32.000 U/min betrieben werden. Der Rotor wies einen Durchmesser von etwa 18 French (=ca. 6 mm) auf und war derart ausgestaltet, dass eine Druckdifferenz von etwa 120 mmHg erzielt wurde. Dies ist für eine derart miniaturisierte Pumpe eine außergewöhnliche Leistung. Mit dieser Katheter-Vorrichtung wurde auch ein deutlicher Fortschritt in Bezug auf Zuverlässigkeit und Lebensdauer erzielt.
- Vorzugsweise ist die Rahmenstruktur des Rotors aus einem Formgedächtnismaterial, wie z.B. Nitinol, ausgebildet. Beim Komprimieren kann der Rotor auf eine Temperatur gebracht werden, bei der das Formgedächtnismaterial weich wird. Ein aus Nitinol bestehender Rotor wird beispielsweise bei einer Temperatur von etwa 0°C komprimiert. Beim Erwärmen wird das Formgedächtnismaterial wieder fest und entfaltet sich. In der Regel ist es nicht möglich, den Rotor ohne Abzukühlen wieder zerstörungsfrei zu komprimieren.
- Die elastische Bespannung zwischen Begrenzungsrahmen und Antriebswelle ist vorzugsweise aus einer Polymerbeschichtung, wie z.B. PU, PE, PP, Silikon oder Parylene ausgebildet.
- Zweckmäßigerweise ist der Rotor von einem rohrförmigen Pumpenabschnitt eines Pumpengehäuses umgeben. Das Pumpengehäuse ist aus einem Gitter ausgebildet, dessen Öffnungen zumindest im Bereich des Pumpenabschnitts mittels einer elastischen Bespannung geschlossen sind. Ein solches Pumpengehäuse kann mit einem geringen Spaltabstand zum Rotor ausgebildet sein, wodurch sich optimale Strömungsbedingungen einstellen und die Förderleistung weiter optimiert werden kann.
- Das Gitter des Pumpengehäuses ist vorzugsweise aus einem Formgedächtnismaterial ausgebildet, das zusammen mit dem Rotor komprimierbar ist.
- Durch das Pumpengehäuse wird der Rotor von äußeren Einflüssen geschützt.
- Die Erfindung wird im folgenden anhand der Zeichnungen beispielhaft näher erläutert. Diese zeigen schematisch in:
- Fig. 1
- ein perspektivische Darstellung einer erfindungsgemäßen Katheter-Vorrichtung,
- Fig. 2
- eine Explosionszeichnungen einer erfindungsgemäßen Katheter-Vorrichtung ,
- Fig. 3
- eine Schaftkappe der Katheter-Vorrichtung in einer seitlich geschnittenen Ansicht,
- Fig. 4
- ein distales Katheterschaftstück der Katheter-Vorrichtung in einer seitlich geschnittenen Ansicht,
- Fig. 5
- eine Verbindungsbuchse der Katheter-Vorrichtung in einer seitlich geschnittenen Ansicht,
- Fig. 6
- eine Pumpe der Katheter-Vorrichtung mit Lagerung in einer seitlich geschnittenen Ansicht,
- Fig. 7a
- einen Schnitt entlang der Linie A-A durch die distale Verbindungsbuchse der Katheter-Vorrichtung,
- Fig. 7b
- einen Schnitt entlang der Linie B-B durch die proximale Verbindungsbuchse der Katheter-Vorrichtung,
- Fig. 8
- eine Gitterstruktur eines Pumpengehäuses der Katheter-Vorrichtung,
- Fig. 9
- einen Ausschnitt der Gitterstruktur des Pumpengehäuses der Katheter-Vorrichtung,
- Fig. 10
- eine Antriebswelle mit Führungsspirale und Wellenschutz der Katheter-Vorrichtung,
- Fig. 11a
- eine Rahmenstruktur eines Rotors einer Pumpe der Katheter-Vorrichtung,
- Fig. 11b
- eine weitere Rahmenstruktur des Rotors der Pumpe der Katheter-Vorrichtung,
- Fig. 12
- den erfindungsgemäßen Rotor der Pumpe der Katheter-Vorrichtung in einer perspektivischen Ansicht,
- Fig. 13
- einen Abströmschlauch der Katheter-Vorrichtung in einer perspektivischen Ansicht,
- Fig. 14
- eine erfindungsgemäße Kupplung mit Kupplungsgehäuse und Motor der Katheter-Vorrichtung in einer perspektivischen Ansicht,
- Fig. 15
- die erfindungsgemäße Kupplung mit dem Kupplungsgehäuse der Katheter-Vorrichtung in einer perspektivischen Ansicht,
- Fig. 16
- das Kupplungsgehäuse der Katheter-Vorrichtung in einer perspektivischen Ansicht,
- Fig. 17
- eine Vierkantstange der Kupplung der Katheter-Vorrichtung in einer seitlichen Ansicht,
- Fig. 18
- ein Kupplungselement der Kupplung der Katheter-Vorrichtung in einer seitlichen Ansicht,
- Fig. 19
- eine Abschlussscheibe der Kupplung der Katheter-Vorrichtung in einer seitlichen Ansicht,
- Fig. 20
- eine Kugelkopflagerkugel der Kupplung der Katheter-Vorrichtung in einer seitlichen Ansicht,
- Fig. 21
- einen Zentrierstift der Kupplung der Katheter-Vorrichtung in einer seitlichen Ansicht,
- Fig. 22
- eine Motoraufnahme der Katheter-Vorrichtung in einer seitlichen Ansicht,
- Fig. 23
- das Kupplungselement mit der darin angeordneten Vierkantstange in einer Draufsicht,
- Fig. 24
- die im Körper positionierte Katheter-Vorrichtung, und
- Fig. 25
- schematisch alternative Ausführungsformen der Katheter-Vorrichtung.
-
Figur 1 zeigt eine Katheter-Vorrichtung 1. Die erfindungsgemäße Katheter-Vorrichtung 1 stellt eine Pumpe dar. Die Katheter-Vorrichtung 1 weist an einem distalen Ende 2 einen Pumpenkopf 3 auf. - Der Pumpenkopf 3 weist einen Rotor 3.2 zum Fördern eines Mediums in Förderrichtung 5 auf, der mit einer Antriebswelle 4 verbunden ist. Die Förderrichtung 5 ist vom distalen Ende 2 zu einem proximalen Ende 6 gerichtet. An dem vom Pumpenkopf 3 beabstandeten proximalen Ende 6 ist ein Motor 7 angeordnet. Die Antriebswelle 4 ist von einem Katheterschaft 8 umgeben und mittels einer Kupplung 9 kraftschlüssig mit dem Motor 7 verbunden.
- Nachfolgend wird zunächst der Pumpenkopf 3 näher erläutert. Der Pumpenkopf 3 umfasst eine Schaftkappe 10 am distalen Ende, den auf der Antriebswelle 4 angeordneten Rotor 3.2, ein Pumpengehäuse 3.1 und einen Abströmschlauch 18.
- Die Schaftkappe 10 ist aus einer Kugel 10.1 mit einem angesetzten zylinderförmigen Abschnitt 10.2 ausgebildet. Die Schaftkappe 10 ist beispielsweise aus Edelstahl ausgebildet (
Fig.2 ,Fig.3 ). Die Schaftkappe 10 könnte auch aus Polyethylen PE, Polypropylen PP, Polyetheretherketon PEEK, Polyvinylchlorid PVC, Teflon PTFE, Acrylglas, Epoxydharz, Polyurethan PU, Carbonfiber, beschichteten Materialien, Composite-Materialien, PEBAX, einem Polyether-Block-Amid ausgebildet sein. Prinzipiell sind alle hämokompatiblen Materialien geeignet, da nur eine geringe mechanische Belastung an diesem Bauteil auftritt. - Der Durchmesser der Kugel 10.1 beträgt in etwa 3.2 mm. Der zylinderförmige Abschnitt 10.2 ist in etwa 5,5 mm lang und hat einen Durchmesser von in etwa 2,2 mm. Die Gesamtlänge der Schaftkappe beträgt in etwa 7,0 mm.
- Der zylinderförmige Abschnitt 10.2 weist an seinem distalen Ende, im Anschlussbereich zur Kugel 10.1 eine quer zur Förderrichtung 5 angeordnete Durchgangsbohrung 10.3 auf. Weiterhin weist der Zylinder 10.2 eine axiale Bohrung 10.4 auf, die sich vom proximalen Ende des zylinderförmigen Abschnittes 10.2 bis zur Kugel 10.1 hin erstreckt, so dass ein kommunizierender Durchgang von der Durchgangsbohrung 10.3 bis zum proximalen Ende der Schaftkappe 10 ausgebildet ist. Im Bereich der axialen Bohrung 10.4 ist eine Stufe 10.5 ausgebildet, so dass die axiale Bohrung in Richtung des proximalen Endes aufgeweitet ist.
- Durch die Durchgangsbohrung 10.3 wird einerseits vermieden, dass in der Schaftkappe ein Sackloch entsteht und andererseits erlaubt das Durchgangsloch die Anbringung eines Fadens, der beim Komprimieren des Pumpenkopfes 3 hilfreich ist.
- Anstelle der Kugel 10.1 der Schaftkappe 10 kann auch ein Pigtail, eine Spirale, ein mäanderförmiger Draht mit Kugelspitze oder ein atraumatisches Faserbündel vorgesehen sein. Die Schaftkappe ist aufgrund ihrer geringen Größe bevorzugt.
- Die Spitze der Schaftkappe 10 ist eine atraumatische Kugel zum Schutz des Herzmuskels (Endocard). Über die Schaftkappe 10 kann der Pumpenkopf 3 an der Herzwand abgestützt werden.
- Ein rohrförmiges bzw. schlauchförmiges, distales Katheterschaftstück 8.1 ist vom proximalen Ende in die Schaftkappe 10 bis zur Stufe eingeführt. Das distale Katheterschaftstück 8.1 wird in der axialen Bohrung 10.4 passgenau aufgenommen und ist dort fixiert (
Fig. 4 ). Das distale Katheterschaftstück 8.1 ist aus Polyurethan bzw. aus einem anderen geeigneten Material, insbesondere einem elastischen Kunststoffmaterial (z.B. PE, PVC, Teflon, Elastomer), ausgebildet. Das distale Ende des distalen Katheterschaftstücks 8.1 wird mit der Schaftkappe 10 verbunden. Die Verbindung kann als Klebeverbindung mittels beispielsweise Cyanacrylatkleber ausgebildet sein oder sie erfolgt als Schweiß-, Klemm- oder Schrumpfverbindung. Diese Verbindungsmittel sind grundsätzlich geeignet, ein Katheterschaftstück mit einem anderen, insbesondere steifen Teil zu verbinden. In der nachfolgenden Beschreibung wird dies deshalb nicht an jeder einzelnen Verbindungsstelle ausgeführt. - Das distale Katheterschaftstück 8.1 bildet eine gerade, aber leicht flexible Verbindung zwischen der Schaftkappe 10 und dem Pumpengehäuse 3.1. Die gerade Verbindung stellt eine Koaxialität aller in ihr angeordneten Bauteile (Antriebswelle, Wellenschutz, Gehäuse, Verbindungsbuchse) her.
- Das distale Katheterschaftstück 8.1 dient in Verbindung mit der Schaftkappe 10 als Positionierungshilfe des Pumpenkopfes 3 beim Einbringen in ein Gefäß bzw. das Herz.
- Das Katheterschaftstück 8.1 im vorliegenden Ausführungsbeispiel weist eine Länge von in etwa 25 mm, einen Außendurchmesser von in etwa 1,9 mm und einen Innendurchmesser von in etwa 1,3 mm auf.
- Am proximalen Ende des distalen Katheterschaftstücks 8.1 ist eine distale, röhrenförmige Verbindungsbuchse 12.1 vorgesehen (
Fig. 5 ,Fig. 6 ). Die distale Verbindungsbuchse 12.1 weist im distalen Bereich einen größeren Innendurchmesser als im proximalen Bereich auf. Im distalen Bereich der Verbindungsbuchse 12.1 ist das proximale Ende des distalen Katheterschaftstücks 8.1 passgenau aufgenommen und fixiert. Im proximalen Bereich der distalen Verbindungsbuchse 12.1 ist ein distaler Verbindungsabschnitt 3.1.1 des Pumpengehäuses 3.1 aufgenommen. Der distale Verbindungsabschnitt 3.1.1 des Pumpengehäuses 3.1 ist mit der distalen Verbindungsbuchse 12.1 und dem proximalen Ende des distalen Katheterschaftstücks 8.1 verbunden (Fig. 7a, Fig. 7b ). - Die distale Verbindungsbuchse 12.1 weist eine Länge von in etwa 5 mm und einen Außendurchmesser von in etwa 2,2 mm auf. Im distalen Bereich beträgt der Durchmesser in etwa 2 mm und im proximalen Bereich in etwa 1,5 mm. Je kürzer die Verbindungsbuchse ist, desto geringer ist die hierdurch bewirkte Aussteifung.
- Die distale und eine analog ausgebildete proximale Verbindungsbuchse 12.1, 12.2 sind beispielsweise aus Edelstahl, Kupfer, Messing, Titan oder einem anderen geeigneten Metall, aus Polyethylen (PE), Polypropylen (PP), Teflon (PTFE), PEBAX, einem Polyether-Block-Amid, oder einem anderen geeigneten Material ausgebildet.
- Das expandierbare bzw. komprimierbare Pumpengehäuse 3.1 ist eine rohrförmig ausgebildete Gitterstruktur 3.1.6 aus Nitinol oder einer anderen geeigneten Gedächtnislegierung oder einem anderen Formgedächtnismaterial, z.B. Kunststoff, Eisenlegierung, Kupferlegierung. Das Pumpengehäuse 3.1 ist von distal nach proximal in fünf Abschnitte unterteilt (
Fig. 8 ). Der erste distale Abschnitt ist ein rohrförmig ausgebildeter distaler Verbindungsabschnitt 3.1.1. Ein zweiter Abschnitt ist ein in Förderrichtung 5 konusförmig aufgeweiteter Ansaugabschnitt 3.1.2. An den Ansaugabschnitt 3.1.2 schließt sich ein Pumpenabschnitt 3.1.3 an. Der rohrförmige Pumpenabschnitt 3.1.3 nimmt den Rotor 3.2 auf. Der Innendurchmesser des Pumpenabschnitts 3.1.3 beträgt im expandierten Zustand in etwa 6,15 mm. Ein Auslassabschnitt 3.1.4 verengt sich konusförmig in Förderrichtung 5 und bildet die Verbindung zwischen dem Pumpenabschnitt 3.1.3 und einem proximalen Verbindungsabschnitt 3.1.5. Der proximale Verbindungsabschnitt 3.1.5 ist analog zum distalen Verbindungsabschnitt 3.1.1 rohrförmig mit geringerem Durchmesser als der Pumpenabschnitt 3.1.3 ausgebildet. Das Pumpengehäuse 3.1 kann derart komprimiert werden, dass es über die gesamte Länge einen maximalen Durchmesser von weniger als 3 mm nicht überschreitet. - Die Gitterstruktur 3.1.6 des Pumpengehäuses 3.1 weist zwischen den Gitterstreben Öffnungen 3.1.7 auf (
Fig. 8 ,Fig. 9 ). Die Öffnungen sind als Polygone 3.1.7 ausgebildet, die im vorliegenden Ausführungsbeispiel Rauten sind. Im Pumpenabschnitt 3.1.3 sind kleine Rauten 3.1.7.1 vorgesehen. In den Übergangsbereichen vom Pumpenabschnitt 3.1.3 zum Ansaugabschnitt 3.1.2 und zum Auslassabschnitt 3.1.4 der rohrförmigen Gitterstruktur 3.1.6 sind die kleinen Rauten 3.1.7.1 schrittweise zu größer werdenden Rauten zusammengefasst. Benachbart zu einer kleinen Raute ist eine größere Raute mit doppelter Kantenlänge angeordnet. Diese Verdoppelung der Kantenlänge wird so oft wiederholt, bis die Öffnungen die gewünschte Größe aufweisen. Im Ansaugabschnitt 3.1.2 und im Auslassabschnitt 3.1.4 sind große Rauten 3.1.7.2 vorgesehen, die in etwa die vierfache Kantenlänge der kleinen Rauten 3.1.7.1 aufweisen. In den Übergangsbereichen vom Ansaugabschnitt 3.1.2 und vom Auslassabschnitt 3.1.4 zum distalen und zum proximalen Verbindungsabschnitt 3.8.1, 3.1.5 der rohrförmigen Gitterstruktur 3.1.6 sind die großen Rauten 3.1.7.2 zu kleiner werdenden Rauten zusammengefasst. Im distalen und im proximalen Verbindungsabschnitt sind mittelgroße Rauten 3.1.7.3 vorgesehen, die in etwa die zweifache Kantenlänge der kleinen Rauten 3.1.7.1 aufweisen (Fig. 9 ). Die Ausbildung der Öffnungen 3.1.7 und die Anzahl der Vervielfachungen kann beliebig sein. Bei dem Übergang von kleineren zu größeren Rauten wird die Breite der Gitterstreben vergrößert. Damit wird die Festigkeit der Gitterstreben in etwa gleichgehalten bzw. zu den größeren Rauten hin sogar verstärkt. - Die Gitterstruktur 3.1.6 des Pumpengehäuses 3.1 ist im Pumpenabschnitt 3.1.3 mit einer PU-Bespannung 3.1.8 bespannt, wodurch die Gitteröffnungen flüssigkeitsdicht verschlossen sind.
- Diese Bespannung bzw. die Abdichtung der Gitterstruktur 3.1.6 kann auch z.B. durch einen PU-Schlauch der auf der Oberfläche außen oder innen angeordnet ist, ausgebildet sein.
- Es kann auch eine andere Bespannung als PU verwendet werden, wie z.B. PE, PP, Silikon oder Parylene, solange sie die mechanischen und geometrischen Anforderungen erfüllt.
- Durch die Auswahl einzelner Öffnungen 3.1.71, insbesondere der mittleren und größeren Öffnungen 3.1.7.3, 3.1.7.2, die nicht beschichtet werden, können die Leistungsparameter inkl. Blutschädigung der Pumpe gezielt gesteuert werden.
- Durch die polygonale Struktur und die besondere Ausführung der PU-Bespannung ergibt sich eine annähernd runde Querschnittsform für das Pumpengehäuse 3.1. In Verbindung mit dem runden Rotor 3.2 ergeben sich dadurch sehr geringe Spalte zwischen Rotor 3.2 und Pumpengehäuse 3.1. Dies führt zu vergleichsweise niedriger Blutschädigung, niedrigen Leckströmen und einem guten Wirkungsgrad. Durch die Gitterstruktur 3.1.6 ergibt sich eine sehr gute radiale und axiale Stabilität sowie eine sehr gute axiale Komprimierbarkeit und Expandierbarkeit. Durch die spezielle Struktur kann sehr einfach eine Anpassung von Länge und Durchmesser an die Leistungsanforderungen erfolgen.
- Der proximale Verbindungsabschnitt 3.1.5 des Pumpengehäuses 3.1 ist in der proximalen Verbindungsbuchse 12.2 aufgenommen und mit dieser verbunden. In der proximalen Verbindungsbuchse 12.2 ist analog zur distalen Verbindungsbuchse 12.1 ein schlauchförmiges proximales Katheterschaftstück 8.2 aufgenommen und mit dieser verbunden (
Fig. 7a, Fig. 7b ). Es können die gleichen Verbindungsarten, die bereits oben beschrieben sind, vorgesehen sein. - Innerhalb des distalen und des proximalen Katheterschaftstückes 8.1, 8.2 ist in axialer Richtung ein distaler Wellenschutz 13.1 und ein proximaler Wellenschutz 13.2 angeordnet (
Fig. 6 ). Der distale und der proximale Wellenschutz 13.1, 13.2 sind als Schlauch aus PU oder einem anderen der bereits oben aufgeführten Materialien ausgebildet. - Der distale Wellenschutz 13.1 erstreckt sich in Förderichtung 5 von kurz vor der distalen Verbindungsbuchse 12.1 bis zum distalen Ende des Pumpenabschnitts 3.1.3 des Pumpengehäuses 3.1, d.h. bis zum Rotor 3.2. Der proximale Wellenschutz 13.2 erstreckt sich vom proximalen Ende des Rotors 3.2 bis kurz hinter das proximale Ende der proximalen Verbindungsbuchse 12.1.
- Der distale und der proximale Wellenschutz 13.1, 13.2 sind in den beiden Bereichen, in denen sie innerhalb der distalen und der proximalen Verbindungsbuchse 12.1, 12.2 bzw. des distalen und des proximalen Katheterschaftstücks 8.1, 8.2 angeordnet sind, mit diesen verbunden.
- Die beiden Verbindungsbuchsen 12.1, 12.2 bilden zusammen mit den darin angeordneten Bauteilen (Wellenschutz, Pumpengehäuse, Katheterschaft) einen Lagerbereich für die Antriebswelle 4. Die Verbindungsbuchsen 12.1, 12.2 gewährleisten die Achszentriertheit der Antriebswelle 4 insbesondere im Pumpengehäuse 3.1.
- Innerhalb des distalen und des proximalen Wellenschutzes 13.1, 13.2 bzw. des Pumpengehäuses 3.1 ist in axialer Richtung die Antriebswelle 4 angeordnet. Die Antriebswelle 4 weist in Förderichtung 5 drei Abschnitte auf. Einen distalen Abschnitt der Antriebswelle 4.1 im Bereich der Schaftkappe 10. Einen Pumpenabschnitt der Antriebswelle 4.2, auf dem der Rotor 3.2 drehfest angeordnet ist und einen proximalen Abschnitt der Antriebswelle 4.3, der sich vom Pumpenabschnitt 3.1.3 bis hin zur Kupplung 9 erstreckt. Der Rotor 3.2. ist mit der Antriebswelle verklebt. Es können jedoch auch andere kraftschlüssige Verbindungen wie Schweißen oder Klemmen vorgesehen sein.
- Der proximale Wellenschutz 13.2 (
Fig. 2 ,Fig. 6 ) trennt, zum Schutz vor Blutschädigung durch die Rotationsbewegung der Antriebswelle 4 und Anhaftung von Blutbestandteilen an der Antriebswelle 4, den proximalen Abschnitt 4.3 der Antriebswelle 4 räumlich vom Pumpmedium. Dadurch bauen sich keine Scherkräfte auf. Es kommt zu keiner direkten Wechselwirkung zwischen der Antriebswelle 4 und dem Blut durch den sehr geringen Spalt und es ist lediglich ein minimaler Bluttransport durch diesen Spalt möglich. Der distale und der proximale Wellenschutz 13.1, 13.2 zentrieren und stützten die Antriebswelle 4 im Betrieb und während des Komprimierungs- und Expansionsvorgangs. - Die Antriebswelle 4 ist bevorzugt aus mehreren, insbesondere sechs Drähten (nicht dargestellt), die links- oder rechtsgewickelt um eine Seele (nicht dargestellt) angeordnet sind, ausgebildet. Der Außendurchmesser der Antriebswelle 4 beträgt in etwa 0,48 mm. Die Antriebswelle 4 kann aber auch eine andere Anzahl von Seelen und Drähten aufweisen und einen kleineren oder einen größeren Durchmesser aufweisen. Der Durchmesser der Antriebswelle kann im Bereich von 0,3 mm bis 1 mm liegen und beträgt vorzugsweise etwa 0,4 mm bis 0,6 mm. Je kleiner der Durchmesser der Antriebswelle ist, desto größer kann die Drehgeschwindigkeit sein, denn je kleiner der Durchmesser ist, desto geringer ist die Geschwindigkeit, mit der sich der Umfang der Antriebswelle gegenüber seiner Umgebung bewegt. Eine hohe Umfangsgeschwindigkeit ist problematisch, wenn die Antriebswelle mit der Umgebung in Berührung kommt. Die Katheter-Vorrichtung ist für Drehzahlen von mehr als 20.000 U/min und bis zu 40.000 U/min ausgelegt. Daher wird der Durchmesser der Antriebswelle 4 so gering wie möglich ausgebildet, aber so dick, dass sie noch eine ausreichende Festigkeit besitzt.
- Entgegen der Wickelrichtung der Antriebswelle 4 - im vorliegenden Ausführungsbeispiel ist sie links gewickelt - ist in axialer Richtung um den distalen und den proximalen Abschnitt der Antriebswelle 4.1, 4.3 ein entgegengesetzt gewickelte (hier: rechtsdrehend), spiralförmig ausgebildete Führungsspirale 14 angeordnet, um die Reibung der Antriebswelle 4 zu minimieren, den Wandkontakt der Antriebswelle 4 mit dem proximalen Katheterschaftstück 8.2 zu vermeiden sowie ein Abknicken der Antriebswelle 4 in Folge von Biegung zu verhindern. Durch die Führungsspirale 14 wird die Antriebswelle 4 geführt und geschient bzw. stabilisiert (
Fig. 10 ). Die Führungsspirale 14 kann aus Edelstahl ausgebildet sein und mit dem Wellenschutz 13.1, 13.2 verklebt sein. Es kann auch vorgesehen sein, die Führungsspirale als Feder auszubilden. Die Wickelrichtung der Führungsspirale 14 kann auch gleich der Wickelrichtung der Antriebswelle 4 sein. - Die Antriebswelle 4 erstreckt sich vom distalen Ende des distalen Wellenschutzes 13.1 in Förderrichtung 5 hinter der distalen Verbindungsbuchse 12.1 bis hin zur Kupplung 9.
- Das proximale Katheterschaftstück 8.2 stellt in Verbindung mit der Führungsspirale 14 eine längen- und verwindungskonstante Verbindung zwischen dem Pumpenkopf 3 und der Kupplung 9 bereit.
- Am proximalen Ende des distalen Wellenschutzes 13.1 ist eine Lagerscheibe 15 angeordnet (
Fig. 6 ). Die Lagerscheibe 15 ist mit einer Durchgangsbohrung 15.1 versehen. Der Durchmesser der Durchgangsbohrung 15.1 entspricht in etwa dem Außendurchmesser der Antriebswelle 4. Die Lagerscheibe 15 wird derart auf der Antriebswelle 4 angeordnet, dass sie das proximale Ende des distalen Wellenschutzes 13.1 aufnimmt und in Förderrichtung 5 begrenzt. - Die Lagerscheibe 15 ist beispielsweise aus Edelstahl, Teflon oder Keramik bzw. einem anderen geeigneten Material ausgebildet. Die Lagerscheibe 15 ist mittels Cyanacrylatkleber mit dem feststehenden Wellenschutz verbunden und kann daher Axialkräfte entgegen der Förderichtung 5 aufnehmen (Verbindungsmittel s.o.).
- Im Pumpenabschnitt 4.2 der Antriebswelle 4 ist der spiralförmige, expandierbare Rotor 3.2 drehfest auf der Antriebswelle 4 angeordnet. Als Rotor 3.2 ist im vorliegenden Ausführungsbeispiel eine zweiflügelige, kammförmig ausgebildete Rahmenstruktur 3.2.1 aus Nitinol oder einem anderen Formgedächtnismaterial, z.B. Kunststoff (s.o.) vorgesehen, die mit einer PU-Haut beschichtet bzw. von dieser flüssigkeitsdicht umgeben ist (
Fig. 11a ). D.h. die Bespannung in Form der PU-Haut ist zwischen der kammförmigen Rahmenstruktur aufgespannt. Durch den Aufbau des Rotors 3.2 als beschichtete Rahmenstruktur 3.2.1 aus Nitinol ist es möglich, den Rotor 3.2 zu expandieren bzw. zu komprimieren. Die PU-Haut besitzt eine hohe Elastizität, so dass sie beim Komprimieren nicht beschädigt wird. - Die Rahmenstruktur 3.2.1 weist einen umlaufenden, schraubenförmigen bzw. spiralförmigen äußeren Begrenzungsrahmen 3.2.2 mit mehreren mit dem Begrenzungsrahmen 3.2.2 verbundenen und radial nach innen verlaufenden Rotorstreben 3.2.3 auf (
Fig. 12 ). An den freien Enden der Rotorstreben 3.2.3 sind Ringe 3.2.4 ausgebildet. Durch die Ringe 3.2.4 der Rotorstreben 3.2.3 erstreckt sich die Antriebswelle 4. - Zwischen zwei benachbarten Ringen 3.2.4 ist jeweils eine Abstandshülse 16 angeordnet. Das distale Ende des Rotors 3.2 liegt mit einer distal endseitigen Abstandshülse 16 an der Lagerscheibe 15 an. Die endseitige Abstandshülse 16 kann auch als spezielle Lagerabstandshülse 16 ausgebildet sein. Auf diese Weise bilden zwei der Rahmenstrukturen 3.2.1 einen zweiflügeligen Rotor 3.2 aus.
- Der Rotor 3.2 kann auch einteilig (
Fig. 11 b) ausgebildet sein oder mehrere Rahmenstrukturen aufweisen (Fig. 11 a) . Eine jede Rahmenstruktur bildet einen Rotorflügel. InFig. 11b und12 ist eine Rahmenstruktur 3.2.1 für einen Rotor 3.2 dargestellt, die zwei Rotorflügel bildet. Bei Bedarf können auch mehrere Rotorflügel und dementsprechend mehrere Rahmenstrukturen 3.2.1 an einem Rotor 3.2 angeordnet sein. Die Rahmenstruktur kann auch eine beliebige andere geeignete Form aufweisen. - Der Abstand zwischen zwei benachbarten Ringen 3.2.4 ist kleiner als der entsprechende Abschnitt des spiralförmigen Begrenzungsrahmens 3.2.2. Je größer die Differenz zwischen dem Abstand zwischen zwei Ringen 3.2.4 und dem entsprechenden Abschnitt des spiralförmigen Begrenzungsrahmens 3.2.2 ist, desto größer ist die Steigung des Rotors. Durch die Länge der Abstandshülsen 16 kann somit die Steigung des Rotors 3.2 festgelegt werden. Sie kann innerhalb eines Rotors 3.2 variieren.
- Durch die Länge bzw. Anzahl der Abstandshülsen 16 im Verhältnis zur Dimensionierung des umlaufenden, spiralförmigen äußeren Begrenzungsrahmens 3.2.2 zwischen zwei Rotorstreben 3.2.3 wird die Steigung des Rotors 3.2 festgelegt. Die Länge der Abstandshülsen 16 kann für alle Positionen einheitlich sein, sie kann aber auch symmetrisch oder asymmetrisch für jede Position variiert werden. Durch die völlige Gestaltungsfreiheit kann ein sehr flexibles Design des Rotors 3.2 erreicht werden. Durch das flexible Design ist es möglich, unterschiedliche Förder- bzw. Pumpeigenschaften des Rotors 3.2 zu generieren.
- Der Rotor 3.2 weist eine hohe Formstabilität bei flexibler Gestaltungsmöglichkeit und bei minimalem Materialeinsatz (z.B. dünne Rahmenstruktur) auf. Es wird eine maximale Steifigkeit und Stabilität erreicht. Trotzdem erlaubt die Kombination aus der Rahmenstruktur mit der Bespannung, die die Eigenschaften der Rahmenstruktur durch Stabilisierung weiter unterstützt, eine sehr starke Komprimierung. Dies führt zu der sehr guten Komprimierbarkeit und Expandierbarkeit des Rotors. Aufgrund der guten Flächenausbildung der PU-Haut auf der Gitterstruktur ist eine sehr gute Anpassung der Gehäusestruktur an die Rotorstruktur möglich.
- Der Rotor 3.2 weist im komprimierten Zustand in etwa den Innendurchmesser des komprimierten Pumpengehäuses 3.1 auf. Der Außendurchmesser des komprimierten Pumpengehäuses beträgt in etwa zwischen 2 mm bis 4 mm und vorzugsweise in etwa 3,3 mm.
- Im expandierten Zustand ist der spiralförmige äußere Begrenzungsrahmen 3.2.2 des Rotors 3.2 geringfügig beabstandet zur Innenfläche des Pumpengehäuses 3.1. Der Abstand zwischen dem äußeren Begrenzungsrahmen 3.2.2 und der Innenfläche des Pumpengehäuses 3.1 beträgt in etwa zwischen 0,01 mm und 0,5 mm. Je kleiner der Abstand zwischen der Rahmenstruktur 3.2.1 und der Innenfläche des Pumpengehäuses 3.1 ist, desto höher ist die Förderleistung des Rotors 3.2.
- An der distal endseitigen Abstandshülse 16 des Rotors berühren sich die am distalen Wellenschutz 13.1 befestigte Lagerscheibe 15 und die distal endseitige Abstandshülse 16, die beide auf der Antriebswelle 4 angeordnet sind. Indem der Rotor 3.2 durch die Antriebswelle 4 in eine Drehbewegung versetzt wird, kontaktiert die distale Abstandshülse 16 des Rotors 3.2 die Lagerscheibe 15 in Art eines Gleitlagers. Auf diese Weise ist ein distales Rotorlager 17 ausgebildet (
Fig.6 ). Die Antriebswelle 4 ist von der Durchgangsbohrung der Lagerscheibe 15 nahezu spielfrei aufgenommen. Es verbleiben lediglich kleine Freiräume (nicht dargestellt) aufgrund der Ausbildung der Antriebswelle 4. - Beim Pumpen wird der Rotor 3.2 aufgrund der Förderung des Pumpmediums mit einer axialen Kraft entgegen der Förderrichtung 5 belastet. Diese Kraft wird über die distal endseitige Abstandshülse 16 auf die Lagerscheibe 15 abgeleitet.
- Zum Schmieren des distalen Rotorlagers wird über die Durchgangsbohrung 10.3 der Schaftkappe 10, den Freiräumen zwischen dem distalen Wellenschutz 13.1 und der Antriebswelle 4 und dem Freiraum zwischen der Antriebswelle und der Lagerscheibe 15 Blut bzw. Serum eingesogen. Die Sogwirkung entsteht aufgrund der Drehbewegung der Antriebswelle 4 und des Rotors 3.2.
- An der proximal endseitigen Abstandshülse 16 des Rotors 3.2 wird die Antriebswelle 4 analog von einer proximalen Verbindungsbuchse 12.2 aufgenommen.
- In etwa am proximalen Ende des Pumpenabschnitts 3.1.3 des Pumpengehäuses ist ein rohrförmiger elastischer Abströmschlauch 18 angeordnet (
Fig. 1 ,Fig. 13 ). Der Abströmschlauch 18 ist aus PU ausgebildet. Der Abströmschlauch 18 weist eine Länge von in etwa 70 mm, einen Durchmesser von in etwa 10 mm und eine Wandstärke von in etwa 0,01 mm bis 0,1 mm und vorzugsweise in etwa 0,03 mm auf. Die beiden Enden des Abströmschlauches 18 sind konisch zulaufend ausgebildet, wobei am proximalen konischen Ende des Abströmschlauches ein zylinderförmiger Abschnitt angeordnet ist. - Das distale konisch zulaufende Ende des Abströmschlauches 18 schließt dicht mit der PU-Bespannung des Pumpenabschnittes 3.1.3 des Pumpengehäuses 3.1 ab. Der zylinderförmige proximale Abschnitt ist fest mit dem proximalen Katheterschaftstück 8.2 verbunden. Beide sind mittels gelöstem PU miteinander flüssigkeitsdicht verbunden.
- Am proximalen Ende des Abströmschlauches 18 sind radial umlaufend mehrere Auslassöffnungen 18.1 angeordnet. Die Auslassöffnungen 18.1 können z.B. in Förderrichtung 5 oval ausgebildet sein. Es kann auch vorgesehen sein die Auslassöffnungen rund, halbmondförmig bzw. in einer beliebigen Geometrie auszubilden um andere Auslassströmungen zu generieren. Die Auslassöffnungen 18.1 verwirbeln das in den Bulbus Aorticus austretende Blut. Dadurch wird eine laminare Strömung und damit der Wasserstrahlpumpeneffekt gegenüber den Koronararterien verhindert.
- Der Abströmschlauch 18 leitet das Pumpvolumen der Pumpe aus dem linken Ventrikel über die Aortenklappe in die Aorta. Hierbei wirkt der Abströmschlauch 18 wie ein Rückschlagventil. Bei positiver Druckdifferenz zwischen Abströmschlauch 18 und Aorta ist der Abströmschlauch 18 entsprechend der von der Pumpe erzeugten Durchflussmenge mehr oder weniger geöffnet. Bei Null oder negativer Druckdifferenz schließt sich der Abströmschlauch 18 aufgrund seiner hohen Flexibilität genau wie die Aortenklappe und legt sich eng an das proximale Katheterschaftstück 8.2 an. Diese Flexibilität führt zu einer guten Abdichtung während der Durchströmung gegenüber den Segeln der Aortenklappe. Auf diese Weise kommt es lediglich zu geringen Rückflüssen aus der Aorta in den linken Ventrikel.
- Am proximalen Ende des Katheterschaftes 8.2 sind die Kupplung 9 und der Motor 7 angeordnet. Der Abstand zwischen dem Pumpenkopf 3 und der Kupplung 9 bzw. die Länge des proximalen Katheterschaftstücks 8.2 kann je nach Patient variieren und beträgt in etwa 90 bis 150 cm.
- Nachfolgend wird das Verfahren zum Expandieren des Rotors 3.2 beschrieben.
- Über der Katheter-Vorrichtung 1 ist ein rohrförmiger Deckschlauch 29 angeordnet. Der Deckschlauch 29 ist derart ausgebildet, dass er den komprimierten Pumpenkopf 3 sowie das proximale Katheterschaftstück 8.2 umgibt. Durch den Deckschlauch 29 wird der Pumpenkopf 3 in seinem komprimierten Zustand gehalten.
- Nach der korrekten Positionierung des Pumpenkopfes 3 wird der Deckschlauch 29 von der fixierten Katheter-Vorrichtung 1 zurückgezogen, bis der Pumpenkopf 3 frei liegt. Pumpengehäuse 3.1 und Rotor 3.2 entfalten sich aufgrund der Federkraft des elastischen Materials radial nach außen. Das heißt, die Gitterstruktur 3.1.6 des Pumpengehäuses 3.1 und die Rahmenstruktur 3.2.1 des Rotors 3.2 weiten sich auf bis sie ihren vorgegebenen Durchmesser erreicht haben. Es kann auch vorgesehen sein Temperatureffekte des Memory-Materials beim Expandieren unterstützend zu nutzen.
- Zur Entfernung der Katheter-Vorrichtung 1 wird der Deckschlauch 29 bis zur Schaftkappe 10 vorgeschoben, wodurch der Rotor 3.2 und das Pumpengehäuse 3.1 komprimiert werden und in den Deckschlauch eingezogen werden, wonach dieser durch die Punktionsstelle hindurch extrahiert wird.
- Nachfolgend werden die Kupplung 9 und der Motor 7 erläutert.
- Die Kupplung 9 ist eine Magnetkupplung (
Fig. 14 ,Fig. 15 ). Die Kupplung 9 weist ein Kupplungsgehäuse 19 mit einer distalen Magneteinheit 23.1 auf. Das Kupplungsgehäuse 19 ist mit dem proximalen Katheterschaftstück 8.2, das einen durchgehenden Hohlraum ausbildet, verbunden. Das Kupplungsgehäuse 19 trennt das proximale Katheterschaftstück 8.2 hermetisch von einer Motoranordnung 30. Die Motoranordnung 30 weist eine proximale Magneteinheit 23.2 auf. Die proximale Magneteinheit 23.2 ist kraftschlüssig mit dem Motor 7 verbunden. Die distale Magneteinheit 23.1 ist über ein Kupplungselement 22 mit der Antriebswelle 4 verbunden. - Die distale Magneteinheit 23.1 und die proximale Magneteinheit 23.2 sind über Magnetkräfte drehfest miteinander gekoppelt. Durch die beiden Magneteinheiten 23.1, 23.2 wird eine kraftschlüssige Verbindung bei berührungsfreier rotatorischer Kraftübertragung gewährleistet.
- Das Kupplungsgehäuse 19 weist von distal nach proximal einen distalen zylinderförmigen Abschnitt 19.1, einen sich konisch aufweitenden Abschnitt 19.2, einen zweiten zylinderförmigen Abschnitt 19.3 und einen proximalen zylinderförmigen Abschnitt 19.4 auf. Das Kupplungsgehäuse ist z.B. aus Polymethylacrylat (PMMA) ausgebildet oder einem anderen spritzgussfähigen oder zu spanenden Material hergestellt.
- Im distalen zylinderförmigen Abschnitt 19.1 ist eine in axialer Richtung mittig angeordnete Durchgangsbohrung ausgebildet. Die Durchgangsbohrung erstreckt sich durch das gesamte Kupplungsgehäuse 19.
- Vom distalen Ende des distalen zylinderförmigen Abschnitts 19.1 verengt sich die Durchgangsbohrung dreistufig von einem ersten Katheterschaftaufnahmeabschnitt 19.5 auf einen zweiten Führungsspiraleaufnahmeabschnitt 19.6 und auf einen dritten Antriebswellendurchtrittsabschnitt 19.7.
- Der Bohrungsdurchmesser des Katheterschaftaufnahmeabschnitts 19.5 beträgt in etwa 1,9 mm, der des Führungsspiraleaufnahmeabschnitts 19.6 in etwa 1,28 mm und der des dritten Bohrungsabschnitts in etwa 1,0 mm.
- Das proximale Ende des proximalen Katheterschaftes ist im Katheterschaftaufnahmeabschnitt 19.5 des Kupplungsgehäuses 19 angeordnet und mit diesem fest verbunden. Im Führungsspiraleaufnahmeabschnitt 19.6 ist die Führungsspirale 14 aufgenommen.
- Die Antriebswelle 4 erstreckt sich durch die Durchgangsbohrung des Antriebswellendurchtrittsabschnitts 19.7 des distalen zylinderförmigen Abschnitts 19.1 und des sich konisch aufweitenden Abschnitts 19.1, 19.2. Der Antriebswellendurchtrittsabschnitt 19.7 weitet sich im sich konisch aufweitenden Abschnitt 19.2 in einen vierten Bohrungsabschnitt 19.8 auf.
- Der vierte Bohrungsabschnitt geht zu Beginn des zweiten zylinderförmigen Abschnitts 19.3 in einen hohlzylindrischen Lagerungsabschnitt 19.9 über. Im distalen Endbereich des Lagerungsabschnitts 19.9 ist ein äußerer Ringmagnet 20.1 angeordnet. Der äußere Ringmagnet 20.1 ist über eine Presspassung in der Bohrung des Lagerungsabschnitts 19.9 fixiert und kann zusätzlich oder alternativ mittels einer Klebung fixiert sein.
- Der Lagerungsabschnitt 19.9 weist einen Durchmesser von in etwa 10 mm auf.
- Am Anfang des proximalen zylinderförmigen Abschnitts 19.4 des Kupplungsgehäuses 19 geht die Bohrung des Lagerungsabschnitts 19.9 in einen größeren sechsten distalen Kupplungsabschnitt 19.10 über. Im distalen Kupplungsabschnitt 19.10 ist eine radial angeordnete Spülbohrung 19.15 ausgebildet.
- An der Spülbohrung ist eine Pumpe (nicht dargestellt) zum Einbringen eines Mediums, z.B. NaCl, Glukoselösung, Ringerlösung, Plasmaexpander, etc. angeschlossen.
- Die Bohrung des distalen Kupplungsabschnitts 19.10 geht in einen größeren proximalen Kupplungsabschnitt 19.11 über. Im zwischen dem distalen und dem proximalen Kupplungsabschnitt 19.10, 19.11 ausgebildeten Absatz 19.12 sind radial symmetrisch 8 x M 1,6 Gewindebohrungen 19.13 ausgebildet. Am proximalen Ende des proximalen Abschnitts 19.4 sind drei L-förmige Ausfräsungen 19.14, auf den Umfang verteilt, angeordnet.
- Der distale Kupplungsabschnitt 19.10 weist einen Durchmesser von in etwa 22 mm auf. Die Spülbohrung 19.15 weist einen Durchmesser von in etwa 6,5 mm auf und der proximale Kupplungsabschnitt 19.11 weist einen Durchmesser von in etwa 30 mm auf.
- Das proximale Ende der Antriebswelle 4 ist dreh, zug- und druckfest (kraftschlüssig) mit einer quaderförmigen Vierkantstange 21 verbunden (
Fig.17 ). In axialer Richtung weist die Vierkantstange 21 eine Ausnehmung 21.1 zur Aufnahme des proximalen Endes der Antriebswelle 4 auf. Die Antriebswelle 4 ist in der Ausnehmung fixiert. Die Vierkantstange 21 ist z.B. aus Messing, das gute Schmiereigenschaften aufweist, ausgebildet. Weitere geeignete Materialien sind alle zu extrudierenden oder zu spanenden Materialien, wie z.B. PE, PP, PTFE, Gold, Silber, Titan, Diamant, etc.. - Die Vierkantstange 21 weist eine Länge von in etwa 19,4 mm und einen Querschnitt von in etwa 2,88 mm x 2,88 mm auf.
- Die Vierkantstange 21 überträgt die Drehbewegung des Motors auf die Antriebswelle. Die Vierkantstange 21 kann jede beliebige geometrische Form aufweisen, die einen statisch bestimmten Krafteintrag ermöglicht.
- Die Vierkantstange 21 wird von einer axialen Ausnehmung 22.1 innerhalb eines rotationssymmetrischen Kupplungselements 22 axial verschiebbar aufgenommen (
Fig. 23 ). Dadurch ist sie in der Lage Längenunterschiede in axialer Richtung auszugleichen (Fig. 18 ). Die Ausnehmung 22.1 ist durch eine größere, zentrale Bohrung und vier entlang des Umfangs der zentralen Bohrung angeordnete kleinere Bohrungen ausgebildet. Die Bohrungen können durch Bohren, Erodieren, Ultraschallbohren, Laserbohren oder Wasserstrahlbohren ausgebildet sein. - Durch die Anordnung der Bohrungen werden vier axial verlaufende Doppelanschlagkanten bereitgestellt. Die Ausnehmung 22.1 ist innerhalb eines zylinderförmigen Abschnitts 22.2 des Kupplungselements 22 angeordnet und erstreckt sich vom distalen Ende des Kupplungselements 22 bis kurz vor einen scheibenförmigen proximalen Abschnitt 22.3 des Kupplungselements 22.
- Der zylinderförmige Abschnitt 22.2 weist einen Außendurchmesser von in etwa 8 mm auf und der scheibenförmige Abschnitt 22.3 weist einen Außendurchmesser von in etwa 18 mm auf.
- Die Ausnehmung 22.1 ist derart ausgebildet, dass die Vierkantstange 21 radial bzw. in Umfangsrichtung fixiert und axial verschieblich aufgenommen wird. Die radiale Fixierung der Vierkantstange 21 erfolgt durch die Kontaktierung aller vier Längskanten der Vierkantstange 21 mit jeweils einer der vier Doppelanschlagkanten der Ausnehmung 22.1. Bei einer axialen Verschiebung der Vierkantstange 21 in der Ausnehmung 22.1 ergibt sich an den entsprechenden Berührungslinien nur eine minimale Reibung.
- Es können auch mehr oder weniger Anschlagkanten vorgesehen sein. Anstelle einer Vierkantstange kann z.B auch eine Dreikant- oder Fünfkantstange oder eine Profilstange mit einer an sich beliebigen in Längsrichtung der Stange gleich bleibender Querschnittsfläche vorgesehen sein. Die Ausnehmung 22.1 ist in der Form entsprechend an die Querschnittsfläche der Profilstange anzupassen.
- Am distalen äußeren Ende bzw. Umfang des zylinderförmigen Abschnitts 22.2 des Kupplungselements 22 ist ein Absatz 22.4 ausgebildet. Auf diesem Absatz 22.4 ist ein zweiter innerer Ringmagnet 20.2 angeordnet. Der Absatz 22.4 nimmt den Ringmagneten 20.2 derart auf, dass dessen Außenfläche bündig mit der Mantelfläche des zylinderförmigen Abschnittes 22.2 abschließt. Dieser bildet in Verbindung mit dem im Lagerungsabschnitt 19.9 des Kupplungsgehäuses 19 entsprechend ihn umgebenden äußeren Ringmagneten 20.1 ein Magnetringlager 20.3 aus.
- Im Magnetringlager 20.3 sind die beiden Ringmagnete 20.1, 20.2 derart angeordnet, dass z.B. der Nordpol des äußeren Ringmagnet nach distal und der Südpol nach proximal ausgerichtet ist. Der Nord- und der Südpol des inneren Ringmagneten sind entsprechend entgegengesetzt ausgebildet. Entsprechend können die Nord- und Südpole der beiden Ringmagneten auch umgekehrt angeordnet sein. Das Magnetringlager 20.3 zentriert die Antriebswelle 4 in axialer und in radialer Richtung. Die radiale Zentrierung erfolgt durch die magnetischen Anziehungskräfte in radialer Richtung. Die axiale Zentrierung erfolgt dadurch, dass bei einem kleinen Versatz des inneren Ringmagneten 20.2 magnetische Rückstellkräfte erzeugt werden, die den inneren Ringmagneten 20.2 in eine in Axialrichtung mit der Position des äußeren Ringmagneten 20.1 übereinstimmende Stellung ziehen. Bei einem größeren Versatz treten hingegen Abstoßungskräfte zwischen den beiden Magnetringen 20.1 und 20.2 auf, wodurch sie auseinander gedrückt werden.
- Im Magnetringlager 20.3 berühren sich die Ringmagneten 20.1, 20.2 nicht, d.h. es ist keine Schmierung erforderlich. Zudem wirkt das Magnetringlager schwingungsdämpfend.
- Am proximalen Ende des Kupplungselements ist im scheibenförmigen Abschnitt 22.3 des Magnetkupplungselements 22 eine Magnetaufnahme 22.5 ausgebildet. Die Magnetaufnahme 22.5 ist eine zentrische zirkuläre Ausfräsung.
- Die zentrische zirkuläre Ausfräsung 22.5 weist einen Durchmesser von in etwa 16,5 mm und eine Tiefe von in etwa 3 mm auf.
- Die Magnetaufnahme 22.5 nimmt die aus vier Segmenten bestehende ringförmige distale Magneteinheit 23.1 auf. Die ringförmige distale Magneteinheit ist in die Magnetaufnahme 22.5 eingeklebt.
- In der proximalen Stirnseite des Kupplungselements 22 ist mittig eine Kugelkopflageraufnahme 22.6 ausgebildet. Die Kugelkopflageraufnahme 22.6 ist eine etwa halbkugelförmige Ausnehmung 22.6.
- Die halbkugelförmige Ausnehmung 22.6 weist einen Durchmesser von in etwa 0,5 bis 1,3 mm auf.
- Die Vierkantstange 21 bzw. der zylinderförmige Abschnitt des Kupplungselements 22 wird vom vierten Bohrungsabschnitt 19.8 bzw. vom Lagerungsabschnitt 19.9 des Kupplungsgehäuses 19 aufgenommen. Der scheibenförmige Abschnitt 22.3 des Kupplungselements 22 wird vom distalen Kupplungsabschnitt 19.10 des Kupplungsgehäuses 19 aufgenommen.
- Das Kupplungsgehäuse 19 wird durch eine Abschlussscheibe 24 hermetisch von der Motoranordnung getrennt (
Fig. 19 ). Das Kupplungsgehäuse 19 ist bis auf die Spülbohrung 19.15 im Kupplungsgehäuse 22 und die Freiräume zwischen dem Antriebswellendurchtrittsabschnitt 19.7 und der Antriebswelle 4 gas- und flüssigkeitsdicht. - Die Abschlussscheibe 24 ist auf dem Absatz 19.12 des Kupplungsgehäuses 19 angeordnet und ist mittels acht Schrauben fixiert, die entsprechend von radiär symmetrisch in der Abschlussscheibe 24 angeordneten Bohrungen 24.1 aufgenommen sind und in den Gewindebohrungen 19.13 des Kupplungsgehäuses 19 verschraubt sind. Diese Verbindung ist flüssigkeits- und gasdicht ausgebildet. Die Abschlussscheibe 24 ist beispielsweise aus Polymethylacrylat (PMMA) oder einem anderen nicht metallischen Material (wie z.B. Peek, PEBAX, Teflon, PP, PE, alle spritzgießbaren, extrudierbaren oder zu spanenden, nicht-magnetischen Materialien) ausgebildet.
- Distalseitig weist die Abschlussscheibe 24 eine zentrale Verdickung 24.2 auf. Im Zentrum der Abschlussscheibe 24 ist eine Durchgangsbohrung 24.3 und eine zentrische halbkugelige Ausfräsung 24.4 ausgebildet. In der Durchgangsbohrung 24.3 ist ein zylinderförmiger Zentrierstift 24.5 fixiert (
Fig.21 ). Auf dem Zentrierstift 24.5 ist ein Kugelkopf 24.6 angeordnet der in der halbkugeligen Ausfräsung aufgenommen ist (Fig. 15 ,Fig. 20 ). - Die distale Magneteinheit 23.1 wird nach proximal mit einer Kraft beaufschlagt. Diese entgegengesetzten Kräfte bewirken eine resultierende Kraft, mit der das Kupplungselement 22 gegen den Kugelkopf 24.6 gedrückt wird. Diese resultierende Kraft wird so eingestellt, dass der Kugelkopf 24.6 sicher gelagert ist und dennoch der Verschleiß im Kugelkopflager gering gehalten wird.
- Der Kugelkopf 24.6 bildet in Verbindung mit der distal angeordneten Kugelkopflageraufnahme 22.7 des Kupplungselements 22 ein Kugelkopflager 25 aus. Das Kugelkopflager 25 ist ein Gleitlager. Es sind jedoch auch andere Gleitlager, wie z.B. ein Kegelkopflager bzw. ein Zylinderkopflager möglich, bei welchen an Stelle der Kugel ein Kegel bzw. ein Zylinder als Lagerkörper vorgesehen ist. Die Aufnahme ist der Form des Lagerkörpers entsprechend angepasst.
- Das Kugelkopflager 25 stellt in Verbindung mit dem Magnetringlager 20.3 eine axiale Laufzentrierung und -führung des Kupplungselements 22 und der darin angeordneten Antriebswelle 4 innerhalb des Kupplungsgehäuses 19 sicher.
- Die axiale Zentrierung des Magnetringlagers 20.3 erfolgt dadurch, dass der innere Ringmagnet 20.2 in Axialrichtung nicht genau mittig im äußeren Ringmagneten 20.1 angeordnet ist, sondern leicht nach proximal versetzt ist. Dadurch wird der innere Ringmagnet 20.2 nach distal mit einer Kraft beaufschlagt. Der Kugelkopf 24.6 kann aus Rubin, Aluminiumoxid oder einem harten Kunststoff ausgebildet sein.
- Um zu verhindern, dass Blut und Serum durch die Freiräume zwischen der Antriebswelle 4 und dem proximalen Rotorlager 17.2, aufgrund der Rotationsbewegung der Antriebswelle 4, angesaugt werden und das Blut gerinnt und/oder an der Antriebswelle 4 anhaftet, wird über die Spülbohrung im Kupplungsgehäuse ein Spülmedium eingebracht um einen Gegendruck zum angesaugten bzw. hineingedrückten Blutstrom zu erzeugen. Dadurch wird das Kugelkopflager geschmiert. Geeignete Spülmedien sind z.B.:
- 3-20% Glukoselösung;
- 5-40% Dextranlösung mit Molmasse 5.000 bis 65.000, insbesondere 10% Dextranlösung MM 40.000 in 0,9% NaCl;
- Ringerlösung: eine Elektrolytgemischlösung mit K, Na, Mg;
- andere physiologische Elektrolytlösungen.
- Die Motoranordnung umfasst die proximale Magneteinheit 23.2, eine proximale Magnetaufnahme 26, einen Kupplungsflansch 27, eine Motoraufnahme 7.1, mit einem darauf angeordneten Kühllüfter und den Motor 7 (
Fig. 14 ,Fig. 22 ). - Auf der proximalen Seite der Abschlussscheibe 24 ist in einem Abstand von in etwa 0,5 bis 8 mm und vorzugsweise etwa 1 bis 2 mm eine proximale Magneteinheit 23.2 axial fluchtend zur distalen Magneteinheit 23.1 angeordnet. Die proximale ringförmige Magneteinheit 23.2 weist analog zur distalen Magneteinheit 23.1 vier Segmente auf.
- Die Magnetaufnahme 26 ist scheibenförmig ausgebildet und weist auf ihrer distalen Seite eine zentrische zirkuläre Ausfräsung 26.1 auf. In die Ausfräsung 26.1 sind analog zur distalen Magneteinheit 23.1 vier Magnetsegmente mittels Zwei-Komponenten-Epoxydharzkleber oder Cyanacrylatkleber eingeklebt (s.o.).
- Die vier Segmente der distalen und der proximalen Magneteinheit 23.1, 23.2 können als gebogene Stabmagneten ausgebildet sein die an ihren Endbereichen jeweils eine unterschiedliche Polung aufweisen. Die vier Segmente können auch als vier Viertel eines gebogenen Ringmagneten ausgebildet sein. Die Segmente können auch als kurze, axial ausgerichtete Stabmagnete ausgebildet sein, die ringförmig angeordnet sind. Es können auch mehr als vier Segmente vorgesehen sein. In der Ausgangstellung sind die beiden Magneten derart angeordnet, dass sich jeweils ein Nord- und ein Südpol der Stabmagneten der beiden Magneteinheiten 23.1, 23.2 überlagern und sich gegenseitig anziehen.
- Die vier Segmente sind viermal mit ihren Nord- und Südpolen alternierend auf Stoß angeordnet, so dass sich die Segmente einer Magneteinheit anziehen. Die distale und der proximale Magneteinheit 23.1, 23.2 sind zueinander derart angeordnet, dass jeweils komplementäre Pole zueinander gegenüberliegend angeordnet sind. Hierdurch ziehen sich die beiden Magneteinheiten an und es lässt sich ein Drehmoment übertragen, da die Magnetkräfte diese komplementäre Polanordnung beibehalten möchte.
- Die zentrische zirkuläre Ausfräsung 26.1 weist einen Durchmesser von in etwa 16,5 mm und eine Tiefe von in etwa 3 mm auf.
- Die Magnetaufnahme 26 ist mit einer Motorwelle 7.2 des Motors 7 verbunden. Die Magnetaufnahme 26 ist drehbar innerhalb einer entsprechend ausgeformten Aussparung des Kupplungsflansches 27 der Motoraufnahme angeordnet. Entlang des äußeren Umfangs des ringförmigen Steges der Aussparung sind gleichmäßig beabstandet drei Passstifte 27.1 angeordnet.
- Über die L-förmigen Ausfräsungen 19.14 des Kupplungsgehäuses 19 wird das Kupplungsgehäuse 19 mit den Passstiften 27.1 des Kupplungsflansches 27 der Motoranordnung verbunden.
- Der Kupplungsflansch 27 ist unter Wahrung der Achssymmetrie auf einer distalen Stirnseite 7.1.1 der Motoraufnahme befestigt. Die Motoraufnahme 7.1 ist ein quaderförmiger Körper, an dessen Seitenflächen 7.1.2 Kühllamellen 7.1.3 angeordnet sind.
- Die Motoraufnahme 7.1 weist in axialer Richtung eine mittig angeordnete Bohrung 7.1.4 auf. Durch diese Bohrung 7.1.4 ist die Motorwelle 7.2 geführt. Weiterhin ist eine axial fluchtende Ausnehmung 7.1.5 vorgesehen in der der Motor 7 angeordnet ist. Der Motor 7 ist beispielsweise ein Standard-Elektromotor der Firma Faulhaber mit einer Leistung von 38 W bei 30000 U/min oder ein anderer geeigneter Motor.
- An einer Seitenfläche 7.1.2 der quaderförmigen Motoraufnahme 7.1 ist ein Kühlungslüfter angeordnet.
- Über dem Pumpenkopf 3 und einem distalen Bereich des proximalen Katheterschaftstücks ist ein Deckschlauch 29 angeordnet. Der Deckschlauch 29 weist einen Innendurchmesser auf, der im Bereich des Pumpenkopfes 3 dem Außendurchmesser des nicht expandierten Pumpengehäuses entspricht. Der Außendurchmesser des Deckschlauches beträgt in etwa 3 mm.
- Nachfolgend wird das Verfahren zum Kuppeln mit der Magnetkupplung 9 beschrieben.
- Die beiden Magneteinheiten 23.1, 23.2 sind durch die Abschlussscheibe 24 im Kupplungsgehäuse 19 räumlich voneinander getrennt. Durch die magnetischen Anziehungskräfte zwischen den beiden Magneteinheiten 23.1, 23.2 erfolgt eine kraftschlüssige Verbindung. Hierbei stehen sich jeweils entgegengesetzte Pole der beiden Magneteinheiten 23.1, 23.2 gegenüber, wodurch sie sich anziehen und ein drehfester Kraftschluss gebildet wird.
- Weiterhin wird hierdurch die Kugelkopflageraufnahme 22.7 des Kupplungselements 22 auf den Kugelkopf 24.6 der Abschlussscheibe 24 gepresst und bildet das Kugelkopflager 25 aus. Das Kugelkopflager zentriert den axialen Lauf der Antriebswelle 4.
- Durch die Anordnung der beiden Ringmagnete 20.1, 20.2 des Magnetringlagers 20.3 wird der innere Ringmagnet 20.1 mit konstantem Abstand im äußeren Ringmagneten 20.2 radial geführt. Auf diese Weise zentriert und führt das Magnetringlager 20.3 in Verbindung mit dem Kugelkopflager 25 den rotationssymmetrischen Lauf des Kupplungselements 22 bzw. der Antriebswelle 4, um Schläge bzw. eine Unwucht zu verhindern.
- Über die kraftschlüssige Verbindung zwischen den Magneteinheiten 23.1, 23.2 wird die vom Motor 7 über die Motorwelle 7.2 auf die proximale Magneteinheit 23.2 übertragene Drehbewegung auf die distale Magneteinheit 23.1 überführt.
- Die Motorwelle 7.2 dreht sich mit einer Drehzahl von in etwa 20000 U/min bis 40000 U/min und vorzugsweise etwa 32000 U/min bis 35000 U/min, die auf die Antriebswelle 4 übertragen werden. Bei 32000 U/min ergibt sich eine Förderleistung des Rotors 3.2 von in etwa 2 l/min bis 2,5 l/min bei einem Differenzdruck von 60 mm Hg.
- Im Falle einer Blockierung des Rotors 3.2 muss die kraftschlüssige Verbindung zwischen Motor 7 und Antriebswelle 4 getrennt werden, um ein "Aufwickeln" der Antriebswelle 4 bei feststehendem Rotor zu verhindern. Durch ein "Aufwickeln" der Antriebswelle 4 könnte der Pumpenkopf 3 seine Position verändern und könnte dadurch das Herz und/oder die Aorta bzw. die Vene beschädigen.
- Sobald der Rotor 3.2 blockiert, verdreht bzw. verkürzt sich die Antriebswelle 4, der Widerstand an der distalen Magneteinheit 23.1 steigt. Die Magnetfelder zwischen der proximalen und der distalen Magneteinheit 23.2, 23.1 überlagern sich im Betrieb nicht vollständig, da die distale Magneteinheit 23.1 der proximalen Magneteinheit 23.2 immer ein wenig nachläuft. Erhöht sich nun das benötigte Drehmoment an der distalen Magneteinheit 23.1 überlagern sich die Nord- und Südpole der Magneteinheiten 23.1, 23.2 nicht mehr sondern stoßen einander ab. Hierdurch wird die distale Magneteinheit 23.1 von der proximalen Magneteinheit 23.2 in Richtung distal gedrückt. Die magnetische Verbindung zwischen den beiden Magneteinheiten 23.1, 23.2 ist getrennt. Die Antriebswelle 4 steht sofort still.
- Durch die Verschiebung des Kupplungselements 22 in Richtung distal wird der innere Ringmagnet 20.2 des Kupplungselements 22 ebenfalls in Richtung distal verschoben und die Nord- und Südpole der beiden Ringmagneten 20.1, 20.2 des Magnetringlagers 20.3 überlagern sich nicht mehr, sondern stoßen sich ab. Hierdurch wird die Kupplung 9 im entkoppelten Zustand gehalten und es kommt zu einer dauerhaften Entkopplung von Motor 7 und Antriebswelle 4.
- Durch das Magnetringlager 20.3 bzw. die magnetische Verbindung der beiden Magneteinheiten 23.1, 23.2 wird der Betrag des übertragbaren Drehmoments begrenzt. Sobald das eingestellte Drehmoment überschritten wird, trennen sich die beiden Magneteinheiten 23.1, 23.2. Die distale Magneteinheit 23.1 kann der proximalen Magneteinheit 23.2 aufgrund der schnellen Drehbewegung nicht mehr nachlaufen, da die magnetischen Bindungskräfte nicht mehr ausreichen. Hierdurch überlagern sich die Nord- und Südpole nicht mehr und die Magneteinheiten 23.1, 23.2 stoßen sich ab. Die Verbindung der Magneteinheiten 23.1, 23.2 wird getrennt und das maximal übertragbare Drehmoment begrenzt. Die Magneteinheiten 23.1, 23.2 werden vom Magnetringlager 20.3 durch die gegenseitige Abstoßung der Ringmagnete 20.1, 20.2 im entkoppelten Zustand gehalten.
- Dieser Zustand lässt sich durch das Ansetzen eines äußeren Magnetfelds wieder ändern. Durch einen von distal nach proximal am Kupplungsgehäuse 19 vorbeigeführten Magneten können die beiden Magneteinheiten 23.1, 23.2 wieder in ihre gekoppelte Ausgangsstellung gebracht werden.
- Erfindungsgemäß sind das Kupplungsgehäuse 19 und die Motoranordnung 30 räumlich voneinander getrennt. Hierdurch ist es möglich, die Antriebswelle 4 über die an der Spülbohrung 19.15 angeordnete Pumpe trotz der hohen Drehzahl mit in etwa 5-10 ml/h zu schmieren um so die Reibung zu minimieren. Es kann auch vorgesehen sein eine Infusion über die Spülbohrung 19.15 einzubringen, die die Antriebswelle 4 ebenfalls schmiert.
- Der kleine Durchmesser der Antriebswelle ist bei hohen Drehzahlen von in etwa 32000 U/min von Vorteil. Bei größeren Durchmessern würde die Umfangsgeschwindigkeit zu hoch werden und es könnte aufgrund der Reibung zu einer Beschädigung der Antriebswelle 4 bzw. der daran angrenzenden Bauteile kommen.
- Aufgrund der räumlichen Trennung durch die Abschlussscheibe 24 ist es möglich, die Antriebswelle 4 zu schmieren bzw. abzudichten. Kein bekanntes Lager, durch das eine Welle hindurchgeführt ist, würde bei dieser Größe und derartigen Drehzahlen dicht bleiben und einen einwandfreien Lauf ermöglichen.
- Aus der Anordnung des Kugelkopflagers 25 (Gleitlager), des Magnetringlagers 20.3 (berührungsfrei, dämpfend und zentrierend) und des axialen Gleitlagers zwischen Antriebswelle 4 und Kupplungsgehäuse 19 ergeben sich drei Stabilisationspunkte. Dadurch kann die Antriebswelle 4 ein Drehmoment auch bei einer axialen Längenveränderung übertragen (Verlängerung und Verkürzung). Zu einer Längenänderung kommt es beispielsweise, wenn der Pumpenkopf 3 komprimiert wird. Dabei wird der Rotor 3.2 zusammengedrückt, um die Antriebswelle gefaltet und im Gehäuse festgeklemmt. Das Pumpengehäuse 3.1 verlängert sich proximal. Die Antriebswelle 4 kann sich soweit bewegen, dass sie nicht vom Rotor 3.2 abgerissen wird. Durch die Verschiebbarkeit der Antriebswelle 4 kann die Längenänderung des PU-Katheterschafts aufgrund von Flüssigkeitsaufnahme, Temperaturunterschieden, und durch Biegung des Katheterschaftes 8.2, die die Längenverhältnisse zwischen Antriebswelle 4 und Katheterschaft 8.2 beeinflussen, ausgeglichen werden. Dieser Mechanismus ist durch die Verschiebbarkeit der Vierkantstange 21 innerhalb der axialen Ausnehmung 22.1 möglich.
- Der Pumpenkopf 3 wird derart in der linken Herzkammer angeordnet, dass der Abströmschlauch 18 in etwa mittig im Übergang der Aorta zum Herzen, also im Bereich der Herzklappe angeordnet ist. Die Katheter-Vorrichtung 1 ist vorzugsweise derart ausgebildet, dass mit ihr ein bestimmter Pumpendruck im Bereich von etwa 100 mm Hg bis 150 mm Hg erzeigt werden kann. Befindet sich das Herz in der Systole, dann fördert die Katheter-Vorrichtung Blut, wenn der vom Herz aufgebaute Druck kleiner als der Pumpendruck ist. Ein krankes Herz wird somit entlastet. Während der Diastole liegt eine entgegengesetzte Druckdifferenz vor. Ist die Druckdifferenz größer als der Pumpendruck, dann kann die Katheter-Vorrichtung kein Blut fördern. Hierbei wird der Abströmschlauch von der Herzklappe zusammengedrückt, so dass er abgedichtet ist. Ist die Druckdifferenz jedoch kleiner als der Pumpendruck, dann wird etwas Blut entgegen der Druckdifferenz gefördert.
-
Fig. 24 zeigt die positionierte Katheter-Vorrichtung 1 zur Linksherz-Unterstützung. Der Pumpenkopf 3 befindet sich vollständig in der linken Herzkammer. Der Abströmschlauch erstreckt sich durch die Herzklappe. - Zum Einbringen der Katheter-Vorrichtung wird zunächst ein Deckschlauch 29 mittels eines Führungsdrahtes bis in die linke Herzkammer geführt (Seldinger-Technik). Der Führungsdraht wird dann aus dem Deckschlauch entfernt. Die Katheter-Vorrichtung 1 wird mit komprimierten und gekühlten Pumpengehäuse 3.1 und Rotor 3.2 durch den Deckschlauch eingeführt, bis die Katheter-Vorrichtung 1 mit dem Pumpenkopf 3 die linke Herzkammer erreicht hat. Die Entfaltung erfolgt, indem der Deckschlauch 29 auf dem fixierten Katheterschaft 8 zurückgezogen wird, bis die Spitze des Deckschlauchs 29 den Pumpenkopf freigegeben 3 hat.
- Zur Entfernung des Systems wird der Deckschlauch 29 bis zur Schaftkappe 10 vorgeschoben, wodurch Rotor 3.2 und Pumpengehäuse 3.1 im komprimierten Zustand in den Deckschlauch 29 eingezogen werden, wonach dieser durch die Punktionsstelle hindurch extrahiert wird.
- In einem weiteren Ausführungsbeispiel der vorliegenden Erfindung ist vorgesehen ein Pumpmedium von proximal nach distal, das heißt entgegen der ursprünglichen Förderrichtung 5 zu pumpen (
Fig. 25 II). Um den Rotor 3.2 in axialer Richtung zu lagern und die Lagerkräfte aufzunehmen ist die Lagerscheibe 15 auf der proximalen Seite des Rotors 3.2 angeordnet. Die Förderrichtung nach distal kann entweder durch Umkehren der Drehrichtung gegenüber obigem Ausführungsbeispiel oder durch Umkehren der Steigung des Rotors 3.2 realisiert werden. Der Abströmschlauch 18 ist am distalen Ende des Pumpenabschnitts des Pumpengehäuses 19 angeordnet und erstreckt sich in distale Richtung über den Pumpenkopf hinaus. Zur Aussteifung des Abströmschlauchs 18 kann der Abströmschlauch eine Gitterstruktur aus einem Formgedächtnismaterial, z.B. ähnlich zu der des Pumpengehäuses, aufweisen. Die Schaftkappe 10 erstreckt sich bis über das distale Ende des Abströmschlauches. - Beim Betrieb strömt das Pumpmedium durch die nun als Einlass dienende Auslassöffnungen des Pumpengehäuses ins Pumpengehäuse und gelangt über die nun als Auslass dienende Einlassöffnung des Pumpengehäuses in den Abströmschlauch 18. Über das distale Ende des Abströmschlauchs tritt das Pumpmedium aus der Katheter-Vorrichtung 1 aus.
- Das eben beschriebene Ausführungsbeispiel kann zum Beispiel für den Einsatz im rechten Ventrikel vorgesehen sein.
- In einem weiteren Ausführungsbeispiel kann die erfindungsgemäße Katheter-Vorrichtung auch derart ausgebildet sein, dass ein Pumpen von distal nach proximal und von proximal nach distal möglich ist (
Fig. 25 III). - Bei diesem Ausführungsbeispiel sind Lagerscheiben 15 am distalen und am proximalen Ende des Rotors 3.2 vorgesehen. Der Abströmschlauch 18 ist am distalen Ende des Pumpenabschnittes 3.1.3 des Pumpengehäuses 3.1 angeordnet und erstreckt sich in distaler Richtung. Der Abströmschlauch 18 weist zur Aussteifung eine Gitterstruktur, z.B. ähnlich dem Pumpengehäuse auf. Die Gitterstruktur ist mit einer PU-Haut bespannt. Der Durchmesser des Abströmschlauchs entspricht in etwa dem des expandierten Pumpengehäuses.
- Beim Betrieb kann ein Pumpmedium durch die Auslassöffnungen des Pumpengehäuses ein- bzw. austreten. Das Pumpmedium tritt dann beispielsweise über die Auslassöffnungen des Pumpengehäuses und die Einlassöffnungen des Pumpengehäuses in den Abströmschlauch und tritt am distalen Ende des Abströmschlauchs aus. Bei umgekehrter Pumprichtung erfolgt die Durchströmung der Katheter-Vorrichtung entsprechend umgekehrt. Das heißt, dass das Pumpmedium am distalen Ende des Abströmschlauchs in den Abströmschlauch eintritt und über die Einlassöffnung des Pumpengehäuses zu den Auslassöffnungen des Pumpengehäuses gelangt. Somit ist durch den druck- und sogstabilisierten Abströmschlauch 18 ein Abströmen nach distal oder proximal möglich.
- Das eben beschriebene Ausführungsbeispiel kann beispielsweise für Drainagen oder zum Auffüllen von Hohlorganen bzw. -räumen verwendet werden.
- Die Umkehr der Förderrichtung kann einerseits durch Umkehren der Drehrichtung des Rotors und andererseits durch Umkehrung der Steigung des Rotors erzielt werden.
- Die Erfindung ist oben anhand eines Ausführungsbeispiels beschrieben, bei dem die Magneteinheiten jeweils vier gebogene Stabmagnete aufweisen, die jeweils mit entgegengesetzten Polen aneinander gesetzt sind. Im Rahmen der Erfindung können die Magneteinheiten auch derart ausgebildet sein, dass die Nord- und Südpole der Magneteinheiten in axialer Richtung ausgerichtet sind, wobei die Pole an den axial nach distal bzw. proximal weisenden Flächen angeordnet sind. Die Magnete sind entsprechend den vorherigen Ausführungsbeispielen ringförmig angeordnet.
- Durch eine derartige Ausrichtung der Nord- und Südpole der Magnete ziehen sich die beiden Magneteinheiten mit höheren Magnetkräften an. Dadurch ist möglich, ein höheres Drehmoment über die Kupplung zu übertragen.
- Eine derartige Kupplung kann beispielsweise zum Antreiben eines Fräskopfs anstelle eines Rotors verwendet werden. Mit einer solchen Mikrofräse können z.B. Nierensteine oder Knochen minimalinvasiv gefräst werden.
- Die Anzahl der Magnete kann grundsätzlich beliebig variiert werden.
- Die radiale Komprimierbarkeit der Komponenten erlaubt die Realisierung eines für eine perkutane Implantation in Seldinger-Technik vertretbar kleinen Punktionsdurchmessers, aufgrund des sehr geringen Durchmessers der Katheter-Vorrichtung von etwa 3 mm. Durch die Expansion des Rotors bis zu einem Durchmesser von in etwa 15 mm ist es dennoch möglich sehr hohe Förderleistungen zu realisieren.
- Aus dem Stand der Technik sind aufweitbare Katheterpumpen (z.B.
US 4 753 221 ) bekannt die einen Propeller mit mehreren steifen Pumpenflügeln aufweisen. Diese sind schwenkbar angeordnet. Da die Flügel steif sind können sie nicht beliebig breit ausgebildet werden, da sie hierdurch im zusammengeklappten Zustand dem Katheter eine zu große Dicke verleihen würden. Daher ist die Förderleistung begrenzt. - Der Rotor nach der
weist ein elastisches Band auf, um die Enden einer Nitinolwendel mit einer Rotationsachse zu verbinden. Durch diese elastische Verbindung ist die Wendel nicht perfekt zentriert. Dadurch kommt es beim Pumpen zu Schwingungen, die höhere Drehzahlen bzw. Förderleistungen unmöglich machen.WO 99/44651 - Durch die Rahmenstruktur des Rotors mit Begrenzungsrahmen und Rotorstreben gemäß der Katheter-Vorrichtung 1 ist der Rotor stabiler, faltbar und lässt sich auf nahezu beliebig große Durchmesser expandieren. Dadurch dass eine nahezu beliebig lange Ausbildung des Rotors in Längsrichtung möglich ist, ist die radiale Erstreckung des Rotors frei wählbar. Somit können beliebige insbesondere sehr hohe Förderleistungen erzielt werden und es ist möglich, die Förderleistung für jeden Anwendungsfall individuell anzupassen.
- Die Steigung des Rotors lässt sich ebenfalls beliebig variieren. Der Rotor kann mit einem oder mehreren Rotorblättern ausgebildet sein, wobei die Rotorblätter entsprechend eine viertel, eine halbe, eine ganze oder beliebig viele Umschlingungen um die Antriebswelle aufweisen. Das heißt, dass der erfindungsgemäße Rotor ist in seiner Größe, seiner Form, seiner Steigung beliebig variierbar ist und daher für die verschiedensten Anwendungen genutzt werden kann.
Bezugszeichenliste 1 Katheter-Vorrichtung 7.1.2 Seitenfläche 2 distales Ende 7.1.3 Kühllamellen 3 Pumpenkopf 7.1.4 Bohrung 3.1 Pumpengehäuse 7.1.5 Ausnehmung 3.1.1 distaler Verbindungsabschnitt 7.2 Motorwelle 3.1.2 Ansaugabschnitt 8. Katheterschaft 3.1.3 Pumpenabschnitt 8.1 distales Katheterschaftstück 3.1.4 Auslassabschnitt 8.2 proximales Katherschaftstück 3.1.5 proximaler Verbindungsabschnitt 9. Kupplung 10. Schaftkappe 3.1.6 Gitterstruktur 10.1 Kugel 3.1.7 Öffnungen 10.2 zylinderförmiger Abschnitt 3.1.7.1 kleine Raute 10.3 Durchgangsbohrung 3.1.7.2 große Raute 10.4 axiale Bohrung 3.1.7.3 mittelgroße Raute 10.5 Stufe 3.1.8 PU-Bespannung vom Pumpengehäuse 12.1 distale Verbindungsbuchse 12.2 proximale Verbindungsbuchse 3.2 Rotor 13.1 distaler Wellenschutz 3.2.1 Rahmenstruktur 13.2 proximaler Wellenschutz 3.2.2 Begrenzungsrahmen 14 Führungsspirale 3.2.3 Rotorstreben 15 Lagerscheibe 3.2.4 Ringe 15.1 Durchgangsbohrung 4. Antriebswelle 16 Abstandshülsen 4.1 distaler Abschnitt der Antriebswelle 17 distales Rotorlager 18 Abströmschlauch 4.2 Pumpenabschnitt der Antriebswelle 18.1 Auslassöffnung 19 Kupplungsgehäuse 4.3 proximaler Abschnitt der Antriebswelle 19.1 distaler zylinderförmiger Abschnitt 5. Förderrichtung 19.2 konisch aufweitender Abschnitt 6. proximales Ende 19.3 zweiter zylinderförmiger Abschnitt 7. Motor 7.1 Motoraufnahme 19.4 proximaler zylinderförmiger Abschnitt 7.1.1 Stirnseite 19.5 Katheterschaftaufnahmeabschnitt 22.3 scheibenförmiger Abschnitt 22.4 Absatz 19.6 Führungsspiraleaufnahmeabschnitt 22.5 Magnetaufnahme 22.6 Kugelkopflageraufnahme 19.7 Antriebswellendurchtrittsabschnitt 23.1 distale Magneteinheit 19.8 vierter Bohrungsabschnitt 23.2 proximale Magneteinheit 19.9 Lagerungsabschnitt 24 Abschlussscheibe 19.10 distaler Kupplungsabschnitt 24.1 Bohrungen 19.11 proximaler Kupplungsabschnitt 24.2 Verdickungen 19.12 Absatz 24.3 Durchgangsbohrung 19.13 Gewindebohrung 24.4 halbkugelige Ausfräsung 19.14 L-förmige Ausfräsung 24.5 Zentrierstift 19.15 Spülbohrung 24.6 Kugelkopf 20.1 äußerer Ringmagnet 25 Kugelkopflager 20.2 innerer Ringmagnet 26 Magnetaufnahme 20.3 Magnetringlager 26.1 Ausfräsung 21 Vierkantstange 27 Kupplungsflansch 21.1 Ausnehmung 27.1 Passstifte 22 Kupplungselement 28 22.1 Ausnehmung 29 Deckschlauch 22.2 zylinderförmiger Abschnitt 30 Motoranordnung
Claims (13)
- Katheter-Vorrichtung umfassend,- eine Antriebswelle (4), die an ihrem proximalen Ende mit einem Motor (7) verbunden ist,- einen komprimier- und expandierbaren spiralförmigen Rotor (3.2), der am distalen Endbereich auf der Antriebswelle (4) befestigt ist, wobei sich der Rotor (3.2) nach einer aufgezwungenen Kompression selbstständig entfalten kann,dadurch gekennzeichnet,- dass die Steigung des Rotors (3.2) innerhalb des Rotors (3.2) variiert und- dass der Rotor (3.2) eine nach einer aufgezwungenen Kompression selbstexpandierende Rahmenstruktur (3.2.1) aus einem elastischen Material aufweist, die aus einem schraubenförmigen Begrenzungsrahmen (3.2.2) und sich radial nach innen vom Begrenzungsrahmen (3.2.2) zur Antriebswelle (4) erstreckenden Rotorstreben (3.2.3) ausgebildet ist,wobei- die Rotorstreben (3.2.3) mit ihren vom Begrenzungsrahmen (3.2.2) entfernten Enden an der Antriebswelle (4) befestigt sind,- sich eine elastische Bespannung zwischen dem Begrenzungsrahmen (3.2.2) und der Antriebswelle (4) erstreckt und- zwischen je zwei Rotorstreben (3.2.3) wenigstens eine Abstandshülse (16) auf der Antriebswelle (4) angeordnet ist.
- Katheter-Vorrichtung nach Anspruch 1,
dadurch gekennzeichnet,- dass die Steigung des Rotors (3.2) in dem Bereich zwischen zwei Rotorstreben (3.2.3) durch die Differenz zwischen dem Abstand der beiden Rotorstreben (3.2.3) auf der Antriebswelle (4) und dem entsprechenden Abschnitt des spiralförmigen Begrenzungsrahmens (3.2.2) zwischen den beiden Rotorstreben (3.2.3) definiert ist. - Katheter-Vorrichtung nach Anspruch 1 oder 2,
dadurch gekennzeichnet,- dass an den freien Enden der Rotorstreben (3.2.3) Ringe (3.2.4) ausgebildet sind, wobei sich die Antriebswelle (4) durch die Ringe (3.2.4) der Rotorstreben (3.2.3) erstreckt. - Katheter-Vorrichtung nach einem der Ansprüche 1 bis 3,
dadurch gekennzeichnet,- dass die Abstandshülsen (16) eine unterschiedliche Länge aufweisen. - Katheter-Vorrichtung nach einem der Ansprüche 1 bis 4,
dadurch gekennzeichnet,- dass die Abstandshülsen (16) kürzer ausgebildet sind als der Abstand zwischen den Anbindungsstellen zweier benachbarter Rotorstreben (3.2.3) am Begrenzungsrahmen (3.2.2). - Katheter-Vorrichtung nach einem der Ansprüche 1 bis 5,
dadurch gekennzeichnet,- dass das distale Ende des Rotors (3.2) mit einer distal endseitigen Abstandshülse (16) an einer Lagerscheibe (15) anliegt. - Katheter-Vorrichtung nach einem der Ansprüche 1 bis 6,
dadurch gekennzeichnet,- dass die Länge der Abstandshülsen (16) asymmetrisch für jede Position variierbar ist. - Katheter-Vorrichtung nach einem der Ansprüche 1 bis 7,
dadurch gekennzeichnet,- dass die Rahmenstruktur (3.2.1) des Rotors (3.2) aus einem Formgedächtnismaterial ausgebildet ist, wobei das Formgedächtnismaterial Nitinol oder eine andere geeignete Gedächtnislegierung oder ein anderes Formgedächtnismaterial, wie zum Beispiel ein Kunststoff, eine Eisenlegierung oder eine Kupferlegierung ist. - Katheter-Vorrichtung nach einem der Ansprüche 1 bis 8,
dadurch gekennzeichnet,- dass die Rahmenstruktur (3.2.1) einen Rotorflügel ausbildet. - Katheter-Vorrichtung nach einem der Ansprüche 1 bis 9,
dadurch gekennzeichnet,- dass der Rotor (3.2) mehrere Rahmenstrukturen (3.2.1) aufweist. - Katheter-Vorrichtung nach einem der Ansprüche 1 bis 10,
dadurch gekennzeichnet,- dass der Rotor (3.2) mehrere Rotorflügel aufweist. - Katheter-Vorrichtung nach einem der Ansprüche 9 oder 11,
dadurch gekennzeichnet,- dass sich die Rotorflügel über einen Umschlingungswinkelbereich von 45° bis 720° und vorzugsweise von 360° um die Antriebswelle (4) erstrecken. - Katheter-Vorrichtung nach einem der Ansprüche 1 bis 12,
dadurch gekennzeichnet,- dass die elastische Bespannung des Rotors (3.2) aus einer Polymerbeschichtung wie z.B. PU, PE, PP, Silikon oder Parylene ausgebildet ist.
Applications Claiming Priority (3)
| Application Number | Priority Date | Filing Date | Title |
|---|---|---|---|
| EP07019658A EP2047873B1 (de) | 2007-10-08 | 2007-10-08 | Katheter-Vorrichtung |
| PCT/EP2008/007015 WO2009046789A1 (de) | 2007-10-08 | 2008-08-27 | Katheter-vorrichtung |
| EP08785716.5A EP2217300B1 (de) | 2007-10-08 | 2008-08-27 | Katheter-vorrichtung |
Related Parent Applications (3)
| Application Number | Title | Priority Date | Filing Date |
|---|---|---|---|
| EP08785716.5A Division EP2217300B1 (de) | 2007-10-08 | 2008-08-27 | Katheter-vorrichtung |
| EP08785716.5A Division-Into EP2217300B1 (de) | 2007-10-08 | 2008-08-27 | Katheter-vorrichtung |
| EP08785716.5 Division | 2008-08-27 |
Publications (3)
| Publication Number | Publication Date |
|---|---|
| EP2301598A1 EP2301598A1 (de) | 2011-03-30 |
| EP2301598B1 EP2301598B1 (de) | 2017-07-05 |
| EP2301598B2 true EP2301598B2 (de) | 2024-06-19 |
Family
ID=39049395
Family Applications (11)
| Application Number | Title | Priority Date | Filing Date |
|---|---|---|---|
| EP07019658A Active EP2047873B1 (de) | 2007-10-08 | 2007-10-08 | Katheter-Vorrichtung |
| EP10008270.0A Active EP2301598B2 (de) | 2007-10-08 | 2008-08-27 | Katheter-vorrichtung |
| EP17162607.0A Active EP3216467B1 (de) | 2007-10-08 | 2008-08-27 | Katheter-vorrichtung |
| EP15002837.1A Active EP3000493B2 (de) | 2007-10-08 | 2008-08-27 | Katheter-vorrichtung |
| EP08785716.5A Active EP2217300B1 (de) | 2007-10-08 | 2008-08-27 | Katheter-vorrichtung |
| EP10008268.4A Active EP2298374B1 (de) | 2007-10-08 | 2008-08-27 | Katheter-Vorrichtung |
| EP10008271.8A Active EP2308524B2 (de) | 2007-10-08 | 2008-08-27 | Katheter-Vorrichtung |
| EP17151182.7A Pending EP3187210A1 (de) | 2007-10-08 | 2008-08-27 | Katheter-vorrichtung |
| EP18186035.4A Pending EP3427770A1 (de) | 2007-10-08 | 2008-08-27 | Katheter-vorrichtung |
| EP10008272.6A Active EP2345440B1 (de) | 2007-10-08 | 2008-08-27 | Katheter-Vorrichtung |
| EP15002836.3A Active EP3000492B2 (de) | 2007-10-08 | 2008-08-27 | Katheter-vorrichtung |
Family Applications Before (1)
| Application Number | Title | Priority Date | Filing Date |
|---|---|---|---|
| EP07019658A Active EP2047873B1 (de) | 2007-10-08 | 2007-10-08 | Katheter-Vorrichtung |
Family Applications After (9)
| Application Number | Title | Priority Date | Filing Date |
|---|---|---|---|
| EP17162607.0A Active EP3216467B1 (de) | 2007-10-08 | 2008-08-27 | Katheter-vorrichtung |
| EP15002837.1A Active EP3000493B2 (de) | 2007-10-08 | 2008-08-27 | Katheter-vorrichtung |
| EP08785716.5A Active EP2217300B1 (de) | 2007-10-08 | 2008-08-27 | Katheter-vorrichtung |
| EP10008268.4A Active EP2298374B1 (de) | 2007-10-08 | 2008-08-27 | Katheter-Vorrichtung |
| EP10008271.8A Active EP2308524B2 (de) | 2007-10-08 | 2008-08-27 | Katheter-Vorrichtung |
| EP17151182.7A Pending EP3187210A1 (de) | 2007-10-08 | 2008-08-27 | Katheter-vorrichtung |
| EP18186035.4A Pending EP3427770A1 (de) | 2007-10-08 | 2008-08-27 | Katheter-vorrichtung |
| EP10008272.6A Active EP2345440B1 (de) | 2007-10-08 | 2008-08-27 | Katheter-Vorrichtung |
| EP15002836.3A Active EP3000492B2 (de) | 2007-10-08 | 2008-08-27 | Katheter-vorrichtung |
Country Status (7)
| Country | Link |
|---|---|
| EP (11) | EP2047873B1 (de) |
| CN (2) | CN102805885B (de) |
| AT (1) | ATE491483T1 (de) |
| CA (5) | CA3020253C (de) |
| DE (6) | DE502007005973D1 (de) |
| ES (1) | ES2901005T3 (de) |
| WO (1) | WO2009046789A1 (de) |
Families Citing this family (133)
| Publication number | Priority date | Publication date | Assignee | Title |
|---|---|---|---|---|
| US7393181B2 (en) | 2004-09-17 | 2008-07-01 | The Penn State Research Foundation | Expandable impeller pump |
| CN101448535B (zh) | 2006-03-23 | 2011-10-19 | 宾州研究基金会 | 带有可膨胀叶轮泵的心脏辅助装置 |
| US8489190B2 (en) | 2007-10-08 | 2013-07-16 | Ais Gmbh Aachen Innovative Solutions | Catheter device |
| ATE491483T1 (de) | 2007-10-08 | 2011-01-15 | Ais Gmbh Aachen Innovative Solutions | Katheter-vorrichtung |
| US8439859B2 (en) | 2007-10-08 | 2013-05-14 | Ais Gmbh Aachen Innovative Solutions | Catheter device |
| EP2194278A1 (de) | 2008-12-05 | 2010-06-09 | ECP Entwicklungsgesellschaft mbH | Fluidpumpe mit einem rotor |
| EP2216059A1 (de) | 2009-02-04 | 2010-08-11 | ECP Entwicklungsgesellschaft mbH | Kathetereinrichtung mit einem Katheter und einer Betätigungseinrichtung |
| EP2229965A1 (de) | 2009-03-18 | 2010-09-22 | ECP Entwicklungsgesellschaft mbH | Fluidpumpe mit besonderer Gestaltung eines Rotorblattes |
| EP2246078A1 (de) | 2009-04-29 | 2010-11-03 | ECP Entwicklungsgesellschaft mbH | Wellenanordnung mit einer Welle, die innerhalb einer fluidgefüllten Hülle verläuft |
| EP2248544A1 (de) | 2009-05-05 | 2010-11-10 | ECP Entwicklungsgesellschaft mbH | Im Durchmesser veränderbare Fluidpumpe, insbesondere für die medizinische Verwendung |
| EP2266640A1 (de) | 2009-06-25 | 2010-12-29 | ECP Entwicklungsgesellschaft mbH | Komprimierbares und expandierbares Schaufelblatt für eine Fluidpumpe |
| EP2448613B1 (de) * | 2009-07-01 | 2019-11-06 | The Penn State Research Foundation | Blutpumpe mit expandierbarer kanüle |
| EP2282070B1 (de) | 2009-08-06 | 2012-10-17 | ECP Entwicklungsgesellschaft mbH | Kathetereinrichtung mit einer Ankopplungseinrichtung für eine Antriebseinrichtung |
| EP2298373A1 (de) | 2009-09-22 | 2011-03-23 | ECP Entwicklungsgesellschaft mbH | Fluidpumpe mit wenigstens einem Schaufelblatt und einer Stützeinrichtung |
| EP2298372A1 (de) * | 2009-09-22 | 2011-03-23 | ECP Entwicklungsgesellschaft mbH | Rotor für eine Axialpumpe zur Förderung eines Fluids |
| EP2299119B1 (de) | 2009-09-22 | 2018-11-07 | ECP Entwicklungsgesellschaft mbH | Aufblasbarer Rotor für eine Fluidpumpe |
| EP2298371A1 (de) | 2009-09-22 | 2011-03-23 | ECP Entwicklungsgesellschaft mbH | Funktionselement, insbesondere Fluidpumpe, mit einem Gehäuse und einem Förderelement |
| EP2314331B1 (de) | 2009-10-23 | 2013-12-11 | ECP Entwicklungsgesellschaft mbH | Katheterpumpenanordnung und flexible Wellenanordnung mit einer Seele |
| EP2314330A1 (de) | 2009-10-23 | 2011-04-27 | ECP Entwicklungsgesellschaft mbH | Flexible Wellenanordnung |
| US8690749B1 (en) | 2009-11-02 | 2014-04-08 | Anthony Nunez | Wireless compressible heart pump |
| EP2338541A1 (de) | 2009-12-23 | 2011-06-29 | ECP Entwicklungsgesellschaft mbH | Radial komprimierbarer und expandierbarer Rotor für eine Fluidpumpe |
| EP2338540A1 (de) | 2009-12-23 | 2011-06-29 | ECP Entwicklungsgesellschaft mbH | Förderschaufel für einen komprimierbaren Rotor |
| EP2338539A1 (de) | 2009-12-23 | 2011-06-29 | ECP Entwicklungsgesellschaft mbH | Pumpeneinrichtung mit einer Detektionseinrichtung |
| EP2347778A1 (de) | 2010-01-25 | 2011-07-27 | ECP Entwicklungsgesellschaft mbH | Fluidpumpe mit einem radial komprimierbaren Rotor |
| EP2363157A1 (de) | 2010-03-05 | 2011-09-07 | ECP Entwicklungsgesellschaft mbH | Vorrichtung zur mechanischen Einwirkung auf ein Medium, insbesondere Fluidpumpe |
| EP2388029A1 (de) | 2010-05-17 | 2011-11-23 | ECP Entwicklungsgesellschaft mbH | Pumpenanordnung |
| EP2399639A1 (de) | 2010-06-25 | 2011-12-28 | ECP Entwicklungsgesellschaft mbH | System zum einführen einer pumpe |
| EP2407186A1 (de) * | 2010-07-15 | 2012-01-18 | ECP Entwicklungsgesellschaft mbH | Rotor für eine Pumpe, hergestellt mit einem ersten, elastischen Werkstoff |
| EP2407185A1 (de) | 2010-07-15 | 2012-01-18 | ECP Entwicklungsgesellschaft mbH | Radial komprimierbarer und expandierbarer Rotor für eine Pumpe mit einem Schaufelblatt |
| EP2407187A3 (de) | 2010-07-15 | 2012-06-20 | ECP Entwicklungsgesellschaft mbH | Blutpumpe für die invasive Anwendung innerhalb eines Körpers eines Patienten |
| EP2422735A1 (de) | 2010-08-27 | 2012-02-29 | ECP Entwicklungsgesellschaft mbH | Implantierbare Blutfördereinrichtung, Manipulationseinrichtung sowie Koppeleinrichtung |
| WO2012094641A2 (en) | 2011-01-06 | 2012-07-12 | Thoratec Corporation | Percutaneous heart pump |
| EP2497521A1 (de) | 2011-03-10 | 2012-09-12 | ECP Entwicklungsgesellschaft mbH | Schubvorrichtung zum axialen Einschieben eines strangförmigen, flexiblen Körpers |
| US9162017B2 (en) | 2011-08-29 | 2015-10-20 | Minnetronix, Inc. | Expandable vascular pump |
| EP2564771A1 (de) | 2011-09-05 | 2013-03-06 | ECP Entwicklungsgesellschaft mbH | Medizinprodukt mit einem Funktionselement zum invasiven Einsatz im Körper eines Patienten |
| US8926492B2 (en) | 2011-10-11 | 2015-01-06 | Ecp Entwicklungsgesellschaft Mbh | Housing for a functional element |
| US9872947B2 (en) | 2012-05-14 | 2018-01-23 | Tc1 Llc | Sheath system for catheter pump |
| GB2504176A (en) | 2012-05-14 | 2014-01-22 | Thoratec Corp | Collapsible impeller for catheter pump |
| GB2504177B (en) | 2012-05-14 | 2014-12-10 | Thoratec Corp | Sheath system for catheter pump |
| US9446179B2 (en) | 2012-05-14 | 2016-09-20 | Thoratec Corporation | Distal bearing support |
| US8721517B2 (en) | 2012-05-14 | 2014-05-13 | Thoratec Corporation | Impeller for catheter pump |
| US9327067B2 (en) | 2012-05-14 | 2016-05-03 | Thoratec Corporation | Impeller for catheter pump |
| CN104470579B (zh) | 2012-06-06 | 2018-06-01 | 洋红医疗有限公司 | 人工肾脏瓣膜 |
| EP4186557A1 (de) | 2012-07-03 | 2023-05-31 | Tc1 Llc | Motoranordnung für katheterpumpe |
| US9421311B2 (en) | 2012-07-03 | 2016-08-23 | Thoratec Corporation | Motor assembly for catheter pump |
| US9358329B2 (en) | 2012-07-03 | 2016-06-07 | Thoratec Corporation | Catheter pump |
| CN119327024A (zh) | 2013-03-13 | 2025-01-21 | 马真塔医药有限公司 | 血液泵浦装置及制造血液泵浦装置的方法 |
| US11077294B2 (en) | 2013-03-13 | 2021-08-03 | Tc1 Llc | Sheath assembly for catheter pump |
| WO2014164136A1 (en) | 2013-03-13 | 2014-10-09 | Thoratec Corporation | Fluid handling system |
| US11033728B2 (en) | 2013-03-13 | 2021-06-15 | Tc1 Llc | Fluid handling system |
| US10583231B2 (en) | 2013-03-13 | 2020-03-10 | Magenta Medical Ltd. | Blood pump |
| US20160030649A1 (en) | 2013-03-15 | 2016-02-04 | Thoratec Corporation | Catheter pump assembly including a stator |
| US9308302B2 (en) | 2013-03-15 | 2016-04-12 | Thoratec Corporation | Catheter pump assembly including a stator |
| JP5896478B2 (ja) * | 2013-09-24 | 2016-03-30 | 朝日インテック株式会社 | バルーンカテーテル |
| EP2860849B1 (de) | 2013-10-11 | 2016-09-14 | ECP Entwicklungsgesellschaft mbH | Komprimierbarer Motor, Implantieranordnung sowie Verfahren zum Positionieren des Motors |
| CN104721943A (zh) * | 2013-12-24 | 2015-06-24 | 微创心脉医疗科技(上海)有限公司 | 球囊、球囊扩张导管和球囊的制作方法及模具 |
| US9616159B2 (en) * | 2014-03-05 | 2017-04-11 | Medtronic Vascular Galway | Modular implantable ventricular assist device |
| EP3131599B1 (de) | 2014-04-15 | 2019-02-20 | Tc1 Llc | Katheterpumpe mit zugangsports |
| US10583232B2 (en) | 2014-04-15 | 2020-03-10 | Tc1 Llc | Catheter pump with off-set motor position |
| US10363349B2 (en) | 2014-04-15 | 2019-07-30 | Tc1 Llp | Heart pump providing adjustable outflow |
| US10029037B2 (en) | 2014-04-15 | 2018-07-24 | Tc1 Llc | Sensors for catheter pumps |
| EP4417244A3 (de) | 2014-04-15 | 2024-10-16 | Tc1 Llc | Katheterpumpeneinführersystem |
| US10449279B2 (en) | 2014-08-18 | 2019-10-22 | Tc1 Llc | Guide features for percutaneous catheter pump |
| CN104225696B (zh) * | 2014-09-04 | 2017-06-27 | 江苏大学 | 一种折叠式微创植入的心室内轴流血泵 |
| WO2016118784A1 (en) | 2015-01-22 | 2016-07-28 | Thoratec Corporation | Attachment mechanisms for motor of catheter pump |
| EP3247420B1 (de) | 2015-01-22 | 2019-10-02 | Tc1 Llc | Motorbaugruppe verringerter rotierender masse für katheterpumpe |
| EP3598986B1 (de) | 2015-01-22 | 2021-02-17 | Tc1 Llc | Motoranordnung mit wärmetauscher für katheterpumpe |
| US9907890B2 (en) | 2015-04-16 | 2018-03-06 | Tc1 Llc | Catheter pump with positioning brace |
| US11291824B2 (en) | 2015-05-18 | 2022-04-05 | Magenta Medical Ltd. | Blood pump |
| EP3153190A1 (de) | 2015-10-09 | 2017-04-12 | ECP Entwicklungsgesellschaft mbH | Pumpe, insbesondere blutpumpe |
| EP3808401A1 (de) | 2016-07-21 | 2021-04-21 | Tc1 Llc | Gasgefüllte kammer für eine katheterpumpenmotoranordnung |
| EP3804804A1 (de) | 2016-07-21 | 2021-04-14 | Tc1 Llc | Fluiddichtungen für katheterpumpenmotoranordnung |
| CN109890431B (zh) | 2016-10-25 | 2023-03-10 | 马真塔医药有限公司 | 心室辅助装置 |
| CN110049792B (zh) | 2016-11-23 | 2022-01-18 | 马真塔医药有限公司 | 血泵 |
| JP7414529B2 (ja) | 2017-06-07 | 2024-01-16 | シファメド・ホールディングス・エルエルシー | 血管内流体移動デバイス、システム、および使用方法 |
| DK3446730T3 (da) | 2017-08-23 | 2021-11-22 | Ecp Entw Mbh | Drivakselafdækning med en varmeledende del |
| EP3446731A1 (de) * | 2017-08-23 | 2019-02-27 | ECP Entwicklungsgesellschaft mbH | Vorrichtung zum komprimieren einen komprimierbaren teils einer katheterpumpe |
| CN111556763B (zh) | 2017-11-13 | 2023-09-01 | 施菲姆德控股有限责任公司 | 血管内流体运动装置、系统 |
| CN115177858A (zh) * | 2018-01-10 | 2022-10-14 | 马真塔医药有限公司 | 心室辅助装置 |
| US10905808B2 (en) | 2018-01-10 | 2021-02-02 | Magenta Medical Ltd. | Drive cable for use with a blood pump |
| DE102018201030B4 (de) | 2018-01-24 | 2025-10-16 | Kardion Gmbh | Magnetkuppelelement mit magnetischer Lagerungsfunktion |
| EP3746149B1 (de) | 2018-02-01 | 2025-08-06 | Shifamed Holdings, LLC | Intravaskuläre blutpumpen |
| US20190321601A1 (en) * | 2018-03-30 | 2019-10-24 | Jaywant P. Parmar | Electromagnetic Motion and Tracking Seldinger Technique Access System: Introducing the EMMT STA System |
| DE102018207611A1 (de) | 2018-05-16 | 2019-11-21 | Kardion Gmbh | Rotorlagerungssystem |
| DE102018207575A1 (de) | 2018-05-16 | 2019-11-21 | Kardion Gmbh | Magnetische Stirndreh-Kupplung zur Übertragung von Drehmomenten |
| DE102018208555A1 (de) | 2018-05-30 | 2019-12-05 | Kardion Gmbh | Vorrichtung zum Verankern eines Herzunterstützungssystems in einem Blutgefäß, Verfahren zum Betreiben und Herstellverfahren zum Herstellen einer Vorrichtung und Herzunterstützungssystem |
| DE102018208538A1 (de) | 2018-05-30 | 2019-12-05 | Kardion Gmbh | Intravasale Blutpumpe und Verfahren zur Herstellung von elektrischen Leiterbahnen |
| DE102018208550A1 (de) | 2018-05-30 | 2019-12-05 | Kardion Gmbh | Leitungsvorrichtung zum Leiten eines Blutstroms für ein Herzunterstützungssystem, Herzunterstützungssystem und Verfahren zum Herstellen einer Leitungsvorrichtung |
| DE102018208537A1 (de) | 2018-05-30 | 2019-12-05 | Kardion Gmbh | Vorrichtung zum Anbinden eines Herzunterstützungssystems an eine Einführeinrichtung und Verfahren zum Herstellen einer Vorrichtung zum Anbinden eines Herzunterstützungssystems an eine Einführeinrichtung |
| DE102018208541A1 (de) | 2018-05-30 | 2019-12-05 | Kardion Gmbh | Axialpumpe für ein Herzunterstützungssystem und Verfahren zum Herstellen einer Axialpumpe für ein Herzunterstützungssystem |
| DE102018208539A1 (de) | 2018-05-30 | 2019-12-05 | Kardion Gmbh | Motorgehäusemodul zum Abdichten eines Motorraums eines Motors eines Herzunterstützungssystems und Herzunterstützungssystem und Verfahren zum Montieren eines Herzunterstützungssystems |
| DE102018208549A1 (de) | 2018-05-30 | 2019-12-05 | Kardion Gmbh | Elektronikmodul für ein Herzunterstützungssystem und Verfahren zum Herstellen eines Elektronikmoduls für ein Herzunterstützungssystem |
| DE102018210058A1 (de) | 2018-06-21 | 2019-12-24 | Kardion Gmbh | Statorschaufelvorrichtung zur Strömungsführung eines aus einer Austrittsöffnung eines Herzunterstützungssystems ausströmenden Fluids, Herzunterstützungssystem mit Statorschaufelvorrichtung, Verfahren zum Betreiben einer Statorschaufelvorrichtung und Herstellverfahren |
| DE102018210076A1 (de) | 2018-06-21 | 2019-12-24 | Kardion Gmbh | Verfahren und Vorrichtung zum Erkennen eines Verschleißzustands eines Herzunterstützungssystems, Verfahren und Vorrichtung zum Betreiben eines Herzunterstützungssystems und Herzunterstützungssystem |
| DE102018211297A1 (de) | 2018-07-09 | 2020-01-09 | Kardion Gmbh | Herzunterstützungssystem und Verfahren zur Überwachung der Integrität einer Haltestruktur eines Herzunterstützungssystems |
| DE102018211328A1 (de) | 2018-07-10 | 2020-01-16 | Kardion Gmbh | Laufradgehäuse für ein implantierbares, vaskuläres Unterstützungssystem |
| DE102018211327A1 (de) | 2018-07-10 | 2020-01-16 | Kardion Gmbh | Laufrad für ein implantierbares, vaskuläres Unterstützungssystem |
| DE102018212153A1 (de) | 2018-07-20 | 2020-01-23 | Kardion Gmbh | Zulaufleitung für eine Pumpeneinheit eines Herzunterstützungssystems, Herzunterstützungssystem und Verfahren zum Herstellen einer Zulaufleitung für eine Pumpeneinheit eines Herzunterstützungssystems |
| WO2020028537A1 (en) | 2018-07-31 | 2020-02-06 | Shifamed Holdings, Llc | Intravascaular blood pumps and methods of use |
| WO2020030700A1 (de) | 2018-08-07 | 2020-02-13 | Kardion Gmbh | Lagervorrichtung für ein herzunterstützungssystem und verfahren zum spülen eines zwischenraums in einer lagervorrichtung für ein herzunterstützungssystem |
| WO2020073047A1 (en) | 2018-10-05 | 2020-04-09 | Shifamed Holdings, Llc | Intravascular blood pumps and methods of use |
| CN111166948A (zh) * | 2018-11-09 | 2020-05-19 | 上海微创医疗器械(集团)有限公司 | 经皮血泵及其网篮 |
| CN111202877B (zh) * | 2018-11-22 | 2022-04-01 | 上海微创心力医疗科技有限公司 | 经皮血泵及其灌注系统 |
| CN111384796A (zh) * | 2018-12-29 | 2020-07-07 | 上海微创心力医疗科技有限公司 | 电机定子及制造电机定子的模具和方法以及电机与导管泵 |
| US11191944B2 (en) | 2019-01-24 | 2021-12-07 | Magenta Medical Ltd. | Distal tip element for a ventricular assist device |
| EP3698820A1 (de) * | 2019-02-22 | 2020-08-26 | ECP Entwicklungsgesellschaft mbH | Kathetervorrichtung mit einer antriebswellenabdeckung |
| AU2020277752B2 (en) | 2019-05-23 | 2025-03-06 | Magenta Medical Ltd | Blood pumps |
| WO2021011473A1 (en) | 2019-07-12 | 2021-01-21 | Shifamed Holdings, Llc | Intravascular blood pumps and methods of manufacture and use |
| WO2021016372A1 (en) | 2019-07-22 | 2021-01-28 | Shifamed Holdings, Llc | Intravascular blood pumps with struts and methods of use and manufacture |
| US12465748B2 (en) | 2019-08-07 | 2025-11-11 | Supira Medical, Inc. | Catheter blood pumps and collapsible pump housings |
| US11730946B2 (en) | 2019-08-12 | 2023-08-22 | Boston Scientific Scimed, Inc. | Flow enhancement for circulatory support device |
| US12171994B2 (en) | 2019-09-11 | 2024-12-24 | Boston Scientific Scimed, Inc. | Reduced thrombosis blood pump with washout bearing |
| EP4501393A3 (de) | 2019-09-25 | 2025-04-09 | Shifamed Holdings, LLC | Katheterblutpumpen und zusammenklappbare pumpengehäuse |
| US12121713B2 (en) | 2019-09-25 | 2024-10-22 | Shifamed Holdings, Llc | Catheter blood pumps and collapsible blood conduits |
| WO2021062265A1 (en) | 2019-09-25 | 2021-04-01 | Shifamed Holdings, Llc | Intravascular blood pump systems and methods of use and control thereof |
| EP4072650A4 (de) | 2019-12-11 | 2024-01-10 | Shifamed Holdings, LLC | Absteigende aorten- und hohlvenenblutpumpen |
| DE102020102473A1 (de) | 2020-01-31 | 2021-08-05 | Kardion Gmbh | Pumpe zum Fördern eines Fluids und Verfahren zum Herstellen einer Pumpe |
| EP3858397A1 (de) | 2020-01-31 | 2021-08-04 | Abiomed Europe GmbH | Intravaskuläre blutpumpe |
| DE102020102474A1 (de) | 2020-01-31 | 2021-08-05 | Kardion Gmbh | Pumpe zum Fördern eines Fluids und Verfahren zum Herstellen einer Pumpe |
| EP4527442A3 (de) | 2020-04-07 | 2025-05-14 | Magenta Medical Ltd. | Schätzung des herzzeitvolumens |
| AU2021340802A1 (en) | 2020-09-14 | 2023-05-18 | Kardion Gmbh | Cardiovascular support pump having an impeller with a variable flow area |
| CN114642827B (zh) * | 2020-12-17 | 2026-03-03 | 苏州心岭迈德医疗科技有限公司 | 心室辅助泵血器械及系统 |
| CN117157122A (zh) | 2021-02-10 | 2023-12-01 | 波士顿科学国际有限公司 | 用于血液动力学支持泵的磁性推进器和轴承 |
| EP4556053A3 (de) | 2021-03-09 | 2025-08-27 | Magenta Medical Ltd. | Ventrikuläre hilfsvorrichtung |
| EP4291287A1 (de) | 2021-04-14 | 2023-12-20 | Boston Scientific Scimed Inc. | Flexible spitze für eine transvalvuläre kreislaufunterstützungsvorrichtung |
| EP4401820A1 (de) * | 2021-09-17 | 2024-07-24 | Abiomed, Inc. | Intravaskuläre blutpumpe |
| CA3233287A1 (en) | 2021-11-16 | 2023-05-25 | Boston Scientific Scimed Inc. | Percutaneous circulatory support device including proximal pressure sensor |
| JP7700375B2 (ja) | 2021-11-16 | 2025-06-30 | ボストン サイエンティフィック サイムド,インコーポレイテッド | 溶血の低減が可能な経皮的循環補助システム |
| WO2023091549A1 (en) | 2021-11-17 | 2023-05-25 | Boston Scientific Scimed Inc. | Device housing features to facilitate damage free guidewire translations |
| US12133976B2 (en) | 2021-11-23 | 2024-11-05 | Boston Scientific Scimed, Inc. | Percutaneous circulatory support device facilitating reduced hemolysis class |
| AU2023343569A1 (en) | 2022-09-14 | 2025-02-06 | Magenta Medical Ltd | Pump-outlet tube |
| US20240342459A1 (en) * | 2023-04-13 | 2024-10-17 | Abiomed Europe Gmbh | Blood pump |
| CN119158163A (zh) * | 2023-06-19 | 2024-12-20 | 上海心恒睿医疗科技有限公司 | 经皮心室辅助装置 |
Family Cites Families (45)
| Publication number | Priority date | Publication date | Assignee | Title |
|---|---|---|---|---|
| US4686982A (en) | 1985-06-19 | 1987-08-18 | John Nash | Spiral wire bearing for rotating wire drive catheter |
| US4753221A (en) | 1986-10-22 | 1988-06-28 | Intravascular Surgical Instruments, Inc. | Blood pumping catheter and method of use |
| US4811743A (en) | 1987-04-21 | 1989-03-14 | Cordis Corporation | Catheter guidewire |
| US5154705A (en) * | 1987-09-30 | 1992-10-13 | Lake Region Manufacturing Co., Inc. | Hollow lumen cable apparatus |
| US4846152A (en) | 1987-11-24 | 1989-07-11 | Nimbus Medical, Inc. | Single-stage axial flow blood pump |
| US4919647A (en) | 1988-10-13 | 1990-04-24 | Kensey Nash Corporation | Aortically located blood pumping catheter and method of use |
| US5112292A (en) * | 1989-01-09 | 1992-05-12 | American Biomed, Inc. | Helifoil pump |
| JPH0636821B2 (ja) | 1990-03-08 | 1994-05-18 | 健二 山崎 | 体内埋設形の補助人工心臓 |
| US5300112A (en) | 1992-07-14 | 1994-04-05 | Aai Corporation | Articulated heart pump |
| SE501215C2 (sv) | 1992-09-02 | 1994-12-12 | Oeyvind Reitan | Kateterpump |
| US5376114A (en) | 1992-10-30 | 1994-12-27 | Jarvik; Robert | Cannula pumps for temporary cardiac support and methods of their application and use |
| US5735792A (en) | 1992-11-25 | 1998-04-07 | Clarus Medical Systems, Inc. | Surgical instrument including viewing optics and an atraumatic probe |
| US5957672A (en) | 1993-11-10 | 1999-09-28 | The United States Of America As Represented By The Administrator Of The National Aeronautics And Space Administration | Blood pump bearing system |
| US5947892A (en) | 1993-11-10 | 1999-09-07 | Micromed Technology, Inc. | Rotary blood pump |
| US5527159A (en) | 1993-11-10 | 1996-06-18 | The United States Of America As Represented By The Administrator Of The National Aeronautics And Space Administration | Rotary blood pump |
| US5746692A (en) | 1994-05-05 | 1998-05-05 | Imagen Medical, Inc. | Catheter and endoscope system with distal protruding ball tip and method |
| US6436056B1 (en) | 1996-02-28 | 2002-08-20 | Boston Scientific Corporation | Polymeric implements for torque transmission |
| US6254359B1 (en) | 1996-05-10 | 2001-07-03 | The United States Of America As Represented By The Administrator Of The National Aeronautics And Space Administration | Method for providing a jewel bearing for supporting a pump rotor shaft |
| DE19622335C2 (de) * | 1996-06-04 | 1999-03-18 | Voelker Wolfram Priv Doz Dr Me | Ballonkatheter |
| US5776079A (en) | 1996-08-06 | 1998-07-07 | Cook Incorporated | Retrograde-antegrade catheterization guide wire |
| DE29804046U1 (de) * | 1998-03-07 | 1998-04-30 | Günther, Rolf W., Prof. Dr.med., 52074 Aachen | Perkutan implantierbare selbstentfaltbare Axialpumpe zur temporären Herzunterstützung |
| DE19821307C1 (de) * | 1998-05-13 | 1999-10-21 | Impella Cardiotech Gmbh | Intrakardiale Blutpumpe |
| DE19843112C2 (de) | 1998-09-21 | 2002-07-18 | Roehm Gmbh | Verfahren zur Rückgewinnung von monomeren Estern substituierter oder unsubstituierter Acrylsäure aus entsprechende Struktureinheiten aufweisendem Polymermaterial, vorzugsweise durch Depolymerisation von Polymethylmethacrylat |
| US6245007B1 (en) | 1999-01-28 | 2001-06-12 | Terumo Cardiovascular Systems Corporation | Blood pump |
| EP1034808A1 (de) * | 1999-03-09 | 2000-09-13 | Paul Frederik Gründeman | Vorrichtung zur transventrikularen, mechanischen Herzunterstützung |
| JP4159781B2 (ja) | 1999-09-03 | 2008-10-01 | エイ−メド システムズ, インコーポレイテッド | ガイド可能血管内血液ポンプおよび関連する方法 |
| US6454775B1 (en) * | 1999-12-06 | 2002-09-24 | Bacchus Vascular Inc. | Systems and methods for clot disruption and retrieval |
| US6585758B1 (en) | 1999-11-16 | 2003-07-01 | Scimed Life Systems, Inc. | Multi-section filamentary endoluminal stent |
| US20010031981A1 (en) * | 2000-03-31 | 2001-10-18 | Evans Michael A. | Method and device for locating guidewire and treating chronic total occlusions |
| DE10059714C1 (de) | 2000-12-01 | 2002-05-08 | Impella Cardiotech Ag | Intravasale Pumpe |
| US6855136B2 (en) | 2002-04-03 | 2005-02-15 | Gore Enterprise Holdings, Inc. | Infusion catheter having an atraumatic tip |
| WO2003103745A2 (en) * | 2002-06-11 | 2003-12-18 | Walid Aboul-Hosn | Expandable blood pump and related methods |
| US7678068B2 (en) | 2002-12-02 | 2010-03-16 | Gi Dynamics, Inc. | Atraumatic delivery devices |
| WO2005009286A2 (en) | 2003-07-23 | 2005-02-03 | Viacor, Inc. | Method and apparatus for improving mitral valve function |
| DE112004001809T5 (de) | 2003-09-25 | 2006-11-23 | Medforte Research Foundation, Salt Lake City | Axialströmungsblutpumpe mit magnetisch aufgehängtem, radial und axial stabilisiertem Laufrad |
| US7763011B2 (en) | 2003-12-22 | 2010-07-27 | Boston Scientific Scimed, Inc. | Variable density braid stent |
| WO2006020942A1 (en) * | 2004-08-13 | 2006-02-23 | Delgado Reynolds M Iii | Method and apparatus for long-term assisting a left ventricle to pump blood |
| US7393181B2 (en) | 2004-09-17 | 2008-07-01 | The Penn State Research Foundation | Expandable impeller pump |
| DE102004054714A1 (de) | 2004-11-12 | 2006-05-24 | Impella Cardiosystems Gmbh | Faltbare intravasal einführbare Blutpumpe |
| US20090069854A1 (en) | 2005-04-21 | 2009-03-12 | Eqlibra Medical Ltd. | Implantable electric device |
| CN101448535B (zh) | 2006-03-23 | 2011-10-19 | 宾州研究基金会 | 带有可膨胀叶轮泵的心脏辅助装置 |
| US8489190B2 (en) * | 2007-10-08 | 2013-07-16 | Ais Gmbh Aachen Innovative Solutions | Catheter device |
| ATE480274T1 (de) * | 2007-10-08 | 2010-09-15 | Ais Gmbh Aachen Innovative Sol | Katheter-vorrichtung |
| ATE491483T1 (de) | 2007-10-08 | 2011-01-15 | Ais Gmbh Aachen Innovative Solutions | Katheter-vorrichtung |
| EP2229965A1 (de) * | 2009-03-18 | 2010-09-22 | ECP Entwicklungsgesellschaft mbH | Fluidpumpe mit besonderer Gestaltung eines Rotorblattes |
-
2007
- 2007-10-08 AT AT07019658T patent/ATE491483T1/de active
- 2007-10-08 EP EP07019658A patent/EP2047873B1/de active Active
- 2007-10-08 DE DE502007005973T patent/DE502007005973D1/de active Active
-
2008
- 2008-08-27 CA CA3020253A patent/CA3020253C/en active Active
- 2008-08-27 EP EP10008270.0A patent/EP2301598B2/de active Active
- 2008-08-27 CN CN201210246027.XA patent/CN102805885B/zh active Active
- 2008-08-27 EP EP17162607.0A patent/EP3216467B1/de active Active
- 2008-08-27 CA CA2701809A patent/CA2701809C/en active Active
- 2008-08-27 EP EP15002837.1A patent/EP3000493B2/de active Active
- 2008-08-27 DE DE202008018575.0U patent/DE202008018575U1/de not_active Expired - Lifetime
- 2008-08-27 CA CA3178216A patent/CA3178216A1/en active Pending
- 2008-08-27 EP EP08785716.5A patent/EP2217300B1/de active Active
- 2008-08-27 EP EP10008268.4A patent/EP2298374B1/de active Active
- 2008-08-27 EP EP10008271.8A patent/EP2308524B2/de active Active
- 2008-08-27 CA CA3020250A patent/CA3020250C/en active Active
- 2008-08-27 DE DE202008018578.5U patent/DE202008018578U1/de not_active Expired - Lifetime
- 2008-08-27 ES ES17162607T patent/ES2901005T3/es active Active
- 2008-08-27 CA CA3020247A patent/CA3020247C/en active Active
- 2008-08-27 CN CN2008801107193A patent/CN101854964B/zh active Active
- 2008-08-27 DE DE202008018622.6U patent/DE202008018622U1/de not_active Expired - Lifetime
- 2008-08-27 EP EP17151182.7A patent/EP3187210A1/de active Pending
- 2008-08-27 EP EP18186035.4A patent/EP3427770A1/de active Pending
- 2008-08-27 EP EP10008272.6A patent/EP2345440B1/de active Active
- 2008-08-27 DE DE202008018612.9U patent/DE202008018612U1/de not_active Expired - Lifetime
- 2008-08-27 WO PCT/EP2008/007015 patent/WO2009046789A1/de not_active Ceased
- 2008-08-27 DE DE202008018576.9U patent/DE202008018576U1/de not_active Expired - Lifetime
- 2008-08-27 EP EP15002836.3A patent/EP3000492B2/de active Active
Also Published As
Similar Documents
| Publication | Publication Date | Title |
|---|---|---|
| EP2301598B2 (de) | Katheter-vorrichtung | |
| EP3431115B1 (de) | Katheter-vorrichtung | |
| US10980927B2 (en) | Catheter device | |
| US20190224392A1 (en) | Catheter device | |
| DE60301135T2 (de) | Blutpumpe mit axialem und radialem durchfluss und mit doppeltem eingang | |
| HK40003657B (en) | Catheter device |
Legal Events
| Date | Code | Title | Description |
|---|---|---|---|
| PUAI | Public reference made under article 153(3) epc to a published international application that has entered the european phase |
Free format text: ORIGINAL CODE: 0009012 |
|
| 17P | Request for examination filed |
Effective date: 20100903 |
|
| AC | Divisional application: reference to earlier application |
Ref document number: 2217300 Country of ref document: EP Kind code of ref document: P |
|
| AK | Designated contracting states |
Kind code of ref document: A1 Designated state(s): AT BE BG CH CY CZ DE DK EE ES FI FR GB GR HR HU IE IS IT LI LT LU LV MC MT NL NO PL PT RO SE SI SK TR |
|
| 17Q | First examination report despatched |
Effective date: 20131105 |
|
| RIC1 | Information provided on ipc code assigned before grant |
Ipc: A61M 1/10 20060101AFI20161222BHEP Ipc: A61M 1/12 20060101ALN20161222BHEP |
|
| GRAP | Despatch of communication of intention to grant a patent |
Free format text: ORIGINAL CODE: EPIDOSNIGR1 |
|
| STAA | Information on the status of an ep patent application or granted ep patent |
Free format text: STATUS: GRANT OF PATENT IS INTENDED |
|
| INTG | Intention to grant announced |
Effective date: 20170127 |
|
| GRAS | Grant fee paid |
Free format text: ORIGINAL CODE: EPIDOSNIGR3 |
|
| GRAA | (expected) grant |
Free format text: ORIGINAL CODE: 0009210 |
|
| STAA | Information on the status of an ep patent application or granted ep patent |
Free format text: STATUS: THE PATENT HAS BEEN GRANTED |
|
| AC | Divisional application: reference to earlier application |
Ref document number: 2217300 Country of ref document: EP Kind code of ref document: P |
|
| AK | Designated contracting states |
Kind code of ref document: B1 Designated state(s): AT BE BG CH CY CZ DE DK EE ES FI FR GB GR HR HU IE IS IT LI LT LU LV MC MT NL NO PL PT RO SE SI SK TR |
|
| REG | Reference to a national code |
Ref country code: GB Ref legal event code: FG4D Free format text: NOT ENGLISH |
|
| REG | Reference to a national code |
Ref country code: CH Ref legal event code: EP |
|
| REG | Reference to a national code |
Ref country code: AT Ref legal event code: REF Ref document number: 906140 Country of ref document: AT Kind code of ref document: T Effective date: 20170715 |
|
| REG | Reference to a national code |
Ref country code: IE Ref legal event code: FG4D Free format text: LANGUAGE OF EP DOCUMENT: GERMAN |
|
| REG | Reference to a national code |
Ref country code: DE Ref legal event code: R096 Ref document number: 502008015436 Country of ref document: DE |
|
| REG | Reference to a national code |
Ref country code: NL Ref legal event code: FP |
|
| REG | Reference to a national code |
Ref country code: FR Ref legal event code: PLFP Year of fee payment: 10 |
|
| REG | Reference to a national code |
Ref country code: SE Ref legal event code: TRGR |
|
| REG | Reference to a national code |
Ref country code: LT Ref legal event code: MG4D |
|
| PG25 | Lapsed in a contracting state [announced via postgrant information from national office to epo] |
Ref country code: LT Free format text: LAPSE BECAUSE OF FAILURE TO SUBMIT A TRANSLATION OF THE DESCRIPTION OR TO PAY THE FEE WITHIN THE PRESCRIBED TIME-LIMIT Effective date: 20170705 Ref country code: FI Free format text: LAPSE BECAUSE OF FAILURE TO SUBMIT A TRANSLATION OF THE DESCRIPTION OR TO PAY THE FEE WITHIN THE PRESCRIBED TIME-LIMIT Effective date: 20170705 Ref country code: HR Free format text: LAPSE BECAUSE OF FAILURE TO SUBMIT A TRANSLATION OF THE DESCRIPTION OR TO PAY THE FEE WITHIN THE PRESCRIBED TIME-LIMIT Effective date: 20170705 Ref country code: NO Free format text: LAPSE BECAUSE OF FAILURE TO SUBMIT A TRANSLATION OF THE DESCRIPTION OR TO PAY THE FEE WITHIN THE PRESCRIBED TIME-LIMIT Effective date: 20171005 |
|
| PG25 | Lapsed in a contracting state [announced via postgrant information from national office to epo] |
Ref country code: BG Free format text: LAPSE BECAUSE OF FAILURE TO SUBMIT A TRANSLATION OF THE DESCRIPTION OR TO PAY THE FEE WITHIN THE PRESCRIBED TIME-LIMIT Effective date: 20171005 Ref country code: IS Free format text: LAPSE BECAUSE OF FAILURE TO SUBMIT A TRANSLATION OF THE DESCRIPTION OR TO PAY THE FEE WITHIN THE PRESCRIBED TIME-LIMIT Effective date: 20171105 Ref country code: LV Free format text: LAPSE BECAUSE OF FAILURE TO SUBMIT A TRANSLATION OF THE DESCRIPTION OR TO PAY THE FEE WITHIN THE PRESCRIBED TIME-LIMIT Effective date: 20170705 Ref country code: ES Free format text: LAPSE BECAUSE OF FAILURE TO SUBMIT A TRANSLATION OF THE DESCRIPTION OR TO PAY THE FEE WITHIN THE PRESCRIBED TIME-LIMIT Effective date: 20170705 Ref country code: PL Free format text: LAPSE BECAUSE OF FAILURE TO SUBMIT A TRANSLATION OF THE DESCRIPTION OR TO PAY THE FEE WITHIN THE PRESCRIBED TIME-LIMIT Effective date: 20170705 Ref country code: GR Free format text: LAPSE BECAUSE OF FAILURE TO SUBMIT A TRANSLATION OF THE DESCRIPTION OR TO PAY THE FEE WITHIN THE PRESCRIBED TIME-LIMIT Effective date: 20171006 |
|
| REG | Reference to a national code |
Ref country code: CH Ref legal event code: PL |
|
| REG | Reference to a national code |
Ref country code: DE Ref legal event code: R026 Ref document number: 502008015436 Country of ref document: DE |
|
| PLBI | Opposition filed |
Free format text: ORIGINAL CODE: 0009260 |
|
| PLAX | Notice of opposition and request to file observation + time limit sent |
Free format text: ORIGINAL CODE: EPIDOSNOBS2 |
|
| PG25 | Lapsed in a contracting state [announced via postgrant information from national office to epo] |
Ref country code: RO Free format text: LAPSE BECAUSE OF FAILURE TO SUBMIT A TRANSLATION OF THE DESCRIPTION OR TO PAY THE FEE WITHIN THE PRESCRIBED TIME-LIMIT Effective date: 20170705 Ref country code: CZ Free format text: LAPSE BECAUSE OF FAILURE TO SUBMIT A TRANSLATION OF THE DESCRIPTION OR TO PAY THE FEE WITHIN THE PRESCRIBED TIME-LIMIT Effective date: 20170705 Ref country code: MC Free format text: LAPSE BECAUSE OF FAILURE TO SUBMIT A TRANSLATION OF THE DESCRIPTION OR TO PAY THE FEE WITHIN THE PRESCRIBED TIME-LIMIT Effective date: 20170705 Ref country code: CH Free format text: LAPSE BECAUSE OF NON-PAYMENT OF DUE FEES Effective date: 20170831 Ref country code: LI Free format text: LAPSE BECAUSE OF NON-PAYMENT OF DUE FEES Effective date: 20170831 Ref country code: DK Free format text: LAPSE BECAUSE OF FAILURE TO SUBMIT A TRANSLATION OF THE DESCRIPTION OR TO PAY THE FEE WITHIN THE PRESCRIBED TIME-LIMIT Effective date: 20170705 |
|
| 26 | Opposition filed |
Opponent name: THORATEC LLC Effective date: 20180405 |
|
| REG | Reference to a national code |
Ref country code: IE Ref legal event code: MM4A |
|
| PG25 | Lapsed in a contracting state [announced via postgrant information from national office to epo] |
Ref country code: EE Free format text: LAPSE BECAUSE OF FAILURE TO SUBMIT A TRANSLATION OF THE DESCRIPTION OR TO PAY THE FEE WITHIN THE PRESCRIBED TIME-LIMIT Effective date: 20170705 Ref country code: SK Free format text: LAPSE BECAUSE OF FAILURE TO SUBMIT A TRANSLATION OF THE DESCRIPTION OR TO PAY THE FEE WITHIN THE PRESCRIBED TIME-LIMIT Effective date: 20170705 |
|
| REG | Reference to a national code |
Ref country code: BE Ref legal event code: MM Effective date: 20170831 |
|
| PG25 | Lapsed in a contracting state [announced via postgrant information from national office to epo] |
Ref country code: LU Free format text: LAPSE BECAUSE OF NON-PAYMENT OF DUE FEES Effective date: 20170827 |
|
| PG25 | Lapsed in a contracting state [announced via postgrant information from national office to epo] |
Ref country code: IE Free format text: LAPSE BECAUSE OF NON-PAYMENT OF DUE FEES Effective date: 20170827 |
|
| PLAF | Information modified related to communication of a notice of opposition and request to file observations + time limit |
Free format text: ORIGINAL CODE: EPIDOSCOBS2 |
|
| REG | Reference to a national code |
Ref country code: FR Ref legal event code: PLFP Year of fee payment: 11 |
|
| PG25 | Lapsed in a contracting state [announced via postgrant information from national office to epo] |
Ref country code: BE Free format text: LAPSE BECAUSE OF NON-PAYMENT OF DUE FEES Effective date: 20170831 Ref country code: SI Free format text: LAPSE BECAUSE OF FAILURE TO SUBMIT A TRANSLATION OF THE DESCRIPTION OR TO PAY THE FEE WITHIN THE PRESCRIBED TIME-LIMIT Effective date: 20170705 |
|
| PG25 | Lapsed in a contracting state [announced via postgrant information from national office to epo] |
Ref country code: MT Free format text: LAPSE BECAUSE OF FAILURE TO SUBMIT A TRANSLATION OF THE DESCRIPTION OR TO PAY THE FEE WITHIN THE PRESCRIBED TIME-LIMIT Effective date: 20170705 |
|
| REG | Reference to a national code |
Ref country code: AT Ref legal event code: MM01 Ref document number: 906140 Country of ref document: AT Kind code of ref document: T Effective date: 20170827 |
|
| PLBB | Reply of patent proprietor to notice(s) of opposition received |
Free format text: ORIGINAL CODE: EPIDOSNOBS3 |
|
| PG25 | Lapsed in a contracting state [announced via postgrant information from national office to epo] |
Ref country code: AT Free format text: LAPSE BECAUSE OF NON-PAYMENT OF DUE FEES Effective date: 20170827 |
|
| PG25 | Lapsed in a contracting state [announced via postgrant information from national office to epo] |
Ref country code: HU Free format text: LAPSE BECAUSE OF FAILURE TO SUBMIT A TRANSLATION OF THE DESCRIPTION OR TO PAY THE FEE WITHIN THE PRESCRIBED TIME-LIMIT; INVALID AB INITIO Effective date: 20080827 |
|
| REG | Reference to a national code |
Ref country code: DE Ref legal event code: R082 Ref document number: 502008015436 Country of ref document: DE Representative=s name: KLUNKER IP PATENTANWAELTE PARTG MBB, DE Ref country code: DE Ref legal event code: R082 Ref document number: 502008015436 Country of ref document: DE Representative=s name: COHAUSZ & FLORACK PATENT- UND RECHTSANWAELTE P, DE |
|
| PG25 | Lapsed in a contracting state [announced via postgrant information from national office to epo] |
Ref country code: CY Free format text: LAPSE BECAUSE OF NON-PAYMENT OF DUE FEES Effective date: 20170705 |
|
| REG | Reference to a national code |
Ref country code: DE Ref legal event code: R082 Ref document number: 502008015436 Country of ref document: DE Representative=s name: COHAUSZ & FLORACK PATENT- UND RECHTSANWAELTE P, DE |
|
| APBM | Appeal reference recorded |
Free format text: ORIGINAL CODE: EPIDOSNREFNO |
|
| APBP | Date of receipt of notice of appeal recorded |
Free format text: ORIGINAL CODE: EPIDOSNNOA2O |
|
| APAH | Appeal reference modified |
Free format text: ORIGINAL CODE: EPIDOSCREFNO |
|
| APBQ | Date of receipt of statement of grounds of appeal recorded |
Free format text: ORIGINAL CODE: EPIDOSNNOA3O |
|
| PG25 | Lapsed in a contracting state [announced via postgrant information from national office to epo] |
Ref country code: TR Free format text: LAPSE BECAUSE OF FAILURE TO SUBMIT A TRANSLATION OF THE DESCRIPTION OR TO PAY THE FEE WITHIN THE PRESCRIBED TIME-LIMIT Effective date: 20170705 |
|
| RAP2 | Party data changed (patent owner data changed or rights of a patent transferred) |
Owner name: AIS GMBH AACHEN INNOVATIVE SOLUTIONS |
|
| PG25 | Lapsed in a contracting state [announced via postgrant information from national office to epo] |
Ref country code: PT Free format text: LAPSE BECAUSE OF FAILURE TO SUBMIT A TRANSLATION OF THE DESCRIPTION OR TO PAY THE FEE WITHIN THE PRESCRIBED TIME-LIMIT Effective date: 20170705 |
|
| REG | Reference to a national code |
Ref country code: DE Ref legal event code: R079 Ref document number: 502008015436 Country of ref document: DE Free format text: PREVIOUS MAIN CLASS: A61M0001100000 Ipc: A61M0060000000 |
|
| PLBP | Opposition withdrawn |
Free format text: ORIGINAL CODE: 0009264 |
|
| P01 | Opt-out of the competence of the unified patent court (upc) registered |
Effective date: 20230517 |
|
| APBU | Appeal procedure closed |
Free format text: ORIGINAL CODE: EPIDOSNNOA9O |
|
| PUAH | Patent maintained in amended form |
Free format text: ORIGINAL CODE: 0009272 |
|
| STAA | Information on the status of an ep patent application or granted ep patent |
Free format text: STATUS: PATENT MAINTAINED AS AMENDED |
|
| 27A | Patent maintained in amended form |
Effective date: 20240619 |
|
| AK | Designated contracting states |
Kind code of ref document: B2 Designated state(s): AT BE BG CH CY CZ DE DK EE ES FI FR GB GR HR HU IE IS IT LI LT LU LV MC MT NL NO PL PT RO SE SI SK TR |
|
| REG | Reference to a national code |
Ref country code: DE Ref legal event code: R102 Ref document number: 502008015436 Country of ref document: DE |
|
| REG | Reference to a national code |
Ref country code: NL Ref legal event code: FP |
|
| REG | Reference to a national code |
Ref country code: SE Ref legal event code: RPEO |
|
| REG | Reference to a national code |
Ref country code: GB Ref legal event code: CORR Free format text: CORRECTED TRANSLATION OF EUROPEAN PATENT FILED; PATENT FILED UNDER SECTION 80(3) |
|
| PGFP | Annual fee paid to national office [announced via postgrant information from national office to epo] |
Ref country code: NL Payment date: 20250704 Year of fee payment: 18 |
|
| PGFP | Annual fee paid to national office [announced via postgrant information from national office to epo] |
Ref country code: DE Payment date: 20250702 Year of fee payment: 18 |
|
| PGFP | Annual fee paid to national office [announced via postgrant information from national office to epo] |
Ref country code: IT Payment date: 20250722 Year of fee payment: 18 |
|
| PGFP | Annual fee paid to national office [announced via postgrant information from national office to epo] |
Ref country code: GB Payment date: 20250703 Year of fee payment: 18 |
|
| PGFP | Annual fee paid to national office [announced via postgrant information from national office to epo] |
Ref country code: FR Payment date: 20250703 Year of fee payment: 18 |
|
| PGFP | Annual fee paid to national office [announced via postgrant information from national office to epo] |
Ref country code: SE Payment date: 20250702 Year of fee payment: 18 |