EP2071972B1 - A fluid-tight slide fastener - Google Patents

A fluid-tight slide fastener Download PDF

Info

Publication number
EP2071972B1
EP2071972B1 EP07024770A EP07024770A EP2071972B1 EP 2071972 B1 EP2071972 B1 EP 2071972B1 EP 07024770 A EP07024770 A EP 07024770A EP 07024770 A EP07024770 A EP 07024770A EP 2071972 B1 EP2071972 B1 EP 2071972B1
Authority
EP
European Patent Office
Prior art keywords
fluid
slide fastener
teeth
tape
tapes
Prior art date
Legal status (The legal status is an assumption and is not a legal conclusion. Google has not performed a legal analysis and makes no representation as to the accuracy of the status listed.)
Not-in-force
Application number
EP07024770A
Other languages
German (de)
English (en)
French (fr)
Other versions
EP2071972A1 (en
Inventor
Roberto Peano
Current Assignee (The listed assignees may be inaccurate. Google has not performed a legal analysis and makes no representation or warranty as to the accuracy of the list.)
Riri SA
Original Assignee
Riri SA
Priority date (The priority date is an assumption and is not a legal conclusion. Google has not performed a legal analysis and makes no representation as to the accuracy of the date listed.)
Filing date
Publication date
Priority to AT07024770T priority Critical patent/ATE489865T1/de
Priority to DE602007010965T priority patent/DE602007010965D1/de
Priority to SI200730502T priority patent/SI2071972T1/sl
Priority to PL07024770T priority patent/PL2071972T3/pl
Priority to DK07024770.5T priority patent/DK2071972T3/da
Priority to PT07024770T priority patent/PT2071972E/pt
Priority to ES07024770T priority patent/ES2357134T3/es
Priority to EP07024770A priority patent/EP2071972B1/en
Application filed by Riri SA filed Critical Riri SA
Publication of EP2071972A1 publication Critical patent/EP2071972A1/en
Application granted granted Critical
Publication of EP2071972B1 publication Critical patent/EP2071972B1/en
Priority to CY20111100196T priority patent/CY1111207T1/el
Not-in-force legal-status Critical Current
Anticipated expiration legal-status Critical

Links

Images

Classifications

    • AHUMAN NECESSITIES
    • A44HABERDASHERY; JEWELLERY
    • A44BBUTTONS, PINS, BUCKLES, SLIDE FASTENERS, OR THE LIKE
    • A44B19/00Slide fasteners
    • A44B19/24Details
    • A44B19/32Means for making slide fasteners gas or watertight
    • AHUMAN NECESSITIES
    • A44HABERDASHERY; JEWELLERY
    • A44BBUTTONS, PINS, BUCKLES, SLIDE FASTENERS, OR THE LIKE
    • A44B19/00Slide fasteners
    • A44B19/24Details
    • A44B19/40Connection of separate, or one-piece, interlocking members to stringer tapes; Reinforcing such connections, e.g. by stitching
    • A44B19/403Connection of separate interlocking members
    • AHUMAN NECESSITIES
    • A41WEARING APPAREL
    • A41DOUTERWEAR; PROTECTIVE GARMENTS; ACCESSORIES
    • A41D2600/00Uses of garments specially adapted for specific purposes
    • A41D2600/10Uses of garments specially adapted for specific purposes for sport activities

Definitions

  • the present invention refers to a fluid-tight slide fastener and to a process for manufacturing a fluid-tight slide fastener.
  • a slide fastener in essential terms, comprises a pair of tapes bearing respective rows of teeth, top and bottom stops, and a slider for opening and closing the fastener by engaging and disengaging the teeth.
  • Fluid-tight slide fasteners are needed for a number of applications, such as provision of sports and outdoor activity items, diving or sailing suits, camping tents and the like. Said fasteners are required to be resistant to passage of a liquid and/or gas, e.g. water and/or air even under a significant pressure difference between the interior and the exterior, for example up to about 2 bars; at the same time, they must be tenacious and pliable.
  • a liquid and/or gas e.g. water and/or air even under a significant pressure difference between the interior and the exterior, for example up to about 2 bars; at the same time, they must be tenacious and pliable.
  • fluid-tight slide fasteners are realized with layered tapes made of a textile core layer coated with a suitable fluid-barrier layer, and teeth which are applied to the layered tapes or injection-molded.
  • materials it is known to realize fluid-tight slide fasteners with textile tapes coated with a thermoplastic elastomer material (TPE) and teeth made of a thermoplastic material.
  • TPE thermoplastic elastomer material
  • US 2006/101632 discloses a pattern imprinted on a finished zipper by means of a patterning roller.
  • EP 0 108 214 discloses stringer tapes with a thickened or enlarged resilient sealing member extending along the edge portion.
  • US 4 123 830 discloses stringer tapes with a reinforcing cord along one edge.
  • WO 02/03825 discloses a slide fastener with teeth welded onto the tapes.
  • the region of the slide fastener wherein teeth are fixed to the coated tapes is known to be a critical point of a fluid-tight slide fastener.
  • the coupling between each tooth and the tapes in fact, must be fluid-tight and must also withstand the mechanical stress due to opening and closing action of the slider, bending of the tapes, handling and direct exposure to environment.
  • the layered tapes may suffer a separation of the layers due to intensive use and/or lack of adhesion between the layers. Due to said separation, also known as delamination, the textile core may be exposed and in such a case the fluid-tight performance is generally compromised.
  • the technical problem underlying the invention is to improve the fluid-tight performance and reliability of a fluid-tight slide fastener as defined above, with particular regard to the coupling between the teeth and the coated tapes.
  • a fluid-tight slide fastener comprising a pair of tapes, each of said tape comprising a textile core layer and a fluid barrier layer coating said textile layer, and having at least a portion carrying a row of teeth along an inner edge, characterized in that each of said tapes comprises a knurled region on at least one side of the tape and on the exterior side of the fluid barrier layer, said knurled region being extended along said inner edge of tape and at least on said portion of the tape carrying said row of teeth, such that the teeth are fixed to the knurled region of the tape.
  • Said knurled (or embossed) region is formed as a continuous longitudinal stripe parallel to said inner edge.
  • said knurled region has a width which is greater than width of root portions of said teeth.
  • the coupling region between the teeth and the tape is fully comprised in said knurled region of tape.
  • the width of the knurled region of tape is about 1.5 - 2 times the width of root portions of teeth.
  • said knurled region is provided on one side of the tapes, preferably the front side facing the exterior, or the same knurled region is provided on both front and rear sides of tapes.
  • the knurled region can be obtained directly during the manufacturing of the coated tapes, for example directly after the coating of the textile core layer with the fluid-barrier layer.
  • the knurled region may be obtained with a subsequent process step operated on a semi-finished product such as a strip of textile material coated with said fluid-barrier layer.
  • tapes of the slide fastener are manufactured by extrusion or lamination of a selected fluid-barrier material, preferably in a melted state, onto strips of textile material.
  • a knurling process step is performed on the coated strips, obtaining said knurled region on one or both sides of the tapes. Teeth are then fixed and made integral to said knurled region of the tapes, for example by injection molding.
  • a process according to the invention for making a tape for a slide fastener comprises at least the steps of:
  • the textile material of the core layer of tapes is chosen preferably among polyester (PE), preferably polyethylene terephtalate (PET), polyamide (PA) and their blends or copolymers.
  • PET polyethylene terephtalate
  • PA polyamide
  • the textile material is a spun yarn of cut fibers, having an irregular surface similar to a natural fiber which tends to remain embedded in the fluid-barrier layer, enhancing the resistance to delamination.
  • the fluid-barrier material is preferably provided on the textile core layer in a melted state, for example extruded or laminated.
  • the process as disclosed above preferably provides use of a textile strip of a spun yarn of cut fibers, said fibers being obtained with a cutting process of continuous fibers.
  • the strip of textile material is coated by extrusion or lamination of melted fluid-barrier material so that surface irregularities of the spun yarn remain embedded in the fluid-barrier layer.
  • the fluid-barrier layer is preferably made of a thermoplastic elastomer polyurethane (TPE-U) or a thermoplastic elastomer polyester (TPE-E).
  • TPE-U thermoplastic elastomer polyurethane
  • TPE-E thermoplastic elastomer polyester
  • said TPE-E is a polyether-ester block copolymer
  • said TPE-U is a block copolymer obtained from an ether and/or an ester and a isocyanate.
  • Teeth of the slide fastener are made, according to some embodiments, of a thermoplastic material consisting of a blend including PBT and polycarbonate (PC).
  • the PBT/PC weight ratio in said blend ranges between 70/30 and 30/70.
  • the teeth are made of a blend including ABS and a polyamide (PA). More preferably, the ABS/PA weight ratio in said blend ranges between 70/30 and 30/70.
  • a fluid barrier layer of TPE-E is chosen in combination with teeth made of PBT.
  • a fluid barrier layer of TPE-U is chosen in combination with teeth made of either a blend of ABS and PA or a blend of PBT and PC.
  • the fluid barrier layer and the teeth may include suitable additives such as, for instance fillers, pigments, binders and/or compatibilizers, the latter being incorporated to improve the physical and chemical affinity between said materials and/or between the materials used for the layered structure of the tape.
  • suitable additives such as, for instance fillers, pigments, binders and/or compatibilizers, the latter being incorporated to improve the physical and chemical affinity between said materials and/or between the materials used for the layered structure of the tape.
  • the tapes of the slide fastener may also comprise a further, optional adhesive layer between the textile core and layer and the fluid-barrier coating.
  • the adhesive is selected to have a strong chemical affinity for both the materials to be joined.
  • the adhesive comprises a polyurethane resin.
  • sports and outdoor activity items such as a diving suit, a sailing suit, a camping tent and the like, are made comprising a fluid-tight slide fastener as described above.
  • the knurled region has a non-smooth surface, with crests alternated to embossed regions according to a direction perpendicular to the surface of the tapes, thus increasing the whole contact surface available to the coupling between the tapes and the teeth. Hence, a stronger bond between each tooth and the tape is obtained.
  • the knurled region has a retaining effect on the teeth, opposing to their movement and/or rotation respective to the tape, and thus increasing the mechanical resistance to bending.
  • the fluid-tight performance is also improved by the fact that the knurled region is a further obstacle to the passage of fluids like air and water at the tooth-tape interface. It may be stated that said crests and embossed areas on the surface of the tape act like a labyrinth against the passage of fluids, especially water.
  • the preferred materials give a further advantage in terms of mechanical properties at both interfaces between the layers of the tapes and between the fluid barrier layer and teeth, due to a chemical bonding effect.
  • the use of a spun yarn for the textile core layer of the tapes has a further advantage.
  • the spun yars has fibers protruding from the ideal diameter of the yarn itself, which remain embedded in the material of the fluid-barrier layer, giving a further mechanical bond between the layers and enhancing the resistance to delamination.
  • the knurled or embossed region defines a useful reference line for assembling the tapes of the slide fastener on a garment on suit.
  • the external borderline of the knurled region indicates a limit not to overcome when assembling (e.g. sewing) the slide fastener on the garment.
  • a fluid-tight slide fastener 1 in accordance with an embodiment of the present invention, comprises a pair of tapes 2, equipped with teeth 3, a bottom stop 4, top stops 5, and a slider 6.
  • Tapes 2 have a layered structure made of a textile core layer fully coated on both sides by a suitable fluid-barrier layer.
  • Each of tapes 2 is carrying a row of teeth 3.
  • Teeth 3 are associated with a portion of the tapes 2, between bottom stop 4 and top stops 5, along inner edges 7 of said tapes 2.
  • Teeth 3 are associated to tapes 2 in a fluid-tight manner, for example through injection molding.
  • Top and bottom stops 4, 5 are also fixed to the tapes 2 in a fluid-tight manner, for example through injection molding.
  • the figures relates, in a non-limiting way, to an embodiment wherein the bottom stop 4 is made in a single piece applied on both tapes at one end of the teeth rows, whereas two top stops 5 are applied the respective tapes 2 at the opposite end of the teeth rows.
  • the top stop can be made in a single piece, or the bottom stop can be made in two half-pieces.
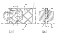
  • Each tape 2 comprises a knurled surface region 10, formed as a longitudinal stripe extending from said inner edge 7 and having a predetermined width, so that teeth 3 are associated with said knurled region 10 of the tape 2.
  • Knurled region 10 is provided along the entire tape 2 or, at least, on the portion of tape 2 carrying the row of teeth 3.
  • Figs. 2 and 3 show more detail of the embodiment herein discussed.
  • Tapes 2 comprise a textile core 20 fully enveloped by a fluid-barrier coating 21.
  • Teeth 3 have a root portion 30, coupled to the respective tape 2, and a head portions 31 projecting from inner edge 7 for reciprocal engagement under the action of slider 6. It may be noted that edges 7 are formed by the coating 21 envelopping the textile core 20.
  • the knurled region 10 has a non-smooth surface with a pattern of crests 11 projecting away from embossed surface areas 12, obtained as a permanent deformation of the fluid-barrier coating 21 of tapes 2.
  • the crests 11 are arranged according to the pattern of Fig. 2 , i.e. straight lines crossing at 90° and inclined by 45° with respect to the rows of teeth 3.
  • the width W of knurled region 10 is preferably about 1.5 - 2 times the width of root portions 30 of teeth 3 ( Fig. 2 ).
  • a knurled region 10 is provided on both sides of tapes 2, namely on front surface 22, intended to face the exterior, and on the opposite rear surface 23.
  • front surface 22 is the outer surface exposed to environmental agents
  • rear surface 23 is the inner surface.
  • a knurled region 10 can be provided only on one side of the tapes 2, namely on one of said surfaces 22, 23, preferably on the front surface 22.
  • Fig. 6 allows a better appreciation of crests 11 projecting away from areas 12 engraved on the fluid-barrier coating 21 of tapes 2.
  • Fig. 6 also shows a passing hole 13 which is used for molding the teeth 3.
  • Fig. 6 also provides better appreciation of the fact that crests 11 increase the available surface for coupling with the teeth 3, compared to a perfectly smooth tape.
  • the surface on the plane perpendicular to axis of the hole 13, which would be the only available surface on a smooth tape is increased by the side surfaces of said crests projecting away from areas 12. A gain in available surface of 10% or more can be achieved.
  • Figs. 7 and 8 show a portion of a tape 2 during the manufacturing process.
  • a strip 40 is formed by coating a textile, inner core layer with a fluid-barrier layer, enveloping said inner core layer on both sides.
  • Said strip 40 has an edge 7, also covered by said fluid-barrier layer, where teeth are associated to the strip.
  • a knurled, longitudinal region 10, in the form of a stripe having a width W, is formed from said edge 7, by a knurling or embossing process of the strip 40.
  • Said process defines on surface of the region 10 a pattern of crests 11 projecting away from embossed areas 12, wherein the fluid-barrier layer is made thinner.
  • Teeth 3 are then associated to the strip 40, for example by injection molding, along said edge 7 ( Fig. 8 ). Teeth 3 are made integral with the knurled, longitudinal region 10 of the strip 40. Strip 40 is then cut transversally to obtain tapes 2 of a desired length, and said tapes 2 are equipped with stops and a slider, such as stops 4, 5 and slider 6, to obtain a fastener zip as seen, for example, in Fig. 1 .
  • a process for obtaining the strip 40 is schematized.
  • a textile, continuous strip 50 is passed through a suitable extruder 51, fed with a fluid-barrier material M in a melted state, obtaining as intermediate product a coated strip 52, wherein the textile strip is enveloped by the fluid-barrier material.
  • the coated strip is passed through a couple of rolls 53 and 54, deforming both front and rear surfaces of the coated strip near an edge thereof, obtaining the strip 40 with knurled region 10.
  • the rolls 53, 54 are immediately downstream the extruder 51, so that the coating is still hot and easily deformed.
  • the coated tapes 2 can also be made by lamination.
  • the strip 50 can be made of a spun yarn and coated by extrusion or lamination of melted fluid-barrier material, so that the surface irregularities of the spun yarn remain embedded in the solidified fluid-barrier layer and provides a "grasping" effect of the textile layer on the fluid-barrier layer, i.e. a stronger coupling between the layers.
  • the fluid-tight slide fastener according to the present invention solves the technical problem, mostly by the fact that it exhibits good long-term fluid-tight characteristics and resistance to delamination, bending and other mechanical stress especially at tooth-tape interface.

Landscapes

  • Slide Fasteners (AREA)
  • Tents Or Canopies (AREA)
  • Holders For Sensitive Materials And Originals (AREA)
  • Lubricants (AREA)
  • Pens And Brushes (AREA)
EP07024770A 2007-12-20 2007-12-20 A fluid-tight slide fastener Not-in-force EP2071972B1 (en)

Priority Applications (9)

Application Number Priority Date Filing Date Title
SI200730502T SI2071972T1 (sl) 2007-12-20 2007-12-20 Nepremočljiva zadrga
PL07024770T PL2071972T3 (pl) 2007-12-20 2007-12-20 Płynoszczelny zamek błyskawiczny
DK07024770.5T DK2071972T3 (da) 2007-12-20 2007-12-20 Fluidtæt lynlås
PT07024770T PT2071972E (pt) 2007-12-20 2007-12-20 Fecho de correr estanque
AT07024770T ATE489865T1 (de) 2007-12-20 2007-12-20 FLÜSSIGKEITSDICHTER REIßVERSCHLUSS
DE602007010965T DE602007010965D1 (de) 2007-12-20 2007-12-20 Flüssigkeitsdichter Reißverschluss
ES07024770T ES2357134T3 (es) 2007-12-20 2007-12-20 Cierre deslizante estanco a los fluídos.
EP07024770A EP2071972B1 (en) 2007-12-20 2007-12-20 A fluid-tight slide fastener
CY20111100196T CY1111207T1 (el) 2007-12-20 2011-02-16 Ενα αεροϋδατο-στεγες φερμουαρ

Applications Claiming Priority (1)

Application Number Priority Date Filing Date Title
EP07024770A EP2071972B1 (en) 2007-12-20 2007-12-20 A fluid-tight slide fastener

Publications (2)

Publication Number Publication Date
EP2071972A1 EP2071972A1 (en) 2009-06-24
EP2071972B1 true EP2071972B1 (en) 2010-12-01

Family

ID=39333047

Family Applications (1)

Application Number Title Priority Date Filing Date
EP07024770A Not-in-force EP2071972B1 (en) 2007-12-20 2007-12-20 A fluid-tight slide fastener

Country Status (9)

Country Link
EP (1) EP2071972B1 (pl)
AT (1) ATE489865T1 (pl)
CY (1) CY1111207T1 (pl)
DE (1) DE602007010965D1 (pl)
DK (1) DK2071972T3 (pl)
ES (1) ES2357134T3 (pl)
PL (1) PL2071972T3 (pl)
PT (1) PT2071972E (pl)
SI (1) SI2071972T1 (pl)

Families Citing this family (2)

* Cited by examiner, † Cited by third party
Publication number Priority date Publication date Assignee Title
GB0912179D0 (en) * 2009-07-13 2009-08-26 Ykk Europ Ltd Watertight zip fastener
CN102639022B (zh) 2009-11-30 2015-03-11 Ykk株式会社 液密拉链及其制造方法

Family Cites Families (7)

* Cited by examiner, † Cited by third party
Publication number Priority date Publication date Assignee Title
AT326067B (de) * 1971-06-17 1975-11-25 Yoshida Kogyo Kk Reissverschluss
US4426066A (en) * 1976-04-05 1984-01-17 Talon, Inc. Method of making slide fastener
JPS5812866Y2 (ja) * 1976-09-02 1983-03-11 ワイケイケイ株式会社 スライドフアスナ−
AU541561B2 (en) * 1982-09-09 1985-01-10 Yoshida Kogyo K.K. Watertight slide fastener stringer
DK1707066T3 (da) * 2000-07-11 2010-08-23 Riri Sa Forseglende lynlås med tænder påsvejset båndene som de sammenføjer
GB0102142D0 (en) * 2001-01-27 2001-03-14 Ardmel Automation Ltd Slide fastener
US20060101632A1 (en) * 2004-11-12 2006-05-18 Shih Sheng Yang Method for infiltrating water-proof material into zipper

Also Published As

Publication number Publication date
DK2071972T3 (da) 2011-02-07
SI2071972T1 (sl) 2011-03-31
DE602007010965D1 (de) 2011-01-13
PL2071972T3 (pl) 2011-04-29
EP2071972A1 (en) 2009-06-24
ATE489865T1 (de) 2010-12-15
PT2071972E (pt) 2011-01-05
CY1111207T1 (el) 2015-06-11
ES2357134T3 (es) 2011-04-19

Similar Documents

Publication Publication Date Title
EP2274997B1 (en) Zip fastener
EP1357815B1 (en) Slide fastener
US20100005557A1 (en) Fluid-tight slide fastener
CN102264253B (zh) 防风雨滑动紧固件
RU2429771C2 (ru) Герметичная застежка-молния
US20070226966A1 (en) Waterproof slide fastener
JP5258133B2 (ja) 自己嵌合性で開閉自在の結合ストラップおよびファスナー
TW201114384A (en) Slide fastener
GB2514834A (en) Slide fastener and method of manufacturing a portion thereof
EP2071972B1 (en) A fluid-tight slide fastener
WO2009068848A2 (en) Zip fastener
CA1049764A (en) Manufacture of sliding clasp fasteners
KR100571970B1 (ko) 슬라이드 파스너의 정지부
JPS5951803B2 (ja) 合成樹脂製連続フアスナ−エレメント列を有するスライドフアスナ−
WO2006016819A1 (en) Fluid resistant zip
TW202415310A (zh) 拉鏈及防水鏈之製造方法
US20250234968A1 (en) Coil-type fluid-impervious zipper and commercial product using same
US20240398072A1 (en) Coil-type fluid-impervious zipper and commercial product using same
EP1908365A1 (en) A fluid-tight slide fastener
EP1908363A1 (en) A fluid-tight slide fastener
JPS59111703A (ja) 水密・気密性スライドフアスナ−連続ストリンガ−と、その生産方法
HK1132634A (en) A fluid-tight slide fastener
HK1127981A (en) A fluid-tight slide fastener
CN113142755A (zh) 尼龙灌胶拉链
HK1060033B (en) Slide fastener

Legal Events

Date Code Title Description
PUAI Public reference made under article 153(3) epc to a published international application that has entered the european phase

Free format text: ORIGINAL CODE: 0009012

AK Designated contracting states

Kind code of ref document: A1

Designated state(s): AT BE BG CH CY CZ DE DK EE ES FI FR GB GR HU IE IS IT LI LT LU LV MC MT NL PL PT RO SE SI SK TR

AX Request for extension of the european patent

Extension state: AL BA HR MK RS

17P Request for examination filed

Effective date: 20090922

17Q First examination report despatched

Effective date: 20091028

AKX Designation fees paid

Designated state(s): AT BE BG CH CY CZ DE DK EE ES FI FR GB GR HU IE IS IT LI LT LU LV MC MT NL PL PT RO SE SI SK TR

GRAP Despatch of communication of intention to grant a patent

Free format text: ORIGINAL CODE: EPIDOSNIGR1

GRAS Grant fee paid

Free format text: ORIGINAL CODE: EPIDOSNIGR3

RAP1 Party data changed (applicant data changed or rights of an application transferred)

Owner name: RIRI SA

GRAA (expected) grant

Free format text: ORIGINAL CODE: 0009210

AK Designated contracting states

Kind code of ref document: B1

Designated state(s): AT BE BG CH CY CZ DE DK EE ES FI FR GB GR HU IE IS IT LI LT LU LV MC MT NL PL PT RO SE SI SK TR

REG Reference to a national code

Ref country code: GB

Ref legal event code: FG4D

REG Reference to a national code

Ref country code: CH

Ref legal event code: EP

Ref country code: CH

Ref legal event code: NV

Representative=s name: ING. MARCO ZARDI C/O M. ZARDI & CO. S.A.

REG Reference to a national code

Ref country code: PT

Ref legal event code: SC4A

Free format text: AVAILABILITY OF NATIONAL TRANSLATION

Effective date: 20101229

Ref country code: IE

Ref legal event code: FG4D

REF Corresponds to:

Ref document number: 602007010965

Country of ref document: DE

Date of ref document: 20110113

Kind code of ref document: P

PGFP Annual fee paid to national office [announced via postgrant information from national office to epo]

Ref country code: EE

Payment date: 20101216

Year of fee payment: 4

Ref country code: IE

Payment date: 20101228

Year of fee payment: 4

Ref country code: MC

Payment date: 20101220

Year of fee payment: 4

REG Reference to a national code

Ref country code: DK

Ref legal event code: T3

REG Reference to a national code

Ref country code: EE

Ref legal event code: FG4A

Ref document number: E004789

Country of ref document: EE

Effective date: 20101216

REG Reference to a national code

Ref country code: NL

Ref legal event code: T3

REG Reference to a national code

Ref country code: RO

Ref legal event code: EPE

PGFP Annual fee paid to national office [announced via postgrant information from national office to epo]

Ref country code: BG

Payment date: 20101221

Year of fee payment: 4

Ref country code: LU

Payment date: 20101222

Year of fee payment: 4

REG Reference to a national code

Ref country code: SE

Ref legal event code: TRGR

PGFP Annual fee paid to national office [announced via postgrant information from national office to epo]

Ref country code: GR

Payment date: 20101216

Year of fee payment: 4

Ref country code: NL

Payment date: 20101210

Year of fee payment: 4

Ref country code: LV

Payment date: 20101227

Year of fee payment: 4

REG Reference to a national code

Ref country code: ES

Ref legal event code: FG2A

Ref document number: 2357134

Country of ref document: ES

Kind code of ref document: T3

Effective date: 20110419

PGFP Annual fee paid to national office [announced via postgrant information from national office to epo]

Ref country code: LT

Payment date: 20110204

Year of fee payment: 4

REG Reference to a national code

Ref country code: PL

Ref legal event code: T3

REG Reference to a national code

Ref country code: SK

Ref legal event code: T3

Ref document number: E 8798

Country of ref document: SK

PGFP Annual fee paid to national office [announced via postgrant information from national office to epo]

Ref country code: IS

Payment date: 20110209

Year of fee payment: 4

Ref country code: CZ

Payment date: 20101208

Year of fee payment: 4

Ref country code: SK

Payment date: 20101216

Year of fee payment: 4

Ref country code: SI

Payment date: 20101214

Year of fee payment: 4

Ref country code: TR

Payment date: 20110217

Year of fee payment: 5

Ref country code: RO

Payment date: 20101220

Year of fee payment: 4

Ref country code: PT

Payment date: 20110105

Year of fee payment: 4

Ref country code: PL

Payment date: 20101215

Year of fee payment: 4

PGFP Annual fee paid to national office [announced via postgrant information from national office to epo]

Ref country code: BE

Payment date: 20110124

Year of fee payment: 4

REG Reference to a national code

Ref country code: HU

Ref legal event code: AG4A

Ref document number: E010553

Country of ref document: HU

PGFP Annual fee paid to national office [announced via postgrant information from national office to epo]

Ref country code: HU

Payment date: 20110223

Year of fee payment: 4

Ref country code: CY

Payment date: 20110110

Year of fee payment: 4

PLBE No opposition filed within time limit

Free format text: ORIGINAL CODE: 0009261

STAA Information on the status of an ep patent application or granted ep patent

Free format text: STATUS: NO OPPOSITION FILED WITHIN TIME LIMIT

26N No opposition filed

Effective date: 20110902

REG Reference to a national code

Ref country code: DE

Ref legal event code: R097

Ref document number: 602007010965

Country of ref document: DE

Effective date: 20110902

PG25 Lapsed in a contracting state [announced via postgrant information from national office to epo]

Ref country code: IT

Free format text: LAPSE BECAUSE OF NON-PAYMENT OF DUE FEES

Effective date: 20101220

PGFP Annual fee paid to national office [announced via postgrant information from national office to epo]

Ref country code: MT

Payment date: 20101221

Year of fee payment: 4

BERE Be: lapsed

Owner name: RIRI SA

Effective date: 20111231

REG Reference to a national code

Ref country code: NL

Ref legal event code: V1

Effective date: 20120701

LTIE Lt: invalidation of european patent or patent extension
PG25 Lapsed in a contracting state [announced via postgrant information from national office to epo]

Ref country code: MC

Free format text: LAPSE BECAUSE OF NON-PAYMENT OF DUE FEES

Effective date: 20111231

Ref country code: LT

Free format text: LAPSE BECAUSE OF NON-PAYMENT OF DUE FEES

Effective date: 20111220

Ref country code: CZ

Free format text: LAPSE BECAUSE OF NON-PAYMENT OF DUE FEES

Effective date: 20111220

REG Reference to a national code

Ref country code: EE

Ref legal event code: MM4A

Ref document number: E004789

Country of ref document: EE

Effective date: 20111231

PG25 Lapsed in a contracting state [announced via postgrant information from national office to epo]

Ref country code: LV

Free format text: LAPSE BECAUSE OF NON-PAYMENT OF DUE FEES

Effective date: 20111220

REG Reference to a national code

Ref country code: GR

Ref legal event code: ML

Ref document number: 20100402974

Country of ref document: GR

Effective date: 20120704

Ref country code: SK

Ref legal event code: MM4A

Ref document number: E 8798

Country of ref document: SK

Effective date: 20111220

REG Reference to a national code

Ref country code: PT

Ref legal event code: MM4A

Free format text: LAPSE DUE TO NON-PAYMENT OF FEES

Effective date: 20120920

Ref country code: IE

Ref legal event code: MM4A

PG25 Lapsed in a contracting state [announced via postgrant information from national office to epo]

Ref country code: CY

Free format text: LAPSE BECAUSE OF NON-PAYMENT OF DUE FEES

Effective date: 20111220

REG Reference to a national code

Ref country code: SI

Ref legal event code: KO00

Effective date: 20120827

PG25 Lapsed in a contracting state [announced via postgrant information from national office to epo]

Ref country code: RO

Free format text: LAPSE BECAUSE OF NON-PAYMENT OF DUE FEES

Effective date: 20111220

Ref country code: BE

Free format text: LAPSE BECAUSE OF NON-PAYMENT OF DUE FEES

Effective date: 20111231

Ref country code: IE

Free format text: LAPSE BECAUSE OF NON-PAYMENT OF DUE FEES

Effective date: 20111220

Ref country code: IS

Free format text: LAPSE BECAUSE OF FAILURE TO SUBMIT A TRANSLATION OF THE DESCRIPTION OR TO PAY THE FEE WITHIN THE PRESCRIBED TIME-LIMIT

Effective date: 20120701

Ref country code: EE

Free format text: LAPSE BECAUSE OF NON-PAYMENT OF DUE FEES

Effective date: 20111231

PG25 Lapsed in a contracting state [announced via postgrant information from national office to epo]

Ref country code: SI

Free format text: LAPSE BECAUSE OF NON-PAYMENT OF DUE FEES

Effective date: 20111221

Ref country code: GR

Free format text: LAPSE BECAUSE OF NON-PAYMENT OF DUE FEES

Effective date: 20120704

Ref country code: SK

Free format text: LAPSE BECAUSE OF NON-PAYMENT OF DUE FEES

Effective date: 20111220

Ref country code: PT

Free format text: LAPSE BECAUSE OF NON-PAYMENT OF DUE FEES

Effective date: 20120920

Ref country code: HU

Free format text: LAPSE BECAUSE OF NON-PAYMENT OF DUE FEES

Effective date: 20111221

PG25 Lapsed in a contracting state [announced via postgrant information from national office to epo]

Ref country code: NL

Free format text: LAPSE BECAUSE OF NON-PAYMENT OF DUE FEES

Effective date: 20120701

PG25 Lapsed in a contracting state [announced via postgrant information from national office to epo]

Ref country code: MT

Free format text: LAPSE BECAUSE OF NON-PAYMENT OF DUE FEES

Effective date: 20121231

REG Reference to a national code

Ref country code: PL

Ref legal event code: LAPE

PG25 Lapsed in a contracting state [announced via postgrant information from national office to epo]

Ref country code: PL

Free format text: LAPSE BECAUSE OF NON-PAYMENT OF DUE FEES

Effective date: 20111220

Ref country code: LU

Free format text: LAPSE BECAUSE OF NON-PAYMENT OF DUE FEES

Effective date: 20111220

REG Reference to a national code

Ref country code: ES

Ref legal event code: FD2A

Effective date: 20130703

PG25 Lapsed in a contracting state [announced via postgrant information from national office to epo]

Ref country code: ES

Free format text: LAPSE BECAUSE OF NON-PAYMENT OF DUE FEES

Effective date: 20111221

Ref country code: BG

Free format text: LAPSE BECAUSE OF NON-PAYMENT OF DUE FEES

Effective date: 20121231

PGFP Annual fee paid to national office [announced via postgrant information from national office to epo]

Ref country code: DK

Payment date: 20141219

Year of fee payment: 8

Ref country code: FI

Payment date: 20141219

Year of fee payment: 8

Ref country code: GB

Payment date: 20141219

Year of fee payment: 8

Ref country code: CH

Payment date: 20141223

Year of fee payment: 8

Ref country code: SE

Payment date: 20141223

Year of fee payment: 8

PGFP Annual fee paid to national office [announced via postgrant information from national office to epo]

Ref country code: AT

Payment date: 20141219

Year of fee payment: 8

Ref country code: FR

Payment date: 20141217

Year of fee payment: 8

PGFP Annual fee paid to national office [announced via postgrant information from national office to epo]

Ref country code: IT

Payment date: 20141222

Year of fee payment: 8

PGFP Annual fee paid to national office [announced via postgrant information from national office to epo]

Ref country code: DE

Payment date: 20141218

Year of fee payment: 8

PG25 Lapsed in a contracting state [announced via postgrant information from national office to epo]

Ref country code: MT

Free format text: LAPSE BECAUSE OF NON-PAYMENT OF DUE FEES

Effective date: 20111231

REG Reference to a national code

Ref country code: GR

Ref legal event code: EP

Ref document number: 20100402974

Country of ref document: GR

Effective date: 20110119

REG Reference to a national code

Ref country code: DE

Ref legal event code: R119

Ref document number: 602007010965

Country of ref document: DE

REG Reference to a national code

Ref country code: DK

Ref legal event code: EBP

Effective date: 20151231

REG Reference to a national code

Ref country code: CH

Ref legal event code: PL

REG Reference to a national code

Ref country code: SE

Ref legal event code: EUG

REG Reference to a national code

Ref country code: AT

Ref legal event code: MM01

Ref document number: 489865

Country of ref document: AT

Kind code of ref document: T

Effective date: 20151220

GBPC Gb: european patent ceased through non-payment of renewal fee

Effective date: 20151220

PG25 Lapsed in a contracting state [announced via postgrant information from national office to epo]

Ref country code: SE

Free format text: LAPSE BECAUSE OF NON-PAYMENT OF DUE FEES

Effective date: 20151221

REG Reference to a national code

Ref country code: FR

Ref legal event code: ST

Effective date: 20160831

PG25 Lapsed in a contracting state [announced via postgrant information from national office to epo]

Ref country code: DE

Free format text: LAPSE BECAUSE OF NON-PAYMENT OF DUE FEES

Effective date: 20160701

Ref country code: CH

Free format text: LAPSE BECAUSE OF NON-PAYMENT OF DUE FEES

Effective date: 20151231

Ref country code: GB

Free format text: LAPSE BECAUSE OF NON-PAYMENT OF DUE FEES

Effective date: 20151220

Ref country code: LI

Free format text: LAPSE BECAUSE OF NON-PAYMENT OF DUE FEES

Effective date: 20151231

PG25 Lapsed in a contracting state [announced via postgrant information from national office to epo]

Ref country code: AT

Free format text: LAPSE BECAUSE OF NON-PAYMENT OF DUE FEES

Effective date: 20151220

Ref country code: FR

Free format text: LAPSE BECAUSE OF NON-PAYMENT OF DUE FEES

Effective date: 20151231

PG25 Lapsed in a contracting state [announced via postgrant information from national office to epo]

Ref country code: IT

Free format text: LAPSE BECAUSE OF NON-PAYMENT OF DUE FEES

Effective date: 20151220

PG25 Lapsed in a contracting state [announced via postgrant information from national office to epo]

Ref country code: DK

Free format text: LAPSE BECAUSE OF NON-PAYMENT OF DUE FEES

Effective date: 20151231

PG25 Lapsed in a contracting state [announced via postgrant information from national office to epo]

Ref country code: FI

Free format text: LAPSE BECAUSE OF NON-PAYMENT OF DUE FEES

Effective date: 20151220

PG25 Lapsed in a contracting state [announced via postgrant information from national office to epo]

Ref country code: TR

Free format text: LAPSE BECAUSE OF NON-PAYMENT OF DUE FEES

Effective date: 20121220

PG25 Lapsed in a contracting state [announced via postgrant information from national office to epo]

Ref country code: MT

Free format text: LAPSE BECAUSE OF NON-PAYMENT OF DUE FEES

Effective date: 20111220