EP2002127B1 - Vordrall-leitvorrichtung - Google Patents

Vordrall-leitvorrichtung Download PDF

Info

Publication number
EP2002127B1
EP2002127B1 EP07701890A EP07701890A EP2002127B1 EP 2002127 B1 EP2002127 B1 EP 2002127B1 EP 07701890 A EP07701890 A EP 07701890A EP 07701890 A EP07701890 A EP 07701890A EP 2002127 B1 EP2002127 B1 EP 2002127B1
Authority
EP
European Patent Office
Prior art keywords
guide
vane
preswirl
guide device
axis
Prior art date
Legal status (The legal status is an assumption and is not a legal conclusion. Google has not performed a legal analysis and makes no representation as to the accuracy of the status listed.)
Not-in-force
Application number
EP07701890A
Other languages
English (en)
French (fr)
Other versions
EP2002127A1 (de
Inventor
Daniel Oeschger
Josef Bättig
Adrian Kopp
Janpeter KÜHNEL
Current Assignee (The listed assignees may be inaccurate. Google has not performed a legal analysis and makes no representation or warranty as to the accuracy of the list.)
Accelleron Industries AG
Original Assignee
ABB Turbo Systems AG
Priority date (The priority date is an assumption and is not a legal conclusion. Google has not performed a legal analysis and makes no representation as to the accuracy of the date listed.)
Filing date
Publication date
Application filed by ABB Turbo Systems AG filed Critical ABB Turbo Systems AG
Priority to EP07701890A priority Critical patent/EP2002127B1/de
Publication of EP2002127A1 publication Critical patent/EP2002127A1/de
Application granted granted Critical
Publication of EP2002127B1 publication Critical patent/EP2002127B1/de
Not-in-force legal-status Critical Current
Anticipated expiration legal-status Critical

Links

Images

Classifications

    • FMECHANICAL ENGINEERING; LIGHTING; HEATING; WEAPONS; BLASTING
    • F04POSITIVE - DISPLACEMENT MACHINES FOR LIQUIDS; PUMPS FOR LIQUIDS OR ELASTIC FLUIDS
    • F04DNON-POSITIVE-DISPLACEMENT PUMPS
    • F04D29/00Details, component parts, or accessories
    • F04D29/40Casings; Connections of working fluid
    • F04D29/42Casings; Connections of working fluid for radial or helico-centrifugal pumps
    • F04D29/44Fluid-guiding means, e.g. diffusers
    • F04D29/46Fluid-guiding means, e.g. diffusers adjustable
    • F04D29/462Fluid-guiding means, e.g. diffusers adjustable especially adapted for elastic fluid pumps
    • FMECHANICAL ENGINEERING; LIGHTING; HEATING; WEAPONS; BLASTING
    • F04POSITIVE - DISPLACEMENT MACHINES FOR LIQUIDS; PUMPS FOR LIQUIDS OR ELASTIC FLUIDS
    • F04DNON-POSITIVE-DISPLACEMENT PUMPS
    • F04D29/00Details, component parts, or accessories
    • F04D29/40Casings; Connections of working fluid
    • F04D29/42Casings; Connections of working fluid for radial or helico-centrifugal pumps
    • F04D29/44Fluid-guiding means, e.g. diffusers
    • F04D29/46Fluid-guiding means, e.g. diffusers adjustable
    • FMECHANICAL ENGINEERING; LIGHTING; HEATING; WEAPONS; BLASTING
    • F01MACHINES OR ENGINES IN GENERAL; ENGINE PLANTS IN GENERAL; STEAM ENGINES
    • F01DNON-POSITIVE DISPLACEMENT MACHINES OR ENGINES, e.g. STEAM TURBINES
    • F01D17/00Regulating or controlling by varying flow
    • F01D17/10Final actuators
    • F01D17/12Final actuators arranged in stator parts
    • F01D17/14Final actuators arranged in stator parts varying effective cross-sectional area of nozzles or guide conduits
    • F01D17/16Final actuators arranged in stator parts varying effective cross-sectional area of nozzles or guide conduits by means of nozzle vanes
    • FMECHANICAL ENGINEERING; LIGHTING; HEATING; WEAPONS; BLASTING
    • F04POSITIVE - DISPLACEMENT MACHINES FOR LIQUIDS; PUMPS FOR LIQUIDS OR ELASTIC FLUIDS
    • F04DNON-POSITIVE-DISPLACEMENT PUMPS
    • F04D29/00Details, component parts, or accessories
    • F04D29/40Casings; Connections of working fluid
    • F04D29/42Casings; Connections of working fluid for radial or helico-centrifugal pumps
    • F04D29/4206Casings; Connections of working fluid for radial or helico-centrifugal pumps especially adapted for elastic fluid pumps
    • F04D29/4213Casings; Connections of working fluid for radial or helico-centrifugal pumps especially adapted for elastic fluid pumps suction ports
    • FMECHANICAL ENGINEERING; LIGHTING; HEATING; WEAPONS; BLASTING
    • F05INDEXING SCHEMES RELATING TO ENGINES OR PUMPS IN VARIOUS SUBCLASSES OF CLASSES F01-F04
    • F05DINDEXING SCHEME FOR ASPECTS RELATING TO NON-POSITIVE-DISPLACEMENT MACHINES OR ENGINES, GAS-TURBINES OR JET-PROPULSION PLANTS
    • F05D2250/00Geometry
    • F05D2250/50Inlet or outlet
    • F05D2250/51Inlet

Definitions

  • the invention relates to the field of turbomachines subjected to exhaust gases of internal combustion engines.
  • It relates to a guide device for generating a Vordralls in the intake of a compressor and an exhaust gas turbocharger with such a Vordrall guide.
  • Exhaust gas turbochargers are used to increase the performance of internal combustion engines. In modern internal combustion engines, the adaptation of the exhaust gas turbocharger to variable operating conditions will become more difficult.
  • a widely used option is the so-called variable turbine and / or compressor geometry.
  • the stator vanes are aligned more or less steeply with the flow upstream of the turbine wheel in accordance with turbine power requirements.
  • the vanes in the diffuser downstream of the compressor wheel are aligned more or less steeply to the flow.
  • Vordrall guide devices which produce in the Ansauge Scheme of the compressor in the intake air, or possibly the aspirated air-fuel mixture, a certain Vordrall, depending on the operating point more or less pronounced - or in opposite directions to the direction of rotation of the compressor wheel.
  • the object of the present invention is to provide a reliably operating over a long period of operation, easy to install predrirl guide with adjustable vanes.
  • the pre-whirl guide device further comprises a coaxial with the shaft axis of the compressor arranged, pivotable about this axis collar, and adjusting lever for transmitting torque from the adjusting ring on the blade shank of each vane.
  • vane shank and adjusting lever of each vane are formed in one piece.
  • the one-piece design of the vane reduces the number of joints, which has a positive effect on material wear. In addition, the number of components to be assembled is reduced. This simplifies the assembly and any service work on the guide.
  • the housing of the pre-whirl guide device according to the invention in which the guide vanes are rotatably mounted, comprises at least two parts joined together in the region of the bearings of the guide vane.
  • this makes it possible to assemble the guide vane, which is made in one piece with an integrated adjusting lever.
  • this makes it possible to support and secure the blade with the bearing point in the axial direction with respect to the axis of rotation of each moving blade.
  • the bearings can be protected with inserted bearing sleeves.
  • this axial bearing of the guide vanes takes place via projections on the shovel shafts and on the housing surrounding the shovel shafts. These projections extend in the radial direction with respect to the axis of rotation of the guide vane. The projections engage each other for the axial storage of the guide vane.
  • grooves can also be embedded in the housing and / or in the blade shafts, which cooperate with corresponding projections for the axial securing of the guide blade. If grooves are embedded both in the housing and the blade shafts, the axial bearing can be made with special bearing rings, which are arranged in the grooves.
  • Projections may also extend only partially around the respective vane shank.
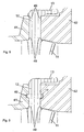
  • Fig. 1 shows a section through a guide in the intake of a compressor.
  • Such compressors are, as described above, used in exhaust gas turbochargers to increase the performance of internal combustion engines.
  • the arrows in the figure indicate the flow path of the medium to be compressed, which is usually air or optionally an air-fuel mixture for the combustion process in the internal combustion engine.
  • guide devices can be used in any type of compressor, for example, in electric motors driven industrial compressors.
  • the guide device comprises a plurality of guide vanes 10 arranged aligned with respect to the compressor axis in the radial direction.
  • each of the guide vanes comprises a blade shank 12 with which the blade profile is rotatably mounted in a housing.
  • the blade profile can be rotated about the axis of the blade shank.
  • an adjusting ring 30 is provided, which is arranged concentrically to the axis of the compressor. By turning the adjusting ring 30, all blades are simultaneously adjusted about the respective axes of their shovel shafts.
  • the ball head 14 is guided in a groove 31 of the adjusting ring with two mutually parallel walls. In the groove of the ball head has the translational and rotational freedom of movement, which are necessary to implement the torque transfer.
  • the ball socket is at least partially made of a translationally displaceable sliding shoe 20th educated. If the adjusting ring 30 is rotated for adjusting the guide vanes, then the sliding shoe 20 is displaced by the ball head 14 in the groove 31 in the plane of the groove walls. If the adjusting ring is turned away, the position of the adjusting lever changes relative to the adjusting ring.
  • the translational displacement of the center of rotation of the ball head is made possible by sliding the sliding wall along the groove walls, while for the rotation of the ball head in the ball socket formed by the sliding shoe can rotate arbitrarily in any direction.
  • the shoe may also be formed in two parts by a ball socket half is arranged with a flat, sliding back on each side of the groove in the adjusting ring.
  • the torque is transmitted from the adjusting ring 30 to the blade shank 12 via a cylindrical pin 15 arranged at the free end of the adjusting lever 13.
  • the pin engages in a bore of a cylindrical sliding element 21 likewise mounted in a bore 32 in the adjusting ring 30.
  • the sliding cylinder 21 can be rotated in the bore 32 about its own axis and move along its own axis.
  • the bore in the sliding cylinder, which is provided for receiving the pin 15, is perpendicular to the axis of the sliding cylinder.
  • the pin can be rotated in this hole around its own axis and move along its own axis.
  • the pin 15 as in the Fig. 9 shown, fixed in the sliding cylinder 21 and be slidably mounted in a corresponding hole in the free end of the adjusting lever 13 of the guide vane.
  • the blade profile 11, blade shank 12 and the adjusting lever 13, together with the attachment required for torque transmission, that is to say the ball head 14 or the pin 15, are integrally formed.
  • the entire guide blade 10 with its functional components cast or milled from one piece or force of several parts prior to installation in the housing force, shape or materially joined together in one piece.
  • the blade profile, the blade shank and the adjusting lever is poured as a piece and then driven the ball head or pin into a designated opening in the adjusting lever with interference fit or loosely inserted and welded or -gegossen.
  • the housing is divided according to the invention in the region of the bearing points of the guide vanes.
  • Fig. 2 how out Fig. 2 can be seen, at least two, with respect to the compressor axis joinable in the axial direction housing parts 41 and 42 are provided. In the region of the bearing point of each guide vanes, the two housing parts together form the recess 45. The two housing parts 41 and 42 are held together, for example, with connecting elements in holes 46 provided for this purpose or via other subsequently installed housing parts.
  • the storage of the guide vanes and the adjusting ring can be greatly simplified.
  • the blade shank in the axial direction instead of an additional bearing bush or with outboard bearing points in a simple manner to radially projecting housing edges 49 secure.
  • These housing protrusions 49 may be provided on both sides or on a housing part in each case at the axial ends of the bearing point of the blade shank.
  • an at least partially circumferential groove in the recess between the two housing parts 41 and 42 a the blade shank also at least partially circumferential projection 17 record.
  • the groove may also be embedded in the blade shank and the housing parts may be provided with a corresponding projection.
  • a groove is embedded in a housing part while the other housing part has a projection and is provided according to the blade shank with a projection and a groove.
  • grooves are recessed both in the blade shank and in the surrounding housing. An arranged in the grooves bearing ring provides in this Variant for the axial bearing of the guide vanes. All these variants of the internal thrust bearings allow a reduction in the axial clearance of the vanes.
  • the bearing components, so the housing parts and / or the blade shank can be hardened or provided with a coating of an abrasion-resistant material.
  • the axial and radial bearing of the adjusting ring can be, as in Fig. 7 shown, also realized in a simple manner.
  • the adjusting ring 30 is arranged together with the guide vanes between the housing parts or on one of the two housing parts.
  • the final alignment of the adjusting ring in the axial direction then takes place automatically.
  • the adjusting ring 30 is supported from both sides by a corresponding bearing element 47 'and 47 "in the axial direction Fig. 2
  • the first axial bearing element 47 ' is part of the first housing part 41
  • the second axial bearing element 47 is part of the second housing part 42.
  • the radial bearing of the adjusting ring can be achieved in a simple manner by supporting the adjusting ring on a circumferential projection 48.
  • the bearing parts of the adjusting ring can be hardened or coated.
  • a central housing body is optionally arranged according to an embodiment of the inventive guide device.
  • This central body is concentric with the axis of the compressor.
  • the central body is part of the housing which forms the flow channel of the medium to be compressed in the region of the guide device.
  • the central body 44 may be positioned and held by one or more radially extending housing ribs 43.
  • the central body can also be positioned and held on the vane tips.
  • radially guided holes 441 are shown in the central body 44, in which specially designed shafts 16 engage the blade tips.
  • This device with the rays around the Central body arranged vanes also allows a simplified assembly of the vanes, which can already be arranged around the central body 44 prior to introduction into one of the two housing parts 41 or 42. Subsequently, the unit of central body and all vanes can be performed in a single step to the designated space.
  • corresponding bores may also be provided in the embodiment with a central body positioned and held by means of a retaining rib.
  • they also serve a simplified assembly by the guide vanes are inserted with the special blade tip shafts in the holes in the central body, before they are then placed in the radially extending recesses in the one housing part.
  • the described blade tip shanks can be fixedly connected to the tips of the guide vanes, or rotatably mounted in holes provided in the blade tips.
  • the shafts may also be fixedly connected to the central body, so that during mounting the guide vanes are plugged with their holes at the blade tips on the shafts.

Landscapes

  • Engineering & Computer Science (AREA)
  • Mechanical Engineering (AREA)
  • General Engineering & Computer Science (AREA)
  • Structures Of Non-Positive Displacement Pumps (AREA)
  • Supercharger (AREA)

Description

    Technisches Gebiet
  • Die Erfindung bezieht sich auf das Gebiet der mit Abgasen von Brennkraftmaschinen beaufschlagten Strömungsmaschinen.
  • Sie betrifft eine Leitvorrichtung zum Erzeugen eines Vordralls im Ansaugbereich eines Verdichters sowie einen Abgasturbolader mit einer solchen Vordrall-Leitvorrichtung.
  • Stand der Technik
  • Abgasturbolader werden zur Leistungssteigerung von Brennkraftmaschinen eingesetzt. Bei modernen Brennkraftmaschinen wird die Anpassung der Abgasturbolader an variable Betriebsbedingungen zunehmen schwieriger. Eine weit verbreitete Möglichkeit dazu bietet die so genannte variable Turbinen- und/oder Verdichtergeometrie. Bei der variablen Turbinengeometrie werden die Leitschaufeln des Leitapparates stromauf des Turbinenrades entsprechend dem Leistungsbedarf der Turbine mehr oder weniger steil zur Strömung ausgerichtet. Bei der variablen Verdichtergeometrie werden die Leitschaufeln im Diffusor stromab des Verdichterrades mehr oder weniger steil zur Strömung ausgerichtet.
  • Eine weitere Möglichkeit zur Anpassung des Abgasturboladers an die variablen Betriebsbedingungen bieten Vordrall-Leitvorrichtungen, welche im Ansaugebereich des Verdichters in der angesaugten Luft, bzw. gegebenenfalls dem angesaugten Luft-Brennstoff-Gemisch, einen bestimmten Vordrall erzeugen, je nach Betriebspunkt mehr oder weniger ausgeprägt mit- oder gegenläufig zur Drehrichtung des Verdichterrades.
  • Bei herkömmlichen Vordrall-Leitvorrichtungen, wie sie etwa aus der DE 36 13 857 A1 bekannt sind, werden die Schaufeln in einem im Lagerbereich einteiligen Gehäuse gelagert. Dazu muss die Schaufel mit einer zusätzlichen Lagerbüchse gesichert und der Verstellhebel aus Montagegründen trennbar ausgeführt sein. Dies kann zu zusätzliche Kosten und Toleranzfehlern führen und die Zuverlässigkeit in Betrieb erheblich reduzieren. Ebenfalls aus Montagegründen trennbar ausgeführt sind die Verstellhebel der Leitvorrichtung nach US 4 428 714 . DE 22 03 643 A1 die als nächstliegender Stend der Technikangesehen wird, offenbart Leitschaufeln, welche je mit einem Teller versehen sind, wobei auf Aussenseiten der Teller jeweils zwei Kugelköpfe befestigt sind. DE 15 03 658 A1 offenbart einen Kranz von Leitschaufeln, deren Achsen je mit einer Kurbelwange versehen sind, die einen exzentrischen Kurbelzapfen trägt. US 4 932 206 offenbart Ansaugleitschaufeln, welche durch ein Zahnrad gesteuert sind.
  • Kurze Darstellung der Erfindung
  • Die Aufgabe der vorliegenden Erfindung besteht darin, eine über eine lange Betriebszeit zuverlässig funktionierende, einfach zu montierende Vordrall-Leitvorrichtung mit verstellbaren Leitschaufeln zu schaffen.
  • Die erfindungsgemässe Vordrall-Leitvorrichtung zum Erzeugen eines Vordralls im Ansaugbereich eines Verdichters, umfasst eine Mehrzahl von Leitschaufeln, welche jeweils um einen mit der Leitschaufel verbundenen Schaufelschaft schwenkbar sind, wobei die Schaufelschäfte und somit die Drehachse der Leitschaufeln im wesentlichen senkrecht und radial zu der Wellenachse des Verdichters ausgerichtet sind. Die erfindungsgemässe Vordrall-Leitvorrichtung umfasst weiter einen koaxial zur Wellenachse des Verdichters angeordneten, um diese Achse schwenkbaren Stellring, sowie Verstellhebel zum Übertragen von Drehmoment vom Stellring auf den Schaufelschaft jeder Leitschaufel. Erfindungsgemäss sind Schaufelschaft und Verstellhebel jeder Leitschaufel einteilig ausgebildet.
  • Durch die einteilige Ausführung der Leitschaufel wird die Anzahl der Fügestellen reduziert, was sich positiv auf den Materialverschleiss auswirkt. Zudem wird die Anzahl zu montierenden Komponenten reduziert. Dies vereinfacht die Montage und allfällige Servicearbeiten an der Leitvorrichtung.
  • Das Gehäuse der erfindungsgemässen Vordrall-Leitvorrichtung, in welchem die Leitschaufeln drehbar gelagert sind, umfasst mindestens zwei, im Bereich der Lager der Leitschaufel zusammengefügte Teile.
  • Dies ermöglicht einerseits die Montage der einteilig mit integriertem Verstellhebel ausgeführten Leitschaufel, zudem ist es dadurch möglich die Schaufel mit der Lagerstelle bezüglich der Drehachse jeder Laufschaufel in axialer Richtung zu lagern und zu sichern. Zur Verbesserung der Vershleissfestigkeit, können die Lager mit eingesetzten Lagerhülsen geschützt werden.
  • Diese axiale Lagerung der Leitschaufeln erfolgt erfindungsgemäss über Vorsprünge an den Schaufeischäften und an dem die Schaufeischäfte umgebenden Gehäuse. Diese Vorsprünge erstrecken sich bezüglich der Drehachse der Leitschaufel in radialer Richtung. Die Vorsprünge greifen zur axialen Lagerung der Leitschaufel ineinander.
  • Zusätzlich oder alternativ können auch Nuten in das Gehäuse und/ oder in die Schaufelschäfte eingelassen sein, welche zur axialen Sicherung der Leitschaufel mit entsprechenden Vorsprüngen zusammenwirken. Werden sowohl in das Gehäuse als auch die Schaufelschäfte Nuten eingelassen, kann die axiale Lagerung mit speziellen Lagerringen erfolgen, welche in den Nuten angeordnet werden. Die Nuten und
  • Vorsprünge können sich auch nur teilweise um den jeweiligen Schaufelschaft erstrecken.
  • Weitere Vorteile ergeben sich aus den abhängigen Ansprüchen.
  • Kurze Beschreibung der Zeichnungen
  • Nachfolgend werden verschiedene Ausführungsformen der Erfindung anhand von Zeichnungen detailliert erläutert. Hierbei zeigt
  • Fig. 1
    einen Schnitt durch eine erste Ausführungsform einer erfindungsgemäss ausgebildeten Vordrall-Leitvorrichtung, mit einem mittels Halterippe gehaltenen Zentralkörper,
    Fig. 2
    eine isometrische Detailansicht der Vordrall-Leitvorrichtung nach Fig. 1,
    Fig. 3
    einen Schnitt durch eine zweite Ausführungsform einer erfindungsgemäss ausgebildeten Vordrall-Leitvorrichtung,
    Fig. 4
    eine isometrische Detailansicht der Vordrall-Leitvorrichtung nach Fig. 3,
    Fig. 5
    einen vergrössert dargestellten Ausschnitt des Schnittes in Fig. 1 im Bereich des Leitschaufel-Schaftes mit einer detaillierten Darstellung einer ersten Variante der axialen Lagerung der Leitschaufeln,
    Fig. 6
    den vergrössert dargestellten Ausschnitt des Schnittes in Fig. 1 im Bereich des Leitschaufel-Schaftes mit einer detaillierten Darstellung einer zweiten Variante der axialen Lagerung der Leitschaufeln,
    Fig. 7
    einen vergrössert dargestellten Ausschnitt des Schnittes in Fig. 1 im Bereich des Verstellhebels mit Details zur Lagerung des Verstellringes,
    Fig. 8
    einen Schnitt durch eine erfindungsgemäss ausgebildete Vordrall-Leitvorrichtung mit einem durch die Leitschaufeln gehaltenen Zentralkörper, und
    Fig. 9
    einen Ausschnitt mit einer alternativen Variante der zweite Ausführungsform der erfindungsgemäss ausgebildeten Vordrall-Leitvorrichtung nach Fig. 3.
    Weg zur Ausführung der Erfindung
  • Fig. 1 zeigt einen Schnitt durch eine Leitvorrichtung im Ansaugbereich eines Verdichters. Solche Verdichter werden, wie eingangs beschrieben, in Abgasturboladern zum Steigern der Leistung von Brennkraftmaschinen eingesetzt. Die Pfeile in der Figur deuten den Strömungsweg des zu verdichtenden Mediums an, welches in der Regel Luft oder gegebenenfalls ein Luft-Brennstoff-Gemisch für den Verbrennungsvorgang in der Brennkraftmaschine ist. Ausserdem können solche Leitvorrichtungen in jeder Art von Verdichter eingesetzt werden, beispielsweise in mit Elektromotoren angetriebenen Industrieverdichtern.
  • Die Leitvorrichtung umfasst mehrere, bezüglich der Verdichterachse in radialer Richtung ausgerichtet angeordnete Leitschaufeln 10. Jede der Leitschaufeln umfasst neben dem in den Strömungskanal hineinragenden Schaufelprofil 11 einen Schaufelschaft 12, mit welchem das Schaufelprofil drehbar in einem Gehäuse gelagert ist. Über einen Verstellhebel 13 lässt sich das Schaufelprofil um die Achse des Schaufelschaftes drehen. Zum Antrieb des Verstellhebels, und somit zum Verstellen des Schaufelprofils, ist ein Verstellring 30 vorgesehen, welcher konzentrisch zur Achse des Verdichters angeordnet ist. Durch Drehen des Verstellrings 30, werden alle Schaufeln gleichzeitig um die jeweiligen Achsen ihrer Schaufelschäfte verstellt.
  • In einer ersten Ausführungsform gemäss den Fig. 1 und 2 erfolgt die Drehmomentübertragung vom Verstellring 30 auf den Schaufelschaft 12 über einen am freien Ende des Verstellhebels 13 angeordneten Kugelkopf 14. Der Kugelkopf 14 wird in einer Nut 31 des Verstellrings mit zwei parallel zueinander verlaufenden Wänden geführt. In der Nut hat der Kugelkopf die translatorischen und rotatorischen Bewegungsfreiheiten, welche zur Umsetzung der Momentübertragung notwendig sind.
  • Um eine gleichmässige, grossflächige Druckverteilung im Kontaktbereich zwischen Kugelkopf und Nutwand zu erzielen, und um so den Verschleiss der aufeinander pressenden Teile zu verringern, ist die zum Übertragen von Drehmoment vom Verstellring auf den Schaufelschaft jeder Leitschaufel auf den Kugelkopf der Stellhebel wirkende Oberfläche nach Art einer Kugelpfanne ausgebildet. Dabei ist die Kugelpfanne zumindest teilweise aus einem translatorisch verschiebbar angeordneten Gleitschuh 20 gebildet. Wird der Verstellring 30 zum Verstellen der Leitschaufeln gedreht, so wird der Gleitschuh 20 von dem Kugelkopf 14 in der Nut 31 in der Ebene der Nutwände verschoben. Wird der Stellring weggedreht, so verändert sich die Lage des Verstellhebels relativ zum Verstellring. Neben der translatorischen Verschiebung des Rotationszentrums des Kugelkopfes innerhalb der Nut, kommt es zu einer Verdrehung des Versteilhebeis bezüglich des Verstellrings. Die translatorische Verschiebung des Rotationszentrums des Kugelkopfes wird durch den, den Nutwänden entlang gleitenden Gleitschuh ermöglicht, während sich für die Verdrehung der Kugelkopf in der durch den Gleitschuh geformten Kugelpfanne beliebig in jede Richtung verdrehen kann. Der Gleitschuh kann auch zweiteilig ausgebildet sein, indem auf jeder Seite der Nut im Verstellring eine Kugelpfannenhälfte mit einer flachen, gleitfähigen Rückseite angeordnet ist.
  • In einer zweiten Ausführungsform gemäss den Fig. 3 und 4 erfolgt die Drehmomentübertragung vom Verstellring 30 auf den Schaufelschaft 12 über einen am freien Ende des Verstellhebels 13 angeordneten, zylinderförmigen Stift 15. Der Stift greift in eine Bohrung eines im Verstellring 30 ebenfalls in einer Bohrung 32 gelagerten, zylinderförmigen Gleitelements 21 ein. Der Gleitzylinder 21 lässt sich in der Bohrung 32 um die eigene Achse drehen und entlang der eigenen Achse verschieben. Die Bohrung im Gleitzylinder, welche zur Aufnahme des Stifts 15 vorgesehen ist, steht senkrecht zur Achse des Gleitzylinders. Der Stift lässt sich in dieser Bohrung um seine eigene Achse drehen und entlang seiner eigenen Achse verschieben. Somit sind wiederum die für die Umsetzung der Momentübertragung notwendigen Bewegungsfreiheiten, je zwei translatorische und rotatorische, gegeben. Alternativ kann der Stift 15, wie in der Fig. 9 dargestellt, im Gleitzylinder 21 fixiert und dafür in einer entsprechenden Bohrung im freien Ende des Verstellhebels 13 der Leitschaufel gleitend gelagert sein.
  • Anstelle der dargestellten und detailliert beschriebenen sind weitere Ausführungsformen zur Momentübertragung denkbar, etwa mit einem als Zahnradsegment ausgebildeten Verstellhebel, welcher in dem mit einem Zahnkranz versehenen Verstellring eingreift. Erfindungsgemäss sind Schaufelprofil 11, Schaufelschaft 12 und der Verstellhebel 13 mitsamt dem für die Momentübertragung notwendigen Aufsatz, also dem Kugelkopf 14 bzw. dem Stift 15, einteilig ausgebildet. Dies bedeutet, dass die gesamte Leitschaufel 10 mit ihren funktionellen Bestandteilen aus einem Stück gegossen oder gefräst oder aber aus mehreren Teilen vor dem Einbau ins Gehäuse kraft-, form- oder materialschlüssig zu einem Stück zusammengefügt ist. Beispielsweise wird das Schaufelprofil, der Schaufelschaft und der Verstellhebel als ein Stück gegossen und anschliessend der Kugelkopf bzw. der Stift in eine dafür vorgesehene Öffnung im Verstellhebel mit Presssitz eingetrieben oder aber lose eingefügt und angeschweisst oder -gegossen.
  • Damit die einteilig ausgebildete Leitschaufel in die dafür vorgesehene Ausnehmung im Gehäuse eingebracht werden kann, ist das Gehäuse erfindungsgemäss im Bereich der Lagerstellen der Leitschaufeln geteilt.
  • Wie aus Fig. 2 ersichtlich wird, sind mindestens zwei, bezüglich der Verdichterachse in axialer Richtung zusammenfügbare Gehäuseteile 41 und 42 vorgesehen. Im Bereich der Lagerstelle jeder Leitschaufeln bilden die beiden Gehäuseteile gemeinsam die Ausnehmung 45. Die beiden Gehäuseteile 41 und 42 werden beispielsweise mit Verbindungselementen in dafür vorgesehenen Bohrungen 46 oder über andere, nachträglich verbaute Gehäuseteile zusammengehalten.
  • Dank der efindungsgemässen Teilung des Gehäuses im Bereich der Leitvorrichtung, lässt sich die Lagerung der Leitschaufeln und des Verstellrings stark vereinfachen. Wie in Fig. 5 dargestellt, lässt sich so der Schaufelschaft in axialer Richtung anstatt mit einer zusätzlichen Lagerbuchse oder mit aussen liegenden Lagerstellen auf einfache Weise an radial vorstehenden Gehäusekanten 49 sichern. Diese Gehäusevorsprünge 49 können beidseitig oder an einem Gehäuseteil jeweils an den axialen Enden der Lagerstelle des Schaufelschaftes vorgesehen sein. Zusätzlich oder alternativ kann, wie in Fig. 6 dargestellt, eine zumindest teilweise umlaufende Nut in der Ausnehmung zwischen den beiden Gehäuseteilen 41 und 42 einen den Schaufelschaft ebenfalls zumindest teilweise umlaufenden Vorsprung 17 aufnehmen. Anstelle einer Nut in den Gehäuseteilen kann in einer anderen Variante die Nut auch in den Schaufelschaft eingelassen und die Gehäuseteile mit einem entsprechenden Vorsprung versehen sein. In einer weiteren Variante ist in einem Gehäuseteil eine Nut eingelassen während das andere Gehäuseteil einen Vorsprung aufweist und entsprechend der Schaufelschaft mit je einem Vorsprung und einer Nut versehen ist. Mittels einer nicht vollständig umlaufenden Nut und einem noch weniger weit umlaufenden Vorsprung lässt sich auch auf einfache Weise die Drehbarkeit der Leitschaufeln begrenzen. In einer weiteren Variante sind sowohl in den Schaufelschaft wie auch das in das ihn umgebende Gehäuse Nuten eingelassen. Ein in den Nuten angeordneter Lagerring sorgt in dieser Variante für die axiale Lagerung der Leitschaufeln. Alle diese Varianten der innen liegenden Axiallagerungen ermöglichen eine Verringerung des axialen Spiels der Leitschaufeln. Zur Verbesserung der Gleiteigenschaft im Lagerbereich der Leitschaufeln oder um Verschleiss vorzubeugen, können die Lagerbestandteile, also die Gehäuseteile und/ oder der Schaufelschaft gehärtet oder mit einer Beschichtung aus einem abriebfesten Material versehen sein.
  • Die axiale und radiale Lagerung des Verstellrings lässt sich, wie in Fig. 7 dargestellt, ebenfalls auf einfach Weise realisieren. Bevor die Gehäuseteile 41 und 42 in axialer Richtung zusammen geschoben werden, wird der Verstellring 30 zusammen mit den Leitschaufeln zwischen den Gehäuseteilen oder auf einem der beiden Gehäuseteile angeordnet. Beim Zusammenschieben erfolgt anschliessend automatisch die endgültige Ausrichtung des Verstellringes in axialer Richtung. Dabei wird der Verstellring 30 von beiden Seiten durch ein entsprechendes Lagerelement 47' und 47" in axialer Richtung gelagert. Wie auch aus Fig. 2 ersichtlich, ist das erste axiale Lagerelement 47' Teil des ersten Gehäuseteils 41, während das zweite axiale Lagerelement 47" Teil des zweiten Gehäuseteils 42 ist. Die radiale Lagerung des Verstellrings lässt sich auf einfache Weise durch Auflage des Verstellrings auf einem umlaufenden Vorsprung 48 erreichen.
  • Wie in der Lagerstelle der Leitschaufel, können auch die Lagerteile des Verstellrings gehärtet oder Beschichtet sein.
  • Im zentralen Bereich der Leitvorrichtung, in welchem die Spitzen der mehreren Leitschaufeln zusammen kommen, ist gemäss einer Ausführungsform der erfindungsgemässen Leitvorrichtung optional ein zentraler Gehäusekörper angeordnet. Dieser Zentralkörper liegt konzentrisch auf der Achse des Verdichters. Der Zentralkörper ist Teil des Gehäuses, welches im Bereich der Leitvorrichtung den Strömungskanal des zu verdichtenden Mediums bildet.
  • Wie in Fig. 1 dargestellt, kann der Zentralkörper 44 über eine oder mehrere radial verlaufende Gehäuserippen 43 positioniert und festgehalten sein.
  • Um die Strömung im Strömungskanal nicht mit solchen Rippen beeinträchtigen zu müssen, kann der Zentralkörper auch über die Leitschaufelspitzen positioniert und festgehalten werden. Wie in Fig. 8 dargestellt sind hierzu radial geführte Bohrungen 441 in den Zentralkörper 44 eingelassen, in welche speziell hierfür ausgebildete Schäfte 16 an den Schaufelspitzen eingreifen. Diese Vorrichtung mit den strahlenförmig um den Zentralkörper angeordneten Leitschaufeln ermöglicht auch eine vereinfachte Montage der Leitschaufeln, welche vor dem Einbringen in eines der beiden Gehäuseteile 41 oder 42 bereits um den Zentralkörper 44 angeordnet werden können. Anschliessend kann die Einheit aus Zentralkörper und sämtlichen Leitschaufeln in einem einzigen Arbeitsschritt an den dafür vorgesehenen Platz geführt werden.
  • Natürlich können entsprechende Bohrungen auch in der Ausführungsform mit mittels einer Halterippe positioniertem und gehaltenem Zentralkörper vorgesehen sein. In diesem Fall dienen sie auch einer vereinfachten Montage, indem die Leitschaufeln mit den speziellen Schaufelspitzen-Schäften in die Bohrungen im Zentralkörper eingesteckt werden, bevor sie anschliessend in die radial verlaufenden Ausnehmungen in dem einen Gehäuseteil platziert werden.
  • Die beschriebenen Schaufelspitzen-Schäfte können fest mit den Spitzen der Leitschaufeln verbunden, oder aber drehbar in dafür vorgesehenen Bohrungen in den Schaufelspitzen gelagert sein. Im zweiten Fall können die Schäfte auch fest mit dem Zentralkörper verbunden sein, so dass bei der Montage die Leitschaufeln mit ihren Bohrungen an den Schaufelspitzen auf die Schäfte aufgesteckt werden.
  • Natürlich ist auch eine Ausführungsform der erfindungsgemässen Leitvorrichtung ohne Zentralkörper mit bis in die Mitte laufenden Leitschaufeln möglich.
  • Bezugszeichenliste
  • 10
    Leitschaufel
    11
    Schaufelprofil
    12
    Schaufelschaft
    13
    Verstellhebel zum Bewegen der Leitschaufeln
    14
    Kugelkopf
    15
    Stift
    16
    Schaufelspitzen-Schaft zum Zentrieren und Festhalten des Zentralkörpers
    17
    Wellenvorsprung zur axialen Lagerung der Leitschaufel
    20
    Gleitschuh
    21
    Gleitzylinder
    30
    Verstellring zum Bewegen der Leitschaufeln über die Verstellhebel
    31
    Ringnut zur Aufnahme von Gleitschuh
    32
    Ringbohrung zur Aufnahme von Gleitzylinder
    40
    Gehäuse
    41, 42
    Gehäuseteile
    43
    Halterippe
    44
    Zentralkörper
    441
    Bohrung zur Aufnahme des Schaufelspitzen-Schafts
    45
    Aussparung im Gehäuse zur Aufnahme des Schaufelschaftes
    46
    Bohrung zur Fügung der Gehäuseteile
    47
    Lagerelement zur axialen Lagerung des Verstellrings
    48
    Lagerelement zur radialen Lagerung des Verstellrings
    49
    Radiale Vorsprünge im Bereich der Aussparung im Gehäuse zur axialen Lagerung der Leitschaufel

Claims (13)

  1. Vordrall-Leitvorrichtung zum Erzeugen eines Vordralls im Ansaugbereich eines Verdichters, mit Leitschaufeln (10), welche jeweils um einen mit der Leitschaufel verbundenen Schaufelschaft (12) schwenkbar sind, mit einem schwenkbaren Stellring (30), und mit Verstellhebeln (13) zum Übertragen von Drehmoment vom Stellring (30) auf den Schaufelschaft (12) jeder Leitschaufel, dadurch gekennzeichnet, dass jeweils der Schaufelschaft (12) und der Verstellhebel (13) der Leitschaufeln einteilig ausgebildet sind.
  2. Vordrall-Leitvorrichtung nach Anspruch 1, dadurch gekennzeichnet, dass der Verstellhebel jeder Leitschaufel einen zylinderförmigen Stift (15) umfasst, welcher um seine Achse drehbar und entlang seiner Achse verschiebbar in einer Bohrung eines zylinderförmigen Übertragungselementes (21) geführt ist, wobei das Übertragungselement (21) um seine Achse drehbar und entlang seiner Achse verschiebbar in einer Bohrung (32) des Stellrings (30) geführt ist.
  3. Vordrall-Leitvorrichtung nach Anspruch 1, dadurch gekennzeichnet, dass der Verstellhebel (13) jeder Leitschaufel eine Bohrung umfasst, in welcher ein radial von einem zylinderförmigen Übertragungselement abstehender Stift (15) geführt ist, wobei das Übertragungselement (21) um seine Achse drehbar und entlang seiner Achse verschiebbar in einer Bohrung (32) des Stellrings (30) geführt ist.
  4. Vordrall-Leitvorrichtung nach Anspruch 1, dadurch gekennzeichnet, dass der Verstellhebel jeder Leitschaufel ein nach Art eines Kugelkopfes (14) ausgebildetes Ende aufweist, welches in einer Nut (31) des Stellrings (30) geführt ist, wobei die Nut (31) parallel zueinander verlaufende Wände aufweist, zwischen denen der Kugelkopf (14) des Verstellhebels geführt ist.
  5. Vordrall-Leitvorrichtung nach Anspruch 4, dadurch gekennzeichnet, dass der Kugelkopf (14) in einer Kugelpfanne eines Übertragungselementes (20) drehbar geführt ist, und dass das Übertragungselement (20) entlang den parallel zueinander verlaufenden Wänden verschiebbar ist.
  6. Vordrall-Leitvorrichtung nach einem der Ansprüche 1 bis 5, dadurch gekennzeichnet, dass ein Gehäuse, in welchem die Leitschaufeln (10) drehbar gelagert sind, aus mindestens zwei, im Bereich der Lager der Leitschaufel zusammengefügten Teilen (41, 42) besteht.
  7. Vordrall-Leitvorrichtung nach einem der Ansprüche 1 bis 6, dadurch gekennzeichnet, dass am Schaufelschaft (12) und an dem den Schaufelschaft umgebenden Gehäuse (41, 42) sich bezüglich der Drehachse der Leitschaufel radial erstreckende Vorsprünge (49) angeordnet sind, wobei zur axialen Lagerung der Leitschaufel jeweils ein Vorsprung des Schaufelschaftes und ein Vorsprung des Gehäuses ineinander greifen.
  8. Vordrall-Leitvorrichtung nach einem der Ansprüche 1 bis 7, dadurch gekennzeichnet, dass in den Schaufelschaft (12) und/ oder in das den Schaufelschaft umgebende Gehäuse (41, 42) bezüglich der Drehachse der Leitschaufel eine radial ausgerichtete Nut eingelassen ist, welche zur axialen Lagerung der Leitschaufel mit einem sich bezüglich der Drehachse der Leitschaufel radial erstreckenden, in die Nut eingreifenden Vorsprung (17) und/ oder einem Lagerring zusammenwirkt.
  9. Vordrall-Leitvorrichtung nach einem der Ansprüche 1 bis 8, dadurch gekennzeichnet, dass im Bereich der Spitzen der strahlenförmig um eine Achse angeordneten Leitschaufeln ein Zentralkörper (44) angeordnet ist.
  10. Vordrall-Leitvorrichtung nach Anspruch 9, dadurch gekennzeichnet, dass der Zentralkörper (44) über mindestens eine radial nach aussen geführte Halterippe (43) an einem aussen liegenden Gehäuseteil (41) befestigt ist.
  11. Vordrall-Leitvorrichtung nach einem der Ansprüche 9 oder 10, dadurch gekennzeichnet, dass an den Schaufelspitzen ausgebildete Schäfte (16) in radial ausgerichteten Bohrungen (441) des Zentralkörpers (44) drehbar gelagert sind.
  12. Verdichter, umfassend einen Vordrall-Leitvorrichtung nach einem der vorangehenden Ansprüchen.
  13. Abgasturbolader, umfassend einen Verdichter mit einer Vordrall-Leitvorrichtung nach einem der vorangehenden Ansprüchen.
EP07701890A 2006-03-31 2007-02-22 Vordrall-leitvorrichtung Not-in-force EP2002127B1 (de)

Priority Applications (1)

Application Number Priority Date Filing Date Title
EP07701890A EP2002127B1 (de) 2006-03-31 2007-02-22 Vordrall-leitvorrichtung

Applications Claiming Priority (3)

Application Number Priority Date Filing Date Title
EP06405137A EP1840386A1 (de) 2006-03-31 2006-03-31 Vordrall-Leitvorrichtung
PCT/CH2007/000090 WO2007112601A1 (de) 2006-03-31 2007-02-22 Vordrall-leitvorrichtung
EP07701890A EP2002127B1 (de) 2006-03-31 2007-02-22 Vordrall-leitvorrichtung

Publications (2)

Publication Number Publication Date
EP2002127A1 EP2002127A1 (de) 2008-12-17
EP2002127B1 true EP2002127B1 (de) 2009-11-25

Family

ID=36926401

Family Applications (2)

Application Number Title Priority Date Filing Date
EP06405137A Withdrawn EP1840386A1 (de) 2006-03-31 2006-03-31 Vordrall-Leitvorrichtung
EP07701890A Not-in-force EP2002127B1 (de) 2006-03-31 2007-02-22 Vordrall-leitvorrichtung

Family Applications Before (1)

Application Number Title Priority Date Filing Date
EP06405137A Withdrawn EP1840386A1 (de) 2006-03-31 2006-03-31 Vordrall-Leitvorrichtung

Country Status (7)

Country Link
US (1) US20070231125A1 (de)
EP (2) EP1840386A1 (de)
JP (1) JP2009531581A (de)
KR (1) KR20080106955A (de)
CN (1) CN101415951A (de)
DE (1) DE502007002109D1 (de)
WO (1) WO2007112601A1 (de)

Families Citing this family (18)

* Cited by examiner, † Cited by third party
Publication number Priority date Publication date Assignee Title
DE102009008531A1 (de) * 2009-02-11 2010-08-12 Bosch Mahle Turbo Systems Gmbh & Co. Kg Verstellring für eine Ladeeinrichtung, insbesondere für einen Abgasturbolader eines Kraftfahrzeugs
US9200640B2 (en) 2009-11-03 2015-12-01 Ingersoll-Rand Company Inlet guide vane for a compressor
ITBS20100021A1 (it) * 2010-02-08 2011-08-09 Ind Saleri Italo Spa Pompa di raffreddamento con gruppo valvola
JP5440277B2 (ja) * 2010-03-09 2014-03-12 株式会社Ihi 過給機付エンジンのブローバイガス処理装置
JP5935249B2 (ja) * 2011-07-07 2016-06-15 株式会社Ihi 可変ガイドベーンの軸受装置及び過給機
JP5747703B2 (ja) * 2011-07-13 2015-07-15 株式会社Ihi ターボ圧縮機
US10107296B2 (en) * 2013-06-25 2018-10-23 Ford Global Technologies, Llc Turbocharger systems and method to prevent compressor choke
CN103438015B (zh) * 2013-08-05 2016-07-06 苏州欧拉工程技术有限公司 一种高效节能的双吸风机
CN103423198B (zh) * 2013-08-05 2016-03-02 苏州欧拉工程技术有限公司 一种进气预旋器
TWI614410B (zh) * 2013-12-17 2018-02-11 財團法人工業技術研究院 進氣導葉組件
US10240480B2 (en) * 2014-11-21 2019-03-26 Borgwarner Inc. Variable turbine geometry vane with single-axle, self-centering pivot feature
US20170152860A1 (en) * 2015-11-30 2017-06-01 Borgwarner Inc. Compressor inlet guide vanes
US20180058247A1 (en) * 2016-08-23 2018-03-01 Borgwarner Inc. Vane actuator and method of making and using the same
CN106224013B (zh) * 2016-08-29 2018-08-10 萍乡德博科技股份有限公司 一种用于涡轮增压器的喷嘴环
DE102017216332A1 (de) * 2017-09-14 2019-03-14 Continental Automotive Gmbh Verdichter für eine Aufladevorrichtung einer Brennkraftmaschine und Aufladevorrichtung für eine Brennkraftmaschine
CN107989829B (zh) * 2017-12-10 2020-10-30 徐州新南湖科技有限公司 一种矿用风机保护罩
CN111173767B (zh) * 2018-11-12 2023-11-03 博格华纳公司 支承系统
KR20210124588A (ko) * 2020-04-06 2021-10-15 현대자동차주식회사 연속 가변 트림 컴프레서

Family Cites Families (10)

* Cited by examiner, † Cited by third party
Publication number Priority date Publication date Assignee Title
US2606713A (en) * 1948-04-26 1952-08-12 Snecma Adjustable inlet device for compressors
BE794140A (fr) * 1972-01-26 1973-05-16 Demag Ag Distributeur pour turbocompresseur
US4428714A (en) * 1981-08-18 1984-01-31 A/S Kongsberg Vapenfabrikk Pre-swirl inlet guide vanes for compressor
US4726744A (en) * 1985-10-24 1988-02-23 Household Manufacturing, Inc. Tubocharger with variable vane
DE3711224A1 (de) * 1987-04-03 1988-10-13 Gutehoffnungshuette Man Verstelleinrichtung fuer die leitschaufeln einer axialstroemungsmaschine
GB8722714D0 (en) * 1987-09-26 1987-11-04 Rolls Royce Plc Variable guide vane arrangement for compressor
US4932206A (en) * 1988-08-17 1990-06-12 Sundstrand Corporation Guide vane assembly for auxiliary power unit
US5184459A (en) * 1990-05-29 1993-02-09 The United States Of America As Represented By The Secretary Of The Air Force Variable vane valve in a gas turbine
DE4237031C1 (de) * 1992-11-03 1994-02-10 Mtu Muenchen Gmbh Verstellbare Leitschaufel
DE4309636C2 (de) * 1993-03-25 2001-11-08 Abb Turbo Systems Ag Baden Radialdurchströmte Abgasturboladerturbine

Also Published As

Publication number Publication date
JP2009531581A (ja) 2009-09-03
EP1840386A1 (de) 2007-10-03
US20070231125A1 (en) 2007-10-04
WO2007112601A1 (de) 2007-10-11
KR20080106955A (ko) 2008-12-09
CN101415951A (zh) 2009-04-22
EP2002127A1 (de) 2008-12-17
DE502007002109D1 (de) 2010-01-07

Similar Documents

Publication Publication Date Title
EP2002127B1 (de) Vordrall-leitvorrichtung
EP1662094B1 (de) Leitapparat für einen Abgasturbolader sowie Abgasturbolader
EP1977084B1 (de) Verstellbare leitvorrichtung
EP2209969B1 (de) Ladeeinrichtung
EP2018480B1 (de) Turbolader
DE102010038185B4 (de) Düseneinrichtung eines Turboladers variabler Geometrie
DE102008007670B4 (de) Steuerring für VTG
EP1520959B1 (de) Turbokompressor mit verstellbaren Leitschaufeln
EP1977085A1 (de) Verstellbare leitvorrichtung
WO2006060925A1 (de) Leitapparat für abgasturbine
EP2006494A1 (de) Antrieb für Vordrall-Leitvorrichtung
EP1998026A2 (de) Ladeeinrichtung
EP2510207B1 (de) Verstelleinrichtung für eine Aufladeeinrichtung, insbesondere für einen Abgasturbolader
EP3176386B1 (de) Innenringsystem, zugehöriger innenring, zwichengehäuse und strömungsmaschine
DE102008000508A1 (de) Abgasturbolader mit verstellbarer Turbinengeometrie
DE102011080995B4 (de) Turbine mit variabler Geometrie und ihr Zusammenbau
DE102004031986B4 (de) Abgasturbolader für eine Brennkraftmaschine
EP1574673A1 (de) Leitgitter variabler Geometrie und Turbolader mit einem solchen Leitgitter
EP1635041B1 (de) Stelleinrichtung für Leitschaufeln eines Abgasturboladers
DE102007052735B4 (de) Ladeeinrichtung
DE102004023211A1 (de) Abgasturbolader für eine Brennkraftmaschine mit variabler Turbinengeometrie
DE102004030798A1 (de) Abgasturbolader für eine Brennkraftmaschine mit variabler Turbinengeometrie
DE102004023282A1 (de) Abgasturbolader für eine Brennkraftmaschine mit variabler Turbinengeometrie
EP1391585A2 (de) Turbolader mit variabler Turbinengeometrie
DE102007052736B4 (de) Ladeeinrichtung mit einer variablen Turbinen- und/oder Verdichtergeometrie

Legal Events

Date Code Title Description
PUAI Public reference made under article 153(3) epc to a published international application that has entered the european phase

Free format text: ORIGINAL CODE: 0009012

17P Request for examination filed

Effective date: 20080915

AK Designated contracting states

Kind code of ref document: A1

Designated state(s): CZ DE FR GB

RBV Designated contracting states (corrected)

Designated state(s): CZ DE FR GB

GRAP Despatch of communication of intention to grant a patent

Free format text: ORIGINAL CODE: EPIDOSNIGR1

DAX Request for extension of the european patent (deleted)
GRAS Grant fee paid

Free format text: ORIGINAL CODE: EPIDOSNIGR3

GRAA (expected) grant

Free format text: ORIGINAL CODE: 0009210

AK Designated contracting states

Kind code of ref document: B1

Designated state(s): CZ DE FR GB

REG Reference to a national code

Ref country code: GB

Ref legal event code: FG4D

Free format text: NOT ENGLISH

REF Corresponds to:

Ref document number: 502007002109

Country of ref document: DE

Date of ref document: 20100107

Kind code of ref document: P

PLBE No opposition filed within time limit

Free format text: ORIGINAL CODE: 0009261

STAA Information on the status of an ep patent application or granted ep patent

Free format text: STATUS: NO OPPOSITION FILED WITHIN TIME LIMIT

26N No opposition filed

Effective date: 20100826

PGFP Annual fee paid to national office [announced via postgrant information from national office to epo]

Ref country code: CZ

Payment date: 20110218

Year of fee payment: 5

PGFP Annual fee paid to national office [announced via postgrant information from national office to epo]

Ref country code: FR

Payment date: 20120227

Year of fee payment: 6

PGFP Annual fee paid to national office [announced via postgrant information from national office to epo]

Ref country code: DE

Payment date: 20120221

Year of fee payment: 6

PGFP Annual fee paid to national office [announced via postgrant information from national office to epo]

Ref country code: GB

Payment date: 20120221

Year of fee payment: 6

GBPC Gb: european patent ceased through non-payment of renewal fee

Effective date: 20130222

PG25 Lapsed in a contracting state [announced via postgrant information from national office to epo]

Ref country code: CZ

Free format text: LAPSE BECAUSE OF NON-PAYMENT OF DUE FEES

Effective date: 20130222

REG Reference to a national code

Ref country code: FR

Ref legal event code: ST

Effective date: 20131031

REG Reference to a national code

Ref country code: DE

Ref legal event code: R119

Ref document number: 502007002109

Country of ref document: DE

Effective date: 20130903

PG25 Lapsed in a contracting state [announced via postgrant information from national office to epo]

Ref country code: FR

Free format text: LAPSE BECAUSE OF NON-PAYMENT OF DUE FEES

Effective date: 20130228

Ref country code: GB

Free format text: LAPSE BECAUSE OF NON-PAYMENT OF DUE FEES

Effective date: 20130222

Ref country code: DE

Free format text: LAPSE BECAUSE OF NON-PAYMENT OF DUE FEES

Effective date: 20130903