EP1978188A2 - Klemmstift - Google Patents

Klemmstift Download PDF

Info

Publication number
EP1978188A2
EP1978188A2 EP20080002282 EP08002282A EP1978188A2 EP 1978188 A2 EP1978188 A2 EP 1978188A2 EP 20080002282 EP20080002282 EP 20080002282 EP 08002282 A EP08002282 A EP 08002282A EP 1978188 A2 EP1978188 A2 EP 1978188A2
Authority
EP
European Patent Office
Prior art keywords
square
recess
square pin
pin
spindle according
Prior art date
Legal status (The legal status is an assumption and is not a legal conclusion. Google has not performed a legal analysis and makes no representation as to the accuracy of the status listed.)
Withdrawn
Application number
EP20080002282
Other languages
English (en)
French (fr)
Inventor
Dirk Staigl
Current Assignee (The listed assignees may be inaccurate. Google has not performed a legal analysis and makes no representation or warranty as to the accuracy of the list.)
Hewi Heinrich Wilke GmbH
Original Assignee
Hewi Heinrich Wilke GmbH
Priority date (The priority date is an assumption and is not a legal conclusion. Google has not performed a legal analysis and makes no representation as to the accuracy of the date listed.)
Filing date
Publication date
Application filed by Hewi Heinrich Wilke GmbH filed Critical Hewi Heinrich Wilke GmbH
Publication of EP1978188A2 publication Critical patent/EP1978188A2/de
Withdrawn legal-status Critical Current

Links

Images

Classifications

    • EFIXED CONSTRUCTIONS
    • E05LOCKS; KEYS; WINDOW OR DOOR FITTINGS; SAFES
    • E05BLOCKS; ACCESSORIES THEREFOR; HANDCUFFS
    • E05B3/00Fastening knobs or handles to lock or latch parts
    • E05B3/04Fastening the knob or the handle shank to the spindle by screws, springs or snap bolts

Definitions

  • the present invention relates to a square pin for door or window handles, preferably for door handle.
  • Square pins in the field of door or window fittings are well known and widely used.
  • a square pin as a pusher mandrel is inserted through a square hole of a lock nut, and there are at one or both ends suitable handles, especially pushers, put on. In this case, one end of the square pin is inserted into a square hole in the handle.
  • the object of the present invention is to provide a square pin, a possible backlash-free, improved attachment of the pusher on the square pin with the largest possible contact area waiving the use of clamping or grub screws that extend to the outside of the pusher, allows.
  • the square pin according to the invention is characterized in that at least in one of its end regions a recess is provided, which is formed in the region of an edge and two adjacent to these side surfaces of the square pin, that in the recess a two mutually perpendicular pressing surfaces exhibiting, displaceable in the radial direction Clamping element is arranged, wherein the pressing surfaces each face the remaining in the region of the recess side surfaces, and that between the square pin and the clamping element is provided an elastic element for applying an outwardly acting pressing force on the pressing surfaces.
  • the pressing force thus acts in the direction of increasing the circumference of the square pin, so that in an assembly position all four side surfaces in the end, ie the two remaining side surfaces of the square pin and the two pressing surfaces of the clamping element are pressed against the four inner surfaces of a square hole ,
  • the pressing force is applied by the elastic element radially to the longitudinal axis of the square pin in opposite directions between each other diagonally opposite edges of the square pin or of the clamping element.
  • the pressing force thus vectorial components acting perpendicular to all four contact surfaces and thus caulk the square pin according to the invention reliably in the square hole.
  • an advantage of this invention is that the contact areas between the square pin and the square hole extend approximately over the entire peripheral surface of the square hole and all four contact surfaces are subjected to approximately equal pressing force, thereby avoiding backlash between the square pin and a handle provided with the square hole ,
  • the said pressing surfaces may preferably have a friction-increasing surface in order to be able to absorb additional axial forces between the square pin and the handle provided with the square hole.
  • An increase in friction can be achieved by any means, e.g. be achieved by a roughened surface or by small barbs on the pressing surfaces.
  • the pressing surfaces in the unmounted state project beyond the cross-section of the square pin given in a recess-free region.
  • the elastic element When introduced into the square hole, the elastic element is compressed by the reduction in cross-section associated therewith, whereby the pressing force that can be applied by the elastic element is increased.
  • the elastic element is formed as an elastomer.
  • Such an elastic element is inexpensive to manufacture and provides a sufficient pressing force due to its compressibility.
  • the clamping element is held by means of two mutually opposite in the longitudinal direction of the square pin undercuts in the recess, which limit movement of the clamping element in the direction of the pressing force.
  • the undercuts thus cause the clamping element can not be completely pushed out of the recess in an unmounted state by the elastic element. This makes it possible to arrange the elastic element already with a certain bias between the clamping element and the square pin.
  • the clamping element in a direction perpendicular to the direction of the pressing force and perpendicular to the longitudinal axis of the square pin in the recess can be inserted.
  • a simple assembly of square pin and clamping element is made possible despite the undercut.
  • the square pin in the region of the recess has an end-side longitudinal bore which extends with a part of its cross-section in the square pin and with a further part of its cross-section in the clamping element.
  • This bore provides a simple way to produce receptacle for the elastic element without the size of the pressing surfaces or the side surfaces of the square pin is reduced in the region of the recess.
  • the elastic element is arranged in the longitudinal bore and held in particular in this by press fit.
  • a receptacle for the elastic element is created by the longitudinal bore.
  • the elastic element is a spring element.
  • the spring element may be formed as a leaf spring or as a spiral spring.
  • the clamping element preferably has an inlet bevel at an end section facing the end region of the square pin in order to facilitate insertion of the square pin into a receptacle.
  • this facilitates the insertion into a square hole by the elastic element is compressed during a Monatagevorgangs substantially by the interaction of inlet slope and square hole.
  • the pressing force is generated and the circumference of the square pin in a clamping area adapted to the size of the square hole.
  • the recess is formed according to a further preferred embodiment in the region of an end face of the square pin.
  • the manufacturing process of the square pin is somewhat simplified. This variant can be used when the above-mentioned undercuts should not be provided.
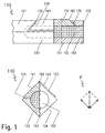
  • Fig. 1 is an end portion of a square pin 110 shown according to a first embodiment, wherein the representation is selected so that in side view two side surfaces 121, 122 of the square pin 110 are visible.
  • the other two side surfaces 123, 124 are located on the opposite side, but can be seen in the front view.
  • the square pin 110 has a recess 130 is introduced, which extends along the end portion of the square pin 110, but ends at a distance from an end face 132 of the square pin 110.
  • the recess 130 comprises the side surfaces 121, 123 and an upper edge 162 lying between them. The recess 130 thus extends diagonally across the cross section of the square pin 110.
  • the boundary surfaces of the recess 130 which are spaced apart from one another in the longitudinal direction of the square pin 110, are each inclined towards the recess 130 so that they form two undercuts 136 which are spaced apart in the longitudinal direction and by means of which a clamping piece 134 arranged in the recess 130 can be held in the recess 130.
  • the clamping piece 134 has preferably in its the end face 132 of the square pin 110 facing the upper end portion in an Fig. 1 inlet bevel, not shown, in order to facilitate insertion of the square pin 110 with clamping piece 134 in a receptacle.
  • the clamping piece 134 has two pressing surfaces 141, 142, wherein the pressing surface 141 extends parallel to the side surface 121 and the pressing surface 142 parallel to the side surface 123.
  • the square pin 110 is provided with a front side introduced, central longitudinal bore 150, which extends in the axial direction seen from the end face 132 to behind the recess 130.
  • the longitudinal bore 150 also includes a portion of the clamping piece 134, so that in each case the clamping piece 134 and the square pin 110 in the region of the recess 130 have approximately a recess in the form of a halved in the axial direction of the cylinder.
  • a cylindrical receptacle for an elastomeric element 152 is formed, which is held therein by press fit.
  • the clamping force to be achieved is influenced by the choice of material of the elastomer element 152. If the elastomer element 152 is formed as a hollow cylinder, the clamping force can be additionally influenced by the wall thickness of the hollow cylinder.
  • the longitudinal bore 150 may have a slightly smaller diameter in the region of the clamping piece 134 than in the region of the square pin 110. In this way, an additional increase in the clamping force can be achieved because then in the clamping piece 134 for the elastomeric element 152 is less space available.
  • the difference between the radii of the bore 150 may be, for example, about 0.5 mm.
  • the undercuts 136 and the longitudinal bore 150 in the region of the clamping piece 134 are arranged so that the pressing surfaces 141, 142 with the elastomer element 152 inserted protrude slightly out of the planes defined by the side surfaces 121, 123.
  • the cross section is usually only slightly larger than the original cross section of the square pin 110.
  • the clamping piece 134 initially protrudes beyond the cross section of the square hole and is pressed somewhat into the recess 130 by the insertion process.
  • the elastomer element 152 is compressed.
  • the compression creates a pressing force which initially acts between the diagonally opposite edges 161, 162 of the square pin 110 and of the clamping piece 134.
  • a in Fig. 1 can be divided vectorially into mutually perpendicular components acting between the side surface 124 and the opposite pressing surface 141 and the other between the side surface 122 and the opposite pressing surface 142th Act.
  • Fig. 2 shows a square pin 210 according to a second embodiment, in which in an end portion 212 in the region of two adjacent side surfaces 221, 223, a recess 230 is inserted, in contrast to the first embodiment of Fig. 1 a portion of an end face 232 of the square pin 210 includes.
  • a clamping piece 234 is arranged, which has two mutually perpendicular pressing surfaces 241, 242, which protrude in an unassembled state a little over each extending parallel to these side surfaces 221 and 223.
  • the end portion 212 of the square pin 210 is provided with two longitudinally spaced radial bores 270, each having a shoulder 272 in its lower portion.
  • a coil spring 274 is arranged in each case, which is supported on the one hand on an underside 276 of the clamping piece 234 and on the other hand on the shoulder 272.
  • the underside 276 of the clamping piece 234 has two hollow cylindrical rivet portions 278 each extending through the coil springs 274 and the radial bores 270 and bent radially outward at its opposite end from the bottom 276.
  • the end portion 212 is provided on its underside with an extending over the length of the end portion 212 recess 290, whose depth is dimensioned so that the bent rivet portions 278 do not protrude beyond the cross section of the square pin 210.
  • the clamping piece 234 is secured in the radial bores 270, wherein a bias of the coil springs 274 is possible. Between the end portion 212 of the square pin 210 and the clamping piece 234 remains in the unmounted state of the square pin 210, a distance which decreases when inserting the square pin 210 into a square hole, so that by the compression of the coil springs 274, a pressing force between the clamping piece 234 and the Square pin 210 can build. To facilitate the introduction into the square hole, the clamping piece 234 is frontally provided with an inlet bevel 238.
  • the pressing force acts analogous to the first embodiment on the side surfaces 222, 224 and the pressing surfaces 241, 242 and thus defines the square pin 210 without play in the square hole.
  • the clamping pieces 134, 234 according to the Fig. 1 and 2 can be produced for example by means of metal injection molding, zinc die casting or plastic injection molding.
  • a square pin 310 is provided in an end portion 312 with a recess 330. This includes similar to Fig. 2 Side surfaces 321, 323 of the square pin 310 and a portion of an end face 332nd
  • a clamping piece 334 is arranged, which is not formed in contrast to the two embodiments described above as a rigid clamping piece 134, 234, but is made of a cup-shaped curved spring element.
  • the end portion 312 is provided at its end opposite the end face 332 with a radial bore 370 for receiving a rivet 380.
  • the cross-section of the radial bore 370 is enlarged in a lower end region including an edge 361 to form a recess 390 for the head of the rivet 380 so that it does not protrude beyond the side surfaces 322, 324 of the square pin 310.
  • the clamping piece 334 likewise has a radial bore 372 in a planar connecting section 382, through which the rivet 380 is passed for fastening the clamping piece 334 to the square pin 310.
  • a clamping section 384 Adjoining the connecting portion 382 of the clamping piece 334 in the frontal direction is a clamping section 384, which is curved in a similar manner to a bird's beak and comprises pressing surfaces 341, 342 which have a clamping section 384 Enclose cavity 386 partially. These pressing surfaces 341, 342 project slightly beyond the side surfaces 321, 323 of the square pin 310 in an unmounted state.
  • the clamping piece 334 tapers towards the front end to create an inlet ramp 338 to facilitate a mounting operation.
  • the clamping member 334 is formed integrally with the elastic member.
  • the above-described square pins 110, 210, 310 may be provided with corresponding clamping pieces 134, 234, 334 both at one end and at both ends.

Landscapes

  • Engineering & Computer Science (AREA)
  • Mechanical Engineering (AREA)
  • Insertion Pins And Rivets (AREA)

Abstract

Ein Vierkantstift ist dadurch gekennzeichnet, dass zumindest in einem seiner Endbereiche eine Ausnehmung vorgesehen ist, die im Bereich einer Kante und zweier zu dieser benachbarter Seitenflächen des Vierkantstifts ausgebildet ist, dass in der Ausnehmung ein zwei rechtwinklig zueinander angeordnete Pressflächen aufweisendes, in radialer Richtung verschiebbares Klemmelement angeordnet ist, wobei die Pressflächen jeweils den im Bereich der Ausnehmung verbleibenden Seitenflächen gegenüber liegen, und dass zwischen dem Vierkantstift und dem Klemmelement ein elastisches Element zur Aufbringung einer nach außen wirkenden Presskraft auf die Pressflächen vorgesehen ist.

Description

  • Die vorliegende Erfindung betrifft einen Vierkantstift für Tür- oder Fenstergriffe, vorzugsweise für Türdrücker. Vierkantstifte auf dem Gebiet der Tür- oder Fensterbeschläge sind allgemein bekannt und weit verbreitet. Ein Vierkantstift als Drückerdorn wird durch ein Vierkantloch einer Schlossnuss gesteckt, und es werden an einem oder beiden Enden geeignete Handhaben, insbesondere Drücker, aufgesetzt. Dabei wird ein Ende des Vierkantstifts in ein Vierkantloch in der Handhabe eingeführt.
  • Problematisch ist hierbei, dass zumeist zwischen dem Vierkantloch in der Handhabe und dem Vierkantstift ein unerwünschtes Spiel vorhanden ist. Dieses Spiel muss beseitigt werden und der Vierkantstift muss in der Handhabe festgelegt werden, so dass die Handhabe bei Betätigung nicht wackelt oder abgezogen werden kann. Dies Festlegen erfolgt häufig durch Klemm- bzw. Madenschrauben, die in eine Handhabe hineinragen. Nachteilig an den genannten Varianten ist die Tatsache, dass Klemm- bzw. Madenschrauben nach der Montage in optisch beeinträchtigender Weise von außen sichtbar sind, da sie über die Oberfläche der Handhabe zugänglich sein müssen. Zudem müssen die genannten Komponenten als separate Teile gehandhabt werden, was aufgrund ihrer sehr geringen Größe oftmals zu einem Verlieren führt.
  • In der DE 10 2005 034 928 A1 ist ein Vierkantstift beschrieben, dessen Endbereich mit über dessen Umfang verteilten Ausnehmungen versehen ist, in denen zumindest ein Fixierelement aus einem starren oder elastischen Material angeordnet ist, das den Umfang des Vierkantstifts im Endbereich vergrößert und somit eine Klemmwirkung erzielt.
  • Die Aufgabe der vorliegenden Erfindung besteht darin, einen Vierkantstift zu schaffen, der eine möglichst spielfreie, verbesserte Befestigung des Drückers am Vierkantstift mit einer möglichst großen Kontaktfläche unter Verzicht auf die Verwendung von Klemm- bzw. Madenschrauben, die sich bis zur Außenseite des Drückers erstrecken, ermöglicht.
  • Diese Aufgabe wird durch einen Vierkantstift gemäß Anspruch 1 gelöst. Der erfindungsgemäße Vierkantstift ist dadurch gekennzeichnet, dass zumindest in einem seiner Endbereiche eine Ausnehmung vorgesehen ist, die im Bereich einer Kante und zweier zu dieser benachbarter Seitenflächen des Vierkantstifts ausgebildet ist, dass in der Ausnehmung ein zwei rechtwinklig zueinander angeordnete Pressflächen aufweisendes, in radialer Richtung verschiebbares Klemmelement angeordnet ist, wobei die Pressflächen jeweils den im Bereich der Ausnehmung verbleibenden Seitenflächen gegenüberliegen, und dass zwischen dem Vierkantstift und dem Klemmelement ein elastisches Element zur Aufbringung einer nach außen wirkenden Presskraft auf die Pressflächen vorgesehen ist.
  • Bei dem erfindungsgemäßen Vierkantstift wirkt die Presskraft also in Richtung einer Vergrößerung des Umfangs des Vierkantstifts, so dass in einer Montagestellung alle vier Seitenflächen im Endbereich, d.h. die beiden verbleibenden Seitenflächen des Vierkantstifts und die beiden Pressflächen des Klemmelements, gegen die vier Innenflächen eines Vierkantlochs gedrückt werden. Die Presskraft wird durch das elastische Element radial zur Längsachse des Vierkantstifts in einander entgegengesetzte Richtungen zwischen einander diagonal gegenüberliegenden Kanten des Vierkantstifts bzw. des Klemmelements aufgebracht. Nach dem Prinzip eines Kräfteparallelogramms weist die Presskraft somit vektorielle Komponenten auf, die senkrecht auf alle vier Kontaktflächen einwirken und damit den erfindungsgemäßen Vierkantstift zuverlässig im Vierkantloch verstemmen.
  • Ein Vorteil dieser Erfindung besteht demnach darin, dass die Kontaktbereiche zwischen Vierkantstift und Vierkantloch sich annähernd auf die gesamte Umfangsfläche des Vierkantlochs erstrecken und alle vier Kontaktflächen mit annährend gleicher Presskraft beaufschlagt werden, wodurch ein Spiel zwischen dem Vierkantstift und einer mit dem Vierkantloch versehenen Handhabe vermieden wird.
  • Die genannten Pressflächen können bevorzugt eine reibungserhöhende Oberfläche aufweisen, um so zusätzliche Axialkräfte zwischen dem Vierkantstift und der mit dem Vierkantloch versehenen Handhabe aufnehmen zu können. Eine Reibungserhöhung kann durch beliebe Maßnahmen, z.B. durch eine aufgeraute Oberfläche oder durch kleine Widerhaken an den Pressflächen erreicht werden.
  • Bei einer vorteilhaften Ausführungsform der Erfindung überragen die Pressflächen im unmontierten Zustand den in einem ausnehmungsfreien Bereich gegebenen Querschnitt des Vierkantstifts. Beim Einführen in das Vierkantloch wird durch die damit verbundene Querschnittsverringerung das elastische Element komprimiert, wodurch die durch das elastische Element aufbringbare Presskraft vergrößert wird.
  • Bevorzugt ist das elastische Element als Elastomer ausgebildet. Ein derartiges elastisches Element ist kostengünstig herzustellen und stellt aufgrund seiner Kompressibilität eine ausreichende Presskraft bereit.
  • Gemäß einer bevorzugten Ausführungsform der Erfindung ist das Klemmelement mittels zwei einander in Längsrichtung des Vierkantstifts gegenüberliegenden Hinterschneidungen in der Ausnehmung gehalten, welche eine Bewegung des Klemmelements in Richtung der Presskraft begrenzen. Die Hinterschneidungen bewirken also, dass das Klemmelement in einem unmontierten Zustand durch das elastische Element nicht vollständig aus der Ausnehmung herausgedrückt werden kann. Dadurch ist es möglich, das elastische Element bereits mit einer gewissen Vorspannung zwischen dem Klemmelement und dem Vierkantstift anzuordnen.
  • Bevorzugt ist das Klemmelement in eine Richtung senkrecht zur Richtung der Presskraft und senkrecht zur Längsachse des Vierkantstifts in die Ausnehmung einschiebbar. Dadurch wird trotz der Hinterschneidung ein einfacher Zusammenbau von Vierkantstift und Klemmelement ermöglicht.
  • Weiterhin vorteilhaft ist, wenn der Vierkantstift im Bereich der Ausnehmung eine stirnseitige Längsbohrung aufweist, die sich mit einem Teil ihres Querschnitts in den Vierkantstift und mit einem weiteren Teil ihres Querschnitts in das Klemmelement hinein erstreckt. Diese Bohrung schafft eine auf einfache Weise herzustellende Aufnahme für das elastische Element, ohne dass die Größe der Pressflächen bzw. der Seitenflächen des Vierkantstifts im Bereich der Ausnehmung verringert wird.
  • Vorzugsweise ist das elastische Element in der Längsbohrung angeordnet und insbesondere in dieser durch Presssitz gehalten. Wie bereits vorstehend erwähnt, wird durch die Längsbohrung eine Aufnahme für das elastische Element geschaffen. Durch die Erstreckung sowohl in den Vierkantstift als auch in das Klemmelement hinein verhindert das in der Längsbohrung angeordnete elastische Element dann ein Verschieben des Klemmelements in seiner Einschiebrichtung senkrecht zur Richtung der Presskraft und senkrecht zur Längsachse des Vierkantstifts. Durch den Presssitz wird verhindert, dass das elastische Element versehentlich aus der Längsbohrung wieder herausfallen kann, so dass der Vierkantstift, das Klemmelement und das elastische Element unverlierbar miteinander verbunden sind.
  • Gemäß einer bevorzugten Ausführungsform ist das elastische Element ein Federelement. Dadurch ist ebenfalls Bereitstellung einer ausreichenden Presskraft möglich.
  • Das Federelement kann als Blattfeder oder als Spiralfeder ausgebildet sein.
  • Vorzugsweise weist das Klemmelement an einem dem Endbereich des Vierkantstifts zugewandten Endabschnitt eine Einlaufschräge auf, um ein Einführen des Vierkantstifts in eine Aufnahme zu erleichtern. Insbesondere wird dadurch das Einführen in ein Vierkantloch erleichtert, indem das elastische Element im Wesentlichen während eines Monatagevorgangs durch das Zusammenwirken von Einlaufschräge und Vierkantloch komprimiert wird. Dadurch wird die Presskraft erzeugt und der Umfang des Vierkantstiftes in einem Klemmbereich an die Größe des Vierkantlochs angepasst.
  • Die Ausnehmung ist gemäß einer weiteren bevorzugten Ausführungsform im Bereich einer Stirnseite des Vierkantstifts ausgebildet. Hierdurch ist der Herstellungsprozess des Vierkantstifts etwas vereinfacht. Diese Variante kann dann zum Einsatz kommen, wenn die vorstehend erwähnten Hinterschneidungen nicht vorgesehen werden sollen.
  • Weitere vorteilhafte Ausführungsformen der Erfindung sind in den abhängigen Ansprüchen angegeben. Die Erfindung wird nachfolgend beispielhaft anhand der Zeichnungen beschrieben. In diesen zeigt:
  • Fig. 1
    eine Seiten- und eine Stirnansicht eines Vierkantstifts gemäß einer ersten Ausführungsform der Erfindung in teilweiser Schnittdarstellung,
    Fig. 2
    eine Seiten- und eine Stirnansicht eines Vierkantstifts gemäß einer zweiten Ausführungsform der Erfindung in teilweiser Schnittdarstellung, und
    Fig. 3
    eine Seiten- und eine Stirnansicht eines Vierkantstifts gemäß einer dritten Ausführungsform der Erfindung in teilweiser Schnittdarstellung.
  • In Fig. 1 ist ein Endbereich eines Vierkantstifts 110 gemäß einer ersten Ausführungsform dargestellt, wobei die Darstellung so gewählt ist, dass in der Seitenansicht zwei Seitenflächen 121, 122 des Vierkantstifts 110 sichtbar sind. Die übrigen beiden Seitenflächen 123, 124 befinden sich auf der gegenüberliegenden Seite, sind aber in der Stirnansicht erkennbar.
  • In den Vierkantstift 110 ist eine Ausnehmung 130 eingebracht, die sich längs des Endbereichs des Vierkantstifts 110 erstreckt, jedoch in einem Abstand von einer Stirnseite 132 des Vierkantstifts 110 endet. Die Ausnehmung 130 umfasst die Seitenflächen 121, 123 und eine zwischen ihnen liegende obere Kante 162. Die Ausnehmung 130 erstreckt sich also diagonal über den Querschnitt des Vierkantstifts 110.
  • Die in Längsrichtung des Vierkantstifts 110 voneinander beabstandeten Begrenzungsflächen der Ausnehmung 130 sind jeweils zur Ausnehmung 130 hin geneigt, so dass sie zwei in Längsrichtung voneinander beabstandete Hinterschneidungen 136 bilden, durch die ein in der Ausnehmung 130 angeordnetes Klemmstück 134 in der Ausnehmung 130 gehalten werden kann. Das Klemmstück 134 weist bevorzugt in seinem der Stirnseite 132 des Vierkantstifts 110 zugewandten oberen Endabschnitt eine in Fig. 1 nicht dargestellte Einlaufschräge auf, um ein Einführen des Vierkantstifts 110 mit Klemmstück 134 in eine Aufnahme zu erleichtern.
  • Das Klemmstück 134 weist zwei Pressflächen 141, 142 auf, wobei die Pressfläche 141 parallel zur Seitenfläche 121 und die Pressfläche 142 parallel zur Seitenfläche 123 verläuft.
  • Der Vierkantstift 110 ist mit einer stirnseitig eingebrachten, zentrischen Längsbohrung 150 versehen, die sich in axialer Richtung gesehen von der Stirnseite 132 bis hinter die Ausnehmung 130 erstreckt. Dabei umfasst die Längsbohrung 150 auch einen Abschnitt des Klemmstücks 134, so dass jeweils das Klemmstück 134 und der Vierkantstift 110 im Bereich der Ausnehmung 130 ungefähr eine Vertiefung in Form eines in axialer Richtung halbierten Zylinders aufweisen. Dadurch ist eine zylindrische Aufnahme für ein Elastomerelement 152 gebildet, welches darin durch Presssitz gehalten ist. Grundsätzlich wird die zu erzielende Klemmkraft durch die Materialwahl des Elastomerelements 152 beeinflusst. Wenn das Elastomerelement 152 als Hohlzylinder ausgebildet wird, kann die Klemmkraft zusätzlich durch die Wandstärke des Hohlzylinders beeinflusst werden.
  • Die Längsbohrung 150 kann im Bereich des Klemmstücks 134 einen etwas geringeren Durchmesser aufweisen als im Bereich des Vierkantstifts 110. Auf diese Weise kann eine zusätzliche Erhöhung der Klemmkraft erreicht werden, da dann im Klemmstück 134 für das Elastomerelement 152 weniger Raum zur Verfügung steht. Der Unterschied zwischen den Radien der Bohrung 150 kann z.B. ungefähr 0,5 mm betragen.
  • Die Hinterschneidungen 136 sowie die Längsbohrung 150 im Bereich des Klemmstücks 134 sind so angeordnet, dass die Pressflächen 141, 142 bei eingesetztem Elastomerelement 152 ein wenig aus den durch die Seitenflächen 121, 123 definierten Ebenen herausstehen. Dadurch ist der Querschnitt des Vierkantstifts 110 - bevor er in ein Vierkantloch eingeschoben wird - im Bereich der Ausnehmung 130 etwas vergrößert.
  • Zur Montage wird der Vierkantstift 110 in ein nicht dargestelltes Vierkantloch eingeführt, dessen Querschnitt üblicherweise nur minimal größer als der ursprüngliche Querschnitt des Vierkantstifts 110 ist. Das Klemmstück 134 ragt zunächst über den Querschnitt des Vierkantlochs hinaus und wird durch den Einführvorgang etwas in die Ausnehmung 130 hineingedrückt. Dadurch wird das Elastomerelement 152 komprimiert. Durch die Kompression entsteht eine Presskraft, die zunächst zwischen den einander diagonal gegenüberliegenden Kanten 161, 162 des Vierkantstifts 110 bzw. des Klemmstücks 134 wirkt. Wie durch ein in Fig. 1 dargestelltes Kräfteparallelogramm P verdeutlicht wird, kann die zwischen den Kanten 161, 162 wirkende Presskraft vektoriell in zueinander senkrechte Komponenten aufgeteilt werden, die zum einen zwischen der Seitenfläche 124 und der dieser gegenüberliegenden Pressfläche 141 und zum anderen zwischen der Seitenfläche 122 und der dieser gegenüberliegenden Pressfläche 142 wirken.
  • Daraus ergibt sich der erfindungsgemäße Vorteil, dass sich der Vierkantstift 110 über die vorstehend genannten vier Flächen 122,124, 141,142 spielfrei an den vier Innenflächen des Vierkantlochs abstützt.
  • Fig. 2 zeigt einen Vierkantstift 210 gemäß einer zweiten Ausführungsform, bei dem in einem Endabschnitt 212 im Bereich von zwei benachbarten Seitenflächen 221, 223 eine Ausnehmung 230 eingebracht ist, die im Unterschied zur ersten Ausführungsform von Fig. 1 einen Teilbereich einer Stirnseite 232 des Vierkantstifts 210 mit einschließt. In der Ausnehmung 230 ist ein Klemmstück 234 angeordnet, das zwei zueinander rechtwinklige Pressflächen 241, 242 aufweist, die in einem unmontierten Zustand ein wenig über die jeweils parallel zu diesen verlaufenden Seitenflächen 221 bzw. 223 hinausragen.
  • Der Endabschnitt 212 des Vierkantstifts 210 ist mit zwei in Längsrichtung voneinander beabstandeten Radialbohrungen 270 versehen, die in ihrem unteren Bereich jeweils eine Schulter 272 aufweisen. In den Radialbohrungen 270 ist jeweils eine Spiralfeder 274 angeordnet, die sich einerseits an einer Unterseite 276 des Klemmstücks 234 und andererseits an der Schulter 272 abstützt.
  • Die Unterseite 276 des Klemmstücks 234 weist zwei hohle zylindrische Nietabschnitte 278 auf, die sich jeweils durch die Spiralfedern 274 und die Radialbohrungen 270 hindurch erstrecken und an ihrem der Unterseite 276 gegenüber liegenden Ende radial nach außen umgebogen sind.
  • Der Endabschnitt 212 ist an seiner Unterseite mit einer sich über die Länge des Endabschnitts 212 erstreckenden Einsenkung 290 versehen, deren Tiefe so bemessen ist, dass die umgebogenen Nietabschnitte 278 nicht über den Querschnitt des Vierkantstifts 210 hinausragen.
  • Durch die Nietabschnitte 278 wird das Klemmstück 234 in den Radialbohrungen 270 gesichert, wobei eine Vorspannung der Spiralfedern 274 möglich ist. Zwischen dem Endabschnitt 212 des Vierkantstifts 210 und dem Klemmstück 234 verbleibt im unmontierten Zustand des Vierkantstifts 210 ein Abstand, der sich beim Einführen des Vierkantstifts 210 in ein Vierkantloch verringert, so dass sich durch die Kompression der Spiralfedern 274 eine Presskraft zwischen dem Klemmstück 234 und dem Vierkantstift 210 aufbauen kann. Zur Erleichterung der Einführung in das Vierkantloch ist das Klemmstück 234 stirnseitig mit einer Einlaufschräge 238 versehen.
  • Die Presskraft wirkt analog zur ersten Ausführungsform auf die Seitenflächen 222, 224 und die Pressflächen 241, 242 und legt damit den Vierkantstift 210 spielfrei in dem Vierkantloch fest.
  • Zur Erhöhung der Presskraft ist es möglich, anstelle der in Fig. 2 gezeigten zwei Radialbohrungen 270 und Spiralfedern 274 deren Anzahl auf drei oder auch mehr zu erhöhen. Zur Vereinfachung der Fertigung müssen jedoch nicht in allen drei Radialbohrungen 270 entsprechende Nietabschnitte 278 vorgesehen sein. Es ist dabei ausreichend, lediglich die beiden äußeren Radialbohrungen oder sogar nur die mittlere Radialbohrung mit einem Nietabschnitt 278 zu versehen.
  • Alternativ kann auch nur eine einzige Radialbohrung vorgesehen werden, wobei jedoch eine etwas stärkere Spiralfeder vorgesehen werden sollte.
  • Anstelle der dargestellten Hohlnietverbindungen können auch andere Verbindungstechniken wie beispielsweise Vollnietverbindungen oder Schraubverbindungen eingesetzt werden.
  • Die Klemmstücke 134, 234 gemäß den Fig. 1 und 2 können z.B. mittels Metallspritzguss, Zink-Druckguss oder auch Kunststoff-Spritzguss hergestellt werden.
  • Gemäß einer in Fig. 3 dargestellten dritten Ausführungsform der Erfindung ist ein Vierkantstift 310 in einem Endabschnitt 312 mit einer Ausnehmung 330 versehen. Diese umfasst ähnlich zu Fig. 2 Seitenflächen 321, 323 des Vierkantstifts 310 sowie einen Teilbereich einer Stirnseite 332.
  • In der Ausnehmung 330 ist ein Klemmstück 334 angeordnet, das im Unterschied zu den beiden vorstehend beschriebenen Ausführungsformen nicht als starres Klemmstück 134, 234 ausgebildet ist, sondern aus einem schalenförmig gebogenen Federelement gefertigt ist.
  • Der Endabschnitt 312 ist an seinem der Stirnseite 332 gegenüberliegenden Ende mit einer Radialbohrung 370 zur Aufnahme eines Niets 380 versehen. Der Querschnitt der Radialbohrung 370 ist in einem unteren, eine Kante 361 umfassenden Endbereich vergrößert, um eine Einsenkung 390 für den Kopf des Niets 380 zu bilden, so dass dieser nicht über die Seitenflächen 322, 324 des Vierkantstifts 310 hinausragt.
  • Das Klemmstück 334 weist in einem ebenen Verbindungsabschnitt 382 ebenfalls eine Radialbohrung 372 auf, durch die der Niet 380 zur Befestigung des Klemmstücks 334 an dem Vierkantstift 310 hindurchgeführt ist.
  • An den Verbindungsabschnitt 382 des Klemmstücks 334 schließt sich in stirnseitiger Richtung ein Klemmabschnitt 384 an, der ähnlich einem Vogelschnabel gewölbt ist und Pressflächen 341, 342 umfasst, die einen Hohlraum 386 teilweise umschließen. Diese Pressflächen 341, 342 überragen in einem unmontierten Zustand die Seitenflächen 321, 323 des Vierkantstifts 310 ein wenig. Das Klemmstück 334 verjüngt sich zum stirnseitigen Ende hin, um eine Einlaufschräge 338 zur Erleichterung eines Montagevorgangs zu schaffen.
  • Beim Einführen des Vierkantstifts 310 in ein nicht dargestelltes Vierkantloch bedingt der Überstand der Pressflächen 341, 342 ein Biegen des Klemmabschnitts 384 gegenüber dem mittels des Niets 380 am Endabschnitt 312 festgelegten Verbindungsabschnitt 382, so dass sich eine Presskraft aufbaut, die die Seitenflächen 322, 324 und die Pressflächen 341, 342 gegen die entsprechenden Wände des Vierkantlochs drückt und dadurch den Vierkantstift 310 spielfrei in dem Vierkantloch festlegt.
  • Durch die Verwendung von Federblech, insbesondere Stahlblech, für das Klemmstück 334 ist ferner eine elastische Verformung des Klemmabschnitts 384 im Bereich der Pressflächen 341, 342 möglich, so dass eine damit verbundene Vergrößerung der Kontaktfläche sowie der Presskraft eine Verbesserung der Klemmwirkung bewirkt.
  • Bei der dritten Ausführungsform ist demnach das Klemmelement 334 einstückig mit dem elastischen Element ausgebildet.
  • Je nach Verwendungszweck können die vorstehend beschriebenen Vierkantstifte 110, 210, 310 sowohl an einem als auch an beiden Enden mit entsprechenden Klemmstücken 134, 234, 334 versehen sein.
  • Bezugszeichenliste
  • 110,210,310
    Vierkantstift
    121-124, 221-224, 321-324
    Seitenfläche
    130,230,330
    Ausnehmung
    132, 232, 332
    Stirnseite
    134, 234, 334
    Klemmstück
    136
    Hinterschneidung
    141, 142, 241,242, 341, 342
    Pressfläche
    150
    Längsbohrung
    152
    Elastomerelement
    161, 162, 261, 361
    Kante
    212,312
    Endabschnitt
    238, 338
    Einlaufschräge
    270, 370, 372
    Radialbohrung
    272
    Schulter
    274
    Spiralfeder
    276
    Unterseite
    278
    Nietabschnitt
    290
    Einsenkung
    380
    Niet
    382
    Verbindungsabschnitt
    384
    Klemmabschnitt
    386
    Hohlraum
    P
    Kräfteparallelogramm

Claims (10)

  1. Vierkantstift (110, 210, 310),
    dadurch gekennzeichnet,
    dass zumindest in einem seiner Endbereiche (212, 312) eine Ausnehmung (130, 230, 330) vorgesehen ist, die im Bereich einer Kante (162) und zweier zu dieser benachbarter Seitenflächen des Vierkantstifts (121, 123, 221, 223, 321, 323) ausgebildet ist,
    dass in der Ausnehmung (130, 230, 330) ein zwei rechtwinklig zueinander angeordnete Pressflächen (141, 142, 241, 242, 341, 342) aufweisendes, in radialer Richtung verschiebbares Klemmelement (134, 234, 334) angeordnet ist, wobei die Pressflächen (141, 142, 241, 242, 341, 342) jeweils den im Bereich der Ausnehmung (130, 230, 330) verbleibenden Seitenflächen (122, 124, 222, 224, 322, 324) gegenüber liegen, und
    dass zwischen dem Vierkantstift (110,210,310) und dem Klemmelement (134, 234, 334) ein elastisches Element (152, 274, 334) zur Aufbringung einer nach außen wirkenden Presskraft auf die Pressflächen (141, 142, 241, 242, 341, 342) vorgesehen ist.
  2. Vierkantstift nach Anspruch 1,
    dadurch gekennzeichnet,
    dass die Pressflächen (141, 142, 241, 242, 341, 342) im unmontierten Zustand den in einem ausnehmungsfreien Bereich gegebenen Querschnitt des Vierkantstiftes (110, 210, 310) überragen.
  3. Vierkantstift nach Anspruch 1 oder 2,
    dadurch gekennzeichnet,
    dass das elastische Element (152) als Elastomer ausgebildet ist.
  4. Vierkantstift nach einem der vorhergehenden Ansprüche,
    dadurch gekennzeichnet,
    dass das Klemmelement (134) mittels zwei einander in Längsrichtung des Vierkantstifts (110) gegenüberliegenden Hinterschneidungen (136) in der Ausnehmung (130) gehalten ist, welche eine Bewegung des Klemmelements (134) in Richtung der Presskraft begrenzen.
  5. Vierkantstift nach Anspruch 4,
    dadurch gekennzeichnet,
    dass das Klemmelement (134) in eine Richtung senkrecht zur Richtung der Presskraft und senkrecht zur Längsachse des Vierkantstifts (110) in die Ausnehmung (130) einschiebbar ist.
  6. Vierkantstift nach Anspruch 4 oder 5,
    dadurch gekennzeichnet,
    dass der Vierkantstift (110) im Bereich der Ausnehmung eine stirnseitige Längsbohrung (150) aufweist, die sich mit einem Teil ihres Querschnitts in den Vierkantstift (110) und mit einem weiteren Teil ihres Querschnitts in das Klemmelement (134) erstreckt.
  7. Vierkantstift nach Anspruch 6,
    dadurch gekennzeichnet,
    dass das elastische Element (152) in der Längsbohrung (150) angeordnet ist und insbesondere in dieser durch Presssitz gehalten ist.
  8. Vierkantstift nach einem der vorhergehenden Ansprüche,
    dadurch gekennzeichnet,
    dass das elastische Element ein Federelement (274, 334) ist, wobei das Federelement insbesondere als Blattfeder (334) oder als Spiralfeder (274) ausgebildet ist.
  9. Vierkantstift nach einem der vorhergehenden Ansprüche,
    dadurch gekennzeichnet,
    dass das Klemmelement (134, 234, 334) an einem einer Stirnseite (132, 232, 332) des Vierkantstifts zugewandten Endabschnitt eine Einlaufschräge aufweist, um ein Einführen des Vierkantstifts (110, 210, 310) in eine Aufnahme zu erleichtern.
  10. Vierkantstift nach einem der vorhergehenden Ansprüche,
    dadurch gekennzeichnet,
    dass die Ausnehmung (230, 330) im Bereich einer Stirnseite (232, 332) des Vierkantstifts (210, 310) ausgebildet ist.
EP20080002282 2007-04-04 2008-02-07 Klemmstift Withdrawn EP1978188A2 (de)

Applications Claiming Priority (1)

Application Number Priority Date Filing Date Title
DE200710016286 DE102007016286A1 (de) 2007-04-04 2007-04-04 Klemmstift

Publications (1)

Publication Number Publication Date
EP1978188A2 true EP1978188A2 (de) 2008-10-08

Family

ID=39688930

Family Applications (1)

Application Number Title Priority Date Filing Date
EP20080002282 Withdrawn EP1978188A2 (de) 2007-04-04 2008-02-07 Klemmstift

Country Status (2)

Country Link
EP (1) EP1978188A2 (de)
DE (1) DE102007016286A1 (de)

Cited By (1)

* Cited by examiner, † Cited by third party
Publication number Priority date Publication date Assignee Title
US20160222696A1 (en) * 2013-09-09 2016-08-04 Valeo Comfort And Driving Assistance Key housing

Citations (1)

* Cited by examiner, † Cited by third party
Publication number Priority date Publication date Assignee Title
DE102005034928A1 (de) 2005-07-26 2007-02-01 Hewi Heinrich Wilke Gmbh Klemmstift

Patent Citations (1)

* Cited by examiner, † Cited by third party
Publication number Priority date Publication date Assignee Title
DE102005034928A1 (de) 2005-07-26 2007-02-01 Hewi Heinrich Wilke Gmbh Klemmstift

Cited By (2)

* Cited by examiner, † Cited by third party
Publication number Priority date Publication date Assignee Title
US20160222696A1 (en) * 2013-09-09 2016-08-04 Valeo Comfort And Driving Assistance Key housing
US10487539B2 (en) * 2013-09-09 2019-11-26 Valeo Comfort And Driving Assistance Key housing

Also Published As

Publication number Publication date
DE102007016286A1 (de) 2008-10-09

Similar Documents

Publication Publication Date Title
EP1343974B2 (de) Verbindereinrichtung für profile
EP1297596B1 (de) Anschlussarmatur mit elastischem ring als anschlag
EP1219256A2 (de) Fixierelement
EP4357627B1 (de) Toleranzausgleichsvorrichtung
EP1984590B1 (de) Verspannbare befestigungseinrichtung
EP2930289B1 (de) SCHLIEßZYLINDER UND MONTAGEVORRICHTUNG
EP2992225B1 (de) Verbindungsmittel
DE20120256U1 (de) Beschlag
DE102007038254B4 (de) Kupplungsglied für eine Mitnehmerkupplung und Herstellungsverfahren
DE69828298T2 (de) Vorrichtungen zum herstellen einer verbindung
EP1978188A2 (de) Klemmstift
DE19726331A1 (de) Rohrschelle
DE4444154C2 (de) Sicherungsbolzen, der in Durchgangslöcher von Bauteilen bis zu einem Anschlag einschiebbar ist
EP3258121B1 (de) Befestigungsvorrichtung zur befestigung zweier bauteile, insbesondere möbelteile oder möbelteilkomponenten, aneinander
DE102008028475A1 (de) Beschlaganordnung für einen Sitz, insbesondere Fahrzeugsitz sowie Verfahren zur Montage einer solchen Beschlaganordnung
DE2731761C3 (de) Hohlraumbefestigung
DE102022120478A1 (de) Betätigungshandhabe
EP1749953A2 (de) Klemmstift
DE29505752U1 (de) Vorrichtung zum Verbinden von Platten mittels Verschraubung
EP0984173A2 (de) Montageelement zur Positionierung und Verbindung von beabstandeten Bauteilen und Verbindungsstellen unter Verwendung des Montageelements
DE19717116B4 (de) Drehlager
DE102007021210B3 (de) Fenster-, Tür- oder Torbeschlag
DE10060655B4 (de) Verschlußvorrichtung
EP0855486A2 (de) Zentralverriegelungsstellelement für Türen oder Klappen von Kraftfahrzeugen
EP4412492B1 (de) Tablarbeschlag und zugehörige möbelanordnung

Legal Events

Date Code Title Description
PUAI Public reference made under article 153(3) epc to a published international application that has entered the european phase

Free format text: ORIGINAL CODE: 0009012

AK Designated contracting states

Kind code of ref document: A2

Designated state(s): AT BE BG CH CY CZ DE DK EE ES FI FR GB GR HR HU IE IS IT LI LT LU LV MC MT NL NO PL PT RO SE SI SK TR

AX Request for extension of the european patent

Extension state: AL BA MK RS

STAA Information on the status of an ep patent application or granted ep patent

Free format text: STATUS: THE APPLICATION IS DEEMED TO BE WITHDRAWN

18D Application deemed to be withdrawn

Effective date: 20100901