EP1850987B1 - Speiser mit beweglicher tülle - Google Patents

Speiser mit beweglicher tülle Download PDF

Info

Publication number
EP1850987B1
EP1850987B1 EP06707086A EP06707086A EP1850987B1 EP 1850987 B1 EP1850987 B1 EP 1850987B1 EP 06707086 A EP06707086 A EP 06707086A EP 06707086 A EP06707086 A EP 06707086A EP 1850987 B1 EP1850987 B1 EP 1850987B1
Authority
EP
European Patent Office
Prior art keywords
feeder
tubular body
opening
cavity
head
Prior art date
Legal status (The legal status is an assumption and is not a legal conclusion. Google has not performed a legal analysis and makes no representation as to the accuracy of the status listed.)
Expired - Lifetime
Application number
EP06707086A
Other languages
English (en)
French (fr)
Other versions
EP1850987A1 (de
Inventor
Udo Skerdi
Current Assignee (The listed assignees may be inaccurate. Google has not performed a legal analysis and makes no representation or warranty as to the accuracy of the list.)
AS Luengen GmbH and Co KG
Original Assignee
AS Luengen GmbH and Co KG
Priority date (The priority date is an assumption and is not a legal conclusion. Google has not performed a legal analysis and makes no representation as to the accuracy of the date listed.)
Filing date
Publication date
Application filed by AS Luengen GmbH and Co KG filed Critical AS Luengen GmbH and Co KG
Publication of EP1850987A1 publication Critical patent/EP1850987A1/de
Application granted granted Critical
Publication of EP1850987B1 publication Critical patent/EP1850987B1/de
Anticipated expiration legal-status Critical
Expired - Lifetime legal-status Critical Current

Links

Images

Classifications

    • BPERFORMING OPERATIONS; TRANSPORTING
    • B22CASTING; POWDER METALLURGY
    • B22DCASTING OF METALS; CASTING OF OTHER SUBSTANCES BY THE SAME PROCESSES OR DEVICES
    • B22D35/00Equipment for conveying molten metal into beds or moulds
    • B22D35/04Equipment for conveying molten metal into beds or moulds into moulds, e.g. base plates, runners
    • BPERFORMING OPERATIONS; TRANSPORTING
    • B22CASTING; POWDER METALLURGY
    • B22CFOUNDRY MOULDING
    • B22C9/00Moulds or cores; Moulding processes
    • B22C9/08Features with respect to supply of molten metal, e.g. ingates, circular gates, skim gates
    • B22C9/084Breaker cores
    • BPERFORMING OPERATIONS; TRANSPORTING
    • B22CASTING; POWDER METALLURGY
    • B22CFOUNDRY MOULDING
    • B22C9/00Moulds or cores; Moulding processes
    • B22C9/08Features with respect to supply of molten metal, e.g. ingates, circular gates, skim gates
    • B22C9/088Feeder heads
    • YGENERAL TAGGING OF NEW TECHNOLOGICAL DEVELOPMENTS; GENERAL TAGGING OF CROSS-SECTIONAL TECHNOLOGIES SPANNING OVER SEVERAL SECTIONS OF THE IPC; TECHNICAL SUBJECTS COVERED BY FORMER USPC CROSS-REFERENCE ART COLLECTIONS [XRACs] AND DIGESTS
    • Y10TECHNICAL SUBJECTS COVERED BY FORMER USPC
    • Y10TTECHNICAL SUBJECTS COVERED BY FORMER US CLASSIFICATION
    • Y10T29/00Metal working
    • Y10T29/49Method of mechanical manufacture
    • Y10T29/49826Assembling or joining
    • Y10T29/49879Spaced wall tube or receptacle

Definitions

  • the invention relates to a feeder for metal casting.
  • feeders i. open or closed spaces in or on the mold used to compensate for the volume deficit during the solidification of the casting and to prevent voids in the casting.
  • the feeders are connected to the casting or the vulnerable casting area and are usually arranged above or on the side of the mold cavity.
  • the DE 41 19 192 A1 describes a resilient mandrel for holding feeders.
  • the feeder inserts are attached to a mandrel connected to the mold and preferably formed in the upper box. Since the material of the feeder is very yielding and the sand pressure during molding in the molding plant can easily lead to damage of the feeder used, it is known to form the spring resiliently axially movable, so that the molded feeder the sand pressure in the direction of the model can dodge.
  • the feeders are arranged approximately at the gate height and also equipped with a heat-insulating material or exothermic masses so that the melt located in the feeder solidifies later than the casting itself. After solidification, the feeder remains connected to the casting so that the remainder of the feeder must then be separated.
  • the clean and easy separation of the feeder from the casting is problematic in many cases.
  • the casting surface must still be deburred and smoothed. This is a complex and correspondingly expensive operation, which can also lead to damage to the surface of the casting at the junction with the feeder.
  • so-called break cores also called breaking edge, sand bar or constrictor core
  • break cores also called breaking edge, sand bar or constrictor core
  • a feeder system for a casting with a feeder head and a tube-like body, wherein the tube-like body, the feeder or head directly or indirectly with the casting or the Form hollow body connects and contributes to the formation of a breaking edge.
  • the tubular body is preferably cylindrical. At its end facing the casting, the tube-like body tapers, so that a breaking edge is formed.
  • the feeder head and tube-like body are packed as separate parts.
  • the feeder system is assembled by first the tube-like body is placed on the model and then the feeder head is placed on this.
  • the invention therefore an object of the invention to provide a feeder for metal casting available, which can be easily packaged and transported and can easily attach to the model in the manufacture of a mold.
  • the feeder according to the invention for metal casting comprises a feeder head, which has a cavity in its interior. This cavity is used during casting to receive liquid metal and release the metal during the solidification of the metal in the mold cavity of the mold to compensate for the loss of volume occurring during solidification of the casting.
  • the cavity is open through an opening to the environment. In this opening, a tubular body is received, which is guided through the opening.
  • the tubular body is arranged in such a way that it is displaceable in the opening in the direction of its longitudinal axis.
  • In its cavity-facing portion of the tubular body has a stop which can come to a adjoining the opening in the cavity surface to the plant. For packaging, therefore, the tubular body can be pushed into the feeder head and is thus protected, for example, from damage.
  • the feeder according to the invention forms only a single unit, ie the entire feeder can be packed in a single packaging and it is not necessary that in the manufacture of the mold, the feeder is first composed of the tubular body and the feeder head. By provided on the tubular body stop falling out of the tubular body from the feeder head or tilting is prevented. Thus, if the feeder according to the invention is removed from its packaging, there is no danger of the feeder falling apart into its components, the feeder head and the tubular body. Rather, the feeder forms a unit that is very easy to handle. For the production of the mold, the feeder is then placed on a corresponding spring mandrel and pulled out the tubular body so far that it rests with its lower end on the feeder base or the model.
  • the feeder according to the invention solves the requirement for simple packaging and easy transport, since the feeder can be packaged and shipped as a single unit. It is therefore no longer necessary, as previously required two separate parts, tubular body and feeder head to pack separately.
  • the requirement of easy handling in the manufacture of the mold is solved since the feeder is already assembled and only the tubular body must be pulled out to make the connection between the feeder head and the model or the mold cavity.
  • the tube-like body may have any length and wall thickness and diameter suitable in the individual case.
  • the wall thickness will generally be between 0.1 mm and 10 mm, in particular between 0.3 mm and 5 mm, particularly preferably 0.3 mm to 0.5 mm, depending on the material used. The optimum dimensions can be determined on a case-by-case basis by means of routine tests or are known to the person skilled in the art on the basis of his experience.
  • the wall thicknesses also vary due to the material and may be e.g. for steel sheet using a spring mandrel mini-feeder at about 0.3 mm to 0.5 mm.
  • the tube-like body has a length of between about 15 and about 300 mm, in particular between about 35 and about 100 mm.
  • the length of the tube-like body is selected in an embodiment according to the invention so that at least the distance between the feeder head (before molding in the arrangement of the feeder on a mandrel) and the casting is bridged.
  • the inner diameter of the tube-like body can be chosen arbitrarily in principle, wherein the opening at the lower or upper end of the tube-like body should be large enough to ensure the flow of melt into and out of the feeder during the casting and solidification process.
  • the diameter of the tube-like body is usually oriented on the diameter of the opening provided in the feeder head, through which the tube-like body is passed and in which this is displaceable.
  • the diameter of the tube-like body is chosen so that ensures sufficient guidance of the tube-like body through the opening in the feeder head is, if this is pushed into the feeder head or pulled out before attaching to the mold from this or falls out with a correspondingly adjusted game between the tube-like body and feeder of gravity following.
  • the tube-like body may be formed of any suitable material which has adequate strength and does not interfere with the casting to be fed. These materials are known to those skilled in the art and include, for example, metal, plastic, cardboard, ceramics or similar materials.
  • the tubular body may also be constructed of an exothermic material. Dazu'können usual materials can be used, as they have already been used for the production of exothermic feeders.
  • quartz sand or a comparable material may be mixed with an exothermic material such as magnesium turnings or magnesium powder, as well as an oxidizing agent such as sodium nitrate or sodium chlorate.
  • a binder is added.
  • all suitable binders can be used per se.
  • Suitable binders are water glass, cold curing binders such as cold box binders or no-bake binders, or hot curing binders.
  • the wall thickness of the tubular body can be chosen slightly larger, preferably in the range of 2 to 5 mm.
  • the tube-like body preferably consists of a material similar to the casting program, such as aluminum or sheet iron.
  • the tubular body has a stop in its section facing the cavity.
  • the stopper is thus arranged at such a position on the tubular body that it is located within the space provided in the feeder head cavity.
  • the stop comes to rest on a surface which adjoins the opening in the cavity of the feeder head.
  • the stop of the tubular body can in principle be arbitrarily formed, as long as it is ensured that the tubular body can not fall out of the opening.
  • the stop may for example be formed as a thickening on the outside of the tubular body and rotate around the tubular body along its circumference. But it may also be provided individual projections, which may have any shape in itself.
  • the projections may be formed as hemispherical elevations or as webs extending along portions of the circumference of the tube-like body.
  • the webs extend parallel to the longitudinal axis of the tube-like body and are wedge-shaped.
  • the maximum height of the wedge-shaped projections is chosen so that their outer maximum distance is greater than the diameter of the opening in which the tubular body is inserted into the opening of the feeder head.
  • the number of projections is preferably chosen to be sufficiently high to prevent tilting of the tubular feeder when it is fully withdrawn.
  • the number of projections is therefore preferably at least 3. If 3 projections are provided, they are preferably arranged at an angle of 120 ° to each other.
  • the stopper may be made of the material of the tubular body and formed, for example, in the manufacture of the tubular body with. But it is also possible to carry out the stop as a separate component and to subsequently attach this to the tubular body.
  • the abutment of the tubular body may also be configured such that the outer diameter of the tubular body increases towards the end received from the cavity of the feeder head.
  • the stopper is designed as an annular projection which runs around the outer circumference of the tubular body. This ensures that the tubular body is centered when pulled out of the feeder head, so that the longitudinal axis of the tubular body is parallel to the longitudinal axis of the feeder head.
  • the stop may be spaced from the cavity-facing end of the tubular body. This is advantageous, for example, when the feeder head has a large height, so that the tubular body is not pulled out over its entire length when attaching to the mold to make the connection between the feeder head and mold.
  • the stop is preferably arranged on the cavity of the feeder head facing the end of the tubular body.
  • the stop can then be formed, for example, as a flange of the upper edge, when the tubular body is made for example of metal.
  • the stop is thus formed in this embodiment in the form of a collar which rotates at the end of the tubular body around the circumference of the tubular body.
  • the tubular body has an outer diameter which is so much smaller than the diameter of the opening, that the tubular body can perform a displacement movement under the influence of its own weight.
  • the tubular body can shift itself into the feeder head under the effect of its own weight.
  • the tubular body drops when reversion from its own weight out of the feeder head until it comes with his stop on the opening surrounding the opening in the feeder head to the plant.
  • the feeder can therefore be very easily inserted with one hand in a package or take out of this and put on a spring thorn.
  • the tubular body has such an expansion in the direction of its longitudinal axis, that the tubular body in its inserted position, in which the tubular body is inserted into the cavity of the feeder head, not over the outer end of the opening protrudes. In this way, the tubular body completely disappears in its transport position inside the cavity of the feeder head and is therefore protected during transport against damage.
  • the tube-like body may in itself have any cross-sectional shape, for example an oval or polygonal or polygonal geometry.
  • the tubular body preferably has a circular cross-section.
  • the opening in the feeder head is formed according to the shape of the tube-like body. If this has a circular cross-section, the opening in the feeder head is configured correspondingly circular.
  • the tube-like body is a tube with a substantially uniform cross-section over its entire length.
  • the ratio of wall thickness to the overall diameter of the tube is between about 1: 2 and 1: 200, in particular 1: 5 to 1: 120, and particularly preferably 1:10 to 1: 100.
  • the ratio of length to overall diameter of the tube is preferably between 1: 4 and 15: 1, in particular 1: 1 and 6: 1.
  • the relationships are based on the geometry of the feeder head and the casting mold.
  • the tube-like body tapers towards its end facing away from the feeder head.
  • the tubular tapers Body towards the casting and forms directly at the transition to the casting mold or in the immediate vicinity of this a breaking edge.
  • only a certain portion, preferably the portion facing the casting may have a taper or a narrowing of the inner diameter.
  • the tube-like body serves to provide a deformable neck of the feeder and, on the other hand, to provide a precise and firmly positioned breaking edge.
  • the breaking edge is preferably provided as a constriction of the opening or the inside diameter at or in the vicinity of the casting-facing end of the tube-like body.
  • the tube-like body does not taper towards the end facing away from the feeder head, or does not have a tapered section.
  • the wall is preferably parallel to the longitudinal axis of the tube-like body.
  • this gap together with air inclusions occurring in this area during the molding process, can also lead to the formation of an acceptable breaking edge.
  • the position and expression of the crushing edge can be optimized, for example by using a relatively narrow tube with a small diameter or a corresponding arrangement of the feeder or feeder head, so that this after molding or compacting the molding material is quite close (but not directly) on the casting.
  • the feeder head connected to the tube-like body is held up by the mandrel accordingly.
  • the tubular body rests on the model or on the beveled base of the mandrel. If a spring mandrel is used, the feeder head is guided by the spring mandrel over the pipe down to the corresponding end position during the molding process.
  • the tubular body remains firmly in the original position, so that it is ensured that a defined breaking edge is provided directly on the casting.
  • the feeder head moves toward the model when compressing the molding material relative to the tubular body.
  • any core, mandrel or spring mandrel which appears suitable to the person skilled in the art can be used.
  • For casting or model towards the tubular body can either fully engage over the spring mandrel, or get up on the foot. In both cases, a connection between the mold cavity of a mold and the tube-like body is made.
  • the feeder head of the feeder surrounds a cavity within which the tubular body can be displaced.
  • the cavity opens at its one end and through the opening of the tubular body is guided.
  • the stop provided on the tubular body comes into contact with a surface which adjoins the opening in the cavity of the feeder head.
  • This surface can be configured as desired, as long as it is ensured that the tubular body can not fall out of the cavity.
  • This can be followed by the opening in the cavity a projection be provided, which circulates annularly around the inner surface of the cavity. The inner diameter of the annular projection is then selected smaller than the outer diameter of the stopper provided on the tubular body.
  • the adjoining the opening in the cavity of the feeder head can also be designed in such a way that the cavity of the feeder head tapers in the direction of the opening. Also in this case, falling out of the tubular body from the cavity of the feeder head is prevented by the fact that the diameter of the opening is smaller than the outer diameter of the provided on the tubular body stops.
  • the surface on which the abutment of the tubular body can come into abutment can also be formed in such a way that individual projections are provided on the surface of the cavity, which are arranged adjacent to the opening of the cavity. This can be advantageous, for example, if the stop on the tubular body is designed as a circumferential ring.
  • a surface of the cavity opposite the opening of the feeder head forms an abutment against which the tubular body comes into abutment in the inserted position.
  • the dimensioning of the tube-like body and the cavity or the feeder head are therefore preferably coordinated in such a way that in the retracted position in which the feeder is usually transported, the tube-like body is completely inserted into the cavity of the feeder head.
  • the longitudinal extent of the tube-like body and the height of the cavity is coordinated so that the tubular body can not fall into the cavity during transport.
  • a further stop on the tubular body may be provided which prevents the tube-like body from falling into the cavity of the feeder head.
  • the feeder head is preferably constructed of at least two parts, which are connected by a connecting means to the feeder head.
  • the tube-like body is first inserted into the opening, which establishes the connection between the cavity and the environment in the finished feeder. Subsequently, the second part of the feeder head is connected to the first part, so that the cavity is produced in the feeder head and the tube-like body is fixed in the feeder head so that it can not fall out.
  • the feeder head can advantageously be divided either parallel to the longitudinal axis of the tubular body in the finished feeder or perpendicular to the longitudinal axis of the tubular body.
  • a division parallel to the longitudinal axis of the tube-like body two substantially mirror-image parts are obtained, each having a semicircular notch. The two indentations then result in the composite feeder head, the opening which connects the cavity of the feeder head with the environment. If the division of the feeder head is performed perpendicular to the longitudinal axis of the tube-like body, a lower part is obtained which comprises the opening for insertion of the tubular body, and an upper part which is formed lid-shaped and forms the cavity together with the lower part of the feeder head.
  • the parts of the feeder head can be connected to any connection means.
  • Suitable connecting means are, for example, staples, nails or metal bands.
  • the parts are glued together.
  • any adhesives can be used as they are known in the foundry industry. Suitable examples are organic adhesives, glues or more preferably water glass.
  • the connection between the parts can then also be made in such a way that a clamping connection is made.
  • corresponding sections of the feeder head parts can be matched precisely to one another, or sections are provided which are destroyed during assembly of the parts in order to produce a clamping connection.
  • a recess for receiving and centering a mandrel is provided in the feeder head.
  • the feeder head may be formed of any insulating and / or exothermic material known in the art to ensure that the melt in the feeder solidifies later than the casting itself.
  • the feeder head can be designed, for example, as an exothermic feeder.
  • the feeder head may be made, for example, from an exothermic feeder mass comprising aluminum and / or magnesium, an oxidizing agent, for example a nitrate, a temperature-resistant SiO 2 -containing filler and a binder.
  • binders for example, an alkali metal silicate or an organic polymer can be used, as is commonly used, for example, in the cold box process.
  • the individual parts can also be made of different materials.
  • the feeder head may consist of a lower part, which is designed as an insulating or exothermic body, and an upper, preferably cover-shaped, part, which is made for example of cardboard, plastic, wood, sheet metal or composite materials.
  • the dimensioning of the feeder head is arbitrary and is selected accordingly with respect to the casting to be produced.
  • the wall thickness of the feeder head depends on its size and, for example, according to whether the feeder is to be made exothermic or insulating. Usually the wall thickness is between about 3 mm and 3 cm.
  • the invention further relates to a method for producing a feeder as described above.
  • a tubular body which has a stop; Furthermore, a first feeder part is provided, which has an opening or recess, which is adapted to the circumference of the tubular body. For example, if the tubular body has a circular cross section, the opening also has a circular cross section. If a recess is provided in the first feeder part, then this has the shape of a semicircle.
  • the tubular body is then inserted into the opening or the recess, in such a way that the stop of the tubular body can come to rest on the surface surrounding the opening of the first feeder part, which is arranged in the cavity in the finished feeder head.
  • a second feeder part is provided, which together with the first feeder part can form a feeder head with a cavity.
  • first feeder part in which the tubular body is inserted
  • second feeder part a corresponding recess is also provided in the second feeder part.
  • the first feeder part and the second feeder part are then connected to one another in such a way that the tubular body comes into abutment in a retracted position on a surface of the feeder head which is located opposite the opening, and in an extended position with the stop and the opening surrounding area comes to the plant.
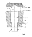
  • FIG. 1 shows a longitudinal section through a feeder according to the invention parallel to the longitudinal axis 12.
  • This is composed of a feeder head 1 and a tube-like body 2.
  • the feeder head is composed of two parts, an upper part 3 and a lower part 4.
  • First and second feeder part together form a Cavity 5 off.
  • a recess 6 is further provided, which can receive the tip of a mandrel (not shown), with which the feeder can be positioned on a model (not shown).
  • Upper feeder part 3 and lower feeder part 4 are above a bond. 7 connected with each other.
  • an opening 8 is provided, which connects the cavity 5 with the environment. In the opening 8 of the tubular body 2 is inserted.
  • the tubular body 2 has a circular cross-section. At its end facing the cavity 5, a stop 9 is provided, which rotates about the outer circumference of the tubular body 2.
  • the diameter of the tubular body 2 is matched to the diameter of the opening 8, so that the tubular body 2 can be easily pushed into the cavity 5 or pulled out of it.
  • At its end facing away from the cavity of the tubular body 2 terminates in a taper 10, which after formation of the mold contributes to the formation of a breaking edge.
  • FIG. 1 the feeder according to the invention is shown in a state in which the tubular body 2 is completely pulled out of the feeder head 1.
  • the stop 9 abuts against the surface 11, so that falling out of the tubular body 2 is prevented.
  • Such a condition arises, for example, when the feeder is taken out of a package and held so that it is held down with the side from which the tubular body protrudes.
  • FIG. 2 a state is shown in which the tubular body 2 is partially inserted into the feeder head 1.
  • the tubular body 2 is inserted in the feeder head 1, that only a small resistance occurs during displacement of the tubular body 2.
  • FIG. 2 Therefore, for example, corresponds to a state as it is taken after the compression of the molding material in the production of the mold.
  • the feeder head 1 moves in the direction of the tubular body 2. Since the tubular body 2 stands up with its tapered end on the model, feeder head 1 and tubular body 2 move relative to each other.
  • FIG. 3 a state is shown, as it is taken, for example, for shipping the feeder according to the invention.
  • the feeder is doing relative to in FIG. 1 reversed position shown, so that the tubular body 2 slides into the cavity 5 of the feeder head 1 under the influence of gravity.
  • the tubular body 2 thereby comes to the opposite side of the opening 8 of the cavity 5 on the inner surface of the feeder head 1 to the plant.
  • the length of the tubular body 2 is chosen so that it is completely absorbed by the feeder head 1, so that the tapered end 10 of the tubular body 2 does not protrude beyond the end of the opening 8.
  • the tubular body 2 can therefore not be damaged during transport.
  • FIG. 4 an embodiment of the feeder according to the invention is shown, in which the upper part 3 of the feeder head 1 has a flat, lid-shaped shape.
  • the upper part 3 can for example consist of cardboard, an insulating or exothermic mass, as it is commonly used for the production of feeders, or even a ceramic material.
  • a recess 6 is formed, which can receive the tip of a spring mandrel (not shown) to center the feeder according to the invention on a model (not shown) ,
  • the upper part 3 and the lower part 4 together form a feeder head 1.
  • upper part 3 and lower part 4 of the feeder head are connected, for example by gluing.
  • Upper part 3 and lower part 4 have corresponding surfaces 13 a, b, on which a corresponding adhesive, such as water glass, is applied.
  • a feeder head 1 is obtained which comprises a cavity 5.
  • the lower part 4 of the feeder head 1 comprises an opening 8, in which a tubular body 2 is inserted.
  • the tubular body is designed in such a way that it can be displaced in the direction of the longitudinal axis 12 of the feeder according to the invention.
  • the tubular body 2 has a stop 9, which can come to rest on a corresponding surface 11 of the lower part 4.
  • FIG. 5 shows a further embodiment of the feeder according to the invention, this, similar to that in in FIG. 4 shown embodiment, a lid-shaped upper part 3 of the feeder head 1 has.
  • the upper part 3, on its side facing the lower part 4 has an extension 14 which can be inserted into the recess of the lower part 4 forming the cavity 5.
  • the outer periphery of the extension 14 is adapted in shape and size to the shape of the wall of the cavity 5.
  • the diameter of the extension 14 may be approximately equal to the diameter of the upper portion of the cavity 5, so that the connection between the upper part 3 and lower part 4 is made by a clamping connection, which is produced by pressing the extension 14 into the cavity 5.
  • protrusions may be provided on the peripheral surface of the extension 14 and the corresponding portions of the peripheral surface of the cavity, for example wedge-shaped projections, which destroys during the pressing of the upper part 3 in the lower part 4 be to produce a sufficiently stable clamping connection between the two parts 3, 4.
  • the lower part 4 and the tubular body 2 essentially correspond to the corresponding parts of FIG FIG. 4 shown feeder.
  • FIG. 6 is a longitudinal section through a tube-like body shown, as used in the feeder according to the invention.
  • the inner wall of the tubular runs Body parallel to the longitudinal axis 12 and do not taper to the lower end of the tubular body 2.
  • wedge-shaped projections 15 are provided on the outside, which act according to the invention as a stop of the tubular body. If the tubular body 2 is analogous as in the FIGS. 1 to 5 shown inserted into a feeder head 1, the wedge-shaped projections 15 come into contact with the upper portion of the opening 8, so that the tubular body 2 can not fall out of the opening 8.
  • the maximum strength of the wedge-shaped projections is therefore chosen so that the outer maximum distance of the wedge-shaped projections 15 is greater than the diameter of the opening eighth

Landscapes

  • Engineering & Computer Science (AREA)
  • Mechanical Engineering (AREA)
  • Molds, Cores, And Manufacturing Methods Thereof (AREA)
  • General Preparation And Processing Of Foods (AREA)
  • Chutes (AREA)
  • Screw Conveyors (AREA)
  • Feeding Of Articles To Conveyors (AREA)

Description

  • Die Erfindung betrifft einen Speiser für den Metallguss.
  • Bei der Herstellung von Formteilen in der Gießerei wird flüssiges Metall in eine Gießform eingefüllt. Beim Erstarrungsvorgang verringert sich das Volumen des eingefüllten Materials. Daher werden regelmäßig sogenannte Speiser, d.h. offene oder geschlossene Räume in oder an der Gießform eingesetzt, um das Volumendefizit bei der Erstarrung des Gussstücks auszugleichen und eine Lunkerbildung im Gussstück zu verhindern. Dazu sind die Speiser mit dem Gussstück bzw. dem gefährdeten Gussstückbereich verbunden und gewöhnlich oberhalb bzw. an der Seite des Formhohlraums angeordnet.
  • Im Stand der Technik sind zahlreiche Speiser bekannt. Beispielsweise beschreibt die DE 196 42 838 A1 einen Speiser für ein metallisches Gussstück in der Form einer Glocke mit einem eingezogenen Glockenrand, der von einem aufgesetzten flachen Ringteil gebildet wird.
  • Die DE 41 19 192 A1 beschreibt einen federnden Dorn zum Halten von Speisern. Dabei werden die Speisereinsätze auf einem mit der Gießform verbundenen Dorn aufgesteckt und vorzugsweise im Oberkasten eingeformt. Da das Material der Speiser sehr nachgiebig ist und der Sanddruck beim Formen in der Formanlage leicht zu einer Beschädigung des eingesetzten Speisers führen kann, ist es bekannt, den Dorn federnd axial beweglich auszubilden, so dass der eingeformte Speiser dem Sanddruck in Richtung auf das Modell hin ausweichen kann.
  • Normalerweise werden die Speiser etwa in Anschnitthöhe angeordnet und außerdem mit einem wärmeisolierenden Material bzw. exothermen Massen so ausgerüstet, dass die im Speiser befindliche Schmelze später als das Gussstück selbst erstarrt. Nach der Erstarrung bleibt der Speiser mit dem Gussstück verbunden, so dass der Restspeiser anschließend abgetrennt werden muss. Die saubere und leichte Abtrennung des Speisers vom Gussstück ist dabei in vielen Fällen problematisch. Regelmäßig muss nach dem Abtrennen des Speisers die Gussoberfläche noch entgratet und geglättet werden. Das ist ein aufwändiger und entsprechend teurer Arbeitsgang, der auch zu Beschädigungen der Oberfläche des Gussstücks an der Verbindungsstelle mit dem Speiser führen kann. Um derartige Beschädigungen zu verringern und das Abtrennen des Speisers zu erleichtern, werden häufig sogenannte Brechkerne (auch Brechkante, Sandleiste oder Einschnürkern genannt) vorgesehen. Diese werden zwischen dem Speiser und der Gießform angebracht und benötigen entsprechende Aufsatzflächen.
  • In der DE 101 42 357 A1 wird ein Speisersystem für ein Gussstück mit einem Speiser bzw. Speiserkopf und einem rohrähnlichen Körper vorgeschlagen, wobei der rohrähnliche Körper den Speiser bzw. Speiserkopf direkt oder indirekt mit dem Gussstück bzw. dem Formhohlkörper verbindet und zur Ausbildung einer Brechkante beiträgt. Der rohrähnliche Körper ist dabei bevorzugt zylindrisch ausgebildet. Zu seinem dem Gussstück zugewandten Ende verjüngt sich der rohrähnliche Körper, so dass eine Brechkante ausgebildet wird.
  • Beim Versand des Speisers gemäß der DE 101 42 357 A1 werden Speiserkopf und rohrähnlicher Körper als getrennte Teile verpackt. Beim Herstellen der Gießform wird dann das Speisersystem zusammengesetzt, indem zunächst der rohrähnlich Körper am Modell aufgesetzt wird und anschließend auf diesen der Speiserkopf aufgesetzt wird.
  • Das getrennte Verpacken von Speiserkopf und rohrähnlichem Körper sowie das Zusammensetzen des Speisersystems bei der Herstellung der Gießform erfordert zusätzliche Arbeitsschritte. Es ist ein allgemeines Ziel, die Zahl der Arbeitsschritte sowie den Aufwand möglichst gering zu halten.
  • Der Erfindung lag daher die Aufgabe zugrunde, einen Speiser für den Metallguss zur Verfügung zu stellen, welcher einfach verpackt und transportiert werden kann und der sich bei der Herstellung einer Gießform einfach am Modell anbringen lässt.
  • Diese Aufgabe wird mit einem Speiser für den Metallguss mit den Merkmalen des Patentanspruchs 1 gelöst. Vorteilhafte Ausführungsformen des erfindungsgemäßen Speisers sind Gegenstand der abhängigen Patentansprüche.
  • Der erfindungsgemäße Speiser für den Metallguss umfasst einen Speiserkopf, welcher in seinem Inneren einen Hohlraum aufweist. Dieser Hohlraum dient beim Guss dazu, flüssiges Metall aufzunehmen und während des Erstarrens des Metalls im Formhohlraum der Gießform das Metall wieder abzugeben, um den beim Erstarren des Gießstücks auftretenden Volumenverlust auszugleichen. Der Hohlraum ist über eine Öffnung zur Umgebung hin geöffnet. In dieser Öffnung ist ein rohrförmiger Körper aufgenommen, welcher dazu durch die Öffnung hindurch geführt ist. Der rohrförmige Körper ist dabei in der Weise angeordnet, dass er in der Öffnung in Richtung seiner Längsachse verschiebbar ist. In seinem dem Hohlraum zugewandten Abschnitt weist der rohrförmige Körper einen Anschlag auf, der an einer an die Öffnung im Hohlraum anschließenden Fläche zur Anlage gelangen kann. Zum Verpacken kann daher der rohrförmige Körper in den Speiserkopf hineingeschoben werden und ist so beispielsweise vor Beschädigungen geschützt. Ferner bildet der erfindungsgemäße Speiser nur eine einzelne Einheit, d.h. der gesamte Speiser kann in einer einzelnen Verpackung verpackt werden und es ist nicht erforderlich, dass bei der Herstellung der Gießform der Speiser zunächst aus dem rohrförmigen Körper und dem Speiserkopf zusammengesetzt wird. Durch den am rohrförmigen Körper vorgesehenen Anschlag wird ein Herausfallen des rohrförmigen Körpers aus dem Speiserkopf oder ein Verkanten verhindert. Wird der erfindungsgemäße Speiser also aus seiner Verpackung herausgenommen, besteht keine Gefahr, dass der Speiser in seine Bestandteile, den Speiserkopf und den rohrförmigen Körper, auseinanderfällt. Vielmehr bildet der Speiser eine Einheit aus, die sehr einfach handhabbar ist. Für die Herstellung der Gießform wird der Speiser dann auf einen entsprechenden Federdorn aufgesetzt und der rohrförmige Körper soweit herausgezogen, dass er mit seinem unteren Ende auf dem Speiserfuß bzw. dem Modell aufsitzt.
  • Durch den erfindungsgemäßen Speiser wird zum einen die Anforderung an eine einfache Verpackung und einen einfachen Transport gelöst, da der Speiser als einzelne Einheit verpackt und versandt werden kann. Es ist also nicht mehr wie bisher erforderlich zwei getrennte Teile, rohrförmiger Körper und Speiserkopf, getrennt zu verpacken. Zum anderen wird die Anforderung einer einfachen Handhabung bei der Herstellung der Gießform gelöst, da der Speiser bereits zusammengesetzt ist und lediglich der rohrförmige Körper herausgezogen werden muss, um die Verbindung zwischen dem Speiserkopf und dem Modell bzw. dem Formhohlraum herzustellen.
  • Der rohrähnliche Körper kann jede beliebige und im Einzelfall geeignete Länge, Wandstärke und Durchmesser aufweisen. Die Wandstärke wird in Abhängigkeit von dem verwendeten Material in der Regel zwischen 0,1 mm und 10 mm, insbesondere zwischen 0,3 mm und 5 mm, besonders bevorzugt 0,3 mm bis 0,5 mm liegen. Die optimalen Abmessungen können im Einzelfall anhand routinemäßiger Versuche bestimmt werden, bzw. sind dem Fachmann aufgrund seiner Erfahrungen bekannt. Die Wandstärken variieren auch aufgrund des Materials und können z.B. für Stahlblech unter Verwendung eines Federdorn-Minispeisers bei etwa 0,3 mm bis 0,5 mm liegen.
  • In der Regel weist der rohrähnliche Körper eine Länge zwischen etwa 15 und etwa 300 mm, insbesondere zwischen etwa 35 und etwa 100 mm auf. Die Länge des rohrähnlichen Körpers wird bei einer erfindungsgemäßen Ausführungsform so gewählt, dass mindestens der Abstand zwischen dem Speiserkopf (vor dem Formen bei Anordnung des Speisers auf einem Dorn) und dem Gussstück überbrückt wird.
  • Der Innendurchmesser des rohrähnlichen Körpers kann im Prinzip beliebig gewählt werden, wobei die Öffnung am unteren bzw. oberen Ende des rohrähnlichen Körpers groß genug sein sollte, um das Fließen der Schmelze in bzw. aus dem Speiser während des Gieß- und Erstarrungsvorgangs zu gewährleisten. Der Durchmesser des rohrähnlichen Körpers orientiert sich in der Regel am Durchmesser der im Speiserkopf vorgesehenen Öffnung, durch welche der rohrähnliche Körper hindurchgeführt ist und in welcher dieser verschiebbar ist. In der Regel wird der Durchmesser des rohrähnlichen Körpers so gewählt, dass durch die Öffnung im Speiserkopf eine ausreichende Führung des rohrähnlichen Körpers gewährleistet wird, wenn dieser in den Speiserkopf hineingeschoben bzw. vor Anbringen an der Gießform aus diesem herausgezogen wird bzw. bei entsprechend eingestelltem Spiel zwischen rohrähnlichem Körper und Speiser der Schwerkraft folgend herausfällt.
  • Der rohrähnliche Körper kann an sich aus jedem geeigneten Werkstoff, der eine entsprechende Festigkeit aufweist und keine störende Reaktion auf das zu speisende Gussstück aufweist, gebildet werden. Diese Materialien sind dem einschlägigen Fachmann bekannt und umfassen beispielsweise Metall, Kunststoff, Pappe, Keramik oder ähnliche Materialien. Der rohrförmige Körper kann auch aus einem exothermen Material aufgebaut sein. Dazu'können übliche Materialien verwendet werden, wie sie auch zur Herstellung exothermer Speiser bereits zum Einsatz gelangt sind. Beispielsweise kann Quarzsand oder ein vergleichbares Material mit einem exothermen Material, wie Magnesiumspänen oder Magnesiumpulver, sowie einem Oxidationsmittel, wie Natriumnitrat oder Natriumchlorat, vermischt werden. Um der Mischung nach dem Ausformen die erforderliche Stabilität zu geben, wird noch ein Bindemittel zugegeben. Hier können an sich alle geeigneten Bindemittel verwendet werden. Beispiele für geeignete Bindemittel sind Wasserglas, kalt härtende Bindemittel, wie Cold-Box-Bindemittel oder No-Bake-Bindemittel, oder auch heiß härtende Bindemittel. Bei Verwendung derartiger exothermer Materialien kann die Wandstärke des rohrförmigen Körpers etwas größer gewählt werden, bevorzugt im Bereich von 2 bis 5 mm. Bevorzugt besteht der rohrähnliche Körper aus einem dem Gussprogramm ähnlichen Werkstoff, wie Aluminium oder Eisenblech.
  • Der rohrförmige Körper weist erfindungsgemäß in seinem dem Hohlraum zugewandten Abschnitt einen Anschlag auf. Der Anschlag ist also an einer solchen Position am rohrförmigen Körper angeordnet, dass er sich innerhalb des im Speiserkopf vorgesehenen Hohlraums befindet. Beim Herausziehen des rohrförmigen Körpers aus dem Speiserkopf gelangt der Anschlag an einer Fläche zur Anlage, welche sich im Hohlraum des Speiserkopfes an die Öffnung anschließt. Der Anschlag des rohrförmigen Körpers kann im Prinzip beliebig ausgebildet sein, solange gewährleistet ist, dass der rohrförmige Körper nicht aus der Öffnung herausfallen kann. Der Anschlag kann beispielsweise als Verdickung an der Außenseite des rohrförmigen Körpers ausgebildet sein und den rohrförmigen Körper entlang seines Umfangs umlaufen. Es können aber auch einzelne Vorsprünge vorgesehen sein, wobei diese an sich eine beliebige Gestalt aufweisen können. So können die Vorsprünge als halbkugelförmige Erhebungen oder auch als Stege aufgebildet sein, die entlang Abschnitten des Umfangs des rohrähnlichen Körpers verlaufen. Gemäß einer bevorzugten Ausführungsform verlaufen die Stege parallel zur Längsachse des rohrähnlichen Körpers und sind keilförmig ausgebildet. Die maximale Höhe der keilförmigen Vorsprünge ist dabei so gewählt, dass ihr äußerer maximaler Abstand größer ist als der Durchmesser der Öffnung, in welcher der rohrförmige Körper in die Öffnung des Speiserkopfes eingesetzt ist. Die Anzahl der Vorsprünge wird bevorzugt ausreichend hoch gewählt, um ein Verkanten des rohrförmigen Speisers zu verhindern, wenn dieser vollständig herausgezogen ist. Die Anzahl der Vorsprünge beträgt daher vorzugsweise zumindest 3. Sind 3 Vorsprünge vorgesehen, sind diese vorzugsweise in einem Winkel von 120° zueinander angeordnet. Der Anschlag kann aus dem Material des rohrförmigen Körpers bestehen und beispielsweise bei der Herstellung des rohrförmigen Körpers mit ausgeformt werden. Es ist aber auch möglich den Anschlag als getrenntes Bauteil auszuführen und diesen nachträglich am rohrförmigen Körper zu befestigen. Der Anschlag des rohrförmigen Körpers kann auch in der Weise ausgestaltet werden, dass sich der Außendurchmesser des rohrförmigen Körpers in Richtung auf das Ende vergrößert, das vom Hohlraum des Speiserkopfes aufgenommen ist. Besonders bevorzugt ist der Anschlag als ringförmiger Vorsprung ausgebildet, welcher um den äußeren Umfang des rohrförmigen Körpers umläuft. Dies gewährleistet, dass der rohrförmige Körper beim Herausziehen aus dem Speiserkopf zentriert wird, so dass die Längsachse des rohrförmigen Körpers parallel zur Längsachse des Speiserkopfes verläuft.
  • Der Anschlag kann beabstandet zum dem Hohlraum zugewandten Ende des rohrförmigen Körpers angeordnet sein. Dies ist beispielsweise vorteilhaft, wenn der Speiserkopf eine große Höhe aufweist, so dass der rohrförmige Körper beim Anbringen an der Gießform nicht über seine gesamte Länge herausgezogen wird, um die Verbindung zwischen Speiserkopf und Gießform herzustellen. Bevorzugt ist der Anschlag jedoch am dem Hohlraum des Speiserkopfes zugewandten Ende des rohrförmigen Körpers angeordnet. Der Anschlag kann dann beispielsweise als Bördelung des oberen Randes ausgebildet werden, wenn der rohrförmige Körper beispielsweise aus Metall hergestellt wird. Der Anschlag ist in dieser Ausführungsform also in Form eines Kragens ausgebildet, welcher am Ende des rohrförmigen Körpers um den Umfang des rohrförmigen Körpers umläuft.
  • In einer bevorzugten Ausführungsform des erfindungsgemäßen Speisers weist der rohrförmige Körper einen Außendurchmesser auf, der so viel geringer ist als der Durchmesser der Öffnung, dass der rohrförmige Körper unter dem Einfluss seines Eigengewichts eine Verschiebungsbewegung ausführen kann. Wird der Speiser umgedreht, kann sich der rohrförmige Körper unter der Wirkung seines Eigengewichts von selbst in den Speiserkopf hineinverschieben. Umgekehrt fällt der rohrförmige Körper beim erneuten Umdrehen unter seinem Eigengewicht aus dem Speiserkopf heraus, bis er mit seinem Anschlag an der die Öffnung im Speiserkopf umgebenden Fläche zur Anlage kommt. Der Speiser lässt sich daher sehr einfach mit einer Hand in eine Verpackung einlegen bzw. aus dieser herausnehmen und auf einem Federdorn aufsetzen.
  • In einer besonders bevorzugten Ausführungsform des erfindungsgemäßen Speisers weist der rohrförmige Körper eine solche Ausdehnung in Richtung seiner Längsachse auf, dass der rohrförmige Körper in seiner eingeschobenen Position, in welcher der rohrförmige Körper in den Hohlraum des Speiserkopfes eingeschoben ist, nicht über den äußeren Abschluss der Öffnung hinausragt. Auf diese Weise verschwindet der rohrförmige Körper in seiner Transportposition vollständig im Inneren des Hohlraums des Speiserkopfes und ist daher beim Transport vor Beschädigungen geschützt.
  • Der rohrähnliche Körper kann an sich eine beliebige Querschnittsform aufweisen, beispielsweise eine ovale oder vieroder mehreckige Geometrie. Bevorzugt weist der rohrförmige Körper jedoch einen kreisförmigen Querschnitt auf. Die Öffnung im Speiserkopf ist entsprechend der Gestalt des rohrähnlichen Körpers ausgebildet. Weist dieser einen kreisförmigen Querschnitt auf, ist die Öffnung im Speiserkopf entsprechend kreisförmig ausgestaltet.
  • Nach einer Ausführungsform der vorliegenden Erfindung handelt es sich bei dem rohrähnlichen Körper um ein Rohr mit einem über die gesamte Länge im wesentlichen einheitlichen Querschnitt. Vorzugsweise liegt das Verhältnis von Wandstärke zum Gesamtdurchmesser des Rohres zwischen etwa 1:2 und 1:200, insbesondere 1:5 bis 1:120 und besonders bevorzugt 1:10 bis 1:100. Das Verhältnis von Länge zu Gesamtdurchmesser des Rohres liegt vorzugsweise zwischen 1:4 und 15:1, insbesondere 1:1 und 6:1. Insbesondere richten sich die Verhältnisse nach der Geometrie des Speiserkopfes und der Gießform.
  • Nach einer bevorzugten erfindungsgemäßen Ausführungsform verjüngt sich der rohrähnliche Körper zu seinem vom Speiserkopf abgewendeten Ende hin. Ist der erfindungsgemäße Speiser auf einem Dorn auf einem Modell aufgesetzt, verjüngt sich der rohrförmige Körper zum Gussstück hin und bildet direkt am Übergang zur Gussform bzw. in unmittelbarer Nähe zu dieser eine Brechkante aus. Natürlich kann nach einer Ausführungsform der Erfindung auch nur ein bestimmter Abschnitt, vorzugsweise der dem Gussstück zugewandte Abschnitt, eine Verjüngung oder eine Verengung des Innendurchmessers aufweisen. Somit dient der rohrähnliche Körper einerseits der Bereitstellung eines aufformbaren Speiserhalses und andererseits der Bereitstellung einer präzisen und fest positionierten Brechkante. Die Brechkante ist vorzugsweise als eine Einschnürung der Öffnung bzw. des Innendurchmessers am oder in der Nähe des dem Gussstück zugewandten Endes des rohrähnlichen Körpers vorgesehen.
  • Nach einer weiteren erfindungsgemäßen Ausführungsform verjüngt sich der rohrähnlichen Körper jedoch nicht zu dem vom Speiserkopf abgewandten Ende hin, bzw. weist er keinen sich verjüngenden Abschnitt auf. Bei dieser Ausführungsform des rohrähnlichen Körpers verläuft die Wand bevorzugt parallel zur Längsachse des rohrähnlichen Körpers. Wird der erfindungsgemäße Speiser auf einem Dorn, insbesondere einem Feder- oder Führungsdorn, auf einem Modell der Gießform aufgesetzt, kann der rohrähnliche Körper so weit aus dem Speiserkopf herausgezogen werden, bis das zum Gussstück hingewandte Ende des rohrähnlichen Körpers auf dem Fuß des Dorns nahe am Gussstück aufsitzt. Dabei bildet sich zwischen dem rohrähnlichen Körper und dem Fuß des Dorns ein kleiner Spalt. Es hat sich gezeigt, dass dieser Spalt, zusammen mit während des Anformens entstehenden Lufteinschlüssen in diesem Bereich, auch zur Ausbildung einer akzeptablen Brechkante führen kann. Des weiteren kann durch die Dimensionierung des rohrähnlichen Körpers die Lage und Ausprägung der Brechkante optimiert werden, z.B. durch Verwendung eines verhältnismäßig schmalen Rohres mit kleinem Durchmesser oder eine entsprechende Anordnung des Speisers bzw. Speiserkopfes, so dass dieser nach dem Anformen bzw. Verdichten des Formstoffs recht nahe (jedoch nicht direkt) auf dem Gussstück liegt.
  • Beim Anbringen des erfindungsgemäßen Speisers am Gießmodell wird dieser auf einen Dorn, insbesondere einen Federdorn aufgesetzt. Der mit dem rohrähnlichen Körper verbundene Speiserkopf wird durch den Dorn entsprechend hochgehalten. Dabei steht der rohrförmige Körper auf dem Modell bzw. auf dem angeschrägten Grund des Dorns auf. Wird ein Federdorn verwendet, wird während des Formvorgangs der Speiserkopf durch den Federdorn über das Rohr nach unten in die entsprechende Endposition geführt. Der rohrförmige Körper bleibt fest in der ursprünglichen Position, so dass sichergestellt ist, dass unmittelbar am Gussstück eine definierte Brechkante bereitgestellt wird. Der Speiserkopf bewegt sich beim Verdichten des Formstoffes relativ zum rohrförmigen Körper auf das Modell zu.
  • Im Rahmen der vorliegenden Erfindung kann jeder dem Fachmann als geeignet erscheinende Kern, Dorn oder Federdorn verwendet werden. Zum Gussstück bzw. Modell hin kann der rohrähnliche Körper entweder vollständig über den Federdorn greifen, oder auf dessen Fuß aufstehen. In beiden Fällen wird eine Verbindung zwischen dem Formhohlraum einer Gießform und dem rohrähnlichen Körper hergestellt.
  • Der Speiserkopf des erfindungsgemäßen Speisers umgfasst einen Hohlraum, innerhalb welchem der rohrförmige Körper verschoben werden kann. Der Hohlraum öffnet sich an seinem einen Ende und durch die Öffnung ist der rohrförmige Körper geführt. Im herausgezogenen Zustand kommt der am rohrförmigen Körper vorgesehene Anschlag an einer Fläche zur Anlage, die sich im Hohlraum des Speiserkopfes an die Öffnung anschließt. Diese Fläche kann an sich beliebig ausgestaltet sein, solange gewährleistet ist, dass der rohrförmige Körper nicht aus dem Hohlraum herausfallen kann. Dazu kann anschließend an die Öffnung im Hohlraum ein Vorsprung vorgesehen sein, der ringförmig um die Innenfläche des Hohlraums umläuft. Der Innendurchmesser des ringförmigen Vorsprungs ist dann kleiner gewählt als der Außendurchmesser des am rohrförmigen Körpers vorgesehenen Anschlags. Die im Hohlraum des Speiserkopfes an die Öffnung anschließende Fläche kann jedoch auch in der Weise ausgebildet sein, dass sich der Hohlraum des Speiserkopfes in Richtung auf die Öffnung hin verjüngt. Auch in diesem Fall wird ein Herausfallen des rohrförmigen Körpers aus dem Hohlraum des Speiserkopfes dadurch verhindert, dass der Durchmesser der Öffnung geringer ist als der Außendurchmesser der am rohrförmigen Körper vorgesehenen Anschläge. Ferner kann die Fläche, an welcher der Anschlag des rohrförmigen Körpers zur Anlage gelangen kann, auch in der Weise ausgebildet sein, dass einzelne Vorsprünge auf der Fläche des Hohlraums vorgesehen sind, die benachbart zur Öffnung des Hohlraums angeordnet sind. Dies kann beispielsweise vorteilhaft sein, wenn der Anschlag am rohrförmigen Körper als umlaufender Ring ausgebildet ist.
  • Nach einer weiteren Ausführungsform des erfindungsgemäßen Speisers bildet eine der Öffnung des Speiserkopfes gegenüberliegende Fläche des Hohlraums eine Anlage aus, an welcher der rohrförmige Körper in der eingeschobenen Position zur Anlage gelangt. Die Dimensionierung des rohrähnlichen Körpers und des Hohlraums bzw. des Speiserkopfes werden also vorzugsweise in der Weise aufeinander abgestimmt, dass in der eingeschobenen Position, in welcher der Speiser gewöhnlich transportiert wird, der rohrähnliche Körper vollständig in den Hohlraum des Speiserkopfes eingeschoben ist. Andererseits ist die Längsausdehnung des rohrähnlichen Körpers und die Höhe des Hohlraums so aufeinander abgestimmt, dass der rohrförmige Körper während des Transports nicht in den Hohlraum hineinfallen kann. Gegebenenfalls kann auch ein weiterer Anschlag am rohrförmigen Körper vorgesehen sein, welcher ein Hineinfallen des rohrähnlichen Körpers in den Hohlraum des Speiserkopfes verhindert.
  • Der Speiserkopf ist vorzugsweise aus zumindest zwei Teilen aufgebaut, welche durch ein Verbindungsmittel zu dem Speiserkopf verbunden sind. Beim Herstellen des erfindungsgemäßen Speisers wird der rohrähnliche Körper zunächst in die Öffnung eingelegt, welche im fertigen Speiser die Verbindung zwischen Hohlraum und Umgebung herstellt. Anschließend wird der zweite Teil des Speiserkopfes mit dem ersten Teil verbunden, so dass der Hohlraum im Speiserkopf erzeugt wird und der rohrähnliche Körper so im Speiserkopf fixiert wird, dass er nicht herausfallen kann.
  • Für die Bereitstellung des ersten und des zweiten Teils kann der Speiserkopf vorteilhaft entweder parallel zu Längsachse des rohrförmigen Körpers im fertiggestellten Speiser oder senkrecht zur Längsachse des rohrförmigen Körpers geteilt sein. Bei einer Teilung parallel zur Längsachse des rohrähnlichen Körpers werden zwei im Wesentlichen spiegelbildliche Teile erhalten, welche jeweils eine halbkreisförmige Einkerbung aufweisen. Die beiden Einkerbungen ergeben im zusammengesetzten Speiserkopf dann die Öffnung, welche den Hohlraum des Speiserkopfes mit der Umgebung verbindet. Wird die Teilung des Speiserkopfes senkrecht zur Längsachse des rohrähnlichen Körpers durchgeführt, wird ein Unterteil erhalten, welches die Öffnung zum Einsetzen des rohrförmigen Körpers umfasst, sowie ein oberer Teil, der deckelförmig ausgebildet ist und gemeinsam mit dem unteren Teil des Speiserkopfes den Hohlraum ausbildet.
  • Die Teile des Speiserkopfes können mit beliebigen Verbindungsmitteln verbunden sein. Geeignete Verbindungsmittel sind beispielsweise Klammern, Nägel oder Metallbänder. Vorzugsweise werden die Teile jedoch miteinander verklebt. Dabei können an sich beliebige Klebstoffe verwendet werden, wie sie aus der Gießereiindustrie bekannt sind. Geeignet sind beispielsweise organische Kleber, Leime oder besonders bevorzugt Wasserglas. Es ist auch möglich, die beiden Teile des Speiserkopfes in der Weise auszugestalten, dass der eine Teil einen Vorsprung aufweist und der andere Teil eine entsprechende Ausnehmung, in welche der Vorsprung aufgenommen werden kann. Die Verbindung zwischen den Teilen kann dann auch in der Weise hergestellt werden, dass eine klemmende Verbindung hergestellt wird. Dazu können entsprechende Abschnitte der Speiserkopfteile passgenau aufeinander abgestimmt sein, oder es werden Abschnitte vorgesehen, die beim Zusammenfügen der Teile zerstört werden, um eine klemmende Verbindung zu erzeugen.
  • Nach einer weiteren vorteilhaften Ausführungsform ist im Speiserkopf eine Ausnehmung für die Aufnahme und Zentrierung eines Dorns vorgesehen.
  • Der Speiserkopf kann aus jedem im Stand der Technik bekannten isolierenden und/oder exothermen Material gebildet sein, um sicherzustellen, dass die im Speiser befindliche Schmelze später als das Gussstück selbst erstarrt. Der Speiserkopf kann beispielsweise als exothermer Speiser ausgeführt sein. In diesem Fall kann der Speiserkopf beispielsweise aus einer exothermen Speisermasse hergestellt sein, welche Aluminium und/oder Magnesium, ein Oxidationsmittel, beispielsweise ein Nitrat, einen temperaturbeständigen SiO2-haltigen Füllstoff und ein Bindemittel umfasst. Als Bindemittel kann beispielsweise ein Alkalisilikat oder auch ein organisches Polymer verwendet werden, wie es beispielsweise beim Coldbox-Verfahren üblicherweise eingesetzt wird.
  • Ist der Speiserkopf aus mehreren Teilen zusammengesetzt, können die einzelnen Teile auch aus verschiedenen Materialien hergestellt sein. Beispielsweise kann der Speiserkopf aus einem unteren Teil bestehen, welches als isolierender oder exothermer Körper ausgeführt ist, und einem oberen, bevorzugt deckelförmigen, Teil, das beispielsweise aus Pappe, Kunststoff, Holz, Blech oder Verbundmaterialen hergestellt ist.
  • Die Dimensionierung des Speiserkopfes ist an sich beliebig und wird in Bezug auf das herzustellende Gießstück entsprechend ausgewählt. Die Wandstärke des Speiserkopfes richtet sich nach seiner Größe und beispielsweise danach, ob der Speiser exotherm oder isolierend ausgeführt werden soll. Gewöhnlich beträgt die Wandstärke zwischen etwa 3 mm und 3 cm.
  • Die Erfindung betrifft weiter ein Verfahren zur Herstellung eines Speisers, wie er oben beschrieben wurde.
  • Dazu wird zunächst ein rohrförmiger Körper bereitgestellt, welcher einen Anschlag aufweist; weiter wird ein erstes Speiserteil bereitgestellt, welches eine Öffnung oder Ausnehmung aufweist, welche an den Umfang des rohrförmigen Körpers angepasst ist. Weist der rohrförmige Körper beispielsweise einen kreisförmigen Querschnitt auf, besitzt die Öffnung ebenfalls einen kreisförmigen Querschnitt. Ist im ersten Speiserteil eine Ausnehmung vorgesehen, so besitzt diese die Form eines Halbkreises. Der rohrförmige Körper wird dann in die Öffnung oder die Ausnehmung eingelegt, und zwar in der Weise, dass der Anschlag des rohrförmigen Körpers an der die Öffnung umgebende Fläche des ersten Speiserteils zur Anlage gelangen kann, die im fertig gestellten Speiserkopf im Hohlraum angeordnet ist. Weiter wird ein zweites Speiserteil bereitgestellt, welches gemeinsam mit dem ersten Speiserteil einen Speiserkopf mit einem Hohlraum ausbilden kann. Ist im ersten Speiserteil eine Ausnehmung vorgesehen, in welcher der rohrförmige Körper eingelegt wird, ist eine entsprechende Ausnehmung auch im zweiten Speiserteil vorgesehen. Das erste Speiserteil und das zweite Speiserteil werden anschließend miteinander in der Weise verbunden, dass der rohrförmige Körper in einer eingeschobenen Position an einer Fläche des Speiserkopfes zur Anlage gelangt welche der Öffnung gegenüberliegend angeordnet ist, und in einer herausgezogenen Position mit dem Anschlag und der die Öffnung umgebenden Fläche zur Anlage gelangt.
  • Die Erfindung wird im Weiteren unter Bezugnahme auf die beigefügte Zeichnung näher erläutert. Dabei zeigt:
    • Figur 1 einen Längsschnitt durch einen erfindungsgemäßen Speiser, wobei sich der rohrförmige Körper in einer herausgezogenen Position befindet;
    • Figur 2 einen Längsschnitt durch einen erfindungsgemäßen Speiser, wobei der rohrförmige Körper teilweise in den Speiserhohlraum eingeschoben ist; und
    • Figur 3 einen Längsschnitt durch einen erfindungsgemäßen Speiser, wobei der rohrförmige Körper in den Speiserhohlraum eingeschoben ist.
    • Figur 4: einen Längsschnitt durch einen erfindungsgemäßen Speiser, wobei der Speiserkopf aus einem Unterteil und einem Deckel aufgebaut ist;
    • Figur 5: einen Längsschnitt durch einen erfindungsgemäßen Speiser, wobei der Speiserkopf aus einem Unterteil und einem Deckel aufgebaut ist;
    • Figur 6: einen Längsschnitt durch einen rohrähnlichen Körper.
  • Figur 1 zeigt einen Längsschnitt durch einen erfindungsgemäßen Speiser parallel zur Längsachse 12. Dieser ist aufgebaut aus einem Speiserkopf 1 und einem rohrähnlichen Körper 2. Der Speiserkopf ist aus zwei Teilen aufgebaut, einem oberen Teil 3 und einem unteren Teil 4. Erster und zweiter Speiserteil bilden gemeinsam einen Hohlraum 5 aus. Im oberen Speiserteil 3 ist ferner eine Ausnehmung 6 vorgesehen, welche die Spitze eines Dorns aufnehmen kann (nicht gezeigt), mit welcher der Speiser auf einem Modell (nicht gezeigt) positioniert werden kann. Oberer Speiserteil 3 und unterer Speiserteil 4 sind über eine Verklebung 7 miteinander verbunden. Im unteren Speiserteil 4 ist eine Öffnung 8 vorgesehen, welche den Hohlraum 5 mit der Umgebung verbindet. In die Öffnung 8 ist der rohrförmige Körper 2 eingesetzt. Der rohrförmige Körper 2 weist einen kreisförmigen Querschnitt auf. An seinem dem Hohlraum 5 zugewandten Ende ist ein Anschlag 9 vorgesehen, welcher um den äußeren Umfang des rohrförmigen Körpers 2 umläuft. Der Durchmesser des rohrförmigen Körpers 2 ist auf den Durchmesser der Öffnung 8 abgestimmt, so dass der rohrförmige Körper 2 leicht in den Hohlraum 5 hineingeschoben werden kann bzw. aus diesem herausgezogen werden kann. An seinem dem Hohlraum abgewandten Ende läuft der rohrförmige Körper 2 in einer Verjüngung 10 aus, welche nach Herstellung der Gießform zur Ausbildung einer Brechkante beiträgt. In Figur 1 ist der erfindungsgemäße Speiser in einem Zustand dargestellt, in welchem der rohrförmige Körper 2 vollständig aus dem Speiserkopf 1 herausgezogen ist. In diesem Fall gelangt der Anschlag 9 an der Fläche 11 zur Anlage, so dass ein Herausfallen des rohrförmigen Körpers 2 verhindert wird. Ein solcher Zustand stellt sich beispielsweise ein, wenn der Speiser aus einer Verpackung herausgenommen und so gehalten wird, dass er mit der Seite, aus welcher der rohrförmige Körper herausragt, nach unten gehalten wird.
  • In Figur 2 ist ein Zustand dargestellt, in welchem der rohrförmige Körper 2 teilweise in den Speiserkopf 1 eingeschoben ist. Der rohrförmige Körper 2 ist so im Speiserkopf 1 eingesetzt, dass beim Verschieben des rohrförmigen Körpers 2 nur ein geringer Widerstand auftritt. Figur 2 entspricht daher beispielsweise einem Zustand, wie er nach dem Verdichten des Formstoffes bei der Herstellung der Gießform eingenommen wird. Beim Verdichten des Formstoffes bewegt sich der Speiserkopf 1 in Richtung auf den rohrförmigen Körper 2 zu. Da der rohrförmige Körper 2 mit seinem verjüngten Ende auf dem Modell aufsteht, verschieben sich Speiserkopf 1 und rohrförmiger Körper 2 relativ zueinander.
  • In Figur 3 ist ein Zustand dargestellt, wie er beispielsweise zum Versand des erfindungsgemäßen Speisers eingenommen wird. Der Speiser wird dabei relativ zur in Figur 1 dargestellten Position umgedreht, so dass der rohrförmige Körper 2 unter dem Einfluss der Schwerkraft in den Hohlraum 5 des Speiserkopfes 1 hineingleitet. Der rohrförmige Körper 2 gelangt dabei an der der Öffnung 8 gegenüberliegenden Seite des Hohlraums 5 an der Innenfläche des Speiserkopfes 1 zur Anlage. Die Länge des rohrförmigen Körpers 2 ist dabei so gewählt, dass dieser vollständig vom Speiserkopf 1 aufgenommen wird, so dass das verjüngte Ende 10 des rohrförmigen Körpers 2 nicht über den Abschluss der Öffnung 8 hinausragt. Der rohrförmige Körper 2 kann daher beim Transport nicht beschädigt werden.
  • In Figur 4 ist eine Ausführungsform des erfindungsgemäßen Speisers dargestellt, bei welchem das obere Teil 3 des Speiserkopfs 1 eine flache, deckelförmige Gestalt aufweist. Das obere Teil 3 kann beispielsweise aus Pappe, einer isolierenden oder exothermen Masse, wie sie üblicherweise für die Herstellung von Speisern verwendet wird, oder auch einem keramischen Material bestehen. In die Unterseite des oberen Teils 3, welche dem unteren Teil 4 des Speiserkopfs 1 zugewandt ist, ist eine Ausnehmung 6 eingeformt, welche die Spitze eines Federdorns (nicht dargestellt) aufnehmen kann, um den erfindungsgemäßen Speiser auf einem Modell (nicht dargestellt) zu zentrieren. Das obere Teil 3 und das untere Teil 4 bilden gemeinsam einen Speiserkopf 1 aus. Dazu werden oberes Teil 3 und unteres Teil 4 des Speiserkopfs beispielsweise durch Kleben verbunden. Oberes Teil 3 und unteres Teil 4 weisen dazu korrespondierende Flächen 13 a, b auf, auf welche ein entsprechender Klebstoff, beispielsweise Wasserglas, aufgetragen wird. Nach dem Verkleben wird ein Speiserkopf 1 erhalten, welcher einen Hohlraum 5 umfasst. Wie bereits bei den Ausführungsformen der Figuren 1 bis 3 erläutert, umfasst das untere Teil 4 des Speiserkopfs 1 eine Öffnung 8, in welcher ein rohrförmiger Körper 2 eingesetzt ist. Der rohrförmige Körper ist in der Weise ausgestaltet, dass er sich in Richtung der Längsachse 12 des erfindungsgemäßen Speisers verschieben lässt. Der rohrförmige Körper 2 weist einen Anschlag 9 auf, welcher an einer korrespondierenden Fläche 11 des unteren Teils 4 zur Anlage gelangen kann.
  • Figur 5 zeigt eine weitere Ausführungsform des erfindungsgemäßen Speisers, wobei dieser, ähnlich wie bei der in Figur 4 gezeigten Ausführungsform, ein deckelförmiges oberes Teil 3 des Speiserkopfes 1 aufweist. Bei dieser Ausführungsform weist das obere Teil 3 jedoch auf seiner dem unteren Teil 4 zugewandten Seite einen Fortsatz 14 auf, welcher sich in die den Hohlraum 5 bildende Ausnehmung des unteren Teils 4 einsetzen lässt. Der äußere Umfang des Fortsatzes 14 ist in seiner Form und Größe an die Form der Wand des Hohlraums 5 angepasst. Der Durchmesser des Fortsatzes 14 kann annähernd gleich dem Durchmesser des oberen Abschnitts des Hohlraums 5 sein, sodass die Verbindung zwischen oberem Teil 3 und unterem Teil 4 durch eine Klemmverbindung hergestellt wird, die durch Einpressen des Fortsatzes 14 in den Hohlraum 5 erzeugt wird. Um die Haftung zwischen den Teilen 3, 4 zu verbessern, können auf der Umfangsfläche des Fortsatzes 14 bzw. den entsprechenden Abschnitten der Umfangsfläche des Hohlraums 5 Vorsprünge vorgesehen sein, beispielsweise keilförmige Vorsprünge, Die beim Einpressen des oberen Teils 3 in das untere Teil 4 zerstört werden, um eine ausreichend stabile Klemmverbindung zwischen den beiden Teilen 3, 4 herzustellen. Das untere Teil 4 sowie der rohrförmige Körper 2 entsprechen im Wesentlichen den korrespondierenden Teilen des in Figur 4 dargestellten Speisers.
  • In Figur 6 ist ein Längsschnitt durch einen rohrähnlichen Körper dargestellt, wie er im erfindungsgemäßen Speiser verwendet wird. Bei dieser Ausführungsform verläuft die innere Wand des rohrförmigen Körpers parallel zur Längsachse 12 und verjüngen sich zum unteren Ende des rohrförmigen Körpers 2 nicht. Am oberen Abschluss des rohrförmigen Körpers 2 sind auf der Außenseite keilförmige Vorsprünge 15 vorgesehen, die erfindungsgemäß als Anschlag des rohrförmigen Körpers wirken. Wird der rohrförmige Körper 2 analog wie in den Figuren 1 bis 5 dargestellt in einen Speiserkopf 1 eingesetzt, gelangen die keilförmigen Vorsprünge 15 in Kontakt mit dem oberen Abschnitt der Öffnung 8, sodass der rohrförmige Körper 2 nicht aus der Öffnung 8 herausfallen kann. Die maximale Stärke der keilförmigen Vorsprünge ist daher so gewählt, dass der äußere maximale Abstand der keilförmigen Vorsprünge 15 größer ist als der Durchmesser der Öffnung 8.
  • Zeichenerklärung
  • 1
    Speiserkopf
    2
    rohrähnlicher Körper
    3
    oberer Teil
    4
    unterer Teil
    5
    Hohlraum
    6
    Ausnehmung
    7
    Verklebung
    8
    Öffnung
    9
    Anschlag
    10
    Verjüngung
    11
    Fläche
    12
    Längsachse
    13 a,b
    Flächen
    14
    Fortsatz
    15
    keilförmige Vorsprünge

Claims (12)

  1. Speiser für den Metallguss, mit einem Speiserkopf (1), welcher einen Hohlraum (5) aufweist, der über mindestens eine Öffnung (8) zur Umgebung hin geöffnet ist, und einem rohrförmigen Körper (2), welcher durch die Öffnung (8) hindurchgeführt und in dieser verschiebbar angeordnet ist, wobei der rohrförmige Körper (2) in seinem dem Hohlraum (5) zugewandten Abschnitt einen Anschlag (9) aufweist, der an einer an die Öffnung (8) im Hohlraum (5) anschließenden Fläche zur Anlage gelangen kann.
  2. Speiser nach Anspruch 1, wobei der Anschlag (9) als ringförmiger Vorsprung ausgebildet ist, welcher um den äußeren Umfang des rohrförmigen Körpers (2) umläuft.
  3. Speiser nach Anspruch 1 oder 2, wobei der Anschlag (9) am dem Hohlraum (5) zugewandten Ende des rohrförmigen Körpers (2) angeordnet ist.
  4. Speiser nach einem der vorhergehenden Ansprüche, wobei der rohrförmige Körper (2) einen Außendurchmesser aufweist, der so viel geringer ist als der Durchmesser der Öffnung (8), dass der rohrförmige Körper (2) unter dem Einfluss seines Eigengewichts eine Verschiebungsbewegung ausführen kann.
  5. Speiser nach einem der vorhergehenden Ansprüche, wobei der rohrförmige Körper (2) eine Ausdehnung in Richtung seiner Längsachse aufweist, dass der rohrförmige Körper (2) in einer eingeschobenen Position, in welcher der rohrförmige Körper (2) in den Hohlraum (5) des Speiserkopfes (1) eingeschoben ist, nicht über den äußeren Abschluss der Öffnung (8) hinausragt.
  6. Speiser nach einem der vorhergehenden Ansprüche, wobei der rohrförmige Körper (2) einen kreisförmigen Querschnitt aufweist.
  7. Speiser nach einem der vorhergehenden Ansprüche, wobei der rohrförmige Körper (2) an seinem den Hohlraum abgewandten Ende (10) in seinem Querschnitt verjüngt ist.
  8. Speiser nach einem der vorhergehenden Ansprüche, wobei eine der Öffnung (8) gegenüberliegende Fläche des Hohlraums einen Anlage bildet, an welcher der rohrförmige Körper (2) in der eingeschobenen Position zur Anlage gelangt.
  9. Speiser nach einem der vorhergehenden Ansprüche, wobei der Speiserkopf (1) aus zumindest zwei Teilen (3, 4) aufgebaut ist, welche durch ein Verbindungsmittel (7) zu dem Speiserkopf (1) verbunden sind.
  10. Speiser nach Anspruch 9, wobei das Verbindungsmittel (7) ein Klebstoff ist.
  11. Speiser nach einem der vorhergehenden Ansprüche, wobei im Speiserkopf (1) eine Ausnehmung (6) für die Aufnahme und Zentrierung eines Dorns vorgesehen ist.
  12. Verfahren zur Herstellung eines Speisers nach einem der Ansprüche 1 bis 11, wobei:
    - ein rohrförmiger Körper (2) bereitgestellt wird, welcher einen Anschlag (9) aufweist;
    - ein erstes Speiserteil (4) bereitgestellt wird, welches eine Öffnung (8) oder eine Ausnehmung aufweist, welche an den Umfang des rohrförmigen Körpers (2) angepasst ist;
    - der rohrförmige Körper (2) in die Öffnung (8) oder die Ausnehmung eingelegt wird, so dass der Anschlag (9) des rohrförmigen Körpers (2) an der die Öffnung (8) umgebenden Fläche des ersten Speiserteils (4) zur Anlage gelangen kann;
    - ein zweites Speiserteil (3) bereitgestellt wird, welches gemeinsam mit dem ersten Speiserteil (4) einen Speiserkopf (1) mit einem Hohlraum (5) ausbilden kann; und
    - das erste Speiserteil (4) und das zweite Speiserteil (3) miteinander in der Weise verbunden werden, dass der rohrförmige Körper (2) in einer eingeschobenen Position an einer der Öffnung gegenüberliegenden Fläche des Speiserkopfes (1) zur Anlage gelangt und in einer herausgezogenen Position mit dem Anschlag (9) an der die Öffnung (8) umgewendeten Fläche (11) zur Anlage gelangt.
EP06707086A 2005-02-23 2006-02-20 Speiser mit beweglicher tülle Expired - Lifetime EP1850987B1 (de)

Applications Claiming Priority (2)

Application Number Priority Date Filing Date Title
DE102005008324A DE102005008324A1 (de) 2005-02-23 2005-02-23 Speiser mit beweglicher Tülle
PCT/EP2006/001504 WO2006089699A1 (de) 2005-02-23 2006-02-20 Speiser mit beweglicher tülle

Publications (2)

Publication Number Publication Date
EP1850987A1 EP1850987A1 (de) 2007-11-07
EP1850987B1 true EP1850987B1 (de) 2010-01-27

Family

ID=36202484

Family Applications (1)

Application Number Title Priority Date Filing Date
EP06707086A Expired - Lifetime EP1850987B1 (de) 2005-02-23 2006-02-20 Speiser mit beweglicher tülle

Country Status (7)

Country Link
US (1) US7934536B2 (de)
EP (1) EP1850987B1 (de)
JP (1) JP4423332B2 (de)
AT (1) ATE456408T1 (de)
DE (2) DE102005008324A1 (de)
ES (1) ES2341280T3 (de)
WO (1) WO2006089699A1 (de)

Cited By (3)

* Cited by examiner, † Cited by third party
Publication number Priority date Publication date Assignee Title
WO2014083155A1 (de) 2012-11-29 2014-06-05 Gtp Schäfer Giesstechnische Produkte Gmbh Verfahren zur herstellung eines einen exothermen speiserkorpus sowie eine isolierende aussenschale aufweisenden speisers
EP2818262A1 (de) 2013-06-27 2014-12-31 GTP-Schäfer Giesstechnische Produkte GmbH Speisereinsatz mit isoliertem Speiserfuß
DE202022105722U1 (de) 2022-10-11 2022-11-04 Ask Chemicals Gmbh Speiser mit beweglicher Tülle

Families Citing this family (17)

* Cited by examiner, † Cited by third party
Publication number Priority date Publication date Assignee Title
DE102005025701B4 (de) 2005-06-04 2007-03-08 GTP Schäfer Gießtechnische Produkte GmbH Speiser mit nachgiebigem Speiserunterteil
EP1920859A1 (de) * 2006-10-31 2008-05-14 GTP-Schäfer Giesstechnische Produkte GmbH Zweiteiliger Speisereinsatz mit nachgiebigem Speiserunterteil
DE102007061155A1 (de) 2007-12-17 2009-06-18 Gündogdu, Abdurrahman Speiser
EP2792432A1 (de) 2013-04-16 2014-10-22 Foseco International Limited Zufuhrelement
DE102013209775B3 (de) * 2013-05-27 2014-10-23 Chemex Gmbh Speisereinsatz
CN105531053A (zh) * 2013-07-02 2016-04-27 浇铸工艺产品有限责任公司 用于垂直分离的铸模的给料器插入件
JP5960106B2 (ja) * 2013-09-20 2016-08-02 曙ブレーキ工業株式会社 キャリパ用鋳造装置に用いる金型、キャリパ用鋳造装置、およびキャリパの製造方法
US9114452B2 (en) * 2013-10-21 2015-08-25 Mcconway & Torley, Llc Method and system for casting metal
DE202014003503U1 (de) 2014-04-29 2014-05-30 Berning + Söhne GmbH & Co. KG Speiser zur Befestigung an einer für das Gießen von Metallen verwendeten Gießform
GB201415516D0 (en) * 2014-09-02 2014-10-15 Foseco Int Feeder system
KR102216966B1 (ko) 2015-09-02 2021-02-19 포세코 인터내셔널 리미티드 피더 시스템
ES2992727T3 (en) 2015-09-02 2024-12-17 Foseco Int Feeder system
CN109365759B (zh) * 2018-12-20 2021-01-15 苏州石川制铁有限公司 一种轮毂轴承单元的铸造方法
DE202021106147U1 (de) 2021-11-10 2022-11-14 Ask Chemicals Gmbh Speiser
DE202023100381U1 (de) 2023-01-27 2024-01-30 Ask Chemicals Gmbh Speiser mit Deckel
AU2024278744A1 (en) 2023-06-01 2025-12-04 Foseco International Limited Feeder
DE202024100498U1 (de) * 2024-02-01 2024-04-10 Ask Chemicals Gmbh Speiser in Dosenform

Family Cites Families (6)

* Cited by examiner, † Cited by third party
Publication number Priority date Publication date Assignee Title
DE3621334C1 (en) 1986-06-26 1988-02-18 Hagenburger Chamotte Ton Method and device for the production of metallic mouldings
DE4119192A1 (de) 1991-06-11 1992-12-17 Hoesch Ag Federnder dorn zum halten von speisern
JPH08103850A (ja) 1994-09-30 1996-04-23 Kurimoto Ltd 鋳造用の押湯ネックダウンコア
DE19642838A1 (de) 1996-10-17 1997-07-31 Daimler Benz Ag Speiser für ein metallisches Gußwerkstück
DE20115140U1 (de) * 2000-11-30 2002-01-31 AS Lüngen GmbH & Co. KG, 56170 Bendorf Speiser mit einem rohrähnlichen Körper
DE10142357B4 (de) * 2001-08-30 2013-10-17 Ask Chemicals Feeding Systems Gmbh Speiser mit einem rohrähnlichen Körper

Cited By (4)

* Cited by examiner, † Cited by third party
Publication number Priority date Publication date Assignee Title
WO2014083155A1 (de) 2012-11-29 2014-06-05 Gtp Schäfer Giesstechnische Produkte Gmbh Verfahren zur herstellung eines einen exothermen speiserkorpus sowie eine isolierende aussenschale aufweisenden speisers
EP2818262A1 (de) 2013-06-27 2014-12-31 GTP-Schäfer Giesstechnische Produkte GmbH Speisereinsatz mit isoliertem Speiserfuß
DE202022105722U1 (de) 2022-10-11 2022-11-04 Ask Chemicals Gmbh Speiser mit beweglicher Tülle
WO2024079189A1 (en) 2022-10-11 2024-04-18 Ask Chemicals Gmbh Riser with a movable spout

Also Published As

Publication number Publication date
JP4423332B2 (ja) 2010-03-03
EP1850987A1 (de) 2007-11-07
WO2006089699A1 (de) 2006-08-31
JP2008531287A (ja) 2008-08-14
US7934536B2 (en) 2011-05-03
ATE456408T1 (de) 2010-02-15
US20080223543A1 (en) 2008-09-18
ES2341280T3 (es) 2010-06-17
DE102005008324A1 (de) 2006-08-24
DE502006006038D1 (de) 2010-03-18

Similar Documents

Publication Publication Date Title
EP1850987B1 (de) Speiser mit beweglicher tülle
EP1345716B1 (de) Speiser mit einem rohrähnlichen körper
EP2097193B1 (de) Speisereinsatz und speiserelement
EP1184104A1 (de) Speisereinsatz
EP3003601B2 (de) Speisereinsatz, formelement für den speisereinsatz und verfahren zum giessen von metall unter verwendung derselben
EP2982458B1 (de) Anordnung zur verwendung beim herstellen einer teilbaren giessform
DE2751231A1 (de) Einstellbare giessform
EP1732719A2 (de) Speiser mit verformbarer tülle
DE102005019385A1 (de) Filterspeiser und Verfahren zur Herstellung einer Giessform
EP2956256B1 (de) Speisereinsatz und verfahren zu dessen anordnung in einer giessform
DE10142357B4 (de) Speiser mit einem rohrähnlichen Körper
EP3727723A1 (de) Verfahren zum herstellen eines formteils sowie speisereinsatz zur verwendung in einem solchen verfahren
EP4297920B1 (de) Vertikal geteilter speiser zur verwendung beim giessen von metallen in giessformen sowie verfahren zu dessen herstellung
EP1729904A2 (de) Schirm- oder dübelspeiser
DE10059481B4 (de) Speiser mit einem rohrähnlichen Körper
DE102019104180A1 (de) Einteiliger Speiserkörper zur Verwendung beim Gießen von Metallen
EP3917698B1 (de) Einteiliger speiserkörper zur verwendung beim giessen von metallen
DE202017102321U1 (de) Speiserelement
EP1779944B1 (de) Speiseranordnung mit einem Stopfen zum Verschliessen ihrer Eintrittsöffnung
DE102014115848A1 (de) Speisereinsatz mit einem in seinem Deckelbereich angeordneten Stopfen
EP3819042A1 (de) Speisereinsatz mit federndem metallfuss
DE202024100498U1 (de) Speiser in Dosenform
DE102022106807A1 (de) Speiser und Speisersystem für Gießformen
DE202022105722U1 (de) Speiser mit beweglicher Tülle

Legal Events

Date Code Title Description
PUAI Public reference made under article 153(3) epc to a published international application that has entered the european phase

Free format text: ORIGINAL CODE: 0009012

17P Request for examination filed

Effective date: 20070905

AK Designated contracting states

Kind code of ref document: A1

Designated state(s): AT BE BG CH CY CZ DE DK EE ES FI FR GB GR HU IE IS IT LI LT LU LV MC NL PL PT RO SE SI SK TR

DAX Request for extension of the european patent (deleted)
GRAP Despatch of communication of intention to grant a patent

Free format text: ORIGINAL CODE: EPIDOSNIGR1

RAP1 Party data changed (applicant data changed or rights of an application transferred)

Owner name: AS LUENGEN GMBH

GRAS Grant fee paid

Free format text: ORIGINAL CODE: EPIDOSNIGR3

GRAA (expected) grant

Free format text: ORIGINAL CODE: 0009210

AK Designated contracting states

Kind code of ref document: B1

Designated state(s): AT BE BG CH CY CZ DE DK EE ES FI FR GB GR HU IE IS IT LI LT LU LV MC NL PL PT RO SE SI SK TR

REG Reference to a national code

Ref country code: GB

Ref legal event code: FG4D

Free format text: NOT ENGLISH

REG Reference to a national code

Ref country code: CH

Ref legal event code: EP

REG Reference to a national code

Ref country code: IE

Ref legal event code: FG4D

REF Corresponds to:

Ref document number: 502006006038

Country of ref document: DE

Date of ref document: 20100318

Kind code of ref document: P

REG Reference to a national code

Ref country code: NL

Ref legal event code: VDEP

Effective date: 20100127

REG Reference to a national code

Ref country code: ES

Ref legal event code: FG2A

Ref document number: 2341280

Country of ref document: ES

Kind code of ref document: T3

LTIE Lt: invalidation of european patent or patent extension

Effective date: 20100127

PG25 Lapsed in a contracting state [announced via postgrant information from national office to epo]

Ref country code: PT

Free format text: LAPSE BECAUSE OF FAILURE TO SUBMIT A TRANSLATION OF THE DESCRIPTION OR TO PAY THE FEE WITHIN THE PRESCRIBED TIME-LIMIT

Effective date: 20100527

Ref country code: NL

Free format text: LAPSE BECAUSE OF FAILURE TO SUBMIT A TRANSLATION OF THE DESCRIPTION OR TO PAY THE FEE WITHIN THE PRESCRIBED TIME-LIMIT

Effective date: 20100127

Ref country code: LT

Free format text: LAPSE BECAUSE OF FAILURE TO SUBMIT A TRANSLATION OF THE DESCRIPTION OR TO PAY THE FEE WITHIN THE PRESCRIBED TIME-LIMIT

Effective date: 20100127

Ref country code: IS

Free format text: LAPSE BECAUSE OF FAILURE TO SUBMIT A TRANSLATION OF THE DESCRIPTION OR TO PAY THE FEE WITHIN THE PRESCRIBED TIME-LIMIT

Effective date: 20100527

REG Reference to a national code

Ref country code: IE

Ref legal event code: FD4D

BERE Be: lapsed

Owner name: AS LUNGEN G.M.B.H.

Effective date: 20100228

PG25 Lapsed in a contracting state [announced via postgrant information from national office to epo]

Ref country code: FI

Free format text: LAPSE BECAUSE OF FAILURE TO SUBMIT A TRANSLATION OF THE DESCRIPTION OR TO PAY THE FEE WITHIN THE PRESCRIBED TIME-LIMIT

Effective date: 20100127

Ref country code: LV

Free format text: LAPSE BECAUSE OF FAILURE TO SUBMIT A TRANSLATION OF THE DESCRIPTION OR TO PAY THE FEE WITHIN THE PRESCRIBED TIME-LIMIT

Effective date: 20100127

Ref country code: PL

Free format text: LAPSE BECAUSE OF FAILURE TO SUBMIT A TRANSLATION OF THE DESCRIPTION OR TO PAY THE FEE WITHIN THE PRESCRIBED TIME-LIMIT

Effective date: 20100127

Ref country code: SI

Free format text: LAPSE BECAUSE OF FAILURE TO SUBMIT A TRANSLATION OF THE DESCRIPTION OR TO PAY THE FEE WITHIN THE PRESCRIBED TIME-LIMIT

Effective date: 20100127

REG Reference to a national code

Ref country code: CH

Ref legal event code: PL

PG25 Lapsed in a contracting state [announced via postgrant information from national office to epo]

Ref country code: SE

Free format text: LAPSE BECAUSE OF FAILURE TO SUBMIT A TRANSLATION OF THE DESCRIPTION OR TO PAY THE FEE WITHIN THE PRESCRIBED TIME-LIMIT

Effective date: 20100127

Ref country code: RO

Free format text: LAPSE BECAUSE OF FAILURE TO SUBMIT A TRANSLATION OF THE DESCRIPTION OR TO PAY THE FEE WITHIN THE PRESCRIBED TIME-LIMIT

Effective date: 20100127

Ref country code: CH

Free format text: LAPSE BECAUSE OF NON-PAYMENT OF DUE FEES

Effective date: 20100228

Ref country code: CY

Free format text: LAPSE BECAUSE OF FAILURE TO SUBMIT A TRANSLATION OF THE DESCRIPTION OR TO PAY THE FEE WITHIN THE PRESCRIBED TIME-LIMIT

Effective date: 20100127

Ref country code: MC

Free format text: LAPSE BECAUSE OF NON-PAYMENT OF DUE FEES

Effective date: 20100301

Ref country code: LI

Free format text: LAPSE BECAUSE OF NON-PAYMENT OF DUE FEES

Effective date: 20100228

Ref country code: IE

Free format text: LAPSE BECAUSE OF FAILURE TO SUBMIT A TRANSLATION OF THE DESCRIPTION OR TO PAY THE FEE WITHIN THE PRESCRIBED TIME-LIMIT

Effective date: 20100127

Ref country code: GR

Free format text: LAPSE BECAUSE OF FAILURE TO SUBMIT A TRANSLATION OF THE DESCRIPTION OR TO PAY THE FEE WITHIN THE PRESCRIBED TIME-LIMIT

Effective date: 20100428

Ref country code: EE

Free format text: LAPSE BECAUSE OF FAILURE TO SUBMIT A TRANSLATION OF THE DESCRIPTION OR TO PAY THE FEE WITHIN THE PRESCRIBED TIME-LIMIT

Effective date: 20100127

PG25 Lapsed in a contracting state [announced via postgrant information from national office to epo]

Ref country code: SK

Free format text: LAPSE BECAUSE OF FAILURE TO SUBMIT A TRANSLATION OF THE DESCRIPTION OR TO PAY THE FEE WITHIN THE PRESCRIBED TIME-LIMIT

Effective date: 20100127

Ref country code: BG

Free format text: LAPSE BECAUSE OF FAILURE TO SUBMIT A TRANSLATION OF THE DESCRIPTION OR TO PAY THE FEE WITHIN THE PRESCRIBED TIME-LIMIT

Effective date: 20100427

Ref country code: CZ

Free format text: LAPSE BECAUSE OF FAILURE TO SUBMIT A TRANSLATION OF THE DESCRIPTION OR TO PAY THE FEE WITHIN THE PRESCRIBED TIME-LIMIT

Effective date: 20100127

PLBE No opposition filed within time limit

Free format text: ORIGINAL CODE: 0009261

STAA Information on the status of an ep patent application or granted ep patent

Free format text: STATUS: NO OPPOSITION FILED WITHIN TIME LIMIT

26N No opposition filed

Effective date: 20101028

PG25 Lapsed in a contracting state [announced via postgrant information from national office to epo]

Ref country code: DK

Free format text: LAPSE BECAUSE OF FAILURE TO SUBMIT A TRANSLATION OF THE DESCRIPTION OR TO PAY THE FEE WITHIN THE PRESCRIBED TIME-LIMIT

Effective date: 20100127

PG25 Lapsed in a contracting state [announced via postgrant information from national office to epo]

Ref country code: BE

Free format text: LAPSE BECAUSE OF NON-PAYMENT OF DUE FEES

Effective date: 20100228

REG Reference to a national code

Ref country code: DE

Ref legal event code: R082

Ref document number: 502006006038

Country of ref document: DE

Representative=s name: MUELLER SCHUPFNER & PARTNER PATENT- UND RECHTS, DE

REG Reference to a national code

Ref country code: DE

Ref legal event code: R082

Ref document number: 502006006038

Country of ref document: DE

Representative=s name: MUELLER SCHUPFNER & PARTNER PATENT- UND RECHTS, DE

Effective date: 20120203

Ref country code: DE

Ref legal event code: R081

Ref document number: 502006006038

Country of ref document: DE

Owner name: ASK CHEMICALS FEEDING SYSTEMS GMBH, DE

Free format text: FORMER OWNER: AS LUENGEN GMBH, 56170 BENDORF, DE

Effective date: 20120203

PG25 Lapsed in a contracting state [announced via postgrant information from national office to epo]

Ref country code: LU

Free format text: LAPSE BECAUSE OF NON-PAYMENT OF DUE FEES

Effective date: 20100220

Ref country code: HU

Free format text: LAPSE BECAUSE OF FAILURE TO SUBMIT A TRANSLATION OF THE DESCRIPTION OR TO PAY THE FEE WITHIN THE PRESCRIBED TIME-LIMIT

Effective date: 20100728

REG Reference to a national code

Ref country code: AT

Ref legal event code: MM01

Ref document number: 456408

Country of ref document: AT

Kind code of ref document: T

Effective date: 20110220

PG25 Lapsed in a contracting state [announced via postgrant information from national office to epo]

Ref country code: AT

Free format text: LAPSE BECAUSE OF NON-PAYMENT OF DUE FEES

Effective date: 20110220

REG Reference to a national code

Ref country code: FR

Ref legal event code: PLFP

Year of fee payment: 11

REG Reference to a national code

Ref country code: FR

Ref legal event code: PLFP

Year of fee payment: 12

REG Reference to a national code

Ref country code: FR

Ref legal event code: PLFP

Year of fee payment: 13

P01 Opt-out of the competence of the unified patent court (upc) registered

Effective date: 20230517

PGFP Annual fee paid to national office [announced via postgrant information from national office to epo]

Ref country code: ES

Payment date: 20240319

Year of fee payment: 19

PGFP Annual fee paid to national office [announced via postgrant information from national office to epo]

Ref country code: GB

Payment date: 20240222

Year of fee payment: 19

PGFP Annual fee paid to national office [announced via postgrant information from national office to epo]

Ref country code: IT

Payment date: 20240229

Year of fee payment: 19

Ref country code: FR

Payment date: 20240222

Year of fee payment: 19

PGFP Annual fee paid to national office [announced via postgrant information from national office to epo]

Ref country code: DE

Payment date: 20250218

Year of fee payment: 20

PGFP Annual fee paid to national office [announced via postgrant information from national office to epo]

Ref country code: TR

Payment date: 20250212

Year of fee payment: 20

GBPC Gb: european patent ceased through non-payment of renewal fee

Effective date: 20250220

PG25 Lapsed in a contracting state [announced via postgrant information from national office to epo]

Ref country code: GB

Free format text: LAPSE BECAUSE OF NON-PAYMENT OF DUE FEES

Effective date: 20250220

PG25 Lapsed in a contracting state [announced via postgrant information from national office to epo]

Ref country code: IT

Free format text: LAPSE BECAUSE OF NON-PAYMENT OF DUE FEES

Effective date: 20250220

Ref country code: FR

Free format text: LAPSE BECAUSE OF NON-PAYMENT OF DUE FEES

Effective date: 20250228