EP1585359B1 - Fernsteuerung von phantomgespeisten Mikrofonen - Google Patents
Fernsteuerung von phantomgespeisten Mikrofonen Download PDFInfo
- Publication number
- EP1585359B1 EP1585359B1 EP04450074.2A EP04450074A EP1585359B1 EP 1585359 B1 EP1585359 B1 EP 1585359B1 EP 04450074 A EP04450074 A EP 04450074A EP 1585359 B1 EP1585359 B1 EP 1585359B1
- Authority
- EP
- European Patent Office
- Prior art keywords
- microphone
- voltage
- frequency
- power supply
- audio
- Prior art date
- Legal status (The legal status is an assumption and is not a legal conclusion. Google has not performed a legal analysis and makes no representation as to the accuracy of the status listed.)
- Expired - Lifetime
Links
- 238000000034 method Methods 0.000 claims description 24
- 239000002775 capsule Substances 0.000 claims description 20
- 239000004020 conductor Substances 0.000 claims description 20
- 230000005236 sound signal Effects 0.000 claims description 14
- 230000004044 response Effects 0.000 claims description 2
- 230000010287 polarization Effects 0.000 description 46
- 230000033228 biological regulation Effects 0.000 description 42
- 239000003990 capacitor Substances 0.000 description 23
- 230000035945 sensitivity Effects 0.000 description 14
- 238000010586 diagram Methods 0.000 description 10
- 239000012528 membrane Substances 0.000 description 9
- 230000001105 regulatory effect Effects 0.000 description 9
- 238000012937 correction Methods 0.000 description 8
- 230000006870 function Effects 0.000 description 6
- 230000006978 adaptation Effects 0.000 description 5
- 230000008901 benefit Effects 0.000 description 5
- 238000012546 transfer Methods 0.000 description 5
- 230000005540 biological transmission Effects 0.000 description 4
- 238000001914 filtration Methods 0.000 description 4
- 230000008569 process Effects 0.000 description 4
- 230000032683 aging Effects 0.000 description 3
- 238000006243 chemical reaction Methods 0.000 description 3
- 238000005516 engineering process Methods 0.000 description 3
- 238000005259 measurement Methods 0.000 description 3
- 238000004804 winding Methods 0.000 description 3
- 230000008878 coupling Effects 0.000 description 2
- 238000010168 coupling process Methods 0.000 description 2
- 238000005859 coupling reaction Methods 0.000 description 2
- 230000007423 decrease Effects 0.000 description 2
- 230000000694 effects Effects 0.000 description 2
- 238000004519 manufacturing process Methods 0.000 description 2
- 230000010355 oscillation Effects 0.000 description 2
- 230000009471 action Effects 0.000 description 1
- 230000003321 amplification Effects 0.000 description 1
- 238000004364 calculation method Methods 0.000 description 1
- 230000008859 change Effects 0.000 description 1
- 230000001419 dependent effect Effects 0.000 description 1
- 238000013461 design Methods 0.000 description 1
- 238000011161 development Methods 0.000 description 1
- 230000018109 developmental process Effects 0.000 description 1
- 238000011156 evaluation Methods 0.000 description 1
- 238000010348 incorporation Methods 0.000 description 1
- 230000002452 interceptive effect Effects 0.000 description 1
- 238000012986 modification Methods 0.000 description 1
- 230000004048 modification Effects 0.000 description 1
- 238000003199 nucleic acid amplification method Methods 0.000 description 1
- 230000001151 other effect Effects 0.000 description 1
- 230000010363 phase shift Effects 0.000 description 1
- 230000008092 positive effect Effects 0.000 description 1
- 230000009467 reduction Effects 0.000 description 1
- 230000008054 signal transmission Effects 0.000 description 1
- 230000000087 stabilizing effect Effects 0.000 description 1
- 230000001629 suppression Effects 0.000 description 1
- 238000012795 verification Methods 0.000 description 1
- 230000003313 weakening effect Effects 0.000 description 1
Images
Classifications
-
- H—ELECTRICITY
- H04—ELECTRIC COMMUNICATION TECHNIQUE
- H04R—LOUDSPEAKERS, MICROPHONES, GRAMOPHONE PICK-UPS OR LIKE ACOUSTIC ELECTROMECHANICAL TRANSDUCERS; DEAF-AID SETS; PUBLIC ADDRESS SYSTEMS
- H04R1/00—Details of transducers, loudspeakers or microphones
- H04R1/02—Casings; Cabinets ; Supports therefor; Mountings therein
- H04R1/04—Structural association of microphone with electric circuitry therefor
Definitions
- the invention relates to a circuit for the remote control of microphones.
- the power supply of microphones is conventionally provided by a power supply source, for example, using a mixer.
- a power supply source for example, using a mixer.
- the positive pole of the feed voltage is applied through two identical feeder resistances through two cable conductors of the audio cable.
- the return of the current occurs through a third conductor connected to pin 1 of an XLR plug.
- the current consumption of the microphone should be as small as possible to prevent an excessively large voltage drop at the feeder resistances.
- the maximum current consumption with 48-V capacitor microphones is 10 mA.
- the phantom power supply is here standardized according to DIN EN 61938 (formerly IEC 268).
- the microphone membrane To generate the polarization voltage on the microphone membrane, whose value is usually in the range of 20-100 volts dc, one uses primarily combinatorial circuit parts or voltage converters.
- the remaining microphone electronics are usually supplied with power by a linear regulation, which maintains either the supply feed voltage or the supply current at a predetermined value.
- this type of power supply is appropriate.
- the linear regulation becomes problematic when the power consumption in the microphone increases, for example, by the use of processors, A/D converters, LED displays, etc. In this case, a large portion of the energy that is made available by the phantom power supply is destroyed in the linear regulation elements.
- the phantom power supply since, according to the standard, the phantom power supply is limited in its current by the feeder resistances, the maximum supply voltage for the audio amplifier immediately decreases due to the linear regulation in the microphone, which results in a reduction of the maximal audio output voltage of the microphone.
- microphones there is an increasing need to be able to regulate or to change important microphone parameters via remote control. These parameters include the polarization voltage on the membrane and the associated sensitivity of the capacitor microphone, the directional characteristic of the microphone, the type of the phantom power supply (12 V, 24 V or 48 V), a series number, calibration data from the manufacturer, as well as a weakening of the signal and a connectable filter for the audio signal.
- DE 3 933 870 A1 discloses a method for the remote control of microphone parameters, such as directional characteristic, step sound filter, or preliminary damning.
- the supply voltage transferred to the cable conductor is regulated via a remote control unit, for example, in the mixing table, in such a manner that its amount represents control information for the microphone.
- the supply voltage is uncoupled and applied to an evaluation circuit, which generates a control signal as a function of the amount of the supply voltage.
- the power made available by the phantom power supply is optimally used and converted into the operational voltages required for the individual output receives, such as audio amplifier, microphone capsule, processors, controller, A/D converter, LED displays, etc.
- the goal is to be able to use as large as possible a proportion of the power made available by the phantom power supply for supplying the audio amplifier.
- a microphone comprising a power supply circuit for the individual power receivers, which microphone is characterized in that the power supply circuit comprises a control unit that converts the direct current transmitted via the cable conductors of the audio cable into an alternating current, a transformer connected to the control unit, and supply loops for the individual power receivers, where supply loops are inductively coupled by means of separate windings on the transformer to the alternating current generated by the control unit and to each other.
- a power supply circuit for example, a DC/DC converter, which has the following properties.
- the power supply circuit is regulated or operated in such a manner that there is a power adaptation to the phantom power unit. Therefore, the maximum possible power that the phantom power unit makes available can always be consumed by the power supply circuit of the microphone.
- the primary current consumption of the power supply circuit is constant. The power supply circuit therefore behaves, with the respect to the phantom power unit, as a constant-current sink.
- the individual supply loops for the individual power receivers are uncoupled in the power supply circuit by means of a transformer, to satisfy the different requirements of the individual power receivers: high voltages and small currents for polarization voltage, moderate voltage, and moderate current consumption for the audio amplifier, as well as small voltages and large currents for the digital electronics, with as little power loss as possible.
- a capacitor microphone according to the invention uses the presented power supply concept, the electrical power made available by the phantom power unit is optimally used.
- microphones can be fitted with new functions (for example, remote control, new operating concept, automatic compensation possibilities, etc.) while the maximal audio output voltage of the microphone remains the same.
- the generation of the essentially power-free polarization voltage occurs practically as a secondary product by a simple additional winding on the transformer.
- An additional advantage is that as a result of the use of as high an ohm level as possible, with a constant power source at the input of the power supply circuit, the switch ripple of the power supply circuit or of the DC/DC converter can very easily be filtered out.
- a frequency-modulated voltage is overlaid on the supply voltage of the phantom power supply.
- a data transfer occurs from a transmitter, which is arranged, for example, in the mixing table or in a device before the mixing table, via the audio lines to the microphone.
- the carrier frequency for the FSK modulation here is higher than the audio frequency range to be transmitted by the microphone.
- the carrier frequencies for the modulation are preferably approximately 100 kHz, and they can be separated from the audio signal using filters.
- a capacitor microphone characterized in that the capacitor microphone comprises at least one circuit for regulating the polarization voltage, where the circuit for the regulation of the polarization voltage comprises an analog regulation loop supplied with an unregulated voltage, and a digital regulation loop, in that the digital regulation loop comprises a control electronics, for example a microcontroller or a CPLD, that provides, to the analog regulation loop, a desired value for the polarization voltage, which is calculated using correction factors, and in that, for the purpose of feedback, the output of the analog regulation loop is connected with a control electronics.
- the capacitor microphone comprises at least one circuit for regulating the polarization voltage
- the circuit for the regulation of the polarization voltage comprises an analog regulation loop supplied with an unregulated voltage
- a digital regulation loop in that the digital regulation loop comprises a control electronics, for example a microcontroller or a CPLD, that provides, to the analog regulation loop, a desired value for the polarization voltage, which is calculated using correction factors, and in that, for the purpose of feedback, the output of the analog regulation loop is
- the polarization voltage is adjusted by a voltage regulation loop that is integrated in the microphone.
- the desired value of the polarization voltage is preestablished in this circuit via a D/A converter by a control electronics.
- the desired value of the polarization voltage can also be transmitted by remote control to the control electronics.
- the tolerance of the obtained polarization voltage now depends on the tolerance and the thermal behavior of a reference voltage source.
- the regulation of the polarization voltage via a digitally controlled regulation loop in the microphone allows a very precise, interference-resistant, and remote-controllable adjustment of the polarization voltage of capacitor microphones.
- the remote-controllable adjustment of the polarization voltage has the advantage that readjustments by fixed resistances or trim resistances are no longer necessary; this fact has a positive effect with respect to cost.
- the different microphone sensitivities can be compensated for and the required correction factors needed to compensate the polarization voltage can be stored.
- the polarization voltage can be calibrated during an acoustical measurement with closed microphone, and correction factors can again be stored.
- the microphone can acoustically follow moving actors, for example, in the performance of an opera.
- a capacitor microphone according to the invention allows an aging-caused recalibration of the microphone sensitivity, without having to disassemble the microphone, which again means a cost saving for the customer.
- the original sensitivity of the microphone can thus be readjusted later, that is, after the incorporation, by remote control.
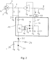
- Fig. 1 is a block diagram that shows the principal components of a microphone according to the invention.
- the phantom power supply of the microphone shown in Fig. 5 , is carried out by a phantom supply unit 31 through feeder resistances 32, 33 of identical magnitude, which are arranged behind the 3-pole plug 4, for example, an XLR plug, in or before the mixing table.
- a phantom power supply is shown in Fig. 5 .
- the associated values of the feeder resistances for a 12-V, 24-V, or 48-V supply are 680 S2, 1.2 kS2, or 6.8 k ⁇ , respectively.
- the lines 1 and 2 here represent cable conductors supplied by the phantom supply unit; line 3 represents the ground line that is usually connected to the grounded cable shielding.
- line 3 represents the ground line that is usually connected to the grounded cable shielding.
- the resistances 5 and 6 are the feeder resistances in the microphone. They are used for decoupling the power supply of the microphone from the output of the audio amplifier 10.
- the feeder resistances of the microphones 5 and 6 are assigned as additional internal resistances of the phantom power supply 31. Power adaptation exists when the internal resistance of the phantom power unit is identical to the internal resistance of the power supply circuit 11 in the microphone.
- the power supply circuit 11 comprises a power source 13, a control unit 12, and a transformer 14 connected to the control unit 12.
- the control unit 12 with the transformer 14 forms a circuit unit, where the DC voltage is converted into AC voltage.
- the transformer is a part of the oscillation generating circuit.
- alternating current can also be generated by the control unit 12 independently of the transformer.
- the control unit 12 then consists of an oscillating circle that is independent of the transformer, and which generates alternating current.
- the transformer only serves the function of converting the alternating current into the individual output voltages.
- the AC signal has a frequency in the range of 100-130 kHz.
- the AC signal can also be freely oscillating; this represents the simplest embodiment possibility for such a circuit.
- the only important factor is that the frequency range of the AC signal must lie outside of the audio frequency range in order to not produce any interferences with the audio signal, which interferences cannot be eliminated by simple filtering.
- the frequency should also not be too high, because otherwise the degree of efficiency of the circuit decreases and transmission interferences can be expected.
- An additional advantage of using a frequency of 100-130 kHz is that this frequency can also be used as cycle pulse for a control electronics 39 that is provided in the microphone. As a result, the interfering signals generated by digital technology are minimized, because no additional mixed products are produced between the digital cycle time and the oscillation frequency of the DC/DC converter.
- the produced AC signal is applied to a transformer 14.
- a transformer 14 As a result of the individually separated windings on the transformer, separate current loops 15, 16, 17 are produced for supplying the individual energy-consuming parts.
- This uncoupling allows, with as small as possible a power loss, the simultaneous supply of consumers that require high voltages but low current, as well as consumers with high current consumption and low voltage.
- the diodes 18, 19, 20 and the capacitors 21, 22, 23 in the individual supply loops 15, 16, 17 represent a rectifier circuit for converting AC voltage into DC voltage.
- Supply loop 16 serves to supply the microphone capsule 9 with the polarization voltage, which is applied via a resistance 8 to the microphone capsule 9.
- the invention is of course not restricted to capacitor microphones, since any kind of microphones, in particular dynamic microphones, can be connected to a phantom power supply.
- the individual power receivers are supplied by the phantom power unit in the same way as shown in Figs. 1 and 2 . But in the case of dynamic microphones a polarisation voltage is not necessary, therefore supply loop 16 is not needed.
- a constant-current generator 13 at the input of the DC/DC converter ensures a constant primary current uptake.
- the constant-current generator 13, with respect to the phantom power unit 31, behaves like a constant-current sink and it represents a constant-current generator for the power supply circuit 11.
- An electrical component of this type is very well known to a person skilled in the art who is familiar with the state of the art. Circuit examples for constant-current generators from the state of the art are shown in Figs. 3 and 4. Fig.
- FIG. 3 shows a "transistor LED” constant-current generator with a bipolar transistor.
- the LED With this current generator, the LED is operated in the flow direction. As a result, a constant voltage is applied to the LED, with such a voltage also being applied to the series connection of the base emitter diode of the transistor with the emitter resistance.
- the circuit in Fig. 4 contains a constant-current generator with two counter coupled degenerated transistors 28, 29 with an additional integrated constant-current generator 30.
- This circuit is preferred because of better properties in view of a constant-current and a higher starting resistance.
- the current generator 30, at the preliminary resistance Rc generates a voltage drop that is equal to the voltage drop U Rc at the emitter resistance Re of the transistor 28.
- the transistor 29 forms, with transistor 28, a counter coupled degenerate system that ensures identical voltage drops at the resistances Rc and Re. As a result, the current I of the current generator is also kept constant.
- the current of the current generator 30 is therefore smaller by a factor of 100 than the constant-current that finally flows into the DC/DC converter 11.
- constant-current generators can also be provided, for example, a current generator with an inverted operation amplifier, Howland current generators, etc.
- the supply voltage generated by the power supply circuit 11 for the audio amplifier 10 is not regulated in a preferred embodiment.
- a regulation circuit 47, 48 is provided between diode 18 and resistance 8, comprising of a digital regulation loop 47 and an analog regulation loop 48, provided for the polarization voltage applied to the microphone capsule 9.
- Fig. 6 in combination with Fig. 7 illustrates such a preferably remote controllable, regulation circuit 47, 48.
- the control signals required for the regulation of the polarization voltage can be transmitted through at least one of the two cable conductors 1, 2.
- the detailed structure and the method of operation of such a regulation circuit 47, 48 are described further below.
- no regulation circuit is provided in the supply loop 15 for the audio amplifier 10.
- the entire power - which is not used for other circuit parts, such as processors, control electronics 39, polarization voltage at the microphone capsule 9, A/D or D/A converter 44, 46, LED displays 25 - is available for the audio amplifier 10.
- a high maximal audio output voltage can be achieved in a current-saving design of the audio amplifier 10, to achieve a high maximal audio output voltage.
- the supply voltage for the audio amplifier 10 as a result can also exceed the voltage made available by the phantom power supply. Because of the method of action of the power supply circuit 11, it is also possible to produce very simple positive and negative supply voltages for the audio amplifier 10. As a result, the audio amplifier 10 can also use grounding as the rest potential. The supply feed voltage of the audio amplifier (10) can therefore be symmetrically with respect to the grounding.
- the DC/DC converter 11 of the above described type works with a degree of efficiency of approximately 82%. Because, even in the most advantageous case, power is lost at DC/DC converters, it is advantageous to series-connect, if possible, the consumers to the DC/DC converter. As a result of the use of a constant-current generator 13, it is easily possible to connect consumers with constant-current consumption, for example, a logic supply 24, to make available a fixed direct current, for example, for a control electronics 39, or LED display 25, A/D or D/A converter 44, 46, etc., in series to the DC/DC converter 11.
- constant-current generator 13 it is easily possible to connect consumers with constant-current consumption, for example, a logic supply 24, to make available a fixed direct current, for example, for a control electronics 39, or LED display 25, A/D or D/A converter 44, 46, etc., in series to the DC/DC converter 11.
- FIG. 2 A corresponding embodiment of the power supply circuit 11 is shown in Fig. 2 .
- the difference, compared to Fig. 1 is that only the polarization voltage and the voltage for the audio amplifier 10 are generated through the DC/DC converter.
- the other consumers like the logic supply 24 for making available a fixed predetermined direct current, for example, for a control electronics 39, or LED displays 25, are series-connected to the DC/DC converter.
- the series-connected DC/DC converter 11 for the digital supply acts as an active load resistance, where the energy used at this resistance is not converted into heat but, in a majority proportion, is converted to a usable supply power for the audio amplifier 10 and the polarization voltage on the microphone capsule 9.
- a Zener diode 27 is provided, which is particularly well suited for stabilizing the voltage. Through this diode 27, any current that is not consumed, but delivered by the constant-current generator 13, is released to the grounding. In principle, one can use, instead of the Zener diode 27, any other constant-current generator or a shunt regulator.
- the released power is the product of the current of the constant-current generator 13 and the voltage applied to the power supply circuit 11.
- the entire voltage is applied to the DC/DC converter 11 and all the voltages are generated through the DC/DC converter.
- the voltage is divided into a portion that is applied to the DC/DC converter 11 and a second portion that is applied to the LEDs 25 and the digital supply.
- the DC/DC converter represents an active preliminary resistance for the LEDs 25 or the digital supply. Since the current consumption of the digital supply is not constant, but the current I is kept constant by the current generator 13, the excess current that exists, depending on the state of operation of the digital electronics, has to be bled off through the Zener diode 27.
- the power P I x voltage available at the DC/DC converter x degree of efficiency of the DC/DC converter is available.
- the power P I x voltage at the digital electronics and LEDs is available.
- the current consumption of the audio amplifier 10, in the uncontrolled state is approximately 0.8 mA
- the current consumption of the digital electronics is approximately 4.2 mA.
- the current generator 13 delivers a constant-current of approximately 4.7 mA.
- This voltage is much higher than the voltage of 24 V delivered by the phantom power supply unit 31 during power adaptation.
- the polarization voltage is also generated on the membrane of the capsule 9, the value of the supply voltage of the audio amplifier 10, which is actually reached, is slightly lower than this value, but still much higher than the 24 V available without the DC/DC converter.
- Fig. 5 shows a microphone 54, which is connected with a transmitter or a remote control unit 55.
- the remote control of important microphone parameters here occurs directly through the audio cable, that is, through the lines 1, 2.
- the control unit 55 is preferably on the mixer, or arranged in front of it.
- a microcontroller 35 with a parameter control input 34 controls a frequency modulator 36, which feeds a frequency-modulated signal with the same level into the two cable conductors 1, 2 of the audio cable.
- the frequency-modulated signal can then be suppressed as a common mode signal in the input-difference amplifier 42.
- a supply voltage of a phantom power unit 31 is applied through the feeder resistances 32, 33 to the two cable conductors 1, 2.
- the frequency-modulated signal is applied to only one of the conductors of the audio cable, namely, to the conductor 2, which is not intended for the audio signal.
- the frequency-modulated signal is generated by FSK (frequency shift keying) or CPFSK (continuous phase FSK). Both modulations are procedures that are known from digital data transfer technology. In principle, it also possible to use ASK (amplitude shifting keying) or PSK (phase shift keying) modulation. However, ASK is much more likely to be subject to interferences, and PSK modulation is more difficult to carry out from the point of view of circuit technology. In contrast to the known applications of the above-mentioned methods, in the case of use in microphones, the crucial factor is that the modulated signal has to be separated from an analog signal, the audio signal.
- FSK frequency shift keying
- CPFSK continuous phase FSK
- the frequency-modulated voltage is separated by means of a filter 37, for example, a band pass filter, from the audio signals, and the control information contained therein is evaluated by means of a control electronics 39, for example a microcontroller or a CPLD (Complex Programmable Logic Device). Cable conductor 2 is uncoupled through a capacitance 43 from the grounding.
- the control electronics 39 is connected in front of a comparator 38 which functions as a voltage comparator. Commands through the outputs of the control electronics 39, for example, reach a power supply circuit 11, as can be seen in Figs. 1 and 2 , the audio amplifier 10, processors, control electronics 39, A/D or D/A converters 44, 46, etc.
- the frequency modulation on the two audio lines 1, 2 is carried out in the remote control unit 55, which is preferably located close to the mixing table.
- the remote control unit 55 on the one hand, the carrier frequency has to be applied in the direction toward the microphone 54, and, on the other hand, in the direction of the mixing table, all modulation frequencies have to be suppressed. Only the audio signals that come from the microphone 54 must be transmitted. To make the suppression of the modulation frequencies simpler, the modulation is carried out on both audio lines 1, 2 with the same level.
- the frequency-modulated signal appears as a common mode signal for the input-difference amplifier 42 and thus it can, as a common mode signal, be appropriately suppressed.
- the frequency modulation occurs only in the line that does not transit an audio signal, that is, line 2.
- the frequency-modulated signals can be eliminated by filtering through a low-pass filter 41.
- the data-acknowledge message can also be a frequency-modulated signal.
- the data-acknowledge message for the function of the remote control is not absolutely necessary; however, it increases the reliability of the system at the cost of additional electronics.
- Fig. 6 shows a capacitor microphone according to the invention, in which the regulation of the polarization voltage occurs by means of a two-step control regulation loop.
- a second digital regulation loop 47 is overlain above an internal analog regulation loop 48.
- a preferably frequency-modulated signal with control information which is transmitted through the cable conductors, which are also connected to the phantom power unit 31, reaches the control electronics 39 through a filter 37 and a comparator 38.
- the control of the control electronics 39 can also occur via regulating devices or operating elements on the microphone itself. It is also possible, that the control electronics is connected to a radio or an infrared interface for the purpose wireless transmission or to a cable interface.
- the desired value obtained in the control signal for the polarization voltage is delivered to the analog regulation 48 via a D/A converter 46 by the control electronics 39.
- Fig. 7 is an embodiment example, showing how the control electronics 39, which is for example a microcontroller or a CPLD, plus D/A converter or PWM 46 acts on an analog regulation loop 48.
- the analog regulation loop 48 comprises a regulation circuit 56 and a voltage divider 49, 50. The details of the regulation circuit 56 or of the overall analog regulation loop 48 are shown in Fig. 7 .
- the analog regulation loop 48 is preferably supplied by a power supply circuit 11 with an unregulated voltage of approximately 100-120 V.
- the DC/DC converter can be of the same type as described above, or represented in Figs 1 and 2 .
- the resistances 5 and 6 are the feeder resistances in the microphone. They are used for uncoupling the power supply of the microphone from the output of the audio amplifier 10.
- the resistances 5 and 6 are identical in size to preserve the symmetry of the lines 1 and 2.
- the invention is of course not restricted to phantom power supplied capacitor microphones.
- the energy supply for the individual power receivers of the capacitor microphone can, for example, also be carried out by a battery located in the microphone.
- the desired value provided by the D/A converter or the PWM 46, or, more precisely, the correction value for the polarization voltage, is compared with the actual value via the operation amplifier 52.
- the desired value is calculated from calibration data measured during the manufacture of the microphone and programmed into the control electronics.
- As a reference value for this calculation one uses either an exact reference voltage 45 on the conductor or a reference voltage programmed during the print measurement into the control electronics.
- the reference voltage 45 can be made available, for example, by a logic supply 24.
- Such a logic supply 24, which is preferably fed by a DC/DC converter 11, not shown in Fig. 7 is shown in Figs. 1 and 2 .
- a preferred embodiment provides a low pass filter 51 between D/A converter or PWM 46 and the input of the analog regulation loop 48, as represented in Fig. 7 .
- the actual value generated by the analog regulation loop 48 is taken up through a voltage divider 49, 50 and applied via an impedance converter 53 to the inverted input of the operation amplifier 52.
- the feedback line plus impedance converter is not included in the schematic drawing of Fig. 6 .
- this voltage is also applied to the input of an A/C converter 44 of the digital regulation loop 47.
- the resulting digital signal is made available to the control electronics 39 as feedback. As a result, the outer digital regulation loop 47 is closed.
- the voltage divider through which the actual value is taken up, is represented by the resistances 49, 50.
- A/D converter 44, control electronics 39, as well as D/A converter 46 can also be integrated in a single component.
- the correction voltages or the corresponding correction factors that are required to calculate a regulated and interference-free polarization voltage can correspond to different settings, which reflect certain sensitivities, guide characteristics, and aging parameters; they can be stored in a memory provided in the control electronics 39, and called up at any time.
- the invention is not limited to the individual embodiment examples. Naturally, it is also conceivable to use microphones in which all or at least some of the above-described circuits are combined.
- a remote control for all remote-controllable components can be provided in the microphone; also, the power supply circuit 11 can supply all conceivable power receivers in the microphone.
Landscapes
- Physics & Mathematics (AREA)
- Engineering & Computer Science (AREA)
- Acoustics & Sound (AREA)
- Signal Processing (AREA)
- Circuit For Audible Band Transducer (AREA)
- Electrostatic, Electromagnetic, Magneto- Strictive, And Variable-Resistance Transducers (AREA)
- Selective Calling Equipment (AREA)
Claims (10)
- Verfahren für eine Fernsteuerung eines Mikrofons, das mindestens eine Mikrofonkapsel (9) und mindestens einen zusätzlichen Leistungsempfänger umfasst, dessen Energieversorgung von einer Phantomleistungseinheit (31) durch zwei Kabelleiter (1, 2) eines Audiokabels erfolgt, wobei die Energieversorgung als eine Phantomspeisung bezeichnet wird, dadurch gekennzeichnet, dass eine frequenzmodulierte Spannung als ein frequenzmoduliertes Steuersignal an mindestens einem der zwei Kabelleiter (1, 2) angelegt wird, durch die die Phantomspeisung ebenfalls auftritt, und dass die frequenzmodulierte Spannung auf der Mikrofonseite an einer Steuerelektronik (39) angelegt wird, die Befehle an den mindestens einen zusätzlichen Leistungsempfänger gemäß dem frequenzmodulierten Steuersignal sendet.
- Verfahren nach Anspruch 1, dadurch gekennzeichnet, dass der mindestens eine zusätzliche Leistungsempfänger ausgewählt wird aus der Gruppe von Audioverstärkern (10), Stromversorgungsschaltungen (11), Prozessoren, Steuerelektronik (39), A/D- und D/A-Wandler (44, 46), LED-Anzeigen (25).
- Verfahren nach Anspruch 1 oder 2, dadurch gekennzeichnet, dass die Trägerfrequenzen für das Steuersignal bei ungefähr 100 kHz liegen.
- Verfahren nach einem der Ansprüche 1 - 3, dadurch gekennzeichnet, dass das Audiosignal durch den Kabelleiter (1) übertragen wird und die frequenzmodulierte Spannung in den Kabelleiter (2) eingespeist wird.
- Verfahren nach einem der Ansprüche 1 - 3, dadurch gekennzeichnet, dass die frequenzmodulierte Spannung mit dem gleichen Pegel an beiden Kabelleitern (1, 2) als gemeinsames Modussignal angelegt wird.
- Verfahren nach Anspruch 5, dadurch gekennzeichnet, dass die frequenzmodulierte Spannung von dem Audiosignal durch einen Eingangsdifferenzverstärker (42) getrennt wird.
- Verfahren nach einem der Ansprüche 1 - 6, dadurch gekennzeichnet, dass die frequenzmodulierte Spannung von dem Audiosignal durch einen Tiefpassfilter (41) getrennt wird.
- Verfahren nach einem der Ansprüche 1 - 7, dadurch gekennzeichnet, dass eine Datenbestätigungsnachricht als Reaktion auf ein Steuersignal von einer Fernsteuereinheit (55) an das Mikrofon (54) an die Fernsteuereinheit gesendet wird.
- Verfahren nach Anspruch 8, dadurch gekennzeichnet, dass die Datenbestätigungsnachricht ebenfalls ein frequenzmoduliertes Signal ist.
- Verfahren nach einem der Ansprüche 1 - 9, dadurch gekennzeichnet, dass die Steuerelektronik (39) ein Mikrocontroller oder eine CPLD, d. h. eine komplexe programmierbare Logikvorrichtung, ist.
Priority Applications (7)
| Application Number | Priority Date | Filing Date | Title |
|---|---|---|---|
| EP04450074.2A EP1585359B1 (de) | 2004-03-30 | 2004-03-30 | Fernsteuerung von phantomgespeisten Mikrofonen |
| TW094109351A TWI358954B (en) | 2004-03-30 | 2005-03-25 | Remote control of phantom power supplied microphon |
| JP2005096493A JP4833572B2 (ja) | 2004-03-30 | 2005-03-29 | ファンタム電源供給されるマイクロフォンの遠隔制御 |
| US11/093,762 US7356151B2 (en) | 2004-03-30 | 2005-03-30 | Microphone system |
| US11/094,805 US7620189B2 (en) | 2004-03-30 | 2005-03-30 | Polarization voltage setting of microphones |
| CN2005100588508A CN1678135B (zh) | 2004-03-30 | 2005-03-30 | 幻象电源供电麦克风的远程控制方法 |
| US11/094,825 US7835531B2 (en) | 2004-03-30 | 2005-03-30 | Microphone system |
Applications Claiming Priority (1)
| Application Number | Priority Date | Filing Date | Title |
|---|---|---|---|
| EP04450074.2A EP1585359B1 (de) | 2004-03-30 | 2004-03-30 | Fernsteuerung von phantomgespeisten Mikrofonen |
Publications (2)
| Publication Number | Publication Date |
|---|---|
| EP1585359A1 EP1585359A1 (de) | 2005-10-12 |
| EP1585359B1 true EP1585359B1 (de) | 2017-10-04 |
Family
ID=34896202
Family Applications (1)
| Application Number | Title | Priority Date | Filing Date |
|---|---|---|---|
| EP04450074.2A Expired - Lifetime EP1585359B1 (de) | 2004-03-30 | 2004-03-30 | Fernsteuerung von phantomgespeisten Mikrofonen |
Country Status (4)
| Country | Link |
|---|---|
| EP (1) | EP1585359B1 (de) |
| JP (1) | JP4833572B2 (de) |
| CN (1) | CN1678135B (de) |
| TW (1) | TWI358954B (de) |
Families Citing this family (6)
| Publication number | Priority date | Publication date | Assignee | Title |
|---|---|---|---|---|
| JP4822934B2 (ja) * | 2006-05-22 | 2011-11-24 | 株式会社オーディオテクニカ | マイクロホン回路 |
| JP5067838B2 (ja) * | 2007-01-31 | 2012-11-07 | 株式会社オーディオテクニカ | マイクロホンの電源装置 |
| FR2960361B1 (fr) | 2010-05-19 | 2012-06-29 | Emmanuel Perille | Dispositif de telecommande universelle pour microphone filaire |
| US8940994B2 (en) * | 2010-09-15 | 2015-01-27 | Avedis Zildjian Co. | Illuminated non-contact cymbal pickup |
| CN109068255B (zh) * | 2018-08-24 | 2021-03-30 | 歌尔股份有限公司 | 耳机调节方法、耳机调节装置和耳机 |
| CN114786112B (zh) * | 2022-06-22 | 2022-10-11 | 广州市保伦电子有限公司 | 一种外接幻象供电模拟话筒的设备检测装置 |
Family Cites Families (10)
| Publication number | Priority date | Publication date | Assignee | Title |
|---|---|---|---|---|
| DE3377765D1 (en) * | 1982-06-14 | 1988-09-22 | Neumann Gmbh Georg | Microphone |
| DE3933870C2 (de) * | 1989-10-11 | 1999-07-22 | Neumann Gmbh Georg | Verfahren und Schaltungsanordnung zum Steuern von Mikrofonen |
| JP3154148B2 (ja) * | 1993-01-29 | 2001-04-09 | ソニー株式会社 | マイクロフォン装置 |
| JP3222994B2 (ja) * | 1993-06-29 | 2001-10-29 | 株式会社オーディオテクニカ | ファントム給電方式マイクロホンにおける遠隔制御装置 |
| DE19606261C2 (de) * | 1996-02-06 | 1998-04-09 | Stage Tec Entwicklungsgesellsc | Mikrofon mit zugeortnetem Verstärker |
| JP2000278050A (ja) * | 1999-03-26 | 2000-10-06 | Roland Corp | アナログ信号処理装置 |
| JP2001054184A (ja) * | 1999-05-31 | 2001-02-23 | Toshiba Corp | 音響システムおよび頭部装着型音響装置 |
| CN2449404Y (zh) * | 2000-06-22 | 2001-09-19 | 张树仁 | 直流/直流幻象供电电源 |
| JP2002246941A (ja) * | 2001-02-16 | 2002-08-30 | Matsushita Electric Ind Co Ltd | 無線伝送用送受信装置 |
| ATA15032001A (de) * | 2001-09-20 | 2005-10-15 | Akg Acoustics Gmbh | Elektroakustischer wandler |
-
2004
- 2004-03-30 EP EP04450074.2A patent/EP1585359B1/de not_active Expired - Lifetime
-
2005
- 2005-03-25 TW TW094109351A patent/TWI358954B/zh not_active IP Right Cessation
- 2005-03-29 JP JP2005096493A patent/JP4833572B2/ja not_active Expired - Lifetime
- 2005-03-30 CN CN2005100588508A patent/CN1678135B/zh not_active Expired - Lifetime
Non-Patent Citations (1)
| Title |
|---|
| None * |
Also Published As
| Publication number | Publication date |
|---|---|
| TWI358954B (en) | 2012-02-21 |
| CN1678135A (zh) | 2005-10-05 |
| CN1678135B (zh) | 2012-06-20 |
| TW200605699A (en) | 2006-02-01 |
| JP2005287050A (ja) | 2005-10-13 |
| JP4833572B2 (ja) | 2011-12-07 |
| EP1585359A1 (de) | 2005-10-12 |
Similar Documents
| Publication | Publication Date | Title |
|---|---|---|
| US7835531B2 (en) | Microphone system | |
| EP1585360B1 (de) | Stromversorgung von phantomgespeisten Mikrofonen | |
| US8275462B1 (en) | Integrated phase-shift power control transmitter for use with implantable device and method for use of the same | |
| EP2171860B1 (de) | Sender mit einstellbarer übertragungsstufe für eine magnetische verbindung | |
| JP5891387B2 (ja) | 無線電力データ伝送システム、送電装置、および受電装置 | |
| EP1585365B1 (de) | Einstellung der Polarisationsspannung von Mikrofonen | |
| EP1585359B1 (de) | Fernsteuerung von phantomgespeisten Mikrofonen | |
| CN102244834B (zh) | 配置用于突发式无线通信的听力仪器及对其供电的方法 | |
| CN102577148A (zh) | 直流电力线通信系统及直流电力线通信装置 | |
| US10439839B2 (en) | Field-device coupling unit and system | |
| JP6565858B2 (ja) | ワイヤレス電力伝送装置 | |
| US5541543A (en) | Regulating device for a telephone loud-speaker | |
| US10258803B2 (en) | Radio frequency transmitter circuits that provide power to an implant device | |
| EP1406468B1 (de) | Hörhilfegerät oder Hörgerätesystem mit einem Taktgenerator | |
| HK108197A (en) | A low cost digital amplitude regulator | |
| CN216414176U (zh) | 电源电路及显示装置 | |
| US10746617B2 (en) | Measurement transducer feed device | |
| CN115811220A (zh) | 显示设备 | |
| JPS63227128A (ja) | 電力線搬送送受信装置 | |
| KR20080006383A (ko) | Smps 제어장치 |
Legal Events
| Date | Code | Title | Description |
|---|---|---|---|
| PUAI | Public reference made under article 153(3) epc to a published international application that has entered the european phase |
Free format text: ORIGINAL CODE: 0009012 |
|
| AK | Designated contracting states |
Kind code of ref document: A1 Designated state(s): AT BE BG CH CY CZ DE DK EE ES FI FR GB GR HU IE IT LI LU MC NL PL PT RO SE SI SK TR |
|
| AX | Request for extension of the european patent |
Extension state: AL LT LV MK |
|
| 17P | Request for examination filed |
Effective date: 20060412 |
|
| AKX | Designation fees paid |
Designated state(s): AT BE BG CH CY CZ DE DK EE ES FI FR GB GR HU IE IT LI LU MC NL PL PT RO SE SI SK TR |
|
| 17Q | First examination report despatched |
Effective date: 20160713 |
|
| GRAP | Despatch of communication of intention to grant a patent |
Free format text: ORIGINAL CODE: EPIDOSNIGR1 |
|
| INTG | Intention to grant announced |
Effective date: 20170426 |
|
| GRAA | (expected) grant |
Free format text: ORIGINAL CODE: 0009210 |
|
| GRAS | Grant fee paid |
Free format text: ORIGINAL CODE: EPIDOSNIGR3 |
|
| AK | Designated contracting states |
Kind code of ref document: B1 Designated state(s): AT BE BG CH CY CZ DE DK EE ES FI FR GB GR HU IE IT LI LU MC NL PL PT RO SE SI SK TR |
|
| REG | Reference to a national code |
Ref country code: GB Ref legal event code: FG4D |
|
| REG | Reference to a national code |
Ref country code: CH Ref legal event code: EP |
|
| REG | Reference to a national code |
Ref country code: AT Ref legal event code: REF Ref document number: 935080 Country of ref document: AT Kind code of ref document: T Effective date: 20171015 |
|
| REG | Reference to a national code |
Ref country code: IE Ref legal event code: FG4D |
|
| REG | Reference to a national code |
Ref country code: DE Ref legal event code: R096 Ref document number: 602004051871 Country of ref document: DE |
|
| REG | Reference to a national code |
Ref country code: NL Ref legal event code: MP Effective date: 20171004 |
|
| REG | Reference to a national code |
Ref country code: FR Ref legal event code: PLFP Year of fee payment: 15 |
|
| PG25 | Lapsed in a contracting state [announced via postgrant information from national office to epo] |
Ref country code: NL Free format text: LAPSE BECAUSE OF FAILURE TO SUBMIT A TRANSLATION OF THE DESCRIPTION OR TO PAY THE FEE WITHIN THE PRESCRIBED TIME-LIMIT Effective date: 20171004 |
|
| PG25 | Lapsed in a contracting state [announced via postgrant information from national office to epo] |
Ref country code: ES Free format text: LAPSE BECAUSE OF FAILURE TO SUBMIT A TRANSLATION OF THE DESCRIPTION OR TO PAY THE FEE WITHIN THE PRESCRIBED TIME-LIMIT Effective date: 20171004 Ref country code: SE Free format text: LAPSE BECAUSE OF FAILURE TO SUBMIT A TRANSLATION OF THE DESCRIPTION OR TO PAY THE FEE WITHIN THE PRESCRIBED TIME-LIMIT Effective date: 20171004 Ref country code: FI Free format text: LAPSE BECAUSE OF FAILURE TO SUBMIT A TRANSLATION OF THE DESCRIPTION OR TO PAY THE FEE WITHIN THE PRESCRIBED TIME-LIMIT Effective date: 20171004 |
|
| PG25 | Lapsed in a contracting state [announced via postgrant information from national office to epo] |
Ref country code: GR Free format text: LAPSE BECAUSE OF FAILURE TO SUBMIT A TRANSLATION OF THE DESCRIPTION OR TO PAY THE FEE WITHIN THE PRESCRIBED TIME-LIMIT Effective date: 20180105 Ref country code: BG Free format text: LAPSE BECAUSE OF FAILURE TO SUBMIT A TRANSLATION OF THE DESCRIPTION OR TO PAY THE FEE WITHIN THE PRESCRIBED TIME-LIMIT Effective date: 20180104 |
|
| REG | Reference to a national code |
Ref country code: DE Ref legal event code: R097 Ref document number: 602004051871 Country of ref document: DE |
|
| PG25 | Lapsed in a contracting state [announced via postgrant information from national office to epo] |
Ref country code: SK Free format text: LAPSE BECAUSE OF FAILURE TO SUBMIT A TRANSLATION OF THE DESCRIPTION OR TO PAY THE FEE WITHIN THE PRESCRIBED TIME-LIMIT Effective date: 20171004 Ref country code: EE Free format text: LAPSE BECAUSE OF FAILURE TO SUBMIT A TRANSLATION OF THE DESCRIPTION OR TO PAY THE FEE WITHIN THE PRESCRIBED TIME-LIMIT Effective date: 20171004 Ref country code: DK Free format text: LAPSE BECAUSE OF FAILURE TO SUBMIT A TRANSLATION OF THE DESCRIPTION OR TO PAY THE FEE WITHIN THE PRESCRIBED TIME-LIMIT Effective date: 20171004 Ref country code: CZ Free format text: LAPSE BECAUSE OF FAILURE TO SUBMIT A TRANSLATION OF THE DESCRIPTION OR TO PAY THE FEE WITHIN THE PRESCRIBED TIME-LIMIT Effective date: 20171004 |
|
| PLBE | No opposition filed within time limit |
Free format text: ORIGINAL CODE: 0009261 |
|
| STAA | Information on the status of an ep patent application or granted ep patent |
Free format text: STATUS: NO OPPOSITION FILED WITHIN TIME LIMIT |
|
| PG25 | Lapsed in a contracting state [announced via postgrant information from national office to epo] |
Ref country code: PL Free format text: LAPSE BECAUSE OF FAILURE TO SUBMIT A TRANSLATION OF THE DESCRIPTION OR TO PAY THE FEE WITHIN THE PRESCRIBED TIME-LIMIT Effective date: 20171004 Ref country code: IT Free format text: LAPSE BECAUSE OF FAILURE TO SUBMIT A TRANSLATION OF THE DESCRIPTION OR TO PAY THE FEE WITHIN THE PRESCRIBED TIME-LIMIT Effective date: 20171004 Ref country code: RO Free format text: LAPSE BECAUSE OF FAILURE TO SUBMIT A TRANSLATION OF THE DESCRIPTION OR TO PAY THE FEE WITHIN THE PRESCRIBED TIME-LIMIT Effective date: 20171004 |
|
| 26N | No opposition filed |
Effective date: 20180705 |
|
| REG | Reference to a national code |
Ref country code: CH Ref legal event code: PL |
|
| PG25 | Lapsed in a contracting state [announced via postgrant information from national office to epo] |
Ref country code: SI Free format text: LAPSE BECAUSE OF FAILURE TO SUBMIT A TRANSLATION OF THE DESCRIPTION OR TO PAY THE FEE WITHIN THE PRESCRIBED TIME-LIMIT Effective date: 20171004 Ref country code: MC Free format text: LAPSE BECAUSE OF FAILURE TO SUBMIT A TRANSLATION OF THE DESCRIPTION OR TO PAY THE FEE WITHIN THE PRESCRIBED TIME-LIMIT Effective date: 20171004 |
|
| REG | Reference to a national code |
Ref country code: BE Ref legal event code: MM Effective date: 20180331 |
|
| REG | Reference to a national code |
Ref country code: IE Ref legal event code: MM4A |
|
| PG25 | Lapsed in a contracting state [announced via postgrant information from national office to epo] |
Ref country code: LU Free format text: LAPSE BECAUSE OF NON-PAYMENT OF DUE FEES Effective date: 20180330 |
|
| PG25 | Lapsed in a contracting state [announced via postgrant information from national office to epo] |
Ref country code: IE Free format text: LAPSE BECAUSE OF NON-PAYMENT OF DUE FEES Effective date: 20180330 |
|
| PG25 | Lapsed in a contracting state [announced via postgrant information from national office to epo] |
Ref country code: LI Free format text: LAPSE BECAUSE OF NON-PAYMENT OF DUE FEES Effective date: 20180331 Ref country code: CH Free format text: LAPSE BECAUSE OF NON-PAYMENT OF DUE FEES Effective date: 20180331 Ref country code: BE Free format text: LAPSE BECAUSE OF NON-PAYMENT OF DUE FEES Effective date: 20180331 |
|
| PG25 | Lapsed in a contracting state [announced via postgrant information from national office to epo] |
Ref country code: TR Free format text: LAPSE BECAUSE OF FAILURE TO SUBMIT A TRANSLATION OF THE DESCRIPTION OR TO PAY THE FEE WITHIN THE PRESCRIBED TIME-LIMIT Effective date: 20171004 |
|
| PG25 | Lapsed in a contracting state [announced via postgrant information from national office to epo] |
Ref country code: HU Free format text: LAPSE BECAUSE OF FAILURE TO SUBMIT A TRANSLATION OF THE DESCRIPTION OR TO PAY THE FEE WITHIN THE PRESCRIBED TIME-LIMIT; INVALID AB INITIO Effective date: 20040330 Ref country code: PT Free format text: LAPSE BECAUSE OF FAILURE TO SUBMIT A TRANSLATION OF THE DESCRIPTION OR TO PAY THE FEE WITHIN THE PRESCRIBED TIME-LIMIT Effective date: 20171004 |
|
| PG25 | Lapsed in a contracting state [announced via postgrant information from national office to epo] |
Ref country code: CY Free format text: LAPSE BECAUSE OF FAILURE TO SUBMIT A TRANSLATION OF THE DESCRIPTION OR TO PAY THE FEE WITHIN THE PRESCRIBED TIME-LIMIT Effective date: 20171004 |
|
| PGFP | Annual fee paid to national office [announced via postgrant information from national office to epo] |
Ref country code: FR Payment date: 20230222 Year of fee payment: 20 Ref country code: AT Payment date: 20230222 Year of fee payment: 20 |
|
| PGFP | Annual fee paid to national office [announced via postgrant information from national office to epo] |
Ref country code: GB Payment date: 20230221 Year of fee payment: 20 Ref country code: DE Payment date: 20230221 Year of fee payment: 20 |
|
| P01 | Opt-out of the competence of the unified patent court (upc) registered |
Effective date: 20230527 |
|
| REG | Reference to a national code |
Ref country code: DE Ref legal event code: R071 Ref document number: 602004051871 Country of ref document: DE |
|
| REG | Reference to a national code |
Ref country code: GB Ref legal event code: PE20 Expiry date: 20240329 |
|
| PG25 | Lapsed in a contracting state [announced via postgrant information from national office to epo] |
Ref country code: GB Free format text: LAPSE BECAUSE OF EXPIRATION OF PROTECTION Effective date: 20240329 |
|
| REG | Reference to a national code |
Ref country code: AT Ref legal event code: MK07 Ref document number: 935080 Country of ref document: AT Kind code of ref document: T Effective date: 20240330 |