EP1555857B1 - Zentrale Versorgung über mehrere DC-Ausgangskreise - Google Patents
Zentrale Versorgung über mehrere DC-Ausgangskreise Download PDFInfo
- Publication number
- EP1555857B1 EP1555857B1 EP04028165.1A EP04028165A EP1555857B1 EP 1555857 B1 EP1555857 B1 EP 1555857B1 EP 04028165 A EP04028165 A EP 04028165A EP 1555857 B1 EP1555857 B1 EP 1555857B1
- Authority
- EP
- European Patent Office
- Prior art keywords
- voltage
- output circuit
- central unit
- output circuits
- operating devices
- Prior art date
- Legal status (The legal status is an assumption and is not a legal conclusion. Google has not performed a legal analysis and makes no representation as to the accuracy of the status listed.)
- Expired - Lifetime
Links
- 238000012937 correction Methods 0.000 claims description 5
- 230000005540 biological transmission Effects 0.000 claims description 2
- 238000012986 modification Methods 0.000 description 3
- 230000004048 modification Effects 0.000 description 3
- 238000013461 design Methods 0.000 description 2
- 238000000034 method Methods 0.000 description 2
- 230000008054 signal transmission Effects 0.000 description 2
- 238000011144 upstream manufacturing Methods 0.000 description 2
- 230000007175 bidirectional communication Effects 0.000 description 1
- 239000003990 capacitor Substances 0.000 description 1
- 230000000694 effects Effects 0.000 description 1
- 239000003792 electrolyte Substances 0.000 description 1
- 238000004519 manufacturing process Methods 0.000 description 1
- 230000003071 parasitic effect Effects 0.000 description 1
- 238000012545 processing Methods 0.000 description 1
- 239000007787 solid Substances 0.000 description 1
Images
Classifications
-
- H—ELECTRICITY
- H05—ELECTRIC TECHNIQUES NOT OTHERWISE PROVIDED FOR
- H05B—ELECTRIC HEATING; ELECTRIC LIGHT SOURCES NOT OTHERWISE PROVIDED FOR; CIRCUIT ARRANGEMENTS FOR ELECTRIC LIGHT SOURCES, IN GENERAL
- H05B41/00—Circuit arrangements or apparatus for igniting or operating discharge lamps
- H05B41/14—Circuit arrangements
- H05B41/24—Circuit arrangements in which the lamp is fed by high frequency AC, or with separate oscillator frequency
- H05B41/245—Circuit arrangements in which the lamp is fed by high frequency AC, or with separate oscillator frequency for a plurality of lamps
Definitions
- the present invention relates to a system having the features of the preamble of claim 1.
- a system is according to WO 94/27419 A known.
- this known system only one DC output circuit is provided for the supply of all operating devices.
- the light source is a gas discharge lamp 5, which is controlled by an electric ballast (ECG) 1 as a control gear.
- ECG electric ballast
- this electronic ballast 1 has a rectifier with power factor correction circuit (PFC, Power Factor Correction) 2, an electrolyte storage capacitor 4 and an RF inverter 3, which in turn via its output circuit 6, the gas discharge lamp 5 drives.
- the DC voltage (bus voltage) is therefore only present within the ECG.
- an emergency lighting control 7 may be provided.
- the rectifier 2 in the electronic ballast 1 is usually supplied with alternating voltage 9, for example mains voltage.
- the invention assumes that the unit rectifier / PFC is no longer provided locally in each operating device, but centrally for several operating devices.
- the connection between this control center and the individual operating devices takes place via a DC output circuit.
- the object of the invention is to propose a control for light-emitting devices, which further allows a cost-effective production of operating devices, while ensuring a flexible and adapted to the needs of the connected equipment supply despite the central configuration.
- the central processing unit may further include a power factor correction (PFC) circuit.
- PFC power factor correction
- the output circuits with different DC voltage levels can be assigned operating devices for different types of light sources (for example gas discharge lamp, LED, etc.).
- the central unit can also have a pure digital signal output circuit, which therefore does not serve for the power supply.
- an operating device may be connected, which has a power supply independent of the central unit, in particular a mains AC power supply.
- One of the output circuits of the central unit may be connected to ground, wherein at least two further output circuits have DC voltage levels which are designed symmetrically around the ground potential.
- these two further output circuits can also be designed asymmetrically around the ground potential.
- At least one operating device may be connected to output circuits having different DC levels.
- An output circuit can serve, for example, for the provision of the lamp operating power and at least one further output circuit for the provision of a low-voltage power supply of logic components in a control gear.
- At least one of the operating devices may be an electronic ballast (ECG) for gas discharge lamps, which is an inverter having.
- ECG electronic ballast
- the operating device may also be referred to as output converter.
- drive signals can be transmitted via at least one of the output circuits in accordance with a powerline technique, these drive signals thus being modulated onto the DC voltage.
- An operating device associated with a light source can be switched off by transmitting a Ausscibilsberioses via one of the output circuits, the power supply can be maintained unchanged via a further output circuit.
- a central unit comprising, for example, a rectifier 2 and optionally also a power factor correction circuit (PFC) 10, is jointly provided for a plurality of lamp operating devices 1, 1 ', 1 "
- the central unit 2, 10 can also be spatially separated from the operating devices and, for example, be arranged centrally for a room, a floor or even a building in a control cabinet, etc.
- the various light-emitting devices operating devices 1, 1 ', 1 a variety of light sources, such as a gas discharge lamp 5, light emitting diodes 5', etc. Actuate the bulbs themselves can be operated with DC or AC voltage, wherein in the latter case, an inverter is provided in the associated operating device.
- a light sensor 5 or a motion detector (not shown) may be connected to a DC output circuit 11 of the central unit.
- the operating devices 1, 1', 1" are designed differently.
- the corresponding operating device 3 is, for example, as an electronic ballast (EVG) u.a. formed with an inverter.
- EDG electronic ballast
- the operating devices can also be referred to as "output converters".
- an output circuit 11 can be configured in a bus-like manner, so that the various operating devices 1, 1 ', 1 "are supplied via stubs 13, 13', 13 'starting from this central common bus 11.
- individual operating devices can be supplied or jointly supplied groups of operating devices individual output circuits 12 may be provided.
- This DC output circuit has the advantage of being less susceptible to parasitic effects than corresponding AC circuits.
- the central unit is provided for a plurality of operating devices in common, wherein the central unit is connected to the operating devices by means of at least one DC output circuit.
- Fig. 3 shows an embodiment of the invention, in which the central unit 2 controls a total of three output circuits with different DC levels, namely a first output circuit 31 with a high-voltage DC voltage of, for example, 400 volts, a second output circuit 32 with a low-voltage DC voltage of 12 volts, for example, and another Output circuit 33, which is connected to ground.
- a first output circuit 31 with a high-voltage DC voltage of, for example, 400 volts
- a second output circuit 32 with a low-voltage DC voltage of 12 volts, for example
- another Output circuit 33 which is connected to ground.
- the low-voltage output circuit 32 can serve for the supply of logic components in the operating devices 3 or also for signal transmission, for example, by being designed as a digital bus. Alternatively, in the sense of a powerline technique, this 12 volt high-frequency drive signals can be modulated on.
- the low-voltage output circuit 32 and the operating devices 2 respectively associated lighting means can be turned off, as shown schematically by a switch 36.
- a switch 36 The fact that the switching off (indirectly) via the low-voltage output circuit 32 and not (directly) via the high-voltage output circuit 31, the problem of the spark gap is significantly reduced when the switch 36 is open. If, for example, the low-voltage output circuit 32 supplies the logic components in the operating device 3 via the respective terminal 35, by opening the switch 36, these corresponding logic components, for example the control of the inverter in an electronic ballast can be switched off, which in turn causes the associated gas discharge lamp 5 to go out leads.
- the mechanical switch 36 can be replaced at any time by a transmission of corresponding digital commands transmitted via the low voltage output circuit 32 and read at the input 35 of the operating device, for example by a powerline demodulator (not shown) and in a Control command for a local control unit to be implemented in a control gear.
- bulbs can naturally also be switched off, for example by the central unit 2 being switched off altogether by an upstream mains switch 37.
- the low-voltage output circuit with, for example, 12 V DC can be used in any combination as power supply for light sources (in particular for LEDs), as supply voltage for logic components (eg ASICs) in an operating device and / or as a control circuit.
- FIG. 4 shows Fig. 4 an embodiment in which the voltage levels of the output circuits of the central unit 2 are designed such that by appropriate combination at the terminals of the operating devices this optionally with a high DC voltage HV, a medium DC voltage MV and a low DC voltage LV supplies can be.
- operating devices to which different types of lamps are connected can be individually supplied according to their respective requirements for the power supply.
- a high DC voltage is suitable, for example, for gas discharge lamps, while a low DC voltage supply, for example, for LED bulbs offers.
- a high-voltage operating device 41 and a medium-voltage operating device 42 are shown, with 400 volts DC or 200th Voltage DC be supplied.
- the central unit 2 shown has a total of three output circuits 45, 47, 48, wherein one output circuit 45 is connected to ground (GND) and the other two output circuits 47, 48 voltage level symmetrical about this ground potential, here in the form of ⁇ 200 volts.
- GND ground
- the bulbs are shown purely schematically. Meanwhile, the bulbs can be of any nature and, for example, also be connected in groups in series and / or in parallel to an operating device.
- ballasts of all kinds can be operated with the 400V DC
- the average voltage of 200V DC for example, is suitable for simple electronic ballasts that provide low lamp burning voltages.
- Fig. 4b shows a modification of Fig. 4a to the effect that, although the central unit 2 further has a plurality of output circuits 44, 45, 46 with different DC potential, in addition to the ground output circuit 45 provided further output circuits 44, 46 but in this case lead levels that asymmetric to said ground potential, here in the form of +400 volts DC and -12 volts DC, respectively.
- a high-voltage DC supply for an operating device 41 or a low-voltage DC supply for an operating device 43 can be achieved.
- the low-voltage DC supply for example, 12 volts is particularly suitable for LED bulbs.
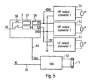
- Fig. 5 now shows a modification of the aforementioned embodiments in that in addition to the output circuits that ensure a power supply, possibly in combination with a powerline signal transmission, the central unit 2 is a pure control output circuit 54, for example, according to the DALI (Digital Addressable Lighting Interface) standard.
- This control output circuit 54 thus does not supply the associated operating means, here an electronic ballast 52 with the operating voltage. Rather, in the sense of a well-known from the prior art electronic ballast with digital interface of this electronic ballast 52 is supplied independently of the central unit 2 with mains voltage 55 to drive the gas discharge lamp 5.
- the central unit may comprise a plurality of parallel modules, each having a PFC 57 and an electronic fuse 56. Each module is assigned a live output circuit. In particular, different modules can supply output circuits with different DC voltage levels.
- a switch 58 is connected upstream of each module so that modules can be switched on or off individually in order to switch the respectively assigned output circuits.
- certain operating devices or groups thereof and the associated bulbs can be selectively switched on and off.
Landscapes
- Circuit Arrangements For Discharge Lamps (AREA)
- Circuit Arrangement For Electric Light Sources In General (AREA)
Description
- Die vorliegende Erfindung bezieht sich auf ein System mit den Merkmalen des Oberbegriffes des Anspruches 1. Ein solches System ist nach der
bekannt. Bei diesem bekannten System ist zur Versorgung aller Betriebsgeräte nur ein DC-Ausgangskreis vorgesehen.WO 94/27419 A - Ebenfalls bekannt ist das in
Fig. 2 schematisch dargestellten System. In diesem Beispiel ist das Leuchtmittel eine Gasentladungslampe 5, die von einem elektrischen Vorschaltgerät (EVG) 1 als Betriebsgerät angesteuert wird. In üblicher Weise weist dieses EVG 1 einen Gleichrichter mit Leistungsfaktor-Korrekturschaltung (PFC, Power Factor Correction) 2, einen Elektrolyt-Speicherkondensator 4 sowie einen HF-Wechselrichter 3 auf, der wiederum mittels über seinen Ausgangskreis 6 die Gasentladungslampe 5 ansteuert. Die Gleichspannung (Busspannung) liegt somit nur innerhalb des EVGs vor. - Zusätzlich kann eine Notbeleuchtungssteuerung 7 vorgesehen sein.
- Der Gleichrichter 2 in dem EVG 1 wird üblicherweise mit Wechselspannung 9, beispielsweise Netzspannung, versorgt.
- Gleichzeitig ist es bekannt, das EVG 1 über eine Digitaloder Analogbussteuerung 8 anzusteuern, um somit die Lampe 5 zu starten, zu dimmen oder auszuschalten. Festzuhalten ist, dass bei diesem Stand der Technik in jedem Lampenbetriebsgerät (EVG 1) ein eigener Gleichrichter 2 mit PFC-Schaltung vorgesehen ist. Eine derartige PFC-Schaltung verringert bekanntlich störende Oberwellen im Eingangsstrom. Andererseits stellen diese lokal in jedem EVG 1 vorgesehenen Wechselrichter mit PFC 2 einen beträchtlichen Kostenfaktor dar, der den Trend zu äußerst kostengünstig gefertigten EVG's stark eingrenzt.
- >
- Die Erfindung geht davon aus, dass die Einheit Gleichrichter/PFC nicht mehr lokal in jedem Betriebsgerät, sondern zentral für mehrere Betriebsgeräte vorgesehen ist. Die Verbindung zwischen dieser Zentrale und den einzelnen Betriebsgeräten erfolgt über einen DC-Ausgangskreis.
- Aufgabe der Erfindung ist es, eine Ansteuerung für Leuchtmittel-Betriebsgeräte vorzuschlagen, die weiterhin eine kostengünstige Fertigung von Betriebsgeräten ermöglicht, dabei aber trotz der zentralen Ausgestaltung eine flexible und auf die Bedürfnisse der angeschlossenen Betriebsgeräte angepasste Versorgung gewährleistet.
- Die Aufgabe ist durch die im Kennzeichen des Anspruchs 1 angegebenen Merkmale gelöst.
- In diesem Zusammenhang ist zu bemerken, dass nach der
US-A-4,626,697 eine GleichrichterSchaltung für Festkörper-Bauteile bekannt ist, die mehrere unterschiedliche Gleichspannungspegel zur Verfügung stellt. - Die Zentraleinheit kann weiterhin eine Leistungsfaktor-Korrekturschaltung (PFC-)Schaltung aufweisen.
- Den Ausgangskreisen mit unterschiedlichen Gleichspannungspegeln können Betriebsgeräte für unterschiedliche Typen an Leuchtmitteln (beispielsweise Gasentladungslampe, LED, etc.) zugeordnet sein.
- Die Zentraleinheit kann zusätzlich auch einen reinen Digitalsignal-Ausangskreis aufweisen, der also nicht zur Leistungsversorgung dient.
- Mit dem Digitalsignal-Ausgangskreis kann ein Betriebsgerät verbunden sein, das eine von der Zentraleinheit unabhängige Spannungsversorgung, insbesondere eine Netz-Wechselspannungsversorgung aufweist.
- Einer der Ausgangskreise der Zentraleinheit kann mit Masse verbunden sein, wobei wenigstens zwei weitere Ausgangskreise Gleichspannungspegel aufweisen, die um das Massepotential herum symmetrisch ausgelegt sind.
- Alternativ können diese beiden weiteren Ausgangskreise auch asymmetrisch um das Massepotential herum ausgelegt sein.
- Wenigstens ein Betriebsgerät kann mit Ausgangskreisen mit unterschiedlichen Gleichspannungspegeln verbunden sein.
- Ein Ausgangskreis kann dabei beispielsweise für die Bereitstellung der Leuchtmittel-Betriebsleistung und wenigstens ein weiterer Ausgangskreis für die Bereitstellung einer Niedervolt-Spannungsversorgung von Logikbauteilen in einem Betriebsgerät dienen.
- Wenigstens eines der Betriebsgeräte kann ein elektronisches Vorschaltgerät (EVG) für Gasentladungslampen sein, das einen Wechselrichter aufweist. In diesem Fall kann das Betriebsgerät auch als Ausgangs-Konverter bezeichnet werden.
- Über wenigstens einen der Ausgangskreise können Ansteuersignale beispielsweise gemäß einer Powerline-Technik übermittelt werden, wobei diese Ansteuersignale also der Gleichspannung aufmoduliert sind.
- In der Zentraleinheit selbst können für Ausgangskreise mit unterschiedlichen Gleichspannungspegeln unterschiedliche Gleichrichter- und/oder PFC-Module vorgesehen sein.
- Ein einem Betriebsgerät zugeordnetes Leuchtmittel kann durch Übertragung eines Ausschaltbefehles über einen der Ausgangskreise ausschaltbar sein, wobei die Spannungsversorgung über einen weiteren Ausgangskreis unverändert beibehalten werden kann.
- Weitere Merkmale, Vorteile und Eigenschaften der vorliegenden Erfindung sollen nunmehr unter Bezugnahme auf die Figuren der beigefügten Zeichnungen sowie die folgende detaillierte Beschreibung eines Ausführungsbeispieles näher erläutert werden.
- Fig. 1
- zeigt eine schematische Ansicht eines erfindungsgemäßen Steuersystems für Leuchtmittel-Betriebsgeräte mit zentraler Gleichrichter/PFC-Einheit und DC-Ausgangskreis,
- Fig. 2
- zeigt eine aus dem Stand der Technik bekannte Betriebsmittel-Ausgestaltung für Gasentladungslampen,
- Fig. 3
- zeigt ein Ausführungsbeispiel der vorliegenden Erfindung, bei dem Betriebsgeräte für Leuchtmittel mit der Zentraleinheit jeweils über Ausgangskreise mit unterschiedlichen Gleichspannungspegeln verbunden sind,
- Fig. 4a
- zeigt ein Ausführungsbeispiel der vorliegenden Erfindung, bei dem die Betriebsgeräte mit der Zentraleinheit über mehrere Ausgangskreise verbunden sind, wobei DC-Spannungspegel von wenigstens zwei Ausgangskreisen symmetrisch um das Massepotential herum ausgelegt sind,
- Fig. 4b
- zeigt ein Abwandlung des Ausführungsbeispiels von
Fig. 4a dahingehend, dass zwei Ausgangskreise Gleichspannungspegel aufweisen, die um das Massepotential herum asymmetrisch ausgelegt sind, und - Fig. 5
- zeigt ein weiteres Ausführungsbeispiel der vorliegenden Erfindung, bei dem die Zentraleinheit einen reinen Steuerausgang aufweist, der ein Betriebsgerät ansteuert, das seine Betriebsspannungsversorgung unabhängig von der Zentraleinheit ausgelegt hat.
- Wie in
Fig. 1 gezeigt, ist eine Zentraleinheit, aufweisend beispielsweise einen Gleichrichter 2 sowie ggf. auch eine Leistungsfaktor-Korrekturschaltung (PFC) 10, gemeinsam für mehrere Leuchtmittel-Betriebsgeräte 1, 1', 1" vorgesehen. Die Zentraleinheit 2 wird mit (Netz-)Wechselspannung 9 versorgt. Die Zentraleinheit 2, 10 kann im übrigen auch räumlich von den Betriebsgeräten getrennt sein und bspw. zentral für einen Raum, eine Etage oder gar ein Gebäude in einem Schaltschrank etc. angeordnet werden. - Wie in
Fig. 1 schematisch angedeutet, können die verschiedenen Leuchtmittel-Betriebsgeräte 1, 1', 1" verschiedenste Leuchtmittel, wie beispielsweise eine Gasentladungslampe 5, Leuchtdioden 5', etc. ansteuern. Die Leuchtmittel selbst können dabei mit DC- oder mit AC-Spannung betrieben werden, wobei in letzerem Fall in dem zugehörigen Betriebsgerät ein Wechselrichter vorgesehen ist. - Weiterhin können an einen DC-Ausgangskreis 11 der Zentraleinheit auch andere (bspw. passive) lichttechnische oder gebäudetechnische Einrichtungen, wie beispielsweise ein Lichtsensor 5" oder ein Bewegungsmelder (nicht dargestellt) angeschlossen sein.
- Je nach Natur der angeschlossenen Leuchtmittel 5, 5' bzw. Sensoren 5" sind die Betriebsgeräte 1, 1', 1" unterschiedlich ausgebildet. Für den Fall, dass eine Gasentladungslampe 5 angesteuert werden soll, ist das entsprechende Betriebsgerät 3 bspw. als elektronisches Vorschaltgerät (EVG) u.a. mit einem Wechselrichter ausgebildet. Die Betriebsgeräte können in diesem Fall auch als "Ausgangs-Konverter" bezeichnet werden.
- Die Spannungsversorgung der Betriebsgeräte und Leuchtmittel und optional auch die uni- oder bidirektionale Kommunikation zwischen der Zentraleinheit und den lokalen Betriebsgeräten 1, 1', 1" erfolgt über wenigstens einen DC-Ausgangskreis 11, 12. Wie in
Fig. 1 schematisch dargestellt kann dabei ein Ausgangskreis 11 busartig ausgestaltet sein, so dass ausgehend von diesem zentralen gemeinsamen Bus 11 die verschiedenen Betriebsgeräte 1, 1', 1" über Stichleitungen 13, 13', 13'' versorgt werden. Alternativ oder zusätzlich können für einzelne Betriebsgeräte bzw. gemeinsam versorgte Gruppen an Betriebsgeräten individuelle Ausgangskreise 12 vorgesehen sein. - Dieser DC-Ausgangskreis hat den Vorteil, dass er im Vergleich zu entsprechenden AC-Kreisen weniger anfällig gegenüber parasitären Effekten ist.
- Festzuhalten ist, dass gemäß der vorliegenden Erfindung die Zentraleinheit für mehrere Betriebsgeräte gemeinsam vorgesehen ist, wobei die Zentraleinheit mit den Betriebsgeräten mittels wenigstens einem DC-Ausgangskreis verbunden ist.
-
Fig. 3 zeigt ein Ausführungsbeispiel der Erfindung, bei dem die Zentraleinheit 2 insgesamt drei Ausgangskreise mit unterschiedlichen Gleichspannungspegeln ansteuert, nämlich einen ersten Ausgangskreis 31 mit einer Hochvolt-Gleichspannung von beispielsweise 400 Volt, einem zweiten Ausgangskreis 32 mit einer Niedervolt-Gleichspannung von beispielsweise 12 Volt sowie einen weiteren Ausgangskreis 33, der mit Masse verbunden ist. - Die beiden in
Fig. 3 schematisch dargestellten Betriebsgeräte 3, hier EVG's mit Wechselrichtern für Gasentladungslampen 5, sind mit jedem der genannten Ausgangskreise 31, 32, 33 verbunden, so dass sie einerseits eine Gleichspannung von 400 Volt für den Betrieb der Gasentladungslampen (allgemein Leuchtmittel) sowie eine weitere Gleichspannung von beispielsweise 12 Volt über einen Eingang 35 bereitgestellt bekommen. Der Niedervolt-Ausgangskreis 32 kann dabei zur Versorgung von Logikbauteilen in den Betriebsgeräten 3 oder aber auch zur Signalübertragung dienen, indem er bspw. als Digitalbus ausgestaltet ist. Alternativ können auch im Sinne einer Powerline-Technik diesem 12 Volt hochfrequente Ansteuersignale aufmoduliert sein. - Schließlich kann über den Niedervolt-Ausgangskreis 32 auch das den Betriebsgeräten 2 jeweils zugeordnete Leuchtmittel ausgeschaltet werden, wie schematisch durch einen Schalter 36 dargestellt ist. Dadurch, dass das Ausschalten (indirekt) über den Niederspannungs-Ausgangskreis 32 und nicht (direkt) über den Hochspannungs-Ausgangskreis 31 erfolgt, wird das Problem der Funkenstrecke bei geöffnetem Schalter 36 deutlich verringert. Falls also beispielsweise der Niederspannungs-Ausgangskreis 32 die Logikbauteile in dem Betriebsgerät 3 über den jeweiligen Anschluß 35 versorgt, können durch Öffnen des Schalters 36 diese entsprechenden Logikbauteile, beispielsweise die Ansteuerung des Wechselrichters in einem EVG abgeschaltet werden, was wiederum zum Verlöschen der zugeordneten Gasentladungslampe 5 führt.
- Auch wenn somit das zugeordnete Leuchtmittel, hier die Gasentladungslampen 5, abgeschaltet werden, steht nach wie vor die Betriebsspannung von 400 Volt über den Ausgangskreis 31 zur Verfügung, so dass die entsprechenden Leuchtmittel ausgehend von diesem Standby-Betrieb jederzeit wieder schnell eingeschaltet werden, indem beispielsweise der Schalter 36 wieder geschlossen wird. Es ist anzumerken, dass der mechanische Schalter 36 jederzeit durch eine Übermittlung von entsprechenden Digitalbefehle ersetzt werden kann, die über den Niederspannungs-Ausgangskreis 32 übermittelt werden und am Eingang 35 des Betriebsgeräts beispielsweise durch einen Powerline-Demodulator (nicht dargestellt) ausgelesen und in einen Ansteuerbefehl für eine lokale Steuereinheit in einem Betriebsgerät umgesetzt werden.
- Alternativ können Leuchtmittel natürlich auch abgeschaltet werden, indem bspw. durch einen vorgeschalteten Netzschalter 37 die Zentraleinheit 2 insgesamt abgeschaltet wird.
- Allgemein kann der Niedervolt-Ausgangskreis mit bspw. 12V DC in beliebiger Kombination als Spannungsversorgung für Leuchtmittel (insbesondere für LEDs), als Versorgungsspannung für Logikbauteile (bspw. ASICs) in einem Betriebsgerät und/oder als Steuerkreis verwendet werden.
- Während bei dem Ausführungsbeispiel gemäß
Fig. 3 die beiden dargestellten Betriebsgeräte 3 jeweils mit den gleichen Ausgangskreisen 31 bzw. 32, 33 verbunden sind, zeigtFig. 4 ein Ausführungsbeispiel, bei dem die Spannungspegel der Ausgangskreise der Zentraleinheit 2 derart ausgelegt sind, dass durch entsprechende Kombination an den Anschlüssen der Betriebsgeräte diese wahlweise mit einer hohen DC-Spannung HV, einee mittleren DC-Spannung MV bzw. einer niedrigen DC-Spannung LV versorgt werden können. - Somit können Betriebsgeräte, an die unterschiedliche Typen an Leuchtmitteln angeschlossen sind, individuell entsprechend ihren jeweiligen Anforderungen an die Spannungsversorgung versorgt werden. Eine hohe DC-Spannung bietet sich beispielsweise für Gasentladungslampen an, während sich eine niedrige Gleichspannungsversorgung beispielsweise für LED-Leuchtmittel anbietet.
- In dem Ausführungsbeispiel von
Fig. 4a sind ein Hochspannungs-Betriebsgerät 41 sowie ein Mittelspannungs-Betriebsgerät 42 dargestellt, die mit 400 Volt DC bzw. 200 Volt DC versorgt werden. Dies wird dadurch erreicht, dass die dargestellte Zentraleinheit 2 insgesamt drei Ausgangskreise 45, 47, 48 aufweist, wobei ein Ausgangskreis 45 mit Masse verbunden ist (GND) und die beiden weiteren Ausgangskreise 47, 48 Spannungspegel symmetrisch um dieses Massepotential, hier in Form von ± 200 Volt aufweisen. Es ist darauf hinzuweisen, dass inFig. 4a, 4b sowie in der im folgenden erklärtenFig. 5 die Leuchtmittel rein schematisch dargestellt sind. Die Leuchtmittel können indessen von beliebiger Natur sein und bspw. auch in Gruppen seriell und/oder parallel an ein Betriebsgerät angeschlosssen werden. - Während bspw. EVGs aller Art mit den 400V DC betrieben werden können., ist die mittlere Spannung von 200V DC bspw. für einfache EVGs geeignet, die niedrige Lampen-Brennspannungen bereitstellen.
-
Fig. 4b zeigt eine Abwandlung vonFig. 4a dahingehend, dass zwar die Zentraleinheit 2 weiterhin mehrere Ausgangskreise 44, 45, 46 mit unterschiedlichem DC-Potential aufweist, die neben dem Masse-Ausgangskreis 45 vorgesehenen weiteren Ausgangskreise 44, 46 aber in diesem Fall Pegel führen, die asymmetrisch zu dem genannten Massepotential, hier in Form von +400 Volt DC bzw. -12 Volt DC angeordnet sind. Somit lässt sich gemäß diesem Beispiel eine Hochspannungs-DC Versorgung für ein Betriebsgerät 41 bzw. eine Niederspannungs-DC Versorgung für ein Betriebsgerät 43 erreichen. Die Niederspannungs-DC Versorgung von beispielsweise 12 Volt ist insbesondere für LED-Leuchtmittel geeignet. -
Fig. 5 zeigt nunmehr eine Abwandlung von den bereits genannten Ausführungsbeispielen dahingehend, dass neben den Ausgangskreisen, die eine Betriebsspannungsversorgung, ggf. in Kombination mit einer Powerline-Signalübermittlung gewährleisten, die Zentraleinheit 2 einen reinen Steuer-Ausgangskreis 54 beispielsweise gemäß dem DALI (Digital Adressable Lighting Interface)-Standard aufweist. Dieser Steuer-Ausgangskreis 54 versorgt das zugeordnete Betriebsmittel, hier ein EVG 52 somit nicht mit der Betriebsspannung. Vielmehr ist im Sinne eines aus dem Stand der Technik bekannten elektronischen Vorschaltgeräts mit Digitalschnittstelle dieses EVG 52 unabhängig von der Zentraleinheit 2 mit Netzspannung 55 versorgt, um die Gasentladungslampe 5 anzusteuern. - Die Zentraleinheit kann aus mehreren parallelen Modulen aufweisend jeweils einen PFC 57 und eine elektronische Sicherung 56 aufweisen. Jedem Modul ist dabei ein spannungsführender Ausgangskreis zugeordnet. Insbesondere können unterschiedliche Module Ausgangskreise mit unterschiedlichen DC-Spannungspegeln versorgen.
- Bei einem derartigen modularen Aufbau kann vorgesehen sein, dass jedem Modul ein Schalter 58 vorgeschaltet ist, so dass Module individuell ein- oder ausgeschaltet werden können, um somit die jeweils zugeordneten Ausgangskreise zu schalten. Somit können bestimmte Betriebsgeräte bzw. Gruppen davon sowie die zugehörigen Leuchtmittel gezielt ein- und ausgeschaltet werden.
Claims (14)
- System zum Ansteuern von Betriebsgeräten für Leuchtmittel, aufweisend:eine Zentraleinheit, die eine Gleichrichterschaltung (2) aufweist und mit Wechselspannung versorgbar ist, mehrere Betriebsgeräte (1, 1', 1"; 3; 41, 42; 51-53), denen jeweils wenigstens ein Leuchmittel zugeordnet ist,und einen ersten von der Zentraleinheit (2) ausgehenden DC-Ausgangskreis (11; 31, 33; 45-47) zur Versorgung von Betriebsgeräten mit einem ersten Gleichspannungspegel,dadurch gekennzeichnet,
dass von der Zentraleinheit (2) mindestens ein zweiter DC-Ausgangskreis (12; 31, 32, 33; 45-47) mit einem von dem ersten Gleichspannungspegel verschiedenen zweiten Gleichspannungspegel ausgeht, wobei der zweite DC-Ausgangskreis einzelne Betriebsgeräte oder gemeinsam versorgte Gruppen von Betriebsgeräten alternativ oder zusätzlich mit einem zweiten Gleichspannungspegel versorgt, der von dem ersten Gleichspannungspegel verschieden ist. - System nach Anspruch 1,
dadurch gekennzeichnet,
das die Zentraleinheit (2) weiterhin eine Leistungsfaktor-Korrekturschaltung (10)aufweist (Fig. 1). - System nach einem der vorhergehenden Ansprüche,
dadurch gekennzeichnet,
dass Ausgangskreisen (11, 13, 13', 13"; 12) mit unterschiedlichen Gleichspannungspegeln Betriebsgeräten (1, 1', 1") für unterschiedliche Leuchtmittel (5, 5', 5") zugeordnet sind (Fig. 1). - System nach einem der vorhergehenden Ansprüche,
dadurch gekennzeichnet,
dass die Zentraleinheit (2) weiterhin einen reinen Digitalsignal-Ausgangskreis (54) aufweist (Fig. 5). - System nach Anspruch 4,
dadurch gekennzeichnet,
dass mit dem Digitalsignal-Ausgangskreis (54) ein Betriebsgerät (52) verbunden ist, das eine von der Zentraleinheit (2) unabhängige Spannungsversorgung, insbesondere eine Wechselspannungsversorgung aufweist (Fig. 5). - System nach einem der vorhergehenden Ansprüche,
dadurch gekennzeichnet,
dass einer der Ausgangskreise (45) der Zentraleinheit (2) mit Masse verbunden ist und wenigstens zwei weitere Ausgangskreise (47, 48) Gleichspannungspegel aufweisen, die symmetrisch zu dem Massepotential sind (Fig. 4a). - System nach einem der vorhergehenden Ansprüche,
dadurch gekennzeichnet,
dass einer der Ausgangskreise (45) der Zentraleinheit (2) mit Masse verbunden ist und wenigstens zwei weitere Ausgangskreise (44, 46) Gleichspannungspegel aufweisen, die asymmetrisch zu dem Massepotential sind (Fig. 4b). - System nach einem der vorhergehenden Ansprüche,
dadurch gekennzeichnet,
dass wenigstens ein Betriebsgerät (41) mit Ausgangskreisen (44, 46) mit unterschiedlichen Gleichspannungspegeln verbunden ist (Fig. 4b). - System nach einem der vorhergehenden Ansprüche,
dadurch gekennzeichnet,
dass wenigstens ein Ausgangskreis (31, 33) für die Bereitstellung der Leuchtmittel-Betriebsleistung und wenigstens ein weiterer (32) für die Bereitstellung einer Niedervolt-Spannungsversorgung von Logikbauteilen in einem Betriebgerät (3) dient (Fig. 3). - System nach einem der vorhergehenden Ansprüche,
dadurch gekennzeichnet,
dass wenigstens eines der Betriebsgeräte (3) ein Elektronisches Vorschaltgerät für Gasentladungslampen (5) ist, das einen Wechselrichter aufweist (Fig. 1 und 3). - System nach einem der vorhergehenden Ansprüche,
dadurch gekennzeichnet,
dass über wenigstens einen der Ausgangskreise (32) Ansteuersignale übermittelt werden, die der Gleichspannung aufmoduliert sind (Fig. 3). - System nach einem der vorhergehenden Ansprüche,
dadurch gekennzeichnet,
dass in der Zentraleinheit (2) für Ausgangskreise mit unterschiedlichen Gleichspannungspegeln unterschiedliche Module (57) vorgesehen sind (Fig. 5). - System nach einem der vorhergehenden Ansprüche,
dadurch gekennzeichnet,
dass ein einem Betriebsgerät zugeordnetes Leuchtmittel (5) durch Übertragung eines Ausschaltbefehls über einen Ausgangskreis (32) ausschaltbar ist, wobei die Spannungsversorgung mittels eines weiteren Ausgangskreises (31, 33) beibehalten wird (Fig. 3). - System nach einem der vorhergehenden Ansprüche,
dadurch gekennzeichnet,
dass ein Betriebsgerät (3) mittels eines Schalters (36) in einem Niedervolt-Ausgangskreis (32) ausschaltbar ist (Fig. 3).
Priority Applications (1)
| Application Number | Priority Date | Filing Date | Title |
|---|---|---|---|
| EP10182653.5A EP2278861B1 (de) | 2004-01-14 | 2004-11-26 | Zentrale Versorgung über mehrere DC-Ausgangskreise |
Applications Claiming Priority (2)
| Application Number | Priority Date | Filing Date | Title |
|---|---|---|---|
| DE102004002016A DE102004002016A1 (de) | 2004-01-14 | 2004-01-14 | Zentrale Versorgung über mehrere DC-Ausgangskreise |
| DE102004002016 | 2004-01-14 |
Related Child Applications (1)
| Application Number | Title | Priority Date | Filing Date |
|---|---|---|---|
| EP10182653.5 Division-Into | 2010-09-29 |
Publications (2)
| Publication Number | Publication Date |
|---|---|
| EP1555857A1 EP1555857A1 (de) | 2005-07-20 |
| EP1555857B1 true EP1555857B1 (de) | 2013-10-02 |
Family
ID=34609548
Family Applications (2)
| Application Number | Title | Priority Date | Filing Date |
|---|---|---|---|
| EP04028165.1A Expired - Lifetime EP1555857B1 (de) | 2004-01-14 | 2004-11-26 | Zentrale Versorgung über mehrere DC-Ausgangskreise |
| EP10182653.5A Expired - Lifetime EP2278861B1 (de) | 2004-01-14 | 2004-11-26 | Zentrale Versorgung über mehrere DC-Ausgangskreise |
Family Applications After (1)
| Application Number | Title | Priority Date | Filing Date |
|---|---|---|---|
| EP10182653.5A Expired - Lifetime EP2278861B1 (de) | 2004-01-14 | 2004-11-26 | Zentrale Versorgung über mehrere DC-Ausgangskreise |
Country Status (2)
| Country | Link |
|---|---|
| EP (2) | EP1555857B1 (de) |
| DE (1) | DE102004002016A1 (de) |
Families Citing this family (6)
| Publication number | Priority date | Publication date | Assignee | Title |
|---|---|---|---|---|
| DE102006035046B4 (de) * | 2006-07-28 | 2013-05-29 | Insta Elektro Gmbh | Elektrisches/elektronisches Zentralgerät |
| JP2009158298A (ja) * | 2007-12-26 | 2009-07-16 | Panasonic Electric Works Co Ltd | 引掛シーリング |
| DE102009054371A1 (de) * | 2009-11-17 | 2011-06-22 | Automotive Lighting Reutlingen GmbH, 72762 | Steuergerät zur Ansteuerung einer Beleuchtungseinrichtung eines Kraftfahrzeugs, sowie Beleuchtungseinrichtung für ein Kraftfahrzeug mit einem solchen Steuergerät |
| DE102010031244B4 (de) | 2010-03-19 | 2023-01-12 | Tridonic Ag | Modulares LED-Beleuchtungssystem |
| WO2013040736A1 (zh) * | 2011-09-19 | 2013-03-28 | 东莞勤上光电股份有限公司 | 一种直流高压供电led路灯系统及其实现方法 |
| WO2014174159A1 (fr) | 2013-04-24 | 2014-10-30 | Societe D'etudes Et D'economies En Eclairage, Se3 | Dispositif d'alimentation en courant continu d'un ensemble de dispositifs d'éclairage à leds utilisés dans l'éclairage industriel et l'éclairage tertiaire |
Citations (2)
| Publication number | Priority date | Publication date | Assignee | Title |
|---|---|---|---|---|
| EP1244337A1 (de) * | 2001-03-20 | 2002-09-25 | MAGNETEK S.p.A. | Beleuchtungsanordnung mit Stromleiterschiene und mehreren Beleuchtungskörpern |
| WO2003067934A2 (en) * | 2002-02-06 | 2003-08-14 | Color Kinetics Incorporated | Controlled lighting methods and apparatus |
Family Cites Families (7)
| Publication number | Priority date | Publication date | Assignee | Title |
|---|---|---|---|---|
| GB943241A (en) * | 1960-11-23 | 1963-12-04 | Marconi Instruments Ltd | Improvements in or relating to rectifier circuit arrangements |
| US4626697A (en) * | 1984-10-22 | 1986-12-02 | American Hospital Supply Corporation | Power supply for providing plural DC voltages |
| CA2162889A1 (en) * | 1993-05-13 | 1994-11-24 | Fazle S. Quazi | System and method for distributing power to gas discharge lamps |
| DE29622825U1 (de) * | 1996-03-29 | 1997-07-10 | Lohmann-Werke GmbH & Co, 33604 Bielefeld | Bestrahlungsgerät |
| IT1316561B1 (it) * | 2000-12-28 | 2003-04-22 | Setech S R L | Dispositivo di alimentazione di lampade a sarica a catodo freddo. |
| US6771029B2 (en) * | 2001-03-28 | 2004-08-03 | International Rectifier Corporation | Digital dimming fluorescent ballast |
| US20030036807A1 (en) * | 2001-08-14 | 2003-02-20 | Fosler Ross M. | Multiple master digital addressable lighting interface (DALI) system, method and apparatus |
-
2004
- 2004-01-14 DE DE102004002016A patent/DE102004002016A1/de not_active Ceased
- 2004-11-26 EP EP04028165.1A patent/EP1555857B1/de not_active Expired - Lifetime
- 2004-11-26 EP EP10182653.5A patent/EP2278861B1/de not_active Expired - Lifetime
Patent Citations (2)
| Publication number | Priority date | Publication date | Assignee | Title |
|---|---|---|---|---|
| EP1244337A1 (de) * | 2001-03-20 | 2002-09-25 | MAGNETEK S.p.A. | Beleuchtungsanordnung mit Stromleiterschiene und mehreren Beleuchtungskörpern |
| WO2003067934A2 (en) * | 2002-02-06 | 2003-08-14 | Color Kinetics Incorporated | Controlled lighting methods and apparatus |
Also Published As
| Publication number | Publication date |
|---|---|
| HK1148161A1 (en) | 2011-08-26 |
| EP2278861B1 (de) | 2013-09-18 |
| EP1555857A1 (de) | 2005-07-20 |
| EP2278861A1 (de) | 2011-01-26 |
| DE102004002016A1 (de) | 2005-08-04 |
Similar Documents
| Publication | Publication Date | Title |
|---|---|---|
| EP1555859B1 (de) | Ansteuerung von Leuchtmittel-Betriebsgeräten über einen modulierten DC-Bus | |
| EP2676531B1 (de) | Kombinierte sensor/notlicht-einheit für ein beleuchtungs- system | |
| DE10344619B4 (de) | Steuersystem für mehrere verteilt angeordnete Lampenbetriebsgeräte sowie Verfahren zum Initialisieren eines derartigen Steuersystems | |
| EP1947913B1 (de) | DC-versorgte Betriebsmittel-Module für Leuchtmittel | |
| DE19502772C2 (de) | Elektronisches Vorschaltgerät für Leuchtstofflampen | |
| EP1555857B1 (de) | Zentrale Versorgung über mehrere DC-Ausgangskreise | |
| EP1555861B1 (de) | Steuerung von Betriebsgeräten für Leuchtmittel mittels Schaltmodulation eines DC-Busses | |
| EP2582545B1 (de) | Schienenfahrzeugnotbeleuchtung | |
| EP1619935B1 (de) | Notlichtvorschaltelement mit digital adressierbarer Steuerschnittstelle | |
| EP0903966B1 (de) | Beleuchtungssystem | |
| EP2365737B1 (de) | Zentraler PFC mit DC-Ausgangskreisregelung | |
| DE102004012215B4 (de) | Ansteuerung von Leuchtmittel-Betriebsgeräten mit einem zentralen kaskadierten AC/DC-Konverter | |
| EP1271745B1 (de) | Verfahren zum Betrieb elektrischer Endverbraucher sowie eine Einrichtung zur Durchführung des Verfahrens | |
| DE112011100717B4 (de) | Betriebsgerät für Leuchtmittel sowie Bussystem und Verfahren zum Betreiben eines Betriebsgerätes | |
| EP2425683B1 (de) | Schnittstelle für eine beleuchtungsanlage | |
| EP2182778A1 (de) | Verfahren zum Steuern einer Außenleuchte und zugehörige Leuchte | |
| DE102004012216B4 (de) | Ansteuerung von Leuchtmittel-Betriebsgeräten über einen schaltbaren DC-Bus | |
| DE102009051738A1 (de) | Notbeleuchtungsgerät mit LED | |
| EP0978924A2 (de) | Elektrische Anlage zur Netz- und Ersatzstromversorgung von Sicherheitsleuchten | |
| EP2484181A1 (de) | Schnittstelle für ein betriebsgerät für leuchtmittel | |
| DE102005059612A1 (de) | Schaltungseinrichtung für ein Straßenbeleuchtungssystem mit ein- und mehrflammigen Leuchten | |
| DE102014111711A1 (de) | Steuerung der Leistungsaufnahme von elektrischen Verbrauchern im Außenbereich | |
| DE202012012473U1 (de) | Vorrichtung zur Ansteuerung einer Leuchtstofflampe |
Legal Events
| Date | Code | Title | Description |
|---|---|---|---|
| PUAI | Public reference made under article 153(3) epc to a published international application that has entered the european phase |
Free format text: ORIGINAL CODE: 0009012 |
|
| AK | Designated contracting states |
Kind code of ref document: A1 Designated state(s): AT BE BG CH CY CZ DE DK EE ES FI FR GB GR HU IE IS IT LI LU MC NL PL PT RO SE SI SK TR |
|
| AX | Request for extension of the european patent |
Extension state: AL HR LT LV MK YU |
|
| 17P | Request for examination filed |
Effective date: 20050927 |
|
| AKX | Designation fees paid |
Designated state(s): AT BE BG CH CY CZ DE DK EE ES FI FR GB GR HU IE IS IT LI LU MC NL PL PT RO SE SI SK TR |
|
| 17Q | First examination report despatched |
Effective date: 20070125 |
|
| RAP1 | Party data changed (applicant data changed or rights of an application transferred) |
Owner name: TRIDONIC GMBH & CO KG |
|
| RIC1 | Information provided on ipc code assigned before grant |
Ipc: H05B 41/24 20060101ALN20130228BHEP Ipc: H05B 37/02 20060101AFI20130228BHEP |
|
| GRAP | Despatch of communication of intention to grant a patent |
Free format text: ORIGINAL CODE: EPIDOSNIGR1 |
|
| INTG | Intention to grant announced |
Effective date: 20130422 |
|
| GRAS | Grant fee paid |
Free format text: ORIGINAL CODE: EPIDOSNIGR3 |
|
| GRAA | (expected) grant |
Free format text: ORIGINAL CODE: 0009210 |
|
| AK | Designated contracting states |
Kind code of ref document: B1 Designated state(s): AT BE BG CH CY CZ DE DK EE ES FI FR GB GR HU IE IS IT LI LU MC NL PL PT RO SE SI SK TR |
|
| REG | Reference to a national code |
Ref country code: GB Ref legal event code: FG4D Free format text: NOT ENGLISH |
|
| REG | Reference to a national code |
Ref country code: CH Ref legal event code: EP Ref country code: AT Ref legal event code: REF Ref document number: 635152 Country of ref document: AT Kind code of ref document: T Effective date: 20131015 |
|
| REG | Reference to a national code |
Ref country code: IE Ref legal event code: FG4D Free format text: LANGUAGE OF EP DOCUMENT: GERMAN |
|
| REG | Reference to a national code |
Ref country code: DE Ref legal event code: R096 Ref document number: 502004014379 Country of ref document: DE Effective date: 20131128 |
|
| REG | Reference to a national code |
Ref country code: NL Ref legal event code: VDEP Effective date: 20131002 |
|
| PG25 | Lapsed in a contracting state [announced via postgrant information from national office to epo] |
Ref country code: SI Free format text: LAPSE BECAUSE OF FAILURE TO SUBMIT A TRANSLATION OF THE DESCRIPTION OR TO PAY THE FEE WITHIN THE PRESCRIBED TIME-LIMIT Effective date: 20131002 |
|
| PG25 | Lapsed in a contracting state [announced via postgrant information from national office to epo] |
Ref country code: NL Free format text: LAPSE BECAUSE OF FAILURE TO SUBMIT A TRANSLATION OF THE DESCRIPTION OR TO PAY THE FEE WITHIN THE PRESCRIBED TIME-LIMIT Effective date: 20131002 Ref country code: CZ Free format text: LAPSE BECAUSE OF FAILURE TO SUBMIT A TRANSLATION OF THE DESCRIPTION OR TO PAY THE FEE WITHIN THE PRESCRIBED TIME-LIMIT Effective date: 20131002 Ref country code: FI Free format text: LAPSE BECAUSE OF FAILURE TO SUBMIT A TRANSLATION OF THE DESCRIPTION OR TO PAY THE FEE WITHIN THE PRESCRIBED TIME-LIMIT Effective date: 20131002 Ref country code: IS Free format text: LAPSE BECAUSE OF FAILURE TO SUBMIT A TRANSLATION OF THE DESCRIPTION OR TO PAY THE FEE WITHIN THE PRESCRIBED TIME-LIMIT Effective date: 20140202 Ref country code: SE Free format text: LAPSE BECAUSE OF FAILURE TO SUBMIT A TRANSLATION OF THE DESCRIPTION OR TO PAY THE FEE WITHIN THE PRESCRIBED TIME-LIMIT Effective date: 20131002 |
|
| PG25 | Lapsed in a contracting state [announced via postgrant information from national office to epo] |
Ref country code: PL Free format text: LAPSE BECAUSE OF FAILURE TO SUBMIT A TRANSLATION OF THE DESCRIPTION OR TO PAY THE FEE WITHIN THE PRESCRIBED TIME-LIMIT Effective date: 20131002 Ref country code: CY Free format text: LAPSE BECAUSE OF FAILURE TO SUBMIT A TRANSLATION OF THE DESCRIPTION OR TO PAY THE FEE WITHIN THE PRESCRIBED TIME-LIMIT Effective date: 20131002 Ref country code: ES Free format text: LAPSE BECAUSE OF FAILURE TO SUBMIT A TRANSLATION OF THE DESCRIPTION OR TO PAY THE FEE WITHIN THE PRESCRIBED TIME-LIMIT Effective date: 20131002 |
|
| BERE | Be: lapsed |
Owner name: TRIDONIC GMBH & CO KG Effective date: 20131130 |
|
| PG25 | Lapsed in a contracting state [announced via postgrant information from national office to epo] |
Ref country code: PT Free format text: LAPSE BECAUSE OF FAILURE TO SUBMIT A TRANSLATION OF THE DESCRIPTION OR TO PAY THE FEE WITHIN THE PRESCRIBED TIME-LIMIT Effective date: 20140203 |
|
| REG | Reference to a national code |
Ref country code: CH Ref legal event code: PL |
|
| REG | Reference to a national code |
Ref country code: DE Ref legal event code: R097 Ref document number: 502004014379 Country of ref document: DE |
|
| PG25 | Lapsed in a contracting state [announced via postgrant information from national office to epo] |
Ref country code: MC Free format text: LAPSE BECAUSE OF FAILURE TO SUBMIT A TRANSLATION OF THE DESCRIPTION OR TO PAY THE FEE WITHIN THE PRESCRIBED TIME-LIMIT Effective date: 20131002 Ref country code: CH Free format text: LAPSE BECAUSE OF NON-PAYMENT OF DUE FEES Effective date: 20131130 Ref country code: EE Free format text: LAPSE BECAUSE OF FAILURE TO SUBMIT A TRANSLATION OF THE DESCRIPTION OR TO PAY THE FEE WITHIN THE PRESCRIBED TIME-LIMIT Effective date: 20131002 Ref country code: LI Free format text: LAPSE BECAUSE OF NON-PAYMENT OF DUE FEES Effective date: 20131130 |
|
| PLBE | No opposition filed within time limit |
Free format text: ORIGINAL CODE: 0009261 |
|
| STAA | Information on the status of an ep patent application or granted ep patent |
Free format text: STATUS: NO OPPOSITION FILED WITHIN TIME LIMIT |
|
| REG | Reference to a national code |
Ref country code: IE Ref legal event code: MM4A |
|
| PG25 | Lapsed in a contracting state [announced via postgrant information from national office to epo] |
Ref country code: SK Free format text: LAPSE BECAUSE OF FAILURE TO SUBMIT A TRANSLATION OF THE DESCRIPTION OR TO PAY THE FEE WITHIN THE PRESCRIBED TIME-LIMIT Effective date: 20131002 Ref country code: IT Free format text: LAPSE BECAUSE OF FAILURE TO SUBMIT A TRANSLATION OF THE DESCRIPTION OR TO PAY THE FEE WITHIN THE PRESCRIBED TIME-LIMIT Effective date: 20131002 Ref country code: RO Free format text: LAPSE BECAUSE OF FAILURE TO SUBMIT A TRANSLATION OF THE DESCRIPTION OR TO PAY THE FEE WITHIN THE PRESCRIBED TIME-LIMIT Effective date: 20131002 |
|
| 26N | No opposition filed |
Effective date: 20140703 |
|
| PG25 | Lapsed in a contracting state [announced via postgrant information from national office to epo] |
Ref country code: DK Free format text: LAPSE BECAUSE OF FAILURE TO SUBMIT A TRANSLATION OF THE DESCRIPTION OR TO PAY THE FEE WITHIN THE PRESCRIBED TIME-LIMIT Effective date: 20131002 Ref country code: BE Free format text: LAPSE BECAUSE OF NON-PAYMENT OF DUE FEES Effective date: 20131130 |
|
| REG | Reference to a national code |
Ref country code: DE Ref legal event code: R097 Ref document number: 502004014379 Country of ref document: DE Effective date: 20140703 |
|
| PG25 | Lapsed in a contracting state [announced via postgrant information from national office to epo] |
Ref country code: IE Free format text: LAPSE BECAUSE OF NON-PAYMENT OF DUE FEES Effective date: 20131126 |
|
| PG25 | Lapsed in a contracting state [announced via postgrant information from national office to epo] |
Ref country code: TR Free format text: LAPSE BECAUSE OF FAILURE TO SUBMIT A TRANSLATION OF THE DESCRIPTION OR TO PAY THE FEE WITHIN THE PRESCRIBED TIME-LIMIT Effective date: 20131002 |
|
| PG25 | Lapsed in a contracting state [announced via postgrant information from national office to epo] |
Ref country code: BG Free format text: LAPSE BECAUSE OF FAILURE TO SUBMIT A TRANSLATION OF THE DESCRIPTION OR TO PAY THE FEE WITHIN THE PRESCRIBED TIME-LIMIT Effective date: 20131002 Ref country code: HU Free format text: LAPSE BECAUSE OF FAILURE TO SUBMIT A TRANSLATION OF THE DESCRIPTION OR TO PAY THE FEE WITHIN THE PRESCRIBED TIME-LIMIT; INVALID AB INITIO Effective date: 20041126 Ref country code: LU Free format text: LAPSE BECAUSE OF NON-PAYMENT OF DUE FEES Effective date: 20131126 |
|
| PG25 | Lapsed in a contracting state [announced via postgrant information from national office to epo] |
Ref country code: GR Free format text: LAPSE BECAUSE OF NON-PAYMENT OF DUE FEES Effective date: 20131002 |
|
| REG | Reference to a national code |
Ref country code: FR Ref legal event code: PLFP Year of fee payment: 12 |
|
| PG25 | Lapsed in a contracting state [announced via postgrant information from national office to epo] |
Ref country code: GR Free format text: LAPSE BECAUSE OF FAILURE TO SUBMIT A TRANSLATION OF THE DESCRIPTION OR TO PAY THE FEE WITHIN THE PRESCRIBED TIME-LIMIT Effective date: 20140103 |
|
| REG | Reference to a national code |
Ref country code: FR Ref legal event code: PLFP Year of fee payment: 13 |
|
| PGFP | Annual fee paid to national office [announced via postgrant information from national office to epo] |
Ref country code: AT Payment date: 20161125 Year of fee payment: 13 |
|
| REG | Reference to a national code |
Ref country code: FR Ref legal event code: PLFP Year of fee payment: 14 |
|
| REG | Reference to a national code |
Ref country code: AT Ref legal event code: MM01 Ref document number: 635152 Country of ref document: AT Kind code of ref document: T Effective date: 20171126 |
|
| PG25 | Lapsed in a contracting state [announced via postgrant information from national office to epo] |
Ref country code: AT Free format text: LAPSE BECAUSE OF NON-PAYMENT OF DUE FEES Effective date: 20171126 |
|
| REG | Reference to a national code |
Ref country code: DE Ref legal event code: R084 Ref document number: 502004014379 Country of ref document: DE |
|
| PGFP | Annual fee paid to national office [announced via postgrant information from national office to epo] |
Ref country code: FR Payment date: 20191126 Year of fee payment: 16 |
|
| PGFP | Annual fee paid to national office [announced via postgrant information from national office to epo] |
Ref country code: GB Payment date: 20191128 Year of fee payment: 16 |
|
| GBPC | Gb: european patent ceased through non-payment of renewal fee |
Effective date: 20201126 |
|
| PG25 | Lapsed in a contracting state [announced via postgrant information from national office to epo] |
Ref country code: FR Free format text: LAPSE BECAUSE OF NON-PAYMENT OF DUE FEES Effective date: 20201130 |
|
| PG25 | Lapsed in a contracting state [announced via postgrant information from national office to epo] |
Ref country code: GB Free format text: LAPSE BECAUSE OF NON-PAYMENT OF DUE FEES Effective date: 20201126 |
|
| PGFP | Annual fee paid to national office [announced via postgrant information from national office to epo] |
Ref country code: DE Payment date: 20220527 Year of fee payment: 19 |
|
| P01 | Opt-out of the competence of the unified patent court (upc) registered |
Effective date: 20230530 |
|
| REG | Reference to a national code |
Ref country code: DE Ref legal event code: R119 Ref document number: 502004014379 Country of ref document: DE |
|
| PG25 | Lapsed in a contracting state [announced via postgrant information from national office to epo] |
Ref country code: DE Free format text: LAPSE BECAUSE OF NON-PAYMENT OF DUE FEES Effective date: 20240601 |
|
| PG25 | Lapsed in a contracting state [announced via postgrant information from national office to epo] |
Ref country code: DE Free format text: LAPSE BECAUSE OF NON-PAYMENT OF DUE FEES Effective date: 20240601 |