EP1537334B1 - Pumpe, insbesondere für eine kraftstoffeinspritzeinrichtung für eine brennkraftmaschine - Google Patents
Pumpe, insbesondere für eine kraftstoffeinspritzeinrichtung für eine brennkraftmaschine Download PDFInfo
- Publication number
- EP1537334B1 EP1537334B1 EP03739364A EP03739364A EP1537334B1 EP 1537334 B1 EP1537334 B1 EP 1537334B1 EP 03739364 A EP03739364 A EP 03739364A EP 03739364 A EP03739364 A EP 03739364A EP 1537334 B1 EP1537334 B1 EP 1537334B1
- Authority
- EP
- European Patent Office
- Prior art keywords
- pump
- blind bore
- bore
- housing part
- valve
- Prior art date
- Legal status (The legal status is an assumption and is not a legal conclusion. Google has not performed a legal analysis and makes no representation as to the accuracy of the status listed.)
- Expired - Lifetime
Links
- 239000000446 fuel Substances 0.000 title claims description 21
- 238000002485 combustion reaction Methods 0.000 title claims description 5
- 238000002347 injection Methods 0.000 title claims description 4
- 239000007924 injection Substances 0.000 title claims description 4
- 230000007704 transition Effects 0.000 claims description 4
- 230000006835 compression Effects 0.000 description 2
- 238000007906 compression Methods 0.000 description 2
- 238000004519 manufacturing process Methods 0.000 description 2
- 230000001419 dependent effect Effects 0.000 description 1
- 238000011161 development Methods 0.000 description 1
- 230000018109 developmental process Effects 0.000 description 1
- 239000002828 fuel tank Substances 0.000 description 1
- 238000007789 sealing Methods 0.000 description 1
Images
Classifications
-
- F—MECHANICAL ENGINEERING; LIGHTING; HEATING; WEAPONS; BLASTING
- F02—COMBUSTION ENGINES; HOT-GAS OR COMBUSTION-PRODUCT ENGINE PLANTS
- F02M—SUPPLYING COMBUSTION ENGINES IN GENERAL WITH COMBUSTIBLE MIXTURES OR CONSTITUENTS THEREOF
- F02M55/00—Fuel-injection apparatus characterised by their fuel conduits or their venting means; Arrangements of conduits between fuel tank and pump F02M37/00
-
- F—MECHANICAL ENGINEERING; LIGHTING; HEATING; WEAPONS; BLASTING
- F02—COMBUSTION ENGINES; HOT-GAS OR COMBUSTION-PRODUCT ENGINE PLANTS
- F02M—SUPPLYING COMBUSTION ENGINES IN GENERAL WITH COMBUSTIBLE MIXTURES OR CONSTITUENTS THEREOF
- F02M55/00—Fuel-injection apparatus characterised by their fuel conduits or their venting means; Arrangements of conduits between fuel tank and pump F02M37/00
- F02M55/004—Joints; Sealings
- F02M55/005—Joints; Sealings for high pressure conduits, e.g. connected to pump outlet or to injector inlet
-
- F—MECHANICAL ENGINEERING; LIGHTING; HEATING; WEAPONS; BLASTING
- F02—COMBUSTION ENGINES; HOT-GAS OR COMBUSTION-PRODUCT ENGINE PLANTS
- F02M—SUPPLYING COMBUSTION ENGINES IN GENERAL WITH COMBUSTIBLE MIXTURES OR CONSTITUENTS THEREOF
- F02M59/00—Pumps specially adapted for fuel-injection and not provided for in groups F02M39/00 -F02M57/00, e.g. rotary cylinder-block type of pumps
- F02M59/44—Details, components parts, or accessories not provided for in, or of interest apart from, the apparatus of groups F02M59/02 - F02M59/42; Pumps having transducers, e.g. to measure displacement of pump rack or piston
-
- F—MECHANICAL ENGINEERING; LIGHTING; HEATING; WEAPONS; BLASTING
- F04—POSITIVE - DISPLACEMENT MACHINES FOR LIQUIDS; PUMPS FOR LIQUIDS OR ELASTIC FLUIDS
- F04B—POSITIVE-DISPLACEMENT MACHINES FOR LIQUIDS; PUMPS
- F04B1/00—Multi-cylinder machines or pumps characterised by number or arrangement of cylinders
- F04B1/04—Multi-cylinder machines or pumps characterised by number or arrangement of cylinders having cylinders in star- or fan-arrangement
- F04B1/0404—Details or component parts
- F04B1/0452—Distribution members, e.g. valves
-
- F—MECHANICAL ENGINEERING; LIGHTING; HEATING; WEAPONS; BLASTING
- F04—POSITIVE - DISPLACEMENT MACHINES FOR LIQUIDS; PUMPS FOR LIQUIDS OR ELASTIC FLUIDS
- F04B—POSITIVE-DISPLACEMENT MACHINES FOR LIQUIDS; PUMPS
- F04B53/00—Component parts, details or accessories not provided for in, or of interest apart from, groups F04B1/00 - F04B23/00 or F04B39/00 - F04B47/00
- F04B53/16—Casings; Cylinders; Cylinder liners or heads; Fluid connections
Definitions
- the invention relates to a pump, in particular for a fuel injection device for an internal combustion engine according to the preamble of claim 1.
- Such a pump is through the DE 198 48 035 A1 known.
- This pump has at least one pump element with a pump piston which is tightly guided in a cylinder bore of a housing part and delimits a pump working space in the cylinder bore with its end face.
- the pump piston is driven in a stroke.
- the pump working space has a connection with an inlet channel controlled by an inlet valve opening into the pump working space, and a connection with a drainage channel controlled by an outlet valve opening from the pump working space.
- the inlet valve has a valve member cooperating with a valve seat, which is acted upon by a valve spring to the valve seat.
- the opening into the pump working chamber part of the inlet channel is formed by an inserted into a bore of the housing part separate component, on which also the valve seat is formed.
- the bore of the housing part is closed with a screw plug. Due to the many items, the production and assembly of the known pump is complicated and expensive.
- the pump according to the invention with the features of claim 1 has the advantage that it is easy and inexpensive to manufacture and assemble, since the number of their parts is reduced.
- FIG. 1 a pump in a longitudinal section
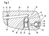
- FIG. 2 one in FIG. 1 With II designated section of the pump in an enlarged view.
- a pump is shown, which is provided in particular for a fuel injection device for an internal combustion engine, for example a motor vehicle.
- the pump thereby fuel under high pressure of up to 2000 bar promoted, for example, in a memory.
- the pump has a housing which has, for example, a housing part 10 and a flange part 11 connected thereto.
- a drive shaft 12 is arranged through which one or more arranged in the housing pump elements 14 are driven.
- a plurality of pump elements 14 are arranged distributed over the circumference of the drive shaft 12.
- the drive shaft 12 is connected via a bearing 16 in the housing part 10 and over a bearing 18 in the flange 11 is rotatably mounted about an axis 13 and is driven in a manner not shown by the internal combustion engine.
- the drive shaft 12 has an eccentric portion 20 on which a cam ring 22 is mounted.
- the pump element 14 has a pump piston 24 which is displaceably guided in an at least approximately radially to the drive shaft 12 extending cylinder bore 26 of the housing part 10.
- the pump piston 24 is supported with its piston foot 25 on the cam ring 22, wherein the piston 25 is held by a spring 28, which is supported on the one hand on the housing part 10 and the other hand on the piston 25 in contact with the cam ring 22.
- a pump working chamber 30 is limited in the cylinder bore 26 with its front side.
- the pump working space 30 can be connected to a fuel feed channel 34, in which low pressure prevails, by means of an inlet valve 32 which opens into the pump working chamber 30.
- the pump working chamber 30 can also be connected to the accumulator by means of an outlet valve 36 which opens toward the accumulator via a fuel outlet channel 38 extending in the housing part 10.
- the pump piston 24 When the pump piston 24 moves radially inward, it performs a suction stroke, wherein the inlet valve 32 is opened, so that fuel flows into the pump working chamber 30 via the fuel inlet passage 34, while the outlet valve 36 is closed.
- the pump piston 24 moves radially outward, it performs a delivery stroke, wherein the inlet valve 32 is closed and the fuel compressed by the pump piston 24 passes through the open outlet valve 36 under high pressure via the fuel drain passage 38 into the memory.
- a first blind bore 42 adjoins the pump work chamber 30, which is arranged in the end region of the cylinder bore 26 which is radially remote from the drive shaft 12, as part of the fuel feed channel 34.
- the first blind bore 42 has compared to the cylinder bore 26 has a smaller diameter and preferably extends at least approximately coaxial with the cylinder bore 26.
- the first blind bore 42 terminates within the housing part 10.
- the transition from the cylinder bore 26 to the first blind bore 42 is for example at least approximately conical and forms a valve seat 44 for the inlet valve 32.
- the inlet valve 32 has a valve member 46, which is formed for example as a ball, and which cooperates with the valve seat 44 for controlling the connection of the pump chamber 30 with the fuel supply passage 34.
- valve member 46 is acted upon by a prestressed valve spring 48, for example in the form of a helical compression spring, toward the valve seat 44.
- a support member may be arranged in the form of a spring plate.
- the valve spring 48 may be fixedly supported on the housing part 10 or as shown in the figure on the end face of the pump piston 24th
- first blind bore 42 opens as a further part of the fuel inlet channel 34 introduced in the housing part 10 second blind bore 50, which also ends in the housing part 10.
- the second blind bore 50 extends inclined to the first blind bore 42, preferably at least approximately perpendicular to the first blind bore 42 and at least approximately parallel to the rotational axis 13 of the drive shaft 12.
- the second blind bore 50 is introduced from a side facing the flange 11 side surface 52 of the housing part 10.
- the fuel inlet channel 34 is set starting from a side surface 54 the flange 11, wherein on the flange 11, a connection 56 may be provided for a supply line via which fuel is supplied from a fuel tank, for example by a feed pump.
- a sealing element 58 may be clamped.
- the mutually facing side surfaces 52 and 54 of the housing part 10 and the flange 11 extend for example at least approximately perpendicular to the axis of rotation 13 of the drive shaft 12 and may be flat.
- the housing part 10 and the flange 11 are connected to each other in a manner not shown, for example by means of several screws.
- the fuel channel 34 in the housing part 10 forming blind holes 42 and 50 can be introduced in a simple manner from the cylinder bore 26 forth or from the side surface 52 ago in the housing part 10.
- the housing part 10 has no openings for the fuel channel 34 on its outer side.
- For the inlet valve 32 only the valve member 46 and the valve spring 48 and optionally the support element arranged between them are required as additional components.
- a common housing part 10 is provided for a plurality of pump elements 14, in which a corresponding number of the cylinder bores 26 and the blind holes 42 and 50 are introduced.
- a separate housing part 10 is provided for each pump element 14, in each of which only a cylinder bore 26 and a blind bore 42,50 is introduced. The housing parts 10 of the pump elements 14 are then connected together in a suitable manner.
- a bore 60 which is at least approximately perpendicular to the longitudinal axis of the Cylinder bore 26 extends.
- the bore 60 is formed multi-stepped in diameter, with their opening into the pump working chamber 30 end portion has a small diameter.
- a central portion of the bore 60 joins away from the pump working space 30, wherein the transition between the end portion and the central portion may be approximately conical, for example, and forms a valve seat 62 for the outlet valve 36.
- a valve member 64 of the outlet valve 36 for example in the form of a ball, cooperates with the fuel outlet channel 38 for controlling the connection of the pump working chamber 30.
- a screw plug 66 is screwed. Between the plug screw 66 and the valve member 64 is a biased valve spring 68, for example in the form of a helical compression spring, clamped by the valve member 64 is acted upon the valve seat 62 out.
Landscapes
- Engineering & Computer Science (AREA)
- Mechanical Engineering (AREA)
- General Engineering & Computer Science (AREA)
- Chemical & Material Sciences (AREA)
- Combustion & Propulsion (AREA)
- Fuel-Injection Apparatus (AREA)
- Details Of Reciprocating Pumps (AREA)
- Reciprocating Pumps (AREA)
Description
- Die Erfindung geht aus von einer Pumpe, insbesondere für eine Kraftstoff einspritzeinrichtung für eine Brennkraftmaschine nach der Gattung des Anspruchs 1.
- Eine solche Pumpe ist durch die
DE 198 48 035 A1 bekannt. Diese Pumpe weist wenigstens ein Pumpenelement mit einem in einer Zylinderbohrung eines Gehäuseteils dicht geführten Pumpenkolben auf, der in der Zylinderbohrung mit seiner Stirnseite einen Pumpenarbeitsraum begrenzent. Der Pumpenkolben wird dabei in einer Hubbewegung angetrieben. Der Pumpenarbeitsraum weist eine durch ein in den Pumpenarbeitsraum öffnendes Einlassventil gesteuerte Verbindung mit einem Zulaufkanal und eine durch ein aus dem Pumpenarbeitsraum öffnendes Auslassventil gesteuerte Verbindung mit einem Ablaufkanal auf. Das Einlassventil weist ein mit einem Ventilsitz zusammenwirkendes Ventilglied auf, das durch eine Ventilfeder zum Ventilsitz hin beaufschlagt ist. Der in den Pumpenarbeitsraum mündende Teil des Zulaufkanals ist durch ein in eine Bohrung des Gehäuseteils eingesetztes separates Bauteil gebildet, an dem auch der Ventilsitz ausgebildet ist. Die Bohrung des Gehäuseteils ist mit einer Verschlußschraube verschlossen. Aufgrund der vielen Einzelteile ist die Fertigung und Montage der bekannten Pumpe aufwendig und teuer. - Die erfindungsgemäße Pumpe mit den Merkmalen gemäß Anspruch 1 hat demgegenüber den Vorteil, daß diese einfach und kostengünstig herstellbar und montierbar ist, da die Anzahl von deren Einzelteilen reduziert ist.
- In den abhängigen Ansprüchen sind vorteilhafte Ausgestaltungen und Weiterbildungen der erfindungsgemäßen Pumpe angegeben.
- Ein Ausführungsbeispiel der Erfindung ist in der Zeichnung dargestellt und in der nachfolgenden Beschreibung näher erläutert. Es zeigen
Figur 1 eine Pumpe in einem Längsschnitt undFigur 2 einen inFigur 1 mit II bezeichneten Ausschnitt der Pumpe in vergrößerter Darstellung. - In den
Figuren 1 und2 ist eine Pumpe dargestellt, die insbesondere für eine Kraftstoff einspritzeinrichtung für eine Brennkraftmaschine beispielsweise eines Kraftfahrzeugs vorgesehen ist. Durch die Pumpe wird dabei Kraftstoff unter Hochdruck von bis zu 2000 bar gefördert, beispielsweise in einen Speicher. Die Pumpe weist ein Gehäuse auf, das beispielsweise ein Gehäuseteil 10 und ein mit diesem verbundenes Flanschteil 11 aufweist. Im Gehäuse ist eine Antriebswelle 12 angeordnet, durch die ein oder mehrere im Gehäuse angeordnete Pumpenelemente 14 angetrieben werden. Vorzugsweise sind mehrere Pumpenelemente 14 über den Umfang der Antriebswelle 12 verteilt angeordnet. Die Antriebswelle 12 ist über eine Lagerstelle 16 im Gehäuseteil 10 und über eine Lagerstelle 18 im Flanschteil 11 um eine Achse 13 drehbar gelagert und wird in nicht dargestellter Weise durch die Brennkraftmaschine angetrieben. Die Antriebswelle 12 weist einen Exzenterabschnitt 20 auf, auf dem ein Hubring 22 gelagert ist. Das Pumpenelement 14 weist einen Pumpenkolben 24 auf, der in einer zumindest annähernd radial zur Antriebswelle 12 verlaufenden Zylinderbohrung 26 des Gehäuseteils 10 verschiebbar dicht geführt ist. Der Pumpenkolben 24 stützt sich mit seinem Kolbenfuß 25 am Hubring 22 ab, wobei der Kolbenfuß 25 durch eine Feder 28, die sich einerseits am Gehäuseteil 10 und andererseits am Kolbenfuß 25 abstützt, in Anlage am Hubring 22 gehalten wird. Durch den Pumpenkolben 24 wird in der Zylinderbohrung 26 mit seiner Stirnseite ein Pumpenarbeitsraum 30 begrenzt. Der Pumpenarbeitsraum 30 ist der durch ein in den Pumpenarbeitsraum 30 öffnendes Einlassventil 32 mit einem Kraftstoffzulaufkanal 34 verbindbar ist, in dem Niederdruck herrscht. Der Pumpenarbeitsraum 30 ist außerdem durch ein zum Speicher hin öffnendes Auslassventil 36 über einen im Gehäuseteil 10 verlaufenden Kraftstoffablaufkanal 38 mit dem Speicher verbindbar. Bei der Rotation der Antriebswelle 12 wird der Pumpenkolben 24 über den Exzenterabschnitt 20 und den Hubring 22 in einer Hubbewegung angetrieben. Wenn der Pumpenkolben 24 sich radial nach innen bewegt, so führt dieser einen Saughub aus, wobei das Einlassventil 32 geöffnet ist, so dass Kraftstoff über den Kraftstoffzulaufkanal 34 in den Pumpenarbeitsraum 30 einströmt, während das Auslassventil 36 geschlossen ist. Wenn der Pumpenkolben 24 sich radial nach außen bewegt, so führt dieser einen Förderhub aus, wobei das Einlassventil 32 geschlossen ist und der vom Pumpenkolben 24 verdichtete Kraftstoff durch das geöffnete Auslassventil 36 unter hohem Druck über den Kraftstoffablaufkanal 38 in den Speicher gelangt. - Im Gehäuseteil 12 schließt sich an den in dem der Antriebswelle 12 radial abgewandten Endbereich der Zylinderbohrung 26 angeordneten Pumpenarbeitsraum 30 als Teil des Kraftstoffzulaufkanals 34 eine erste Sackbohrung 42 an. Die erste Sackbohrung 42 weist gegenüber der Zylinderbohrung 26 einen kleineren Durchmesser auf und verläuft vorzugsweise zumindest annähernd koaxial zur Zylinderbohrung 26. Die erste Sackbohrung 42 endet innerhalb des Gehäuseteils 10. Der Übergang von der Zylinderbohrung 26 zur ersten Sackbohrung 42 ist beispielsweise zumindest annähernd konisch ausgebildet und bildet einen Ventilsitz 44 für das Einlassventil 32. Das Einlassventil 32 weist ein Ventilglied 46 auf, das beispielsweise als Kugel ausgebildet ist, und das mit dem Ventilsitz 44 zur Steuerung der Verbindung des Pumpenarbeitsraums 30 mit dem Kraftstoffzulaufkanal 34 zusammenwirkt. Das Ventilglied 46 wird durch eine vorgespannte Ventilfeder 48, beispielsweise in Form einer Schraubendruckfeder, zum Ventilsitz 44 hin beaufschlagt. Zwischen der Ventilfeder 48 und dem Ventilglied 46 kann ein Stützelement in Form eines Federtellers angeordnet sein. Die Ventilfeder 48 kann sich ortsfest am Gehäuseteil 10 abstützen oder wie in der Figur dargestellt an der Stirnseite des Pumpenkolbens 24.
- In die erste Sackbohrung 42 mündet als weiterer Teil des Kraftstoffzulaufkanals 34 eine im Gehäuseteil 10 eingebrachte zweite Sackbohrung 50, die ebenfalls im Gehäuseteil 10 endet. Die zweite Sackbohrung 50 verläuft geneigt zur ersten Sackbohrung 42, vorzugsweise zumindest annähernd senkrecht zur ersten Sackbohrung 42 und zumindest annähernd parallel zur Drehachse 13 der Antriebswelle 12. Die zweite Sackbohrung 50 ist von einer dem Flanschteil 11 zugewandten Seitenfläche 52 des Gehäuseteils 10 aus eingebracht. Im Flanschteil 11 setzt sich der Kraftstoffzulaufkanal 34 ausgehend von einer Seitenfläche 54 des Flanschteils 11 fort, wobei am Flanschteil 11 ein Anschluss 56 für eine Zulaufleitung vorgesehen sein kann, über die beispielsweise durch eine Förderpumpe Kraftstoff aus einem Kraftstoffvorratsbehälter zugeführt wird. Am Übergang des Kraftstoffkanals 34 zwischen dem Flanschteil 11 und dem Gehäuseteil 10 kann ein Dichtelement 58 eingespannt sein. Die einander zugewandten Seitenflächen 52 und 54 des Gehäuseteils 10 und des Flanschteils 11 verlaufen beispielsweise zumindest annähernd senkrecht zur Drehachse 13 der Antriebswelle 12 und können eben ausgebildet sein. Das Gehäuseteil 10 und das Flanschteil 11 sind in nicht näher dargestellter Weise miteinander verbunden, beispielsweise mittels mehrerer Schrauben.
- Die den Kraftstoffkanal 34 im Gehäuseteil 10 bildenden Sackbohrungen 42 und 50 können auf einfache Weise von der Zylinderbohrung 26 her bzw. von der Seitenfläche 52 her in das Gehäuseteil 10 eingebracht werden. Das Gehäuseteil 10 weist dabei für den Kraftstoffkanal 34 an seiner Außenseite keine Öffnungen auf. Für das Einlassventil 32 sind als zusätzliche Bauteile lediglich das Ventilglied 46 und die Ventilfeder 48 sowie gegebenenfalls das zwischen diesen angeordnete Stützelement erforderlich. Es kann vorgesehen sein, dass für mehrere Pumpenelemente 14 ein gemeinsames Gehäuseteil 10 vorgesehen ist, in dem in entsprechender Anzahl die Zylinderbohrungen 26 sowie die Sackbohrungen 42 und 50 eingebracht sind. Alternativ kann auch vorgesehen sein, dass für jedes Pumpenelement 14 ein separates Gehäuseteil 10 vorgesehen ist, in dem jeweils nur eine Zylinderbohrung 26 sowie eine Sackbohrung 42,50 eingebracht ist. Die Gehäuseteile 10 der Pumpenelemente 14 sind dann in geeigneter Weise miteinander verbunden.
- Als Teil des Kraftstoffablaufkanals 38 mündet in den Pumpenarbeitsraum 30 in der Zylinderbohrung 26 eine Bohrung 60, die zumindest annähernd senkrecht zur Längsachse der Zylinderbohrung 26 verläuft. Die Bohrung 60 ist im Durchmesser mehrfach gestuft ausgebildet, wobei deren in den Pumpenarbeitsraum 30 mündender Endabschnitt einen kleinen Durchmessser aufweist. An den Endabschnitt schließt sich vom Pumpenarbeitsraum 30 weg ein mittlerer Abschnitt der Bohrung 60 an, wobei der Übergang zwischen dem Endabschnitt und dem mittleren Abschnitt beispielsweise etwa konisch ausgebildet sein kann und einen Ventilsitz 62 für das Auslassventil 36 bildet. Mit dem Ventilsitz 62 wirkt ein Ventilglied 64 des Auslassventils 36, beispielsweise in Form einer Kugel, zur Steuerung der Verbindung des Pumpenarbeitsraums 30 mit dem Kraftstoffablaufkanal 38 zusammen. In einen im Durchmesser gegenüber dem mittleren Abschnitt weiter vergrößerten und mit einem Innengewinde versehenen äußeren Abschnitt der Bohrung 60 ist eine Verschlußschraube 66 eingeschraubt. Zwischen der Verschlußschraube 66 und dem Ventilglied 64 ist eine vorgespannte Ventilfeder 68, beispielsweise in Form einer Schraubendruckfeder, eingespannt, durch die das Ventilglied 64 zum Ventilsitz 62 hin beaufschlagt ist.
Claims (7)
- Pumpe, insbesondere für eine Kraftstoffeinspritzeinrichtung für eine Brennkraftmaschine, mit wenigstens einem Pumpenelement (14), das einen in einer Zylinderbohrung (26) eines Gehäuseteils (10) dicht geführten Pumpenkolben (24) aufweist, der in der Zylinderbohrung (26) einen Pumpenarbeitsraum (30) begrenzt und der in einer Hubbewegung angetrieben wird, wobei der Pumpenarbeitsraum (26) eine durch ein in den Pumpenarbeitsraum (30) öffnendes Einlassventil (32) gesteuerte Verbindung mit einem Zulaufkanal (34) und eine durch ein aus dem Pumpenarbeitsraum (30) öffnendes Auslassventil (36) gesteuerte Verbindung mit einem Ablaufkanal (38) aufweist, wobei das Einlassventil (32) ein mit einem Ventilsitz (44) zusammenwirkendes Ventilglied (46) aufweist, das durch eine Ventilfeder (48) in einer Schließrichtung zum Ventilsitz (44) hin beaufschlagt ist, dadurch gekennzeichnet, dass der Zulaufkanal (34) im Gehäuseteil (10) einen sich an den Pumpenarbeitsraum (30) in der Zylinderbohrung (26) anschließenden Teil in Form einer ersten Sackbohrung (42) mit kleinerem Durchmesser als die Zylinderbohrung (26) aufweist, dass am Übergang von der Zylinderbohrung (26) zur ersten Sackbohrung (42) der Ventilsitz (44) gebildet ist und dass in die erste Sackbohrung (42) als weiterer Teil des Zulaufkanals (34) eine zweite Sackbohrung (50) mündet.
- Pumpe nach Anspruch 1, dadurch gekennzeichnet, dass die erste Sackbohrung (42) zumindest annähernd koaxial zur Zylinderbohrung (26) verläuft.
- Pumpe nach Anspruch 1 oder 2, dadurch gekennzeichnet, dass die zweite Sackbohrung (50) geneigt zur ersten Sackbohrung (42) im Gehäuseteil (10) verläuft.
- Pumpe nach Anspruch 3, dadurch gekennzeichnet, dass die zweite Sackbohrung (50) zumindest annähernd senkrecht zur ersten Sackbohrung (42) verläuft.
- Pumpe nach einem der Ansprüche 1 bis 4, dadurch gekennzeichnet, dass die zweite Sackbohrung (50) von einer Seitenfläche (52) des Gehäuseteils (10) ausgeht, an die sich ein weiteres Gehäuseteil (11) anschließt.
- Pumpe nach einem der vorstehenden Ansprüche, dadurch gekennzeichnet, dass im Gehäuseteil (10) eine Antriebswelle (12) zum Antrieb des wenigstens einen Pumpenelements (14) drehbar gelagert ist, dass die Zylinderbohrung (26) und die erste Sackbohrung (42) zumindest annähernd radial zur Drehachse (13) der Antriebswelle (12) verlaufen und dass die zweite Sackbohrung (50) zumindest annähernd parallel zur Drehachse (13) der Antriebswelle (12) verläuft.
- Pumpe nach einem der vorstehenden Ansprüche, dadurch gekennzeichnet, dass für jeweils ein Pumpenelement (14) ein separates Gehäuseteil (10) vorgesehen ist, in dem die Zylinderbohrung (26), die erste Sackbohrung (46), der Ventilsitz (44) und die zweite Sackbohrung (50) für das Pumpenelement (14) eingebracht sind.
Applications Claiming Priority (3)
| Application Number | Priority Date | Filing Date | Title |
|---|---|---|---|
| DE10239728A DE10239728A1 (de) | 2002-08-29 | 2002-08-29 | Pumpe, insbesondere für eine Kraftstoffeinspritzeinrichtung für eine Brennkraftmaschine |
| DE10239728 | 2002-08-29 | ||
| PCT/DE2003/000383 WO2004022975A1 (de) | 2002-08-29 | 2003-02-11 | Pumpe, insbesondere für eine kraftstoffeinspritzeinrichtung für eine brennkraftmaschine |
Publications (2)
| Publication Number | Publication Date |
|---|---|
| EP1537334A1 EP1537334A1 (de) | 2005-06-08 |
| EP1537334B1 true EP1537334B1 (de) | 2010-10-13 |
Family
ID=31502103
Family Applications (1)
| Application Number | Title | Priority Date | Filing Date |
|---|---|---|---|
| EP03739364A Expired - Lifetime EP1537334B1 (de) | 2002-08-29 | 2003-02-11 | Pumpe, insbesondere für eine kraftstoffeinspritzeinrichtung für eine brennkraftmaschine |
Country Status (5)
| Country | Link |
|---|---|
| US (1) | US7210463B2 (de) |
| EP (1) | EP1537334B1 (de) |
| JP (1) | JP4309840B2 (de) |
| DE (2) | DE10239728A1 (de) |
| WO (1) | WO2004022975A1 (de) |
Families Citing this family (7)
| Publication number | Priority date | Publication date | Assignee | Title |
|---|---|---|---|---|
| DE102004028999A1 (de) * | 2004-06-16 | 2006-01-05 | Robert Bosch Gmbh | Hochdruckpumpe für eine Kraftstoffeinspritzeinrichtung einer Brennkraftmaschine |
| EP1813844A1 (de) * | 2006-01-31 | 2007-08-01 | Centro Studi Componenti per Veicoli S.P.A. | Hochdruckkolbenpumpe zur kräftstoffförderung an eine Brennkraftmaschine |
| DE102008043217A1 (de) * | 2008-10-28 | 2010-04-29 | Robert Bosch Gmbh | Kraftstoff-Hochdruckpumpe für eine Brennkraftmaschine |
| US20130017107A1 (en) * | 2011-07-14 | 2013-01-17 | Neo Mechanics Limited | Diesel engine fuel injection pump which pistons are sealed with all metal seal rings |
| ITMI20132109A1 (it) * | 2013-12-17 | 2015-06-18 | Bosch Gmbh Robert | Gruppo pompa per alimentare combustibile, preferibilmente gasolio, ad un motore a combustione interna |
| US10012228B2 (en) * | 2014-04-17 | 2018-07-03 | Danfoss Power Solutions Gmbh & Co. Ohg | Variable fluid flow hydraulic pump |
| GB2555599A (en) * | 2016-11-02 | 2018-05-09 | Delphi Int Operations Luxembourg Sarl | Fuel pump |
Family Cites Families (8)
| Publication number | Priority date | Publication date | Assignee | Title |
|---|---|---|---|---|
| IT1218675B (it) * | 1987-08-25 | 1990-04-19 | Weber Srl | Pompa a stantuffi radiali in particolare pompa per l'iniezione di combustibile in motori a ciclo diesel |
| IT239879Y1 (it) * | 1996-12-23 | 2001-03-13 | Elasis Sistema Ricerca Fiat | Perfezionamenti ad una pompa a pistoni, in particolare ad una pompa apistoni radiali per il carburante di un motore a combustione interna. |
| DE19801353A1 (de) * | 1998-01-16 | 1999-07-22 | Bosch Gmbh Robert | Radialkolbenpumpe zur Kraftstoffhochdruckversorgung |
| DE19848035A1 (de) * | 1998-10-17 | 2000-04-20 | Bosch Gmbh Robert | Radialkolbenpumpe für Kraftstoffhochdruckerzeugung |
| JP4088738B2 (ja) * | 1998-12-25 | 2008-05-21 | 株式会社デンソー | 燃料噴射ポンプ |
| IT1310755B1 (it) * | 1999-11-30 | 2002-02-22 | Elasis Sistema Ricerca Fiat | Pompa idraulica ad alta pressione, in particolare pompa a pistoniradiali per il carburante di un motore a combustione interna. |
| DE10117600C1 (de) * | 2001-04-07 | 2002-08-22 | Bosch Gmbh Robert | Hochdruck-Kraftstoffpumpe für ein Kraftstoffsystem einer direkteinspritzenden Brennkraftmaschine, Kraftstoffsystem sowie Brennkraftmaschine |
| US20040022654A1 (en) * | 2002-08-05 | 2004-02-05 | Takashi Ishida | Piston type small discharge pump |
-
2002
- 2002-08-29 DE DE10239728A patent/DE10239728A1/de not_active Withdrawn
-
2003
- 2003-02-11 EP EP03739364A patent/EP1537334B1/de not_active Expired - Lifetime
- 2003-02-11 JP JP2004533186A patent/JP4309840B2/ja not_active Expired - Fee Related
- 2003-02-11 WO PCT/DE2003/000383 patent/WO2004022975A1/de not_active Ceased
- 2003-02-11 DE DE50313186T patent/DE50313186D1/de not_active Expired - Lifetime
- 2003-02-11 US US10/493,951 patent/US7210463B2/en not_active Expired - Lifetime
Also Published As
| Publication number | Publication date |
|---|---|
| DE10239728A1 (de) | 2004-03-11 |
| US20050031478A1 (en) | 2005-02-10 |
| JP4309840B2 (ja) | 2009-08-05 |
| JP2005537425A (ja) | 2005-12-08 |
| EP1537334A1 (de) | 2005-06-08 |
| DE50313186D1 (de) | 2010-11-25 |
| WO2004022975A1 (de) | 2004-03-18 |
| US7210463B2 (en) | 2007-05-01 |
Similar Documents
| Publication | Publication Date | Title |
|---|---|---|
| EP2207955B1 (de) | Kraftstoffüberströmventil für eine kraftstoffeinspritzeinrichtung und kraftstoffeinspritzeinrichtung mit kraftstoffüberströmventil | |
| EP2032850B1 (de) | Hochdruckpumpe, insbesondere für eine kraftstoffeinspritzeinrichtung einer brennkraftmaschine | |
| EP1727983B1 (de) | Hochdruckpumpe, insbesondere für eine kraftstoffeinspritzeinrichtung einer brennkraftmaschine | |
| EP2798191B1 (de) | Kraftstoffüberströmventil für eine kraftstoffeinspritzeinrichtung und kraftstoffeinspritzeinrichtung mit kraftstoffüberströmventil | |
| EP1552145B1 (de) | Hochdruckpumpe, insbesondere für eine kraftstoffeinspritzeinrichtung einer brennkraftmaschine | |
| WO2008138800A1 (de) | Injektor mit piezoaktor | |
| DE102010031600A1 (de) | Hochdruckpumpe | |
| EP1357283B1 (de) | Kraftstoffeinspritzeinrichtung für eine Brennkraftmaschine | |
| EP2331821B1 (de) | Hochdruck-radialkolbenpumpe | |
| WO2013092968A2 (de) | Pumpe, insbesondere kraftstoffhochdruckpumpe für eine kraftstoffeinspritzeinrichtung | |
| EP1537334B1 (de) | Pumpe, insbesondere für eine kraftstoffeinspritzeinrichtung für eine brennkraftmaschine | |
| EP1546544A1 (de) | Kraftstoffeinspritzeinrichtung für eine brennkraftmaschine | |
| EP1599668B1 (de) | Kraftstoffeinspritzeinrichtung für eine brennkraftmaschine | |
| EP1576287A1 (de) | Hochdruckpumpe für eine kraftstoffeinspritzeinrichtung einer brennkraftmaschine | |
| EP1530681B1 (de) | Kraftstoffeinspritzeinrichtung für eine brennkraftmaschine | |
| DE10139055A1 (de) | Verfahren, Computerprogramm, Steuer- und/oder Regelgerät sowie Kraftstoffsystem für eine Brennkraftmaschine | |
| EP1736662B1 (de) | Rückschlagventil, insbesondere für eine Hochdruckpumpe einer Kraftstoffeinspritzeinrichtung für eine Brennkraftmaschine | |
| EP1423599A1 (de) | Kraftstoffeinspritzeinrichtung für eine brennkraftmaschine | |
| WO2005124153A1 (de) | Hochdruckpumpe für eine kraftstoffeinspritzeinrichtung einer brennkraftmaschine | |
| EP3061967B1 (de) | Pumpe, insbesondere kraftstoffhochdruckpumpe | |
| EP1759115B1 (de) | Hochdruckpumpe für eine kraftstoffeinspritzeinrichtung einer brennkraftmaschine | |
| DE10355028A1 (de) | Hochdruckpumpe, insbesondere für eine Kraftstoffeinspritzeinrichtung einer Brennkraftmaschine | |
| DE102022208452A1 (de) | Kraftstoffüberströmventil für eine Kraftstoffhochdruckpumpe | |
| DE10139545A1 (de) | Kraftstoffeinspritzeinrichtung für eine Brennkraftmaschine | |
| DE102009001465A1 (de) | Einspritzpumpe zur Versorgung einer Kolbenkraftmaschine mit Treibstoff |
Legal Events
| Date | Code | Title | Description |
|---|---|---|---|
| PUAI | Public reference made under article 153(3) epc to a published international application that has entered the european phase |
Free format text: ORIGINAL CODE: 0009012 |
|
| 17P | Request for examination filed |
Effective date: 20050329 |
|
| AK | Designated contracting states |
Kind code of ref document: A1 Designated state(s): AT BE BG CH CY CZ DE DK EE ES FI FR GB GR HU IE IT LI LU MC NL PT SE SI SK TR |
|
| RBV | Designated contracting states (corrected) |
Designated state(s): BG CH CY CZ DE FR GB LI |
|
| GRAP | Despatch of communication of intention to grant a patent |
Free format text: ORIGINAL CODE: EPIDOSNIGR1 |
|
| RBV | Designated contracting states (corrected) |
Designated state(s): DE FR GB |
|
| GRAS | Grant fee paid |
Free format text: ORIGINAL CODE: EPIDOSNIGR3 |
|
| GRAA | (expected) grant |
Free format text: ORIGINAL CODE: 0009210 |
|
| AK | Designated contracting states |
Kind code of ref document: B1 Designated state(s): DE FR GB |
|
| REG | Reference to a national code |
Ref country code: GB Ref legal event code: FG4D Free format text: NOT ENGLISH |
|
| REF | Corresponds to: |
Ref document number: 50313186 Country of ref document: DE Date of ref document: 20101125 Kind code of ref document: P |
|
| PLBE | No opposition filed within time limit |
Free format text: ORIGINAL CODE: 0009261 |
|
| STAA | Information on the status of an ep patent application or granted ep patent |
Free format text: STATUS: NO OPPOSITION FILED WITHIN TIME LIMIT |
|
| 26N | No opposition filed |
Effective date: 20110714 |
|
| REG | Reference to a national code |
Ref country code: DE Ref legal event code: R097 Ref document number: 50313186 Country of ref document: DE Effective date: 20110714 |
|
| PGFP | Annual fee paid to national office [announced via postgrant information from national office to epo] |
Ref country code: GB Payment date: 20150223 Year of fee payment: 13 |
|
| REG | Reference to a national code |
Ref country code: FR Ref legal event code: PLFP Year of fee payment: 14 |
|
| GBPC | Gb: european patent ceased through non-payment of renewal fee |
Effective date: 20160211 |
|
| PG25 | Lapsed in a contracting state [announced via postgrant information from national office to epo] |
Ref country code: GB Free format text: LAPSE BECAUSE OF NON-PAYMENT OF DUE FEES Effective date: 20160211 |
|
| REG | Reference to a national code |
Ref country code: FR Ref legal event code: PLFP Year of fee payment: 15 |
|
| REG | Reference to a national code |
Ref country code: FR Ref legal event code: PLFP Year of fee payment: 16 |
|
| PGFP | Annual fee paid to national office [announced via postgrant information from national office to epo] |
Ref country code: DE Payment date: 20180426 Year of fee payment: 16 |
|
| PGFP | Annual fee paid to national office [announced via postgrant information from national office to epo] |
Ref country code: FR Payment date: 20190221 Year of fee payment: 17 |
|
| REG | Reference to a national code |
Ref country code: DE Ref legal event code: R119 Ref document number: 50313186 Country of ref document: DE |
|
| PG25 | Lapsed in a contracting state [announced via postgrant information from national office to epo] |
Ref country code: DE Free format text: LAPSE BECAUSE OF NON-PAYMENT OF DUE FEES Effective date: 20190903 |
|
| PG25 | Lapsed in a contracting state [announced via postgrant information from national office to epo] |
Ref country code: FR Free format text: LAPSE BECAUSE OF NON-PAYMENT OF DUE FEES Effective date: 20200229 |