EP1526257A3 - Exhaust braking device for a 4-stroke internal piston combustion engine - Google Patents
Exhaust braking device for a 4-stroke internal piston combustion engine Download PDFInfo
- Publication number
- EP1526257A3 EP1526257A3 EP04023313A EP04023313A EP1526257A3 EP 1526257 A3 EP1526257 A3 EP 1526257A3 EP 04023313 A EP04023313 A EP 04023313A EP 04023313 A EP04023313 A EP 04023313A EP 1526257 A3 EP1526257 A3 EP 1526257A3
- Authority
- EP
- European Patent Office
- Prior art keywords
- engine
- exhaust
- valve
- brake device
- internal
- Prior art date
- Legal status (The legal status is an assumption and is not a legal conclusion. Google has not performed a legal analysis and makes no representation as to the accuracy of the status listed.)
- Granted
Links
Classifications
-
- F—MECHANICAL ENGINEERING; LIGHTING; HEATING; WEAPONS; BLASTING
- F01—MACHINES OR ENGINES IN GENERAL; ENGINE PLANTS IN GENERAL; STEAM ENGINES
- F01L—CYCLICALLY OPERATING VALVES FOR MACHINES OR ENGINES
- F01L13/00—Modifications of valve-gear to facilitate reversing, braking, starting, changing compression ratio, or other specific operations
- F01L13/06—Modifications of valve-gear to facilitate reversing, braking, starting, changing compression ratio, or other specific operations for braking
- F01L13/065—Compression release engine retarders of the "Jacobs Manufacturing" type
-
- F—MECHANICAL ENGINEERING; LIGHTING; HEATING; WEAPONS; BLASTING
- F01—MACHINES OR ENGINES IN GENERAL; ENGINE PLANTS IN GENERAL; STEAM ENGINES
- F01L—CYCLICALLY OPERATING VALVES FOR MACHINES OR ENGINES
- F01L1/00—Valve-gear or valve arrangements, e.g. lift-valve gear
- F01L1/12—Transmitting gear between valve drive and valve
- F01L1/14—Tappets; Push rods
- F01L1/146—Push-rods
-
- F—MECHANICAL ENGINEERING; LIGHTING; HEATING; WEAPONS; BLASTING
- F01—MACHINES OR ENGINES IN GENERAL; ENGINE PLANTS IN GENERAL; STEAM ENGINES
- F01L—CYCLICALLY OPERATING VALVES FOR MACHINES OR ENGINES
- F01L1/00—Valve-gear or valve arrangements, e.g. lift-valve gear
- F01L1/12—Transmitting gear between valve drive and valve
- F01L1/18—Rocking arms or levers
- F01L1/181—Centre pivot rocking arms
-
- F—MECHANICAL ENGINEERING; LIGHTING; HEATING; WEAPONS; BLASTING
- F01—MACHINES OR ENGINES IN GENERAL; ENGINE PLANTS IN GENERAL; STEAM ENGINES
- F01L—CYCLICALLY OPERATING VALVES FOR MACHINES OR ENGINES
- F01L1/00—Valve-gear or valve arrangements, e.g. lift-valve gear
- F01L1/26—Valve-gear or valve arrangements, e.g. lift-valve gear characterised by the provision of two or more valves operated simultaneously by same transmitting-gear; peculiar to machines or engines with more than two lift-valves per cylinder
-
- F—MECHANICAL ENGINEERING; LIGHTING; HEATING; WEAPONS; BLASTING
- F01—MACHINES OR ENGINES IN GENERAL; ENGINE PLANTS IN GENERAL; STEAM ENGINES
- F01L—CYCLICALLY OPERATING VALVES FOR MACHINES OR ENGINES
- F01L2820/00—Details on specific features characterising valve gear arrangements
- F01L2820/02—Formulas
Landscapes
- Engineering & Computer Science (AREA)
- Mechanical Engineering (AREA)
- General Engineering & Computer Science (AREA)
- Valve Device For Special Equipments (AREA)
- Output Control And Ontrol Of Special Type Engine (AREA)
- Control Of Throttle Valves Provided In The Intake System Or In The Exhaust System (AREA)
- Exhaust Silencers (AREA)
- Valve-Gear Or Valve Arrangements (AREA)
- Braking Arrangements (AREA)
Abstract
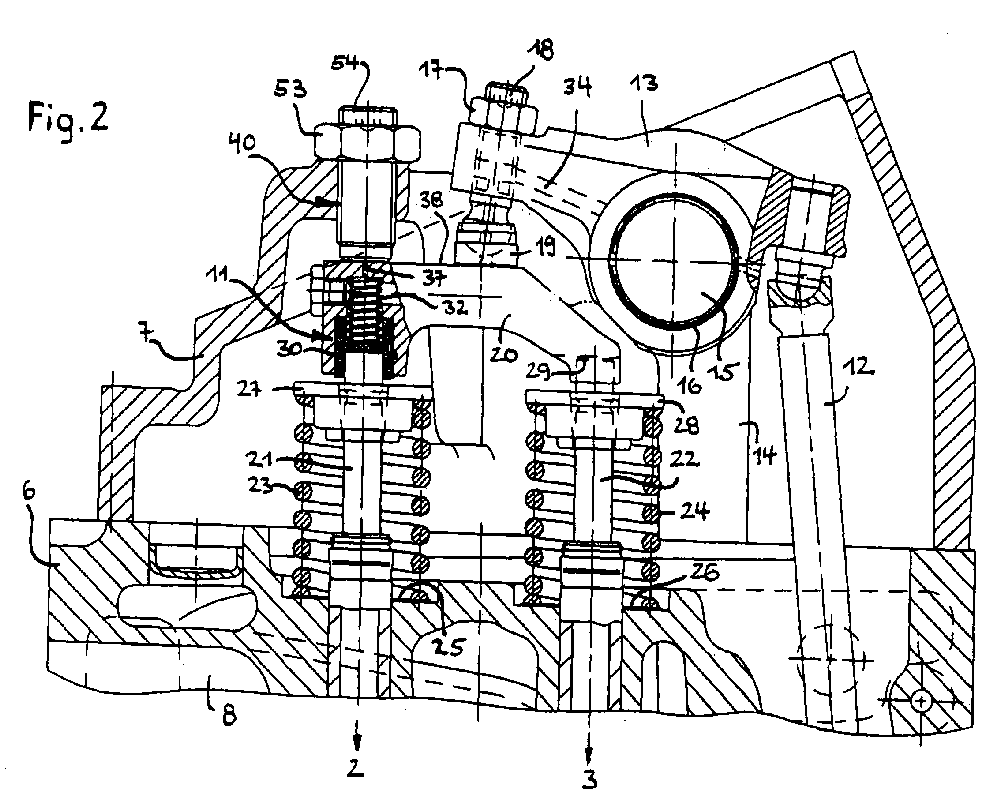
Die Erfindung betrifft eine Motorstaubremsvorrichtung einer 4-Takt-Hubkolbenbrennkraftmaschine, die je Zylinder wenigstens ein Einlassventil und zwei Auslassventile (2, 3) aufweist und gezielt auf diesen Motortyp abgestellt ist. Im Abgastrakt (9) ist eine zur Motorbremsung derart betätigbare Drosselvorrichtung (10) eingebaut, dass sich stromauf derselben im aufgestauten Abgas ein Abgasgegendruck aufbaut, der in Verbindung mit einer speziellen motorinternen Bremsvorrichtung (11) wirksam wird. Erfindungsgemäß ist die motorinterne Bremsvorrichtung (11) je Zylinder (1) nur einem (2) der beiden Auslassventile (2, 3) zugeordnet, das andere Auslassventil (3) dagegen ist herkömmlich gesteuert. Die motorinterne Bremseinrichtung (11) umfasst einen in der Ventilbrücke (20) eingebauten Steuerkolben (30), der von einem öldruckbeaufschlagten Steuerdruckraum (33) her und eventuell durch eine zusätzliche Steuerdruckfeder (32) in Richtung Auslassventil (2) gedrückt ist. Der Steuerdruckraum (33) ist an eine permanente Druckölversorgung angeschlossen und abhängig von der Bewegung bzw. Stellung der Ventilbrücke (20) über einen Entlastungskanal (37) entweder abgesperrt oder druckentlastet. Hierdurch ergibt sich während des Motorbremsens automatisch eine bestimmte Öffnungs- und Schließcharakteristik des Auslassventils (2) mit der Folge einer hohen Motorbremsleistung. The invention relates to a motor dust brake device of a 4-stroke reciprocating internal combustion engine, which has at least one intake valve and two exhaust valves (2, 3) per cylinder and is targeted to this type of engine. In the exhaust gas tract (9), a throttle device (10) which can be actuated for engine braking is installed such that an exhaust backpressure builds up upstream of it in the accumulated exhaust gas, which becomes effective in conjunction with a special engine-internal braking device (11). According to the invention, the engine-internal brake device (11) per cylinder (1) is associated with only one (2) of the two exhaust valves (2, 3), while the other exhaust valve (3) is conventionally controlled. The engine-internal brake device (11) comprises a control piston (30) built into the valve bridge (20) which is pressed by an oil pressure-loaded control pressure chamber (33) and possibly by an additional control pressure spring (32) in the direction of the outlet valve (2). The control pressure chamber (33) is connected to a permanent pressure oil supply and depending on the movement or position of the valve bridge (20) via a discharge channel (37) either shut off or depressurized. This results during the engine braking automatically a certain opening and closing characteristics of the exhaust valve (2), resulting in a high engine braking performance.
Priority Applications (1)
| Application Number | Priority Date | Filing Date | Title |
|---|---|---|---|
| PL04023313T PL1526257T3 (en) | 2003-10-24 | 2004-09-30 | Exhaust braking device for a 4-stroke internal piston combustion engine |
Applications Claiming Priority (2)
| Application Number | Priority Date | Filing Date | Title |
|---|---|---|---|
| DE10349641 | 2003-10-24 | ||
| DE10349641A DE10349641A1 (en) | 2003-10-24 | 2003-10-24 | Engine dust brake device of a 4-stroke reciprocating internal combustion engine |
Publications (3)
| Publication Number | Publication Date |
|---|---|
| EP1526257A2 EP1526257A2 (en) | 2005-04-27 |
| EP1526257A3 true EP1526257A3 (en) | 2008-10-22 |
| EP1526257B1 EP1526257B1 (en) | 2009-08-12 |
Family
ID=34384450
Family Applications (1)
| Application Number | Title | Priority Date | Filing Date |
|---|---|---|---|
| EP04023313A Expired - Lifetime EP1526257B1 (en) | 2003-10-24 | 2004-09-30 | Exhaust braking device for a 4-stroke internal piston combustion engine |
Country Status (8)
| Country | Link |
|---|---|
| US (1) | US7013867B2 (en) |
| EP (1) | EP1526257B1 (en) |
| JP (1) | JP4541831B2 (en) |
| CN (1) | CN100376767C (en) |
| AT (1) | ATE439506T1 (en) |
| DE (2) | DE10349641A1 (en) |
| PL (1) | PL1526257T3 (en) |
| RU (1) | RU2301370C2 (en) |
Families Citing this family (53)
| Publication number | Priority date | Publication date | Assignee | Title |
|---|---|---|---|---|
| DE10349641A1 (en) * | 2003-10-24 | 2005-05-19 | Man Nutzfahrzeuge Ag | Engine dust brake device of a 4-stroke reciprocating internal combustion engine |
| BRPI0620594A2 (en) * | 2005-12-28 | 2011-11-16 | Jacobs Vehicle Systems Inc | Part-cycle bleed brake method and system |
| US7556004B2 (en) * | 2006-10-16 | 2009-07-07 | Caterpillar Inc. | Bactrian rocker arm and engine using same |
| JP5089706B2 (en) * | 2006-12-12 | 2012-12-05 | マック トラックス インコーポレイテッド | Valve opening mechanism and method |
| DE102007007758A1 (en) * | 2007-02-16 | 2008-08-21 | Mahle International Gmbh | Valve drive of a reciprocating internal combustion engine |
| EP2025888A1 (en) * | 2007-08-06 | 2009-02-18 | Iveco S.p.A. | Device for actuating the decompression engine brake in an internal combustion engine provided with hydraulic tappets |
| EP2212533B1 (en) * | 2007-10-22 | 2012-12-12 | Volvo Lastvagnar AB | Engine brake detection |
| EP2055906A1 (en) * | 2007-10-31 | 2009-05-06 | Caterpillar Motoren GmbH & Co. KG | Device and method for controlling valves |
| DE102008029521A1 (en) * | 2008-06-21 | 2009-12-24 | Man Nutzfahrzeuge Ag | Particle separator and method for separating particles from an exhaust stream of an internal combustion engine |
| US8214113B2 (en) * | 2008-06-30 | 2012-07-03 | Caterpillar Inc. | Retarding system that retards motion of power source |
| US7789065B2 (en) * | 2008-07-09 | 2010-09-07 | Zhou Yang | Engine braking apparatus with mechanical linkage and lash adjustment |
| DE102008032774A1 (en) * | 2008-07-11 | 2010-01-14 | Man Nutzfahrzeuge Ag | Engine braking device and method for engine braking with a valve auxiliary control unit |
| DE102008032775A1 (en) * | 2008-07-11 | 2010-01-14 | Man Nutzfahrzeuge Aktiengesellschaft | Internal combustion engine with an engine brake device and a valve clearance compensation mechanism |
| DE102008061412A1 (en) * | 2008-07-11 | 2010-01-14 | Man Nutzfahrzeuge Ag | Hydraulic valve and EVB clearance compensation |
| US20100037854A1 (en) * | 2008-08-18 | 2010-02-18 | Zhou Yang | Apparatus and method for engine braking |
| JP5296887B2 (en) * | 2008-12-12 | 2013-09-25 | ボルボ ラストバグナー アーベー | Exhaust pressure regulator diagnostic method and apparatus |
| US7984705B2 (en) * | 2009-01-05 | 2011-07-26 | Zhou Yang | Engine braking apparatus with two-level pressure control valves |
| EP2444602B1 (en) * | 2009-01-05 | 2015-06-24 | Shanghai Universoon Autoparts Co., Ltd | Engine braking devices and methods |
| DE102009014087A1 (en) * | 2009-03-23 | 2010-09-30 | Dr. Ing. H.C. F. Porsche Aktiengesellschaft | Internal combustion engine |
| US8851048B2 (en) | 2009-04-27 | 2014-10-07 | Jacobs Vehicle Systems, Inc. | Dedicated rocker arm engine brake |
| DE102009048143A1 (en) * | 2009-10-02 | 2011-04-07 | Man Nutzfahrzeuge Aktiengesellschaft | Internal combustion engine with an engine brake device |
| DE102009048104A1 (en) | 2009-10-02 | 2011-04-07 | Man Nutzfahrzeuge Aktiengesellschaft | Internal combustion engine with an engine brake device |
| KR101134973B1 (en) * | 2009-11-19 | 2012-04-09 | 기아자동차주식회사 | Engine brake and engine provided with the same |
| US20110120411A1 (en) * | 2009-11-23 | 2011-05-26 | International Engine Intellectual Property Company, Llc | Solenoid control for valve actuation in engine brake |
| DE102010008928A1 (en) * | 2010-02-23 | 2011-08-25 | Schaeffler Technologies GmbH & Co. KG, 91074 | Reciprocating internal combustion engine with engine braking by opening the exhaust valves |
| CN102220907B (en) * | 2010-04-19 | 2015-03-11 | 上海尤顺汽车部件有限公司 | Engine combined brake control method |
| CN102261283B (en) | 2010-05-27 | 2013-10-09 | 上海尤顺汽车部件有限公司 | A fixed chain engine braking device |
| AT510237B1 (en) * | 2010-07-26 | 2015-12-15 | MAN Truck & Bus Österreich AG | METHOD FOR MOTOR BRAKING |
| AT510236B1 (en) * | 2010-07-26 | 2015-12-15 | MAN Truck & Bus Österreich AG | METHOD FOR MOTOR BRAKING |
| AT511048B1 (en) * | 2011-02-10 | 2012-12-15 | Avl List Gmbh | Internal combustion engine |
| CN102678345A (en) * | 2011-03-16 | 2012-09-19 | 奚勇 | Method and device for braking engine by using valve bridge |
| DE102011118537A1 (en) * | 2011-05-04 | 2012-11-08 | Man Truck & Bus Ag | Internal combustion engine with at least one combustion chamber |
| DE102011076587A1 (en) * | 2011-05-27 | 2012-11-29 | Continental Automotive Gmbh | Exhaust gas turbocharger with a ball valve wastegate valve with tension-relieved crank arm |
| DE102012012875A1 (en) | 2012-06-28 | 2014-01-02 | Man Truck & Bus Ag | Method and device for controlling at least one brake flap |
| DE102013007468A1 (en) * | 2013-05-02 | 2014-11-06 | Man Truck & Bus Ag | Device for actuating two exhaust valves acted upon by a valve bridge of a valve-controlled internal combustion engine |
| DE102013022037A1 (en) * | 2013-12-20 | 2015-06-25 | Daimler Ag | Method for operating a reciprocating internal combustion engine |
| BR112017005467B1 (en) | 2014-09-18 | 2022-05-17 | Eaton Srl | Exhaust valve rocker assembly |
| JP6285080B2 (en) * | 2014-09-18 | 2018-02-28 | ジェイコブス ビークル システムズ、インコーポレイテッド | Lost motion assembly in the valve bridge for use in valve trains with hydraulic lash adjusters |
| JP2018503025A (en) * | 2015-01-21 | 2018-02-01 | イートン コーポレーションEaton Corporation | Rocker arm assembly for engine brake |
| CN106150589B (en) | 2015-04-28 | 2019-01-15 | 上海尤顺汽车部件有限公司 | A kind of list valve compression-release valve bridge brake apparatus and method |
| CN106285966B (en) * | 2015-05-12 | 2019-03-15 | 上海尤顺汽车部件有限公司 | Engine braking method for vehicle retardation |
| EP3298251B1 (en) | 2015-05-18 | 2020-01-01 | Eaton Intelligent Power Limited | Rocker arm having oil release valve that operates as an accumulator |
| CN105019966B (en) * | 2015-08-03 | 2017-11-07 | 浙江师范大学 | A kind of high-power engine brake apparatus and method |
| DE102015012735A1 (en) * | 2015-10-01 | 2017-04-06 | Man Truck & Bus Ag | Operating method and device for the control or regulation of a permanent braking system of a vehicle |
| JP6296045B2 (en) * | 2015-12-08 | 2018-03-20 | トヨタ自動車株式会社 | Control device for internal combustion engine |
| JP6587986B2 (en) * | 2016-06-30 | 2019-10-09 | 株式会社クボタ | Valve gear |
| DE102016213031A1 (en) * | 2016-07-18 | 2018-01-18 | Ford Global Technologies, Llc | Method for smoothly stopping a motor vehicle |
| DE102016015457A1 (en) * | 2016-12-22 | 2018-06-28 | Daimler Ag | Method for operating a reciprocating internal combustion engine |
| CN108757082A (en) * | 2018-05-22 | 2018-11-06 | 大连理工大学 | A Bottom Camshaft Continuously Variable Valve Mechanism |
| CN112673152B (en) * | 2018-07-13 | 2023-02-03 | 伊顿智能动力有限公司 | Rocker arm based bleeder engine braking |
| CN109899162B (en) * | 2019-03-19 | 2022-04-26 | 潍柴动力股份有限公司 | Exhaust braking system and engine |
| CN112065524B (en) * | 2020-09-11 | 2021-09-28 | 潍柴动力股份有限公司 | Rocker arm assembly and engine |
| US20230392559A1 (en) * | 2022-06-02 | 2023-12-07 | GM Global Technology Operations LLC | Engine exhaust braking system for equalizing pressures across exhaust valves during intake strokes |
Citations (6)
| Publication number | Priority date | Publication date | Assignee | Title |
|---|---|---|---|---|
| JPH09317421A (en) * | 1996-05-31 | 1997-12-09 | Jidosha Buhin Kogyo Kk | Engine brake device |
| EP0736672B1 (en) * | 1995-04-04 | 1998-04-08 | Steyr Nutzfahrzeuge Ag | Engine braking process for a four stroke internal combustion engine |
| EP1156193A1 (en) * | 1999-01-27 | 2001-11-21 | Hino Jidosha Kabushiki Kaisha | Valve opening mechanism |
| WO2002042612A1 (en) * | 2000-11-27 | 2002-05-30 | Scania Cv Ab (Publ) | Combustion engine comprising an engine brake function |
| EP1219792A2 (en) * | 2000-12-19 | 2002-07-03 | Caterpillar Inc. | Lash adjustment for use with a valve actuator |
| US20020174654A1 (en) * | 2001-05-22 | 2002-11-28 | Zhou Yang | Method and system for engine braking in an internal combustion engine with exhaust pressure regulation and turbocharger control |
Family Cites Families (16)
| Publication number | Priority date | Publication date | Assignee | Title |
|---|---|---|---|---|
| DE1650834A1 (en) * | 1967-09-14 | 1970-12-03 | Seeliger Dr Ing Kurt | Spindle drive |
| US4158348A (en) * | 1977-06-30 | 1979-06-19 | Mason Lloyd R | System for retarding engine speed |
| US4473047A (en) * | 1980-02-25 | 1984-09-25 | The Jacobs Mfg. Company | Compression release engine brake |
| JPH03111611A (en) * | 1989-09-22 | 1991-05-13 | Hino Motors Ltd | Engine brake device |
| US5036810A (en) * | 1990-08-07 | 1991-08-06 | Jenara Enterprises Ltd. | Engine brake and method |
| US5255650A (en) * | 1992-06-01 | 1993-10-26 | Caterpillar Inc. | Engine braking utilizing unit valve actuation |
| EP1013913B1 (en) * | 1997-01-29 | 2005-11-30 | Hino Jidosha Kogyo Kabushiki Kaisha | Exhaust gas recirculation device |
| IT1291490B1 (en) * | 1997-02-04 | 1999-01-11 | C R F Societa Consotile Per Az | DIESEL CYCLE MULTI-CYLINDER ENGINE WITH VARIABLE ACTING VALVES |
| EP1032753A4 (en) * | 1997-11-21 | 2009-07-01 | Diesel Engine Retarders Inc | Integrated lost motion system for retarding and egr |
| DE19900445A1 (en) * | 1999-01-08 | 2000-07-13 | Stihl Maschf Andreas | Two-stroke engine with flushing template |
| US7082910B2 (en) * | 1999-01-19 | 2006-08-01 | Aktiebolaget Electrolux | Two-stroke internal combustion engine |
| US6367432B1 (en) * | 1999-05-14 | 2002-04-09 | Kioritz Corporation | Two-stroke cycle internal combustion engine |
| US6234143B1 (en) * | 1999-07-19 | 2001-05-22 | Mack Trucks, Inc. | Engine exhaust brake having a single valve actuation |
| JP3363849B2 (en) * | 1999-09-30 | 2003-01-08 | 自動車部品工業株式会社 | Engine brake device and control method thereof |
| JP3409021B2 (en) * | 2000-06-15 | 2003-05-19 | 自動車部品工業株式会社 | Engine brake device |
| DE10349641A1 (en) * | 2003-10-24 | 2005-05-19 | Man Nutzfahrzeuge Ag | Engine dust brake device of a 4-stroke reciprocating internal combustion engine |
-
2003
- 2003-10-24 DE DE10349641A patent/DE10349641A1/en not_active Withdrawn
- 2003-11-15 CN CNB2003101231537A patent/CN100376767C/en not_active Expired - Lifetime
-
2004
- 2004-09-30 EP EP04023313A patent/EP1526257B1/en not_active Expired - Lifetime
- 2004-09-30 DE DE502004009879T patent/DE502004009879D1/en not_active Expired - Lifetime
- 2004-09-30 AT AT04023313T patent/ATE439506T1/en active
- 2004-09-30 PL PL04023313T patent/PL1526257T3/en unknown
- 2004-10-22 RU RU2004131034/06A patent/RU2301370C2/en active
- 2004-10-22 US US10/971,548 patent/US7013867B2/en not_active Expired - Lifetime
- 2004-10-25 JP JP2004310220A patent/JP4541831B2/en not_active Expired - Lifetime
Patent Citations (6)
| Publication number | Priority date | Publication date | Assignee | Title |
|---|---|---|---|---|
| EP0736672B1 (en) * | 1995-04-04 | 1998-04-08 | Steyr Nutzfahrzeuge Ag | Engine braking process for a four stroke internal combustion engine |
| JPH09317421A (en) * | 1996-05-31 | 1997-12-09 | Jidosha Buhin Kogyo Kk | Engine brake device |
| EP1156193A1 (en) * | 1999-01-27 | 2001-11-21 | Hino Jidosha Kabushiki Kaisha | Valve opening mechanism |
| WO2002042612A1 (en) * | 2000-11-27 | 2002-05-30 | Scania Cv Ab (Publ) | Combustion engine comprising an engine brake function |
| EP1219792A2 (en) * | 2000-12-19 | 2002-07-03 | Caterpillar Inc. | Lash adjustment for use with a valve actuator |
| US20020174654A1 (en) * | 2001-05-22 | 2002-11-28 | Zhou Yang | Method and system for engine braking in an internal combustion engine with exhaust pressure regulation and turbocharger control |
Also Published As
| Publication number | Publication date |
|---|---|
| DE502004009879D1 (en) | 2009-09-24 |
| EP1526257B1 (en) | 2009-08-12 |
| RU2004131034A (en) | 2006-04-10 |
| ATE439506T1 (en) | 2009-08-15 |
| CN100376767C (en) | 2008-03-26 |
| DE10349641A1 (en) | 2005-05-19 |
| US20050087170A1 (en) | 2005-04-28 |
| RU2301370C2 (en) | 2007-06-20 |
| US7013867B2 (en) | 2006-03-21 |
| JP4541831B2 (en) | 2010-09-08 |
| JP2005127329A (en) | 2005-05-19 |
| PL1526257T3 (en) | 2010-01-29 |
| EP1526257A2 (en) | 2005-04-27 |
| CN1609414A (en) | 2005-04-27 |
Similar Documents
| Publication | Publication Date | Title |
|---|---|---|
| EP1526257A3 (en) | Exhaust braking device for a 4-stroke internal piston combustion engine | |
| EP1236875A3 (en) | Charge control device for and method for controlling the functioning of a reciprocating internal combustion engine | |
| DE2847527C2 (en) | ||
| US2592380A (en) | Crankcase ventilator valve | |
| DE3428627A1 (en) | FOUR-STOCK COMBUSTION ENGINE | |
| ES2013785B3 (en) | METHOD AND DEVICE TO CONTROL THE DUTY CYCLE OF AN INTERNAL COMBUSTION ENGINE | |
| DE10346747A1 (en) | Method for optimizing the operation of a supercharged piston internal combustion engine in the lower speed range | |
| DE102009024903A1 (en) | Method for operating a reciprocating internal combustion engine | |
| DE19902052A1 (en) | Internal combustion engine with compressor to produce compressed air, with oxidation catalytic converter in flow path between compressor and compressed air store | |
| US8960073B2 (en) | Cylinder head for a compressor | |
| DE19614923C2 (en) | Motor vehicle with an additional braking device and method for emergency braking of such a motor vehicle | |
| DE19821130A1 (en) | Engine pressure brake and exhaust outflow shutoff valve | |
| DE19546453C2 (en) | Power control of 4-stroke gasoline engines | |
| DE102015007155A1 (en) | Low pressure generation in the crankcase for particle number reduction | |
| DE1806720A1 (en) | Valve train for internal combustion engines | |
| DE3802836A1 (en) | Internal combustion engine | |
| DE19909915A1 (en) | Sound-optimized air compressor, with compression volume relieved by decompression process shortly before TDC of piston | |
| DE102010054520A1 (en) | Four stroke-reciprocating piston-internal combustion engine has one and another cylinder and one and another piston, which are driven in lifting motion by crank mechanism | |
| DE10036588B4 (en) | Silencer for engine braking operation of a diesel engine | |
| EP1619366A1 (en) | Switching a multi-stage turbocompressor | |
| EP1801383A3 (en) | Internal combustion engine with register charging | |
| DE3812982C2 (en) | Four-stroke piston internal combustion engine | |
| EP1203880A3 (en) | Intake system for an internal combustion engine | |
| SU59022A1 (en) | Apparatus for shutting off the suction valves of the purge chambers of two-stroke internal combustion engines | |
| GB532977A (en) | Improvements in and relating to internal combustion engines and pumps operating with oscillating disc valves |
Legal Events
| Date | Code | Title | Description |
|---|---|---|---|
| PUAI | Public reference made under article 153(3) epc to a published international application that has entered the european phase |
Free format text: ORIGINAL CODE: 0009012 |
|
| AK | Designated contracting states |
Kind code of ref document: A2 Designated state(s): AT BE BG CH CY CZ DE DK EE ES FI FR GB GR HU IE IT LI LU MC NL PL PT RO SE SI SK TR |
|
| AX | Request for extension of the european patent |
Extension state: AL HR LT LV MK |
|
| PUAL | Search report despatched |
Free format text: ORIGINAL CODE: 0009013 |
|
| AK | Designated contracting states |
Kind code of ref document: A3 Designated state(s): AT BE BG CH CY CZ DE DK EE ES FI FR GB GR HU IE IT LI LU MC NL PL PT RO SE SI SK TR |
|
| AX | Request for extension of the european patent |
Extension state: AL HR LT LV MK |
|
| 17P | Request for examination filed |
Effective date: 20080930 |
|
| 17Q | First examination report despatched |
Effective date: 20081210 |
|
| GRAP | Despatch of communication of intention to grant a patent |
Free format text: ORIGINAL CODE: EPIDOSNIGR1 |
|
| GRAS | Grant fee paid |
Free format text: ORIGINAL CODE: EPIDOSNIGR3 |
|
| AKX | Designation fees paid |
Designated state(s): AT BE BG CH CY CZ DE DK EE ES FI FR GB GR HU IE IT LI LU MC NL PL PT RO SE SI SK TR |
|
| GRAA | (expected) grant |
Free format text: ORIGINAL CODE: 0009210 |
|
| AK | Designated contracting states |
Kind code of ref document: B1 Designated state(s): AT BE BG CH CY CZ DE DK EE ES FI FR GB GR HU IE IT LI LU MC NL PL PT RO SE SI SK TR |
|
| REG | Reference to a national code |
Ref country code: GB Ref legal event code: FG4D Free format text: NOT ENGLISH |
|
| REG | Reference to a national code |
Ref country code: CH Ref legal event code: EP |
|
| REG | Reference to a national code |
Ref country code: IE Ref legal event code: FG4D |
|
| REF | Corresponds to: |
Ref document number: 502004009879 Country of ref document: DE Date of ref document: 20090924 Kind code of ref document: P |
|
| REG | Reference to a national code |
Ref country code: SE Ref legal event code: TRGR |
|
| REG | Reference to a national code |
Ref country code: HU Ref legal event code: AG4A Ref document number: E006283 Country of ref document: HU |
|
| PG25 | Lapsed in a contracting state [announced via postgrant information from national office to epo] |
Ref country code: ES Free format text: LAPSE BECAUSE OF FAILURE TO SUBMIT A TRANSLATION OF THE DESCRIPTION OR TO PAY THE FEE WITHIN THE PRESCRIBED TIME-LIMIT Effective date: 20091123 Ref country code: FI Free format text: LAPSE BECAUSE OF FAILURE TO SUBMIT A TRANSLATION OF THE DESCRIPTION OR TO PAY THE FEE WITHIN THE PRESCRIBED TIME-LIMIT Effective date: 20090812 |
|
| REG | Reference to a national code |
Ref country code: PL Ref legal event code: T3 |
|
| NLV1 | Nl: lapsed or annulled due to failure to fulfill the requirements of art. 29p and 29m of the patents act | ||
| PG25 | Lapsed in a contracting state [announced via postgrant information from national office to epo] |
Ref country code: SI Free format text: LAPSE BECAUSE OF FAILURE TO SUBMIT A TRANSLATION OF THE DESCRIPTION OR TO PAY THE FEE WITHIN THE PRESCRIBED TIME-LIMIT Effective date: 20090812 Ref country code: NL Free format text: LAPSE BECAUSE OF FAILURE TO SUBMIT A TRANSLATION OF THE DESCRIPTION OR TO PAY THE FEE WITHIN THE PRESCRIBED TIME-LIMIT Effective date: 20090812 |
|
| REG | Reference to a national code |
Ref country code: IE Ref legal event code: FD4D |
|
| BERE | Be: lapsed |
Owner name: MAN NUTZFAHRZEUGE A.G. Effective date: 20090930 |
|
| PG25 | Lapsed in a contracting state [announced via postgrant information from national office to epo] |
Ref country code: BG Free format text: LAPSE BECAUSE OF FAILURE TO SUBMIT A TRANSLATION OF THE DESCRIPTION OR TO PAY THE FEE WITHIN THE PRESCRIBED TIME-LIMIT Effective date: 20091112 Ref country code: PT Free format text: LAPSE BECAUSE OF FAILURE TO SUBMIT A TRANSLATION OF THE DESCRIPTION OR TO PAY THE FEE WITHIN THE PRESCRIBED TIME-LIMIT Effective date: 20091212 |
|
| PG25 | Lapsed in a contracting state [announced via postgrant information from national office to epo] |
Ref country code: MC Free format text: LAPSE BECAUSE OF NON-PAYMENT OF DUE FEES Effective date: 20090930 Ref country code: RO Free format text: LAPSE BECAUSE OF FAILURE TO SUBMIT A TRANSLATION OF THE DESCRIPTION OR TO PAY THE FEE WITHIN THE PRESCRIBED TIME-LIMIT Effective date: 20090812 Ref country code: IE Free format text: LAPSE BECAUSE OF FAILURE TO SUBMIT A TRANSLATION OF THE DESCRIPTION OR TO PAY THE FEE WITHIN THE PRESCRIBED TIME-LIMIT Effective date: 20090812 Ref country code: CZ Free format text: LAPSE BECAUSE OF FAILURE TO SUBMIT A TRANSLATION OF THE DESCRIPTION OR TO PAY THE FEE WITHIN THE PRESCRIBED TIME-LIMIT Effective date: 20090812 Ref country code: DK Free format text: LAPSE BECAUSE OF FAILURE TO SUBMIT A TRANSLATION OF THE DESCRIPTION OR TO PAY THE FEE WITHIN THE PRESCRIBED TIME-LIMIT Effective date: 20090812 Ref country code: EE Free format text: LAPSE BECAUSE OF FAILURE TO SUBMIT A TRANSLATION OF THE DESCRIPTION OR TO PAY THE FEE WITHIN THE PRESCRIBED TIME-LIMIT Effective date: 20090812 |
|
| REG | Reference to a national code |
Ref country code: CH Ref legal event code: PL |
|
| PG25 | Lapsed in a contracting state [announced via postgrant information from national office to epo] |
Ref country code: SK Free format text: LAPSE BECAUSE OF FAILURE TO SUBMIT A TRANSLATION OF THE DESCRIPTION OR TO PAY THE FEE WITHIN THE PRESCRIBED TIME-LIMIT Effective date: 20090812 |
|
| PLBE | No opposition filed within time limit |
Free format text: ORIGINAL CODE: 0009261 |
|
| STAA | Information on the status of an ep patent application or granted ep patent |
Free format text: STATUS: NO OPPOSITION FILED WITHIN TIME LIMIT |
|
| 26N | No opposition filed |
Effective date: 20100517 |
|
| GBPC | Gb: european patent ceased through non-payment of renewal fee |
Effective date: 20091112 |
|
| PG25 | Lapsed in a contracting state [announced via postgrant information from national office to epo] |
Ref country code: BE Free format text: LAPSE BECAUSE OF NON-PAYMENT OF DUE FEES Effective date: 20090930 |
|
| PG25 | Lapsed in a contracting state [announced via postgrant information from national office to epo] |
Ref country code: LI Free format text: LAPSE BECAUSE OF NON-PAYMENT OF DUE FEES Effective date: 20090930 Ref country code: GR Free format text: LAPSE BECAUSE OF FAILURE TO SUBMIT A TRANSLATION OF THE DESCRIPTION OR TO PAY THE FEE WITHIN THE PRESCRIBED TIME-LIMIT Effective date: 20091113 Ref country code: CH Free format text: LAPSE BECAUSE OF NON-PAYMENT OF DUE FEES Effective date: 20090930 |
|
| PG25 | Lapsed in a contracting state [announced via postgrant information from national office to epo] |
Ref country code: GB Free format text: LAPSE BECAUSE OF NON-PAYMENT OF DUE FEES Effective date: 20091112 |
|
| REG | Reference to a national code |
Ref country code: HU Ref legal event code: HC9C Owner name: MAN TRUCK & BUS AG, DE Free format text: FORMER OWNER(S): MAN NUTZFAHRZEUGE AKTIENGESELLSCHAFT, DE |
|
| PG25 | Lapsed in a contracting state [announced via postgrant information from national office to epo] |
Ref country code: LU Free format text: LAPSE BECAUSE OF NON-PAYMENT OF DUE FEES Effective date: 20090930 |
|
| REG | Reference to a national code |
Ref country code: FR Ref legal event code: CD |
|
| REG | Reference to a national code |
Ref country code: DE Ref legal event code: R081 Ref document number: 502004009879 Country of ref document: DE Owner name: MAN TRUCK & BUS AG, DE Free format text: FORMER OWNER: MAN NUTZFAHRZEUGE AKTIENGESELLSCHAFT, 80995 MUENCHEN, DE Effective date: 20110610 |
|
| PG25 | Lapsed in a contracting state [announced via postgrant information from national office to epo] |
Ref country code: CY Free format text: LAPSE BECAUSE OF FAILURE TO SUBMIT A TRANSLATION OF THE DESCRIPTION OR TO PAY THE FEE WITHIN THE PRESCRIBED TIME-LIMIT Effective date: 20090812 |
|
| REG | Reference to a national code |
Ref country code: FR Ref legal event code: PLFP Year of fee payment: 13 |
|
| REG | Reference to a national code |
Ref country code: FR Ref legal event code: PLFP Year of fee payment: 14 |
|
| REG | Reference to a national code |
Ref country code: FR Ref legal event code: PLFP Year of fee payment: 15 |
|
| REG | Reference to a national code |
Ref country code: DE Ref legal event code: R081 Ref document number: 502004009879 Country of ref document: DE Owner name: MAN TRUCK & BUS SE, DE Free format text: FORMER OWNER: MAN TRUCK & BUS AG, 80995 MUENCHEN, DE |
|
| PGFP | Annual fee paid to national office [announced via postgrant information from national office to epo] |
Ref country code: TR Payment date: 20230919 Year of fee payment: 20 Ref country code: IT Payment date: 20230920 Year of fee payment: 20 Ref country code: AT Payment date: 20230919 Year of fee payment: 20 |
|
| PGFP | Annual fee paid to national office [announced via postgrant information from national office to epo] |
Ref country code: SE Payment date: 20230926 Year of fee payment: 20 Ref country code: PL Payment date: 20230920 Year of fee payment: 20 Ref country code: HU Payment date: 20230921 Year of fee payment: 20 Ref country code: FR Payment date: 20230926 Year of fee payment: 20 Ref country code: DE Payment date: 20230928 Year of fee payment: 20 |
|
| REG | Reference to a national code |
Ref country code: DE Ref legal event code: R071 Ref document number: 502004009879 Country of ref document: DE |
|
| REG | Reference to a national code |
Ref country code: SE Ref legal event code: EUG |
|
| REG | Reference to a national code |
Ref country code: AT Ref legal event code: MK07 Ref document number: 439506 Country of ref document: AT Kind code of ref document: T Effective date: 20240930 |
