EP1524167B1 - Verfahren und Schaltungsanordnung zur Erzeugung einer eisenbahntechnisch sicheren Rückmeldung - Google Patents
Verfahren und Schaltungsanordnung zur Erzeugung einer eisenbahntechnisch sicheren Rückmeldung Download PDFInfo
- Publication number
- EP1524167B1 EP1524167B1 EP20040022257 EP04022257A EP1524167B1 EP 1524167 B1 EP1524167 B1 EP 1524167B1 EP 20040022257 EP20040022257 EP 20040022257 EP 04022257 A EP04022257 A EP 04022257A EP 1524167 B1 EP1524167 B1 EP 1524167B1
- Authority
- EP
- European Patent Office
- Prior art keywords
- railway
- unit
- command
- feedback
- railway technical
- Prior art date
- Legal status (The legal status is an assumption and is not a legal conclusion. Google has not performed a legal analysis and makes no representation as to the accuracy of the status listed.)
- Expired - Lifetime
Links
- 238000000034 method Methods 0.000 title claims description 10
- 230000008878 coupling Effects 0.000 claims description 4
- 238000010168 coupling process Methods 0.000 claims description 4
- 238000005859 coupling reaction Methods 0.000 claims description 4
- 230000005355 Hall effect Effects 0.000 claims 1
- 230000005540 biological transmission Effects 0.000 description 6
- 230000004888 barrier function Effects 0.000 description 4
- 238000001514 detection method Methods 0.000 description 4
- 238000012544 monitoring process Methods 0.000 description 4
- 238000010586 diagram Methods 0.000 description 2
- 230000008901 benefit Effects 0.000 description 1
- 230000008859 change Effects 0.000 description 1
- 239000004020 conductor Substances 0.000 description 1
- 230000005672 electromagnetic field Effects 0.000 description 1
- 230000007613 environmental effect Effects 0.000 description 1
- 230000005284 excitation Effects 0.000 description 1
- 238000000605 extraction Methods 0.000 description 1
- 239000003302 ferromagnetic material Substances 0.000 description 1
- 230000006698 induction Effects 0.000 description 1
- 230000001939 inductive effect Effects 0.000 description 1
- 239000000463 material Substances 0.000 description 1
- 230000010363 phase shift Effects 0.000 description 1
- 230000008569 process Effects 0.000 description 1
Images
Classifications
-
- B—PERFORMING OPERATIONS; TRANSPORTING
- B61—RAILWAYS
- B61L—GUIDING RAILWAY TRAFFIC; ENSURING THE SAFETY OF RAILWAY TRAFFIC
- B61L7/00—Remote control of local operating means for points, signals, or track-mounted scotch-blocks
- B61L7/06—Remote control of local operating means for points, signals, or track-mounted scotch-blocks using electrical transmission
- B61L7/08—Circuitry
Definitions
- the invention relates to a method and a circuit arrangement for generating a railway technically safe feedback according to the preamble of patent claims 1 and 4, respectively.
- the feedback includes monitoring contacts and conditions such as «Barrier closed» or «Soft locked». Due to such feedback, e.g. a signal can be set free.
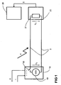
- FIG. 1 a circuit arrangement according to the prior art is shown.
- a first railway technical unit 10 is connected via a line 3 to a second railway technical unit 20.
- a contact 18 is actuated and causes a voltage U 1 is present at the output of the first unit and a voltage U 2 is present at the input of the second railway technical unit 20.
- the voltage applied to the output of the first unit is used to generate a feedback 2. Due to the strong electromagnetic fields occurring in the track area (in Fig. 1 symbolically represented by the arrow 4), it is now possible that such a high voltage is induced via the lines 3, with which a feedback 2 can be generated via a supposedly executed command 1.
- the font DE 31 40 559 A1 (D3) describes a circuit arrangement for fail-safe operation of AC-powered signal lamps, which are operated at night with a lower voltage.
- a change in the threshold value during day / night switching is provided. This is achieved by connecting or disconnecting an additional circuit affecting the fallback excitation.
- the present invention is therefore an object of the invention to provide a method and a circuit arrangement for generating a railway technically safe feedback_, which are largely immune to the interference occurring in the track area and which are useful for other railway technical units.
- the invention is also particularly advantageous because on the side of the first railway technical unit for the detection of the alternating current (and thus to generate a feedback) in railway engineering established power relay, in particular safety relay can be used.
- the current represents the relevant quantity and is used as a criterion for the presence or absence of information. If the conductors between the two railway technical units are arranged symmetrically, that is, as a "twisted pair", only symmetry errors can be effective,
- the disadvantage is that a voltage in the order of magnitude of the voltage U 1 is induced by the strong electromagnetic interference fields 7 occurring in the track area on the lines 3. To generate a feedback 2, the voltage U 1 is tapped in the first unit 10. Under the aforementioned influencing factors, it is now easy to see that feedback generated in this way is not safe from a railway engineering point of view.
- FIG. 2 is a circuit arrangement according to the invention for generating a railway technically safe feedback in a schematic representation shown.
- the first railway technical unit 10 has a DC power source 11 which is coupled via a charging resistor 14 with an astable multivibrator 12.
- the charging resistor 14 serves to limit the current.
- voltage U 1 is to be understood as DC voltage. Only symbolically a switchable by a command 1 contact 18 is shown, since a power source from the outside can not be switched.
- a current transformer 22 is arranged, which has two independent secondary circuits 23.1 and 23.2. Not shown further, the generation of another command for transmission to another railway technical unit 30.
- the astable multivibrator 12 flows between the two units 10 and 20, an alternating current i st .
- the multivibrator 12 operates on the so-called on / off principle, without consideration of inductive influences, the voltage U 1a has a rectangular shape.
- Typical frequencies for the astable multivibrator are 1 Hz .. 1 kHz, preferably 50 Hz.
- a so-called AC relay 13 is inserted on the side of the first unit 10. This has a rectifier to drive a DC relay. Now flows due to a command 1, an alternating current i st between the two railway engineering units, the above-mentioned relay is activated and can close with guided contacts another circuit, by which the return message 2 is generated, so-called loop control.
- the impedance of the current transformer is on the order of about 0.1 ohms.
- On the side of the first railway technical unit 10 can be used for the circuit control as an alternative to the AC relay 13, a current transformer or a Hall element.
- AC relay 13 it is particularly advantageous to use as AC relay 13 such safe types established in railway operation. Such established secure types have valent and antivalent contacts. Likewise, for reasons of required redundancy and independence, several such AC relays can be used to generate a secure feedback.
- a purely ohmic connection can be provided.
- the internal resistance value R i is typically of the same order of magnitude as the above-indicated impedance of the current transformer 22.
- Fig. 3 is shown as a further embodiment instead of a current transformer 22 with separate secondary circuits 23.1 and 23.2 a Hall element 32 with also separate secondary circuits 33.1 and 33.2.
Landscapes
- Engineering & Computer Science (AREA)
- Mechanical Engineering (AREA)
- Train Traffic Observation, Control, And Security (AREA)
- Electric Propulsion And Braking For Vehicles (AREA)
Description
- Die Erfindung bezieht sich auf ein Verfahren und eine Schaltungsanordnung zur Erzeugung einer eisenbahntechnisch sicheren Rückmeldung gemäss dem Oberbegriff des Patentanspruchs 1 bzw. 4.
- Die vorliegende Erfindung betrifft das Gebiet der Eisenbahnsicherungstechnik. Um einen möglichst lückenlosen Sicherheitsnachweis bei der Übertragung von Kommandos an eine eisenbahntechnische Einheit und entsprechender Rückmeldungen über ausgeführte Kommandos führen zu können, ist es erforderlich, dass auch die Rückmeldungen möglichst nicht durch auftretende elektromagnetische Störfelder verfälscht werden. Diese Störfelder resultieren insbesondere aus:
- a) Traktionsströme in Fahrdraht, Schiene und Fahrzeug;
- b) Ströme aus den eingesetzten Wirbelstrombremsen.
- Die Rückmeldungen beinhalten das Überwachen von Kontakten und Zuständen wie z.B. «Barriere geschlossen» oder «Weiche verriegelt». Aufgrund einer solchen Rückmeldung kann z.B. ein Signal auf freie Fahrt gesetzt werden.
- Die zu erfüllenden Anforderungen an Schaltungen bezüglich Umgebungseinflüsse sind in den Normen EN 50126 und EN 50129 festgelegt.
- In
Figur 1 ist eine Schaltungsanordnung gemäss dem Stand der Technik gezeigt. Eine erste eisenbahntechnische Einheit 10 ist über eine Leitung 3 mit einer zweiten eisenbahntechnische Einheit 20 verbunden. Durch ein an die erste Einheit 10 übermitteltes Kommando 1 wird ein Kontakt 18 betätigt und bewirkt, dass am Ausgang der ersten Einheit eine Spannung U1 und am Eingang der zweiten eisenbahntechnischen Einheit 20 eine Spannung U2 anliegt. Die am Ausgang der ersten Einheit anliegende Spannung wird benutzt, um eine Rückmeldung 2 zu generieren. Aufgrund der im Gleisbereich auftretenden starken elektromagnetischen Felder (inFig. 1 symbolisch durch den P.feil 4 dargestellt) ist es nun möglich, dass über die Leitungen 3 eine so hohe Spannung induziert wird, mit der eine Rückmeldung 2 über ein nur vermeintlich ausgeführtes Kommando 1 erzeugt werden kann. Die Folgen einer solchen Rückmeldung können fatale Auswirkungen haben, z.B. wenn dadurch ein Signal fälschlicherweise auf «FAHRT» gestellt würde. Das Problem mit der Induktion durch Störfelder 4 auf die Leitung 3 kann mit einer Gleichstromdetektion deshalb nicht zufriedenstellend gelöst werden, weil auf der Seite der zweiten eisenbahntechnischen Einheit 20 aktive Stromdetektionselemente vorgesehen werden müssten. Darüber hinaus besteht bei einer Stromdetektion zusätzlich das Problem der sogenannten DC-Drift. Eine Leistungserfassung ist nicht erforderlich. - Aus der Schrift
DE 35 27 828 A1 (D1) ist eine Einrichtung zur Überwachung des Betriebs einer Signallampe bekannt, bei der dem Lampenstrom ein unverwechselbares Modulationsmuster aufgeprägt, das im Stellwerk erkannt wird. Dadurch kann ein Glühfadenbruch auch bei im Bahnbereich notorisch vorhandenen Störeinflüssen sicher erkannt werden. - Die Schrift
DE 31 40 559 A1 (D3) beschreibt eine Schaltungsanordnung zum signaltechnisch sicheren Betrieb von wechselstromgespeisten Signallampen, die nachts mit einer geringeren Spannung betrieben werden. Um einem Glühfadenbruch auch aufgrund kapazitiver Fehlströme mit Unterschreiten eines Nacht-Betriebsstromschwellenwertes sicher mit einem Überwachungsrelais zu detektieren, ist eine Änderung des Schwellenwertes bei der Tag-/Nachtumschaltung vorgesehen. Diese wird erreicht durch Zu- oder Abschalten eines die Rückfallerregung beeinflussenden Zusatzstromkreises. - Der vorliegenden Erfindung liegt daher die Aufgabe zugrunde, ein Verfahren und eine Schaltungsanordnung zur Erzeugung einer eisenbahntechnisch sicheren Rückmeldung anzugeben_, die weitgehend immun gegen die im Gleisbereich auftretenden Störfelder sind und die für andere eisenbahntechnische Einheiten verwendbar sind.
- Diese Aufgabe wird durch das im Patentanspruch 1 angegebene Verfahren und mit der im Patentanspruch 4 angegebenen Schaltungsanordnung gelöst.
- Durch die Verfahrensschritte, wonach
- A die Übertragung des Kommandos erfolgt über eine zweidrahtige Leitung mittels einer in der ersten eisenbahntechnischen Einheit enthaltenen Wechselstromquelle;
- B die Rückmeldung wird aus dem zwischen der ersten und zweiten eisenbahntechnischen Einheit fliessenden Strom erzeugt;
- Die Erfindung ist auch deshalb besonders vorteilhaft, weil auf der Seite der ersten eisenbahntechnischen Einheit zur Detektion des Wechselstromes (und damit zur Erzeugung einer Rückmeldung) in der Bahntechnik etablierte Stromrelais, insbesondere Sicherheitsstromrelais, eingesetzt werden können.
- Bedeutend ist, dass der Strom die relevante Grösse darstellt und als Kriterium für das Vorhandensein oder für das Nichtvorhandensein einer Information herangezogen wird. Wenn die Leiter zwischen den beiden eisenbahntechnischen Einheiten symmetrisch angeordnet sind, das heisst als «twisted pair», können nur Symmetriefehler wirksam werden,
- Unter dem Begriff «eisenbahntechnische Einheit» wird im Sinne dieser Schrift in nicht abschliessender Aufzählung subsummiert:
- Barrierenantrieb,
- Barrienkontakt,
- Signallampenansteuerung,
- Weichenansteuerung,
- Kontakt der eine Weichenlage repräsentiert.
- Vorteilhafte Ausgestaltungen der Erfindung sind in weiteren Ansprüchen angegeben.
- Die Erfindung wird nachfolgend anhand der Zeichnung beispielsweise näher erläutert. Dabei zeigt:
- Figur 1
- Schaltungsanordnung zur Erzeugung einer Rückmeldung gemäss dem Stand der Technik;
- Figur 2
- erfindungsgemässe Schaltungsanordnung zur Erzeugung einer eisenbahntechnisch sicheren Rückmeldung in einer ersten Ausführungsform mit einem Stromwandler;
- Figur 3
- erfindungsgemässe Schaltungsanordnung in einer zweiten Ausführungsform mit einem Hallelement;
- Figur 4
- erfindungsgemässe Schaltungsanordnung in einer dritten Ausführungsform mit einem elektrooptischen Koppelelement.
- Zum besseren Verständnis der vorliegenden Erfindung wird vorerst noch einmal zu einer bekannten Anordnung gemäss der
Figur 1 Bezug genommen. Es wird angenommen, dass die Leitung 3 zwischen den beiden eisenbahntechnischen Einheiten 10 und 20 im Gleisbereich liegt. Typische Distanzen zwischen den eisenbahntechnischen Einheiten 10 und 20 betragen etwa 5m bis 6500m. Das Anlegen einer Spannung U1 durch die erste eisenbahntechnische Einheit 10 bedingt, dass die zweite eisenbahntechnische Einheit 20 mit dem im Ersatzschaltbild gezeigten Innenwiderstand 21 einen relativ hohen Innenwiderstandswert Ri aufweisen muss. Typische Werte für den Innenwiderstandswert Ri liegen in der Grössenordnung von ca. 10 bis 50 kOhm. Ein relativ hoher Innenwiderstandswert Ri hat als Vorteil einen verhältnismässig tiefen Energiebedarf zur Folge. Nachteilig ist, dass durch die im Gleisbereich auftretenden starken elektromagnetischen Störfelder 7 auf die Leitungen 3 eine Spannung in der Grössenordnung der Spannung U1 induziert wird. Zur Erzeugung einer Rückmeldung 2 wird in der ersten Einheit 10 die Spannung U1 abgegriffen. Unter den vorgenannten Einflussfaktoren ist nun leicht ersichtlich, dass eine auf diese Weise generierte Rückmeldung eisenbahntechnisch nicht sicher ist. - In
Figur 2 ist eine erfindungsgemässe Schaltungsanordnung zur Erzeugung einer eisenbahntechnisch sicheren Rückmeldung in einer prinzipiellen Darstellung gezeigt. Die erste eisenbahntechnische Einheit 10 weist eine Gleichstromquelle 11 die über einen Ladewiderstand 14 mit einem astabilen Multivibrator 12 gekoppelt ist. Der Ladewiderstand 14 dient zur Strombegrenzung. Die inFig. 2 gezeigte Spannung U1 ist als Gleichspannung zu verstehen. Nur symbolisch ist ein durch ein Kommando 1 schaltbarer Kontakt 18 gezeigt, da eine Stromquelle von aussen her nicht geschaltet werden kann. Auf der Seite der zweiten eisenbahntechnischen Einheit 20 ist ein Stromwandler 22 angeordnet, der zwei unabhängige Sekundärkreise 23.1 und 23.2 aufweist. Nicht weiter dargestellt ist, die Erzeugung eines weiteren Kommandos zur Übermittlung an eine weitere eisenbahntechnische Einheit 30. Durch den astabilen Multivibrator 12 fliesst zwischen den beiden Einheiten 10 und 20 ein Wechselstrom ist. Der Multivibrator 12 arbeitet nach dem sogenannten On/Off-Prinzip, ohne Berücksichtigung von induktiven Einflüssen weist die Spannung U1a eine Rechteckform auf. Typische Frequenzen für den astabilen Multivibrator liegen bei 1 Hz .. 1 kHz, vorzugsweise bei 50 Hz. - Zur Detektion des Wechselstromes ist auf der Seite der ersten Einheit 10 ein sogenanntes Wechselstromrelais 13 eingefügt. Dieses weist einen Gleichrichter auf, um ein Gleichstromrelais anzusteuern. Fliesst nun aufgrund eines Kommandos 1 ein Wechselstrom ist zwischen den beiden eisenbahntechnischen Einheiten, wird das vorgenannte Relais aktiviert und kann mit den zwangsgeführten Kontakten einen weiteren Stromkreis schliessen, durch den die Rückmeldung 2 generiert wird, sogenannte Kreiskontrolle. Die Impedanz des Stromwandlers liegt in der Grössenordnung von ca. 0.1 Ohm.
- Auf der Seite der ersten eisenbahntechnischen Einheit 10 kann für die Kreiskontrolle alternativ zum Wechselstromrelais 13 ein Stromwandler oder ein Hallelement eingesetzt werden.
- Besonders vorteilhaft ist es, als Wechselstromrelais 13 solche im Bahnbetrieb etablierten sicheren Typen einzusetzen. Solche etablierte sichere Typen weisen valente und antivalente Kontakte auf. Ebenso können aus Gründen der geforderten Redundanz und Unabhängigkeit mehrere solcher Wechselstromrelais zur Erzeugung einer sicheren Rückmeldung verwendet werden.
- Diese Schaltungsanordnung gemäss der
Fig. 2 kann z.B. wie folgt eingesetzt werden: - Die eisenbahntechnische Einheit 10 ist ein Barrierenantrieb, die eisenbahntechnische Einheit 20 eine Line Side Electronic Unit LEU und die weitere Einheit eine Balise. Das Kommando 1 steht für den Befehl bzw. Zustand «Barriere geschlossen». Daraufhin wird auf der Eisenbahnstrecke die vorstehend erwähnt LEU aktiviert, die ihrerseits eine Balise 30 ansteuert. Die sichere Rückmeldung geht zum Stellwerk und erlaubt das Einstellen einer Rangierfahrstrasse oder das Setzen eines Signals auf «grün».
- Anstelle der in
Fig. 2 gezeigten Anordnung eines Stromwandlers 22 auf der Seite der zweiten eisenbahntechnischen Einheit 20 kann auch ein rein ohmsche Anschaltung vorgesehen werden. Der Innenwiderstandswert Ri liegt dabei typischerweise in der gleichen Grössenordnung wie die vorstehend angegebene Impedanz des Stromwandlers 22. - Alternativ zur in
Fig. 2 gezeigten Anordnung und alternativ zur vorstehend erwähnten rein ohmschen Anschaltung sind inFig. 3 und 4 zwei weitere Ausführungsformen der Signalauskopplung gezeigt. - In
Fig. 3 ist als weitere Ausführungsform anstelle eines Stromwandlers 22 mit getrennten Sekundärkreisen 23.1 und 23.2 ein Hall-Element 32 mit ebenfalls getrennten Sekundärkreisen 33.1 und 33.2 dargestellt. - Gemäss der Darstellung in
Fig. 4 erfolgt die Auskopplung der dem Stromfluss zugrundeliegenden Information mit zwei elektrooptischen Koppelelementen 42. - Die vorstehend in den
Figuren 2 ,3 und 4 gezeigten Ausführungsformen sind frei kombinierbar mit den Ausführungsformen für die Kreiskontrolle auf der Seite der ersten eisenbahntechnischen Einheit 10. -
- 1
- Kommando
- 2
- Rückmeldung
- 3
- Leitung zwischen erster und zweiter eisenbahntechnischer Einheit, meist im Gleisbereich angeordnet
- 4
- elektromagnetische Störbeeinflussung im Gleisbereich
- 5
- Kommando an eine weitere Eisenbahntechnische Einheit 30
- 5.1, 5.2
- getrennte Leitungen zur Übermittlung eines Kommandos 5
- 10
- erste eisenbahntechnische Einheit, z.B. Anschaltlogik, Stellteil
- 11
- Gleichstromquelle
- 12
- astabiler Multivibrator
- 13
- Stromrelais
- 14
- Ladewiderstand
- 18
- durch ein Kommando 1 schaltbarer Kontakt
- 19
- Gleichspannungsquelle
- 20
- zweite eisenbahntechnische Einheit
- 21
- Innenwiderstand der zweiten eisenbahntechnischen Einheit aus Sicht der Leitung 3 im Ersatzschaltbild
- 22
- Stromwandler
- 23.1, 23.2
- erster und zweiter unabhängiger Sekundärkreis des Stromwandlers 22
- 30
- weitere eisenbahntechnische Einheit, z.B. Balise, Zub, Indusi
- 32
- Hallelement
- 33.1, 33.2
- erster und zweiter unabhängiger Sekundärkreis des Hallelementes 32
- 42
- elektrooptisches Koppelelement
- ist
- Steuerwechselstrom auf der Leitung 3
- Ri
- Innenwiderstandswert
- U1,
- U1b Spannung am Ausgang der ersten eisenbahntechnischen Einheit
- U1a
- Wechselspannung über dem astabilen Multivibrator 12
- U2
- Spannung am Eingang der zweiten eisenbahntechnischen Einheit
-
- D1
-
DE 3527 828 A1 «Einrichtung zur Überwachung des Betriebs einer Signallampe» Offenlegungsdatum: 26. März 1987 Standard Elektrik Lorenz AG, 7000 Stuttgart - D3
-
DE 31 40 559 A1 «Schaltungsanordnung zum signaltechnisch sicheren Betrieb von Signallampen» Offenlegungsdatum: 28. April 1983 Standard Elektrik Lorenz AG, 7000 Stuttgart
Claims (4)
- Verfahren zur Erzeugung einer eisenbahntechnisch sicheren Rückmeldung (2) eines ausgeführten Kommandos (1), wobei das Kommando (1) einer ersten eisenbahntechnischen Einheit (10) zugeführt und über eine Leitung (3) einer zweiten eisenbahntechnischen Einheit (20) zur Ausführung übertragen wird und die Rückmeldung (2) an der ersten eisenbahntechnischen Einheit (10) abgreifbar ist; wobei- die Übertragung des Kommandos (1) über eine zweidrahtige Leitung mittels einer in der ersten eisenbahntechnischen Einheit (10) enthaltenen Wechselstromquelle (11, 12) erfolgt und- die Rückmeldung (2) aus dem zwischen der ersten und zweiten eisenbahntechnischen Einheit fliessenden Strom (ist) erzeugt wird;dadurch gekennzeichnet wird, dass die zweite eisenbahntechnische Einheit (20) alternativ- einen Stromwandler (22) oder- ein Hallelement (32) oder- ein elektrooptisches Koppelelement (42)aufweist, an dessen Ausgang (5.1, 5.2; 23.1, 23.2; 33.1, 33.2)
ein weiteres Kommando (5) für eine weitere als Balise ausgebildete eisenbahntechnische Einheit (30) generiert wird. - Verfahren nach Anspruch 1;
dadurch gekennzeichnet, dass
die Rückmeldung (2) durch ein in der ersten eisenbahntechnischen Einheit (10) angeordnetes Wechselstromrelais (13) geschaltet wird. - Verfahren nach Anspruch 1 oder 2;
dadurch gekennzeichnet, dass
die Wechselstromquelle (11, 12) aus einer mit einem astabilen Multivibrator (12) gekoppelten Gleichstromquelle (11) gebildet wird. - Schaltungsanordnung zur Durchführung des Verfahrens gemäss einem der Ansprüche 1 bis 3.
Priority Applications (1)
| Application Number | Priority Date | Filing Date | Title |
|---|---|---|---|
| EP20040022257 EP1524167B1 (de) | 2003-10-14 | 2004-09-18 | Verfahren und Schaltungsanordnung zur Erzeugung einer eisenbahntechnisch sicheren Rückmeldung |
Applications Claiming Priority (3)
| Application Number | Priority Date | Filing Date | Title |
|---|---|---|---|
| EP03023063 | 2003-10-14 | ||
| EP03023063 | 2003-10-14 | ||
| EP20040022257 EP1524167B1 (de) | 2003-10-14 | 2004-09-18 | Verfahren und Schaltungsanordnung zur Erzeugung einer eisenbahntechnisch sicheren Rückmeldung |
Publications (3)
| Publication Number | Publication Date |
|---|---|
| EP1524167A2 EP1524167A2 (de) | 2005-04-20 |
| EP1524167A3 EP1524167A3 (de) | 2009-04-15 |
| EP1524167B1 true EP1524167B1 (de) | 2010-11-03 |
Family
ID=34379367
Family Applications (1)
| Application Number | Title | Priority Date | Filing Date |
|---|---|---|---|
| EP20040022257 Expired - Lifetime EP1524167B1 (de) | 2003-10-14 | 2004-09-18 | Verfahren und Schaltungsanordnung zur Erzeugung einer eisenbahntechnisch sicheren Rückmeldung |
Country Status (1)
| Country | Link |
|---|---|
| EP (1) | EP1524167B1 (de) |
Families Citing this family (2)
| Publication number | Priority date | Publication date | Assignee | Title |
|---|---|---|---|---|
| DE602007000438D1 (de) * | 2007-02-05 | 2009-02-12 | Alstom Ferroviaria Spa | Ausgabegerät und System zur Verbindung einer Steuerungslogik-Einheit mit einer oder mehreren streckenseitigen Einheiten |
| EP3643579B1 (de) * | 2018-10-23 | 2025-08-27 | Hitachi Rail GTS Schweiz AG | Vorrichtung und verfahren zur überwachung einer weiche |
Family Cites Families (10)
| Publication number | Priority date | Publication date | Assignee | Title |
|---|---|---|---|---|
| DE1907057C3 (de) * | 1969-02-12 | 1981-09-24 | Standard Elektrik Lorenz Ag, 7000 Stuttgart | Schaltungsanordnung zum Überwachen einer durch einen Blinkgeber getasteten, wechselstromgespeisten Signallampenstromkreises für Eisenbahnsicherungsanlagen |
| DE3140559A1 (de) * | 1981-10-13 | 1983-04-28 | Standard Elektrik Lorenz Ag, 7000 Stuttgart | Schaltungsanordnung zum signaltechnisch sicheren betrieb von signallampen |
| DE3338490A1 (de) * | 1983-10-22 | 1985-05-02 | Standard Elektrik Lorenz Ag, 7000 Stuttgart | Schaltungsanordnung zur ueberwachung des betriebszustandes von in der aussenanlage eines stellwerks eingesetzten wechselstromverbrauchern |
| DE3527828A1 (de) * | 1985-08-02 | 1987-03-26 | Standard Elektrik Lorenz Ag | Einrichtung zur ueberwachung des betriebs einer signallampe |
| US4779071A (en) * | 1985-12-20 | 1988-10-18 | Pianelli and Traveisa S.A.S. | System for transmitting commands |
| DE3715478A1 (de) * | 1987-05-06 | 1988-11-17 | Licentia Gmbh | Schaltungsanordnung zur ueberwachung einer weiche |
| DE3920430A1 (de) * | 1989-06-22 | 1991-01-03 | Standard Elektrik Lorenz Ag | Schaltungsanordnung zur ueberwachung von wechselstromverbrauchern in eisenbahnsignalanlagen |
| DE4132389A1 (de) * | 1991-09-26 | 1993-04-01 | Siemens Ag | Schaltung zum steuern und ueberwachen von lichtsignalen |
| IT1276423B1 (it) * | 1995-06-20 | 1997-10-31 | Ansaldo Trasporti Spa | Sistema di controllo per dispositivi di segnalazione luminosa di tipo ferroviario |
| EP0960797B1 (de) * | 1998-05-25 | 2006-03-15 | Siemens Schweiz AG (Siemens Suisse SA) (Siemens Svizzera SA) Siemens Switzerland Ltd) | Übertragungssystem insbesondere für verkehrstechnische Systeme |
-
2004
- 2004-09-18 EP EP20040022257 patent/EP1524167B1/de not_active Expired - Lifetime
Also Published As
| Publication number | Publication date |
|---|---|
| EP1524167A3 (de) | 2009-04-15 |
| EP1524167A2 (de) | 2005-04-20 |
Similar Documents
| Publication | Publication Date | Title |
|---|---|---|
| EP1261131A2 (de) | Induktive Positionsschaltvorrichtung | |
| EP2868548B1 (de) | Verfahren zur Überwachung eines Schaltungszustandes eines Schalters eines Zugsicherungssystem, sowie Zugsicherungssystem | |
| EP1524167B1 (de) | Verfahren und Schaltungsanordnung zur Erzeugung einer eisenbahntechnisch sicheren Rückmeldung | |
| DE3704893A1 (de) | Anordnung fuer naeherungsschalter zum schutz gegen signalverfaelschung durch magnetische wechselfelder | |
| DE19709840C2 (de) | Einrichtung für die Achszählung zum Unterscheiden von Radbeeinflussungen und Nicht-Radbeeinflussungen | |
| DE3428444A1 (de) | Ueberwachungseinrichtung fuer verkehrssignalanlagen | |
| DE3505765A1 (de) | Induktiver naeherungsschalter mit pruefeinrichtung | |
| DE19510519C2 (de) | Anordnung sowie Schaltungsanordnung zur Diagnose, Überwachung und/oder Steuerung von elektromagnetischen Betätigungssystemen | |
| EP2448803B1 (de) | Einrichtung zum detektieren eines mittels eines magnetischen gleichfeldes übertragenen informations-signals | |
| CH698721B1 (de) | Verfahren und Schaltungsanordnung zum Übertragen eines zweiwertigen Signals. | |
| EP3521131B1 (de) | Sensor, system und verfahren zum erfassen von metallteilen | |
| DE2347449A1 (de) | Ueberwachungsschaltung fuer eine schutzerdung | |
| DE102004023723B3 (de) | Erzeugen eines Signals an einer Strecke für Schienenfahrzeuge | |
| EP1478068B1 (de) | Allstromsensitive Fehlerstrom-Schutzeinrichtung | |
| EP1444782A2 (de) | Vorrichtung zur ansteuerung einer elektrischen last und steuergerät | |
| EP1170849B1 (de) | Verfahren zur Steuerung und entsprechende Schaltungsanordnung | |
| AT413307B (de) | Digitaleingabebaugruppe | |
| EP0734932B1 (de) | Anordnung zum Überwachen von mit Drehstromantrieben verstellbaren Aussenanlagen | |
| DE102016217470B4 (de) | Anordnung zur Erfassung und Abschaltung von Fehlerströmen | |
| EP0739072A2 (de) | Fehlerstromschutzschalter | |
| DE2353660C3 (de) | Einrichtung zur Überwachung des Schaltzustandes magnetbetätigter Stellglieder in Gleichstromkreisen | |
| DE10338232B3 (de) | Vorrichtung zur Kopplung signaltechnischer Komponeneten eines Eisenbahnverkehrssicherungssystems | |
| DE2526401A1 (de) | Einrichtung zur anzeige des ausfalles einer elektrischen lampe | |
| EP0913904A2 (de) | Verfahren zur Erhöhung der Zuverlässigkeit eines Fehlerstrom-Schutzschalters und Fehlerstrom-Schutzschalter zur Durchführung dieses Verfahrens | |
| EP0855035B2 (de) | Betriebsverfahren für eine eingangsschaltung und hierzu korrespondierende eingangsschaltung |
Legal Events
| Date | Code | Title | Description |
|---|---|---|---|
| PUAI | Public reference made under article 153(3) epc to a published international application that has entered the european phase |
Free format text: ORIGINAL CODE: 0009012 |
|
| AK | Designated contracting states |
Kind code of ref document: A2 Designated state(s): AT BE BG CH CY CZ DE DK EE ES FI FR GB GR HU IE IT LI LU MC NL PL PT RO SE SI SK TR |
|
| AX | Request for extension of the european patent |
Extension state: AL HR LT LV MK |
|
| RAP1 | Party data changed (applicant data changed or rights of an application transferred) |
Owner name: SIEMENS SCHWEIZ AG |
|
| PUAL | Search report despatched |
Free format text: ORIGINAL CODE: 0009013 |
|
| AK | Designated contracting states |
Kind code of ref document: A3 Designated state(s): AT BE BG CH CY CZ DE DK EE ES FI FR GB GR HU IE IT LI LU MC NL PL PT RO SE SI SK TR |
|
| AX | Request for extension of the european patent |
Extension state: AL HR LT LV MK |
|
| 17P | Request for examination filed |
Effective date: 20090506 |
|
| 17Q | First examination report despatched |
Effective date: 20090610 |
|
| AKX | Designation fees paid |
Designated state(s): AT BE BG CH CY CZ DE DK EE ES FI FR GB GR HU IE IT LI LU MC NL PL PT RO SE SI SK TR |
|
| GRAP | Despatch of communication of intention to grant a patent |
Free format text: ORIGINAL CODE: EPIDOSNIGR1 |
|
| GRAS | Grant fee paid |
Free format text: ORIGINAL CODE: EPIDOSNIGR3 |
|
| GRAA | (expected) grant |
Free format text: ORIGINAL CODE: 0009210 |
|
| AK | Designated contracting states |
Kind code of ref document: B1 Designated state(s): AT BE BG CH CY CZ DE DK EE ES FI FR GB GR HU IE IT LI LU MC NL PL PT RO SE SI SK TR |
|
| REG | Reference to a national code |
Ref country code: GB Ref legal event code: FG4D Free format text: NOT ENGLISH |
|
| REG | Reference to a national code |
Ref country code: CH Ref legal event code: NV Representative=s name: SIEMENS SCHWEIZ AG Ref country code: CH Ref legal event code: EP |
|
| REG | Reference to a national code |
Ref country code: IE Ref legal event code: FG4D Free format text: LANGUAGE OF EP DOCUMENT: GERMAN |
|
| REF | Corresponds to: |
Ref document number: 502004011846 Country of ref document: DE Date of ref document: 20101216 Kind code of ref document: P |
|
| REG | Reference to a national code |
Ref country code: NL Ref legal event code: VDEP Effective date: 20101103 |
|
| REG | Reference to a national code |
Ref country code: IE Ref legal event code: FD4D |
|
| PG25 | Lapsed in a contracting state [announced via postgrant information from national office to epo] |
Ref country code: NL Free format text: LAPSE BECAUSE OF FAILURE TO SUBMIT A TRANSLATION OF THE DESCRIPTION OR TO PAY THE FEE WITHIN THE PRESCRIBED TIME-LIMIT Effective date: 20101103 Ref country code: FI Free format text: LAPSE BECAUSE OF FAILURE TO SUBMIT A TRANSLATION OF THE DESCRIPTION OR TO PAY THE FEE WITHIN THE PRESCRIBED TIME-LIMIT Effective date: 20101103 Ref country code: SE Free format text: LAPSE BECAUSE OF FAILURE TO SUBMIT A TRANSLATION OF THE DESCRIPTION OR TO PAY THE FEE WITHIN THE PRESCRIBED TIME-LIMIT Effective date: 20101103 Ref country code: SI Free format text: LAPSE BECAUSE OF FAILURE TO SUBMIT A TRANSLATION OF THE DESCRIPTION OR TO PAY THE FEE WITHIN THE PRESCRIBED TIME-LIMIT Effective date: 20101103 Ref country code: BG Free format text: LAPSE BECAUSE OF FAILURE TO SUBMIT A TRANSLATION OF THE DESCRIPTION OR TO PAY THE FEE WITHIN THE PRESCRIBED TIME-LIMIT Effective date: 20110203 Ref country code: PT Free format text: LAPSE BECAUSE OF FAILURE TO SUBMIT A TRANSLATION OF THE DESCRIPTION OR TO PAY THE FEE WITHIN THE PRESCRIBED TIME-LIMIT Effective date: 20110303 |
|
| PG25 | Lapsed in a contracting state [announced via postgrant information from national office to epo] |
Ref country code: GR Free format text: LAPSE BECAUSE OF FAILURE TO SUBMIT A TRANSLATION OF THE DESCRIPTION OR TO PAY THE FEE WITHIN THE PRESCRIBED TIME-LIMIT Effective date: 20110204 |
|
| PG25 | Lapsed in a contracting state [announced via postgrant information from national office to epo] |
Ref country code: ES Free format text: LAPSE BECAUSE OF FAILURE TO SUBMIT A TRANSLATION OF THE DESCRIPTION OR TO PAY THE FEE WITHIN THE PRESCRIBED TIME-LIMIT Effective date: 20110214 Ref country code: CZ Free format text: LAPSE BECAUSE OF FAILURE TO SUBMIT A TRANSLATION OF THE DESCRIPTION OR TO PAY THE FEE WITHIN THE PRESCRIBED TIME-LIMIT Effective date: 20101103 Ref country code: IE Free format text: LAPSE BECAUSE OF FAILURE TO SUBMIT A TRANSLATION OF THE DESCRIPTION OR TO PAY THE FEE WITHIN THE PRESCRIBED TIME-LIMIT Effective date: 20101103 Ref country code: EE Free format text: LAPSE BECAUSE OF FAILURE TO SUBMIT A TRANSLATION OF THE DESCRIPTION OR TO PAY THE FEE WITHIN THE PRESCRIBED TIME-LIMIT Effective date: 20101103 |
|
| PG25 | Lapsed in a contracting state [announced via postgrant information from national office to epo] |
Ref country code: PL Free format text: LAPSE BECAUSE OF FAILURE TO SUBMIT A TRANSLATION OF THE DESCRIPTION OR TO PAY THE FEE WITHIN THE PRESCRIBED TIME-LIMIT Effective date: 20101103 Ref country code: DK Free format text: LAPSE BECAUSE OF FAILURE TO SUBMIT A TRANSLATION OF THE DESCRIPTION OR TO PAY THE FEE WITHIN THE PRESCRIBED TIME-LIMIT Effective date: 20101103 Ref country code: RO Free format text: LAPSE BECAUSE OF FAILURE TO SUBMIT A TRANSLATION OF THE DESCRIPTION OR TO PAY THE FEE WITHIN THE PRESCRIBED TIME-LIMIT Effective date: 20101103 Ref country code: SK Free format text: LAPSE BECAUSE OF FAILURE TO SUBMIT A TRANSLATION OF THE DESCRIPTION OR TO PAY THE FEE WITHIN THE PRESCRIBED TIME-LIMIT Effective date: 20101103 |
|
| PLBE | No opposition filed within time limit |
Free format text: ORIGINAL CODE: 0009261 |
|
| STAA | Information on the status of an ep patent application or granted ep patent |
Free format text: STATUS: NO OPPOSITION FILED WITHIN TIME LIMIT |
|
| 26N | No opposition filed |
Effective date: 20110804 |
|
| REG | Reference to a national code |
Ref country code: DE Ref legal event code: R097 Ref document number: 502004011846 Country of ref document: DE Effective date: 20110804 |
|
| PG25 | Lapsed in a contracting state [announced via postgrant information from national office to epo] |
Ref country code: IT Free format text: LAPSE BECAUSE OF FAILURE TO SUBMIT A TRANSLATION OF THE DESCRIPTION OR TO PAY THE FEE WITHIN THE PRESCRIBED TIME-LIMIT Effective date: 20101103 |
|
| BERE | Be: lapsed |
Owner name: SIEMENS SCHWEIZ A.G. Effective date: 20110930 |
|
| PG25 | Lapsed in a contracting state [announced via postgrant information from national office to epo] |
Ref country code: MC Free format text: LAPSE BECAUSE OF NON-PAYMENT OF DUE FEES Effective date: 20110930 |
|
| GBPC | Gb: european patent ceased through non-payment of renewal fee |
Effective date: 20110918 |
|
| REG | Reference to a national code |
Ref country code: FR Ref legal event code: ST Effective date: 20120531 |
|
| PG25 | Lapsed in a contracting state [announced via postgrant information from national office to epo] |
Ref country code: BE Free format text: LAPSE BECAUSE OF NON-PAYMENT OF DUE FEES Effective date: 20110930 |
|
| PG25 | Lapsed in a contracting state [announced via postgrant information from national office to epo] |
Ref country code: FR Free format text: LAPSE BECAUSE OF NON-PAYMENT OF DUE FEES Effective date: 20110930 Ref country code: GB Free format text: LAPSE BECAUSE OF NON-PAYMENT OF DUE FEES Effective date: 20110918 |
|
| PGFP | Annual fee paid to national office [announced via postgrant information from national office to epo] |
Ref country code: DE Payment date: 20121119 Year of fee payment: 9 Ref country code: CH Payment date: 20121210 Year of fee payment: 9 |
|
| PG25 | Lapsed in a contracting state [announced via postgrant information from national office to epo] |
Ref country code: CY Free format text: LAPSE BECAUSE OF EXPIRATION OF PROTECTION Effective date: 20101103 Ref country code: LU Free format text: LAPSE BECAUSE OF NON-PAYMENT OF DUE FEES Effective date: 20110918 |
|
| PG25 | Lapsed in a contracting state [announced via postgrant information from national office to epo] |
Ref country code: TR Free format text: LAPSE BECAUSE OF FAILURE TO SUBMIT A TRANSLATION OF THE DESCRIPTION OR TO PAY THE FEE WITHIN THE PRESCRIBED TIME-LIMIT Effective date: 20101103 |
|
| PG25 | Lapsed in a contracting state [announced via postgrant information from national office to epo] |
Ref country code: HU Free format text: LAPSE BECAUSE OF FAILURE TO SUBMIT A TRANSLATION OF THE DESCRIPTION OR TO PAY THE FEE WITHIN THE PRESCRIBED TIME-LIMIT Effective date: 20101103 |
|
| PGFP | Annual fee paid to national office [announced via postgrant information from national office to epo] |
Ref country code: AT Payment date: 20130911 Year of fee payment: 10 |
|
| REG | Reference to a national code |
Ref country code: CH Ref legal event code: PL |
|
| REG | Reference to a national code |
Ref country code: AT Ref legal event code: MM01 Ref document number: 486759 Country of ref document: AT Kind code of ref document: T Effective date: 20130918 |
|
| REG | Reference to a national code |
Ref country code: DE Ref legal event code: R119 Ref document number: 502004011846 Country of ref document: DE Effective date: 20140401 |
|
| PG25 | Lapsed in a contracting state [announced via postgrant information from national office to epo] |
Ref country code: LI Free format text: LAPSE BECAUSE OF NON-PAYMENT OF DUE FEES Effective date: 20130930 Ref country code: CH Free format text: LAPSE BECAUSE OF NON-PAYMENT OF DUE FEES Effective date: 20130930 |
|
| PG25 | Lapsed in a contracting state [announced via postgrant information from national office to epo] |
Ref country code: DE Free format text: LAPSE BECAUSE OF NON-PAYMENT OF DUE FEES Effective date: 20140401 |
|
| PG25 | Lapsed in a contracting state [announced via postgrant information from national office to epo] |
Ref country code: AT Free format text: THE PATENT HAS BEEN ANNULLED BY A DECISION OF A NATIONAL AUTHORITY Effective date: 20130918 |