EP1516544A1 - Trocknungsanlage und -verfahren zur Trocknung eines Tabakgutes - Google Patents

Trocknungsanlage und -verfahren zur Trocknung eines Tabakgutes Download PDF

Info

Publication number
EP1516544A1
EP1516544A1 EP04090361A EP04090361A EP1516544A1 EP 1516544 A1 EP1516544 A1 EP 1516544A1 EP 04090361 A EP04090361 A EP 04090361A EP 04090361 A EP04090361 A EP 04090361A EP 1516544 A1 EP1516544 A1 EP 1516544A1
Authority
EP
European Patent Office
Prior art keywords
drying
drying device
moisture
measuring
input
Prior art date
Legal status (The legal status is an assumption and is not a legal conclusion. Google has not performed a legal analysis and makes no representation as to the accuracy of the status listed.)
Granted
Application number
EP04090361A
Other languages
English (en)
French (fr)
Other versions
EP1516544B1 (de
Inventor
Dietmar Zielke
Uwe Wenck
Current Assignee (The listed assignees may be inaccurate. Google has not performed a legal analysis and makes no representation or warranty as to the accuracy of the list.)
Koerber Technologies GmbH
Original Assignee
Hauni Maschinenbau GmbH
Priority date (The priority date is an assumption and is not a legal conclusion. Google has not performed a legal analysis and makes no representation as to the accuracy of the date listed.)
Filing date
Publication date
Family has litigation
First worldwide family litigation filed litigation Critical https://patents.darts-ip.com/?family=34196151&utm_source=google_patent&utm_medium=platform_link&utm_campaign=public_patent_search&patent=EP1516544(A1) "Global patent litigation dataset” by Darts-ip is licensed under a Creative Commons Attribution 4.0 International License.
Application filed by Hauni Maschinenbau GmbH filed Critical Hauni Maschinenbau GmbH
Priority to EP04090361A priority Critical patent/EP1516544B1/de
Publication of EP1516544A1 publication Critical patent/EP1516544A1/de
Application granted granted Critical
Publication of EP1516544B1 publication Critical patent/EP1516544B1/de
Anticipated expiration legal-status Critical
Expired - Lifetime legal-status Critical Current

Links

Images

Classifications

    • AHUMAN NECESSITIES
    • A24TOBACCO; CIGARS; CIGARETTES; SIMULATED SMOKING DEVICES; SMOKERS' REQUISITES
    • A24BMANUFACTURE OR PREPARATION OF TOBACCO FOR SMOKING OR CHEWING; TOBACCO; SNUFF
    • A24B3/00Preparing tobacco in the factory
    • A24B3/04Humidifying or drying tobacco bunches or cut tobacco

Definitions

  • the invention relates to a drying plant for drying a tobacco, the one Drying device for drying the guided through the Trocknungsvonichtung Good and a measuring device for generating a measuring signal, with the input humidity of the material before its delivery to the drying device, includes.
  • the invention further relates to a corresponding drying method.
  • DE 33 36 632 C2 discloses a device for drying tobacco leaves, in the rate at which the sheets are fed, by manual change the width of a feeder is adjustable.
  • a drum evaporation apparatus in which a conveyor belt arranged in the drum is displaceable, depending on the final moisture content of the product, the conveyor belt is moved so far into the drum is that the desired product moisture is achieved.
  • the changed Dwell time of the tobacco in the dryer is the changed Dwell time of the tobacco in the dryer.
  • the displacement of the conveyor belt requires an elaborate mechanism.
  • a humidification and Sossierstrom for a tobacco stream known.
  • the plant comprises a sump station, an input moisture meter and a belt scale. From the corresponding signals, a computer determines the Dry matter of tobacco. The speed of the belt scale is controlled so that the dry matter of tobacco supplied to the sopper station is a pre-set one Value. To achieve a constant outlet humidity, humidifying nozzles are used controlled within the sossier station.
  • the object of the present invention is to provide a drying plant, in the case of simple means a reliable constant maintenance of the initial moisture is achieved.
  • the drying plant has a control device for controlling of the Gutsmassenstroms guided by the drying device in dependence of Measuring signal, wherein a variable control of Gutsmassenstroms takes place in such a way that at higher input moisture a lower Gutsmassenstrom through the drying device is guided and vice versa.
  • a variable control of Gutsmassenstroms takes place in such a way that at higher input moisture a lower Gutsmassenstrom through the drying device is guided and vice versa.
  • mass flow refers to the mass transported per unit time, for example in kg / h.
  • control device is not limited to control in the strict sense, but may also include regulation, for example, the preferred regulation in dependence an output moisture measurement signal.
  • Control device is therefore representative for "control and / or regulating device”.
  • the controller may preferably be supplied by controlling the drying device Gutsmassenstroms done. This allows the use of known evaporation devices with constant transport speed.
  • the control of the Gutsmassenstroms passed through the drying device can easily for example, by controlling an optionally provided conveyor belt respectively. This may be, for example, a feed belt of a feed unit for supplying the Gutsmasse act on the drying device. It is also possible that the control device to a transport device for transport of the material by the drying device acts, so that the supplied Gutsmassenstrom does not necessarily have to be changeable.
  • the measuring device is a moisture measuring device.
  • it may be a moisture measuring device for measuring the input moisture of the material before it is fed to the drying device.
  • this is not mandatory.
  • the load input weight increases at the same volume.
  • the Gutsausgangsfeuchte is related to the Gutseingangsfeuchte and can serve as a measured variable in the context of the invention. Other parameters such as the input density is conceivable. The measurement of a variable other than the input good moisture may require a corresponding calibration.
  • an output moisture measurement sensor for measuring the output moisture of the Guts provided after leaving the drying device. This allows one Control of the desired target size and regulation by the drying device guided Gutsmassenstroms depending on one of the Ninfeuchtemeß adopted output moisture measurement signal, thereby providing higher accuracy is achievable with respect to the desired constant initial moisture content.
  • a balance for measuring the input mass of Guts before its supply provided to the drying device.
  • This may be the setting or control facilitate the desired input bulk mass flow, but this is not absolutely necessary.
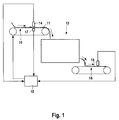
  • the tobacco product 11 to be dried is conveyed by means of a feed unit, which forms the feed belt 10, supplied in the arrow direction.
  • a feed unit which forms the feed belt 10 supplied in the arrow direction.
  • the product 11 is fed to the drying device 13.
  • the drying device 13 cause not shown heaters a heating of the by the Drying device 13 guided Good 11 to evaporation of in the estate 11th contained water and thus to cause a drying of the Guts 11.
  • the dried Good after leaving the drying device 13 by means of the further conveyor belt 18 subsequent processing stages supplied.
  • the drying device 13 of FIG. 1 may be, for example, a Electric dryer, a drum dryer, a fluidized bed dryer or another Trade the dryer familiar to the expert.
  • Figs. 2 and 3 includes the Drying device 13 an evaporation chamber 19, wherein the Good 11 means a transport device, which is designed here as a conveyor belt 12, through the evaporation chamber 19 is led.
  • the input moisture of the product 11 is determined by means of the input moisture sensor 14, and a corresponding good input moisture signal f e is transmitted to the control device 15.
  • the output moisture sensor 16 the initial moisture content f a of the product 11 is determined and a corresponding Gutsausgangsfeuchtesignal transmitted to the control device 15.
  • the input ground m e of the material 11 is determined and a corresponding Gutseingangsmassesignal transmitted to the control device 15.
  • the control device 15 controls the Gutsmassenstrom passed through the drying device 13 in response to at least one of the measured signals f e , f a , m e with the aim of keeping the Gutsausgangsfeuchte f a constant.
  • the supply device is controlled in order to regulate the material input flow fed to the drying device 13. This can be done, for example, by controlling the conveying speed of the feed belt 10, as shown in FIGS. 1 and 2.
  • m V (H 2 O) / ⁇ t denotes the mass of water evaporated per unit time in the drying device 13 and f a * the desired initial moisture (set value). If expediently the evaporation parameters, ie the evaporation temperature and the heating power are kept constant, the amount of water evaporated per unit time in the drying device 13 m V (H 2 O) / ⁇ t is approximately constant and approximately not guided by the amount or transport speed of the evaporating space Good dependent. By inserting the measured variable f e into the above formula, the mass flow m / ⁇ t to be set can then be determined by the drying device 13 by means of the above formula. The control is carried out in the examples of FIGS.
  • the scale 17 for measuring the input ground signal may be, for example to a belt weigher, for example as a unit with the feed belt 10, act.
  • Other Embodiments, for example a baffle plate scale, are possible.
  • the balance 17 and / or the input humidity sensor 14 as possible arranged close to the drying device 13 to a timely as possible control allow for changes on the route between the respective Measuring device and the drying device 13 and other comparable sources of error to have as little influence as possible.
  • the measurement, for example, of the input moisture f e is basically sufficient in order to be able to control the mass flow of material conducted by the drying device 13 as a function of the corresponding measurement signal in order to achieve a constant initial moisture content.
  • the initial moisture content f a (actual value) is determined by measurement, in order to be able to carry out a correction or an adjustment of this target variable with the desired value f a * .
  • This can be achieved, for example, by inserting a correction factor f a * / f a into the above formula.
  • the energy required for heating the tobacco energy can be compensated.
  • the input moisture f e it is also possible to use another measured variable, such as, for example, the starting moisture f a or the input earth mass m e as the basis for the control; the measurement of the input moisture is then not mandatory.
  • another measured variable such as, for example, the starting moisture f a or the input earth mass m e
  • Figs. 1 to 3 can be dispensed with a metrological determination of the Gutseingangsmasse m e .
  • the feed rate to be set can either be calculated or in particular determined by means of a stored calibration curve. It may therefore be necessary to calibrate the feed rate for different values of the corresponding measurement signal.
  • unmeasured magnitudes can be calculated, for example, or determined using stored calibration curves. For example, it may be necessary to calibrate the bulk mass flow to be conducted by the drying device 13 for different values of the corresponding measuring signal.
  • the conveyor belt speed of Conveyor belt 12 for controlling the funded by the drying device 13 Gutsmassenstroms be controlled.
  • Fig. 4 the control of the conveyed by the drying device 13 Gutsmassenstroms explained using an example.
  • Fig. 4A that of the drying apparatus 13 fed Good 11 an input humidity of 50%.
  • a dry matter mass unit a empty box
  • a water mass unit a hatched box
  • a box of a mass of 1 kg equivalent it is assumed that a box of a mass of 1 kg equivalent.
  • the evaporation temperature, the evaporation rate and other evaporation parameters the drying device 13 are set and become so kept constant, that evaporates in the drying device 13 per second 2 kg of water become. It is a property of the drying device 13 regardless of the humidity and transport speed of the drying device 13 guided good.
  • Fig. 4A that of the drying apparatus 13 fed Good 11 an input humidity of 50%.
  • a box of a mass of 1 kg equivalent it is assumed that a box of a mass of 1 kg equivalent.
  • the input mass flow of 5 kg / s doubles to 10 kg / s become.
  • This can, for example, as in the example of Fig. 4C, by doubling the Feeding speed can be achieved, as indicated by the double arrow.
  • FIG. 4C the transport speed remains through the drying device 13 unchanged from the previous state shown in FIG. 4B. Because the good Therefore, 1 s remains unchanged in the drying device 13 and thereby 2 kg of water be vaporized, the good leaves the drying device 13 with 8 kg / s and the desired humidity of 25% (see Fig. 4C).
  • FIGS. 4C, 4D and 4E Mixed forms of all kinds between the examples of FIGS. 4C, 4D and 4E are possible.
  • the estate could be carried at 8 kg / s and increased by 25% Speed are promoted by the drying device 13.
  • the embodiments in which the transport speed through the drying device 13 at any time remains constant for example, Fig. 4C, 4E), preferably compared to the embodiments for which this is not true (for example, FIG. 4D), since this requires the use of known constant-volume evaporation devices Transport speed allowed.

Landscapes

  • Drying Of Solid Materials (AREA)

Abstract

Eine Trocknungsanlage zur Trocknung eines Tabakgutes (11) umfaßt eine Trocknungsvorrichtung (13) zur Trocknung des durch die Trocknungsvorrichtung (13) geführten Gutes (11) und eine Meßeinrichtung zur Erzeugung eines Meßsignals, das mit der Eingangsfeuchte des Guts (11) vor seiner Zuführung zur Trocknungsvorrichtung (13) zusammenhängt. Die Trocknungsanlage umfaßt eine Steuerungseinrichtung (15) zur Steuerung des durch die Trocknungsvorrichtung (13) geführten Gutsmassenstroms in Abhängigkeit des Meßsignals, wobei eine variable Steuerung des Gutsmasscnstroms derart erfolgt, daß bei höherer Eingangsfeuchte ein geringerer Gutsmassenstrom durch die Trocknungsvorrichtung geführt wird und umgekehrt. Die Anmeldung betrifft weiterhin ein entsprechendes Trocknungsverfahren. <IMAGE>

Description

Die Erfindung betrifft eine Trocknungsanlage zur Trocknung eines Tabakgutes, die eine Trocknungsvorrichtung zur Trocknung des durch die Trocknungsvonichtung geführten Gutes und eine Meßeinrichtung zur Erzeugung eines Meßsignals, das mit der Eingangsfeuchte des Guts vor seiner Zuführung zur Trocknungsvorrichtung zusammenhängt, umfaßt. Die Erfindung betrifft weiterhin ein entsprechendes Trocknungsverfahren.
Bei schwankender Eingangsfeuchte eines Tabakprodukts vor der Zuführung zu der Trocknungsvorrichtung ist es zur Konstanthaltung der Ausgangsfeuchte nach Verlassen der Trocknungsvorrichtung bekannt, die Trocknungsvorrichtung so anzusteuern, daß darin mehr oder weniger Wasser verdampft wird, beispielsweise durch Regelung der Verdampfungstemperatur. Da die Energieübertragung in der Trocknungsvorrichtung relative träge ist, ist die Konstanthaltung der Ausgangsfeuchte nicht zufriedenstellend.
Es ist weiterhin bekannt, in die Trocknungsvorrichtung in Abhängigkeit der ursprünglichen Produktfeuchte Wasser zur Verdampfung zuzugeben, um bei konstanter verdampfter Wassermenge eine konstante Ausgangsfeuchtigkeit zu erreichen. Dies ist einerseits umständlich, da Einrichtungen zur geregelten Zugabe von Wasser vorgesehen sein müssen, und andererseits Energie vergeudend, da die Verdampfung des zugegebenen Wassers zusätzliche Energie erfordert.
Die DE 33 36 632 C2 offenbart eine Vorrichtung zum Trocknen von Tabakblättern, bei der die Geschwindigkeit, mit der die Blätter zugeführt werden, durch manuelle Veränderung der Breite einer Zufuhreinrichtung verstellbar ist.
Aus der EP 0 481 110 B 1 ist eine Trommel-Verdampfungsvorrichtung bekannt, bei der ein in der Trommel angeordnetes Förderband verschiebbar ist, wobei in Abhängigkeit der Endfeuchte des Produkts das Förderband so weit in die Trommel hinein verschoben wird, daß die gewünschte Produktfeuchte erreicht wird. Verändert wird hierbei die Verweildauer des Tabaks im Trockner. Die Verschiebung des Förderbandes erfordert eine aufwendige Mechanik.
Aus der GB 1 452 664 ist eine Befeuchtungs- und Sossieranlage für einen Tabakstrom bekannt. Die Anlage umfaßt eine Sossierstation, eine Eingangsfeuchtemeßeinrichtung und eine Bandwaage. Aus den entsprechenden Signalen bestimmt ein Computer die Trockenmasse des Tabaks. Die Geschwindigkeit der Bandwaage wird so gesteuert, daß die Trockenmasse des der Sossierstation zugeführten Tabaks einen voreingestellten Wert aufweist. Um eine konstante Ausgangsfeuchte zu erzielen, werden Befeuchtungsdüsen innerhalb der Sossierstation angesteuert.
Die Aufgabe der vorliegenden Erfindung besteht darin, eine Trocknungsanlage bereitzustellen, bei der mit einfachen Mitteln eine zuverlässige Konstanthaltung der Ausgangsfeuchte erzielt wird.
Die Erfindung löst diese Aufgabe mit den Merkmalen der Ansprüche 1 und 12, insbesondere dadurch, daß die Trocknungsanlage eine Steuerungseinrichtung zur Steuerung des durch die Trocknungsvorrichtung geführten Gutsmassenstroms in Abhängigkeit des Meßsignals umfaßt, wobei eine variable Steuerung des Gutsmassenstroms derart erfolgt, daß bei höherer Eingangsfeuchte ein geringerer Gutsmassenstrom durch die Trocknungsvorrichtung geführt wird und umgekehrt. Durch die Steuerung des Gutsmassenstroms ist auf einfache Weise die der Trocknungsvorrichtung zugeführte Wassermenge steuerbar. Bei höherer Eingangsfeuchte wird zur Konstanthaltung der Ausgangsfeuchte ein geringerer Gutsmassenstrom durch die Trocknungsvorrichtung geführt und umgekehrt. Dabei kann die pro Zeiteinheit verdampfte Wassermenge und insbesondere die Verdampfungstemperatur in der Trocknungsvorrichtung konstant gehalten werden. Die mit der Trägheit der Energieübertragung in der Trocknungsvorrichtung verbundenen Probleme des Standes der Technik werden erfindungsgemäß vermieden.
Der Begriff "Massenstrom" bezeichnet die pro Zeiteinheit transportierte Masse, die beispielsweise in kg/h angegeben wird.
Die Steuerungseinrichtung ist nicht auf Steuerung im engen Sinne beschränkt, sondern kann auch Regelung umfassen, beispielsweise die bevorzugte Regelung in Abhängigkeit eines Ausgangsfeuchtemeßsignals. "Steuerungseinrichtung" steht daher stellvertretend für "Steuerungs- und/oder Regelungsvorrichtung".
Die Steuerung kann vorzugsweise durch Steuerung des der Trocknungsvorrichtung zugeführten Gutsmassenstroms erfolgen. Dies erlaubt die Verwendung bekannter Verdampfungsvorrichtungen mit konstanter Transportgeschwindigkeit. Die Steuerung des durch die Trocknungsvorrichtung geführten Gutsmassenstroms kann auf einfache Weise beispielsweise durch die Steuerung eines gegebenenfalls vorgesehenen Förderbandes erfolgen. Dabei kann es sich beispielsweise um ein Zuförderband einer Zuführeinheit zum Zuführen der Gutsmasse zu der Trocknungsvorrichtung handeln. Es ist aber auch möglich, daß die Steuerungseinrichtung auf eine Transporteinrichtung zum Transport des Guts durch die Trocknungsvorrichtung einwirkt, so daß der zugeführte Gutsmassenstrom nicht zwingend veränderbar sein muß.
Vorzugsweise ist die Meßeinrichtung eine Feuchtemeßeinrichtung. Es kann sich insbesondere um eine Feuchtemeßeinrichtung zur Messung der Eingangsfeuchte des Guts vor seiner Zuführung zur Trocknungsvorrichtung handeln. Dies ist jedoch nicht zwingend erforderlich. Allgemein ist lediglich erforderlich, daß die gemessene Größe mit der Eingangsfeuchte zusammenhängt. Daher kann es sich beispielsweise auch um eine Waage zur Messung der Gutseingangsmasse handeln, da die Gutseingangsfeuchte fe wie folgt mit der Gutseingangsmasse me(Gut) zusammenhängt: fe = 1 - [me(Trockengut)/me(Gut)], wobei me(Trockengut) die Eingangsmasse des Trockenguts bezeichnet. Vereinfacht gesagt steigt mit zunehmender Feuchte das Gutseingangsgewicht bei gleichem Volumen. Beispielsweise ist näherungsweise me(Trockengut) aus der bekannten Dichte ρe des Trockenguts bei Annahme eines konstanten Volumens unabhängig von der Feuchte fe bekannt. Daher muß nicht unbedingt ein Eingangsfeuchtesensor vorgesehen sein, auch wenn dies meßtechnisch genauer und daher vorteilhaft ist.
Auch die Gutsausgangsfeuchte hängt mit der Gutseingangsfeuchte zusammen und kann als Meßgröße im Sinne der Erfindung dienen. Andere Meßgrößen wie beispielsweise die Gutseingangsdichte sind denkbar. Die Messung einer anderen Größe als der Gutseingangsfeuchte kann eine entsprechende Kalibrierung erforderlich machen.
Vorzugsweise ist ein Ausgangsfeuchtemeßsensor zur Messung der Ausgangsfeuchte des Guts nach dem Verlassen der Trocknungsvorrichtung vorgesehen. Dies erlaubt eine Kontrolle der gewünschten Zielgröße und eine Regelung des durch die Trocknungsvorrichtung geführten Gutsmassenstroms in Abhängigkeit eines von der Ausgangsfeuchtemeßeinrichtung ausgegebenen Ausgangsfeuchtemeßsignals, wodurch eine höhere Genauigkeit hinsichtlich der gewünschten konstanten Ausgangsfeuchte erzielbar ist.
Vorzugsweise ist eine Waage zur Messung der Eingangsmasse des Guts vor seiner Zuführung zur Trocknungsvorrichtung vorgesehen. Dies kann die Einstellung bzw. Steuerung des gewünschten Eingangsgutsmassenstroms erleichtern, ist jedoch hierfür nicht zwingend erforderlich.
Weitere vorteilhafte Merkmale und Ausführungsformen der Erfindung gehen aus den Unteransprüchen und der folgenden Beschreibung der Erfindung unter Bezugnahme auf die beigefügten Zeichnungen hervor. Dabei zeigen:
Fig. 1:
eine schematische Ansicht einer Trocknungsanlage;
Fig. 2:
eine schematische Ansicht einer weiteren Trocknungsanlage;
Fig. 3:
eine schematische Ansicht einer dritten Trocknungsanlage; und
Fig. 4:
eine schematische Darstellung verschiedener Trockungsvorgänge.
Das zu trocknende Tabakgut 11 wird mittels einer Zuführeinheit, die das Zuförderband 10 umfaßt, in Pfeilrichtung zugeführt. Am abschließenden Ende des Zuförderbandes wird das Gut 11 der Trocknungsvorrichtung 13 zugeführt. In der Trocknungsvorrichtung 13 bewirken nicht gezeigte Heizeinrichtungen eine Erwärmung des durch die Trocknungsvorrichtung 13 geführten Guts 11, um eine Verdampfung von in dem Gut 11 enthaltenem Wasser und somit eine Trocknung des Guts 11 zu bewirken. Das getrocknete Gut wird nach Verlassen der Trocknungsvorrichtung 13 mittels des weiteren Förderbandes 18 nachfolgenden Verarbeitungsstufen zugeführt.
Bei der Trocknungsvorrichtung 13 aus Fig. 1 kann es sich beispielsweise um einen Stromtrockner, einen Trommeltrockner, einen Wirbelschichttrockner oder einen anderen dem Fachmann geläufigen Trockner handeln. Im Fall der Fig. 2 und 3 umfaßt die Trocknungsvorrichtung 13 eine Verdampfungskammer 19, wobei das Gut 11 mittels einer Transportvorrichtung, die hier als Förderband 12 ausgebildet ist, durch die Verdampfungskammer 19 geführt wird. Bei anderen Ausführungsformen kann das Gut von einem energieübertragenden Medium, beispielsweise heißem Gas, verwirbelt und/oder transportiert werden. Separate Fördereinrichtungen in der Trocknungsvorrichtung 13 sind daher nicht zwingend erforderlich.
Mittels des Eingangsfeuchtesensors 14 wird die Eingangsfeuchte des Guts 11 bestimmt und ein entsprechendes Gutseingangsfeuchtesignal fe an die Steuerungseinrichtung 15 übermittelt. Mittels des Ausgangsfeuchtesensors 16 wird die Ausgangsfeuchte fa des Guts 11 bestimmt und ein entsprechendes Gutsausgangsfeuchtesignal an die Steuerungseinrichtung 15 übermittelt. Mittels der Waage 17 wird die Eingangsmasse me des Guts 11 bestimmt und ein entsprechendes Gutseingangsmassesignal an die Steuerungseinrichtung 15 übermittelt.
Die Steuerungseinrichtung 15 steuert den durch die Trocknungsvorrichtung 13 geführten Gutsmassenstrom in Abhängigkeit mindestens eines der Meßsignale fe, fa, me mit dem Ziel, die Gutsausgangsfeuchte fa konstant zu halten. Zu diesem Zweck wird in den in Fig. 1 und 2 gezeigten Ausführungsbeispielen die Zuführvorrichtung angesteuert, um den der Trocknungsvorrichtung 13 zugeführten Gutseingangsmassenstrom zu regeln. Dies kann beispielsweise durch Steuerung der Fördergeschwindigkeit des Zuförderbandes 10 geschehen, wie in Fig. 1 und 2 gezeigt. Der einzustellende, durch die Trocknungsvorrichtung 13 zu führende Massenstrom m/Δt läßt sich näherungsweise durch folgende Beziehung ermitteln: m/Δt = mV(H2O)/Δt·[(1 - fa *)/( fe - fa *)].
Dabei bezeichnet mV(H2O)/Δt die pro Zeiteinheit in der Trocknungsvorrichtung 13 verdampfte Wassermasse und fa * die gewünschte Ausgangsfeuchte (Sollwert). Wenn zweckmäßigerweise die Verdampfungsparameter, d.h. die Verdampfungstemperatur und die Heizleistung konstant gehalten werden, ist die pro Zeiteinheit in der Trocknungsvorrichtung 13 verdampfte Wassermenge mV(H2O)/Δt etwa konstant und näherungsweise nicht von der Menge bzw. Transportgeschwindigkeit des durch den Verdampfungsraum geführten Gutes abhängig. Durch Einsetzen der Meßgröße fe in obige Formel kann dann mittels der obigen Formel der einzustellende Massenstrom m/Δt durch die Trocknungsvorrichtung 13 ermittelt werden. Die Steuerung erfolgt in den Beispielen der Fig. 1 und 2 durch Veränderung der Zufördergeschwindigkeit des Zuförderbandes 10, bis das mittels der Waage gemessene Eingangsmassensignal me für das von der Waage erfaßte Transportintervall Δt mit dem mittels der obigen Formel bestimmten Sollwert übereinstimmt. In Fig. 1 und 2 wird daher der Massenstrom m/Δt durch die Trocknungsvorrichtung 13 durch entsprechende Veränderung des Gutseingangsmassenstroms me/Δt verändert.
Bei der Waage 17 zur Messung des Eingangsmassesignals kann es sich beispielsweise um eine Bandwaage, beispielsweise als Einheit mit dem Zuförderband 10, handeln. Andere Ausführungsformen, beispielsweise eine Prallplattenwaage, sind möglich. Vorzugsweise ist die Integrationsstrecke der Waage 17, d.h. die in dem Meßvorgang erfaßte Meßstrecke, zur Verbesserung der Genauigkeit möglichst gering. Vorzugsweise sind aus denselben Gründen die Waage 17 und/oder der Eingangsfeuchtesensor 14 möglichst dicht an der Trocknungsvorrichtung 13 angeordnet, um eine möglichst zeitnahe Steuerung zu ermöglichen bzw. damit Veränderungen auf der Strecke zwischen dem jeweiligen Meßgerät und der Trocknungsvorrichtung 13 und sonstige vergleichbare Fehlerquellen einen möglichst geringen Einfluß haben.
Die Messung beispielsweise der Eingangsfeuchte fe reicht grundsätzlich aus, um eine Steuerung des durch die Trocknungsvorrichtung 13 geführten Gutsmassenstroms in Abhängigkeit des entsprechenden Meßsignals zur Erzielung einer konstanten Ausgangsfeuchte vornehmen zu können. Vorzugsweise wird die Ausgangsfeuchte fa (Istwert) meßtechnisch ermittelt, um eine Korrektur bzw. einen Abgleich dieser Zielgröße mit der Sollgröße fa * vornehmen zu können. Dies kann beispielsweise durch Einfügung eines Korrekturfaktors fa */fa in die obige Formel erreicht werden. Hierdurch kann beispielsweise der für die Erwärmung des Tabaks erforderliche Energieverbrauch ausgeglichen werden.
Es kann anstelle der Eingangsfeuchte fe auch eine andere Meßgröße wie beispielsweise die Ausgangsfeuchte fa oder die Gutseingangsmasse me als Steuerungsgrundlage dienen; die Messung der Eingangsfeuchte ist dann nicht zwingend erforderlich.
Im Beispiel der Fig. 1 bis 3 kann auf eine meßtechnische Bestimmung der Gutseingangsmasse me auch verzichtet werden. In diesem Fall kann die einzustellende Zuführgeschwindigkeit entweder berechnet oder insbesondere mittels einer gespeicherten Kalibrierungskurve bestimmt werden. Es kann daher unter Umständen eine Kalibrierung der Zuführgeschwindigkeit für verschiedene Werte des entsprechenden Meßsignals erforderlich sein. Allgemein können nicht gemessene Größen beispielsweise berechnet oder mittels gespeicherter Kalibrierungskurven bestimmt werden. Es kann beispielsweise eine Kalibrierung des durch die Trocknungsvorrichtung 13 zu führenden Gutsmassenstroms für verschiedene Werte des entsprechenden Meßsignals erforderlich sein.
Im Ausführungsbeispiel der Fig. 3 wird die Transportgeschwindigkeit, mit der das Gut durch die Trocknungsvorrichtung 13 geführt wird, verändert. Dies geschieht beispielsweise durch Ansteuerung eines Kammerförderbandes 12, das wie in Fig. 3 gezeigt vollständig oder wie in Fig. 2 gezeigt teilweise in der Trocknungsvorrichtung 13 enthalten sein kann. Dies ist aber nicht zwingend erforderlich, die Steuerung kann auch ohne separate Fördereinrichtungen in der Trocknungsvorrichtung 13 erfolgen. Bei einer weiteren Ausführungsform kann beispielsweise in Fig. 2 die Förderbandgeschwindigkeit des Förderbandes 12 zur Steuerung des durch die Trocknungsvorrichtung 13 geförderten Gutsmassenstroms angesteuert werden.
Anstelle der drei in den Figuren 2 und 3 gezeigten Förderbänder 10, 12 und 18 kann auch ein einziges durchgehendes Förderband vorgesehen sein.
Anhand von Fig. 4 sei die Steuerung des durch die Trocknungsvorrichtung 13 geförderten Gutsmassenstroms anhand eines Beispiels erläutert. In Fig. 4A weist das der Trocknungsvorrichtung 13 zugeführte Gut 11 eine Eingangsfeuchte von 50 % auf. Dies wird zeichnerisch dadurch verdeutlicht, daß abwechselnd eine Trockengut-Masseeinheit (ein leeres Kästchen) und eine Wasser-Masseeinheit (ein schraffiertes Kästchen) gezeichnet sind. Der Einfachheit halber sei angenommen, daß ein Kästchen einer Masse von 1 kg entspricht. Die Verdampfungstemperatur, die Verdampfungsleistung und sonstige Verdampfungsparameter der Trocknungsvorrichtung 13 seien so eingestellt und werden so konstant gehalten, daß in der Trocknungsvorrichtung 13 pro Sekunde 2 kg Wasser verdampft werden. Es handelt sich dabei um eine Eigenschaft der Trocknungsvorrichtung 13 unabhängig von der Feuchte und Transportgeschwindigkeit des durch die Trocknungsvorrichtung 13 geführten Gutes. In Fig. 4A wird beispielsweise das feuchte Gut mit einem Eingangsmassenstrom von 6 kg/s zugeführt und durch die Trocknungsvorrichtung 13 geführt, wobei es sich aufgrund der eingestellten Transportgeschwindigkeit 1 s in der Trocknungsvorrichtung 13 aufhalten möge; dies führt zu einer Verdampfung von 2 kg Wasser, so daß die Ausgangsfeuchte des Gutes 25 % beträgt (1 kg Wasser auf 3 kg Trockengut, siehe Fig. 4A). Es sei angenommen, daß dies der gewünschten Ausgangsfeuchte entspricht.
Nun sei angenommen, daß sich die Eingangsfeuchte wie in Fig. 4B gezeigt aufgrund einer Eingangsfeuchteschwankung auf 40 % ändert (2 kg Wasser auf 3 kg Trockengut). Ohne weitere Maßnahmen würden dann bei ansonsten unveränderten Bedingungen 2 kg Wasser / s verdampft werden, so daß die Ausgangsfeuchte wie gezeigt etwa 0 % betragen würde. Mittels des Eingangsfeuchtesensors 14 wird eine Eingangsfeuchte fe von 40 % gemessen. Einsetzen dieses Wertes in die obige Formel mit mV(H2O)/Δt = 2 kg/s und fa* = 0.25 ergibt für den einzustellenden, durch den Verdampfungsraum zu fördernden Massenstrom m/Δt = mV(H2O)/Δt · [(1- fa *)/( fe - fa *)] = 10 kg/s. Die Steuerungseinrichtung 15 steuert daher den durch die Trocknungsvorrichtung 13 geführten Gutsmassenstrom auf 10 kg/s.
Dies kann auf unterschiedliche Weise erfolgen. Beispielsweise kann, wie in den Beispielen der Fig. 4C und 4E, der Eingangsmassenstrom von 5 kg/s auf 10 kg/s verdoppelt werden. Dies kann beispielsweise, wie im Beispiel der Fig. 4C, durch Verdoppelung der Zuführgeschwindigkeit erreicht werden, wie durch den Doppelpfeil angedeutet. Im Beispiel der Fig. 4C bleibt die Transportgeschwindigkeit durch die Trocknungsvorrichtung 13 unverändert im Vergleich zum vorigen, in Fig. 4B gezeigten Zustand. Da das Gut daher unverändert 1 s in der Trocknungsvorrichtung 13 verbleibt und dabei 2 kg Wasser verdampft werden, verläßt das Gut die Trocknungsvorrichtung 13 mit 8 kg/s und der gewünschten Feuchte von 25 % (s. Fig. 4C).
Im Beispiel der Fig. 4E bleibt die Zuführgeschwindigkeit unverändert, jedoch wird die Massenbelegung des Zuförderbandes pro Bandstrecke verdoppelt. Das Ergebnis ist dasselbe wie in Fig. 4C gezeigt.
Im Beispiel der Fig. 4D bleibt der Eingangsmassenstrom unverändert, jedoch wird die Transportgeschwindigkeit durch die Trocknungsvorrichtung 13 verdoppelt. Nun verbleibt das Gut nur noch 1/2 Sekunde in der Trocknungsvorrichtung 13; in diesem Zeitraum wird nur 1 kg Wasser in der Trocknungsvorrichtung 13 verdampft. Im Ergebnis verläßt das Gut die Trocknungsvorrichtung 13 mit 4 kg/s und der gewünschten Feuchte von 25 % (s. Fig. 4D).
Mischformen aller Art zwischen den Beispielen der Fig. 4C, 4D und 4E sind möglich. Beispielsweise könnte das Gut mit 8 kg/s zugefördert und mit einer um 25 % erhöhten Geschwindigkeit durch die Trocknungsvorrichtung 13 gefördert werden. Allerdings sind die Ausführungsformen, bei denen die Transportgeschwindigkeit durch die Trocknungsvorrichtung 13 jederzeit konstant bleibt (beispielsweise Fig. 4C, 4E), bevorzugt gegenüber den Ausführungsformen, für welche dies nicht zutrifft (beispielsweise Fig. 4D), da dies die Verwendung bekannter Verdampfungsvorrichtungen mit konstanter Transportgeschwindigkeit erlaubt.
Im Falle eines durchgehenden Förderbandes wäre eine Erhöhung der Förderbandgeschwindigkeit um den Faktor √2 (allgemein Faktor √n) zweckmäßig, um eine Verdoppelung (allgemein Erhöhung um den Faktor n) des durch die Trocknungsvorrichtung 13 geführten Gutsmassenstroms zu erzielen.
Beispielsweise anhand des Vergleichs der Fig. 4A und 4B ist ersichtlich, daß sich der Gutseingangsmassenstrom bei schwankender Eingangsfeuchte entsprechend von alleine ändert. Davon zu unterscheiden ist die aktiv gesteuerte Veränderung des Gutseingangsmassenstroms mittels der Steuerungseinrichtung 15 beispielsweise wie in Fig. 4C und 4E gezeigt.

Claims (12)

  1. Trocknungsanlage zur Trocknung eines Tabakgutes (11), die eine Trocknungsvorrichtung (13) zur Trocknung des durch die Trocknungsvorrichtung (13) geführten Gutes (11) und eine Meßeinrichtung zur Erzeugung eines Meßsignals, das mit der Eingangsfeuchte des Guts (11) vor seiner Zuführung zur Trocknungsvorrichtung (13) zusammenhängt, umfaßt, dadurch gekennzeichnet, daß die Trocknungsanlage eine Steuerungseinrichtung (15) zur Steuerung des durch die Trocknungsvorrichtung (13) geführten Gutsmassenstroms in Abhängigkeit des Meßsignals umfaßt, wobei eine variable Steuerung des Gutsmassenstroms derart erfolgt, daß bei höherer Eingangsfeuchte ein geringerer Gutsmassenstrom durch die Trocknungsvorrichtung geführt wird und umgekehrt.
  2. Trocknungsanlage nach Anspruch 1, dadurch gekennzeichnet, daß die Trocknungsanlage zur Steuerung des der Trocknungsvorrichtung (13) zugeführten Gutsmassenstroms eingerichtet ist.
  3. Trocknungsanlage nach Anspruch 1 oder 2, dadurch gekennzeichnet, daß die Trocknungsanlage zur Steuerung der Fördergeschwindigkeit eines Gutsförderbandes eingerichtet ist.
  4. Trocknungsanlage nach einem der Ansprüche 1 bis 3, dadurch gekennzeichnet, daß die Meßeinrichtung eine Feuchtemeßeinrichtung ist.
  5. Trocknungsanlage nach einem der Ansprüche 1 bis 4, dadurch gekennzeichnet, daß die Trocknungsanlage eine Feuchtemeßeinrichtung (14) zur Messung der Eingangsfeuchte des Guts (11) vor seiner Zuführung zur Trocknungsvorrichtung (13) umfaßt.
  6. Trocknungsanlage nach einem der Ansprüche 1 bis 5, dadurch gekennzeichnet, daß die Trocknungsanlage eine Waage (17) zur Messung der Eingangsmasse des Guts (11) vor seiner Zuführung zur Trocknungsvorrichtung (13) umfaßt.
  7. Trocknungsanlage nach Anspruch 6, dadurch gekennzeichnet, daß die Trocknungsanlage zur Steuerung des durch die Trocknungsvorrichtung (13) geführten Gutsmassenstroms in Abhängigkeit eines von der Waage (17) ausgegebenen Meßsignals eingerichtet ist.
  8. Trocknungsanlage nach Anspruch 6 oder 7, dadurch gekennzeichnet, daß die Waage (17) als Bandwaage ausgebildet ist.
  9. Trocknungsanlage nach einem der Ansprüche 1 bis 8, dadurch gekennzeichnet, daß die Trocknungsanlage eine Ausgangsfeuchtemeßeinrichtung (16) zur Messung der Ausgangsfeuchte des Guts (11) nach dem Verlassen der Trocknungsvorrichtung (13) umfaßt.
  10. Trocknungsanlage nach Anspruch 9, dadurch gekennzeichnet, daß die Trocknungsanlage zur Regelung des durch die Trocknungsvorrichtung (13) geführten Gutsmassenstroms in Abhängigkeit eines von der Ausgangsfeuchtemeßeinrichtung (16) ausgegebenen Meßsignals eingerichtet ist.
  11. Trocknungsanlage nach einem der Ansprüche 1 bis 10, dadurch gekennzeichnet, daß der durch die Trocknungsvorrichtung (13) geführte Gutsmassenstrom indirekt proportional zur Differenz zwischen der Eingangsfeuchte und dem Ausgangsfeuchte-Sollwert gesteuert wird.
  12. Trocknungsverfahren zur Trocknung eines Tabakgutes, umfassend das Zuführen des Gutes zu einer Trocknungsvorrichtung und das Trocknen des durch die Trocknungsvorrichtung geführten Gutes, gekennzeichnet durch die Erzeugung eines Meßsignals, das mit der Eingangsfeuchte des Guts vor seiner Zuführung zur Trocknungsvorrichtung zusammenhängt, und die variable Steuerung des der Trocknungsvorrichtung zugeführten Gutsmassenstroms in Abhängigkeit des Meßsignals derart, daß bei höherer Eingangsfeuchte ein geringerer Gutsmassenstrom durch die Trocknungsvorrichtung geführt wird und umgekehrt.
EP04090361A 2003-09-19 2004-09-17 Trocknungsanlage und -verfahren zur Trocknung eines Tabakgutes Expired - Lifetime EP1516544B1 (de)

Priority Applications (1)

Application Number Priority Date Filing Date Title
EP04090361A EP1516544B1 (de) 2003-09-19 2004-09-17 Trocknungsanlage und -verfahren zur Trocknung eines Tabakgutes

Applications Claiming Priority (3)

Application Number Priority Date Filing Date Title
EP03090308 2003-09-19
EP03090308 2003-09-19
EP04090361A EP1516544B1 (de) 2003-09-19 2004-09-17 Trocknungsanlage und -verfahren zur Trocknung eines Tabakgutes

Publications (2)

Publication Number Publication Date
EP1516544A1 true EP1516544A1 (de) 2005-03-23
EP1516544B1 EP1516544B1 (de) 2007-06-27

Family

ID=34196151

Family Applications (1)

Application Number Title Priority Date Filing Date
EP04090361A Expired - Lifetime EP1516544B1 (de) 2003-09-19 2004-09-17 Trocknungsanlage und -verfahren zur Trocknung eines Tabakgutes

Country Status (1)

Country Link
EP (1) EP1516544B1 (de)

Cited By (2)

* Cited by examiner, † Cited by third party
Publication number Priority date Publication date Assignee Title
EP1801527A3 (de) * 2005-12-23 2011-03-09 Hauni Maschinenbau AG Verfahren und Vorrichtung zum Trocknen eines Faserprodukt-Massenstroms
CN106403501A (zh) * 2016-09-28 2017-02-15 青岛科技大学 一种根据给煤量智能控制给进风量的干燥系统

Families Citing this family (2)

* Cited by examiner, † Cited by third party
Publication number Priority date Publication date Assignee Title
CN106403502B (zh) * 2016-09-28 2019-03-26 青岛科技大学 一种根据入口温度智能控制电机转速的干燥系统
CN109237916B (zh) * 2016-09-28 2019-10-29 青岛科技大学 一种开孔密度变化的智能控制干燥系统

Citations (5)

* Cited by examiner, † Cited by third party
Publication number Priority date Publication date Assignee Title
DE1206771B (de) * 1963-11-18 1965-12-09 Hauni Werke Koerber & Co Kg Verfahren und Vorrichtung zum Trocknen von Tabak oder aehnlichem Gut
US3409025A (en) * 1965-07-06 1968-11-05 Hauni Werke Koerber & Co Kg Method and apparatus for treating tobacco leaves
US3760816A (en) * 1970-04-22 1973-09-25 Hauni Werke Koerber & Co Kg Method and apparatus for conditioning tobacco
GB1452664A (en) * 1973-06-07 1976-10-13 Svenska Tobaks Ab Methods of facilitatint exact evaluation and control of the processing of a product mass and apparatuses for carrying said methods into effect
US4788989A (en) * 1984-06-21 1988-12-06 Japan Tobacco, Inc. Process for the temperature control of a drying apparatus for tobacco leaves

Patent Citations (5)

* Cited by examiner, † Cited by third party
Publication number Priority date Publication date Assignee Title
DE1206771B (de) * 1963-11-18 1965-12-09 Hauni Werke Koerber & Co Kg Verfahren und Vorrichtung zum Trocknen von Tabak oder aehnlichem Gut
US3409025A (en) * 1965-07-06 1968-11-05 Hauni Werke Koerber & Co Kg Method and apparatus for treating tobacco leaves
US3760816A (en) * 1970-04-22 1973-09-25 Hauni Werke Koerber & Co Kg Method and apparatus for conditioning tobacco
GB1452664A (en) * 1973-06-07 1976-10-13 Svenska Tobaks Ab Methods of facilitatint exact evaluation and control of the processing of a product mass and apparatuses for carrying said methods into effect
US4788989A (en) * 1984-06-21 1988-12-06 Japan Tobacco, Inc. Process for the temperature control of a drying apparatus for tobacco leaves

Cited By (2)

* Cited by examiner, † Cited by third party
Publication number Priority date Publication date Assignee Title
EP1801527A3 (de) * 2005-12-23 2011-03-09 Hauni Maschinenbau AG Verfahren und Vorrichtung zum Trocknen eines Faserprodukt-Massenstroms
CN106403501A (zh) * 2016-09-28 2017-02-15 青岛科技大学 一种根据给煤量智能控制给进风量的干燥系统

Also Published As

Publication number Publication date
EP1516544B1 (de) 2007-06-27

Similar Documents

Publication Publication Date Title
DE2904308C2 (de) Verfahren und Anordnung zum Trocknen von Tabak
DE19751525C2 (de) Verfahren und Vorrichtung zur Regelung der Ausgangsfeuchte von Tabak
DE2504902C2 (de) Verfahren und Vorrichtung zum Steuern der Schnittleistung eines Tabakschneiders
DE2019369C3 (de) Verfahren zum Trocknen von Tabak und Trocknungsförderer
DE2747232A1 (de) Verfahren und vorrichtung zur durchfuehrung von behandlungsvorgaengen fuer schuettgueter u.dgl.
EP0140213B1 (de) Verfahren und Vorrichtung zur Erfassung des Durchsatzes eines Schüttgutstromes
CH640957A5 (de) Verfahren und einrichtung zur regelung der einer karde zuzufuehrenden flockenmenge.
DE2335970C2 (de) Verfahren und Vorrichtung zum Trocknen von Tabak
DE2432848A1 (de) Verfahren und vorrichtung zum trocknen von tabak
DE1299237C2 (de) Verfahren und vorrichtung zum trocknen von tabak
DE2112211C3 (de) Verfahren und Anlage zum Aufbereiten von Tabak
DE2427229C3 (de) Verfahren zur Regelung der Behandlung einer Tabakblattmasse und Vorrichtung zum Ausüben des Verfahrens
DE1532066A1 (de) Tabakvorbereitungsanlage fuer chargenweise Durchlaufbearbeitung
DE2841470C2 (de)
EP1516544B1 (de) Trocknungsanlage und -verfahren zur Trocknung eines Tabakgutes
DE2461579C3 (de) Verfahren und Vorrichtung zur kontinuierlichen Zuführung pulverförmigen Gutes von einem Vorratsbehälter zu einem Verbraucher
DE19756367C2 (de) Fütterungsanlage für die Tierhaltung
DE1901690A1 (de) Verfahren und Vorrichtung zum Trocknen von Tabak
DE102017119069A1 (de) Verfahren zum Befüllen von Behältern mit einem Füllprodukt
DE3543358A1 (de) Verfahren und vorrichtung zum vergleichmaessigen der feuchte eines tabakstranges
DE102010009753A1 (de) Vorrichtung und Verfahren zur Dosierregelung von Schüttgut
DE1206771B (de) Verfahren und Vorrichtung zum Trocknen von Tabak oder aehnlichem Gut
EP0121599A2 (de) Verfahren und Vorrichtung zur pneumatischen Förderung von Feingut
DE10305049A1 (de) Vorrichtung zum pneumatischen Speisen mindestens einer Spinnereivorbereitungsmaschine, z.B. Karde, Reiniger
DE102005062857A1 (de) Verfahren und Vorrichtung zum Trocknen eines Faserprodukt-Massenstroms

Legal Events

Date Code Title Description
PUAI Public reference made under article 153(3) epc to a published international application that has entered the european phase

Free format text: ORIGINAL CODE: 0009012

AK Designated contracting states

Kind code of ref document: A1

Designated state(s): AT BE BG CH CY CZ DE DK EE ES FI FR GB GR HU IE IT LI LU MC NL PL PT RO SE SI SK TR

AX Request for extension of the european patent

Extension state: AL HR LT LV MK

17P Request for examination filed

Effective date: 20050922

AKX Designation fees paid

Designated state(s): AT BE BG CH CY CZ DE DK EE ES FI FR GB GR HU IE IT LI LU MC NL PL PT RO SE SI SK TR

GRAP Despatch of communication of intention to grant a patent

Free format text: ORIGINAL CODE: EPIDOSNIGR1

GRAS Grant fee paid

Free format text: ORIGINAL CODE: EPIDOSNIGR3

GRAA (expected) grant

Free format text: ORIGINAL CODE: 0009210

AK Designated contracting states

Kind code of ref document: B1

Designated state(s): AT BE BG CH CY CZ DE DK EE ES FI FR GB GR HU IE IT LI LU MC NL PL PT RO SE SI SK TR

REG Reference to a national code

Ref country code: GB

Ref legal event code: FG4D

Free format text: NOT ENGLISH

REG Reference to a national code

Ref country code: CH

Ref legal event code: EP

REG Reference to a national code

Ref country code: IE

Ref legal event code: FG4D

Free format text: LANGUAGE OF EP DOCUMENT: GERMAN

REF Corresponds to:

Ref document number: 502004004177

Country of ref document: DE

Date of ref document: 20070809

Kind code of ref document: P

PG25 Lapsed in a contracting state [announced via postgrant information from national office to epo]

Ref country code: SE

Free format text: LAPSE BECAUSE OF FAILURE TO SUBMIT A TRANSLATION OF THE DESCRIPTION OR TO PAY THE FEE WITHIN THE PRESCRIBED TIME-LIMIT

Effective date: 20070927

GBT Gb: translation of ep patent filed (gb section 77(6)(a)/1977)

Effective date: 20071004

PG25 Lapsed in a contracting state [announced via postgrant information from national office to epo]

Ref country code: PL

Free format text: LAPSE BECAUSE OF FAILURE TO SUBMIT A TRANSLATION OF THE DESCRIPTION OR TO PAY THE FEE WITHIN THE PRESCRIBED TIME-LIMIT

Effective date: 20070627

REG Reference to a national code

Ref country code: IE

Ref legal event code: FD4D

PG25 Lapsed in a contracting state [announced via postgrant information from national office to epo]

Ref country code: CZ

Free format text: LAPSE BECAUSE OF FAILURE TO SUBMIT A TRANSLATION OF THE DESCRIPTION OR TO PAY THE FEE WITHIN THE PRESCRIBED TIME-LIMIT

Effective date: 20070627

Ref country code: ES

Free format text: LAPSE BECAUSE OF FAILURE TO SUBMIT A TRANSLATION OF THE DESCRIPTION OR TO PAY THE FEE WITHIN THE PRESCRIBED TIME-LIMIT

Effective date: 20071008

Ref country code: BG

Free format text: LAPSE BECAUSE OF FAILURE TO SUBMIT A TRANSLATION OF THE DESCRIPTION OR TO PAY THE FEE WITHIN THE PRESCRIBED TIME-LIMIT

Effective date: 20070927

Ref country code: IE

Free format text: LAPSE BECAUSE OF FAILURE TO SUBMIT A TRANSLATION OF THE DESCRIPTION OR TO PAY THE FEE WITHIN THE PRESCRIBED TIME-LIMIT

Effective date: 20070627

Ref country code: SI

Free format text: LAPSE BECAUSE OF FAILURE TO SUBMIT A TRANSLATION OF THE DESCRIPTION OR TO PAY THE FEE WITHIN THE PRESCRIBED TIME-LIMIT

Effective date: 20070627

Ref country code: PT

Free format text: LAPSE BECAUSE OF FAILURE TO SUBMIT A TRANSLATION OF THE DESCRIPTION OR TO PAY THE FEE WITHIN THE PRESCRIBED TIME-LIMIT

Effective date: 20071127

EN Fr: translation not filed
PG25 Lapsed in a contracting state [announced via postgrant information from national office to epo]

Ref country code: SK

Free format text: LAPSE BECAUSE OF FAILURE TO SUBMIT A TRANSLATION OF THE DESCRIPTION OR TO PAY THE FEE WITHIN THE PRESCRIBED TIME-LIMIT

Effective date: 20070627

PLBI Opposition filed

Free format text: ORIGINAL CODE: 0009260

BERE Be: lapsed

Owner name: HAUNI MASCHINENBAU A.G.

Effective date: 20070930

PLAX Notice of opposition and request to file observation + time limit sent

Free format text: ORIGINAL CODE: EPIDOSNOBS2

26 Opposition filed

Opponent name: PHILIP MORRIS PRODUCTS S.A.

Effective date: 20080320

PG25 Lapsed in a contracting state [announced via postgrant information from national office to epo]

Ref country code: DK

Free format text: LAPSE BECAUSE OF FAILURE TO SUBMIT A TRANSLATION OF THE DESCRIPTION OR TO PAY THE FEE WITHIN THE PRESCRIBED TIME-LIMIT

Effective date: 20070627

Ref country code: GR

Free format text: LAPSE BECAUSE OF FAILURE TO SUBMIT A TRANSLATION OF THE DESCRIPTION OR TO PAY THE FEE WITHIN THE PRESCRIBED TIME-LIMIT

Effective date: 20070928

Ref country code: MC

Free format text: LAPSE BECAUSE OF NON-PAYMENT OF DUE FEES

Effective date: 20070930

PG25 Lapsed in a contracting state [announced via postgrant information from national office to epo]

Ref country code: RO

Free format text: LAPSE BECAUSE OF FAILURE TO SUBMIT A TRANSLATION OF THE DESCRIPTION OR TO PAY THE FEE WITHIN THE PRESCRIBED TIME-LIMIT

Effective date: 20070627

NLR1 Nl: opposition has been filed with the epo

Opponent name: PHILIP MORRIS PRODUCTS S.A.

PLBB Reply of patent proprietor to notice(s) of opposition received

Free format text: ORIGINAL CODE: EPIDOSNOBS3

PG25 Lapsed in a contracting state [announced via postgrant information from national office to epo]

Ref country code: FR

Free format text: LAPSE BECAUSE OF FAILURE TO SUBMIT A TRANSLATION OF THE DESCRIPTION OR TO PAY THE FEE WITHIN THE PRESCRIBED TIME-LIMIT

Effective date: 20080222

PG25 Lapsed in a contracting state [announced via postgrant information from national office to epo]

Ref country code: BE

Free format text: LAPSE BECAUSE OF NON-PAYMENT OF DUE FEES

Effective date: 20070930

PG25 Lapsed in a contracting state [announced via postgrant information from national office to epo]

Ref country code: AT

Free format text: LAPSE BECAUSE OF NON-PAYMENT OF DUE FEES

Effective date: 20070917

PGFP Annual fee paid to national office [announced via postgrant information from national office to epo]

Ref country code: IT

Payment date: 20080924

Year of fee payment: 5

Ref country code: NL

Payment date: 20080930

Year of fee payment: 5

PGFP Annual fee paid to national office [announced via postgrant information from national office to epo]

Ref country code: GB

Payment date: 20080924

Year of fee payment: 5

PG25 Lapsed in a contracting state [announced via postgrant information from national office to epo]

Ref country code: EE

Free format text: LAPSE BECAUSE OF FAILURE TO SUBMIT A TRANSLATION OF THE DESCRIPTION OR TO PAY THE FEE WITHIN THE PRESCRIBED TIME-LIMIT

Effective date: 20070627

PGFP Annual fee paid to national office [announced via postgrant information from national office to epo]

Ref country code: DE

Payment date: 20080930

Year of fee payment: 5

PG25 Lapsed in a contracting state [announced via postgrant information from national office to epo]

Ref country code: FI

Free format text: LAPSE BECAUSE OF FAILURE TO SUBMIT A TRANSLATION OF THE DESCRIPTION OR TO PAY THE FEE WITHIN THE PRESCRIBED TIME-LIMIT

Effective date: 20070627

REG Reference to a national code

Ref country code: CH

Ref legal event code: PL

PG25 Lapsed in a contracting state [announced via postgrant information from national office to epo]

Ref country code: CH

Free format text: LAPSE BECAUSE OF NON-PAYMENT OF DUE FEES

Effective date: 20070930

Ref country code: LI

Free format text: LAPSE BECAUSE OF NON-PAYMENT OF DUE FEES

Effective date: 20070930

PG25 Lapsed in a contracting state [announced via postgrant information from national office to epo]

Ref country code: CY

Free format text: LAPSE BECAUSE OF FAILURE TO SUBMIT A TRANSLATION OF THE DESCRIPTION OR TO PAY THE FEE WITHIN THE PRESCRIBED TIME-LIMIT

Effective date: 20070627

PG25 Lapsed in a contracting state [announced via postgrant information from national office to epo]

Ref country code: LU

Free format text: LAPSE BECAUSE OF NON-PAYMENT OF DUE FEES

Effective date: 20070917

PG25 Lapsed in a contracting state [announced via postgrant information from national office to epo]

Ref country code: TR

Free format text: LAPSE BECAUSE OF FAILURE TO SUBMIT A TRANSLATION OF THE DESCRIPTION OR TO PAY THE FEE WITHIN THE PRESCRIBED TIME-LIMIT

Effective date: 20070627

Ref country code: HU

Free format text: LAPSE BECAUSE OF FAILURE TO SUBMIT A TRANSLATION OF THE DESCRIPTION OR TO PAY THE FEE WITHIN THE PRESCRIBED TIME-LIMIT

Effective date: 20071228

PG25 Lapsed in a contracting state [announced via postgrant information from national office to epo]

Ref country code: LI

Free format text: LAPSE BECAUSE OF NON-PAYMENT OF DUE FEES

Effective date: 20080930

Ref country code: CH

Free format text: LAPSE BECAUSE OF NON-PAYMENT OF DUE FEES

Effective date: 20080930

GBPC Gb: european patent ceased through non-payment of renewal fee

Effective date: 20090917

REG Reference to a national code

Ref country code: NL

Ref legal event code: V1

Effective date: 20100401

PG25 Lapsed in a contracting state [announced via postgrant information from national office to epo]

Ref country code: DE

Free format text: LAPSE BECAUSE OF NON-PAYMENT OF DUE FEES

Effective date: 20100401

PG25 Lapsed in a contracting state [announced via postgrant information from national office to epo]

Ref country code: NL

Free format text: LAPSE BECAUSE OF NON-PAYMENT OF DUE FEES

Effective date: 20100401

PG25 Lapsed in a contracting state [announced via postgrant information from national office to epo]

Ref country code: GB

Free format text: LAPSE BECAUSE OF NON-PAYMENT OF DUE FEES

Effective date: 20090917

PG25 Lapsed in a contracting state [announced via postgrant information from national office to epo]

Ref country code: IT

Free format text: LAPSE BECAUSE OF NON-PAYMENT OF DUE FEES

Effective date: 20090917

PLBD Termination of opposition procedure: decision despatched

Free format text: ORIGINAL CODE: EPIDOSNOPC1

PLBM Termination of opposition procedure: date of legal effect published

Free format text: ORIGINAL CODE: 0009276

STAA Information on the status of an ep patent application or granted ep patent

Free format text: STATUS: OPPOSITION PROCEDURE CLOSED

27C Opposition proceedings terminated

Effective date: 20110527