EP1510496B1 - Übersetzungsvorrichtung für das Übersetzen von Personen und/oder Lasten von Schiffen auf eine Offshore-Plattform - Google Patents
Übersetzungsvorrichtung für das Übersetzen von Personen und/oder Lasten von Schiffen auf eine Offshore-Plattform Download PDFInfo
- Publication number
- EP1510496B1 EP1510496B1 EP03026389A EP03026389A EP1510496B1 EP 1510496 B1 EP1510496 B1 EP 1510496B1 EP 03026389 A EP03026389 A EP 03026389A EP 03026389 A EP03026389 A EP 03026389A EP 1510496 B1 EP1510496 B1 EP 1510496B1
- Authority
- EP
- European Patent Office
- Prior art keywords
- crane jib
- transfer device
- pivoting
- offshore platform
- crane
- Prior art date
- Legal status (The legal status is an assumption and is not a legal conclusion. Google has not performed a legal analysis and makes no representation as to the accuracy of the status listed.)
- Expired - Lifetime
Links
Images
Classifications
-
- B—PERFORMING OPERATIONS; TRANSPORTING
- B63—SHIPS OR OTHER WATERBORNE VESSELS; RELATED EQUIPMENT
- B63B—SHIPS OR OTHER WATERBORNE VESSELS; EQUIPMENT FOR SHIPPING
- B63B27/00—Arrangement of ship-based loading or unloading equipment for cargo or passengers
- B63B27/10—Arrangement of ship-based loading or unloading equipment for cargo or passengers of cranes
Definitions
- the invention relates to a transmission device for translating persons and / or loads of ships to an offshore platform.
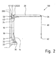
- the first bearing 41 is connected to the guide rod 18, which is arranged parallel to the first crane jib member 10.
- the third pivot bearing 43 serves as a stop point for a further adjusting element 24, which in turn is a hydraulic cylinder in the illustrated embodiment of the invention.
- the second crane boom element 20 can be supported and raised or lowered with the following assemblies relative to the first crane boom element 10.
- the connecting strut on the three-point link element 40 between the bearings 41 and 42 thus always retains the same inclination as the stationary base member 30;
- this connecting strut not only is there a parallel displacement of this connecting strut, but also a purely translatory movement of the three-point linkage element 40 in total, that is, the relative orientation of all bearings 41, 42 and 43 to the second crane jib member 20 does not change upon movement of the first crane jib member 10; the three-point link element 40 does not perform any rotational movement.
Landscapes
- Chemical & Material Sciences (AREA)
- Engineering & Computer Science (AREA)
- Combustion & Propulsion (AREA)
- Mechanical Engineering (AREA)
- Ocean & Marine Engineering (AREA)
- Jib Cranes (AREA)
- Ship Loading And Unloading (AREA)
- Types And Forms Of Lifts (AREA)
- Pallets (AREA)
- Manipulator (AREA)
Priority Applications (1)
| Application Number | Priority Date | Filing Date | Title |
|---|---|---|---|
| SI200330440T SI1510496T1 (sl) | 2003-08-29 | 2003-11-18 | Prekladalna naprava za prestavljanje oseb in/ali tovora z ladje na priobalno ploscad |
Applications Claiming Priority (2)
| Application Number | Priority Date | Filing Date | Title |
|---|---|---|---|
| DE20313550U DE20313550U1 (de) | 2003-08-29 | 2003-08-29 | Übersetzvorrichtung für das Übersetzen von Personen und/oder Lasten von Schiffen auf eine Offshore-Plattform |
| DE20313550U | 2003-08-29 |
Publications (2)
| Publication Number | Publication Date |
|---|---|
| EP1510496A1 EP1510496A1 (de) | 2005-03-02 |
| EP1510496B1 true EP1510496B1 (de) | 2006-07-12 |
Family
ID=32103561
Family Applications (1)
| Application Number | Title | Priority Date | Filing Date |
|---|---|---|---|
| EP03026389A Expired - Lifetime EP1510496B1 (de) | 2003-08-29 | 2003-11-18 | Übersetzungsvorrichtung für das Übersetzen von Personen und/oder Lasten von Schiffen auf eine Offshore-Plattform |
Country Status (8)
| Country | Link |
|---|---|
| EP (1) | EP1510496B1 (pt) |
| AT (1) | ATE332869T1 (pt) |
| CY (1) | CY1106173T1 (pt) |
| DE (2) | DE20313550U1 (pt) |
| DK (1) | DK1510496T3 (pt) |
| ES (1) | ES2268258T3 (pt) |
| PT (1) | PT1510496E (pt) |
| SI (1) | SI1510496T1 (pt) |
Families Citing this family (4)
| Publication number | Priority date | Publication date | Assignee | Title |
|---|---|---|---|---|
| DE102004026992B4 (de) * | 2004-06-03 | 2007-12-06 | Hmb Hydraulik & Maschinenbau Buxtehude Gmbh | System zum Heben von Lasten |
| NL1035627C2 (nl) * | 2008-06-25 | 2009-12-30 | 2Me Special Engineering B V | Opvouwbare hijskraan. |
| EP2531400B1 (en) * | 2010-02-02 | 2014-01-08 | XEMC Darwind B.V. | A method of transferring a load between a vessel and a wind turbine |
| NL2009740C2 (en) | 2012-11-01 | 2014-05-06 | Ihc Holland Ie Bv | Device for and method of transferring personnel, equipment and/or structural elements from a surface vessel to an offshore structure. |
Family Cites Families (4)
| Publication number | Priority date | Publication date | Assignee | Title |
|---|---|---|---|---|
| US4112863A (en) * | 1977-08-31 | 1978-09-12 | Nelson Christian E | Barge-supported crane with hydraulically actuated ram corner lift means |
| NL8301580A (nl) * | 1983-05-04 | 1984-12-03 | Seumeren Agenturen B V Van | Hefwerktuig. |
| US4846357A (en) * | 1987-06-15 | 1989-07-11 | Paxton-Mitchell Company | Offshore station articulated boom maintenance unit |
| DE10021163B4 (de) * | 2000-04-29 | 2006-03-02 | Aerodyn Engineering Gmbh | Wasserfahrzeug zum Versorgen einer Offshore-Windenergieanlage |
-
2003
- 2003-08-29 DE DE20313550U patent/DE20313550U1/de not_active Expired - Lifetime
- 2003-11-18 SI SI200330440T patent/SI1510496T1/sl unknown
- 2003-11-18 EP EP03026389A patent/EP1510496B1/de not_active Expired - Lifetime
- 2003-11-18 PT PT03026389T patent/PT1510496E/pt unknown
- 2003-11-18 DE DE50304236T patent/DE50304236D1/de not_active Expired - Fee Related
- 2003-11-18 DK DK03026389T patent/DK1510496T3/da active
- 2003-11-18 ES ES03026389T patent/ES2268258T3/es not_active Expired - Lifetime
- 2003-11-18 AT AT03026389T patent/ATE332869T1/de not_active IP Right Cessation
-
2006
- 2006-09-27 CY CY20061101398T patent/CY1106173T1/el unknown
Also Published As
| Publication number | Publication date |
|---|---|
| ATE332869T1 (de) | 2006-08-15 |
| PT1510496E (pt) | 2006-11-30 |
| DE20313550U1 (de) | 2004-04-08 |
| CY1106173T1 (el) | 2011-06-08 |
| DK1510496T3 (da) | 2006-10-30 |
| ES2268258T3 (es) | 2007-03-16 |
| EP1510496A1 (de) | 2005-03-02 |
| DE50304236D1 (de) | 2006-08-24 |
| SI1510496T1 (sl) | 2006-12-31 |
Similar Documents
| Publication | Publication Date | Title |
|---|---|---|
| NL2017937B1 (en) | A wave-induced motion compensating crane for use on an offshore vessel, vessel and load transferring method | |
| EP1108110A2 (de) | Bohrvorrichtung und verfahren zum abteufen einer bohrung | |
| DE69902762T2 (de) | Riser-spannanordnung | |
| EP2438294B1 (de) | Verfahren und vorrichtung zur installation eines gezeitenkraftwerks | |
| DE2336964A1 (de) | Kippbare uebergangsbruecke fuer fahrzeuge | |
| WO2010049069A2 (de) | Verfahren zum transport eines rotorblatts einer windenergieanlage und transportvorrichtung zur durchführung des verfahrens | |
| EP2539219A1 (de) | Vorrichtung zum transport und installieren von eine flachgründung umfassende anordnung einer offshore-windenergieanlage sowie verfahren zum transport und zur installation einer solchen anordnung mit flachgründung | |
| WO2007121904A1 (de) | Besegelung des rotors einer windkraftanlage | |
| DE60208229T2 (de) | Verfahren und vorrichtung zum anheben von offshore-anlagentragkonstruktionen | |
| EP3132137B1 (de) | Mobile kranvorrichtung sowie verfahren zur temporären montage einer solchen kranvorrichtung | |
| DE2746486A1 (de) | Verbesserungen zu einrichtungen zur verbindung von tankschiffen an seebohrungssaeulen o.dgl. | |
| DE102011051469B3 (de) | Wasserfahrzeug sowie Vorrichtung für ein Wasserfahrzeug und Verfahren zum Übersetzen von Personen und/oder Gegenständen zwischen dem Wasserfahrzeug und einem festen Bauwerk | |
| EP0120015A1 (de) | Verladeeinrichtung für gegenüber einem wasserspiegel relativ bewegliche lasten | |
| EP1510496B1 (de) | Übersetzungsvorrichtung für das Übersetzen von Personen und/oder Lasten von Schiffen auf eine Offshore-Plattform | |
| DE102012010644A1 (de) | Offshorekran | |
| WO2006005705A1 (de) | Offshore-windturbinenhebvorrichtung für wasserfahrzeug | |
| EP3770056A1 (de) | Errichterschiffskran | |
| EP2331395B1 (de) | Hubsystem | |
| EP2383219B1 (de) | Verfahren zum Bereitstellen einer Hebevorrichtung auf einer Plattform | |
| DE102018105545B4 (de) | Bootsfahrstuhl | |
| DE102008020965A1 (de) | Vorrichtung und Verfahren für die Montage und den Service von Unterwasserkraftwerken | |
| EP1565619B1 (de) | Vorrichtung zum anlegen eines wasserfahrzeuges an einem wasserbauwerk | |
| DE102021111680B4 (de) | Off-shore-windenergieanlagen-aufbau-schiff sowie off-shorewindenergieanlagen- aufbau-verfahren | |
| EP1384883B1 (de) | Transporteinrichtung für Gondeleinheiten von Offshore-Windturbinen und zugehöriges Verfahren | |
| EP2396537A2 (de) | Vorrichtung und verfahren zur herstellung von offshore-windenergieanlagen |
Legal Events
| Date | Code | Title | Description |
|---|---|---|---|
| PUAI | Public reference made under article 153(3) epc to a published international application that has entered the european phase |
Free format text: ORIGINAL CODE: 0009012 |
|
| AK | Designated contracting states |
Kind code of ref document: A1 Designated state(s): AT BE BG CH CY CZ DE DK EE ES FI FR GB GR HU IE IT LI LU MC NL PT RO SE SI SK TR |
|
| AX | Request for extension of the european patent |
Extension state: AL LT LV MK |
|
| 17P | Request for examination filed |
Effective date: 20050829 |
|
| AKX | Designation fees paid |
Designated state(s): AT BE BG CH CY CZ DE DK EE ES FI FR GB GR HU IE IT LI LU MC NL PT RO SE SI SK TR |
|
| GRAP | Despatch of communication of intention to grant a patent |
Free format text: ORIGINAL CODE: EPIDOSNIGR1 |
|
| GRAC | Information related to communication of intention to grant a patent modified |
Free format text: ORIGINAL CODE: EPIDOSCIGR1 |
|
| GRAS | Grant fee paid |
Free format text: ORIGINAL CODE: EPIDOSNIGR3 |
|
| GRAA | (expected) grant |
Free format text: ORIGINAL CODE: 0009210 |
|
| AK | Designated contracting states |
Kind code of ref document: B1 Designated state(s): AT BE BG CH CY CZ DE DK EE ES FI FR GB GR HU IE IT LI LU MC NL PT RO SE SI SK TR |
|
| PG25 | Lapsed in a contracting state [announced via postgrant information from national office to epo] |
Ref country code: IT Free format text: LAPSE BECAUSE OF FAILURE TO SUBMIT A TRANSLATION OF THE DESCRIPTION OR TO PAY THE FEE WITHIN THE PRESCRIBED TIME-LIMIT;WARNING: LAPSES OF ITALIAN PATENTS WITH EFFECTIVE DATE BEFORE 2007 MAY HAVE OCCURRED AT ANY TIME BEFORE 2007. THE CORRECT EFFECTIVE DATE MAY BE DIFFERENT FROM THE ONE RECORDED. Effective date: 20060712 Ref country code: RO Free format text: LAPSE BECAUSE OF FAILURE TO SUBMIT A TRANSLATION OF THE DESCRIPTION OR TO PAY THE FEE WITHIN THE PRESCRIBED TIME-LIMIT Effective date: 20060712 Ref country code: SK Free format text: LAPSE BECAUSE OF FAILURE TO SUBMIT A TRANSLATION OF THE DESCRIPTION OR TO PAY THE FEE WITHIN THE PRESCRIBED TIME-LIMIT Effective date: 20060712 Ref country code: CZ Free format text: LAPSE BECAUSE OF FAILURE TO SUBMIT A TRANSLATION OF THE DESCRIPTION OR TO PAY THE FEE WITHIN THE PRESCRIBED TIME-LIMIT Effective date: 20060712 |
|
| REG | Reference to a national code |
Ref country code: GB Ref legal event code: FG4D Free format text: NOT ENGLISH |
|
| REG | Reference to a national code |
Ref country code: CH Ref legal event code: EP |
|
| GBT | Gb: translation of ep patent filed (gb section 77(6)(a)/1977) |
Effective date: 20060712 |
|
| REG | Reference to a national code |
Ref country code: IE Ref legal event code: FG4D Free format text: LANGUAGE OF EP DOCUMENT: GERMAN |
|
| REF | Corresponds to: |
Ref document number: 50304236 Country of ref document: DE Date of ref document: 20060824 Kind code of ref document: P |
|
| PG25 | Lapsed in a contracting state [announced via postgrant information from national office to epo] |
Ref country code: BG Free format text: LAPSE BECAUSE OF FAILURE TO SUBMIT A TRANSLATION OF THE DESCRIPTION OR TO PAY THE FEE WITHIN THE PRESCRIBED TIME-LIMIT Effective date: 20061012 |
|
| REG | Reference to a national code |
Ref country code: SE Ref legal event code: TRGR |
|
| REG | Reference to a national code |
Ref country code: DK Ref legal event code: T3 |
|
| REG | Reference to a national code |
Ref country code: GR Ref legal event code: EP Ref document number: 20060403232 Country of ref document: GR |
|
| REG | Reference to a national code |
Ref country code: PT Ref legal event code: SC4A Free format text: AVAILABILITY OF NATIONAL TRANSLATION Effective date: 20061004 |
|
| REG | Reference to a national code |
Ref country code: EE Ref legal event code: FG4A Ref document number: E000657 Country of ref document: EE Effective date: 20061012 |
|
| ET | Fr: translation filed | ||
| REG | Reference to a national code |
Ref country code: ES Ref legal event code: FG2A Ref document number: 2268258 Country of ref document: ES Kind code of ref document: T3 |
|
| PLBE | No opposition filed within time limit |
Free format text: ORIGINAL CODE: 0009261 |
|
| STAA | Information on the status of an ep patent application or granted ep patent |
Free format text: STATUS: NO OPPOSITION FILED WITHIN TIME LIMIT |
|
| 26N | No opposition filed |
Effective date: 20070413 |
|
| PG25 | Lapsed in a contracting state [announced via postgrant information from national office to epo] |
Ref country code: AT Free format text: LAPSE BECAUSE OF NON-PAYMENT OF DUE FEES Effective date: 20061118 |
|
| PG25 | Lapsed in a contracting state [announced via postgrant information from national office to epo] |
Ref country code: LI Free format text: LAPSE BECAUSE OF NON-PAYMENT OF DUE FEES Effective date: 20071130 Ref country code: LU Free format text: LAPSE BECAUSE OF NON-PAYMENT OF DUE FEES Effective date: 20061118 Ref country code: CH Free format text: LAPSE BECAUSE OF NON-PAYMENT OF DUE FEES Effective date: 20071130 Ref country code: HU Free format text: LAPSE BECAUSE OF FAILURE TO SUBMIT A TRANSLATION OF THE DESCRIPTION OR TO PAY THE FEE WITHIN THE PRESCRIBED TIME-LIMIT Effective date: 20070113 |
|
| REG | Reference to a national code |
Ref country code: CH Ref legal event code: PL |
|
| PGFP | Annual fee paid to national office [announced via postgrant information from national office to epo] |
Ref country code: DE Payment date: 20081121 Year of fee payment: 6 Ref country code: DK Payment date: 20081118 Year of fee payment: 6 Ref country code: EE Payment date: 20081113 Year of fee payment: 6 Ref country code: IE Payment date: 20081124 Year of fee payment: 6 Ref country code: MC Payment date: 20081113 Year of fee payment: 6 Ref country code: NL Payment date: 20081113 Year of fee payment: 6 |
|
| PGFP | Annual fee paid to national office [announced via postgrant information from national office to epo] |
Ref country code: ES Payment date: 20081121 Year of fee payment: 6 Ref country code: FI Payment date: 20081114 Year of fee payment: 6 Ref country code: PT Payment date: 20081104 Year of fee payment: 6 |
|
| PGFP | Annual fee paid to national office [announced via postgrant information from national office to epo] |
Ref country code: IT Payment date: 20081120 Year of fee payment: 6 Ref country code: SE Payment date: 20081114 Year of fee payment: 6 Ref country code: CY Payment date: 20081107 Year of fee payment: 6 |
|
| PGFP | Annual fee paid to national office [announced via postgrant information from national office to epo] |
Ref country code: FR Payment date: 20081113 Year of fee payment: 6 |
|
| PGFP | Annual fee paid to national office [announced via postgrant information from national office to epo] |
Ref country code: GB Payment date: 20081117 Year of fee payment: 6 Ref country code: GR Payment date: 20081127 Year of fee payment: 6 Ref country code: SI Payment date: 20081117 Year of fee payment: 6 |
|
| PGFP | Annual fee paid to national office [announced via postgrant information from national office to epo] |
Ref country code: BE Payment date: 20090126 Year of fee payment: 6 |
|
| REG | Reference to a national code |
Ref country code: PT Ref legal event code: MM4A Free format text: LAPSE DUE TO NON-PAYMENT OF FEES Effective date: 20100518 |
|
| BERE | Be: lapsed |
Owner name: B. *TEUPEN MASCHINENBAU G.M.B.H. Effective date: 20091130 |
|
| REG | Reference to a national code |
Ref country code: NL Ref legal event code: V1 Effective date: 20100601 |
|
| EUG | Se: european patent has lapsed | ||
| PG25 | Lapsed in a contracting state [announced via postgrant information from national office to epo] |
Ref country code: MC Free format text: LAPSE BECAUSE OF NON-PAYMENT OF DUE FEES Effective date: 20091130 |
|
| REG | Reference to a national code |
Ref country code: DK Ref legal event code: EBP |
|
| GBPC | Gb: european patent ceased through non-payment of renewal fee |
Effective date: 20091118 |
|
| PG25 | Lapsed in a contracting state [announced via postgrant information from national office to epo] |
Ref country code: EE Free format text: LAPSE BECAUSE OF NON-PAYMENT OF DUE FEES Effective date: 20091130 Ref country code: PT Free format text: LAPSE BECAUSE OF NON-PAYMENT OF DUE FEES Effective date: 20100518 |
|
| REG | Reference to a national code |
Ref country code: EE Ref legal event code: MM4A Ref document number: E000657 Country of ref document: EE Effective date: 20091130 |
|
| REG | Reference to a national code |
Ref country code: FR Ref legal event code: ST Effective date: 20100730 |
|
| PG25 | Lapsed in a contracting state [announced via postgrant information from national office to epo] |
Ref country code: FI Free format text: LAPSE BECAUSE OF NON-PAYMENT OF DUE FEES Effective date: 20091118 |
|
| REG | Reference to a national code |
Ref country code: SI Ref legal event code: KO00 Effective date: 20100824 |
|
| PG25 | Lapsed in a contracting state [announced via postgrant information from national office to epo] |
Ref country code: NL Free format text: LAPSE BECAUSE OF NON-PAYMENT OF DUE FEES Effective date: 20100601 Ref country code: FR Free format text: LAPSE BECAUSE OF NON-PAYMENT OF DUE FEES Effective date: 20091130 Ref country code: IE Free format text: LAPSE BECAUSE OF NON-PAYMENT OF DUE FEES Effective date: 20091118 Ref country code: GR Free format text: LAPSE BECAUSE OF NON-PAYMENT OF DUE FEES Effective date: 20100602 Ref country code: BE Free format text: LAPSE BECAUSE OF NON-PAYMENT OF DUE FEES Effective date: 20091130 Ref country code: CY Free format text: LAPSE BECAUSE OF NON-PAYMENT OF DUE FEES Effective date: 20091118 |
|
| PG25 | Lapsed in a contracting state [announced via postgrant information from national office to epo] |
Ref country code: DE Free format text: LAPSE BECAUSE OF NON-PAYMENT OF DUE FEES Effective date: 20100601 Ref country code: SI Free format text: LAPSE BECAUSE OF NON-PAYMENT OF DUE FEES Effective date: 20091119 |
|
| PG25 | Lapsed in a contracting state [announced via postgrant information from national office to epo] |
Ref country code: GB Free format text: LAPSE BECAUSE OF NON-PAYMENT OF DUE FEES Effective date: 20091118 |
|
| PG25 | Lapsed in a contracting state [announced via postgrant information from national office to epo] |
Ref country code: DK Free format text: LAPSE BECAUSE OF NON-PAYMENT OF DUE FEES Effective date: 20091130 |
|
| REG | Reference to a national code |
Ref country code: ES Ref legal event code: FD2A Effective date: 20110329 |
|
| PG25 | Lapsed in a contracting state [announced via postgrant information from national office to epo] |
Ref country code: IT Free format text: LAPSE BECAUSE OF NON-PAYMENT OF DUE FEES Effective date: 20091118 |
|
| PG25 | Lapsed in a contracting state [announced via postgrant information from national office to epo] |
Ref country code: SE Free format text: LAPSE BECAUSE OF NON-PAYMENT OF DUE FEES Effective date: 20091119 |
|
| PG25 | Lapsed in a contracting state [announced via postgrant information from national office to epo] |
Ref country code: ES Free format text: LAPSE BECAUSE OF NON-PAYMENT OF DUE FEES Effective date: 20110316 |
|
| PG25 | Lapsed in a contracting state [announced via postgrant information from national office to epo] |
Ref country code: ES Free format text: LAPSE BECAUSE OF NON-PAYMENT OF DUE FEES Effective date: 20091119 Ref country code: TR Free format text: LAPSE BECAUSE OF NON-PAYMENT OF DUE FEES Effective date: 20110727 |
|
| PGFP | Annual fee paid to national office [announced via postgrant information from national office to epo] |
Ref country code: TR Payment date: 20081024 Year of fee payment: 6 |
|
| PG25 | Lapsed in a contracting state [announced via postgrant information from national office to epo] |
Ref country code: TR Free format text: LAPSE BECAUSE OF NON-PAYMENT OF DUE FEES Effective date: 20091118 |