EP1422147A2 - Zusammenklappbare Faltschachtel zum Transport von Erzeugnisse - Google Patents
Zusammenklappbare Faltschachtel zum Transport von Erzeugnisse Download PDFInfo
- Publication number
- EP1422147A2 EP1422147A2 EP03380247A EP03380247A EP1422147A2 EP 1422147 A2 EP1422147 A2 EP 1422147A2 EP 03380247 A EP03380247 A EP 03380247A EP 03380247 A EP03380247 A EP 03380247A EP 1422147 A2 EP1422147 A2 EP 1422147A2
- Authority
- EP
- European Patent Office
- Prior art keywords
- tray
- headers
- sides
- folding lines
- tray according
- Prior art date
- Legal status (The legal status is an assumption and is not a legal conclusion. Google has not performed a legal analysis and makes no representation as to the accuracy of the status listed.)
- Withdrawn
Links
- 230000002787 reinforcement Effects 0.000 claims description 18
- 230000037431 insertion Effects 0.000 claims 1
- 238000003780 insertion Methods 0.000 claims 1
- 235000013399 edible fruits Nutrition 0.000 description 1
- 230000004048 modification Effects 0.000 description 1
- 238000012986 modification Methods 0.000 description 1
Images
Classifications
-
- B—PERFORMING OPERATIONS; TRANSPORTING
- B65—CONVEYING; PACKING; STORING; HANDLING THIN OR FILAMENTARY MATERIAL
- B65D—CONTAINERS FOR STORAGE OR TRANSPORT OF ARTICLES OR MATERIALS, e.g. BAGS, BARRELS, BOTTLES, BOXES, CANS, CARTONS, CRATES, DRUMS, JARS, TANKS, HOPPERS, FORWARDING CONTAINERS; ACCESSORIES, CLOSURES, OR FITTINGS THEREFOR; PACKAGING ELEMENTS; PACKAGES
- B65D5/00—Rigid or semi-rigid containers of polygonal cross-section, e.g. boxes, cartons or trays, formed by folding or erecting one or more blanks made of paper
- B65D5/001—Rigid or semi-rigid containers of polygonal cross-section, e.g. boxes, cartons or trays, formed by folding or erecting one or more blanks made of paper stackable
- B65D5/0015—Rigid or semi-rigid containers of polygonal cross-section, e.g. boxes, cartons or trays, formed by folding or erecting one or more blanks made of paper stackable the container being formed by folding up portions connected to a central panel
- B65D5/0045—Rigid or semi-rigid containers of polygonal cross-section, e.g. boxes, cartons or trays, formed by folding or erecting one or more blanks made of paper stackable the container being formed by folding up portions connected to a central panel having both integral corner posts and ledges
-
- Y—GENERAL TAGGING OF NEW TECHNOLOGICAL DEVELOPMENTS; GENERAL TAGGING OF CROSS-SECTIONAL TECHNOLOGIES SPANNING OVER SEVERAL SECTIONS OF THE IPC; TECHNICAL SUBJECTS COVERED BY FORMER USPC CROSS-REFERENCE ART COLLECTIONS [XRACs] AND DIGESTS
- Y10—TECHNICAL SUBJECTS COVERED BY FORMER USPC
- Y10S—TECHNICAL SUBJECTS COVERED BY FORMER USPC CROSS-REFERENCE ART COLLECTIONS [XRACs] AND DIGESTS
- Y10S229/00—Envelopes, wrappers, and paperboard boxes
- Y10S229/915—Stacking feature
- Y10S229/918—Corner construction
Definitions
- This invention refers to a tray for the transportation of products, which is extremely resistant and can be transported with a substantially flat configuration.
- Cardboard trays for the transportation of products, such as fruit, are formed by a sheet equipped with a series of folding lines, which define the bottom of the tray, the headers and the sides.
- trays that they must be extremely resistant so as to tolerate the transportation and bear a great capacity. Therefore, some of the trays that are currently known comprise a top flap over each header, which extends horizontally towards the inner area of the tray.
- the tray described in this utility model entails the inconvenience that its resistance is not appropriate. Thanks to the presence of the top flaps, the headers are very resistant, but the presence of inclined folding lines on the sides makes it less resistant.
- the tray for the transportation of products of the invention manages to solve the aforementioned inconveniences, and presents other advantages that will be described hereunder.
- the tray for the transportation of products of the invention is formed by a sheet provided with a series of folding lines that define:
- the tray of the invention is very resistant and, at the same time, can be transported in a substantially flat position, thus taking up very little space.
- each header and top flap comprise two inclined folding lines, that extend from the bottom corners of the header substantially to the centre of the top part of the same.
- each top flap comprises a couple of side flaps that are attached to the outer part of the sides, thus avoiding that the side becomes detached if subjected to excessive tensile force. Furthermore, it allows a reduced internal thickness between the columns and the sides, which facilitates the folding of the tray for its transportation.
- each top flap comprises a couple of additional folding lines that extend from the corners in contact with the headers towards the inner area of the tray, in the assembly position.
- each column could present an orifice on the top flaps through which an reinforcement element could be inserted in said columns.
- each orifice can comprise an articulated tongue, which is accommodated inside the column after inserting said reinforcement element. Thanks to this tongue, the inner side of the orifice which the tongue is articulated to, becomes much more resistant.
- said columns are triangular and the side defined by the hypotenuse of said triangle comprises a vertical folding line.
- said reinforcement element is a triangular plaque or prism formed by a laminar element.
- said sides In order for said sides to also have the appropriate resistance, said sides have a double thickness.
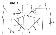
- the tray of the invention is formed by a sheet, preferably made of cardboard, that comprises a plurality of folding lines which, once assembled, define a bottom 1, a couple of sides 2, a couple of headers 3, a triangular column 4 on each corner of the tray, and a top flap 6 on each header, each said top flap 6 extends horizontally towards the inner area of the tray.
- the represented tray also comprises a side flap 8 on each side of the top flaps 6 and orifices 10 located on the top flaps 6 in correspondence with columns 4.
- the width of the side flaps 8 is substantially wider than the width of the top flaps 6.
- the side of the columns defined by the hypotenuse of said triangle comprises a vertical folding line 5 that allows the folding of the tray once assembled, together with the folding lines described hereunder. If the columns 4 are not triangular, there must be a vertical folding line that enables the folding of the tray.
- Headers 2 also comprise inclined folding lines 7, 9 to enable the folding of the tray once assembled.
- the tray, once assembled and folded, has a substantially flat configuration (represented in figure 6) that is ideal for its transportation when empty, taking up very little room.
- column 4 is formed on the headers 2. However, if so desired, the columns 4 could evidently also be formed on the sides 3.
- Figure 4 includes the representation of an reinforcement element with a plaque shape 11 and, in this case, the orifice 10 is shaped like a slot.
- the reinforcement element could be shaped like a triangular prism, which is inserted in column 4 through a triangular orifice 10.
- said triangular prism is formed by a laminar element, that can be transported unfolded taking up very little room.
- the orifice 10 can comprise an articulated tongue 13 that is accommodated inside the column when the reinforcement element 12 is inserted. Although this is not essential, the presence of the tongue 13 is designed for use with triangular orifices 10.
- each header 2 and its corresponding top flap 6 comprise two inclined folding lines 7 that extend from each bottom corner of the header 2 substantially to the top centre of the top flap 6, as can be appreciated in the figures.
- each top flap 6 also comprises a couple of additional inclined folding lines 9 that extend from the corners in contact with the headers 2 to the inner area of the tray, in the assembly position.
- the tray of the invention can be transported taking up very little room, as it can be placed in its usage position by simply unfolding the headers 2 and the sides 3 and, if required, inserting the elements for reinforcement 11, 12 in the corresponding orifices 10.
Landscapes
- Engineering & Computer Science (AREA)
- Mechanical Engineering (AREA)
- Cartons (AREA)
- Packaging Frangible Articles (AREA)
- Rigid Containers With Two Or More Constituent Elements (AREA)
Applications Claiming Priority (2)
| Application Number | Priority Date | Filing Date | Title |
|---|---|---|---|
| ES200202556 | 2002-10-28 | ||
| ES200202556A ES2238117B1 (es) | 2002-10-28 | 2002-10-28 | Bandeja para el transporte de productos. |
Publications (2)
| Publication Number | Publication Date |
|---|---|
| EP1422147A2 true EP1422147A2 (de) | 2004-05-26 |
| EP1422147A3 EP1422147A3 (de) | 2004-11-17 |
Family
ID=32116414
Family Applications (1)
| Application Number | Title | Priority Date | Filing Date |
|---|---|---|---|
| EP03380247A Withdrawn EP1422147A3 (de) | 2002-10-28 | 2003-10-27 | Zusammenklappbare Faltschachtel zum Transport von Erzeugnisse |
Country Status (3)
| Country | Link |
|---|---|
| US (1) | US6886738B2 (de) |
| EP (1) | EP1422147A3 (de) |
| ES (1) | ES2238117B1 (de) |
Families Citing this family (11)
| Publication number | Priority date | Publication date | Assignee | Title |
|---|---|---|---|---|
| EP1489016B1 (de) * | 2002-11-14 | 2005-06-29 | Videcart, S.A. | Stapelbare schachtel für verderbliche produkte |
| EP1772386B1 (de) * | 2005-10-06 | 2008-08-27 | Videcart, S.A. | Auf- und zusammenfaltbare Schale und Verfahren zu ihrer Herstellung |
| ES2323347B1 (es) * | 2007-05-21 | 2010-04-29 | Videcart, S.A. | Caja apilable y procedimiento para obtener dicha caja. |
| DE102007044376B4 (de) * | 2007-09-17 | 2011-04-07 | Gustav Stabernack Gmbh | Stapelbares Modultray |
| US20090071850A1 (en) * | 2007-09-18 | 2009-03-19 | Little Caesar Enterprises, Inc. | Packaging For Pizza |
| ES2333504B1 (es) * | 2008-04-28 | 2011-01-07 | Videcart, S.A | Bandeja plegable para frutas y verduras. |
| US8434288B2 (en) * | 2009-07-29 | 2013-05-07 | Target Brands, Inc. | Product package with auxiliary compartments |
| US8833573B2 (en) * | 2012-01-16 | 2014-09-16 | Sonoco Development, Inc | Dividerless packaging system for shipping and displaying palletized products |
| WO2015166114A1 (es) * | 2014-04-29 | 2015-11-05 | Miarnau Fernandez Julio | Estructura modular para exhibidor de carton del tipo torre |
| US10266302B1 (en) * | 2018-10-23 | 2019-04-23 | Gabriel Duarte | Tiered pizza box |
| AT522769B1 (de) * | 2019-12-13 | 2021-01-15 | Fischhuber Bernhard | Faltkiste |
Family Cites Families (17)
| Publication number | Priority date | Publication date | Assignee | Title |
|---|---|---|---|---|
| US2734677A (en) * | 1956-02-14 | arneson | ||
| GB893562A (en) * | 1958-04-10 | 1962-04-11 | Philips Electrical Ind Ltd | Improvements in or relating to folding boxes adapted for stacking and nesting |
| US3034698A (en) * | 1959-12-01 | 1962-05-15 | Mead Corp | Reinforced corner construction for collapsible containers |
| US4236664A (en) * | 1978-06-28 | 1980-12-02 | Hartelmueller Ludwig | Stackable transport container |
| US4418863A (en) * | 1982-09-02 | 1983-12-06 | Georgia-Pacific Corporation | Produce tray with reinforced corner construction |
| ES267260Y (es) * | 1982-09-14 | 1984-07-01 | Caja perfeccionada, para transporte. | |
| US4860948A (en) * | 1986-09-19 | 1989-08-29 | Wilhelmus Hofstede | Foldable box and blank therefor |
| GB2205083B (en) * | 1987-05-28 | 1991-02-06 | Pack V | Collapsible boxes |
| DE3913890A1 (de) * | 1989-04-27 | 1990-10-31 | Hoffmann Guenter Gmbh Co Kg | Obst- oder gemuesekiste |
| NL9000063A (nl) * | 1990-01-10 | 1990-04-02 | Gelria Cartonnage | Opvouwbare doos. |
| NL9002029A (nl) * | 1990-03-09 | 1991-10-01 | Knp Free Bv | Paraattray. |
| ES1029596U (es) * | 1994-12-29 | 1995-05-16 | San Cayetano Division Internac | Caja plegable perfeccionada con refuerzos de esquina incorporados. |
| ES1031910Y (es) * | 1995-08-22 | 1997-02-01 | Garcia Diego Blazquez | Envase de carton. |
| ES2134154B1 (es) * | 1997-10-07 | 2000-04-16 | Videcart Sa | Bandeja para el transporte de productos. |
| GB9917951D0 (en) * | 1999-07-31 | 1999-09-29 | Mclaren Packaging Ltd | Box |
| ATE229454T1 (de) * | 1999-09-16 | 2002-12-15 | R & F Folding Boxes | Zuschnitt für einen stapelbaren behälter aus karton |
| NL1016882C2 (nl) * | 2000-12-14 | 2002-06-17 | Kappa Trimbach B V | Opvouwbare doos met hoekversteviging en plano daarvoor. |
-
2002
- 2002-10-28 ES ES200202556A patent/ES2238117B1/es not_active Expired - Fee Related
-
2003
- 2003-10-27 US US10/694,342 patent/US6886738B2/en not_active Expired - Fee Related
- 2003-10-27 EP EP03380247A patent/EP1422147A3/de not_active Withdrawn
Also Published As
| Publication number | Publication date |
|---|---|
| ES2238117A1 (es) | 2005-08-16 |
| ES2238117B1 (es) | 2006-11-16 |
| US20040084514A1 (en) | 2004-05-06 |
| EP1422147A3 (de) | 2004-11-17 |
| US6886738B2 (en) | 2005-05-03 |
Similar Documents
| Publication | Publication Date | Title |
|---|---|---|
| US8365980B2 (en) | Food container | |
| US6886738B2 (en) | Tray for the transportation of products | |
| US5322172A (en) | Collapsible display stand | |
| US5398868A (en) | Foldable knock-down storage box with detachable hingeable cover | |
| US4854246A (en) | Display device and method of assembly | |
| US4911311A (en) | Display stand with vertically stacked trays | |
| US7293380B2 (en) | Portable display device with integral support foot | |
| US20050155259A1 (en) | Stackable folding display structure | |
| US4091923A (en) | Combined carton and supporting pallet | |
| CA2910339A1 (en) | Foldable display made of corrugated cardboard or the like | |
| US5096073A (en) | Display tube | |
| US5037026A (en) | Closable carton with improved snap action lock | |
| US3957320A (en) | All corrugated transfer file | |
| US5692714A (en) | Automatic self-erecting display stand | |
| US4374560A (en) | Collapsible display bin stand | |
| US5156265A (en) | Foldable paperboard display carton formed from a unitary blank | |
| US2054473A (en) | Folding display container | |
| US4708240A (en) | Combination display tray-connector device | |
| US11932464B2 (en) | Box with interior lift mechanism | |
| US4308948A (en) | Paperboard display stand | |
| DE10353526A1 (de) | Verpackung für den Transport und den Verzehr von verzehrfertigen Schnellimbiss-Speisen | |
| DE102013000515A1 (de) | Faltschachtel zum Transportieren eines Gerichts zum Mitnehmen | |
| EP1746034A1 (de) | Transport- und Präsentationsbehälter | |
| EP1574444A1 (de) | Mittel zum Verpacken von Blumen | |
| US2109777A (en) | Display device |
Legal Events
| Date | Code | Title | Description |
|---|---|---|---|
| PUAI | Public reference made under article 153(3) epc to a published international application that has entered the european phase |
Free format text: ORIGINAL CODE: 0009012 |
|
| AK | Designated contracting states |
Kind code of ref document: A2 Designated state(s): AT BE BG CH CY CZ DE DK EE ES FI FR GB GR HU IE IT LI LU MC NL PT RO SE SI SK TR |
|
| AX | Request for extension of the european patent |
Extension state: AL LT LV MK |
|
| PUAL | Search report despatched |
Free format text: ORIGINAL CODE: 0009013 |
|
| AK | Designated contracting states |
Kind code of ref document: A3 Designated state(s): AT BE BG CH CY CZ DE DK EE ES FI FR GB GR HU IE IT LI LU MC NL PT RO SE SI SK TR |
|
| AX | Request for extension of the european patent |
Extension state: AL LT LV MK |
|
| 17P | Request for examination filed |
Effective date: 20050131 |
|
| AKX | Designation fees paid |
Designated state(s): AT BE BG CH CY CZ DE DK EE ES FI FR GB GR HU IE IT LI LU MC NL PT RO SE SI SK TR |
|
| 17Q | First examination report despatched |
Effective date: 20061206 |
|
| GRAP | Despatch of communication of intention to grant a patent |
Free format text: ORIGINAL CODE: EPIDOSNIGR1 |
|
| STAA | Information on the status of an ep patent application or granted ep patent |
Free format text: STATUS: THE APPLICATION IS DEEMED TO BE WITHDRAWN |
|
| 18D | Application deemed to be withdrawn |
Effective date: 20080905 |