EP1262626A2 - Anordnung mit einem Rolladen, Führungs-schienen und einem Verschluss - Google Patents

Anordnung mit einem Rolladen, Führungs-schienen und einem Verschluss Download PDF

Info

Publication number
EP1262626A2
EP1262626A2 EP02005556A EP02005556A EP1262626A2 EP 1262626 A2 EP1262626 A2 EP 1262626A2 EP 02005556 A EP02005556 A EP 02005556A EP 02005556 A EP02005556 A EP 02005556A EP 1262626 A2 EP1262626 A2 EP 1262626A2
Authority
EP
European Patent Office
Prior art keywords
locking
guide rail
cylinder housing
recess
arrangement according
Prior art date
Legal status (The legal status is an assumption and is not a legal conclusion. Google has not performed a legal analysis and makes no representation as to the accuracy of the status listed.)
Withdrawn
Application number
EP02005556A
Other languages
English (en)
French (fr)
Other versions
EP1262626A3 (de
Inventor
Klaus-Dieter Schmidt
Detlef Klose
Current Assignee (The listed assignees may be inaccurate. Google has not performed a legal analysis and makes no representation or warranty as to the accuracy of the list.)
Huwil Werke GmbH
Original Assignee
Huwil Werke GmbH
Priority date (The priority date is an assumption and is not a legal conclusion. Google has not performed a legal analysis and makes no representation as to the accuracy of the date listed.)
Filing date
Publication date
Application filed by Huwil Werke GmbH filed Critical Huwil Werke GmbH
Publication of EP1262626A2 publication Critical patent/EP1262626A2/de
Publication of EP1262626A3 publication Critical patent/EP1262626A3/de
Withdrawn legal-status Critical Current

Links

Images

Classifications

    • EFIXED CONSTRUCTIONS
    • E06DOORS, WINDOWS, SHUTTERS, OR ROLLER BLINDS IN GENERAL; LADDERS
    • E06BFIXED OR MOVABLE CLOSURES FOR OPENINGS IN BUILDINGS, VEHICLES, FENCES OR LIKE ENCLOSURES IN GENERAL, e.g. DOORS, WINDOWS, BLINDS, GATES
    • E06B9/00Screening or protective devices for wall or similar openings, with or without operating or securing mechanisms; Closures of similar construction
    • E06B9/02Shutters, movable grilles, or other safety closing devices, e.g. against burglary
    • E06B9/08Roll-type closures
    • E06B9/11Roller shutters
    • E06B9/115Roller shutters specially adapted for furniture
    • EFIXED CONSTRUCTIONS
    • E06DOORS, WINDOWS, SHUTTERS, OR ROLLER BLINDS IN GENERAL; LADDERS
    • E06BFIXED OR MOVABLE CLOSURES FOR OPENINGS IN BUILDINGS, VEHICLES, FENCES OR LIKE ENCLOSURES IN GENERAL, e.g. DOORS, WINDOWS, BLINDS, GATES
    • E06B9/00Screening or protective devices for wall or similar openings, with or without operating or securing mechanisms; Closures of similar construction
    • E06B9/56Operating, guiding or securing devices or arrangements for roll-type closures; Spring drums; Tape drums; Counterweighting arrangements therefor
    • E06B9/80Safety measures against dropping or unauthorised opening; Braking or immobilising devices; Devices for limiting unrolling
    • E06B2009/801Locking arrangements
    • E06B2009/805Locking arrangements located on or in the guides

Definitions

  • the invention relates to an arrangement with a roller shutter individual slats attached to each other by positive locking with lateral first and second ends of which one or several have or form a bolt recess together, a first guide rail and a second guide rail, each one of the lateral ends of the slats in one Take up the guide groove and the slats in one plane movably guide, a closure that the first guide rail is assigned and the one cylinder core, the indirect or is directly connected to a swivel bolt, and a cylinder housing in which the cylinder core between one Open position and a closed position pivotally added is.
  • the roller shutter is secured at one end only, so that by applying force to the end remote from the lock cylinder the slats in the area of the second guide rail of the roller shutters can be opened easily. Furthermore, is not without activity the shutter to see if the shutter is in the secured position or not.
  • the invention has for its object an arrangement with to propose a roller shutter, guide rails and a lock, in which the roller shutter is better against inadmissible opening is protected and also visually for the user can be seen whether the closure is in the closed position located or not.
  • the cylinder housing is adjustable perpendicular to the plane between a position engaging in the first guide groove of the first guide rail, in which it engages in the locking recess, and a position extended from this out of engagement with the latter
  • the closure further includes a receiving element, in which the cylinder housing is accommodated so as to be adjustable perpendicular to the plane, and which is held in a stationary manner with respect to the associated first guide rail, and spring means which act on the cylinder housing towards the extended position, and a latch retaining element, which is stationary with the first guide rail the guide groove of which the cylinder housing can be brought into engagement, is arranged and which has a locking slot to which the pivot bolt can be brought into engagement when the cylinder housing engages in the position of the guide groove by actuating the cylinder core, so that the cylinder housing is held in this position ,
  • the in the closed position of the roller shutter adjacent to the cylinder housing i.e. opposite slat the latch recess at its first end for engagement of the cylinder housing.
  • the Slat having bolt recess a locking bar is assigned, which passes through this lamella from the first recess of the first guide rail to the second Guide rail is guided out.
  • a Actuating section provided on the locking bar. This has a locking section towards the second guide rail on.
  • the cylinder housing has an adjustment section for Actuation of the actuating section, via which Locking bar engages with its locking section Locking element in the area of the second guide rail is movable.
  • the locking element for example through a hole in the second Guide rail shown, in which the locking section entry.
  • a spring can be assigned to the locking bar, through which they are disengaged from the locking element is acted upon.
  • the bolt recess can also be formed that the slat is shortened. But it can also through the immediate formation of a bolt recess in be represented at its first end.
  • the locking bar in the recess having slat it is possible to place the locking bar in the recess having slat to be pivoted.
  • the locking section in a locking recess the locking element is pivotable and towards the actuating section against the locking element is supported. This can also be the assembly of a there is no need for a fixed intermediate floor for tall furniture.
  • the closing position of the roller shutter adjacent or opposite Arrange slat so that it is adjacent to it Slats is slidably guided.
  • That the second end of the slat towards the second Guide rail in engagement with a recess of a locking element or the second guide rail adjustable is.
  • the sliding slat is the cylinder housing with one Adjustment section provided, which is in the form of an inclined Floor space is designed.
  • one Adjustment section provided, which is in the form of an inclined Floor space is designed.
  • Slidable or swiveling locking bar can additionally there may also be a blocking surface perpendicular to the plane, in which the slats of the roller shutter are located.
  • the footprint is at an angle to this level.
  • the bolt recess becomes that of the slidable slat adjacent slats limited.
  • the cylinder housing be designed so that there is the space between the slidable slats spaced slats formed free space fills.
  • roller shutters Adjusted by means of which the slats in the guide rails in position when the roller shutter is closed to the cylinder housing or the locking element and the locking hole can be aligned.
  • the body 1 is, for example, office furniture shown, which can be closed by the roller shutter 2.
  • the Roller shutter 2 consists of individual slats, of which only the important with position signs regarding the closing function, namely the position symbols 3, 3a and 3b are.
  • the slats of the roller shutter 2 are in plane E with their first end 4 and second end 5 by a first guide rail 6 and a second guide rail 7 or through the first guide groove 9 and the second guide groove 10 out.
  • the roller shutter is 2 closed by a closure 8. This works as follows described in connection with Figures 2 to 9 in more detail with one opposite in the closed position of the roller shutter 2 Slat or its immediately adjacent Slats to close together.
  • the closure 8 comprises a fixed in the side wall of the body 1, which is the first guide rail 6, assigned receiving element 11.
  • Das Receiving element 11 guides a cylinder housing 12, which is in cross section is rectangular, between one in the receiving element 11 inserted and one extended from this Position as shown by the two representations in figure ld) and 1e) recognizable, movable.
  • Figure 1d Figure 1d
  • Position that represents the unlocked position is that Cylinder housing 12 out of engagement with first guide groove 9.
  • the roller shutter 2 can be in plane E along the two guide rails 6, 7 are moved upward, for example to release the area behind the body 1.
  • the Securing the cylinder housing 12 in the in the receiving element 11 retracted position by means of a Cylinder key actuatable cylinder core 13, as follows is described. The design described above applies to all variants of the design of the closure.
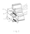
  • a first embodiment of the closure is as follows described with reference to Figures 2 to 4.
  • the springs 17 are supported on the cylinder housing 12 and on the end plate of the receiving element 11 onwards.
  • the cylinder housing 12 is perpendicular to the plane E of the Slats 3 adjustable in the direction of the axis 15. It intervenes the retracted position, as shown in Figure 3 is in the bolt recess 16 and locks the Roller shutters 2 against adjustment in the guide rails 6, 7 in the open position.
  • a lock in the area the second guide rail 7 is provided. For this is in the the locking recess 16 having lamella 3 a locking bar 21 added by the slat 3 to the second Guide rail 7 is guided.
  • the actuating section 22 of the locking bar 21 In the area of the transom recess 16 is the actuating section 22 of the locking bar 21. This is by the control section 24 in the form of an oblique Footprint acted upon so that when pressed of the cylinder housing 12 into the receiving element 11 Locking rod 21 is adjusted so that it is in the area of second guide rail 7, as shown in Figure 4 with her Latch section 23 in a locking hole in the second guide rail 7 occurs as a locking element 26. In this position the footprint has the control section 24 forms, the actuating section 22 passes, so that this is against one parallel to axis 15 and thus perpendicular to the plane E blocking portion 25 in shape supports a restricted area.
  • a latch holding element in the area of the first guide rail 6 19, the component of the receiving element 11 and has a locking slot 20, in which the Swivel lock 14 with the cylinder housing 12 retracted and actuated Cylinder core 13 enters. This will make the cylinder housing 12 held in the retracted position.
  • FIGS. 5 to 8 A second exemplary embodiment is based on FIGS. 5 to 8 explained in more detail.
  • the locking bar 121 according to FIGS. 5 to 8 is a locking bar pivoted in the associated lamella 103, those in the area towards the cylinder housing 112, i.e.
  • the one in the area of the second guide rail 107 arranged and also cranked latch portion 123 of Locking bar 121 is provided with a groove that has an inclined surface with which it engages with a projection 31 a locking element 126 with a corresponding one Inclined surface can be brought.
  • FIG. 9 shows a further exemplary embodiment, in which the immediately adjacent to the cylinder housing 212 Slat 203 through the immediately adjacent slats 203a and 203b is slidably guided.
  • the slats 203, 203a, 203b are fixed to each other and to each other by two pivoted slat elements formed.
  • the first End 204 of the slidable slat 203 is through the adjusting section 224 applied to the cylinder housing 12 when this is inserted into the receiving element 211. This will the slat 203 in the direction of arrow X in the direction of the second Guide rail 207 displaces and engages with its second end 205 in a recess 29 of the second guide rail 207 on.
  • the two slats spaced by the slat 203 203a, 203b form in the region of the first guide recess first guide rail 206 with the displaced slat 203 the latch recess 216 formed by the cylinder housing 212 is occupied so that the roller shutters 2 are not moved can. Due to the engagement of the lamella 203 in the recess 29 is also a lock in the area of the second guide rail 207 given. If the cylinder core 203 by means of a Cylinder key is moved to the open position, moves the spring-loaded cylinder housing 212 out of the receiving element 211 by a part so that it no longer in the engages first guide groove of the first guide rail 206.
  • the second end 205 of the slat 203 becomes disengaged Recess 29 moves and is therefore only in Area of the second guide groove of the second guide rail 207, so that the slats of the roller shutter in the two guide rails 206, 207 can be moved into the open position.
  • the locking plate 28 is towards the second End 205 of lamella 203 is convex, so that the lamella 203 are pushed completely out of the recess 29 can.
  • adjusting means 35 for aligning the slats intended. This is to ensure an exact alignment of the Slat having the bolt recess or the one forming it Slats to the cylinder housing and the locking element allows become.
  • the adjusting means 35 are in the form of adjusting screws provided that more or less deep in a final profile 33 of the roller shutter can be screwed in and closed state of the roller shutter 2 against a floor profile 34 Support the body 1 so that the slats in this position are aligned.
  • the adjusting means 35 can be in the form of a Set screw arranged within two U-profiles 35, 37 his.
  • the U-profiles 36, 37 are with their openings against each other aligned and vertically displaceable.
  • the Adjusting screw 35 is designed as an Allen screw whose Head 38 in a groove 39 of the vertically arranged lifting profile 37 is held.
  • the adjusting screw 35 can be adjusted using the Allen key through a recess 40 of the lower U-profile 37 can be performed.
  • the set screw 35 is through a recess 41 of the upper U-profile 36 inserted.
  • a Nut 42 is screwed onto the set screw 35 and in a groove 43 of the upper U-profile 36 is held against rotation.

Landscapes

  • Engineering & Computer Science (AREA)
  • Structural Engineering (AREA)
  • Architecture (AREA)
  • Civil Engineering (AREA)
  • Operating, Guiding And Securing Of Roll- Type Closing Members (AREA)

Abstract

Anordnung mit einem Rolladen (2) aus einzelnen Lamellen, von denen eine eine Riegelausnehmung (16) aufweist, einer ersten Führungsschiene (6) und einer zweiten Führungsschiene (7), die die Lamellen (3,3a,3b) in einer Ebene (E) bewegbar führen, einem Verschluss (8), der der ersten Führungsschiene (6) zugeordnet ist, umfassend einen Zylinderkern (13) mit einem Schwenkriegel (14), ein Zylindergehäuse (12), in dem der Zylinderkern (13) zwischen einer Offenposition und einer Schließposition schwenkbar aufgenommen ist, das senkrecht zur Ebene (E) zwischen einer in die erste Führungsschiene (6) eingreifenden Position, in der es in die Riegelausnehmung (16) eingreift, und einer aus dieser ausgefahrenen Position verstellbar ist, ein Aufnahmeelement (11), in dem das Zylindergehäuse (12) senkrecht zur Ebene (E) verstellbar aufgenommen ist, Federmittel (17), die das Zylindergehäuse (12) zur ausgefahrenen Position hin beaufschlagen, und ein Riegelhaltelement, das einen Riegelschlitz aufweist, zu welchem der Schwenkriegel (14) durch Betätigen des Zylinderkerns (13) in Eingriff bringbar ist, so dass das Zylindergehäuse (12), in eingefahrener Position gehalten ist. <IMAGE>

Description

Die Erfindung betrifft eine Anordnung mit einem Rolladen aus einzelnen, durch Formschluss aneinander angehängten Lamellen mit seitlichen ersten und zweiten Enden von denen eine oder mehrere zusammen eine Riegelausnehmung aufweisen oder bilden, einer ersten Führungsschiene und einer zweiten Führungsschiene, die jeweils eines der seitlichen Enden der Lamellen in einer Führungsnut aufnehmen und die die Lamellen in einer Ebene bewegbar führen, einem Verschluss, der der ersten Führungsschiene zugeordnet ist und der einen Zylinderkern, der mittelbar oder unmittelbar mit einem Schwenkriegel verbunden ist, und ein Zylindergehäuse, in dem der Zylinderkern zwischen einer Offenposition und einer Schließposition schwenkbar aufgenommen ist, aufweist.
Eine solche Anordnung ist in der DE 199 21 082 A1 beschrieben, wobei dem Zylinderkern ein Schwenkriegel zugeordnet ist, der von einer etwa viertelkreisgroßen Scheibe gebildet ist und dessen äußere konvexe Schließkante, die kreisbogenförmig um die Drehachse des Zylinderkerns verläuft, in eine formgleiche konkave Ausnehmung eines an dem ersten Ende der dem Schließriegel in der Schließposition des Rolladens gegenüberliegenden Lamelle angebrachten Gegenstück eingreift. Diese Lamelle ist verkürzt ausgebildet und nimmt an ihrem ersten Ende das Gegenstück auf. Dieses dient auch zur Führung der Lamelle in der ersten Führungsschiene.
Da die Führungsschiene nahe zur Vorderkante der Seitenwand eines Korpus eines Möbels angeordnet ist, steht das Zylindergehäuse weit über die Vorderfront vor. Dies ist weder optisch angenehm, noch günstig in Hinsicht darauf, dass das Zylindergehäuse ungeschützt frei liegt und insofern ohne besondere Anstrengungen für jemand, der in den Korpus eindringen will, entfernbar ist. Darüber hinaus ist von Nachteil, dass der Rolladen nur an einem Ende gesichert ist, so dass auch durch Aufbringen von Kraft auf das dem Schließzylinder entfernte Ende der Lamellen im Bereich der zweiten Führungsschiene der Rolladen leicht geöffnet werden kann. Ferner ist nicht ohne Betätigung des Rolladen zu erkennen, ob der Verschluss sich in der gesicherten Position befindet oder nicht.
Der Erfindung liegt die Aufgabe zugrunde, eine Anordnung mit einem Rolladen, Führungsschienen und einem Verschluss vorzuschlagen, bei der der Rolladen gegen unzulässiges Öffnen besser geschützt ist und die darüber hinaus für den Nutzer optisch erkennen lässt, ob sich der Verschluss in der Schließposition befindet oder nicht.
Diese Aufgabe wird erfindungsgemäß dadurch gelöst, dass das Zylindergehäuse senkrecht zur Ebene zwischen einer in die erste Führungsnut der ersten Führungsschiene eingreifenden Position, in der es in die Riegelausnehmung eingreift, und einer aus dieser ausgefahrenen Position außer Eingriff zu dieser verstellbar ist,
dass der Verschluß ferner ein Aufnahmeelement, in dem das Zylindergehäuse senkrecht zur Ebene verstellbar aufgenommen ist und das ortsfest zur zugehörigen ersten Führungsschiene gehalten ist sowie Federmittel, die das Zylindergehäuse zur ausgefahrenen Position hin beaufschlagen, und ein Riegelhaltelement, das ortsfest zu der ersten Führungsschiene, zu deren Führungsnut das Zylindergehäuse in Eingriff bringbar ist, angeordnet ist und das einen Riegelschlitz aufweist, zu welchem der Schwenkriegel bei in der zur Führungsnut eingreifenden Position des Zylindergehäuses durch Betätigen des Zylinderkerns in Eingriff bringbar ist, so dass das Zylindergehäuse in dieser Position gehalten ist, umfasst.
Von Vorteil bei dieser Ausbildung ist, dass sich das Zylindergehäuse zusammen mit dem Zylinderkern solange der Rolladen nicht über den Verschluss verschlossen ist, nach außen vorsteht. Wenn das Zylindergehäuse zusammen mit dem Zylinderkern sich in der eingefahrenen Position bei geschlossenem Rolladen befindet, ist ohne weiteres von außen erkennbar, dass sich der Verschluss in der Schließposition befindet. Dadurch, dass das Zylindergehäuse zusammen mit dem Zylinderkern in das Aufnahmeelement und damit in die Seitenwand des Korpus eingefahren ist, sind diese für ein Öffnen in unzulässiger Weise praktisch unzugänglich. Ferner ergibt sich daraus eine geringere Möglichkeit, dass sich eine Bedienungsperson bei in der Schließposition befindlichem Verschluss am Zylindergehäuse stoßen kann. Ferner wird durch das Zylindergehäuse, das in die Riegelausnehmung einfährt, eine große Sicherheit des Rolladens gegen Öffnen selbst dann erreicht, wenn ein Verschließen nur an dem ersten Ende erfolgt. Zudem lässt sich durch die kompakte Bauweise des Verschlusses dieser innerhalb einer Ausnehmung einer Seitenwand eines Möbels montieren, ohne dass der Verschluß über die Wandflächen vorsteht.
Vorzugsweise weist die in der Schließposition des Rolladens dem Zylindergehäuse benachbarte, d.h. gegenüberliegende Lamelle die Riegelausnehmung an ihrem ersten Ende zum Eingreifen des Zylindergehäuses auf.
Um beidseitig ein Verriegeln zu erreichen, d.h. eine Sicherung des Rolladens an beiden Enden, also dem ersten Ende einer Lamelle und dem zweiten Ende einer Lamelle vornehmen zu können, ist in Ausgestaltung der Erfindung vorgesehen, dass der die Riegelausnehmung aufweisenden Lamelle eine Riegelstange zugeordnet ist, die durch diese Lamelle hindurch von der ersten Ausnehmung der ersten Führungsschiene zur zweiten Führungsschiene hin geführt ist. Im Bereich der ersten Führungsnut und der Riegelausnehmung der Lamelle ist ein Betätigungsabschnitt an der Riegelstange vorgesehen. Diese weist zur zweiten Führungsschiene hin einen Riegelabschnitt auf. Das Zylindergehäuse besitzt einen Stellabschnitt zur Beaufschlagung des Betätigungsabschnittes,- über den die Riegelstange mit ihrem Riegelabschnitt in Eingriff zu einem Verriegelungselement im Bereich der zweiten Führungsschiene bewegbar ist. Dabei kann das Verriegelungselement beispielsweise durch eine Bohrung in der zweiten Führungsschiene dargestellt sein, in die der Riegelabschnitt eintritt. Der Riegelstange kann eine Feder zugeordnet sein, über die sie außer Eingriff zu dem Verriegelungselement beaufschlagt ist. Es gibt verschiedene Ausgestaltungsmöglichkeiten für die Anordnung der Riegelstange. So kann diese wenn im Bereich der zweiten Führungsschiene eine Bohrung als Verriegelungselement vorgesehen ist, die Riegelstange in der die Riegelausnehmung aufweisenden Lamelle verschiebbar angeordnet sein. Die Riegelausnehmung kann auch dadurch gebildet werden, dass die Lamelle verkürzt ausgebildet ist. Sie kann aber auch durch eine unmittelbare Ausbildung einer Riegelausnehmung in ihrem ersten Ende dargestellt sein.
Alternativ ist es möglich, die Riegelstange in der die Ausnehmung aufweisenden Lamelle schwenkbar anzuordnen. Um ein Auseinanderdrücken der Seitenwände bei hohen Möbeln zu vermeiden, ist vorgesehen, dass der Riegelabschnitt in eine Verriegelungsausnehmung des Verriegelungselements schwenkbar ist und in Richtung zum Betätigungsabschnitt gegen das Verriegelungselement abgestützt ist. Hierdurch kann auch die Montage eines festen Zwischenbodens bei hohen Möbeln entfallen.
Alternativ ist es ferner möglich, die dem Zylindergehäuse in der Schließposition des Rolladens benachbarte bzw. gegenüberliegende Lamelle so anzuordnen, dass sie von den ihr benachbarten Lamellen verschiebbar geführt ist. Ferner ist dabei ihr der ersten Führungsschiene zugehöriges erstes Ende zur Verschiebung durch das Zylindergehäuse beaufschlagbar. Zur Verriegelung im Bereich der zweiten Führungsschiene ist vorgesehen, dass das zweite Ende der Lamelle in Richtung zur zweiten Führungsschiene in Eingriff zu einer Ausnehmung eines Verriegelungselementes oder der zweiten Führungsschiene verstellbar ist. Dabei kann am zweiten Ende der Lamelle auch ein Element angebracht sein, dass zum Eingriff in die Ausnehmung des Verriegelungselementes oder der Führungsschiene gedacht ist.
Um die Rückstellung der so verschiebbaren Lamelle in die Ausgangsposition zu gewährleisten, ist der zweiten Führungsschiene bzw. dem dieser zugeordneten Verriegelungselement eine Entriegelungsfeder zugeordnet, die die Lamelle außer Eingriff zur Ausnehmung beaufschlagt. Wenn die Riegelstange in der die Riegelausnehmung aufweisenden Lamelle schwenkbar angeordnet ist, ist deren Betätigungsabschnitt gekröpft. Gleiches gilt auch für den Riegelabschnitt.
Zur Betätigung des Betätigungsabschnittes der verschiebbaren Riegelstange oder der schwenkbaren Riegelstange oder aber auch der verschiebbaren Lamelle ist das Zylindergehäuse mit einem Stellabschnitt versehen, der in Form einer geneigt verlaufenden Stellfläche gestaltet ist. Für den Fall der Ausbildung als verschiebbare oder schwenkbare Riegelstange kann zusätzlich noch eine Sperrfläche vorgesehen sein, die senkrecht zur Ebene, in der sich die Lamellen des Rolladens befinden, verläuft. Die Stellfläche verläuft unter einem Winkel zu dieser Ebene. Für den Fall der Ausgestaltung mit einer verschiebbaren Lamelle wird die Riegelausnehmung die der verschiebbaren Lamelle benachbarten Lamellen begrenzt. Dabei kann das Zylindergehäuse so ausgebildet sein, dass es den Zwischenraum zwischen den die verschiebbare Lamelle beabstandeten Lamellen gebildeten Freiraum ausfüllt. In der Zeichnung sind verschiedenen Ausführungsbeispiele dargestellt, die anhand derselben nachfolgend näher erläutert werden.
Um Fertigungstoleranzen auszugleichen, sind dem Rolladen Stellmittel zugeordnet, über die die Lamellen in den Führungsschienen im geschlossenen Zustand des Rolladens in ihrer Lage zum Zylindergehäuse bzw. dem Verriegelungselement und der Verriegelungsbohrung ausrichtbar sind.
Es zeigt
Figur 1
eine schematische Darstellung eines Korpus eines Möbels, der durch einen Rolladen, dessen Lamellen in Führungsschienen geführt sind, und durch einen Verschluss verschlossen wird,
Figur 2
eine perspektivische Darstellung einer ersten Ausführungsform eines Verschlusses, wobei in Zuordnung zu den Lamellen, wobei das Aufnahmeelement zur besseren Übersichtlichkeit teilweise fortgelassen wurde und wobei sich das Zylindergehäuse mit dem Schließzylinder in der Offenposition befindet.
Figur 3
eine entsprechende Ansicht zu Figur 2, wobei sich jedoch das Zylindergehäuse in der Schließposition befindet,
Figur 4
die Schließposition nochmals in Bezug auf den Schwenkriegel des Zylinderkerns und den Riegelabschnitt der Riegelstange zur zweiten Führungsschiene,
Figur 5
eine perspektivische Darstellung für eine zweite Ausbildungsvariante der Riegelstange mit gekröpftem Betätigungsabschnitt, in Offenposition des Zylindergehäuses mit dem Zylinderkern und der Riegelstange,
Figur 6
die zu Figur 5 gehörende Anordnung des Verriegelungselementes im Bereich der zweiten Führungsschiene und die Ausbildung des Riegelabschnittes der schwenkbaren Riegelstange,
Figur 7
die Stellung der Riegelstange und des Zylinderge-
Figur 8
häuses in der Schließposition, die entsprechende Stellung des Riegelabschnittes der schwenkbaren Riegelstange in Eingriff zum Verriegelungselement im Bereich der zweiten Führungsschiene,
Figur 9
eine weitere Alternative einer erfindungsgemäßen Anordnung mit einer verschiebbaren Lamelle, die durch das Zylindergehäuse in Eingriff zu einer Ausnehmung in der zweiten Führungsschiene bewegbar ist und
Figur 10
die Anordnung von Stellmitteln zum Ausrichten des Rolladens.
In Figur 1 ist der Korpus 1 beispielsweise eines Büromöbels dargestellt, der durch den Rolladen 2 verschließbar ist. Der Rolladen 2 besteht aus einzelnen Lamellen, von denen nur die bezüglich der Verschließfunktion wichtigen mit Positionszeichen, nämlich den Positionszeichen 3, 3a und 3b, bezeichnet sind. Die Lamellen des Rolladens 2 sind in der Ebene E mit ihrem ersten Ende 4 und zweiten Ende 5 durch eine erste Führungsschiene 6 und eine zweite Führungsschiene 7 bzw. durch die erste Führungsnut 9 und die zweite Führungsnut 10 geführt. In der dargestellten geschlossenen Position ist der Rolladen 2 durch einen Verschluss 8 verschlossen. Dieser wirkt wie nachfolgend im Zusammenhang mit den Figuren 2 bis 9 näher beschrieben mit einer in der Schließposition des Rolladens 2 gegenüberliegenden Lamelle bzw. deren unmittelbar benachbarten Lamellen zum Verschließen zusammen. Der Verschluss 8 umfasst ein fest in der Seitenwand des Korpus 1, die die erste Führungsschiene 6 aufweist, zugeordnetes Aufnahmeelement 11. Das Aufnahmeelement 11 führt ein Zylindergehäuse 12, das im Querschnitt rechteckig ausgebildet ist, zwischen einer in das Aufnahmeelement 11 eingeschobenen und einer aus diesem ausgefahrenen Position, wie durch die beiden Darstellungen in Figur ld) und 1e) erkennbar, verfahrbar. In der am Korpus 1 dargestellten eingefahrenen Position (Figur 1d)) greift das Zylindergehäuse 12 in die erste Führungsnut 9 der ersten Führungsschiene 6 ein. In der in Figur 1e) dargestellten ausgefahrenen Position, welche die entriegelte Position darstellt, ist das Zylindergehäuse 12 außer Eingriff zur ersten Führungsnut 9. Der Rolladen 2 kann in der Ebene E entlang der beiden Führungsschienen 6, 7 beispielweise nach oben bewegt werden, um den dahinterliegenden Bereich des Korpus 1 freizugeben. Die Sicherung des Zylindergehäuses 12 in der in das Aufnahmeelement 11 eingefahrenen Position erfolgt mittels eines durch einen Zylinderschlüssel betätigbaren Zylinderkern 13, wie nachfolgend beschrieben wird. Die vorbeschriebene Ausgestaltung gilt für alle Varianten der Ausbildung des Verschlusses.
Eine erste Ausführungsform des Verschlusses wird nachfolgend anhand der Figuren 2 bis 4 näher beschrieben.
In den Figuren 2 und 3 ist eine Lamelle 3 erkennbar, die die Riegelausnehmung 16 aufweist. Ferner ist das Zylindergehäuse 12, das entlang der Achse 15 verschiebbar ist, erkennbar. Dieses ist im Querschnitt rechteckig ausgebildet und nimmt den Zylinderkern 13 schwenkbar und axial entlang der Achse 15 unverschiebbar auf. An dem in das Aufnahmeelement 11 einfahrenden Ende des Zylindergehäuses 12 tritt der Zylinderkern 13 aus und trägt an diesem Ende den Schwenkriegel 14, der um die Achse 15 mittels eines Zylinderschlüssels von einer Schließposition in eine Offenposition verschwenkbar ist. Der Schwenkriegel 14 ist in der Offenposition (Figur 2) außer Wirkstellung. Er steht in der Offenposition nach oben. Das Zylindergehäuse 12 wird durch zwei Federn 17 in Richtung seiner ausgefahrenen Stellung beaufschlagt. Die Federn 17 stützt sich an dem Zylindergehäuse 12 und an der Abschlussplatte des Aufnahmeelements 11 ab. Das Zylindergehäuse 12 ist senkrecht zur Ebene E der Lamellen 3 in Richtung der Achse 15 verstellbar. Es greift in der eingefahrenen Position, wie sie in Figur 3 dargestellt ist, in die Riegelausnehmung 16 ein und verriegelt dabei den Rolladen 2 gegen Verstellung in den Führungsschienen 6, 7 in die Offenposition. Ferner ist bei dem Ausführungsbeispiel gemäß Figuren 2 bis 4 zusätzlich eine Verriegelung im Bereich der zweiten Führungsschiene 7 vorgesehen. Hierzu ist in der die Riegelausnehmung 16 aufweisenden Lamelle 3 eine Riegelstange 21 aufgenommen, die durch die Lamelle 3 bis zur zweiten Führungsschiene 7 geführt ist. Im Bereich der Riegelausnehmung 16 liegt der Betätigungsabschnitt 22 der Riegelstange 21. Dieser wird durch den Stellabschnitt 24 in Form einer schräg verlaufenden Stellfläche beaufschlagt, so dass beim Eindrücken des Zylindergehäuses 12 in das Aufnahmeelement 11 hinein die Riegelstange 21 so verstellt wird, dass sie im Bereich der zweiten Führungsschiene 7, wie in Figur 4 dargestellt mit ihrem Riegelabschnitt 23 in eine Verriegelungsbohrung in der zweiten Führungsschiene 7 als Verriegelungselement 26 eintritt. In dieser Stellung hat die Stellfläche, die den Stellabschnitt 24 bildet, den Betätigungsabschnitt 22 passiert, so dass dieser sich gegen einen parallel zur Achse 15 und damit senkrecht zur Ebene E verlaufenden Sperrabschnitt 25 in Form einer Sperrfläche abstützt. In der Seitenwand des Korpus befindet sich im Bereich der ersten Führungsschiene 6 ein Riegelhalteelement 19, das Bestandteil des Aufnahmeelementes 11 ist und einen Riegelschlitz 20 aufweist, in welchen der Schwenkriegel 14 bei eingefahrenem Zylindergehäuse 12 und betätigtem Zylinderkern 13 eintritt. Hierdurch wird das Zylindergehäuse 12 in der eingefahrenen Position gehalten.
Ein zweites Ausführungsbeispiel ist anhand der Figuren 5 bis 8 näher erläutert. Der wesentliche Unterschied zur Ausführungsform gemäß Figuren 2 bis 4 besteht lediglich in einer anderen Gestaltung der Riegelstange 121, wobei in Hinsicht auf die Betätigung des Zylindergehäuses 112 und des Zylinderkerns 113 und deren Zuordnung zur ersten Führungsschiene 106 auf die Beschreibung zu den Figuren 2 bis 4 verwiesen wird. Bei der Riegelstange 121 gemäss Figuren 5 bis 8 handelt es sich um eine schwenkbar in der zugehörigen Lamelle 103 aufgenommene Riegelstange, die im Bereich zum Zylindergehäuse 112 hin, d.h. in dem Bereich der ersten Führungsnut der ersten Führungsschiene 106 liegend einen zum übrigen Verlauf der Riegelstange 121 abgekröpften Betätigungsabschnitt 122 aufweist, der durch einen entsprechenden Stellabschnitt 24 des Zylindergehäuses 112 beim Einschieben desselben beaufschlagt wird, so dass die Riegelstange 121 aus der in Figur 5 dargestellten Position in die gemäss Figur 7 verschwenkt wird, wobei der Betätigungsabschnitt 122 der Riegelstange 121 parallel zur oberen Begrenzungsfläche des Zylindergehäuses 112 liegt, die dem Sperrabschnitt bildet. Der im Bereich der zweiten Führungsschiene 107 angeordnete und ebenfalls abgekröpfte Riegelabschnitt 123 der Riegelstange 121 ist mit einer Nut versehen, die eine Schrägfläche aufweist, mit der er in Eingriff zu einem Vorsprung 31 eines Verriegelungselementes 126 mit einer entsprechenden Schrägfläche bringbar ist. In der entriegelten Position befindet sich der Riegelabschnitt 123 in einer zur Führungsnut 107 ausgerichteten Position, während er in der Schließstellung gemäß Figur 8 sich mit seiner Nut 32 in Eingriff zum Vorsprung 31 des Verriegelungselementes 126 bzw. der im Bereich der darin vorgesehenen Riegelausnehmung 27 befindet. Über die Schrägflächen im Bereich der Nut 32 und des Vorsprungs 31 kann eine positive Verriegelung erzielt werden, wenn an dem Rolladen 2 gezogen wird.
In Figur 9 ist ein weiteres Ausführungsbeispiel dargestellt, bei dem die dem Zylindergehäuse 212 unmittelbar benachbarte Lamelle 203 durch die unmittelbar benachbarten Lamellen 203a und 203b verschiebbar geführt ist. Die Lamellen 203, 203a, 203b sind jeweils durch zwei fest miteinander und zueinander schwenkbar angeordneten Lamellenelementen gebildet. Das erste Ende 204 der verschiebbaren Lamelle 203 wird durch den Stellabschnitt 224 des Zylindergehäuses 12 beaufschlagt, wenn dieses in das Aufnahmeelement 211 eingeschoben wird. Dadurch wird die Lamelle 203 in Pfeilrichtung X in Richtung zur zweiten Führungsschiene 207 verlagert und greift mit ihrem zweiten Ende 205 in eine Ausnehmung 29 der zweiten Führungsschiene 207 ein. Die beiden durch die Lamelle 203 beabstandeten Lamellen 203a, 203b bilden im Bereich der ersten Führungsausnehmung der ersten Führungsschiene 206 mit der verschobenen Lamelle 203 die Riegelausnehmung 216, die durch das Zylindergehäuse 212 besetzt wird, so dass der Rolladen 2 nicht verschoben werden kann. Durch den Eingriff der Lamelle 203 in die Ausnehmung 29 ist auch eine Verriegelung im Bereich der zweiten Führungsschiene 207 gegeben. Wenn der Zylinderkern 203 mittels eines Zylinderschlüssels in die Offenposition überführt wird, bewegt sich das federbelastete Zylindergehäuse 212 aus dem Aufnahmeelement 211 um einen Teil heraus, so dass es nicht mehr in die erste Führungsnut der ersten Führungsschiene 206 eingreift. Aufgrund des Riegelelementes 226, dass einen topfartigen Gehäuseabschnitt und eine Verriegelungsplatte 28 der Ausnehmung 29 gegenüberliegend und dazwischen eine Blattfeder 30 umfasst, wird das zweite Ende 205 der Lamelle 203 außer Eingriff zur Ausnehmung 29 bewegt und befindet sich damit ausschließlich im Bereich der zweiten Führungsnut der zweiten Führungsschiene 207, so dass die Lamellen des Rolladens in den beiden Führungsschienen 206, 207 in die Offenposition bewegt werden können. Die Verriegelungsplatte 28 ist in Richtung zum zweiten Ende 205 der Lamelle 203 konvex ausgebildet, so dass die Lamelle 203 vollständig aus der Ausnehmung 29 geschoben werden kann.
Da sich die Fertigungstoleranzen der Lamellen des Rolladens addieren, sind Stellmittel 35 zur Ausrichtung der Lamellen vorgesehen. Hierdurch soll eine exakte Ausrichtung der die Riegelausnehmung aufweisende Lamelle bzw. der diese bildenden Lamellen zum Zylindergehäuse und dem Verriegelungselement ermöglicht werden. Die Stellmittel 35 sind in Form von Stellschrauben vorgesehen, die mehr oder weniger tief in ein Abschlussprofil 33 des Rolladens einschraubbar sind und sich im geschlossenen Zustand des Rolladens 2 gegen ein Bodenprofil 34 des Korpus 1 abstützen, so dass in dieser Position die Lamellen ausgerichtet gehalten sind.
Alternativ hierzu können die Stellmittel 35 in Form einer Stellschraube innerhalb zweier U-Profile 35, 37 angeordnet sein. Die U-Profile 36, 37 sind mit ihren Öffnungen gegeneinander ausgerichtet und vertikal zueinander verschiebbar. Die Verstellschraube 35 ist als Imbusschraube ausgeführt, deren Kopf 38 in einer Nut 39 des vertikal unten angeordneten Hubprofils 37 gehalten ist. Mittels eines Imbusschlüssels kann die Verstellschraube 35 verstellt werden, wobei der Imbusschlüssel durch eine Ausnehmung 40 des unteren U-Profils 37 geführt werden kann. Die Stellschraube 35 ist durch eine Ausnehmung 41 des oberen U-Profils 36 hindurch gesteckt. Eine Mutter 42 ist auf die Stellschraube 35 aufgeschraubt und in einer Nut 43 des oberen U-Profils 36 verdrehsicher gehalten.
Durch verdrehen der Stellmutter 35 lassen sich somit die beiden U-Profile 36, 37 vertikal zueinander verstellen. Die Position kann endgültig mittels einer Kontermutter 44 festgelegt werden.
Bezugszeichenliste
1
Korpus
2
Rolladen
3, 3a, 3b 103, 203, 203a, 203b
Lamelle
4, 204
erstes Ende
5, 205
zweites Ende
6, 106,206
erste Führungsschiene
7, 207
zweite Führungsschiene
8
Verschluss
9
erste Führungsnut
10
zweite Führungsnut
11, 211
Aufnahmeelement
12, 112 212,
Zylindergehäuse
13, 213
Zylinderkern
14
Schwenkriegel
15
Achse
16, 216
Riegelausnehmung
17
Feder
18
Sperrfläche
19
Riegelhalteelement
20
Riegelschlitz
21, 121
Riegelstange
22, 122
Betätigungsabschnitt
23, 123
Riegelabschnitt
24, 224
Stellabschnitt
25
Sperrabschnitt
26, 126 226
Verriegelungselement/Verriegelungsbohrung
27
Verriegelungsausnehmung
28
Verriegelungsplatte
29
Ausnehmung
30
Entriegelungsfeder
31
Vorsprung
32
Nut
33
Abschlussprofil
34
Bodenprofil
35
Stellmittel (Stellschraube)
36
U-Profil
37
U-Profil
38
Schraubenkopf
39
Nut
40
Ausnehmung
41
Ausnehmung
42
Mutter
43
Nut
44
Kontermutter

Claims (10)

  1. Anordnung mit
    einem Rolladen (2) aus einzelnen, durch Formschluss aneinander angehängten Lamellen (3, 3a, 3b) mit seitlichen ersten und zweiten Enden (4, 5) von denen eine oder mehrere zusammen eine Riegelausnehmung (16) aufweisen oder bilden,
    einer ersten Führungsschiene (6) und einer zweiten Führungsschiene (7), die jeweils eines der seitlichen Enden (4, 5) der Lamellen (3, 3a, 3b) in einer Führungsnut (9, 10) aufnehmen und die die Lamellen (3, 3a, 3b) in einer Ebene (E) bewegbar führen,
    einem Verschluss (8), der der ersten Führungsschiene (6) zugeordnet ist und der
    einen Zylinderkern (13), der mittelbar oder unmittelbar mit einem Schwenkriegel (14) verbunden ist und
    ein Zylindergehäuse (12), in dem der Zylinderkern (13) zwischen einer Offenposition und einer Schließposition schwenkbar aufgenommen ist, aufweist,
       dadurch gekennzeichnet, dass das Zylindergehäuse (12)
    senkrecht zur Ebene (E) zwischen einer in die erste Führungsnut (9) der ersten Führungsschiene (6) eingreifenden Position, in der es in die Riegelausnehmung (16) eingreift, und einer aus dieser ausgefahrenen Position außer Eingriff zu dieser verstellbar ist,
    dass der Verschluß (8)
    ferner ein Aufnahmeelement (11), in dem das Zylindergehäuse (12) senkrecht zur Ebene (E) verstellbar aufgenommen ist und das ortsfest zur zugehörigen ersten Führungsschiene (6) gehalten ist sowie
    Federmittel (17), die das Zylindergehäuse (12) zur ausgefahrenen Position hin beaufschlagen, und
    ein Riegelhaltelement (19), das ortsfest zu der ersten
    Führungsschiene (6), zu deren Führungsnut (9) das Zylindergehäuse (12) in Eingriff bringbar ist, angeordnet ist und das einen Riegelschlitz (20) aufweist, zu welchem der Schwenkriegel (14) bei in der zur Führungsnut
    (9) eingreifenden Position des Zylindergehäuses (12) durch Betätigen des Zylinderkerns (13) in Eingriff bringbar ist, so dass das Zylindergehäuse (12) in dieser Position gehalten ist, umfasst.
  2. Anordnung nach Anspruch 1,
    dadurch gekennzeichnet, dass die in der Schließposition des Rolladens (2) dem Zylindergehäuse (12) benachbarte Lamelle (3) die Riegelausnehmung (16) zum Eingreifen des Zylindergehäuses (12) aufweist.
  3. Anordnung nach Anspruch 1,
    dadurch gekennzeichnet, dass der die Riegelausnehmung (16) aufweisenden Lamelle (3) eine Riegelstange (21) zugeordnet ist, die durch diese Lamelle (3) hindurch von der ersten Führungsschiene (6) zur zweiten Führungsschiene (7) geführt ist, die einen im Bereich der Riegelausnehmung (16) der Lamelle (3) angeordneten Betätigungsabschnitt (22) und im Bereich der zweiten Führungsnut (10) der zweiten Führungsschiene (7) liegend einen Riegelabschnitt (23) aufweist, wobei das Zylindergehäuse (12) einen Stellabschnitt (24) zur Beaufschlagung des Betätigungsabschnittes (22) aufweist, über den die Riegelstange (21) mit ihrem Riegelabschnitt (23) in Eingriff zu einem Verriegelungselement (26) im Bereich der zweiten Führungsschiene (7) bewegbar ist.
    Anordnung nach Anspruch 2,
    dadurch gekennzeichnet, dass die Riegelstange (21, 121) durch eine Feder außer Eingriff zum Verriegelungselement (26, 126) gehalten ist.
  4. Anordnung nach einem der Ansprüche 2 oder 3,
    dadurch gekennzeichnet, dass die Riegelstange (21) in der die Riegelausnehmung (16) aufweisenden Lamelle (3) verschiebbar angeordnet ist.
  5. Anordnung nach einem der Ansprüche 2 oder 3,
    dadurch gekennzeichnet, dass die Riegelstange (121) in der die Ausnehmung (16) aufweisenden Lamelle (103) schwenkbar angeordnet ist.
  6. Anordnung nach Anspruch 5,
    dadurch gekennzeichnet, dass der Riegelabschnitt (123) in eine Verriegelungsausnehmung (27) des Verriegelungselements (126) schwenkbar ist und in Richtung zum Betätigungsabschnitt (122) gegen das Verriegelungselement (126) abgestützt ist.
  7. Anordnung nach Anspruch 1,
    dadurch gekennzeichnet, dass die dem Zylindergehäuse (212) in der Schließposition des Rolladens (202) benachbarte Lamelle (203) von den ihr benachbarten Lamellen (203a, 203b) verschiebbar geführt ist und dass ihr der ersten Führungsschiene (206) zugehöriges erstes Ende (204) durch einen Stellabschnitt des Zylindergehäuses (212) beaufschlagbar ist, durch den sie mit ihrem zweiten Ende (205) in Richtung zur zweiten Führungsschiene (207) und in Eingriff zu einer Ausnehmung (29) eines Verriegelungselementes (226) oder der zweiten Führungsschiene (207) verstellbar ist.
  8. Anordnung nach Anspruch 7,
    dadurch gekennzeichnet, dass der zweiten Führungsschiene (207) bzw. dem dieser zugeordneten Verriegelungselement (226) eine Entriegelungsfeder (30) zugehörig ist, die die Lamelle (203) außer Eingriff zur Ausnehmung (29) beaufschlagt.
  9. Anordnung nach einem der Ansprüche 2 bis 8,
    dadurch gekennzeichnet, dass das Zylindergehäuse (12, 112, 212) einen Stellabschnitt (24, 124) zur Beaufschlagung des Betätigungsabschnittes (22, 122) der Riegelstange (21, 121) oder zur Beaufschlagung des ersten Endes (204) der Lamelle (203) aufweist.
  10. Anordnung nach Anspruch 1,
    dadurch gekennzeichnet, dass dem Rolladen (2) Stellmittel (35) zugeordnet sind, über die die Lamellen (3, 103, 203) in den Führungsschienen (6, 7, 106, 107, 207) im geschlossenen Zustand des Rolladens (2) in ihrer Lage zum Zylindergehäuse (12, 112, 212) sowie dem Verriegelungselement (26, 126, 226) ausrichtbar sind.
EP02005556A 2001-05-17 2002-03-12 Anordnung mit einem Rolladen, Führungs-schienen und einem Verschluss Withdrawn EP1262626A3 (de)

Applications Claiming Priority (2)

Application Number Priority Date Filing Date Title
DE10124330 2001-05-17
DE2001124330 DE10124330A1 (de) 2001-05-17 2001-05-17 Anordnung mit einem Rolladen, Führungsschienen und einem Verschluß

Publications (2)

Publication Number Publication Date
EP1262626A2 true EP1262626A2 (de) 2002-12-04
EP1262626A3 EP1262626A3 (de) 2003-11-05

Family

ID=7685328

Family Applications (1)

Application Number Title Priority Date Filing Date
EP02005556A Withdrawn EP1262626A3 (de) 2001-05-17 2002-03-12 Anordnung mit einem Rolladen, Führungs-schienen und einem Verschluss

Country Status (2)

Country Link
EP (1) EP1262626A3 (de)
DE (1) DE10124330A1 (de)

Cited By (2)

* Cited by examiner, † Cited by third party
Publication number Priority date Publication date Assignee Title
GB2432876A (en) * 2005-10-21 2007-06-06 Roy Thomas Roller-shutter door locking arrangement
US8132435B2 (en) 2007-06-05 2012-03-13 Roy Thomas Locking apparatus

Citations (1)

* Cited by examiner, † Cited by third party
Publication number Priority date Publication date Assignee Title
DE19921082A1 (de) 1999-04-30 2000-11-02 Lehmann Vertriebsgesellschaft Rolljalousie-Zylinderschloß

Family Cites Families (5)

* Cited by examiner, † Cited by third party
Publication number Priority date Publication date Assignee Title
DE1864438U (de) * 1962-03-29 1962-12-27 Blaupunkt Werke Gmbh Rundfunk- und/oder fernsehtruhe.
US4565078A (en) * 1983-03-04 1986-01-21 Solomon Martin D Lock assembly
DE9409634U1 (de) * 1994-06-15 1995-10-19 Gebr. Willach GmbH, 53809 Ruppichteroth Schiebetürbeschlag
DE19958717C2 (de) * 1999-05-04 2001-09-13 Huwil Werke Gmbh Verschlußanordnung für einen Rolladenschrank
DE19957033C2 (de) * 1999-11-26 2003-12-24 Lehmann Vertriebsgmbh Rolljalousieschrank mit Drehzylinderschloß

Patent Citations (1)

* Cited by examiner, † Cited by third party
Publication number Priority date Publication date Assignee Title
DE19921082A1 (de) 1999-04-30 2000-11-02 Lehmann Vertriebsgesellschaft Rolljalousie-Zylinderschloß

Cited By (3)

* Cited by examiner, † Cited by third party
Publication number Priority date Publication date Assignee Title
GB2432876A (en) * 2005-10-21 2007-06-06 Roy Thomas Roller-shutter door locking arrangement
GB2432876B (en) * 2005-10-21 2010-03-10 Roy Thomas A method of locking a roller shutter door
US8132435B2 (en) 2007-06-05 2012-03-13 Roy Thomas Locking apparatus

Also Published As

Publication number Publication date
EP1262626A3 (de) 2003-11-05
DE10124330A1 (de) 2002-11-28

Similar Documents

Publication Publication Date Title
DE102016119515B4 (de) Beschlag für eine Schiebetür und Schiebetüreinheit
DE9004756U1 (de) Mit Zylinderschloßeinrichtung arretierbarer Schwenkhebelverschluß
EP1500763B1 (de) Ausziehsperreinrichtung für mindestens zwei wechselweise aus einem Möbelkorpus ausziehbare Schubladen
DE69808030T2 (de) Treibstangenschloss für eine Tür, Fenstertür oder dergleichen
EP4180606A1 (de) Türband und tür
DE29708308U1 (de) Schließzylinder
DE202022100516U1 (de) Verlagerungsvorrichtung zur zwangsweisen Verlagerung eines Flügels, insbesondere eines Schiebeflügels, eines Fensters oder einer Tür
DE29601966U1 (de) Zusatzschloß für Flügel von Türen, Fenstern o.dgl.
DE102015000606A1 (de) Verriegelungsvorrichtung für einen schwenkbar gelagerten Flügel
EP3109385B1 (de) Verschlussvorrichtung für ein tor mit einem ein- oder mehrteiligen torblatt
EP4438836B1 (de) Schliesssystem und tür oder fenster mit derartigem schliesssystem
EP1262626A2 (de) Anordnung mit einem Rolladen, Führungs-schienen und einem Verschluss
EP3192951B1 (de) Beschlag für eine schiebetür, schiebetüreinheit, verfahren zum öffnen einer schiebetür und verfahren zum schliessen einer schiebetür
DE60008223T2 (de) Türbefestigungsvorrichtung
DE29513098U1 (de) Fenster/Tür mit Dreh-Kipp-Beschlag
EP0899402B1 (de) Verriegelungsbeschlag
DE3221110A1 (de) Beschlag fuer einen kipp- und nachfolgend mindestens parallelabstellbaren fluegel eines fensters, einer tuer od. dgl.
DE102005026930B4 (de) Vorhangschloss
EP0199270A2 (de) Feststellvorrichtung für einen Fenster- oder Türflügel in wenigstens einer Spaltlüftungsstellung
EP1660745B1 (de) Leistenverriegelung
EP2910717B1 (de) Stangenführung für eine stange eines schlosses
DE3215452A1 (de) Eckumlenkung fuer treibstangenbeschlaege von fenstern, tueren od. dgl.
DE9104766U1 (de) Antipaniktürschloß
DE60026040T2 (de) Riegel
DE9406100U1 (de) Zusatzsicherung für Fenster oder Türen

Legal Events

Date Code Title Description
PUAI Public reference made under article 153(3) epc to a published international application that has entered the european phase

Free format text: ORIGINAL CODE: 0009012

AK Designated contracting states

Kind code of ref document: A2

Designated state(s): AT BE CH CY DE DK ES FI FR GB GR IE IT LI LU MC NL PT SE TR

AX Request for extension of the european patent

Free format text: AL;LT;LV;MK;RO;SI

PUAL Search report despatched

Free format text: ORIGINAL CODE: 0009013

AK Designated contracting states

Kind code of ref document: A3

Designated state(s): AT BE CH CY DE DK ES FI FR GB GR IE IT LI LU MC NL PT SE TR

AX Request for extension of the european patent

Extension state: AL LT LV MK RO SI

RIC1 Information provided on ipc code assigned before grant

Ipc: 7E 05B 65/44 B

Ipc: 7E 06B 9/11 A

AKX Designation fees paid
REG Reference to a national code

Ref country code: DE

Ref legal event code: 8566

STAA Information on the status of an ep patent application or granted ep patent

Free format text: STATUS: THE APPLICATION IS DEEMED TO BE WITHDRAWN

18D Application deemed to be withdrawn

Effective date: 20040507