EP1262609A1 - Eléments de revêtement de sol à joint d'étanchéité - Google Patents

Eléments de revêtement de sol à joint d'étanchéité Download PDF

Info

Publication number
EP1262609A1
EP1262609A1 EP20020291309 EP02291309A EP1262609A1 EP 1262609 A1 EP1262609 A1 EP 1262609A1 EP 20020291309 EP20020291309 EP 20020291309 EP 02291309 A EP02291309 A EP 02291309A EP 1262609 A1 EP1262609 A1 EP 1262609A1
Authority
EP
European Patent Office
Prior art keywords
seal
elements
layer
joint
interlocking
Prior art date
Legal status (The legal status is an assumption and is not a legal conclusion. Google has not performed a legal analysis and makes no representation as to the accuracy of the status listed.)
Granted
Application number
EP20020291309
Other languages
German (de)
English (en)
Other versions
EP1262609B1 (fr
Inventor
Hervé Lepetit
Current Assignee (The listed assignees may be inaccurate. Google has not performed a legal analysis and makes no representation or warranty as to the accuracy of the list.)
Tarkett SAS
Original Assignee
Tarkett Sommer SA
Priority date (The priority date is an assumption and is not a legal conclusion. Google has not performed a legal analysis and makes no representation as to the accuracy of the date listed.)
Filing date
Publication date
Application filed by Tarkett Sommer SA filed Critical Tarkett Sommer SA
Publication of EP1262609A1 publication Critical patent/EP1262609A1/fr
Application granted granted Critical
Publication of EP1262609B1 publication Critical patent/EP1262609B1/fr
Anticipated expiration legal-status Critical
Expired - Lifetime legal-status Critical Current

Links

Images

Classifications

    • EFIXED CONSTRUCTIONS
    • E04BUILDING
    • E04FFINISHING WORK ON BUILDINGS, e.g. STAIRS, FLOORS
    • E04F15/00Flooring
    • E04F15/02Flooring or floor layers composed of a number of similar elements
    • EFIXED CONSTRUCTIONS
    • E04BUILDING
    • E04FFINISHING WORK ON BUILDINGS, e.g. STAIRS, FLOORS
    • E04F15/00Flooring
    • E04F15/02Flooring or floor layers composed of a number of similar elements
    • E04F15/04Flooring or floor layers composed of a number of similar elements only of wood or with a top layer of wood, e.g. with wooden or metal connecting members
    • EFIXED CONSTRUCTIONS
    • E04BUILDING
    • E04FFINISHING WORK ON BUILDINGS, e.g. STAIRS, FLOORS
    • E04F2201/00Joining sheets or plates or panels
    • E04F2201/01Joining sheets, plates or panels with edges in abutting relationship
    • E04F2201/0107Joining sheets, plates or panels with edges in abutting relationship by moving the sheets, plates or panels substantially in their own plane, perpendicular to the abutting edges
    • E04F2201/0115Joining sheets, plates or panels with edges in abutting relationship by moving the sheets, plates or panels substantially in their own plane, perpendicular to the abutting edges with snap action of the edge connectors
    • EFIXED CONSTRUCTIONS
    • E04BUILDING
    • E04FFINISHING WORK ON BUILDINGS, e.g. STAIRS, FLOORS
    • E04F2201/00Joining sheets or plates or panels
    • E04F2201/07Joining sheets or plates or panels with connections using a special adhesive material

Definitions

  • the invention relates to a floor covering element, multilayer, laid floating, that is to say not secured to the slab or the structure to be clad with the building that we want to equip.
  • the invention relates to the field of floating poses in which typically a underlay (felt, carpet, ...) or a foam sheet is interposed between the covering and the floor.
  • the covering is fixed (typically glued) on the ground on a slab (often a patched slab covered with a fluid coating forming a bonding bed).
  • an object of the invention is to improve the resistance to the humidity of the coating and more generally, the resistance over time of the element once installed, the risk being that substances will flow or pile up between two joined elements, risking damage.
  • an important characteristic of the invention provides the seal has an adhesive front face to stick against the side in look of the other element, in the mutually locked position of the first and second elements.
  • Another object of the invention is to ensure positioning also perfect as possible of the two adjacent elements, while promoting the holding and joint control.
  • the element provided with the seal has a length with, along this length, a joint made up of a succession of joint sections with a interruption between two successive sections.
  • another characteristic of the invention advises that the joint can be presented as a flange having a naturally erect wing along the edge of the element to which it is attached.
  • Two such elements, 1, 3, typically called boards or slats, are linked together during installation, by interlocking means materialized here by a male element 15 for element 3 and one per element complementary female 17, for element 1.
  • the two means 15, 17, are located on at least one of the sides, such as 19a and 19'a of the elements concerned, at the location of at least one of their edge (vertical).
  • system clip acting by interlocking and elastic wedging.
  • Either of these interlocking means 15, 17 is (are) topped by at least one seal such as 21.
  • the seal 21 is a seal for liquids which is housed at the level of the second layer 9.
  • This seal seals when it is pressed against the side in look of the adjacent element, i.e. when the two elements 1, 3, are interlocked, and therefore blocked by fitting 15 into 17, the joint then being in a projecting position, between the elements.
  • the joint used is a malleable polyolefin adhesive (can be crushed more or less elastic at room temperature) and having a power sticky higher than a temperature close to its temperature of softening (melting) only at room temperature. At this temperature, ambient, it can stick repeatedly.
  • the seal is placed hot on the slice of the slat to which it must adhere. It is therefore placed just above of the interlocking zone 41, at the location of the support layer 9 underlying the wear layer 5. Its temperature at the outlet of the removal is between 160 ° C and 220 ° C (to within 10 ° C).
  • the cord (full) deposited by this nozzle progresses between 15 m / min and 25 m / min (to within 20%) and deposit between 0.1 g and 1.5 g / mL (linear meter). Once glued to this slice, let the cord cool.
  • the interlocking created by the cooperation (snap-in) of male and female elements 15, 17, causes adhesion of the seal to the edge of the adjacent slat which comes to press against it.
  • the pressure exerted during of this contact is between approximately 1.5 kg / cm and 7 kg / cm (typically, approximately 2 to 4 kg / cm for a layer of HDF and approximately 4 to 6 kg / cm for a layer 9 of softwood batten).
  • hot melt polyolefin based glue hot melt polyolefin glue
  • pressure sensitive hot melt polyolefin based glue thermoplastic, in particular of polypropylene, for its reliability and ease of installation advantages artwork.
  • the bead forming the joint can be continuous or discontinuous, depending on the degree of tightness desired.
  • the wall can be plane.
  • a protrusion 25 has been arranged in projection on the edge 19'a, at the level of the second layer 9, opposite said joint, now marked 21 '.
  • this hard, rigid outgrowth (typically based of wood if it was formed from material with layer 9) has been made towards the lower part of the seal when it is in position (or in a state) no active as in FIG. 2, the protuberance 25 having even been here conformed and arranged to block any possible downward movement of the seal when is overwritten in the active position as in Figure 3.
  • the projection 25 shown in view enlarged in FIG. 4 presents an upper face 25a overall oblique to line 100 embodying the general plane in which extend the elements (see Figure 7), but also present, at the place of its free apex 25b a projection which defines an obstacle preventing any exit from the joint downwards, the apex then being located at the end lower joint when the two elements 1, 3, are fitted as on the figure 3.
  • the (each) seal such as 21 ' is preferably housed in a cavity 27 formed, in FIG. 2, in hollow relative to the general vertical plane of the section 19a.
  • the seal 21 ' of Figure 2 is a hollow joint (which can typically appear as a tubular tube) mechanically forcibly engaged in an orifice 29 formed in the bottom of the cavity 27. Notches 31 effectively retain the seal which, in this non-active position, protrudes clearly outside the cavity, the empty interior space 33a of its bead portion 33 allowing it to be effectively crushed and deformed when interlocking the elements.
  • the seal 21 'further has an upright upper wing 35 which extends to the level of the upper layer 5 against which it is supported, favoring an effective positioning of the joint in its active state.
  • At least the front face 37 of the rod portion of the seal is adhesive so that the seal sticks against the area opposite the edge 19'a.
  • a gap 39 remains above the zone 19a 1 , this gap extending, with a reduced width (see d 2 with respect to d 1 in FIG. 3) over the entire height of the first layer 5 of each of the elements.
  • the seal 21, then in the crushed active position extends essentially above the level of the apex 25b, a marginal part of the seal extending below, but only up to the place of the upper limit of the support area 19a 1 , thus avoiding any interference between the sealing area of the gap 39 and the interlocking area 41 bordered above and below by the contact areas 19a 1 and 19a 2 .
  • wing 35 which provides a stabilization of the joint during its deformation and increases the tightness at the place of the upper layer 5.
  • This wing 35 extends (at least essentially) to the look of this upper layer 5, while the tubular bead 33 extends at the location of the gap 39, at the second layer 9, this both in the active and inactive state of the seal.
  • Figure 6 shows that the (each) joint element may overflow from this cavity, in the non-active state of said seal.
  • each joint part is curved outwards and overflows from the corresponding cavity, 55, 55 'respectively.
  • Each part of the joint is linked to the location of its zone back (for example, by adhesion) to an insert (respectively 57, 57 ') anchored in the thickness of the second layer 9 "of each element 1", 3 ", of covering ready to be assembled.
  • the anchoring can be carried out by a notched end, respectively 59, 59 ', forcibly engaged.
  • the two cavities and the two joint parts face each other and are located on the same level.
  • the control of the upward deformation of the joint is less precise.
  • the design of the contact zone 19 "a 1 is adapted to prevent the seals from descending clearly in the direction of the interlocking zone 41".
  • the gap 61 with a depth of 2 (relative to the slightly protruding end of the wall 19 "a 1 ) reserved above the joint 51 up to the upper surface 5" a allows the two elements to seal 51, 51 ', to naturally take their active compressed position above said zone 19 "to 1 .
  • the projecting front part 53, 53 ′ of said seals will be coated with a protective film (not shown to avoid overload the figure).
  • the perspective therefore makes it possible to show the plane (in general typically horizontal) 100 in which each covering element, such as that partially shown in this figure and identified 20.
  • the figure shows the male locking element 115 formed of material, projecting, at the level of the second layer 90. Above the bead interlocking 115 extends the area 119 of contact between the elements of coating, preventing the seal 125 still located above from reaching the area of the bead 115, in the compressed active state of the joint, when the bead 115 is locked.
  • the seal 125 is interrupted (in its non-active state) before having reached the level of the first upper layer 50 of the element 20.
  • the front face 50a of this layer 5 thus that the part of the front face 90a of the second layer 90 which extends it in the same vertical are offset in depth by a distance d 20 relative to the vertical plane in which the wall 119 extends, so as to reserve a gap 610 for deploying the seal 125 when the element 20 is locked to its adjacent complementary element, as shown in FIG. 3.
  • FIG. 7 An additional interest of figure 7 is to show that the joint 125 extends horizontally, parallel to the general plane 100, to the like a housed band (in this case entirely in its inactive state) in the cavity 270 hollowed out on the front surface of the second layer 90.
  • the joint 125 has a length horizontally, materialized here by the frame L and, along this length, looks like a succession of joint sections, such as 125a, 125b, with an interruption, such as 150a, 150b, between two adjacent sections.
  • each joint can be a sticky putty ("adhesive, hot melt putty ").

Landscapes

  • Engineering & Computer Science (AREA)
  • Architecture (AREA)
  • Civil Engineering (AREA)
  • Structural Engineering (AREA)
  • Life Sciences & Earth Sciences (AREA)
  • Wood Science & Technology (AREA)
  • Floor Finish (AREA)
  • Laminated Bodies (AREA)
  • Details Of Aerials (AREA)
  • Road Signs Or Road Markings (AREA)
  • Carpets (AREA)
  • Building Environments (AREA)

Abstract

L'invention concerne un élément de revêtement de sol, multicouche, à poser flottant comprenant une première couche dure (5), et au moins une deuxième couche sous-jacente (9) de support de la première couche, cette deuxième couche comprenant des moyens d'interverrouillage (15, 17) Un joint (21) déformable est disposé à l'écart des moyens d'interverrouillage, pour assurer, dans une position en saillie sur la tranche (19a), une étanchéité aux liquides lorsqu'il est écrasé contre un côté d'un élément adjacent (3) par rapprochement des deux éléments et verrouillage mutuel entre eux.

Description

L'invention concerne un élément de revêtement de sol, multicouche, posé flottant, c'est-à-dire non solidarisé avec la dalle ou la structure à revêtir du bâtiment que l'on veut équiper.
En particulier, l'invention concerne un revêtement consistant en un élément, ou un ensemble d'éléments :
  • d'un "vrai parquet" dont la couche de surface est (essentiellement) en bois et se présente sous la forme d'une ou plusieurs lame(s) (également appelées planches, frises, lattes, ...),
  • ou d'un "similiparquet" (appelé également "faux parquet" ou "laminé", c'est-à-dire un revêtement ayant l'aspect d'un parquet mais contenant beaucoup moins de bois qu'un "vrai parquet"), tant le parquet que le similiparquet étant à poser flottant.
Dans le domaine de ces revêtements, deux techniques de pose sont privilégiées :
  • les poses flottantes,
  • les poses collées.
Comme on 1'a compris, l'invention se rapporte au domaine des poses flottantes dans lequel typiquement une thibaude (feutre, moquette,...) ou une feuille de mousse est interposée entre le revêtement et le sol.
Dans l'autre technique, le revêtement est fixé (typiquement collé) au sol sur une dalle (souvent une dalle ragréée recouverte d'un enduit fluide formant un lit de collage).
En l'espèce, un objet de l'invention est d'améliorer la résistance à l'humidité du revêtement et plus généralement, la tenue dans le temps de l'élément une fois posé, le risque étant que des substances viennent couler ou s'amasser entre deux éléments joints, risquant d'entraíner des dégradations.
Dans le domaine général des revêtements à poser flottant, on connaít déjà des éléments multicouches présentant plusieurs côtés, une tranche, s'étendant dans un plan général et comprenant :
  • une première couche rigide dure, présentant une face supérieure visible,
  • et au moins une deuxième couche sous-jacente mécaniquement résistante, rigide, de support de la première couche, cette deuxième couche sous-jacente comprenant des moyens d'interverrouillage adaptés pour coopérer mécaniquement avec des moyens complémentaires d'interverrouillage dont est pourvu un deuxième élément adapté pour coopérer avec le premier et qui comprend les mêmes dites première et seconde couches, la deuxième couche du premier ou du deuxième élément comprenant en outre un joint déformable fixé à elle , sur au moins l'un de ses côtés à l'écart des moyens d'interverrouillage qui y sont prévus et en regard de l'autre élément, le joint étant adapté pour assurer, dans une position en saillie sur la tranche, une étanchéité aux liquides lorsqu'il est écrasé contre ledit côté en regard de l'autre élément par rapprochement des premier et deuxième éléments et verrouillage mutuel entre eux.
Un problème se pose en liaison avec la manière de réaliser et/ou de mettre en place le joint pour accroítre l'efficacité de l'étanchéité, la facilité de mise en oeuvre du joint, en diminuant les coûts.
Dans ce but, une caractéristique importante de l'invention prévoit que le joint présente une face frontale adhésive pour coller contre le côté en regard de l'autre élément, en position de verrouillage mutuel des premier et deuxième éléments.
Définir la nature du joint s'est avéré important pour renforcer les critères précités.
Aussi conseille-t-on la reproduction alternative ou combinée des caractéristiques suivantes :
  • le joint est une colle polyoléfine malléable, ayant un pouvoir collant supérieur à une température proche de sa température de ramollissement qu'à température ambiante,
  • le joint est collé plus solidement au premier élément qu'au second élément, et est collable et décollable de façon répétitive à ce second élément, à température ambiante,
  • le joint est un cordon malléable collant thermoplastique, en particulier en polypropylène, pouvant coller de façon répétitive à température ambiante.
Un autre objet de l'invention est d'assurer un positionnement aussi parfait que possible des deux éléments adjacents, tout en favorisant la tenue et le contrôle du joint.
Aussi est-il conseillé que :
  • l'un au moins des éléments présente sur au moins un de ses côtés, une forme en creux où est disposé le joint,
  • et l'autre élément présente en regard de la forme en creux une excroissance adaptée pour qu'une partie au moins du joint soit déformée par cette excroissance lors de l'interverrouillage des éléments.
Dans l'invention, il est en outre à noter qu'une attention particulière a été portée à la position du joint, à l'efficacité de sa fonction vis-à-vis de la constitution structurelle de chaque élément et vis-à-vis de la manière dont ces derniers sont réunis entre eux par leurs moyens d'interverrouillage.
Aussi, une caractéristique de l'invention conseille que :
  • le joint soit disposé, sur l'un desdits éléments, exclusivement au-dessus des moyens d'interverrouillage, au niveau de la deuxième couche,
  • et que les moyens d'interverrouillage de ces éléments, eux-mêmes situés au niveau de cette deuxième couche, se verrouillent mutuellement par emboítement, dans une première position de blocage relatif des éléments suivant une direction parallèle ou sensiblement parallèle au plan général alors commun desdits éléments, lesquels sont déverrouillables à partir de leur dite première position de blocage, par décalage en hauteur d'un élément par rapport à l'autre, tel par exemple qu'une inclinaison d'un élément par rapport à l'autre,
  • et le joint, lié fixement au premier élément, adhère à l'autre élément sous une pression créée par l'interverrouillage des deux éléments comprise entre 1,5 kg/cm et 7 kg/cm, environ (à 10 % près).
Encore pour favoriser un positionnement particulièrement efficace du joint en position active, on conseille en outre :
  • que l'excroissance présente une face supérieure globalement oblique par rapport au plan général de l'(des) élément(s) considéré(s), cette face se terminant par un apex libre situé en regard d'une partie de la cavité qui lui fait face, en position de blocage, pour solliciter le joint à se déformer au moins partiellement vers le haut,
  • et, dans ce cas, que l'excroissance, à l'endroit de son apex, puisse présenter une saillie qui définisse un obstacle interdisant une sortie du joint vers le bas.
Ainsi, on limite les risques d'interférence (coincement, ...) avec la zone où sont constitués les moyens d'interverrouillage et on favorise l'effet protecteur assuré vis-à-vis du joint.
Pour favoriser par ailleurs la prise en compte des dilatations et autres mouvements possibles au sein d'un élément ou entre éléments adjacents réunis, on conseille par ailleurs que, suivant son plan général, l'élément pourvu du joint présente une longueur avec, suivant cette longueur, un joint constitué en une succession de tronçons de joint avec une interruption entre deux tronçons successifs.
Dans un mode de réalisation favorable, alliant un bon contrôle en déformation et une bonne efficacité en étanchéité, une autre caractéristique de l'invention conseille que le joint puisse se présenter comme un boudin présentant une aile naturellement dressée le long de la tranche de l'élément auquel il est fixé.
Une description plus détaillée de l'invention va maintenant être fournie en relation avec les dessins annexés dans lesquels :
  • la figure 1 montre, en coupe, deux éléments adjacents de revêtement de sol, dans un état non verrouillé, en regard l'un de l'autre,
  • la figure 2 montre une variante de réalisation de la figure 1,
  • la figure 3 montre les éléments de la figure 2 dans leur état verrouillé,
  • la figure 4 montre le détail IV de la figure 2, en vue agrandie,
  • la figure 5 montre le joint de la figure 2 seul, en vue agrandie,
  • la figure 6 montre une autre alternative de réalisation, toujours dans l'état face à face, non verrouillé des deux éléments de revêtement,
  • la figure 7 montre, en vue agrandie, une perspective locale d'un élément de revêtement pourvu d'un joint d'étanchéité allongé, en forme de ruban discontinu,
  • et la figure 8 montre schématiquement, en coupe, un "faux-parquet" ou "laminé".
Sur la figure 1, on voit deux éléments adjacents de revêtement de sol 1, 3, de type "vrai parquet".
Ainsi, chaque élément comprend :
  • une couche supérieure (ou couche d'usure) rigide, dure et pleine 5, contenant du bois (typiquement constituée de bois), présentant une face supérieure d'aspect visible et continu 5a, cette couche supérieure (typiquement d'une épaisseur comprise entre 1,5 mm et 10 mm) pouvant être recouverte d'une couche protectrice, telle que du vernis, de l'huile ou une cire, 7,
  • une deuxième couche sous-jacente, 9, de support de la couche supérieure, située immédiatement sous elle, cette deuxième couche qui est en un matériau rigide contenant du bois (y compris les particules agglomérées) pouvant être continue ou discontinue (en présentant alors une série de fentes susceptibles d'être formées par des tasseaux espacés les uns des autres), cette deuxième couche ayant typiquement une épaisseur comprise entre 0,3 mm et 8 mm,
  • avantageusement, une couche pleine de contrebalancement 11, dure, contenant du bois (y compris les particules agglomérées) et s'étendant alors (lorsqu'elle existe) immédiatement sous la seconde couche 9, pour la tenue mécanique du parquet dans son ensemble, et tout particulièrement de la couche supérieure 5 (épaisseur comprise entre 0,1 mm et 5 mm),
  • et/ou une couche d'insonorisation 13 (voir figure 2), en un matériau acoustiquement absorbant (mousse, masse lourde, ...) située soit directement sous la couche de contrebalancement 11, soit directement sous la seconde couche 9 (étant précisé que, hormis cette couche d'insonorisation 13, qui peut être rapportée après fabrication, les autres sont liées ensemble au moment de la fabrication du parquet, typiquement par collage sous pression).
Deux tels éléments, 1, 3, typiquement appelés planches ou lattes, sont liés entre eux lors de la pose, par des moyens d'interverrouillage matérialisés ici par un élément mâle 15 pour l'élément 3 et un par élément femelle complémentaire 17, pour l'élément 1.
Les deux moyens 15, 17, sont situés sur l'un au moins des côtés, tels que 19a et 19'a des éléments concernés, à l'endroit de l'une au moins de leur tranche (verticale).
Ils sont plus particulièrement ménagés au niveau de la deuxième couche 9 pour une meilleure efficacité.
Il s'agit ici de moyens d'interverrouillage connus sous l'appellation "clip système" agissant par emboítement et coincement élastique.
Différents types de tels moyens existent déjà. Dans chaque cas, il y a verrouillage mutuel par emboítement de l'excroissance 15 dans la cavité 17, après que l'élément porteur de l'excroissance 15 ait été présenté décalé en hauteur par rapport à la cavité 17 (une présentation inclinée par rapport au plan horizontal repéré 100, sur la figure 5, étant particulièrement favorable), un déplacement angulaire permettant ensuite de verrouiller élastiquement les deux éléments entre eux, par coincement élastique, lors du rabattement de l'élément incliné dans le plan général 100.
L'un ou l'autre de ces moyens d'interverrouillage 15, 17, est(sont) surmonté(s) par au moins un joint d'étanchéité tel que 21.
En l'espèce, il s'agit du moyen femelle 17. Sur la figure 2, c'est l'élément mâle 15 de la pièce 3.
Le joint 21 est un joint d'étanchéité aux liquides qui est logé au niveau de la seconde couche 9.
Il s'agit d'un joint déformable qui est disposé sur la tranche de l'élément concerné, et sur l'un au moins de ses côtés, tel qu'en l'espèce le côté 19a, au-dessus de la zone 41 d'interverrouillage des éléments.
Ce joint assure l'étanchéité lorsqu'il est écrasé contre le côté en regard de l'élément adjacent, c'est-à-dire lorsque les deux éléments 1, 3, sont interverrouillés, et donc bloqués par emboítement de 15 dans 17, le joint étant alors dans une position en saillie, entre les éléments.
Le joint utilisé est une colle polyoléfine malléable (écrasable de façon plus ou moins élastique à température ambiante) et ayant un pouvoir collant supérieur à une température proche de sa température de ramollissement (fusion) qu'à température ambiante. A cette température, ambiante, il peut coller de façon répétitive. Le joint est déposé chaud sur la tranche de la latte à laquelle il doit adhérer. Il est donc déposé juste au-dessus de la zone d'interverrouillage 41, à l'endroit de la couche support 9 sous-jacente à la couche d'usure 5. Sa température en sortie de la buse de dépose est comprise entre 160°C et 220°C (à 10°C près). Le cordon (plein) déposé par cette buse progresse entre 15 m/mn et 25 m/mn (à 20 % près) et on dépose entre 0,1 g et 1,5 g/mL (mètre linéaire). Une fois collé à cette tranche, on laisse le cordon refroidir. Au moment de l'assemblage des lattes ensemble, l'interverrouillage créé par la coopération (l'encliquetage) des éléments mâle et femelle 15, 17, entraíne une adhésion du joint à la tranche de la latte adjacente qui vient se plaquer contre lui. La pression exercée lors de ce contact est comprise entre environ 1,5 kg/cm et 7 kg/cm (typiquement, environ 2 à 4 kg/cm pour une couche en HDF et environ 4 à 6 kg/cm pour une couche 9 en latté résineux). C'est du fait de cette pression d'encliquetage qu'il y a écrasement et collage du cordon à la tranche de la latte adjacente et ainsi création d'un cordon d'étanchéité formant un joint particulièrement efficace, étant précisé que ce collage est "séparable", c'est-à-dire qu'en cas de démontage des lattes (typiquement à température ambiante), le joint se décolle de la latte adjacente, en restant par contre collé sur la tranche de la latte où il a été déposé à chaud. Si l'on verrouille à nouveau les lattes ensemble, plus tard, le joint colle à nouveau à la latte adjacente.
On notera que ce type de joint est connu sous les dénominations "hot melt polyolefin based glue" (colle à base de polyoléfine thermofusible) ou "pressure sensitive (sensible à la pression) hot melt polyolefin based glue". Il s'agira avantageusement d'un thermoplastique, en particulier de polypropylène, pour ses avantages de fiabilité et de facilité de mise en oeuvre.
Sur sa longueur, le cordon formant le joint peut être continu ou discontinu, suivant le degré d'étanchéité souhaité.
En regard, sur la tranche de la latte adjacente, la paroi peut être plane.
En relation avec le joint, et comme sur la figure 2, une excroissance 25 a été ménagée en saillie sur la tranche 19'a, au niveau de la seconde couche 9, en regard dudit joint, maintenant repéré 21'.
De préférence, cette excroissance dure, rigide (typiquement à base de bois si elle a été formée de matière avec la couche 9) a été ménagée vers la partie basse du joint lorsque celui-ci est en position (ou dans un état) non actif comme sur la figure 2, l'excroissance 25 ayant même été ici conformée et disposée pour bloquer tout mouvement possible du joint vers le bas lorsqu'il est écrasé en position active comme sur la figure 3.
Pour cela, non seulement l'excroissance 25 montrée en vue agrandie sur la figure 4 présente une face supérieure 25a globalement oblique par rapport à la ligne 100 matérialisant le plan général dans lequel s'étendent les éléments (cf. figure 7), mais également présente, à l'endroit de son apex libre 25b une saillie qui définit un obstacle interdisant toute sortie du joint vers le bas, l'apex étant alors situé au niveau de la partie extrême basse du joint lorsque les deux éléments 1, 3, sont emboítés comme sur la figure 3.
Pour son efficacité en position active et sa tenue (voire sa protection), le(chaque) joint tel que 21' est de préférence logé dans une cavité 27 formée, sur la figure 2, en creux par rapport au plan général vertical de la tranche 19a.
Comme on peut le voir en vue agrandie sur la figure 5, le joint 21' de la figure 2 est un joint creux (qui peut typiquement se présenter comme un boudin tubulaire) engagé mécaniquement à force dans un orifice 29 formé dans le fond de la cavité 27. Des crans 31 retiennent efficacement le joint lequel, dans cette position non active, déborde nettement hors de la cavité, l'espace intérieur vide 33a de sa partie en bourrelet 33 lui permettant d'être efficacement écrasé et déformé lors de l'interverrouillage des éléments.
Le joint 21' présente en outre une aile supérieure dressée 35 qui s'étend jusqu'au niveau de la couche supérieure 5 contre laquelle elle s'appuie, favorisant un positionnement efficace du joint dans son état actif.
Au moins la face frontale 37 de la partie en boudin du joint est adhésive pour que le joint colle contre la zone en regard de la tranche 19'a.
Sur la figure 3, on peut constater qu'en position de blocage à plat du moyen de verrouillage mâle 15 dans le moyen complémentaire femelle 17, les deux tranches 19a et 19'a des deux éléments 1, 3, réunis, sont au contact l'une de l'autre à l'endroit des deux zones 19a1 et 19a2 situées de façon immédiatement adjacente auxdits moyens 15,17, respectivement juste au dessus et juste en dessous d'eux.
Par contre, un interstice 39 demeure au dessus de la zone 19a1, cet interstice se prolongeant, avec une largeur réduite (voir d2 par rapport à d1 sur la figure 3) sur toute la hauteur de la première couche 5 de chacun des éléments. Ainsi, le joint 21, alors en position active écrasée, s'étend essentiellement au dessus du niveau de l'apex 25b, une partie marginale du joint s'étendant en dessous, mais uniquement jusqu'à l'endroit de la limite supérieure de la zone d'appui 19a1, évitant ainsi toute interférence entre la zone d'étanchéité de l'interstice 39 et la zone d'interverrouillage 41 bordée au dessus et en dessous par les zones de contact 19a1 et 19a2.
Dans l'exemple de la figure 3, c'est l'aile 35 qui assure une stabilisation du joint lors de sa déformation et accroít l'étanchéité à l'endroit de la couche supérieure 5. Cette aile 35 s'étend (au moins essentiellement) au regard de cette couche supérieure 5, tandis que le bourrelet tubulaire 33 s'étend à l'endroit de l'interstice 39, au niveau de la seconde couche 9, ceci tant dans l'état actif que non actif du joint.
La figure 6 (comme d'ailleurs la figure 2) montre que l'(chaque) élément de joint peut déborder de cette cavité, dans l'état non actif dudit joint.
Ainsi, sur la figure 6, on trouve à nouveau un joint en deux parties, 51, 51', tel qu'un joint caoutchouteux (joint à base de caoutchouc synthétique ou de butyle, par exemple).
La face frontale, respectivement 53, 53', de chaque partie de joint est bombée vers l'extérieur et déborde de la cavité correspondante, respectivement 55, 55'. Chaque partie de joint est liée à l'endroit de sa zone dorsale (par exemple, par adhésion) à un insert (respectivement 57, 57') ancré dans l'épaisseur de la seconde couche 9" de chaque élément 1", 3", de revêtement prêt à être réuni.
L'ancrage peut s'effectuer par un embout cranté, respectivement 59, 59', engagé à force.
Les deux cavités ainsi que les deux parties de joint se font face et sont situées au même niveau.
On peut considérer que chacun constitue une excroissance "souple" de déformation vis-à-vis de l'autre.
Dans ce cas, le contrôle de la déformation vers le haut du joint est moins précis. Toutefois, le dessin de la zone de contact 19"a1 est adapté pour interdire aux joints de descendre nettement en direction de la zone d'interverrouillage 41". Par contre, l'interstice 61 de profondeur d'2 (par rapport à l'extrémité légèrement en saillie de la paroi 19"a1) réservé au dessus du joint 51 jusqu'à la surface supérieure 5"a permet aux deux éléments de joint 51, 51', de prendre naturellement leur position active comprimée au dessus de ladite zone 19"a1.
De préférence, la partie frontale saillante 53, 53' desdits joints sera revêtue d'une pellicule de protection (non représentée pour éviter de surcharger la figure).
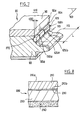
Sur la figure 7, la perspective permet donc de montrer le plan (en général typiquement horizontal) 100 dans lequel s'étend globalement chaque élément de revêtement, tel que celui représenté partiellement sur cette figure et repéré 20.
La figure montre l'élément de verrouillage mâle 115 formé de matière, en saillie, au niveau de la seconde couche 90. Au dessus du bourrelet d'interverrouillage 115 s'étend la zone 119 de contact entre les éléments de revêtement, empêchant le joint 125 situé encore au-dessus d'atteindre la zone du bourrelet 115, dans l'état actif comprimé du joint, lorsque le bourrelet 115 est verrouillé.
Toujours dans le sens de la hauteur, le joint 125 s'interrompt (dans son état non actif) avant d'avoir atteint le niveau de la première couche supérieure 50 de l'élément 20. La face frontale 50a de cette couche 5, ainsi que la partie de la face frontale 90a de la seconde couche 90 qui la prolonge dans la même verticale sont décalées en profondeur d'une distance d20 par rapport au plan vertical dans lequel s'étend la paroi 119, de manière à réserver un interstice 610 de déploiement du joint 125 lorsque l'élément 20 sera verrouillé à son élément complémentaire adjacent, à l'image de ce qui est illustré sur la figure 3.
Un intérêt complémentaire de la figure 7 est de montrer que le joint 125 s'étend horizontalement, parallèlement au plan général 100, à la manière d'une bande logée (en l'espèce entièrement dans son état inactif) dans la cavité 270 formée en creux à la surface frontale de la seconde couche 90.
Le joint 125 présente horizontalement une longueur, matérialisée ici par le repère L et, suivant cette longueur, se présente comme une succession de tronçons de joint, tels que 125a, 125b, avec une interruption, telle que 150a, 150b, entre deux tronçons adjacents.
Ceci peut favoriser le passage du joint dans son état actif, ainsi que l'absorption des contraintes et déformations.
A noter que le(chaque) joint peut être un mastic collant ("adhésive, hot melt putty").
Sur la figure 8, on voit un autre type de revêtement, typiquement appelé "laminé" (ou faux parquet) susceptible d'être équipé de l'un des systèmes d'interverrouillage et de joint précités.
L'illustration de la figure 8 montre partiellement un tel laminé repéré 200.
Ce laminé comprend :
  • une couche supérieure rigide, dure et pleine, en résine, 210, présentant une face supérieure d'aspect, visible, continue, 210a, ainsi qu'une face inférieure 210b, également continue ;
  • une feuille intermédiaire décorative 230 (papier, bois, ...) donnant au produit son aspect visible à travers la couche supérieure transparente 210,
  • une seconde couche sous-jacente 250, rigide, de support de la couche supérieure 210 et située immédiatement sous la couche 230, cette deuxième couche en matériau rigide contenant du bois (particules ou fibres ; HDF) lié par une résine synthétique et présentant une épaisseur comprise entre 0,1 mm et 3 mm,
  • et éventuellement, une couche supplémentaire d'insonorisation 290 qui peut être identique à la couche 13 présentée pour le "vrai parquet", c'est-à-dire contenant une matière expansée et/ou un matériau viscoélastique (élastomère), étant toutefois précisé que ladite couche d'insonorisation 290 est alors située immédiatement sous la couche de soutien et de structuration 250.

Claims (10)

  1. Eléments de revêtement de sol comprenant un premier élément (3) de revêtement de sol, multicouche, à poser flottant, présentant plusieurs côtés, une tranche, ce premier élément comprenant :
    une première couche rigide dure (5, 5', 50, 21), présentant une face supérieure visible,
    et au moins une deuxième couche sous-jacente (9, 9', 90, 250) mécaniquement résistante, rigide, de support de la première couche, cette deuxième couche sous-jacente comprenant des moyens d'interverrouillage (15, 115) adaptés pour coopérer mécaniquement avec des moyens complémentaires (17) d'interverrouillage dont est pourvu un deuxième élément (1) adapté pour coopérer avec le premier et qui comprend les mêmes dites première et seconde couches, la deuxième couche du premier ou du deuxième élément (1, 3) comprenant en outre un joint déformable (21 ; 21'; 45, 45', 51, 51', 125) fixé à elle (19a), sur au moins l'un de ses côtés à l'écart des moyens d'interverrouillage qui y sont prévus et en regard de l'autre élément, le joint étant adapté pour assurer, dans une position en saillie sur la tranche, une étanchéité aux liquides lorsqu'il est écrasé contre ledit côté (19'a) en regard de l'autre élément par rapprochement des premier et deuxième éléments et verrouillage mutuel entre eux,
    caractérisés en ce que le joint (21') présente une face frontale (37) adhésive pour coller contre le côté en regard (19'a) de l'autre élément, en position de verrouillage mutuel des premier et deuxième éléments (1, 3).
  2. Éléments selon la revendication 1, caractérisés en ce que le joint (21) est une colle polyoléfine malléable, ayant un pouvoir collant supérieur à une température proche de sa température de ramollissement qu'à température ambiante.
  3. Éléments selon la revendication 1 ou la revendication 2, caractérisés en ce que le joint (21) est collé plus solidement au premier élément qu'au second élément, et est collable et décollable de façon répétitive à ce second élément, à température ambiante.
  4. Éléments selon l'une des revendications précédentes, caractérisés en ce que le joint (21) est un cordon malléable collant thermoplastique, en particulier en polypropylène, pouvant coller de façon répétitive à température ambiante.
  5. Éléments selon l'une des revendications précédentes, dans lesquels :
    l'un au moins des éléments présente sur au moins un de ses côtés, une forme en creux (55', 27) où est disposé le joint (51, 21'),
    et l'autre élément présente en regard de la forme en creux une excroissance (25, 53') adaptée pour qu'une partie au moins du joint soit déformée par cette excroissance lors de l'interverrouillage des éléments.
  6. Éléments selon l'une quelconque des revendications précédentes, dans lesquels :
    le joint (21; 21' ; 47, 47' ; 53, 53' ; 125) est disposé sur l'un desdits éléments, exclusivement au-dessus des moyens d'interverrouillage, au niveau de la deuxième couche (9, 9', 9", 90),
    les moyens d'interverrouillage (15, 17; 115) de ces éléments, situés également au niveau de cette deuxième couche, se verrouillent mutuellement par emboítement, dans une première position de blocage relatif des éléments, suivant une direction parallèle ou sensiblement parallèle au plan général alors commun desdits éléments, lesquels sont déverrouillables à partir de leur dite première position de blocage, par décalage en hauteur d'un élément par rapport à l'autre, tel par exemple qu'une inclinaison d'un élément par rapport à l'autre,
    et le joint (21), lié fixement au premier élément, adhère à l'autre élément sous une pression créée par l'interverrouillage des deux éléments comprise entre 1,5 kg/cm et 7 kg/cm.
  7. Éléments de revêtement de sol selon la revendication 5, caractérisés en ce que l'excroissance (25) présente une face supérieure (25a) globalement oblique par rapport au plan général de l'(des) élément(s) considéré(s), cette face se terminant par un apex libre (25b) situé en regard d'une partie de la forme en creux qui lui fait face, en position de blocage, pour solliciter le joint à se déformer, au moins partiellement vers le haut.
  8. Éléments selon la revendication 7, caractérisés en ce que l'excroissance (25) à l'endroit de son apex (25b) présente une saillie qui définit un obstacle interdisant une sortie du joint vers le bas.
  9. Éléments selon l'une quelconque des revendications précédentes, caractérisés en ce que, suivant son plan général (100), l'élément pourvu du joint présente une longueur (L) et, suivant cette longueur, ledit joint consiste en une succession de tronçons de joint (125a, 125b) avec une interruption (150a, 150b) entre deux tronçons successifs.
  10. Éléments selon l'une quelconque des revendications précédentes, caractérisés en ce que le joint (21') se présente comme un boudin (33) présentant une aile (35) naturellement dressée le long de la tranche de l'élément auquel il est fixé.
EP02291309A 2001-06-01 2002-05-29 Eléments de revêtement de sol à joint d'étanchéité Expired - Lifetime EP1262609B1 (fr)

Applications Claiming Priority (2)

Application Number Priority Date Filing Date Title
FR0107251A FR2825397B1 (fr) 2001-06-01 2001-06-01 Element(s) de revetement de sol a joint d'etancheite
FR0107251 2001-06-01

Publications (2)

Publication Number Publication Date
EP1262609A1 true EP1262609A1 (fr) 2002-12-04
EP1262609B1 EP1262609B1 (fr) 2006-07-19

Family

ID=8863903

Family Applications (1)

Application Number Title Priority Date Filing Date
EP02291309A Expired - Lifetime EP1262609B1 (fr) 2001-06-01 2002-05-29 Eléments de revêtement de sol à joint d'étanchéité

Country Status (5)

Country Link
EP (1) EP1262609B1 (fr)
AT (1) ATE333545T1 (fr)
DE (1) DE60213161T2 (fr)
ES (1) ES2266423T3 (fr)
FR (1) FR2825397B1 (fr)

Cited By (44)

* Cited by examiner, † Cited by third party
Publication number Priority date Publication date Assignee Title
WO2004016422A1 (fr) 2002-08-14 2004-02-26 Shaw Industries Group, Inc. Revetement de sol a rainure et languette resistant a l'eau
US6766622B1 (en) * 1998-07-24 2004-07-27 Unilin Beheer B.V. Floor panel for floor covering and method for making the floor panel
EP1593796A1 (fr) * 2004-05-07 2005-11-09 Nordson Corporation Elément plan et procédé pour former les moyens de liaison latéraux d'éléments plans
US7051486B2 (en) 2002-04-15 2006-05-30 Valinge Aluminium Ab Mechanical locking system for floating floor
US7137229B2 (en) 2002-03-20 2006-11-21 Valinge Innovation Ab Floorboards with decorative grooves
EP1549486A4 (fr) * 2002-08-14 2006-12-13 Shaw Ind Group Inc Revetement de sol a rainure et languette resistant a l'eau
US7171791B2 (en) 2001-01-12 2007-02-06 Valinge Innovation Ab Floorboards and methods for production and installation thereof
US7386963B2 (en) 1998-06-03 2008-06-17 Valinge Innovation Ab Locking system and flooring board
FR2910034A1 (fr) * 2006-12-13 2008-06-20 Pierre Geraud Procede de realisation d'un parquet a lames adjacentes, et parquet ainsi constitue
US7398625B2 (en) 2000-04-10 2008-07-15 Valinge Innovation Ab Locking system for floorboards
US7441384B2 (en) 2002-08-14 2008-10-28 Columbia Insurance Company Pre-glued tongue and groove flooring
US7454875B2 (en) 2004-10-22 2008-11-25 Valinge Aluminium Ab Mechanical locking system for floor panels
EP1412596B1 (fr) * 2001-07-27 2009-08-26 Välinge Innovation AB Panneau de plancher avec des moyens d'assemblage pour liaison mécanique et des moyens élastiques de compensation
US7584583B2 (en) 2006-01-12 2009-09-08 Valinge Innovation Ab Resilient groove
US7757452B2 (en) 2002-04-03 2010-07-20 Valinge Innovation Ab Mechanical locking system for floorboards
US7802415B2 (en) 2001-07-27 2010-09-28 Valinge Innovation Ab Floor panel with sealing means
US7823359B2 (en) 1993-05-10 2010-11-02 Valinge Innovation Ab Floor panel with a tongue, groove and a strip
EP1497511B1 (fr) * 2002-04-08 2010-12-15 Välinge Innovation AB Panneau de revêtement de sol stratifié
US8011155B2 (en) 2000-01-24 2011-09-06 Valinge Innovation Ab Locking system for mechanical joining of floorboards and method for production thereof
WO2012004700A2 (fr) 2010-07-09 2012-01-12 Flooring Industries Limited, Sarl Panneau pour former un revêtement de sol
US8112891B2 (en) 2003-02-24 2012-02-14 Valinge Innovation Ab Method for manufacturing floorboard having surface layer of flexible and resilient fibers
US8250825B2 (en) 2001-09-20 2012-08-28 Välinge Innovation AB Flooring and method for laying and manufacturing the same
BE1019654A3 (nl) * 2010-07-09 2012-09-04 Flooring Ind Ltd S A R L Paneel voor het vormen van een vloerbekleding.
US8365499B2 (en) 2009-09-04 2013-02-05 Valinge Innovation Ab Resilient floor
US8875464B2 (en) 2012-04-26 2014-11-04 Valinge Innovation Ab Building panels of solid wood
US8925275B2 (en) 2010-05-10 2015-01-06 Flooring Industries Limited, Sarl Floor panel
US8935899B2 (en) 2012-02-02 2015-01-20 Valinge Innovation Ab Lamella core and a method for producing it
US9140010B2 (en) 2012-07-02 2015-09-22 Valinge Flooring Technology Ab Panel forming
US9163414B2 (en) 2010-05-10 2015-10-20 Flooring Industries Limited, Sarl Floor panel
US9200460B2 (en) 2006-06-02 2015-12-01 Flooring Industries Limited, Sarl Floor covering, floor element and method for manufacturing floor elements
US9314936B2 (en) 2011-08-29 2016-04-19 Valinge Flooring Technology Ab Mechanical locking system for floor panels
EP3091140A1 (fr) * 2015-05-05 2016-11-09 Admiral Composite Technologies, Inc. Systeme et elements de pont
US9528278B2 (en) 2009-12-22 2016-12-27 Flooring Industries Limited, Sarl Panel, covering and method for installing such panels
US9605436B2 (en) 2003-12-02 2017-03-28 Valinge Innovation Ab Floorboard, system and method for forming a flooring, and a flooring formed thereof
US9623433B2 (en) 2004-10-05 2017-04-18 Valinge Innovation Ab Appliance and method for surface treatment of a board shaped material and floorboard
CN107938990A (zh) * 2017-12-27 2018-04-20 肇庆乐华陶瓷洁具有限公司 一种防滑地砖
US9975267B2 (en) 2013-08-27 2018-05-22 Valinge Innovation Ab Method for producing a lamella core
US10059084B2 (en) 2014-07-16 2018-08-28 Valinge Innovation Ab Method to produce a thermoplastic wear resistant foil
US10190323B2 (en) 2010-05-10 2019-01-29 Flooring Industries Limited, Sarl Floor panel
US10301830B2 (en) 2013-03-25 2019-05-28 Valinge Innovation Ab Floorboards provided with a mechanical locking system
US10760283B2 (en) 2012-02-23 2020-09-01 Admiral Composite Technologies, Inc. Deck system and components
US11725395B2 (en) 2009-09-04 2023-08-15 Välinge Innovation AB Resilient floor
US12215505B2 (en) 2009-09-04 2025-02-04 Välinge Innovation AB Resilient floor
US12264482B2 (en) 2012-07-02 2025-04-01 Ceraloc Innovation Ab Panel forming

Families Citing this family (17)

* Cited by examiner, † Cited by third party
Publication number Priority date Publication date Assignee Title
US7121059B2 (en) 1994-04-29 2006-10-17 Valinge Innovation Ab System for joining building panels
SE525558C2 (sv) 2001-09-20 2005-03-08 Vaelinge Innovation Ab System för bildande av en golvbeläggning, sats av golvskivor samt förfarande för tillverkning av två olika typer av golvskivor
US8850769B2 (en) 2002-04-15 2014-10-07 Valinge Innovation Ab Floorboards for floating floors
US7677001B2 (en) 2003-03-06 2010-03-16 Valinge Innovation Ab Flooring systems and methods for installation
US7845140B2 (en) 2003-03-06 2010-12-07 Valinge Innovation Ab Flooring and method for installation and manufacturing thereof
SE0300642D0 (sv) * 2003-03-11 2003-03-11 Pergo Europ Ab Process for sealing a joint
US7516588B2 (en) 2004-01-13 2009-04-14 Valinge Aluminium Ab Floor covering and locking systems
US20050166516A1 (en) 2004-01-13 2005-08-04 Valinge Aluminium Ab Floor covering and locking systems
US7841144B2 (en) 2005-03-30 2010-11-30 Valinge Innovation Ab Mechanical locking system for panels and method of installing same
US8215078B2 (en) 2005-02-15 2012-07-10 Välinge Innovation Belgium BVBA Building panel with compressed edges and method of making same
US8061104B2 (en) 2005-05-20 2011-11-22 Valinge Innovation Ab Mechanical locking system for floor panels
WO2008088239A1 (fr) * 2007-01-18 2008-07-24 Yury Andreevich Kutsenko Unité de raccordement de panneaux de construction
DE102007062106B4 (de) * 2007-10-05 2013-04-04 Hamberger Industriewerke Gmbh Verbindung für Fußbodenpaneele
DE102017105146A1 (de) * 2017-03-10 2018-09-13 GKT Gummi- und Kunststofftechnik Fürstenwalde GmbH Bodendielensystem
DE102017105153A1 (de) * 2017-03-10 2018-09-13 GKT Gummi- und Kunststofftechnik Fürstenwalde GmbH Bodendielensystem
EP4119741A1 (fr) * 2021-07-16 2023-01-18 Flooring Industries Limited, SARL Panneau décoratif
WO2023285954A1 (fr) * 2021-07-16 2023-01-19 Flooring Industries Limited, Sarl Panneau décoratif

Citations (2)

* Cited by examiner, † Cited by third party
Publication number Priority date Publication date Assignee Title
DE29703962U1 (de) * 1997-03-05 1997-04-24 Witex AG, 32832 Augustdorf Element zur Erzeugung eines Fußboden- oder Wandflächenbelages, insbesondere Laminatpaneel
DE20001225U1 (de) * 2000-01-14 2000-07-27 Hornitex Werke Gebr. Künnemeyer GmbH & Co. KG, 32805 Horn-Bad Meinberg Profil zum formschlüssigen, leimfreien und wieder lösbaren Verbinden von Fußbodendielen, Paneel oder ähnlichen Bauteilen

Family Cites Families (2)

* Cited by examiner, † Cited by third party
Publication number Priority date Publication date Assignee Title
US4123885A (en) * 1976-04-30 1978-11-07 Cyclops Corporation Building panel joint
DE19946755A1 (de) * 1999-09-29 2001-05-03 Weiss Ausbausysteme Gmbh Platte zur Bodenverlegung, sowie Bodenbelag hieraus

Patent Citations (2)

* Cited by examiner, † Cited by third party
Publication number Priority date Publication date Assignee Title
DE29703962U1 (de) * 1997-03-05 1997-04-24 Witex AG, 32832 Augustdorf Element zur Erzeugung eines Fußboden- oder Wandflächenbelages, insbesondere Laminatpaneel
DE20001225U1 (de) * 2000-01-14 2000-07-27 Hornitex Werke Gebr. Künnemeyer GmbH & Co. KG, 32805 Horn-Bad Meinberg Profil zum formschlüssigen, leimfreien und wieder lösbaren Verbinden von Fußbodendielen, Paneel oder ähnlichen Bauteilen

Cited By (126)

* Cited by examiner, † Cited by third party
Publication number Priority date Publication date Assignee Title
US7823359B2 (en) 1993-05-10 2010-11-02 Valinge Innovation Ab Floor panel with a tongue, groove and a strip
US8033075B2 (en) 1998-06-03 2011-10-11 Välinge Innovation AB Locking system and flooring board
US7386963B2 (en) 1998-06-03 2008-06-17 Valinge Innovation Ab Locking system and flooring board
US6766622B1 (en) * 1998-07-24 2004-07-27 Unilin Beheer B.V. Floor panel for floor covering and method for making the floor panel
US8011155B2 (en) 2000-01-24 2011-09-06 Valinge Innovation Ab Locking system for mechanical joining of floorboards and method for production thereof
US7398625B2 (en) 2000-04-10 2008-07-15 Valinge Innovation Ab Locking system for floorboards
US7171791B2 (en) 2001-01-12 2007-02-06 Valinge Innovation Ab Floorboards and methods for production and installation thereof
US8584423B2 (en) 2001-07-27 2013-11-19 Valinge Innovation Ab Floor panel with sealing means
US7802415B2 (en) 2001-07-27 2010-09-28 Valinge Innovation Ab Floor panel with sealing means
EP2146024A3 (fr) * 2001-07-27 2011-05-25 Välinge Innovation AB Panneaux de plancher dotés de moyens d'étanchéité
EP1412596B1 (fr) * 2001-07-27 2009-08-26 Välinge Innovation AB Panneau de plancher avec des moyens d'assemblage pour liaison mécanique et des moyens élastiques de compensation
US8028486B2 (en) 2001-07-27 2011-10-04 Valinge Innovation Ab Floor panel with sealing means
US8250825B2 (en) 2001-09-20 2012-08-28 Välinge Innovation AB Flooring and method for laying and manufacturing the same
US7137229B2 (en) 2002-03-20 2006-11-21 Valinge Innovation Ab Floorboards with decorative grooves
US7757452B2 (en) 2002-04-03 2010-07-20 Valinge Innovation Ab Mechanical locking system for floorboards
US8381488B2 (en) 2002-04-08 2013-02-26 Valinge Innovation Ab Floorboards for floorings
US9194135B2 (en) 2002-04-08 2015-11-24 Valinge Innovation Ab Floorboards for floorings
EP1497511B1 (fr) * 2002-04-08 2010-12-15 Välinge Innovation AB Panneau de revêtement de sol stratifié
US8245477B2 (en) 2002-04-08 2012-08-21 Välinge Innovation AB Floorboards for floorings
EP2281973A3 (fr) * 2002-04-08 2015-03-18 Välinge Innovation AB Panneau de plancher
US8720151B2 (en) 2002-04-08 2014-05-13 Valinge Innovation Ab Floorboards for flooring
US7051486B2 (en) 2002-04-15 2006-05-30 Valinge Aluminium Ab Mechanical locking system for floating floor
WO2004016422A1 (fr) 2002-08-14 2004-02-26 Shaw Industries Group, Inc. Revetement de sol a rainure et languette resistant a l'eau
US7441384B2 (en) 2002-08-14 2008-10-28 Columbia Insurance Company Pre-glued tongue and groove flooring
EP1549486A4 (fr) * 2002-08-14 2006-12-13 Shaw Ind Group Inc Revetement de sol a rainure et languette resistant a l'eau
US10137659B2 (en) 2003-02-24 2018-11-27 Valinge Innovation Ab Floorboard and method for manufacturing thereof
US8112891B2 (en) 2003-02-24 2012-02-14 Valinge Innovation Ab Method for manufacturing floorboard having surface layer of flexible and resilient fibers
US9410328B2 (en) 2003-02-24 2016-08-09 Valinge Innovation Ab Floorboard and method for manufacturing thereof
US8800150B2 (en) 2003-02-24 2014-08-12 Valinge Innovation Ab Floorboard and method for manufacturing thereof
US9605436B2 (en) 2003-12-02 2017-03-28 Valinge Innovation Ab Floorboard, system and method for forming a flooring, and a flooring formed thereof
EP1593796A1 (fr) * 2004-05-07 2005-11-09 Nordson Corporation Elément plan et procédé pour former les moyens de liaison latéraux d'éléments plans
US9623433B2 (en) 2004-10-05 2017-04-18 Valinge Innovation Ab Appliance and method for surface treatment of a board shaped material and floorboard
US7454875B2 (en) 2004-10-22 2008-11-25 Valinge Aluminium Ab Mechanical locking system for floor panels
US9222267B2 (en) 2006-01-12 2015-12-29 Valinge Innovation Ab Set of floorboards having a resilient groove
US8245478B2 (en) 2006-01-12 2012-08-21 Välinge Innovation AB Set of floorboards with sealing arrangement
US9765530B2 (en) 2006-01-12 2017-09-19 Valinge Innovation Ab Floorboards comprising a decorative edge part in a resilient surface layer
US7584583B2 (en) 2006-01-12 2009-09-08 Valinge Innovation Ab Resilient groove
US7930862B2 (en) 2006-01-12 2011-04-26 Valinge Innovation Ab Floorboards having a resilent surface layer with a decorative groove
US11702847B2 (en) 2006-01-12 2023-07-18 Valinge Innovation Ab Floorboards comprising a decorative edge part in a resilient surface layer
US10450760B2 (en) 2006-01-12 2019-10-22 Valinge Innovation Ab Floorboards comprising a decorative edge part in a resilient surface layer
US8511031B2 (en) 2006-01-12 2013-08-20 Valinge Innovation Ab Set F floorboards with overlapping edges
US11066836B2 (en) 2006-01-12 2021-07-20 Valinge Innovation Ab Floorboards comprising a decorative edge part in a resilient surface layer
US10745921B2 (en) 2006-06-02 2020-08-18 Flooring Industries Limited, Sarl Floor covering, floor element and method for manufacturing floor elements
US10519674B2 (en) 2006-06-02 2019-12-31 Flooring Industries Limited, Sarl Floor covering, floor element and method for manufacturing floor elements
US10975578B2 (en) 2006-06-02 2021-04-13 Flooring Industries Limited, Sarl Floor covering, floor element and method for manufacturing floor elements
US9200460B2 (en) 2006-06-02 2015-12-01 Flooring Industries Limited, Sarl Floor covering, floor element and method for manufacturing floor elements
US9695599B2 (en) 2006-06-02 2017-07-04 Flooring Industries Limited, Sarl Floor covering, floor element and method for manufacturing floor elements
US10975579B2 (en) 2006-06-02 2021-04-13 Flooring Industries Limited, Sarl Floor covering, floor element and method for manufacturing floor elements
US11933055B2 (en) 2006-06-02 2024-03-19 Unilin, Bv Floor covering, floor element and method for manufacturing floor elements
US9890542B2 (en) 2006-06-02 2018-02-13 Flooring Industries Limited, Sarl Floor covering, floor element and method for manufacturing floor elements
US9366037B2 (en) 2006-06-02 2016-06-14 Flooring Industries Limited, Sarl Floor covering, floor element and method for manufacturing floor elements
US10125499B2 (en) 2006-06-02 2018-11-13 Flooring Industries Limited, Sarl Floor covering, floor element and method for manufacturing floor elements
US11680414B2 (en) 2006-06-02 2023-06-20 Flooring Industries Limited, Sarl Floor covering, floor element and method for manufacturing floor elements
US10358831B2 (en) 2006-06-02 2019-07-23 Flooring Industries Limited, Sarl Floor covering, floor element and method for manufacturing floor elements
US9487957B2 (en) 2006-06-02 2016-11-08 Flooring Industries Limited, Sarl Floor covering, floor element and method for manufacturing floor elements
US12385260B2 (en) 2006-06-02 2025-08-12 Unilin, Bv Floor covering, floor element and method for manufacturing floor elements
FR2910034A1 (fr) * 2006-12-13 2008-06-20 Pierre Geraud Procede de realisation d'un parquet a lames adjacentes, et parquet ainsi constitue
US9249581B2 (en) 2009-09-04 2016-02-02 Valinge Innovation Ab Resilient floor
US11725395B2 (en) 2009-09-04 2023-08-15 Välinge Innovation AB Resilient floor
US8365499B2 (en) 2009-09-04 2013-02-05 Valinge Innovation Ab Resilient floor
US8756899B2 (en) 2009-09-04 2014-06-24 Valinge Innovation Ab Resilient floor
US12215505B2 (en) 2009-09-04 2025-02-04 Välinge Innovation AB Resilient floor
US9670683B2 (en) 2009-12-22 2017-06-06 Flooring Industries Limited,Sarl Panel, covering and method for installing such panels
US9528278B2 (en) 2009-12-22 2016-12-27 Flooring Industries Limited, Sarl Panel, covering and method for installing such panels
US11668099B2 (en) 2009-12-22 2023-06-06 Flooring Industries Limited, Sarl Panel, covering and method for installing such panels
US9670682B2 (en) 2009-12-22 2017-06-06 Flooring Industries Limited, Sarl Panel, covering and method for installing such panels
US10550582B2 (en) 2009-12-22 2020-02-04 Flooring Industries Limited, Sarl Panel, covering and method for installing such panels
US10428534B2 (en) 2009-12-22 2019-10-01 Flooring Industries Limited, Sarl Panel, covering and method for installing such panels
US10870994B2 (en) 2010-05-10 2020-12-22 Flooring Industries Limited Sarl Floor panel
US9783995B2 (en) 2010-05-10 2017-10-10 Flooring Industries Limited, Sarl Floor panel
US11634913B2 (en) 2010-05-10 2023-04-25 Flooring Industries Limited, Sarl Floor panel
US10041259B2 (en) 2010-05-10 2018-08-07 Flooring Industries Limited, Sarl Floor panel
US11634914B2 (en) 2010-05-10 2023-04-25 Flooring Industries Limited, Sarl Floor panel
US10094123B2 (en) 2010-05-10 2018-10-09 Flooring Industries Limited, Sarl Floor panel
US10100533B2 (en) 2010-05-10 2018-10-16 Flooring Industries Limited, Sarl Floor panel
US10927553B2 (en) 2010-05-10 2021-02-23 Flooring Industries Limited, Sarl Floor panel
US12180719B2 (en) 2010-05-10 2024-12-31 Unilin Bv Floor panel
US10190323B2 (en) 2010-05-10 2019-01-29 Flooring Industries Limited, Sarl Floor panel
US10208490B2 (en) 2010-05-10 2019-02-19 Flooring Industries Limited, Sarl Floor panel
US10214921B2 (en) 2010-05-10 2019-02-26 Flooring Industries Limited, Sarl Floor panel
US10233655B2 (en) 2010-05-10 2019-03-19 Flooring Industries Limited, Sarl Floor panel
US10267048B2 (en) 2010-05-10 2019-04-23 Flooring Industries Limited, Sarl Floor panel
US12123201B2 (en) 2010-05-10 2024-10-22 Unilin, Bv Floor panel
US10301831B2 (en) 2010-05-10 2019-05-28 Flooring Industries Limited, Sarl Floor panel
US12031337B2 (en) 2010-05-10 2024-07-09 Unilin, Bv Floor panel
US9809984B2 (en) 2010-05-10 2017-11-07 Flooring Industries Limited, Sarl Floor panel
US9163414B2 (en) 2010-05-10 2015-10-20 Flooring Industries Limited, Sarl Floor panel
US12012764B2 (en) 2010-05-10 2024-06-18 Unilin Bv Floor panel
US9366035B2 (en) 2010-05-10 2016-06-14 Flooring Industries Limited, Sarl Floor panel
US10889998B2 (en) 2010-05-10 2021-01-12 Flooring Industries Limited, Sarl Floor panel
US10597876B2 (en) 2010-05-10 2020-03-24 Flooring Industries Limited, Sarl Floor panel
US11505949B2 (en) 2010-05-10 2022-11-22 Flooring Industries Limited, Sarl Floor panel
US11976471B2 (en) 2010-05-10 2024-05-07 Unilin Bv Floor panel
US10815676B2 (en) 2010-05-10 2020-10-27 Flooring Industries Limited, Sarl Floor panel
US11377857B2 (en) 2010-05-10 2022-07-05 Flooring Industries Limited, Sarl Floor panel
US10876303B2 (en) 2010-05-10 2020-12-29 Flooring Industries Limited, Sarl Floor panel
US11795702B2 (en) 2010-05-10 2023-10-24 Flooring Industries Limited Sarl Floor panel
US11566432B2 (en) 2010-05-10 2023-01-31 Flooring Industries Limited, Sarl Floor panel
US9453348B1 (en) 2010-05-10 2016-09-27 Flooring Industries Limited, Sarl Floor panel
US8925275B2 (en) 2010-05-10 2015-01-06 Flooring Industries Limited, Sarl Floor panel
US9080330B2 (en) 2010-05-10 2015-07-14 Flooring Industries Limited, Sarl Floor panel
US11193282B2 (en) 2010-05-10 2021-12-07 Flooring Industries Limited, Sarl Floor panel
US11236514B2 (en) 2010-05-10 2022-02-01 Flooring Industries Limited, Sarl Floor panel
US11371249B2 (en) 2010-05-10 2022-06-28 Flooring Industries Limited, Sarl Floor panel
BE1019654A3 (nl) * 2010-07-09 2012-09-04 Flooring Ind Ltd S A R L Paneel voor het vormen van een vloerbekleding.
WO2012004700A3 (fr) * 2010-07-09 2012-08-02 Flooring Industries Limited, Sarl Panneau pour former un revêtement de sol
WO2012004700A2 (fr) 2010-07-09 2012-01-12 Flooring Industries Limited, Sarl Panneau pour former un revêtement de sol
US9314936B2 (en) 2011-08-29 2016-04-19 Valinge Flooring Technology Ab Mechanical locking system for floor panels
US12209417B2 (en) 2011-08-29 2025-01-28 Ceraloc Innovation Ab Mechanical locking system for floor panels
US8935899B2 (en) 2012-02-02 2015-01-20 Valinge Innovation Ab Lamella core and a method for producing it
US9758966B2 (en) 2012-02-02 2017-09-12 Valinge Innovation Ab Lamella core and a method for producing it
US10760283B2 (en) 2012-02-23 2020-09-01 Admiral Composite Technologies, Inc. Deck system and components
US8875464B2 (en) 2012-04-26 2014-11-04 Valinge Innovation Ab Building panels of solid wood
US9482015B2 (en) 2012-07-02 2016-11-01 Ceraloc Innovation Ab Panel forming
US9140010B2 (en) 2012-07-02 2015-09-22 Valinge Flooring Technology Ab Panel forming
US12264482B2 (en) 2012-07-02 2025-04-01 Ceraloc Innovation Ab Panel forming
US9663956B2 (en) 2012-07-02 2017-05-30 Ceraloc Innovation Ab Panel forming
US9556623B2 (en) 2012-07-02 2017-01-31 Ceraloc Innovation Ab Panel forming
US11898356B2 (en) 2013-03-25 2024-02-13 Välinge Innovation AB Floorboards provided with a mechanical locking system
US10301830B2 (en) 2013-03-25 2019-05-28 Valinge Innovation Ab Floorboards provided with a mechanical locking system
US9975267B2 (en) 2013-08-27 2018-05-22 Valinge Innovation Ab Method for producing a lamella core
US10493731B2 (en) 2014-07-16 2019-12-03 Valinge Innovation Ab Method to produce a thermoplastic wear resistant foil
US10059084B2 (en) 2014-07-16 2018-08-28 Valinge Innovation Ab Method to produce a thermoplastic wear resistant foil
US12343966B2 (en) 2014-07-16 2025-07-01 Valinge Innovation Ab Method to produce a thermoplastic wear resistant foil
EP3091140A1 (fr) * 2015-05-05 2016-11-09 Admiral Composite Technologies, Inc. Systeme et elements de pont
CN107938990A (zh) * 2017-12-27 2018-04-20 肇庆乐华陶瓷洁具有限公司 一种防滑地砖

Also Published As

Publication number Publication date
FR2825397A1 (fr) 2002-12-06
ATE333545T1 (de) 2006-08-15
EP1262609B1 (fr) 2006-07-19
DE60213161D1 (de) 2006-08-31
FR2825397B1 (fr) 2004-10-22
ES2266423T3 (es) 2007-03-01
DE60213161T2 (de) 2007-06-14

Similar Documents

Publication Publication Date Title
EP1262609B1 (fr) Eléments de revêtement de sol à joint d'étanchéité
CA2612000C (fr) Panneau, en particulier pour le revetement de sols
FR2895759A1 (fr) Lame de parquet
EP0690185A1 (fr) Latte de parquet
FR2720093A1 (fr) Parement en matériau composite pour la réalisation d'un revêtement de façade.
EP1282753A1 (fr) Dispositif d'assemblage des bords longitudinaux de panneaux, lattes ou lambris, a repartition de forces
EP0354149A1 (fr) Procédé et dispositif de jonction étanche de panneaux exposés au ruissellement
EP0644337A1 (fr) Procédé et dispositif de jonction étanche de panneaux sandwich
EP1552082A1 (fr) Module d'assemblage pour revetements de sols ou murs
EP2369095B1 (fr) Système d'élément de bordure
FR2981103A3 (fr) Bande de desolidarisation
EP1231337A1 (fr) Structures appropriées à l'aménagement de locaux humides et procédé de montage relatif
EP0313485B1 (fr) Dalle plancher surélevé
WO2003016656A1 (fr) Procede d'assemblage des bords a repartition de forces
WO2018007731A1 (fr) Dalle composite et systeme de revetement comprenant de telles dalles
EP3006646A1 (fr) Système de revêtement du type dalles sur plots comprenant au moins un contenant
WO2006077297A1 (fr) Dalle autobloquante pour revetements de sols
FR3017400B1 (fr) Ensemble d'elements de construction et materiau de remplissage pour le joint entre des elements de construction
FR2889219A1 (fr) Panneaux a assembler par rotation et profils correspondants
FR2899257A1 (fr) Cloison pour la realisation de cloisonnages
LU83563A1 (fr) Tpanneaux isolants rigides non porteures supports d'etancheite de toitures utilisables pour la pose de l'etancheite de toitures en semi-independance
FR2800775A1 (fr) Panneau de recouvrement pour construction comprenant des elements male et femelle pour former un joint et son procede de fabrication
FR2471464A1 (fr) Dispositif de revetement mural et son procede de pose
EP2055861B1 (fr) Procédé de pose d'un matériau isolant et ensemble d'accessoires de pose correspondant
WO2018046817A1 (fr) Element de construction

Legal Events

Date Code Title Description
PUAI Public reference made under article 153(3) epc to a published international application that has entered the european phase

Free format text: ORIGINAL CODE: 0009012

AK Designated contracting states

Kind code of ref document: A1

Designated state(s): AT BE CH CY DE DK ES FI FR GB GR IE IT LI LU MC NL PT SE TR

AX Request for extension of the european patent

Free format text: AL;LT;LV;MK;RO;SI

AKX Designation fees paid
17P Request for examination filed

Effective date: 20030607

RBV Designated contracting states (corrected)

Designated state(s): AT BE CH CY DE DK ES FI FR GB GR IE IT LI LU MC NL PT SE TR

REG Reference to a national code

Ref country code: DE

Ref legal event code: 8566

RAP1 Party data changed (applicant data changed or rights of an application transferred)

Owner name: TARKETT SAS

17Q First examination report despatched

Effective date: 20050408

GRAP Despatch of communication of intention to grant a patent

Free format text: ORIGINAL CODE: EPIDOSNIGR1

GRAS Grant fee paid

Free format text: ORIGINAL CODE: EPIDOSNIGR3

GRAA (expected) grant

Free format text: ORIGINAL CODE: 0009210

AK Designated contracting states

Kind code of ref document: B1

Designated state(s): AT BE CH CY DE DK ES FI FR GB GR IE IT LI LU MC NL PT SE TR

PG25 Lapsed in a contracting state [announced via postgrant information from national office to epo]

Ref country code: IT

Free format text: LAPSE BECAUSE OF FAILURE TO SUBMIT A TRANSLATION OF THE DESCRIPTION OR TO PAY THE FEE WITHIN THE PRESCRIBED TIME-LIMIT;WARNING: LAPSES OF ITALIAN PATENTS WITH EFFECTIVE DATE BEFORE 2007 MAY HAVE OCCURRED AT ANY TIME BEFORE 2007. THE CORRECT EFFECTIVE DATE MAY BE DIFFERENT FROM THE ONE RECORDED.

Effective date: 20060719

Ref country code: AT

Free format text: LAPSE BECAUSE OF FAILURE TO SUBMIT A TRANSLATION OF THE DESCRIPTION OR TO PAY THE FEE WITHIN THE PRESCRIBED TIME-LIMIT

Effective date: 20060719

Ref country code: FI

Free format text: LAPSE BECAUSE OF FAILURE TO SUBMIT A TRANSLATION OF THE DESCRIPTION OR TO PAY THE FEE WITHIN THE PRESCRIBED TIME-LIMIT

Effective date: 20060719

Ref country code: IE

Free format text: LAPSE BECAUSE OF FAILURE TO SUBMIT A TRANSLATION OF THE DESCRIPTION OR TO PAY THE FEE WITHIN THE PRESCRIBED TIME-LIMIT

Effective date: 20060719

REG Reference to a national code

Ref country code: GB

Ref legal event code: FG4D

Free format text: NOT ENGLISH

REG Reference to a national code

Ref country code: CH

Ref legal event code: EP

GBT Gb: translation of ep patent filed (gb section 77(6)(a)/1977)

Effective date: 20060802

REG Reference to a national code

Ref country code: IE

Ref legal event code: FG4D

Free format text: LANGUAGE OF EP DOCUMENT: FRENCH

REF Corresponds to:

Ref document number: 60213161

Country of ref document: DE

Date of ref document: 20060831

Kind code of ref document: P

REG Reference to a national code

Ref country code: SE

Ref legal event code: TRGR

PG25 Lapsed in a contracting state [announced via postgrant information from national office to epo]

Ref country code: DK

Free format text: LAPSE BECAUSE OF FAILURE TO SUBMIT A TRANSLATION OF THE DESCRIPTION OR TO PAY THE FEE WITHIN THE PRESCRIBED TIME-LIMIT

Effective date: 20061019

PG25 Lapsed in a contracting state [announced via postgrant information from national office to epo]

Ref country code: PT

Free format text: LAPSE BECAUSE OF FAILURE TO SUBMIT A TRANSLATION OF THE DESCRIPTION OR TO PAY THE FEE WITHIN THE PRESCRIBED TIME-LIMIT

Effective date: 20061219

REG Reference to a national code

Ref country code: IE

Ref legal event code: FD4D

REG Reference to a national code

Ref country code: ES

Ref legal event code: FG2A

Ref document number: 2266423

Country of ref document: ES

Kind code of ref document: T3

PLBE No opposition filed within time limit

Free format text: ORIGINAL CODE: 0009261

STAA Information on the status of an ep patent application or granted ep patent

Free format text: STATUS: NO OPPOSITION FILED WITHIN TIME LIMIT

26N No opposition filed

Effective date: 20070420

REG Reference to a national code

Ref country code: CH

Ref legal event code: PL

PG25 Lapsed in a contracting state [announced via postgrant information from national office to epo]

Ref country code: MC

Free format text: LAPSE BECAUSE OF NON-PAYMENT OF DUE FEES

Effective date: 20070531

PG25 Lapsed in a contracting state [announced via postgrant information from national office to epo]

Ref country code: CH

Free format text: LAPSE BECAUSE OF NON-PAYMENT OF DUE FEES

Effective date: 20070531

Ref country code: LI

Free format text: LAPSE BECAUSE OF NON-PAYMENT OF DUE FEES

Effective date: 20070531

PG25 Lapsed in a contracting state [announced via postgrant information from national office to epo]

Ref country code: GR

Free format text: LAPSE BECAUSE OF FAILURE TO SUBMIT A TRANSLATION OF THE DESCRIPTION OR TO PAY THE FEE WITHIN THE PRESCRIBED TIME-LIMIT

Effective date: 20061020

PG25 Lapsed in a contracting state [announced via postgrant information from national office to epo]

Ref country code: CY

Free format text: LAPSE BECAUSE OF FAILURE TO SUBMIT A TRANSLATION OF THE DESCRIPTION OR TO PAY THE FEE WITHIN THE PRESCRIBED TIME-LIMIT

Effective date: 20060719

PG25 Lapsed in a contracting state [announced via postgrant information from national office to epo]

Ref country code: TR

Free format text: LAPSE BECAUSE OF FAILURE TO SUBMIT A TRANSLATION OF THE DESCRIPTION OR TO PAY THE FEE WITHIN THE PRESCRIBED TIME-LIMIT

Effective date: 20060719

REG Reference to a national code

Ref country code: FR

Ref legal event code: PLFP

Year of fee payment: 15

REG Reference to a national code

Ref country code: FR

Ref legal event code: PLFP

Year of fee payment: 16

REG Reference to a national code

Ref country code: FR

Ref legal event code: PLFP

Year of fee payment: 17

PGFP Annual fee paid to national office [announced via postgrant information from national office to epo]

Ref country code: ES

Payment date: 20180601

Year of fee payment: 17

PGFP Annual fee paid to national office [announced via postgrant information from national office to epo]

Ref country code: BG

Payment date: 20180221

Year of fee payment: 12

PGFP Annual fee paid to national office [announced via postgrant information from national office to epo]

Ref country code: SE

Payment date: 20180529

Year of fee payment: 17

PGFP Annual fee paid to national office [announced via postgrant information from national office to epo]

Ref country code: NL

Payment date: 20190526

Year of fee payment: 18

Ref country code: LU

Payment date: 20190527

Year of fee payment: 18

PGFP Annual fee paid to national office [announced via postgrant information from national office to epo]

Ref country code: DE

Payment date: 20190530

Year of fee payment: 18

PGFP Annual fee paid to national office [announced via postgrant information from national office to epo]

Ref country code: FR

Payment date: 20190527

Year of fee payment: 18

Ref country code: BE

Payment date: 20190527

Year of fee payment: 18

PGFP Annual fee paid to national office [announced via postgrant information from national office to epo]

Ref country code: GB

Payment date: 20190528

Year of fee payment: 18

PG25 Lapsed in a contracting state [announced via postgrant information from national office to epo]

Ref country code: SE

Free format text: LAPSE BECAUSE OF NON-PAYMENT OF DUE FEES

Effective date: 20190530

PG25 Lapsed in a contracting state [announced via postgrant information from national office to epo]

Ref country code: IT

Free format text: LAPSE BECAUSE OF NON-PAYMENT OF DUE FEES

Effective date: 20190529

REG Reference to a national code

Ref country code: SE

Ref legal event code: EUG

REG Reference to a national code

Ref country code: ES

Ref legal event code: FD2A

Effective date: 20200928

PG25 Lapsed in a contracting state [announced via postgrant information from national office to epo]

Ref country code: ES

Free format text: LAPSE BECAUSE OF NON-PAYMENT OF DUE FEES

Effective date: 20190530

REG Reference to a national code

Ref country code: DE

Ref legal event code: R119

Ref document number: 60213161

Country of ref document: DE

REG Reference to a national code

Ref country code: NL

Ref legal event code: MM

Effective date: 20200601

PG25 Lapsed in a contracting state [announced via postgrant information from national office to epo]

Ref country code: NL

Free format text: LAPSE BECAUSE OF NON-PAYMENT OF DUE FEES

Effective date: 20200601

REG Reference to a national code

Ref country code: BE

Ref legal event code: MM

Effective date: 20200531

GBPC Gb: european patent ceased through non-payment of renewal fee

Effective date: 20200529

PG25 Lapsed in a contracting state [announced via postgrant information from national office to epo]

Ref country code: LU

Free format text: LAPSE BECAUSE OF NON-PAYMENT OF DUE FEES

Effective date: 20200529

PG25 Lapsed in a contracting state [announced via postgrant information from national office to epo]

Ref country code: FR

Free format text: LAPSE BECAUSE OF NON-PAYMENT OF DUE FEES

Effective date: 20200531

Ref country code: GB

Free format text: LAPSE BECAUSE OF NON-PAYMENT OF DUE FEES

Effective date: 20200529

PG25 Lapsed in a contracting state [announced via postgrant information from national office to epo]

Ref country code: DE

Free format text: LAPSE BECAUSE OF NON-PAYMENT OF DUE FEES

Effective date: 20201201

Ref country code: BE

Free format text: LAPSE BECAUSE OF NON-PAYMENT OF DUE FEES

Effective date: 20200531