EP1213628A1 - Procédé de réglage de la fréquence d'oscillation d'un balancier-spiral pour une pièce d'horlogerie mécanique - Google Patents
Procédé de réglage de la fréquence d'oscillation d'un balancier-spiral pour une pièce d'horlogerie mécanique Download PDFInfo
- Publication number
- EP1213628A1 EP1213628A1 EP00204369A EP00204369A EP1213628A1 EP 1213628 A1 EP1213628 A1 EP 1213628A1 EP 00204369 A EP00204369 A EP 00204369A EP 00204369 A EP00204369 A EP 00204369A EP 1213628 A1 EP1213628 A1 EP 1213628A1
- Authority
- EP
- European Patent Office
- Prior art keywords
- hairspring
- oscillation
- frequency
- machining
- balance
- Prior art date
- Legal status (The legal status is an assumption and is not a legal conclusion. Google has not performed a legal analysis and makes no representation as to the accuracy of the status listed.)
- Withdrawn
Links
- 230000010355 oscillation Effects 0.000 title claims description 23
- 238000000034 method Methods 0.000 title claims description 22
- 238000003754 machining Methods 0.000 claims description 23
- 230000007423 decrease Effects 0.000 claims description 5
- 238000005259 measurement Methods 0.000 description 3
- 241000287828 Gallus gallus Species 0.000 description 1
- 238000010276 construction Methods 0.000 description 1
- 230000000694 effects Effects 0.000 description 1
- 230000005021 gait Effects 0.000 description 1
- 230000008439 repair process Effects 0.000 description 1
Images
Classifications
-
- G—PHYSICS
- G04—HOROLOGY
- G04D—APPARATUS OR TOOLS SPECIALLY DESIGNED FOR MAKING OR MAINTAINING CLOCKS OR WATCHES
- G04D7/00—Measuring, counting, calibrating, testing or regulating apparatus
- G04D7/10—Measuring, counting, calibrating, testing or regulating apparatus for hairsprings of balances
-
- G—PHYSICS
- G04—HOROLOGY
- G04B—MECHANICALLY-DRIVEN CLOCKS OR WATCHES; MECHANICAL PARTS OF CLOCKS OR WATCHES IN GENERAL; TIME PIECES USING THE POSITION OF THE SUN, MOON OR STARS
- G04B17/00—Mechanisms for stabilising frequency
- G04B17/04—Oscillators acting by spring tension
- G04B17/06—Oscillators with hairsprings, e.g. balance
- G04B17/066—Manufacture of the spiral spring
Definitions
- the present invention relates to a frequency adjustment method of a balance spring fitted to a mechanical timepiece.
- the regulator assembly of a watch movement will be briefly described below in using Figures 1 and 2 attached.
- this regulator assembly includes a balance spring 1 associated with a balance 2.
- the balance spring is connected to axis 4 of the balance by means of a ferrule 6.
- the outer end 8 of the hairspring is fixed to a stud 10 secured to the balance bridge 12 (rooster).
- the balance-spring oscillation is maintained by the escape wheel 14 engaged with the train of the movement.
- the object of the present invention is to overcome the drawbacks mentioned above by proposing a method for adjusting the frequency of a balance spring efficient, inexpensive and simplifying the construction of the assembly regulator.
- the invention relates to a method for adjusting the frequency of oscillation of a balance-spring according to the steps mentioned in claim 1, in which we use laser machining of the balance spring to reduce the torque elasticity of the latter until reaching a reference elastic torque substantially corresponding to the reference frequency for the oscillation of the sprung balance.
- knowledge of the elastic reference torque is not necessary since the adjustment can be done in one or more successive steps by measuring the frequency of the assembled balance spring.
- the hairspring ready for mounting for a given length between the points of attachment to the ferrule 6 and to the pin 10 has an elastic torque greater than the reference elastic torque above.
- laser machining has the effect of reducing the elastic torque of the spiral, as will be explained below in more detail.
- the adjustment of the oscillation frequency of the balance spring can be carried out during a preliminary stage, preceding the mounting of this balance spring in a watch movement.
- a presetting can be carried out according to the invention in this preliminary step and a fine adjustment, also to using a laser beam, is carried out once the balance spring is mounted in the watch movement to allow precise adjustment of the oscillation frequency of this balance spring in real operating conditions and thus ensure a exact movement of the watch movement.
- the regulator assembly preferably no longer comprises pins racket.
- the problems of gait variation according to the position of the movement, due to the passage of the outer spiral spiral between the pins, are eliminated.
- the present invention is particularly suitable for factory or watch workshop adjustment and may prove to be complex for implementation by an after-sales service workshop carrying out the traditional checks and necessary repairs following possible damage caused to the timepiece.
- the balance spring 1, 2 is assembled and the outer end 22 of the balance spring is attached to a stud 10 of a watch movement (not shown).
- the assembled balance spring can be mounted in a device specifically used to the process of the invention. In the latter case, the stud 10 belongs to the device specific or is replaced by an equivalent fixing means.
- the hairspring is produced with an elastic torque greater than one reference elastic torque corresponding to a reference frequency for the oscillation of the balance-spring.
- the frequency is measured of balance-spring oscillation, this frequency then being greater than the frequency reference.
- a laser device 30 providing a laser beam 32 for machining or processing the hairspring 1.
- the adjustment of the frequency of the regulator assembly is adjusted neither using racket pins, nor using screws or small masses arranged on the balance 2.
- the present invention does not exclude the possibility of providing means for variation of the balance inertia to allow fine adjustments after adjustment initial in the factory by means of the method according to the invention. According to this process, laser machining of hairspring 1 so as to reduce its elastic torque until that it is substantially equal to the above-mentioned reference elastic torque.
- the oscillation frequency is finely adjusted to using the laser device 30 as a function of one or more frequency measurements oscillation.
- the program for controlling the laser device 30 and its movement relative to the balance spring can include a single step of machining or processing based on an initial frequency measurement, using an algorithm based on an analytical or empirical model, or a combination both.
- numerous control variants of the laser device within the framework of the implementation of the method according to the invention are possible.
- the laser beam 32 to modify at least superficially the structure of hairspring 1 in at least one of its parts, in particular on a section of its external turn 24.
- This machining has firstly, the function of varying the elastic modulus E of the balance spring by lowering it up to a value for which the elastic torque of this hairspring corresponds to the value reference. Indeed, the oscillation frequency being proportional to the root square of the elastic torque M of the hairspring, and this torque being proportional to the modulus elasticity E, a reduction in this modulus therefore makes it possible to decrease the frequency oscillation of the regulator assembly.
- laser machining can also be carried out on several spiral turns, along sections of varying sizes defined in particular according to the access to these turns by the laser beam.
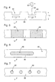
- a second embodiment of the method shown schematically in Figure 4, it is planned to partially decrease the height H of the ribbon 36 forming this hairspring.
- This decrease in height is expected only along of sections L1, L2 of the ribbon 36, which defines open cutouts 40 along the upper or lower edge of this ribbon. These cuts can vary in length and in number.
- the elastic torque of hairspring 1 being proportional to the height of the ribbon 36, an at least partial reduction in this height makes it possible to reduce this torque and therefore the frequency of oscillation of the balance spring.
- laser machining is therefore used primarily to remove material and provision is made to focus the beam 32 on the region of machining of the ribbon 36.
- the laser is arranged so that the beam 32 is substantially perpendicular to the general plane of the hairspring allowing machining either the upper surface, that is, the lower surface of the hairspring.
- This last variant makes it possible to act over a larger area for the laser beam, but has the disadvantage that the laser beam can also reach the turn preceding that which is being machined.
- This second mode of implementation of the method easily makes it possible to machine several spiral turns, in particular in the preferred variant.
- the thickness of the ribbon 36 forming the hairspring 1 is planned to at least partially reduce the thickness of the ribbon 36 forming the hairspring 1.
- This reduction in thickness in the zones 44 is carried out using of a laser beam.
- This laser machining is preferably carried out on the turn 24 of the balance spring, but it is also possible to machine other turns by orienting this laser beam obliquely relative to the plane of the balance spring.
- the zones 44 pass through from top to bottom. Their width can be variable, as can the number of machined zones provided. It is also possible to provide a succession of machining of lines operated by paths along a vertical axis of the laser beam. The decrease in frequency comes from the fact that the elastic torque of the balance spring varies according to the cube thickness (e 3 ) of the ribbon forming the balance spring.
- Figures 6 and 7 show two machining variants on the face lateral 46 of the hairspring 1.
- the area 48 is oblong. This zone 48 forms a recess in the tape 36 without reaching the upper and lower surfaces of this one. Thus, the appearance of the hairspring seen from above is not affected.
- the areas 50 form a succession of circular recesses.
- laser machining may create through openings.
Landscapes
- Physics & Mathematics (AREA)
- General Physics & Mathematics (AREA)
- Engineering & Computer Science (AREA)
- Manufacturing & Machinery (AREA)
- Springs (AREA)
- Laser Beam Processing (AREA)
- Micromachines (AREA)
Abstract
Afin de régler la fréquence d'oscillation d'un balancier-spiral (2,1) destiné à ou équipant une pièce d'horlogerie mécanique, il est prévu dans une première étape de fabriquer un spiral (1) avec un couple d'élasticité supérieure à un couple de référence correspondant à la fréquence d'oscillation prévue pour le balancier-spiral. Une fois le balancier-spiral assemblé, on effectue un usinage du spiral au moyen d'un faisceau laser (32) pour diminuer son couple élastique jusqu'à ce qu'il atteigne sensiblement le couple élastique de référence. En particulier, l'usinage laser consiste à enlever de la matière pour, soit diminuer la hauteur (H) du spiral dans certaines régions, soit de diminuer l'épaisseur du ruban (36) formant ce spiral. Cette invention permet de s'affranchir de moyens de réglage traditionnels, notamment de goupilles associées à une raquette. Ceci permet d'éviter les erreurs de marche de la pièce d'horlogerie en fonction de sa position. <IMAGE>
Description
La présente invention concerne un procédé de réglage de la fréquence
d'oscillation d'un balancier-spiral équipant une pièce d'horlogerie mécanique.
L'ensemble régulateur d'un mouvement horloger sera décrit brièvement ci-après à
l'aide des figures 1 et 2 annexées. De manière classique, cet ensemble régulateur
comprend un spiral 1 associé à un balancier 2. Le spiral est relié à l'axe 4 du balancier
au moyen d'une virole 6. L'extrémité extérieure 8 du spiral est fixée à un piton 10
solidaire du pont de balancier 12 (coq). L'oscillation du balancier-spiral est entretenue
par la roue d'échappement 14 en prise avec le rouage du mouvement.
Pour régler la fréquence d'oscillation du balancier-spiral, il est prévu de
manière classique deux goupilles 16 et 17 fixées à une raquette 18 susceptible d'être
déplacée en rotation par exemple au moyen d'une vis excentrique 20. Ainsi, en variant
la position des goupilles, on varie la longueur active du spiral. Le couple élastique du
spiral étant inversement proportionnel à la longueur active du spiral, la fréquence
d'oscillation du balancier-spiral est sensiblement inversement proportionnelle à la
racine carrée de cette longueur active. Ainsi, pour régler la fréquence de marche du
mouvement horloger, il est prévu en général dans l'art antérieur un système de
réglage comprenant une raquette et des goupilles entre lesquelles passe la partie
terminale 22 de la spire extérieure 24 de ce spiral 1.
On notera qu'il existe d'autres systèmes de réglage agissant notamment sur le
moment d'inertie du balancier 2. Tous ces moyens nécessitent l'agencement d'un
certain nombre de composants destinés au réglage de la fréquence d'oscillation du
balancier-spiral.
De plus, dans le cas représenté aux figures 1 et 2, l'ajustement des deux
goupilles 16 et 17 est relativement délicat. On constate souvent que selon la position
du mouvement dans l'espace, l'action des goupilles est plus ou moins efficace de
sorte que la longueur active du spiral varie selon cette position. Ceci est bien sûr
néfaste pour la marche de la pièce d'horlogerie et donc pour l'exactitude de l'heure ou
intervalle de temps affiché par celle-ci.
Le but de la présente invention consiste à pallier les inconvénients
susmentionnés en proposant un procédé de réglage de la fréquence d'un balancier-spiral
efficace, peu onéreux et permettant de simplifier la construction de l'ensemble
régulateur.
A cet effet, l'invention a pour objet un procédé de réglage de la fréquence
d'oscillation d'un balancier-spiral selon les étapes mentionnées à la revendication 1,
au cours desquelles on utilise un usinage au laser du spiral pour diminuer le couple
élastique de ce dernier jusqu'à atteindre un couple élastique de référence
correspondant sensiblement à la fréquence de référence pour l'oscillation du
balancier-spiral. On notera ici que la connaissance du couple élastique de référence
n'est pas nécessaire étant donné que le réglage peut être fait en une ou plusieurs
étapes successives en mesurant la fréquence du balancier-spiral assemblé. Par
contre, dans le cadre de la présente invention, il est nécessaire que le spiral prêt au
montage, pour une longueur donnée entre les points de fixation à la virole 6 et au
piton 10, présente un couple élastique supérieur au couple élastique de référence
susmentionné. En effet, l'usinage laser a pour effet de diminuer le couple élastique du
spiral, comme cela sera exposé ci-après de manière plus détaillée.
On notera que le réglage de la fréquence d'oscillation du balancier-spiral peut
être effectuée lors d'une étape préliminaire, précédent le montage de ce balancier-spiral
dans un mouvement horloger. Dans une variante, un pré-réglage peut être
effectué selon l'invention dans cette étape préliminaire et un réglage fin, également à
l'aide d'un faisceau laser, est effectué une fois le balancier-spiral monté dans le
mouvement horloger pour permettre de régler précisément la fréquence d'oscillation
de ce balancier-spiral en situation réelle de fonctionnement et ainsi assurer une
marche exacte du mouvement horloger.
Grâce aux caractéristiques de la présente invention, aucun élément spécifique
au réglage de la fréquence d'oscillation du balancier-spiral n'est nécessaire. En
particulier, l'ensemble régulateur ne comporte de préférence plus de goupilles de
raquette. Ainsi, les problèmes de variation de marche selon la position du
mouvement, due au passage de la spire extérieure du spiral entre les goupilles, sont
éliminés. On notera toutefois qu'il est possible, dans un mode de réalisation
particulier, d'équiper le balancier de moyens de réglage fin de son moment d'inertie de
manière à permettre un réglage ultérieur après une certaine période de
fonctionnement du mouvement horloger. En effet, la présente invention est
particulièrement adaptée à un réglage en usine ou atelier d'horlogerie et peut s'avérer
complexe pour une mise en oeuvre par un atelier de service après-vente effectuant les
contrôles traditionnels et les réparations nécessaires suite à des dommages éventuels
causés à la pièce d'horlogerie.
La présente invention sera décrite plus en détail à l'aide des figures annexées,
données à titre d'exemples nullement limitatifs, et dans lesquelles :
- les figures 1 et 2, déjà décrites, représentent un ensemble régulateur de l'art antérieur équipé d'une raquette avec ses deux goupilles;
- la figure 3 est une vue simplifiée de dessus d'un balancier-spiral selon l'invention fixé à un piton;
- la figure 4 montre schématiquement un mode d'usinage laser du spiral dans le cadre du procédé selon l'invention, et
- les figures 5 à 7 représentent schématiquement trois variantes d'un autre mode de mise en oeuvre du procédé selon l'invention.
A l'aide de la figure 3, on décrira de manière générale le procédé selon
l'invention. Le balancier-spiral 1, 2 est assemblé et l'extrémité externe 22 du spiral est
fixée à un piton 10 d'un mouvement horloger (non représenté). On notera que le
balancier-spiral assemblé peut être monté dans un dispositif servant spécifiquement
au procédé de l'invention. Dans ce dernier cas, le piton 10 appartient au dispositif
spécifique ou est remplacé par un moyen de fixation équivalent.
Selon l'invention, le spiral est fabriqué avec un couple élastique supérieur à un
couple élastique de référence correspondant à une fréquence de référence pour
l'oscillation du balancier-spiral.
A l'aide de moyens connus de l'homme du métier, on mesure la fréquence
d'oscillation du balancier-spiral, cette fréquence étant alors supérieure à la fréquence
de référence. Pour régler cette fréquence d'oscillation et l'ajuster au moins
sensiblement à la fréquence de référence, il est prévu selon l'invention d'utiliser un
dispositif laser 30 fournissant un faisceau laser 32 pour l'usinage ou le traitement du
spiral 1. Ainsi, dans le cadre de la présente invention, le réglage de la fréquence
d'oscillation de l'ensemble régulateur est réglée ni à l'aide de goupilles de raquette, ni
à l'aide de vis ou petites masses agencées sur le balancier 2. Toutefois, comme déjà
mentionné, la présente invention n'écarte pas la possibilité de prévoir des moyens de
variation de l'inertie du balancier pour permettre des réglages fins après un réglage
initial en usine au moyen du procédé selon l'invention. Selon ce procédé, on effectue
un usinage laser du spiral 1 de manière à diminuer son couple élastique jusqu'à ce
qu'il soit sensiblement égal au couple élastique de référence susmentionné.
Dans le cadre du procédé selon l'invention, il est possible de prévoir au moins
deux étapes de réglage à l'aide du faisceau laser, à savoir une première étape hors
de la pièce d'horlogerie permettant de régler grossièrement la fréquence d'oscillation
tout en s'assurant de rester supérieure à la fréquence de référence. Ensuite, dans
une seconde étape intervenant après le montage du balancier-spiral dans la pièce
d'horlogerie à laquelle il est destiné, on ajuste finement la fréquence d'oscillation à
l'aide du dispositif laser 30 en fonction d'une ou plusieurs mesures de la fréquence
d'oscillation.
Le programme de commande du dispositif laser 30 et de son mouvement
relatif avec le balancier-spiral peut comporter une seule étape d'usinage ou de
traitement en fonction d'une mesure initiale de la fréquence, en utilisant un algorithme
établi sur la base d'un modèle analytique ou empirique, ou encore d'une combinaison
des deux. Dans une variante plus sophistiquée, il est possible de prévoir une boucle
de rétroaction, le traitement où l'usinage laser étant effectué par une succession
d'étapes entre lesquelles une mesure de ladite fréquence d'oscillation est effectuée.
Dans ce cas, on peut approcher rapidement la valeur de référence en peu d'étapes,
par exemple une ou deux, et finir le réglage fin par d'autres étapes ultérieures dans
lesquelles l'usinage laser n'a qu'un faible impact sur le couple élastique du spiral.
Ainsi, de nombreuses variantes de commande du dispositif laser dans le cadre de la
mise en oeuvre du procédé selon l'invention sont possibles.
Dans un premier mode de réalisation, il est prévu à l'aide du faisceau laser 32
de modifier au moins superficiellement la structure du spiral 1 dans au moins une de
ses parties, notamment sur un tronçon de sa spire externe 24. Cet usinage a
premièrement pour fonction de varier le module d'élasticité E du spiral en l'abaissant
jusqu'à une valeur pour laquelle le couple élastique de ce spiral correspond à la valeur
de référence. En effet, la fréquence d'oscillation étant proportionnelle à la racine
carrée du couple élastique M du spiral, et ce couple étant proportionnel au module
d'élasticité E, une diminution de ce module permet donc de diminuer la fréquence
d'oscillation de l'ensemble régulateur. On notera que l'usinage laser peut également
être effectué sur plusieurs spires du spiral, le long de tronçons de grandeurs variables
définies notamment en fonction de l'accès à ces spires par le faisceau laser.
Selon un deuxième mode de mise en oeuvre du procédé, représenté
schématiquement à la figure 4, il est prévu de diminuer partiellement la hauteur H du
ruban 36 formant ce spiral. Cette diminution d'hauteur est prévue seulement le long
de tronçons L1, L2 du ruban 36, ce qui définit des découpures ouvertes 40 le long du
bord supérieur ou inférieur de ce ruban. Ces découpures peuvent varier en longueur
et en nombre. Le couple élastique du spiral 1 étant proportionnel à la hauteur du
ruban 36, une diminution au moins partielle de cette hauteur permet de réduire ce
couple et donc la fréquence d'oscillation du balancier-spiral.
On notera ici que l'usinage laser sert donc premièrement à enlever de la
matière et il est prévu de focaliser le faisceau 32 sur la région d'usinage du ruban 36.
Selon une variante préférée, le laser est agencé de manière que le faisceau 32 est
sensiblement perpendiculaire au plan général du spiral permettant un usinage soit de
la surface supérieure, soit de la surface inférieure du spiral. Toutefois, dans une autre
variante, il est prévu d'incliner le dispositif 30 de sorte que le faisceau laser 32 est
orienté obliquement relativement au ruban 36. Cette dernière variante permet d'agir
sur une plus grande surface pour le faisceau laser, mais présente l'inconvénient que
le faisceau laser peut aussi atteindre la spire précédent celle qui est usinée. Ce
deuxième mode de mise en oeuvre du procédé permet aisément d'usiner plusieurs
spires du spiral, en particulier dans la variante préférée.
Selon un troisième mode de mise en oeuvre du procédé représenté à la figure
5, il est prévu de diminuer au moins partiellement l'épaisseur du ruban 36 formant le
spiral 1. Cette diminution d'épaisseur dans les zones 44 est effectuée à l'aide d'un
faisceau laser. Cet usinage laser est effectué de préférence sur la spire 24 du spiral,
mais il est également possible d'usiner d'autres spires en orientant ce faisceau laser
obliquement relativement au plan du spiral. A la figure 5, les zones 44 sont
traversantes de haut en bas. Leur largeur peut être variable, tout comme le nombre
de zones usinées prévu. Il est également possible de prévoir une succession
d'usinage de lignes opérées par des trajets selon un axe verticale du faisceau laser.
La diminution de fréquence provient du fait que le couple élastique du spiral varie
selon l'épaisseur au cube (e3) du ruban formant le spiral.
Aux figures 6 et 7 sont représentées deux variantes d'usinage sur la face
latérale 46 du spiral 1. A la figure 6, la zone 48 est oblongue. Cette zone 48 forme un
évidement dans le ruban 36 sans atteindre les surfaces supérieure et inférieure de
celui-ci. Ainsi, l'aspect du spiral vu de dessus n'est pas affecté. A la figure 7, les zones
50 forment une succession d'évidements circulaires.
On notera finalement que dans les réalisations représentées aux figures 6 et 7,
il est possible que l'usinage au laser crée des ouvertures traversantes.
Claims (7)
- Procédé de réglage de la fréquence d'oscillation d'un ensemble régulateur destiné à ou équipant une pièce d'horlogerie mécanique dans lequel :on fabrique un spiral avec un couple élastique supérieur à un couple élastique de référence correspondant à une fréquence de référence pour l'oscillation dudit ensemble régulateur;on assemble un balancier audit spiral pour former ledit ensemble régulateur, eton effectue un usinage dudit spiral au moyen d'un faisceau laser (32) de manière à diminuer son couple élastique jusqu'à ce que ladite fréquence d'oscillation soit sensiblement égale à ladite fréquence de référence.
- Procédé de réglage selon la revendication 1, caractérisé en ce que ledit ensemble régulateur est monté dans ladite pièce d'horlogerie et qu'au moins une étape terminale dudit usinage laser du spiral est effectué après ce montage, de manière à ajuster au mieux le couple élastique dudit spiral pour obtenir ladite fréquence de référence pour l'oscillation dudit ensemble régulateur lors de la marche de ladite pièce d'horlogerie.
- Procédé selon la revendication 1 ou 2, caractérisé en ce que ledit faisceau laser est prévu sensiblement perpendiculaire au plan général du spiral, ce faisceau laser étant focalisé sur des parties de la surface supérieure ou inférieure de ce spiral.
- Procédé selon la revendication 1 ou 2, caractérisé en ce que ledit faisceau laser est orienté de manière à permettre l'usinage d'une surface latérale dudit spiral.
- Procédé selon la revendication 3 ou 4, caractérisé en ce que l'usinage laser opère un enlèvement de matière diminuant partiellement la hauteur du ruban formant le spiral.
- Procédé selon la revendication 4, caractérisé en ce que l'usinage laser opère un enlèvement de matière diminuant au moins partiellement l'épaisseur du ruban formant le spiral.
- Procédé selon la revendication 1, caractérisé en ce que l'usinage laser diminue le module d'élasticité dudit spiral.
Priority Applications (1)
| Application Number | Priority Date | Filing Date | Title |
|---|---|---|---|
| EP00204369A EP1213628A1 (fr) | 2000-12-07 | 2000-12-07 | Procédé de réglage de la fréquence d'oscillation d'un balancier-spiral pour une pièce d'horlogerie mécanique |
Applications Claiming Priority (1)
| Application Number | Priority Date | Filing Date | Title |
|---|---|---|---|
| EP00204369A EP1213628A1 (fr) | 2000-12-07 | 2000-12-07 | Procédé de réglage de la fréquence d'oscillation d'un balancier-spiral pour une pièce d'horlogerie mécanique |
Publications (1)
| Publication Number | Publication Date |
|---|---|
| EP1213628A1 true EP1213628A1 (fr) | 2002-06-12 |
Family
ID=8172390
Family Applications (1)
| Application Number | Title | Priority Date | Filing Date |
|---|---|---|---|
| EP00204369A Withdrawn EP1213628A1 (fr) | 2000-12-07 | 2000-12-07 | Procédé de réglage de la fréquence d'oscillation d'un balancier-spiral pour une pièce d'horlogerie mécanique |
Country Status (1)
| Country | Link |
|---|---|
| EP (1) | EP1213628A1 (fr) |
Cited By (6)
| Publication number | Priority date | Publication date | Assignee | Title |
|---|---|---|---|---|
| WO2012007460A1 (fr) * | 2010-07-16 | 2012-01-19 | Eta Sa Manufacture Horlogère Suisse | Procédé d'ajustement de fréquence d'oscillation, d'inertie ou d'équilibrage d'un composant mobile de mouvement d'horlogerie, ou d'un ensemble balancier-spiral d'horlogerie |
| CN102528282A (zh) * | 2010-12-08 | 2012-07-04 | 上海康比利仪表有限公司 | 一种激光游丝焊接仪 |
| EP3181939A1 (fr) * | 2015-12-18 | 2017-06-21 | CSEM Centre Suisse d'Electronique et de Microtechnique SA - Recherche et Développement | Procede de fabrication d'un spiral d'une raideur predeterminee par ajout de matiere |
| EP3181938A1 (fr) * | 2015-12-18 | 2017-06-21 | CSEM Centre Suisse d'Electronique et de Microtechnique SA - Recherche et Développement | Procede de fabrication d'un spiral d'une raideur predeterminee par retrait de matiere |
| EP3181940A1 (fr) * | 2015-12-18 | 2017-06-21 | CSEM Centre Suisse d'Electronique et de Microtechnique SA - Recherche et Développement | Procede de fabrication d'un spiral d'une raideur predeterminee par retrait localise de matiere |
| EP3416001B1 (fr) * | 2017-06-13 | 2022-04-13 | Patek Philippe SA Genève | Procédé de fabrication d'un oscillateur à pivot flexible |
Citations (2)
| Publication number | Priority date | Publication date | Assignee | Title |
|---|---|---|---|---|
| US3673376A (en) * | 1968-08-26 | 1972-06-27 | Jean Claude Kullmann | Method for attaching the inner end of a balance spring to its collet |
| CH1283368A4 (fr) * | 1968-08-27 | 1972-10-31 | Fabriques De Spiraux Reunis So | Procédé pour l'obtention d'un ensemble oscillant balancier-spiral de fréquence désirée |
-
2000
- 2000-12-07 EP EP00204369A patent/EP1213628A1/fr not_active Withdrawn
Patent Citations (2)
| Publication number | Priority date | Publication date | Assignee | Title |
|---|---|---|---|---|
| US3673376A (en) * | 1968-08-26 | 1972-06-27 | Jean Claude Kullmann | Method for attaching the inner end of a balance spring to its collet |
| CH1283368A4 (fr) * | 1968-08-27 | 1972-10-31 | Fabriques De Spiraux Reunis So | Procédé pour l'obtention d'un ensemble oscillant balancier-spiral de fréquence désirée |
Cited By (26)
| Publication number | Priority date | Publication date | Assignee | Title |
|---|---|---|---|---|
| WO2012007460A1 (fr) * | 2010-07-16 | 2012-01-19 | Eta Sa Manufacture Horlogère Suisse | Procédé d'ajustement de fréquence d'oscillation, d'inertie ou d'équilibrage d'un composant mobile de mouvement d'horlogerie, ou d'un ensemble balancier-spiral d'horlogerie |
| CN103003760A (zh) * | 2010-07-16 | 2013-03-27 | Eta瑞士钟表制造股份有限公司 | 用于调节可动时计机芯构件或时计游丝摆轮组件的振荡频率和/或调节其惯性和/或平衡的方法 |
| JP2013542402A (ja) * | 2010-07-16 | 2013-11-21 | ウーテーアー・エス・アー・マニファクチュール・オロロジェール・スイス | 時計ムーブメントの可動構成要素又は時計のばね−テンプ組立体の、発振周波数調整及び/又は慣性調整及び/又はバランス修正のための方法 |
| CN103003760B (zh) * | 2010-07-16 | 2015-04-15 | Eta瑞士钟表制造股份有限公司 | 用于调节可动时计机芯构件或时计游丝摆轮组件的振荡频率和/或调节其惯性和/或平衡的方法 |
| RU2556322C2 (ru) * | 2010-07-16 | 2015-07-10 | Эта Са Мануфактюр Орложэр Сюис | Способ регулирования частоты колебаний и/или регулирования момента инерции и/или балансировки подвижного компонента механизма хронометра или узла баланс-спираль хронометра |
| US9436162B2 (en) | 2010-07-16 | 2016-09-06 | Eta Sa Manufacture Horlogere Suisse | Method for adjusting the oscillation frequency and/or adjusting the inertia and/or balancing of a movable timepiece movement component or of a timepiece spring balance assembly |
| CN102528282A (zh) * | 2010-12-08 | 2012-07-04 | 上海康比利仪表有限公司 | 一种激光游丝焊接仪 |
| CN102528282B (zh) * | 2010-12-08 | 2014-04-09 | 上海康比利仪表有限公司 | 一种激光游丝焊接仪 |
| CN106896700A (zh) * | 2015-12-18 | 2017-06-27 | 瑞士电子显微技术研究与开发中心股份有限公司 | 通过局部去除材料来制造预定刚度的游丝的方法 |
| EP3181939B1 (fr) | 2015-12-18 | 2019-02-20 | CSEM Centre Suisse d'Electronique et de Microtechnique SA - Recherche et Développement | Procede de fabrication d'un spiral d'une raideur predeterminee par ajout de matiere |
| EP3181940A1 (fr) * | 2015-12-18 | 2017-06-21 | CSEM Centre Suisse d'Electronique et de Microtechnique SA - Recherche et Développement | Procede de fabrication d'un spiral d'une raideur predeterminee par retrait localise de matiere |
| US20170176941A1 (en) * | 2015-12-18 | 2017-06-22 | Csem Centre Suisse D'electronique Et De Microtechnique Sa - Recherche Et Developpement | Method for fabrication of a balance spring of a predetermined stiffness by local removal of material |
| EP3181939A1 (fr) * | 2015-12-18 | 2017-06-21 | CSEM Centre Suisse d'Electronique et de Microtechnique SA - Recherche et Développement | Procede de fabrication d'un spiral d'une raideur predeterminee par ajout de matiere |
| CN106896708A (zh) * | 2015-12-18 | 2017-06-27 | 瑞士电子显微技术研究与开发中心股份有限公司 | 用于通过去除材料制造预定刚度的游丝的方法 |
| CN106997170A (zh) * | 2015-12-18 | 2017-08-01 | 瑞士电子显微技术研究与开发中心股份有限公司 | 用于通过增加材料制造预定厚度的游丝的方法 |
| EP3181940B1 (fr) | 2015-12-18 | 2019-02-06 | CSEM Centre Suisse d'Electronique et de Microtechnique SA - Recherche et Développement | Procede de fabrication d'un spiral d'une raideur predeterminee par retrait localise de matiere |
| EP3181938B1 (fr) | 2015-12-18 | 2019-02-20 | CSEM Centre Suisse d'Electronique et de Microtechnique SA - Recherche et Développement | Procede de fabrication d'un spiral d'une raideur predeterminee par retrait de matiere |
| EP3181938A1 (fr) * | 2015-12-18 | 2017-06-21 | CSEM Centre Suisse d'Electronique et de Microtechnique SA - Recherche et Développement | Procede de fabrication d'un spiral d'une raideur predeterminee par retrait de matiere |
| US10324417B2 (en) | 2015-12-18 | 2019-06-18 | CSEM Centre Suisse d'Electronique et de Microtechnique SA-Recherche et Développement | Method for fabrication of a balance spring of a predetermined stiffness by removal of material |
| US10324418B2 (en) | 2015-12-18 | 2019-06-18 | CSEM Centre Suisse d'Electronique et de Microtechnique SA-Recherche et Développement | Method for fabrication of a balance spring of predetermined thickness through the addition of material |
| US10338528B2 (en) | 2015-12-18 | 2019-07-02 | Csem Centre Suisse D'electronique Et De Microtechnique Sa—Recherche Et Developpement | Method for fabrication of a balance spring of a predetermined stiffness by local removal of material |
| CN106896700B (zh) * | 2015-12-18 | 2019-10-15 | 瑞士电子显微技术研究与开发中心股份有限公司 | 通过局部去除材料来制造预定刚度的游丝的方法 |
| CN106896708B (zh) * | 2015-12-18 | 2019-10-15 | 瑞士电子显微技术研究与开发中心股份有限公司 | 用于通过去除材料制造预定刚度的游丝的方法 |
| CN106997170B (zh) * | 2015-12-18 | 2019-10-15 | 瑞士电子显微技术研究与开发中心股份有限公司 | 用于通过增加材料制造预定厚度的游丝的方法 |
| CN110376871A (zh) * | 2015-12-18 | 2019-10-25 | 瑞士电子显微技术研究与开发中心股份有限公司 | 用于通过去除材料制造预定刚度的游丝的方法 |
| EP3416001B1 (fr) * | 2017-06-13 | 2022-04-13 | Patek Philippe SA Genève | Procédé de fabrication d'un oscillateur à pivot flexible |
Similar Documents
| Publication | Publication Date | Title |
|---|---|---|
| EP2275879B1 (fr) | Porte-échappement | |
| WO2012066094A2 (fr) | Procede d'ajustement de frequence d'oscillation d'un sous-ensemble d'horlogerie | |
| EP3227754B1 (fr) | Ensemble balancier-spiral d'horlogerie | |
| JP2002214368A (ja) | 機械式時計用のスプリング・バランスの振動周波数を調整する方法 | |
| CH700260B1 (fr) | Balancier spiral sans élément de réglage. | |
| EP1213628A1 (fr) | Procédé de réglage de la fréquence d'oscillation d'un balancier-spiral pour une pièce d'horlogerie mécanique | |
| EP4286962A1 (fr) | Organe réglant d'horlogerie comprenant un système de raquetterie muni de moyens de verrouillage | |
| EP3430479B1 (fr) | Dispositif pour pièce d'horlogerie, mouvement horloger et pièce d'horlogerie comprenant un tel dispositif | |
| EP1804143A1 (fr) | Pièce d'horlogerie mécanique comprenant des moyens de réglage de l'ébat d'un mobile tournant | |
| EP4286961A1 (fr) | Organe reglant d'horlogerie muni d'un systeme de raquetterie de precision | |
| WO2014072168A1 (fr) | Mise d'inertie ou d'équilibrage d'un ensemble balancier-spiral d'horlogerie | |
| EP4432020A1 (fr) | Mouvement horloger | |
| EP3391154B1 (fr) | Système oscillant pour montre | |
| EP3647883B1 (fr) | Balancier d'une piece d'horlogerie | |
| FR3048792B1 (fr) | Dispositif pour piece d'horlogerie, mouvement horloger et piece d'horlogerie comprenant un tel dispositif | |
| CH715513A2 (fr) | Balancier d'une pièce d'horlogerie. | |
| CH720580A2 (fr) | Dispositif de réglage autonome de la longueur active d'un spiral | |
| CH703605B1 (fr) | Oscillateur pour pièce d'horlogerie, balancier pour équiper un tel oscillateur et mouvement de montre équipé d'un tourbillon comportant un tel balancier. | |
| WO2024141601A1 (fr) | Système réglant pour mouvement horloger | |
| FR3048793A1 (fr) | Micro mecanisme a reglage de position, mouvement horloger et piece d'horlogerie comprenant un tel mecanisme | |
| EP4643186A1 (fr) | Système réglant pour mouvement horloger | |
| CH720774A2 (fr) | Mouvement horloger mécanique comprenant un mobile portant un organe d'affichage et muni d'un dispositif de freinage | |
| CH704149A2 (fr) | Procédé d'appairage et d'ajustement d'un sous-ensemble d'horlogerie. | |
| CH340188A (fr) | Balancier à moment d'inertie réglable | |
| EP4428628A1 (fr) | Dispositif de reglage autonome de la longueur active d'un spiral |
Legal Events
| Date | Code | Title | Description |
|---|---|---|---|
| PUAI | Public reference made under article 153(3) epc to a published international application that has entered the european phase |
Free format text: ORIGINAL CODE: 0009012 |
|
| AK | Designated contracting states |
Kind code of ref document: A1 Designated state(s): AT BE CH CY DE DK ES FI FR GB GR IE IT LI LU MC NL PT SE TR |
|
| AX | Request for extension of the european patent |
Free format text: AL;LT;LV;MK;RO;SI |
|
| 17P | Request for examination filed |
Effective date: 20021212 |
|
| AKX | Designation fees paid |
Designated state(s): CH DE LI |
|
| STAA | Information on the status of an ep patent application or granted ep patent |
Free format text: STATUS: THE APPLICATION HAS BEEN WITHDRAWN |
|
| RAP1 | Party data changed (applicant data changed or rights of an application transferred) |
Owner name: ETA SA MANUFACTURE HORLOGERE SUISSE |
|
| 18W | Application withdrawn |
Effective date: 20030227 |