EP1069275A2 - Sun protection device with position adapting depending on the incidence of light - Google Patents
Sun protection device with position adapting depending on the incidence of light Download PDFInfo
- Publication number
- EP1069275A2 EP1069275A2 EP00114880A EP00114880A EP1069275A2 EP 1069275 A2 EP1069275 A2 EP 1069275A2 EP 00114880 A EP00114880 A EP 00114880A EP 00114880 A EP00114880 A EP 00114880A EP 1069275 A2 EP1069275 A2 EP 1069275A2
- Authority
- EP
- European Patent Office
- Prior art keywords
- sun protection
- protection system
- sun
- input variables
- sensor
- Prior art date
- Legal status (The legal status is an assumption and is not a legal conclusion. Google has not performed a legal analysis and makes no representation as to the accuracy of the status listed.)
- Withdrawn
Links
- 230000037072 sun protection Effects 0.000 title claims abstract description 84
- 238000009434 installation Methods 0.000 claims abstract description 5
- 230000006870 function Effects 0.000 claims description 5
- 230000007613 environmental effect Effects 0.000 claims description 4
- 239000004020 conductor Substances 0.000 claims description 2
- 230000001419 dependent effect Effects 0.000 abstract description 4
- 230000006978 adaptation Effects 0.000 description 5
- 230000008901 benefit Effects 0.000 description 4
- 238000010586 diagram Methods 0.000 description 4
- 239000000523 sample Substances 0.000 description 4
- 230000001133 acceleration Effects 0.000 description 3
- 230000005540 biological transmission Effects 0.000 description 3
- 238000010438 heat treatment Methods 0.000 description 3
- 230000005291 magnetic effect Effects 0.000 description 3
- 238000005259 measurement Methods 0.000 description 3
- 230000007704 transition Effects 0.000 description 3
- 230000003044 adaptive effect Effects 0.000 description 2
- 230000005611 electricity Effects 0.000 description 2
- 230000001932 seasonal effect Effects 0.000 description 2
- 206010054197 Gait deviation Diseases 0.000 description 1
- 230000008859 change Effects 0.000 description 1
- 238000011109 contamination Methods 0.000 description 1
- 230000007423 decrease Effects 0.000 description 1
- 238000001514 detection method Methods 0.000 description 1
- 230000000694 effects Effects 0.000 description 1
- 238000009429 electrical wiring Methods 0.000 description 1
- 230000008030 elimination Effects 0.000 description 1
- 238000003379 elimination reaction Methods 0.000 description 1
- 238000011156 evaluation Methods 0.000 description 1
- 230000005294 ferromagnetic effect Effects 0.000 description 1
- 230000004907 flux Effects 0.000 description 1
- 238000011835 investigation Methods 0.000 description 1
- 238000004519 manufacturing process Methods 0.000 description 1
- QSHDDOUJBYECFT-UHFFFAOYSA-N mercury Chemical compound [Hg] QSHDDOUJBYECFT-UHFFFAOYSA-N 0.000 description 1
- 229910052753 mercury Inorganic materials 0.000 description 1
- 230000037230 mobility Effects 0.000 description 1
- 238000001556 precipitation Methods 0.000 description 1
- 230000009993 protective function Effects 0.000 description 1
- 230000005855 radiation Effects 0.000 description 1
- 238000009420 retrofitting Methods 0.000 description 1
- 230000035939 shock Effects 0.000 description 1
- 230000009897 systematic effect Effects 0.000 description 1
Images
Classifications
-
- E—FIXED CONSTRUCTIONS
- E06—DOORS, WINDOWS, SHUTTERS, OR ROLLER BLINDS IN GENERAL; LADDERS
- E06B—FIXED OR MOVABLE CLOSURES FOR OPENINGS IN BUILDINGS, VEHICLES, FENCES OR LIKE ENCLOSURES IN GENERAL, e.g. DOORS, WINDOWS, BLINDS, GATES
- E06B9/00—Screening or protective devices for wall or similar openings, with or without operating or securing mechanisms; Closures of similar construction
- E06B9/56—Operating, guiding or securing devices or arrangements for roll-type closures; Spring drums; Tape drums; Counterweighting arrangements therefor
- E06B9/68—Operating devices or mechanisms, e.g. with electric drive
-
- E—FIXED CONSTRUCTIONS
- E04—BUILDING
- E04F—FINISHING WORK ON BUILDINGS, e.g. STAIRS, FLOORS
- E04F10/00—Sunshades, e.g. Florentine blinds or jalousies; Outside screens; Awnings or baldachins
- E04F10/02—Sunshades, e.g. Florentine blinds or jalousies; Outside screens; Awnings or baldachins of flexible canopy materials, e.g. canvas ; Baldachins
- E04F10/06—Sunshades, e.g. Florentine blinds or jalousies; Outside screens; Awnings or baldachins of flexible canopy materials, e.g. canvas ; Baldachins comprising a roller-blind with means for holding the end away from a building
- E04F10/0644—Sunshades, e.g. Florentine blinds or jalousies; Outside screens; Awnings or baldachins of flexible canopy materials, e.g. canvas ; Baldachins comprising a roller-blind with means for holding the end away from a building with mechanisms for unrolling or balancing the blind
- E04F10/0659—Control systems therefor
-
- E—FIXED CONSTRUCTIONS
- E06—DOORS, WINDOWS, SHUTTERS, OR ROLLER BLINDS IN GENERAL; LADDERS
- E06B—FIXED OR MOVABLE CLOSURES FOR OPENINGS IN BUILDINGS, VEHICLES, FENCES OR LIKE ENCLOSURES IN GENERAL, e.g. DOORS, WINDOWS, BLINDS, GATES
- E06B9/00—Screening or protective devices for wall or similar openings, with or without operating or securing mechanisms; Closures of similar construction
- E06B9/24—Screens or other constructions affording protection against light, especially against sunshine; Similar screens for privacy or appearance; Slat blinds
- E06B9/26—Lamellar or like blinds, e.g. venetian blinds
- E06B9/28—Lamellar or like blinds, e.g. venetian blinds with horizontal lamellae, e.g. non-liftable
- E06B9/30—Lamellar or like blinds, e.g. venetian blinds with horizontal lamellae, e.g. non-liftable liftable
- E06B9/32—Operating, guiding, or securing devices therefor
-
- E—FIXED CONSTRUCTIONS
- E06—DOORS, WINDOWS, SHUTTERS, OR ROLLER BLINDS IN GENERAL; LADDERS
- E06B—FIXED OR MOVABLE CLOSURES FOR OPENINGS IN BUILDINGS, VEHICLES, FENCES OR LIKE ENCLOSURES IN GENERAL, e.g. DOORS, WINDOWS, BLINDS, GATES
- E06B9/00—Screening or protective devices for wall or similar openings, with or without operating or securing mechanisms; Closures of similar construction
- E06B9/56—Operating, guiding or securing devices or arrangements for roll-type closures; Spring drums; Tape drums; Counterweighting arrangements therefor
- E06B9/68—Operating devices or mechanisms, e.g. with electric drive
- E06B2009/6809—Control
- E06B2009/6818—Control using sensors
Definitions
- the invention relates to a sun protection system a sun protection curtain and at least one drive that the setting of the sun protection curtain via a control depending on several input variables adapts the environmental conditions.
- the object of the present invention is a To create a sun protection system that is dependent on the position of the sun Tracking enabled and more reliable than before known systems works.
- a sun protection system of the type described above Control the setting of the curtain using one in one Memory stored basic programming as a function at least of the input variables time, sun intensity and direction undertakes, the input variables, sun intensity and cardinal direction and, if necessary, others input variables relating to the environmental properties for the installation position of the sun protection system can be determined individually are.
- the sun protection system according to the invention offers the advantage that the sun-dependent tracking of the setting no longer determined by a control circuit prone to failure but as a function of the input variables time and direction is determined so that disturbances can hardly be expected are.
- The is used for tracking the system depending on the position of the sun Input variable time, for example by a clock or a radio clock is determined.
- a radio clock is preferable because it has less gait deviations and the attitude performs independently on summer and winter time.
- the Correction of summer and winter time is in the control made by programming the changeover days to the Adjust sun position correction to the changed time.
- the month and day are also preferred recorded as an input variable for the seasonal changes the solar path.
- the input variable direction i.e. Alignment of the Sun protection system
- the setting of the sun protection system can be optimized using this input variable be because at any time in connection with the input variable the side angle of incidence of the sun on the system is known.
- the input of the sky direction input variable can either done with the help of an electronic compass or the geographic orientation data can be obtained from Assembly for the sun protection system individually in one Memory can be stored.
- the concept according to the invention is suitable for all types of sun protection systems to ensure optimal at all times Heat protection and hiding direct sunlight to enable, but also for one to ensure the best possible light in the interior of the room.
- the sun protection system as an awning carried out depends on the input variables an adjustment of the extension length and / or the inclination of the Blind, while next to an apprenticeship as venetian blind the control of the extension length, especially the adjustment the slat inclination especially with regard to the tracking depending on the position of the sun.
- the sun protection systems can be designed as indoor or outdoor systems.
- the geographic data can be used when installing the sun protection system can be entered and saved, whereby a particularly precise determination of the location with the help a so-called GPS receiver is possible. It is also conceivable to integrate such a GPS receiver into the system, however, since the determination of the geographical location The transmission of data is only to be carried out once from a mobile GPS receiver or a factory Prefer preference for cost reasons.
- input variables can have protective functions for example the system when the wind is too strong, when it rains or being able to drive in, or they can be targeted used to vary the curtain setting be, for example, at low temperatures Increase direct sunlight into the room, to save heating costs.
- the sun protection system is ready for operation pre-assembled with all sensors and the pre-programmed Control is provided and a supply connection to a common household electricity network.
- the Supply connection can in addition to the power supply Connection lines to the hand switches must be assigned.
- the sensors for detecting the environmental properties reproducing input variables are preferably located within of a housing and are via suitable channels or conductors connected to the environment. Through this measure, the Largely sensors against dirt or damage protected and the effort for electrical wiring, otherwise when assembling the sun protection system must be made decreases.
- the automatic Setting is overriding. Because the basic programming always only for a certain application can be optimized, for example for jobs in close to window surfaces, and also the feeling of Users can be very different, should be manual on this Adjustability cannot be waived. Also for complete darkening of the room, for example for picture presentations, manual intervention is essential. However, it is also conceivable to differentiate certain Optimized basic programming in the uses Save the control so that a preset can already be set Adaptation of the sun protection system to the actual use of the room to be shadowed.
- the basic programming through manual intervention changeable with the help of an adaptively learnable control is.
- the adaptively learnable control extends the adaptation in Automatic operation to meet user requirements.
- the adaptively learnable The control does not detect a manual intervention only the desired setting but also the input variables, that existed at the time of the manual intervention to have. Takes place with essentially the same input variables repeated manual intervention, the control can when these input variables are recognized in the future the repeated manual setting automatically drive off. Also a gradual convergence of the Basic programming to the different manual setting with increasing number of repetitions of the manual Readjustment is conceivable.
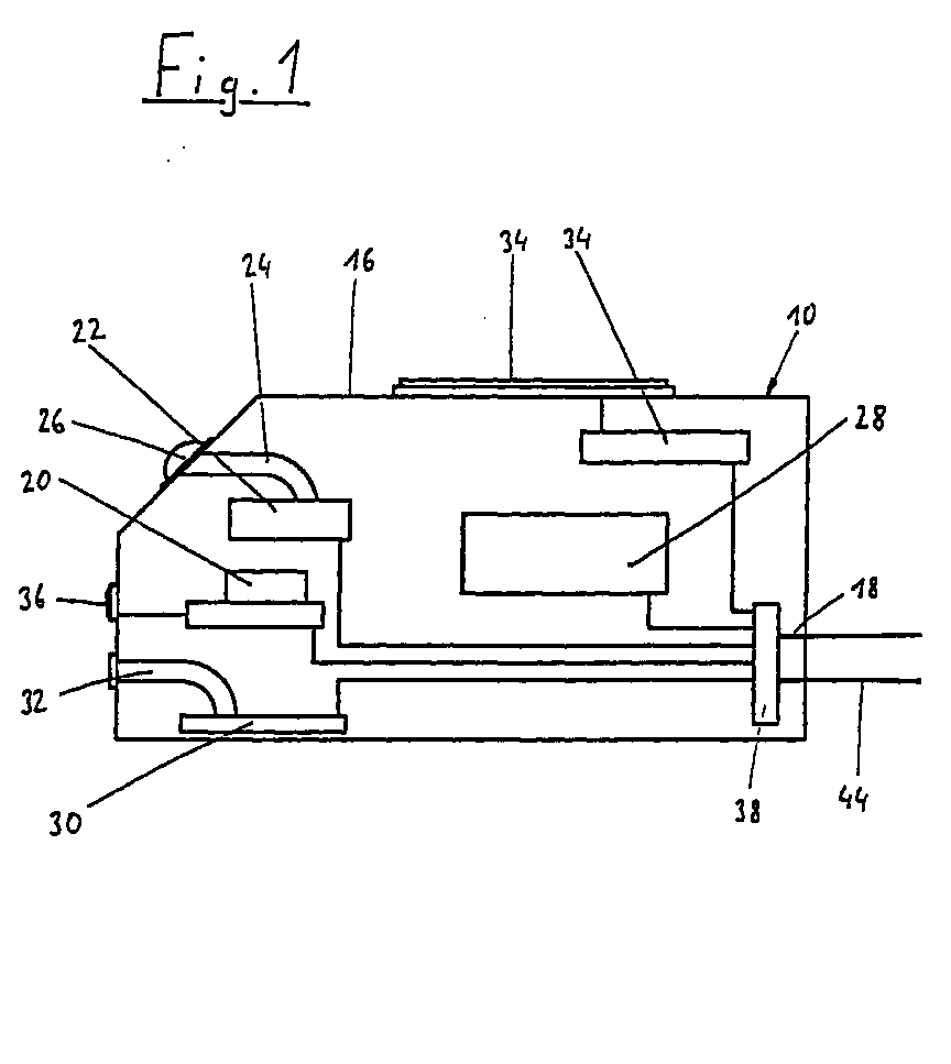
- FIG. 1 shows a sensor system 10 for determining active input variables for controlling a sun protection system 12 (see 2), which is connected to a controller 14 (see FIG. 2 and 3) are transmitted, which are defined when reached Switching values travel commands to the drives 17 (see FIG. 3) transmitted to the sun protection system 12 and thus an automatic Setting the sun protection system 12 allows.
- the sensor system 10 shown in FIG. 1 is in a separate one Housing 16 housed that with the help of connecting lines 18 is coupled to the controller 14.
- the sensors 10 at least the input variables time / date, Sun intensity and cardinal direction of the sun protection system determine an automatic control of the sun protection system 12 depending on the position of the sun can.
- the Radio receiver 20 is of course with a suitable one Antenna (not shown) designed to be safe Data reception regardless of location within the transmission range ensures. Determining the day of the week and the summer time correction can be programmed in the Control 14 can be realized.
- the sensor system 10 can also have a clock that has the required input variables provides.
- a clock that has the required input variables provides.
- gear deviations occur over the years or even one due to power outages complete adjustment comes that manual again Intervention in places of the time is necessary.
- the input variable sun intensity is determined with the help of a sun sensor 22, which acts as a photo resistor, Photodiode or solar cell is formed.
- the sun sensor 22 is immediate in the illustrated embodiment on the circuit board of the evaluation system inside the sensor housing 16 arranged and with a light guide 24 connected to a lens 26 seated on the outer wall of the housing.
- the photosensitive element it is also conceivable for the photosensitive element to assemble itself on the outside of the housing and the Connection to the board using electrical cables to manufacture.
- the sun sensor supplies the controller 14 with a Information about whether the sun protection system 14 or the window surface to be shaded by her at all Is exposed to sunlight or whether for example extension of the sun protection system due to cloudiness is necessary at all.
- the sun sensor 22 also from an opposite facade, for example Capture reflected sunlight and extend the Effect sun protection system at a time of the day the control actually assumes that the affected Facade is in shadow.
- a direction sensor 28 is provided which automatically after assembly recognizes the orientation of the sun protection system 12, what with the separately executed in Fig. 1 housing 16 of the sensors 10 of course presupposes that this is located in a precisely defined position to the sun protection system.
- the direction sensor 28 can in its execution as an electronic compass two or three axes of the final magnetic field measure and from the individual components of the magnetic field calculate the absolute direction. For the most For applications, the measurement of the two horizontal components is sufficient because the sun protection system and thus the Direction sensor 28 during assembly using a spirit level be aligned exactly. It is important to ensure, that ferromagnetic components of the sun protection system, such as e.g.
- the drive motors 17 the earth's magnetic field to be measured do not bother. During faults within the sensor system 10 The drive motors should be able to be compensated computationally 17 remain switched off during measurements, so as not to falsify the measurement result.
- the electronic Compass 28 can be used, for example, as a flux gate sensor or be designed as a magnetoresistive sensor.
- the sensor system 10 offers the possibility of using of a wind sensor 30 the input variable wind speed to detect and thus a hazard to the strong wind System caused by mechanical overload caused by starting to avoid retracting the system.
- cup cross anemometer is used as a wind sensor usable, but only the horizontal components of the wind up to a deviation of about 15 ° from the horizontal. At the wind speed becomes the input variable specified too low, with pure opening or Falling cups of this kind cannot be used at all Record wind movement.
- cup cross animometers are required relatively much space.
- Wind sensor 30 used a pressure sensor inside of the housing 16 is arranged and via a hose connection 32 communicates with the environment. Further Sensors with the aid of which an air flow can be detected thermal probes can be used as a measure of wind speed, where the airflow is electrically heated Sensor cools down so that with constant heating power the temperature or at constant temperature the Heating power is a measure of the flow velocity, or a strain gauge circuit that bends the airflow exposed certain body as a measure of the flow velocity recorded with the help of two strain gauge elements and evaluates with a bridge circuit.
- the wind sensor 30 instead of the hose connection 32, the wind sensor 30 again be mounted on the surface of the housing 16.
- the wind sensor 22 has all wind directions via a sensor head (not shown), which is either a has a large detection area or self-aligning is trained. Depending on the geometry of the sensor head different coverage areas can be covered where the deviations from measured to actual wind speed e.g. less than 5%. This may be related to known investigations with total pressure probes, especially shielded probe heads, e.g. Kiel probes as Geometry template come into question.
- the sensor head can be attached to a movable wing be attached, modeled on a simple Prandtl tube can be.
- the wing must be freely rotatable ensure according to the attacking wind and the Connection from the receiving tube to the sensor must be flexible, so as not to restrict the mobility of the wing.
- a completely different principle for determining the input variable Wind speed can be immediate deformation, Vibrations or accelerations on parts of the Determine the sun protection system as a measure of the wind speed can apply.
- deformations caused by wind can be determined with the help of strain gauge circuits. These will preferably on a heavily loaded component of the sun protection system attached, for example to awnings an awning support tube in the area of the arm holder or on the arm profiles.
- the strain gauge circuit is according to the determining deformation as a quarter, half or full bridge formed, the changes in resistance occurring in the measuring strips a measure of the deformation and thus for the attacking wind load.
- the sensor system 10 shown in FIG. 1 also has via a rain sensor 34, the precipitation or moisture can record and especially for those sensitive to moisture Sun protection systems, e.g. Awnings, retracting the Plant can initiate.
- Sun protection systems e.g. Awnings
- the sensor system 10 also has a temperature sensor 36, whose signal as a further input variable for the control 14 can be used.
- the microcontroller 38 is on a two-wire or three-wire bus line 44 connected to the controller 14.
- Fig. 2 shows a schematic cross section of a Venetian blind Venetian blind 12, in the upper rail 46 a sensor system 10 corresponding to the sensor system shown in Fig. 1 without housing and a controller 14 are integrated.
- the lens 26, the temperature sensor 36 and the opening of the with the Wind sensor 30 connected hose line 32 are on the Outside of an aperture 48 provided the upper part covers a shaft 50 in which the external blind 12 is mounted.
- the venetian blind 12 has a slatted curtain 52, the individual lamellae 54 in Fig. 2 in the retracted Position as a package are shown gathered.
- the Venetian blind 12 has two motors 17 (see FIG.
- the functional diagram shown in Fig. 3 shows the Controller 14 for the motors 17 of the venetian blind 12 in FIG. 2 with the intended for determining relevant input variables Sensors.
- Sensors In addition to the temperature sensor already described 36, rain sensor 34, direction sensor 28, radio receiver 20, sun sensor 22 and wind sensor 30 are to be determined other input variables the already mentioned manual Hand switches 56, 58 for the extension length and the Angle adjustment of the curtain 52 shown.
- the hand switches can also run in the form of a remote control his.
- Further input variables represent the with the help of a Encoder 60 detected actual extension length and that with the help of a Another encoder 62 detected the actual angular position of the curtain 52.
- the two sensors 60, 62 can for example provided in the form of rotary angle sensors on the motors 17 his.
- the mentioned measured or set input variables are connected to the multiplexer 40 and this one Analog / digital converter 42 passed on to the incoming Converts sensor signals serially.
- To converter 42 is followed by a sensor signal adaptation 64, for example Characteristic curves linearized or signal impulses in converts a continuous size.
- a sensor signal adaptation 64 for example Characteristic curves linearized or signal impulses in converts a continuous size.
- sequence programs are stored, which in Dependence on the output signal of the sensor signal adaptation 64 generate the output variables for controlling the motors 17.
- the control programs are still from the content of a Memory 68 affects in which information about the longitude and latitude of the location of the exhibition Sun protection system 12 are stored, because only the exact geographical indication an exact determination of the position of the sun relative to the sun protection system 12 is possible. However, even without this information, using a Preset a good approximation for many locations possible.
- the controller 14 is constructed so that the with the hand switches 56, 58 manually entered values for the extension length or the angle setting with priority over the according to the measured input variables based on the Basic programming determined setting are treated. Will be a manual setting for a certain time not corrected, the controller 14 resembles a predefined one Period of several hours the setting independently again on the theoretical ideal course.
- the transitions are sigmoid in order to be as inconspicuous as possible To enable resetting.
- the sigmoid-shaped Transitions are realized via Bézier curves, which guarantee that the feedback curve is always only a turning point owns.
- the time of day input variables determined by the radio clock 20 and date are used to track the setting angle of the slats 54 to the height of the sun, the date information Compensate for seasonal changes in the solar path can.
- Special calculation formulas are used for tracking stored in the control 14, the azimuth and elevation angles the solar radiation.
- In connection with the input variable sky direction determined by the compass 28 can be calculated whether the sun at all can shine directly on the system and what relative position takes them to the facility.
- These calculations can be by the information stored in the memory 68 about the geographical location of the system 12 further specify, the data also from one to the System integrated GPS receiver can be provided can.
- the geographic data at Assembly of the system stored in the memory 68 for example by transmission from a mobile GPS receiver, immediate entry of the geographic data or the alternatively, entering the geographic location approximately characteristic information, e.g. Postcodes or license plate.
- the other input variables sun intensity, wind speed, Rain and temperature are treated so that at Exceeding or falling below certain threshold values
- the system 14 is brought in by the controller 14. If necessary, these threshold values can be dependent from the actual extension state determined by the sensors 60, 62 the system 12 can be varied.
- control 4 is a modified embodiment of the control 14, which enables an adaptive learning ability.
- a further memory module 70 is provided for this purpose, in which manual interventions are carried out together with the Input variables available at the time of the intervention can be saved.
- the adaptive Learning ability allows individual adaptation of the Control 14 to the user habits so that this after a short time no longer manually in the automatic Sequence of control 14 must intervene.
- a reset of the controller 14 to the original state is by entering a special switching signal via the Manual switch possible, whereby the learned data is deleted and the controller then at least again initially works according to the basic programming.
- the sensors 10, control 14 and motors 17 of the sun protection system 12 only need a conventional supply Household electricity network without additional components or even control lines, as they have been implemented in the past Systems can be found. With the connection to the power grid the system is ready for operation only the data for the geographical location and / or the alignment of the system can be stored have to.
- a controller 14 also for automatic control of others Sun protection systems, e.g. from awnings.
- the controller can select the type of sun protection system to be controlled 14 output signals for only one motor, for two motors (see embodiment) or generate more motors.
- the basic programming of the sun protection system be adapted, with adapted programming the use of one and the same unit from sensors 10 and Control 14 for different types of sun protection systems can be used.
Landscapes
- Engineering & Computer Science (AREA)
- Architecture (AREA)
- Structural Engineering (AREA)
- Civil Engineering (AREA)
- Blinds (AREA)
- Building Awnings And Sunshades (AREA)
- Transmission And Conversion Of Sensor Element Output (AREA)
- Train Traffic Observation, Control, And Security (AREA)
- Wind Motors (AREA)
- Power-Operated Mechanisms For Wings (AREA)
- Operating, Guiding And Securing Of Roll- Type Closing Members (AREA)
Abstract
Eine Sonnenschutzanlage besitzt einen Sonnenschutzbehang (52) und einen Antrieb (17), der über eine Steuerung (14) eine selbständige Anpassung der Einstellung des Sonnenschutzbehangs in Abhängigkeit von mehreren Eingangsgrößen vornimmt. Bekannt ist bereits eine Nachführung des Lamellenwinkels eines Raffstores mit Hilfe von Sensoren auf einer Lamelle. In der Praxis konnten diese Systeme jedoch nicht überzeugen. Um eine zuverlässig arbeitende Sonnenschutzanlage mit sonnenstandsabhängiger Nachführung zu schaffen, wird vorgeschlagen, daß die Steuerung (14) die Behangeinstellung anhand einer Grundprogrammierung als Funktion wenigstens der Eingangsgrößen Zeit, Sonnenintensität und Himmelsrichtung vornimmt, wobei diese Eingangsgrößen für die Einbaulage der Sonnenschutzanlage individuell erfassbar sind. Eine solche Sonnenschutzanlage kommt ohne störungsanfälligen Regelkreis aus und nimmt die Nachführung der Einstellung lediglich als Funktion der Eingangsgrößen vor. A sun protection system has a sun protection curtain (52) and a drive (17) which independently adjusts the setting of the sun protection curtain as a function of several input variables via a control (14). A tracking of the slat angle of a venetian blind with the help of sensors on a slat is already known. In practice, however, these systems were not convincing. In order to create a reliably working sun protection system with tracking dependent on the position of the sun, it is proposed that the controller (14) carry out the blind adjustment on the basis of a basic programming as a function of at least the input variables time, sun intensity and compass direction, these input variables for the installation position of the sun protection system being individually detectable. Such a sun protection system does not require a control circuit that is susceptible to faults and only updates the setting as a function of the input variables.
Description
Die Erfindung befaßt sich mit einer Sonnenschutzanlage mit einem Sonnenschutzbehang und wenigstens einem Antrieb, der über eine Steuerung die Einstellung des Sonnenschutzbehangs in Abhängigkeit von mehreren Eingangsgrößen selbständig an die Umgebungsbedingungen anpaßt.The invention relates to a sun protection system a sun protection curtain and at least one drive that the setting of the sun protection curtain via a control depending on several input variables adapts the environmental conditions.
Bisher sind automatisch gesteuerte Sonnenschutzanlagen vor allem aus größeren Bürogebäuden bekannt, in denen eine zentrale Steuerung einen Abgleich zwischen global für ein Gebäude oder eine Fassade vorgegebenen Sollwerten und zentral gemessenen Istwerten vornimmt. Eine individuelle Ansteuerung einzelner Sonnenschutzanlagen ist nicht vorgesehen und dementsprechend kann eine zentral, weit ab von einer bestimmten Sonnenschutzanlage ermittelte Eingangsgröße zum Verstellen aller angesteuerten Anlagen führen, obgleich die gemessenen Eingangsgrößen für einen Teil der Anlagen gar nicht relevant sind.So far, automatically controlled sun protection systems are available Known mainly from larger office buildings, in which a central Control a global match for a building or a facade predetermined target values and central measured actual values. Individual control individual sun protection systems is not provided and accordingly, one can be central, far from a certain one Sun protection system determined input size to Adjust all controlled systems, although the measured input variables for some of the systems are not relevant.
Aus dem Bereich der Raffstoren ist es auch bereits bekannt, eine Sonnenschutzanlage sonnenstandsabhängig auszuführen, indem die Lamellenwinkel dem Sonnenstand angepaßt werden. Hierzu sind auf einer Lamelle zusätzlich zu dem Sonnensensor zwei Sensoren angeordnet, die den Einfallswinkel der Sonnenstrahlen erfassen und die Lamellen senkrecht zu den einfallenden Sonnenstrahlen ausrichten. Derartige Systeme konnten in der Praxis jedoch bislang nicht überzeugen, da die Lamellen oft zu weit geschlossen wurden, die Nachführung sehr auffällig erfolgte und aufgrund der ständig erfolgenden Nachregelungen die Sensorik und Motorsteuereinheit nur eine sehr kurze Lebensdauer erreichten. Die Sensorik ist auch sehr schmutzempfindlich, wobei bereits leichte Verschmutzungen zu gravierenden Fehleinstellungen der Anlage führen können.From the field of external venetian blinds, it is already known to implement a sun protection system depending on the position of the sun, by adjusting the slat angle to the position of the sun. For this purpose are on a slat in addition to the sun sensor two sensors arranged, the angle of incidence of the Capture sun rays and the slats perpendicular to the Align incoming sun rays. Such systems have so far not been able to convince in practice because the slats were often closed too far, the tracking very conspicuous and due to the constantly occurring Readjustments of the sensors and engine control unit only achieved a very short lifespan. The sensors is also very sensitive to dirt, although already light Contamination to serious incorrect settings of the system being able to lead.
Die Aufgabe der vorliegenden Erfindung besteht darin, eine Sonnenschutzanlage zu schaffen, die eine sonnenstandsabhähnige Nachführung ermöglicht und zuverlässiger als bisher bekannte Systeme arbeitet.The object of the present invention is a To create a sun protection system that is dependent on the position of the sun Tracking enabled and more reliable than before known systems works.
Erfindungsgemäß wird die Aufgabe dadurch gelöst, daß bei einer Sonnenschutzanlage der eingangs beschriebenen Art die Steuerung die Einstellung des Behangs anhand einer in einem Speicher hinterlegten Grundprogrammierung als Funktion wenigstens der Eingangsgrößen Zeit, Sonnenintensität und Himmelsrichtung vornimmt, wobei die Eingangsgrößen, Sonnenintensität und Himmelsrichtung sowie gegebenenfalls weitere die Umgebungseigenschaften betreffende Eingangsgrößen für die Einbaulage der Sonnenschutzanlage individuell erfaßbar sind.According to the invention the object is achieved in that a sun protection system of the type described above Control the setting of the curtain using one in one Memory stored basic programming as a function at least of the input variables time, sun intensity and direction undertakes, the input variables, sun intensity and cardinal direction and, if necessary, others input variables relating to the environmental properties for the installation position of the sun protection system can be determined individually are.
Die erfindungsgemäße Sonnenschutzanlage bietet den Vorteil, daß die sonnenstandsabhängige Nachführung der Einstellung nicht mehr von einem störungsanfälligen Regelkreis bestimmt wird sondern als Funktion der Eingangsgrößen Zeit und Himmelsrichtung ermittelt wird, so daß Störungen kaum zu erwarten sind.The sun protection system according to the invention offers the advantage that the sun-dependent tracking of the setting no longer determined by a control circuit prone to failure but as a function of the input variables time and direction is determined so that disturbances can hardly be expected are.
Zur sonnenstandsabhängigen Nachführung der Anlage dient die Eingangsgröße Zeit, die beispielsweise durch eine Uhr oder eine Funkuhr ermittelt wird. Eine Funkuhr ist vorzuziehen, da sie geringere Gangabweichungen besitzt und die Einstellung auf Sommer- und Winterzeit selbständig durchführt. Die Korrektur der Sommer- und Winterzeit wird in der Steuerung durch Programmierung der Umschalttage vorgenommen, um die Sonnenstandskorrektur der umgestellten Uhrzeit anzupassen. Neben der Tageszeit werden vorzugsweise auch Monat und Tag als Eingangsgröße erfaßt, um die jahreszeitabhängigen Änderungen der Sonnenbahn berücksichtigen zu können.The is used for tracking the system depending on the position of the sun Input variable time, for example by a clock or a radio clock is determined. A radio clock is preferable because it has less gait deviations and the attitude performs independently on summer and winter time. The Correction of summer and winter time is in the control made by programming the changeover days to the Adjust sun position correction to the changed time. In addition to the time of day, the month and day are also preferred recorded as an input variable for the seasonal changes the solar path.
Die Eingangsgröße Himmelsrichtung, d.h. Ausrichtung der Sonnenschutzanlage, gibt der Steuerung eine Information darüber, ob eine durch die Sonnenschutzanlage zu verschattende Fensterfläche überhaupt direkter Sonnenbestrahlung ausgesetzt sein kann. Auch die Einstellung der Sonnenschutzanlage kann mit Hilfe dieser Eingangsgröße optimiert werden, da im Zusammenhang mit der Eingangsgröße Zeit jederzeit der seitliche Einfallswinkel der Sonne auf die Anlage bekannt ist.The input variable direction, i.e. Alignment of the Sun protection system, gives the control system information whether there is a shadow to be shaded by the sun protection system Window area of direct sunlight at all may be exposed. Also the setting of the sun protection system can be optimized using this input variable be because at any time in connection with the input variable the side angle of incidence of the sun on the system is known.
Die Erfassung der Eingangsgröße Himmelrichtung kann entweder mit Hilfe eines elektronischen Kompasses erfolgen oder die Daten der geographischen Ausrichtung können bei der Montage für die Sonnenschutzanlage individuell in einem Speicher hinterlegt werden.The input of the sky direction input variable can either done with the help of an electronic compass or the geographic orientation data can be obtained from Assembly for the sun protection system individually in one Memory can be stored.
Die Erfassung der Eingangsgröße Sonnenintensität, die mit Hilfe eines Fotoelements, einer Solarzelle oder sonstigen lichtempfindlichen Elements erfolgt, wobei auch eine Kombination mehrerer derartiger Sensoren denkbar ist, ist deswegen sinnvoll, um bei dichter Bewölkung ein unnötiges Ausfahren der Anlage zu vermeiden. Neben einer Erfassung eines reinen Schwellenwertes ist es jedoch auch denkbar, die Eingangsgröße Sonnenintensität in die Einstellungssteuerung der ausgefahrenen Anlage mit einzubeziehen.The acquisition of the input variable sun intensity with With the help of a photo element, a solar cell or other photosensitive element takes place, also a combination is therefore conceivable for several such sensors sensible, in order to avoid an unnecessary extension in dense clouds to avoid the system. In addition to recording a However, a pure threshold value is also conceivable, the input variable Sun intensity in the setting control of the extended system.
Grundsätzlich eignet sich das erfindungsgemäße Konzept für alle Arten von Sonnenschutzanlagen, um einen jederzeit optimalen Hitzeschutz und ein Ausblenden der direkten Sonnenstrahlung zu ermöglichen, gleichzeitig jedoch auch für einen möglichst guten Lichteinfall in das Rauminnere zu sorgen. Je nach Art der Sonnenschutzanlage können zur Einstellung des Sonnenschutzbehangs ein oder mehrere Stellmotore erforderlich sein. Ist die Sonnenschutzanlage als Markise ausgeführt, erfolgt in Abhängigkeit von den Eingangsgrößen eine Einstellung der Ausfahrlänge und/oder der Neigung des Behangs, während bei einer Ausbildung als Raffstore neben der Steuerung der Ausfahrlänge vor allem die Verstellung der Lamellenneigung insbesondere im Hinblick auf das Nachführen in Abhängigkeit vom Sonnenstand zweckdienlich ist. Selbstverständlich können die Sonnenschutzanlagen als Innen- oder Außenanlagen ausgeführt sein.Basically, the concept according to the invention is suitable for all types of sun protection systems to ensure optimal at all times Heat protection and hiding direct sunlight to enable, but also for one to ensure the best possible light in the interior of the room. Depending on the type of sun protection system you can adjust of the sun protection curtain one or more servomotors to be required. Is the sun protection system as an awning carried out depends on the input variables an adjustment of the extension length and / or the inclination of the Blind, while next to an apprenticeship as venetian blind the control of the extension length, especially the adjustment the slat inclination especially with regard to the tracking depending on the position of the sun. Of course, the sun protection systems can be designed as indoor or outdoor systems.
Um eine noch präzisere Nachführung der Einstellung der Sonnenschutzanlage mit Bezug auf den momentanen Sonnenstand zu ermöglichen, ist in weiterer bevorzugtet Ausbildung der Erfindung vorgesehen, daß die geographischen Koordinaten des Aufstellungsortes der Sonnenschutzanlage als weitere Eingangsgröße für die Steuerung der Behangeinstellung dienen.To make the setting of the sun protection system even more precise with respect to the current position of the sun enable is in a further preferred embodiment of the invention provided that the geographic coordinates of the Installation location of the sun protection system as a further input variable serve to control the blind adjustment.
Die genaue Information über den geographischen Längen- und Breitengrad des Aufstellungsortes erlaubt in Verbindung mit der Zeiterfassung und der Kenntnis über die geographische Ausrichtung der Anlage zu jedem Zeitpunkt eine exakte rechnerische Bestimmung des Sonnenstandes relativ zur Sonnenschutzanlage, wobei die Kenntnis des genauen Aufstellungsortes auch eine rechnerische Berücksichtigung der Zeitzone ermöglicht.The exact information about the latitude and longitude Latitude of the installation site allowed in connection with time recording and knowledge of the geographical Alignment of the system at any time an exact arithmetic Determination of the position of the sun relative to the sun protection system, being aware of the exact location also a mathematical consideration of the time zone enables.
Die geographischen Daten können bei der Montage der Sonnenschutzartlage eingegeben und abgespeichert werden, wobei eine besonderes genaue Ermittlung des Standortes mit Hilfe eines sog. GPS-Empfängers möglich ist. Es ist auch denkbar, einen derartigen GPS-Empfänger in die Anlage zu integrieren, da jedoch die Ermittlung des geographischen Standortes nur einmalig vorzunehmen ist, ist die Übermittlung von Daten aus einem mobilen GPS-Empfänger oder eine werkseitige Voreinstellung aus Kostengründen zu bevorzugen.The geographic data can be used when installing the sun protection system can be entered and saved, whereby a particularly precise determination of the location with the help a so-called GPS receiver is possible. It is also conceivable to integrate such a GPS receiver into the system, however, since the determination of the geographical location The transmission of data is only to be carried out once from a mobile GPS receiver or a factory Prefer preference for cost reasons.
Insbesondere bei Außenanlagen ist es von Vorteil, die Steuerung mit einem Windgeber, Regengeber, Temperaturgeber und/oder Luftfeuchtegeber zu koppeln, die weitere die Behangstellung beeinflussende Eingangsgrößen erfassen. Die Eingangsgrößen können zum einen Schutzfunktionen haben, um beispielsweise die Anlage bei zu starkem Wind, bei Regen oder Frostgefahr einfahren zu können, oder sie können gezielt zu einer Variation der Behangeinstellung herangezogen werden, beispielsweise um bei niedrigen Temperaturen den Einfall direkten Sonnenlichts in das Rauminnere zu erhöhen, um Heizkosten sparen zu können.It is particularly advantageous for outdoor facilities that Control with a wind sensor, rain sensor, temperature sensor and / or to couple air humidity sensors, the further the curtain capture influencing input variables. The On the one hand, input variables can have protective functions for example the system when the wind is too strong, when it rains or being able to drive in, or they can be targeted used to vary the curtain setting be, for example, at low temperatures Increase direct sunlight into the room, to save heating costs.
In einer besonders bevorzugten Ausführungsform der Erfindung ist vorgesehen, daß die Sonnenschutzanlage betriebsfertig vormontiert mit allen Sensoren und der vorprogrammierten Steuerung versehen ist und einen Versorgungsanschluß an ein übliches Haushaltsstromnetz aufweist. Dem Versorgungsanschluß können neben der Stromversorgung die Verbindungsleitungen zu den Handschaltern zugeordnet sein. Der Vorteil einer derartigen Sonnenschutzanlage liegt darin, daß sie bis auf den überall vorhandenen Stromanschluß vollständig autark arbeitet und nicht auf externe Sensoren oder Steuerungen angewiesen ist, unabhängig davon, ob die Sonnenschutzanlage in einem Einfamilienhaus oder als Teil einer aus mehreren Sonnenschutzanlagen bestehenden Sonnenschutzsystems eines größeren Gebäudes konzipiert ist. Das Konzept der autark arbeitenden Sonnenschutzanlage bietet den Vorteil, daß keine zusätzlichen Steuerleitungen in dem Gebäude verlegt werden müssen und auch die Inbetriebnahme der Anlage vereinfacht sich und kann ohne besonders geschultes Personal erfolgen. Es ist keine Programmierung der Anlage mehr erforderlich. Der Wegfall der Steuerleitungen ist insbesondere auch bei der Nachrüstung von Altbauten von Vorteil, bei denen derartige Steuerleitungen sehr aufwendig nachverlegt werden müßten.In a particularly preferred embodiment of the invention it is envisaged that the sun protection system is ready for operation pre-assembled with all sensors and the pre-programmed Control is provided and a supply connection to a common household electricity network. The Supply connection can in addition to the power supply Connection lines to the hand switches must be assigned. The advantage of such a sun protection system is that that they are up to the everywhere existing power connection works completely independently and not on external sensors or controls, regardless of whether the Sun protection system in a family home or as part a sun protection system consisting of several sun protection systems of a larger building. The Concept of the self-sufficient sun protection system offers the advantage that no additional control lines in the Buildings need to be relocated and commissioning also the system is simplified and can be done without specially trained Personnel. It is not programming the System more required. The elimination of the control lines is particularly useful when retrofitting old buildings Advantage in which such control lines are very expensive should be relocated.
Die Sensoren zur Erfassung der die Umgebungseigenschaften wiedergebenden Eingangsgrößen sitzen vorzugsweise innerhalb eines Gehäuses und sind über geeignete Kanäle oder Leiter mit der Umgebung verbunden. Durch diese Maßnahme sind die Sensoren vor Verschmutzungen oder Beschädigungen weitestgehend geschützt und der Aufwand für die elektrische Verdrahtung, die ansonsten bei der Montage der Sonnenschutzanlage vorgenommen werden muß, verringert sich.The sensors for detecting the environmental properties reproducing input variables are preferably located within of a housing and are via suitable channels or conductors connected to the environment. Through this measure, the Largely sensors against dirt or damage protected and the effort for electrical wiring, otherwise when assembling the sun protection system must be made decreases.
In den meisten Anwendungsfällen ist es sinnvoll, daß eine manuelle Eingriffsmöglichkeit vorgesehen ist, die der automatischen Einstellung übergeordnet ist. Da die Grundprogrammierung immer nur für einen bestimmten Anwendungsfall optimiert sein kann, beispielsweise für Arbeitsplätze in der Nähe von Fensterflächen, und auch das Empfinden der Nutzer sehr unterschiedlich sein kann, sollte auf diese manuelle Einstellbarkeit nicht verzichtet werden. Auch für eine vollständige Raumverdunklung, beispielsweise für Bildpräsentationen, ist ein manueller Eingriff unverzichtbar. Es ist jedoch auch denkbar, verschiedene bezüglich bestimmter Nutzungen optimierte Grundprogrammierungen in der Steuerung abzuspeichern, um bereits per Voreinstellung eine Anpassung der Sonnenschutzanlage an die tatsächliche Nutzung des zu verschattenden Raumes zu ermöglichen. In most applications, it makes sense that a manual intervention is provided, the automatic Setting is overriding. Because the basic programming always only for a certain application can be optimized, for example for jobs in close to window surfaces, and also the feeling of Users can be very different, should be manual on this Adjustability cannot be waived. Also for complete darkening of the room, for example for picture presentations, manual intervention is essential. However, it is also conceivable to differentiate certain Optimized basic programming in the uses Save the control so that a preset can already be set Adaptation of the sun protection system to the actual use of the room to be shadowed.
In weiterer bevorzugter Ausbildung der Erfindung ist vorgesehen, daß die Grundprogrammierung durch manuelle Eingriffe mit Hilfe einer adaptiv lernfähigen Steuerung veränderbar ist. Neben dem reinen Handbetrieb, durch welchen die Anlage entsprechend einer normalen Anlage manuell betätigbar ist, erweitert die adaptiv lernfähige Steuerung die Anpassung im Automatikbetrieb an die Benutzerwünsche. Die adaptiv lernfähige Steuerung erfaßt bei einem manuellen Eingriff nicht nur die gewünschte Einstellung sondern auch die Eingangsgrößen, die zum Zeitpunkt des manuellen Eingriffs vorgelegen haben. Erfolgt bei im wesentlichen gleichen Eingangsgrößen wiederholt ein manueller Eingriff, kann die Steuerung bei einem zukünftigen Erkennen dieser Eingangsgrößen die wiederholt vorgenommene manuelle Einstellung automatisch anfahren. Auch eine schrittweise Annäherung der Grundprogrammierung an die abweichende manuelle Einstellung mit zunehmender Anzahl von Wiederholungen der manuellen Nacheinstellung ist denkbar.In a further preferred embodiment of the invention, that the basic programming through manual intervention changeable with the help of an adaptively learnable control is. In addition to the pure manual operation, through which the system can be operated manually according to a normal system, the adaptively learnable control extends the adaptation in Automatic operation to meet user requirements. The adaptively learnable The control does not detect a manual intervention only the desired setting but also the input variables, that existed at the time of the manual intervention to have. Takes place with essentially the same input variables repeated manual intervention, the control can when these input variables are recognized in the future the repeated manual setting automatically drive off. Also a gradual convergence of the Basic programming to the different manual setting with increasing number of repetitions of the manual Readjustment is conceivable.
Eine Rückstellung der Anlage in den Ursprungszustand der Grundprogrammierung ist möglich, z.B. durch Eingabe eines bestimmten Signals über die Handschalter. Um nach einem manuellen Eingriff die Einstellung der Sonnenschutzanlage möglichst unauffällig wieder in eine Einstellung entsprechend der Grundprogrammierung in Abhängigkeit von den Eingangsgrößen bringen zu können, ist vorzugsweise vorgesehen, daß die Rückkehr von einer manuell eingegebenen Einstellung anhand einer vorgegebenen Verstellcharakteristik erfolgt. Sigmoidförmige Übergänge, die über Bèzier-Kurven realisiert werden, erlauben ein besonders unauffälliges Rückstellen.Resetting the system to its original state Basic programming is possible, e.g. by entering a certain signal via the hand switch. To look for a manual Intervention the setting of the sun protection system as inconspicuous as possible in a setting accordingly the basic programming depending on the input variables to be able to bring is preferably provided that the return from a manually entered setting based on a predetermined adjustment characteristic. Sigmoidal transitions, realized using Bèzier curves allow a particularly inconspicuous resetting.
Nachfolgend wird anhand der beigefügten Zeichnungen näher auf Ausführungsbeispiele der Erfindung eingegangen. Es zeigen:
- Fig. 1
- ein schematisches Schaubild einer Sensorik zur Ermittlung relevanter Eingangsgrößen für die Steuerung von Sonnenschutzanlagen;
- Fig. 2
- einen Schnitt einer Sonnenschutzanlage mit integrierter Sensorik;
- Fig. 3
- ein Funktionsschaubild einer mit der Sensorik gemäß Fig. 1 oder 2 verknüpften Steuerung;
- Fig. 4
- ein Funktionsschaubild einer mit der Sensorik gemäß Fig. 1 oder Fig. 2 verknüpften adaptiv lernfähigen Steuerung.
- Fig. 1
- a schematic diagram of a sensor system for determining relevant input variables for the control of sun protection systems;
- Fig. 2
- a section of a sun protection system with integrated sensors;
- Fig. 3
- a functional diagram of a control linked to the sensor system according to FIG. 1 or 2;
- Fig. 4
- 2 shows a functional diagram of an adaptively learnable controller linked to the sensor system according to FIG. 1 or FIG. 2.
In Fig. 1 ist eine Sensorik 10 zur Ermittlung aktiver Eingangsgrößen
zur Regelung einer Sonnenschutzanlage 12 (siehe
Fig. 2) dargestellt, die an eine Steuerung 14 (siehe Fig. 2
und 3) übermittelt werden, die bei Erreichen definierter
Schaltwerte Fahrbefehle an die Antriebe 17 (siehe Fig. 3)
der Sonnenschutzanlage 12 übermittelt und so eine automatische
Einstellung der Sonnenschutzanlage 12 ermöglicht.1 shows a
Die in Fig. 1 dargestellte Sensorik 10 ist in einem separaten
Gehäuse 16 untergebracht, das mit Hilfe von Anschlußleitungen
18 mit der Steuerung 14 gekoppelt ist. Die Sensorik
10 muß wenigstens die Eingangsgrößen Uhrzeit/Datum,
Sonnenintensität und Himmelsrichtung der Sonnenschutzanlage
ermitteln, um eine automatische Steuerung der Sonnenschutzanlage
12 in Abhängigkeit vom Sonnenstand ermöglichen zu
können. Insbesondere bei außen liegenden Sonnenschutzanlagen
sind die Erfassung der zusätzlichen Eingangsgrößen
Windgeschwindigkeit und Außentemperatur durch die Sensorik
10 sowie ein Regendetektor sinnvoll.The
Zur Ermittlung der Eingangsgröße Uhrzeit/Datum verfügt die
Sensorik 10 über einen Funkempfänger 20, der elektromagnetische
Funkuhrsignale empfängt und zur Berechnung des aktuellen
Sonnenstandes an die Steuerung 14 weitergibt. Der
Funkempfänger 20 ist selbstverständlich mit einer geeigneten
Antenne (nicht dargestellt) ausgebildet, die einen sicheren
Datenempfang standortunabhängig innerhalb des Sendebereichs
sicherstellt. Die Ermittlung des Wochentages und
die Sommerzeitkorrektur können programmtechnisch in der
Steuerung 14 realisiert werden.To determine the input variable time / date, the
Statt eines Funkempfängers 20 kann die Sensorik 10 auch
über eine Uhr verfügen, die die benötigten Eingangsgrößen
bereitstellt. Allerdings besteht bei unabhängigen Uhren der
Nachteil, daß sich im Laufe der Jahre Gangabweichungen einstellen
oder es infolge von Stromausfällen gar zu einer
völligen Verstellung kommt, die einen erneuten manuellen
Eingriff mit Stellen der Uhrzeit erforderlich macht. Demgegenüber
bietet die Ermittlung der Eingangsgröße Uhrzeit/Datum
auf der Basis des Funkuhrprinzips eine nahezu
perfekte Ganggenauigkeit und die Möglichkeit des automatischen
Erst- und Nacheinstellens.Instead of a
Die Ermittlung der Eingangsgröße Sonnenintensität erfolgt
mit Hilfe eines Sonnensensors 22, der als Fotowiderstand,
Fotodiode oder Solarzelle ausgebildet ist. Der Sonnensensor
22 ist bei dem dargestellten Ausführungsbeispiel unmittelbar
auf der Platine des Auswertesystems innerhalb des Sensorgehäuses
16 angeordnet und über einen Lichtleiter 24 mit
einer auf der Gehäuseaußenwand sitzenden Linse 26 verbunden.
Es ist jedoch auch denkbar, das lichtempfindliche Element
selbst auf der Gehäuseaußenseite zu montieren und die
Verbindung zu der Platine mit Hilfe elektrischer Leitungen
herzustellen. Der Sonnensensor liefert der Steuerung 14 eine
Information darüber, ob die Sonnenschutzanlage 14 bzw.
die von ihr zu verschattende Fensterfläche überhaupt einer
Sonneneinstrahlung ausgesetzt ist oder ob beispielsweise
infolge von Bewölkung ein Ausfahren der Sonnenschutzanlage
überhaupt notwendig ist. Umgekehrt kann der Sonnensensor 22
auch beispielsweise von einer gegenüber liegenden Fassade
reflektiertes Sonnenlicht erfassen und ein Ausfahren der
Sonnenschutzanlage zur einer Tageszeit bewirken, zu welcher
die Steuerung eigentlich davon ausgeht, daß die betroffene
Fassade im Schatten liegt.The input variable sun intensity is determined
with the help of a
Zur Erfassung der Eingangsgröße Himmelrichtung, d.h. der
geographischen Ausrichtung der Sonnenschutzanlage 12, ist
ein Richtungssensor 28 vorgesehen, der nach der Montage automatisch
die Ausrichtung der Sonnenschutzanlage 12 erkennt,
was bei dem in Fig. 1 separat ausgeführten Gehäuse
16 der Sensorik 10 natürlich voraussetzt, daß dieses sich
in einer genau definierten Lage zur Sonnenschutzanlage befindet.
Der Richtungssensor 28 kann in seiner Ausführung
als elektronischer Kompaß zwei oder drei Achsen des Endmagnetfeldes
messen und aus den einzelnen Komponenten des Magnetfeldes
die Absolutrichtung berechnen. Für die meisten
Anwendungsfälle reicht die Messung der beiden Horizontalkomponenten
aus, da die Sonnenschutzanlage und damit der
Richtungssensor 28 bei der Montage mit Hilfe einer Wasserwaage
exakt ausgerichtet werden. Es ist darauf zu achten,
daß ferromagnetische Bauteile der Sonnenschutzanlage, wie
z.B. die Antriebsmotoren 17 das zu messende Erdmagnetfeld
nicht stören. Während Störungen innerhalb der Sensorik 10
rechnerisch kompensiert werden können, sollten die Antriebsmotore
17 während der Messungen ausgeschaltet bleiben,
um das Meßergebnis nicht zu verfälschen. Der elektronische
Kompaß 28 kann beispielsweise als Fluxgatesensor
oder als magnetoresesiver Sensor ausgeführt sein.To record the input variable direction of the sky, i.e. the
geographic orientation of the
Weiterhin bietet die Sensorik 10 die Möglichkeit mit Hilfe
eines Windsensors 30 die Eingangsgröße Windgeschwindigkeit
zu erfassen und damit bei starkem Wind eine Gefährdung der
Anlage durch mechanische Überbelastung durch Veranlassen
des Einfahrens der Anlage zu vermeiden.Furthermore, the
Grundsätzlich ist als Windsensor ein herkömmliches Schalenkreuzanemometer einsetzbar, das jedoch nur die Hoizontalkomponenten des anstehenden Windes bis zu einer Abweichung von ungefähr 15° aus der Horizontalen erfassen kann. Bei schräger angreifenden Winden wird die Eingangsgröße Windgeschwindigkeit zu niedrig angegeben, bei reinen Auf- oder Fallwinden können derartige Schalenkreuzanimometer gar keine Windbewegung erfassen. Zudem benötigen Schalenkreuzanimometer relativ viel Platz.Basically, a conventional cup cross anemometer is used as a wind sensor usable, but only the horizontal components of the wind up to a deviation of about 15 ° from the horizontal. At the wind speed becomes the input variable specified too low, with pure opening or Falling cups of this kind cannot be used at all Record wind movement. In addition, cup cross animometers are required relatively much space.
Bei der in Fig. 1 dargestellten Sensorik 10 wird daher als
Windsensor 30 ein Drucksensor eingesetzt, der im Inneren
des Gehäuses 16 angeordnet ist und über eine Schlauchverbindung
32 mit der Umgebung in Verbindung steht. Weitere
Sensoren, mit Hilfe derer ein Luftstrom erfaßbar ist, der
als Maß für die Windgeschwindigkeit gelten kann, sind Thermosonden,
bei welchen der Luftstrom einen elektrisch beheizten
Meßfühler abkühlt, so daß bei konstanter Heizleistung
die Temperatur oder bei konstanter Temperatur die
Heizleistung ein Maß für die Strömungsgeschwindigkeit ist,
oder eine DMS-Schaltung, die die Biegung eines dem Luftstrom
ausgesetzten bestimmten Körpers als Maß für die Strömungsgeschwindigkeit
mit Hilfe zweier DMS-Elemente erfaßt
und mit einer Brückenschaltung auswertet. Selbstverständlich
kann statt der Schlauchverbindung 32 der Windsensor 30
wiederum an der Oberfläche des Gehäuses 16 montiert sein.1 is therefore used as
Um eine gleichwertige Erfassung der Windgeschwindigkeit aus
allen Windrichtungen zu erlauben, verfügt der Windsensor 22
über einen Sensorkopf (nicht gezeigt), der entweder einen
großen Erfassungsbereich besitzt oder selbstausrichtend
ausgebildet ist. Abhängig von der Geometrie des Sensorkopfes
können unterschiedliche große Erfassungsbereiche abgedeckt
werden, bei denen die Abweichungen von gemessener zu
tatsächlicher Windgeschwindigkeit z.B. unter 5 % liegen.
Hierbei kann auf bekannte Untersuchungen im Zusammenhang
mit Gesamtdrucksonden zurückgegriffen werden, wobei besonders
abgeschirmte Sondenköpfe, wie z.B. Kielsche Sonden als
Geometrievorlage in Frage kommen.To get an equivalent record of wind speed
The
Alternativ kann der Sensorkopf an einem beweglichen Flügel befestigt sein, wobei er einem einfachen Prandtlrohr nachempfunden sein kann. Der Flügel muß eine freie Drehbarkeit entsprechend dem angreifenden Wind gewährleisten und die Verbindung vom Aufnahmerohr zum Sensor muß flexibel sein, um die Beweglichkeit des Flügels nicht einzuschränken.Alternatively, the sensor head can be attached to a movable wing be attached, modeled on a simple Prandtl tube can be. The wing must be freely rotatable ensure according to the attacking wind and the Connection from the receiving tube to the sensor must be flexible, so as not to restrict the mobility of the wing.
Ein völlig anderes Prinzip zur Ermittlung der Eingangsgröße Windgeschwindigkeit kann darin bestehen, unmittelbare Verformungen, Vibrationen oder Beschleunigungen an Teilen der Sonnenschutzanlage zu ermitteln, die als Maß für die Windgeschwindigkeit gelten können.A completely different principle for determining the input variable Wind speed can be immediate deformation, Vibrations or accelerations on parts of the Determine the sun protection system as a measure of the wind speed can apply.
Beispielsweise können durch Wind verursachte Verformungen mit Hilfe von DMS-Schaltungen ermittelt werden. Diese werden vorzugsweise an einem stark belasteten Bauteil der Sonnenschutzanlage angebracht, bei Markisen beispielsweise an einem Markisentragrohr im Bereich der Armaufnahme oder an den Armprofilen. Die DMS-Schaltung ist entsprechend der zu ermittelnden Verformung als Viertel-, Halb- oder Vollbrücke ausgebildet, wobei die in den Meßstreifen auftretenden Widerstandsänderungen ein Maß für die Verformung und damit für die angreifende Windlast sind.For example, deformations caused by wind can be determined with the help of strain gauge circuits. These will preferably on a heavily loaded component of the sun protection system attached, for example to awnings an awning support tube in the area of the arm holder or on the arm profiles. The strain gauge circuit is according to the determining deformation as a quarter, half or full bridge formed, the changes in resistance occurring in the measuring strips a measure of the deformation and thus for the attacking wind load.
Ferner ist es möglich, durch den angreifenden Wind hervorgerufene
Vibrationen oder Beschleunigungen als Maß für die
angreifende Windlast zu erfassen. Hierzu wird in einem vibrationsbelasteten
Bauteil der Sonnenschutzanlage ein
Quecksilberschalter zum Erfassen der Vibrationen und Erschütterungen
bzw. ein z.B. nach dem Piezoprinzip arbeitender
Beschleunigungssensor zur Erfassung der auftretenden
Beschleunigungen integriert. Die oberhalb bestimmter
Schwellenwerte geschalteten Impulse werden von der Steuerung
14 ausgewertet und veranlassen gegebenenfalls das Einfahren
der Anlage. In diesem Fall ist die Anordnung der
Sensoren im Bereich unter Windlast stark bewegter Bauteile
zweckmäßig, wie z.B. Unterschienen von Raffstoren oder Ausfallprofilen
von Markisen.It is also possible to be caused by the attacking wind
Vibrations or accelerations as a measure of that
attacking wind load. This is done in a vibration
Component of the sun protection system
Mercury switch to detect vibrations and shocks
or e.g. working according to the piezo principle
Accelerometer to detect the occurring
Accelerations integrated. The above certain
Thresholds switched pulses are generated by the
Die in Fig. 1 dargestellte Sensorik 10 verfügt weiterhin
über einen Regensensor 34, der Niederschlag bzw. Feuchtigkeit
erfassen kann und insbesondere bei nässeempfindlichen
Sonnenschutzanlagen, wie z.B. Markisen, das Einfahren der
Anlage veranlassen kann.The
Die Sensorik 10 verfügt auch über einen Temperatursensor
36, dessen Signal als weitere Eingangsgröße für die Steuerung
14 herangezogen werden kann.The
Die in Fig. 1 dargestellte Sensorik 10, die in einem separaten
Gehäuse 16 untergebracht ist, verfügt ferner über einen
integrierten Mikrocontroller 38, der einen Multiplexer
40 und einen Analog/Digital-Wandler 42 (siehe Fig. 3) aufweist,
wobei der Multiplexer 40 und der A/D-Wandler 42 in
Fig. 3 als Teil der Steuerung 14 dargestellt sind. Der Mikrocontroller
38 ist über eine Zweidraht- oder Dreidraht-Busleitung
44 mit der Steuerung 14 verbunden.The
Fig. 2 zeigt einen schematischen Querschnitt eines Lamellenraffstores
12, in dessen Oberschiene 46 eine Sensorik 10
entsprechend der in Fig. 1 dargestellten Sensorik ohne Gehäuse
und eine Steuerung 14 integriert sind. Die Linse 26,
der Temperatursensor 36 und die Öffnung der mit dem
Windsensor 30 verbundenen Schlauchleitung 32 sind an der
Außenseite einer Blende 48 vorgesehen, die den oberen Teil
eines Schachtes 50 abdeckt, in welchem der Raffstore 12
montiert ist. Der Raffstore 12 verfügt über einen Lamellenbehang
52, dessen Einzellamellen 54 in Fig. 2 in der eingefahrenen
Stellung als Paket gerafft dargestellt sind. Der
Raffstore 12 verfügt über zwei Motoren 17 (siehe Fig. 3),
mit Hilfe derer der Lamellenbehang 52 ausfahrbar und die
Neigung der Lamellen 54 einstellbar ist. Die Ansteuerung
der Motoren wird von der Steuerung 14 übernommen, wobei neben
einer rein automatischen Ansteuerung auch ein manueller
Eingriff für die Ausfahrlänge und die Winkeleinstellung des
Behangs 52 vorgesehen ist.Fig. 2 shows a schematic cross section of a Venetian blind
Das in Fig. 3 dargestellte Funktionsschaubild zeigt die
Steuerung 14 für die Motoren 17 des Raffstores 12 in Fig. 2
mit den zur Ermittlung relevanter Eingangsgrößen vorgesehenen
Sensoren. Neben dem bereits beschriebenen Temperatursensor
36, Regensensor 34, Richtungssensor 28, Funkempfänger
20, Sonnensensor 22 und Windsensor 30 sind zur Ermittlung
weiterer Eingangsgrößen die bereits angesprochenen manuellen
Handschalter 56, 58 für die Ausfahrlänge bzw. die
Winkeleinstellung des Behangs 52 dargestellt. Die Handschalter
können auch in Form einer Fernbedienung ausgeführt
sein. Weitere Eingangsgrößen stellen die mit Hilfe eines
Gebers 60 erfaßte Ist-Ausfahrlänge sowie die mit Hilfe eines
weiteren Gebers 62 erfaßte Ist-Winkelstellung des Behangs
52 dar. Die beiden Geber 60, 62 können beispielsweise
in Form von Drehwinkelgebern an den Motoren 17 vorgesehen
sein.The functional diagram shown in Fig. 3 shows the
Die erwähnten gemessenen oder eingestellten Eingangsgrößen
werden an den Multiplexer 40 und einen diesem nachgeschalteten
Analog/Digital-Wandler 42 weitergegeben, der die eingehenden
Sensorsignale seriell wandelt. An den Wandler 42
schließt sich eine Sensorsignalanpassung 64 an, die beispielsweise
Kennlinien linearisiert oder Signalimpulse in
eine kontinuierliche Größe umwandelt. Auf einem EPROM-Speichermodul
66 sind Ablaufprogramme gespeichert, die in
Abhängigkeit vom Ausgangssignal der Sensorsignalanpassung
64 die Ausgangsgrößen zur Ansteuerung der Motoren 17 erzeugen.
Die Steuerprogramme werden weiterhin vom Inhalt eines
Speichers 68 beeinflußt, in welchem Informationen über die
geographische Länge und Breite des Ausstellungsortes der
Sonnenschutzanlage 12 hinterlegt sind, da nur über die exakte
geographische Angabe eine exakte Ermittlung des Sonnenstandes
relativ zur Sonnenschutzanlage 12 möglich ist.
Allerdings ist auch ohne diese Information mit Hilfe einer
Voreinstellung eine gute Näherung für viele Einsatzorte
möglich.The mentioned measured or set input variables
are connected to the
Die Steuerung 14 ist so aufgebaut, daß die mit den Handschaltern
56, 58 manuell eingegebenen Werte für die Ausfahrlänge
oder die Winkeleinstellung mit Vorrang vor der
entsprechend der gemessenen Eingangsgrößen anhand der
Grundprogrammierung ermittelten Einstellung behandelt werden.
Wird eine manuelle Einstellung für eine bestimmte Zeit
nicht korrigiert, gleicht die Steuerung 14 in einem vordefinierten
Zeitraum von mehreren Stunden die Einstellung
selbständig wieder an den theoretischen Idealverlauf an.
Die Übergänge erfolgen sigmoidförmig, um ein möglichst unauffälliges
Rückstellen zu ermöglichen. Die sigmoidförmigen
Übergänge werden über Bèzier-Kurven realisiert, die garantieren,
daß die Rückführ-Kurve immer nur einen Wendepunkt
besitzt.The
Die von der Funkuhr 20 ermittelten Eingangsgrößen Tageszeit
und Datum dienen zur Nachführung des Einstellungswinkels
der Lamellen 54 zur Sonnnenhöhe, wobei die Datumsinformation
jahreszeitabhängige Änderungen der Sonnenbahn ausgleichen
kann. Für die Nachführung werden spezielle Berechnungsformeln
in der Steuerung 14 hinterlegt, die Azimut- und Elevationswinkel
der Sonneneinstrahlung berechnen. In Verbindung
mit der durch den Kompaß 28 ermittelten Eingangsgröße Himmeisrichtung
läßt sich dabei berechnen, ob die Sonne überhaupt
direkt auf die Anlage scheinen kann und welche Relativposition
sie zur Anlage einnimmt. Diese Berechnungen
lassen sich durch die in dem Speicher 68 hinterlegten Informationen
über den geographischen Standort der Anlage 12
weiter präzisieren, wobei die Daten auch von einem in die
Anlage integrierten GPS-Empfänger bereitgestellt werden
können. Im übrigen werden die geographischen Daten bei der
Montage der Anlage in dem Speicher 68 abgelegt, beispielsweise
durch Übertragung aus einem mobilen GPS-Empfänger,
unmittelbare Eingabe der geographischen Daten oder die
hilfsweise Eingabe von den geographischen Standort näherungsweise
kennzeichnenden Informationen, wie z.B. Postleitzahlen
oder Kfz-Kennzeichen. The time of day input variables determined by the
Zur Vereinfachung der Sensorik ist es auch denkbar, den
Richtungssensor 28 wegzulassen und auch die Ausrichtung der
Sonnenschutzanlage in dem Speicher 68 bei der Montage als
Voreinstellung zu hinterlegen.To simplify the sensor system, it is also conceivable that
Omit
Die weiteren Eingangsgrößen Sonnenintensität, Windgeschwindigkeit,
Regen und Temperatur werden so behandelt, daß bei
Über- oder Unterschreiten bestimmter Schwellenwerte ein
Einfahren der Anlage von der Steuerung 14 veranlaßt wird.
Gegebenenfalls können diese Schwellenwerte in Abhängigkeit
von dem durch die Geber 60, 62 ermittelten Ist- Ausfahrzustand
der Anlage 12 variiert werden.The other input variables: sun intensity, wind speed,
Rain and temperature are treated so that at
Exceeding or falling below certain threshold values
The
In Fig. 4 ist eine modifizierte Ausführungsform der Steuerung
14 dargestellt, die eine adaptive Lernfähigkeit ermöglicht.
Hierzu ist ein weiteres Speichermodul 70 vorgesehen,
in welchem manuell vorgenommene Eingriffe zusammen mit den
zum Zeitpunkt des Eingriffes vorliegenden Eingangsgrößen
abgespeichert werden. Hierdurch ist es der Steuerung 14
möglich, systematische Eingriffe in die automatische Steuerung
zu erkennen und nach einer statistisch hinreichenden
Anzahl von Wiederholungen die Grundprogrammierung entsprechend
den manuellen Eingriffen abzuändern. Die adaptive
Lernfähigkeit erlaubt eine individuelle Anpassung der
Steuerung 14 an die Benutzergewohnheiten, so daß dieser
nach kurzer Zeit nicht mehr manuell in den automatischen
Ablauf der Steuerung 14 eingreifen muß.4 is a modified embodiment of the
Eine Rückstellung der Steuerung 14 in den Ursprungszustand
ist durch Eingabe eines speziellen Schaltsignals über die
Handschalter möglich, wobei die gelernten Daten gelöscht
werden und die Steuerung anschließend wiederum zumindest
anfänglich nach der Grundprogrammierung arbeitet. A reset of the
Die Sensorik 10, Steuerung 14 und Motoren 17 der Sonnenschutzanlage
12 benötigen zur Versorgung lediglich ein herkömmliches
Haushalts-Stromnetz ohne zusätzliche Bauteile
oder gar Steuerleitungen, wie sie bei bisher realisierten
Systemen anzutreffen sind. Mit dem Anschluß an das Stromnetz
ist die Anlage betriebsbereit, wobei gegebenenfalls
lediglich noch die Daten für die geographische Lage
und/oder die Ausrichtung der Anlage abgespeichert werden
müssen.The
Statt zur Ansteuerung des beschriebenen Raffstores 12 eignet
sich die beschriebene Kombination einer Sensorik 10 mit
einer Steuerung 14 auch zur automatischen Ansteuerung sonstiger
Sonnenschutzanlagen, wie z.B. vom Markisen. Je nach
Art der anzusteuernden Sonnenschutzanlage kann die Steuerung
14 Ausgangssignale für nur einen Motor, für zwei Motoren
(siehe Ausführungsbeispiel) oder auch mehr Motoren erzeugen.
Zur Anpassung der Steuerung an den jeweiligen Typ
von Sonnenschutzanlage muß lediglich die Grundprogrammierung
angepaßt werden, wobei bei angepaßter Programmierung
der Einsatz ein und derselben Einheit aus Sensorik 10 und
Steuerung 14 für unterschiedlichste Arten von Sonnenschutzanlagen
verwendet werden kann.Instead of controlling the venetian blind 12 described
the combination of a
Je nach Beschaffenheit der Sonnenschutzanlage kann auf einzelne
Sensoren verzichtet werden, um die Kosten für die
Sensorik 10 zu senken.Depending on the nature of the sun protection system, individual
Sensors are dispensed with the cost of the
Claims (11)
Applications Claiming Priority (2)
| Application Number | Priority Date | Filing Date | Title |
|---|---|---|---|
| DE19932731A DE19932731A1 (en) | 1999-07-14 | 1999-07-14 | Sun protection system with curtain adjustment that adapts to the incidence of light |
| DE19932731 | 1999-07-14 |
Publications (2)
| Publication Number | Publication Date |
|---|---|
| EP1069275A2 true EP1069275A2 (en) | 2001-01-17 |
| EP1069275A3 EP1069275A3 (en) | 2003-01-22 |
Family
ID=7914629
Family Applications (2)
| Application Number | Title | Priority Date | Filing Date |
|---|---|---|---|
| EP00114832A Expired - Lifetime EP1069257B1 (en) | 1999-07-14 | 2000-07-11 | Sensor controlled sun protection device |
| EP00114880A Withdrawn EP1069275A3 (en) | 1999-07-14 | 2000-07-12 | Sun protection device with position adapting depending on the incidence of light |
Family Applications Before (1)
| Application Number | Title | Priority Date | Filing Date |
|---|---|---|---|
| EP00114832A Expired - Lifetime EP1069257B1 (en) | 1999-07-14 | 2000-07-11 | Sensor controlled sun protection device |
Country Status (3)
| Country | Link |
|---|---|
| EP (2) | EP1069257B1 (en) |
| AT (1) | ATE278081T1 (en) |
| DE (2) | DE19932731A1 (en) |
Cited By (6)
| Publication number | Priority date | Publication date | Assignee | Title |
|---|---|---|---|---|
| EP1816308A2 (en) | 2006-02-03 | 2007-08-08 | Roma Rolladensysteme GmbH | Device for shading building entrances having a sensor |
| WO2009049827A1 (en) * | 2007-10-19 | 2009-04-23 | Somfy Sas | Solar protection installation provided with a wind sensor |
| US7950827B2 (en) * | 2003-03-24 | 2011-05-31 | Lutron Electronics Co., Inc. | Electrically controllable window treatment system to control sun glare in a space |
| EP1659256A3 (en) * | 2004-11-22 | 2012-04-04 | Carefree / Scott Fetzer Company | Apparatus and method for retracting awning |
| FR2999304A1 (en) * | 2012-12-11 | 2014-06-13 | Somfy Sas | Method for operation of home automation device for e.g. residential building, involves inhibiting passage of one configuration to another configuration of element of device in event of detection of state assimilated by device to twilight |
| FR3013859A1 (en) * | 2013-11-22 | 2015-05-29 | Somfy Sas | METHOD FOR CONTROLLING A FACILITY EXPOSED TO INTEMPERIES, AND ASSOCIATED DOMOTIC INSTALLATION |
Families Citing this family (7)
| Publication number | Priority date | Publication date | Assignee | Title |
|---|---|---|---|---|
| AU778068B2 (en) | 2000-01-31 | 2004-11-11 | Turnils A.B. | Awning assembly and control system |
| DE10202830A1 (en) * | 2002-01-24 | 2003-08-14 | Colt Internat Holdings Ag Baar | Device for adjusting a technical light element uses difference sensor between solar position sensor and light adjustment device sensor |
| DE10204469B4 (en) * | 2002-02-05 | 2004-02-12 | Warema Renkhoff Gmbh | Sun protection system with integrated rain sensor |
| CA2528368C (en) | 2004-11-29 | 2011-03-29 | Dometic Corporation | Wind sensing awning control having arm-mounted sensor |
| FR2884607B1 (en) | 2005-04-13 | 2007-07-13 | Somfy Sas | AUTONOMOUS DOMOTIC SENSOR AND INSTALLATION COMPRISING SUCH A SENSOR |
| DE102007029622A1 (en) * | 2007-06-26 | 2009-01-08 | Weinor Dieter Weiermann Gmbh & Co. | Sunscreen shield device, particularly awning, has control device for manipulation of electric drive of sunscreen shield unit, where control device has units, which evaluates raw signal supplied by wind force sensor |
| ITTV20080004A1 (en) | 2008-01-10 | 2009-07-11 | Nice Spa | DRIVE FOR ROLLER SHUTTERS WITH PROTECTION AGAINST EXCESSIVE WIND |
Family Cites Families (14)
| Publication number | Priority date | Publication date | Assignee | Title |
|---|---|---|---|---|
| BE755183R (en) * | 1969-08-28 | 1971-02-01 | Hueppe Justin | MOTOR-DRIVEN SUN VISOR INSTALLATION CONTROL DEVICE |
| GB1573104A (en) * | 1977-04-28 | 1980-08-13 | Colt Ltd W | Control system for external louvres on a building |
| DE2800968A1 (en) * | 1978-01-11 | 1979-07-12 | Trietex Antriebstechnik Gmbh | Photoelectric vertically-slatted sunblind angle control - has sensor for switches swinging slats back from half circle turn |
| DE3304962C2 (en) * | 1983-02-12 | 1986-04-10 | Willi 4292 Rhede Rademacher | Blackout device |
| DE3640241A1 (en) * | 1986-11-25 | 1988-05-26 | Ind Elektronik Und Feinmechani | Process and apparatus for protection from the sun |
| DE4032221A1 (en) * | 1990-10-11 | 1992-04-16 | Warema Renkhoff Gmbh & Co Kg | METHOD AND DEVICE FOR CONTROLLING RAFFSTORES |
| DE4106033A1 (en) * | 1991-02-27 | 1992-09-03 | Warema Renkhoff Gmbh & Co Kg | Control unit for sun protection system in office or home - has controlled shapes in which values are displayed and using front panel switches allow reference points to be set |
| DE4201971A1 (en) * | 1992-01-22 | 1993-08-05 | Wilhelm Rademacher | DARKENING DEVICE |
| DE9306368U1 (en) * | 1993-04-27 | 1993-07-08 | Rademacher, Wilhelm, 4292 Rhede | Blackout device with an awning, an external blind or similar. |
| DE4315406C1 (en) * | 1993-05-08 | 1994-11-10 | Wilhelm Dipl Ing Brabender | Device for the automatic control of drives for roller shutters, blinds or the like in particular. |
| US5663621A (en) * | 1996-01-24 | 1997-09-02 | Popat; Pradeep P. | Autonomous, low-cost, automatic window covering system for daylighting applications |
| DE19630496A1 (en) * | 1996-07-29 | 1998-02-12 | Selve Ernst Gmbh Co Kg | Device for recording measured values, for implementing motor controls for electromotive drives for windings that can be wound up and unwound |
| EP1082502B1 (en) * | 1998-05-28 | 2005-02-02 | Hermann-Frank Müller | Awning with flexible solar modules |
| DE20000682U1 (en) * | 2000-01-17 | 2000-03-30 | Helmut Beyers GmbH, 41066 Mönchengladbach | Device for controlling the movement of a shading device |
-
1999
- 1999-07-14 DE DE19932731A patent/DE19932731A1/en not_active Withdrawn
-
2000
- 2000-07-11 AT AT00114832T patent/ATE278081T1/en not_active IP Right Cessation
- 2000-07-11 EP EP00114832A patent/EP1069257B1/en not_active Expired - Lifetime
- 2000-07-11 DE DE50007964T patent/DE50007964D1/en not_active Expired - Fee Related
- 2000-07-12 EP EP00114880A patent/EP1069275A3/en not_active Withdrawn
Cited By (9)
| Publication number | Priority date | Publication date | Assignee | Title |
|---|---|---|---|---|
| US7950827B2 (en) * | 2003-03-24 | 2011-05-31 | Lutron Electronics Co., Inc. | Electrically controllable window treatment system to control sun glare in a space |
| EP1659256A3 (en) * | 2004-11-22 | 2012-04-04 | Carefree / Scott Fetzer Company | Apparatus and method for retracting awning |
| EP1816308A2 (en) | 2006-02-03 | 2007-08-08 | Roma Rolladensysteme GmbH | Device for shading building entrances having a sensor |
| EP1816308A3 (en) * | 2006-02-03 | 2009-01-28 | Roma Rolladensysteme GmbH | Device for shading building entrances having a sensor |
| WO2009049827A1 (en) * | 2007-10-19 | 2009-04-23 | Somfy Sas | Solar protection installation provided with a wind sensor |
| FR2922585A1 (en) * | 2007-10-19 | 2009-04-24 | Somfy Sas | SOLAR PROTECTION INSTALLATION EQUIPPED WITH A WIND SENSOR |
| US8261608B2 (en) | 2007-10-19 | 2012-09-11 | Somfy Sas | Solar protection installation equipped with a wind sensor |
| FR2999304A1 (en) * | 2012-12-11 | 2014-06-13 | Somfy Sas | Method for operation of home automation device for e.g. residential building, involves inhibiting passage of one configuration to another configuration of element of device in event of detection of state assimilated by device to twilight |
| FR3013859A1 (en) * | 2013-11-22 | 2015-05-29 | Somfy Sas | METHOD FOR CONTROLLING A FACILITY EXPOSED TO INTEMPERIES, AND ASSOCIATED DOMOTIC INSTALLATION |
Also Published As
| Publication number | Publication date |
|---|---|
| EP1069257A2 (en) | 2001-01-17 |
| EP1069257A3 (en) | 2003-05-02 |
| EP1069257B1 (en) | 2004-09-29 |
| EP1069275A3 (en) | 2003-01-22 |
| ATE278081T1 (en) | 2004-10-15 |
| DE19932731A1 (en) | 2001-03-22 |
| DE50007964D1 (en) | 2004-11-04 |
Similar Documents
| Publication | Publication Date | Title |
|---|---|---|
| EP1069275A2 (en) | Sun protection device with position adapting depending on the incidence of light | |
| EP1077378A1 (en) | Anemometer for sun protection installation | |
| US5142133A (en) | Apparatus for the control of venetian blinds including photodetector means for detecting the angle of incidence of sun light | |
| EP1069277B1 (en) | Sun protecting arrangement with automatic blind control and possibility of manual intervention | |
| EP1333150B1 (en) | Motorized window covering and method for controlling the position of a motorized window covering | |
| EP1904712B1 (en) | Control device for blinds on building constructions | |
| EP0552459B1 (en) | Safety device for roller shutters and similar closures | |
| US20060000558A1 (en) | Solar-Powered, Low-Voltage, Automatic, Motorized Exterior Window Shading Device | |
| US7454990B2 (en) | Variably controlled accelerated weathering test apparatus | |
| DE4106033A1 (en) | Control unit for sun protection system in office or home - has controlled shapes in which values are displayed and using front panel switches allow reference points to be set | |
| DE4407342C2 (en) | Blackout device with an awning, an external blind or the like | |
| DE102013219040B4 (en) | Door or window | |
| US3965348A (en) | Method of and apparatus for detecting light and controlling jalousies and the like | |
| DE102013016763A1 (en) | Method for determining orientation of weather station for measuring e.g. solar radiation, involves storing measured values or measured variables and derived variables as function of time of day | |
| DE29924615U1 (en) | Automatically-controlled sun blind for office building has setting control for adjustment drive operated as function of entered input values via stored program | |
| DE102012024110B4 (en) | Device for measuring solar radiation | |
| DE29923046U1 (en) | Sensor for a blackout device and blackout system | |
| BE1026474B1 (en) | AN ADAPTIVE SUNSET SYSTEM | |
| DE19840418C2 (en) | Sun protection device | |
| EP1538880B1 (en) | Ambient light sensing device comprising a plurality of sensors | |
| JP4216130B2 (en) | Solar tracking sensor and electric blind control device | |
| DE102009013752B4 (en) | Photovoltaic device | |
| DE9320324U1 (en) | Roofing | |
| DE102011054697B4 (en) | LOUVRE WINDOWS WITH AN ELECTRIC MOTOR DRIVE | |
| DE20007442U1 (en) | Anti-glare control |
Legal Events
| Date | Code | Title | Description |
|---|---|---|---|
| PUAI | Public reference made under article 153(3) epc to a published international application that has entered the european phase |
Free format text: ORIGINAL CODE: 0009012 |
|
| AK | Designated contracting states |
Kind code of ref document: A2 Designated state(s): AT BE CH CY DE DK ES FI FR GB GR IE IT LI LU MC NL PT SE |
|
| AX | Request for extension of the european patent |
Free format text: AL;LT;LV;MK;RO;SI |
|
| PUAL | Search report despatched |
Free format text: ORIGINAL CODE: 0009013 |
|
| AK | Designated contracting states |
Kind code of ref document: A3 Designated state(s): AT BE CH CY DE DK ES FI FR GB GR IE IT LI LU MC NL PT SE |
|
| AX | Request for extension of the european patent |
Free format text: AL;LT;LV;MK;RO;SI |
|
| AKX | Designation fees paid | ||
| REG | Reference to a national code |
Ref country code: DE Ref legal event code: 8566 |
|
| STAA | Information on the status of an ep patent application or granted ep patent |
Free format text: STATUS: THE APPLICATION IS DEEMED TO BE WITHDRAWN |
|
| 18D | Application deemed to be withdrawn |
Effective date: 20030723 |
