EP1032002A3 - Control disc for driving a sectionaliser and process of making it - Google Patents
Control disc for driving a sectionaliser and process of making it Download PDFInfo
- Publication number
- EP1032002A3 EP1032002A3 EP00810070A EP00810070A EP1032002A3 EP 1032002 A3 EP1032002 A3 EP 1032002A3 EP 00810070 A EP00810070 A EP 00810070A EP 00810070 A EP00810070 A EP 00810070A EP 1032002 A3 EP1032002 A3 EP 1032002A3
- Authority
- EP
- European Patent Office
- Prior art keywords
- control disc
- curve
- zones
- sectionaliser
- driving
- Prior art date
- Legal status (The legal status is an assumption and is not a legal conclusion. Google has not performed a legal analysis and makes no representation as to the accuracy of the status listed.)
- Withdrawn
Links
- 238000010276 construction Methods 0.000 abstract 1
Classifications
-
- H—ELECTRICITY
- H01—ELECTRIC ELEMENTS
- H01H—ELECTRIC SWITCHES; RELAYS; SELECTORS; EMERGENCY PROTECTIVE DEVICES
- H01H3/00—Mechanisms for operating contacts
- H01H3/32—Driving mechanisms, i.e. for transmitting driving force to the contacts
- H01H3/42—Driving mechanisms, i.e. for transmitting driving force to the contacts using cam or eccentric
-
- E—FIXED CONSTRUCTIONS
- E02—HYDRAULIC ENGINEERING; FOUNDATIONS; SOIL SHIFTING
- E02B—HYDRAULIC ENGINEERING
- E02B13/00—Irrigation ditches, i.e. gravity flow, open channel water distribution systems
-
- E—FIXED CONSTRUCTIONS
- E02—HYDRAULIC ENGINEERING; FOUNDATIONS; SOIL SHIFTING
- E02B—HYDRAULIC ENGINEERING
- E02B5/00—Artificial water canals, e.g. irrigation canals
- E02B5/02—Making or lining canals
-
- E—FIXED CONSTRUCTIONS
- E03—WATER SUPPLY; SEWERAGE
- E03F—SEWERS; CESSPOOLS
- E03F5/00—Sewerage structures
- E03F5/04—Gullies inlets, road sinks, floor drains with or without odour seals or sediment traps
- E03F5/06—Gully gratings
-
- H—ELECTRICITY
- H01—ELECTRIC ELEMENTS
- H01H—ELECTRIC SWITCHES; RELAYS; SELECTORS; EMERGENCY PROTECTIVE DEVICES
- H01H31/00—Air-break switches for high tension without arc-extinguishing or arc-preventing means
- H01H31/26—Air-break switches for high tension without arc-extinguishing or arc-preventing means with movable contact that remains electrically connected to one line in open position of switch
- H01H31/32—Air-break switches for high tension without arc-extinguishing or arc-preventing means with movable contact that remains electrically connected to one line in open position of switch with rectilinearly-movable contact
Landscapes
- Engineering & Computer Science (AREA)
- General Engineering & Computer Science (AREA)
- Structural Engineering (AREA)
- Civil Engineering (AREA)
- Mechanical Engineering (AREA)
- Public Health (AREA)
- Water Supply & Treatment (AREA)
- Health & Medical Sciences (AREA)
- Hydrology & Water Resources (AREA)
- Life Sciences & Earth Sciences (AREA)
- Gears, Cams (AREA)
- Rotary Switch, Piano Key Switch, And Lever Switch (AREA)
- Friction Gearing (AREA)
- Transmission Devices (AREA)
- Mechanical Operated Clutches (AREA)
- Braking Arrangements (AREA)
Abstract
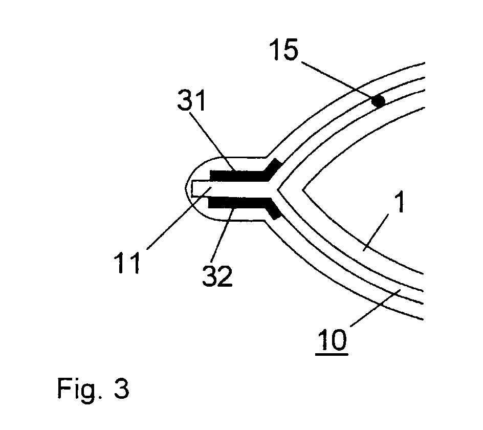
Die Steuerscheibe (1) ist Teil eines Getriebes eines Trennschalters. Die Steuerscheibe (1) trägt mindestens eine Führungskurve (10). Die Führungskurve (10) besteht aus zwei kreisbogenförmigen Abschnitten, die in einer dazwischenliegenden Anschlagstelle (11) münden. Die Führungskurve (10) führt ein Führungselement (15), welches über einen Hebel mit einer Antriebswelle starr verbunden ist und über welches in Abhängigkeit von Drehsinn und Winkelposition der Antriebsachse Kraft auf die Steuerscheibe (1) übertragen wird.The control disc (1) is part of a gearbox of a disconnector. The Control disc (1) carries at least one guide curve (10). The leadership curve (10) consists of two sections in the shape of a circular arc, which are in one open the stop point (11) in between. The guide curve (10) leads a guide element (15) which is connected to a drive shaft via a lever is rigidly connected and via which depending on the direction of rotation and Transfer the angular position of the drive axle to the control disc (1) becomes.
Die während einem Schaltvorgang schwach belasteten Zonen der Steuerscheibe (1) sind aus einem wesentlich leichteren Material ausgebildet als die hochbelasteten Zonen (31, 32) im Bereich der Anschlagstelle (11).The zones of the control disc that are weakly loaded during a switching operation (1) are made of a much lighter material than that highly stressed zones (31, 32) in the area of the anchor point (11).
Die daraus resultierende leichte Bauweise ermöglicht eine optimale Dynamik der Steuerscheibenbewegung und reduziert damit die zum Schalten benötigte Antriebsenergie auf ein Minimum. The resulting lightweight construction enables optimal dynamics of the control disc movement and thus reduces the drive energy required for switching to a minimum.
Applications Claiming Priority (2)
| Application Number | Priority Date | Filing Date | Title |
|---|---|---|---|
| DE19907887A DE19907887A1 (en) | 1999-02-24 | 1999-02-24 | Control disc for gearbox of a disconnector and a method for producing such a control disc |
| DE19907887 | 1999-02-24 |
Publications (2)
| Publication Number | Publication Date |
|---|---|
| EP1032002A2 EP1032002A2 (en) | 2000-08-30 |
| EP1032002A3 true EP1032002A3 (en) | 2001-05-09 |
Family
ID=7898648
Family Applications (1)
| Application Number | Title | Priority Date | Filing Date |
|---|---|---|---|
| EP00810070A Withdrawn EP1032002A3 (en) | 1999-02-24 | 2000-01-26 | Control disc for driving a sectionaliser and process of making it |
Country Status (5)
| Country | Link |
|---|---|
| EP (1) | EP1032002A3 (en) |
| JP (1) | JP2000251593A (en) |
| KR (1) | KR20000076684A (en) |
| CN (1) | CN1264907A (en) |
| DE (1) | DE19907887A1 (en) |
Families Citing this family (1)
| Publication number | Priority date | Publication date | Assignee | Title |
|---|---|---|---|---|
| EP3179496B1 (en) | 2015-12-10 | 2018-08-22 | ABB Schweiz AG | Rotary auxiliary switches for medium voltage switchgears |
Citations (5)
| Publication number | Priority date | Publication date | Assignee | Title |
|---|---|---|---|---|
| DE2136213A1 (en) * | 1971-07-20 | 1973-02-08 | Transformatoren Union Ag | GEARBOX FOR TAP SWITCHES OF TAPPING TRANSFORMERS |
| EP0031791A1 (en) * | 1979-12-07 | 1981-07-08 | Siemens Aktiengesellschaft | High voltage power circuit breaker |
| CH652857A5 (en) * | 1980-11-24 | 1985-11-29 | Sprecher & Schuh Ag | High-voltage switch |
| US5475190A (en) * | 1994-04-15 | 1995-12-12 | Eaton Corporation | Operator of a handle or toggle of a switch |
| DE19615912A1 (en) * | 1996-04-22 | 1997-10-23 | Asea Brown Boveri | Disconnector |
Family Cites Families (1)
| Publication number | Priority date | Publication date | Assignee | Title |
|---|---|---|---|---|
| DE19511168A1 (en) * | 1995-03-28 | 1996-10-02 | Abb Management Ag | Switching device |
-
1999
- 1999-02-24 DE DE19907887A patent/DE19907887A1/en not_active Withdrawn
-
2000
- 2000-01-26 EP EP00810070A patent/EP1032002A3/en not_active Withdrawn
- 2000-02-17 KR KR1020000007531A patent/KR20000076684A/en not_active Withdrawn
- 2000-02-22 CN CN00103046A patent/CN1264907A/en active Pending
- 2000-02-23 JP JP2000046264A patent/JP2000251593A/en not_active Withdrawn
Patent Citations (5)
| Publication number | Priority date | Publication date | Assignee | Title |
|---|---|---|---|---|
| DE2136213A1 (en) * | 1971-07-20 | 1973-02-08 | Transformatoren Union Ag | GEARBOX FOR TAP SWITCHES OF TAPPING TRANSFORMERS |
| EP0031791A1 (en) * | 1979-12-07 | 1981-07-08 | Siemens Aktiengesellschaft | High voltage power circuit breaker |
| CH652857A5 (en) * | 1980-11-24 | 1985-11-29 | Sprecher & Schuh Ag | High-voltage switch |
| US5475190A (en) * | 1994-04-15 | 1995-12-12 | Eaton Corporation | Operator of a handle or toggle of a switch |
| DE19615912A1 (en) * | 1996-04-22 | 1997-10-23 | Asea Brown Boveri | Disconnector |
Also Published As
| Publication number | Publication date |
|---|---|
| CN1264907A (en) | 2000-08-30 |
| EP1032002A2 (en) | 2000-08-30 |
| JP2000251593A (en) | 2000-09-14 |
| KR20000076684A (en) | 2000-12-26 |
| DE19907887A1 (en) | 2000-08-31 |
Similar Documents
| Publication | Publication Date | Title |
|---|---|---|
| DE69712390T2 (en) | Motorized jigsaw | |
| DE3010252C2 (en) | Drive device | |
| DE19755407A1 (en) | Nail fixing gun damped reset mechanism | |
| DE1933965A1 (en) | General purpose power operated hand tool | |
| DE4041676A1 (en) | ADJUSTABLE VEHICLE HEADLIGHT | |
| DE69834953T2 (en) | FEED ROLLER | |
| EP1032002A3 (en) | Control disc for driving a sectionaliser and process of making it | |
| CH664319A5 (en) | DRILLING HAMMER. | |
| DE2037244B2 (en) | Rotary impact coupling on a screwdriver | |
| EP1384823A1 (en) | Device for roughening snow and ice surfaces | |
| DE8700072U1 (en) | Suction device for attaching small electrical household appliances and tools or similar to work surfaces | |
| EP0770459A2 (en) | Method and apparatus for cutting with cutting frames moving in parallel | |
| DE4419176C1 (en) | Emergency operation device for adjustable vehicle roof component | |
| DE2320924C3 (en) | Adjusting device for the objective or projection head of an enlarger | |
| WO1998055245A1 (en) | Folding machine | |
| DE1800841A1 (en) | Switching disk | |
| EP0769439B1 (en) | Switch drive with adjustable stroke | |
| DE4423887C2 (en) | Support for workpieces to be clamped in the clamping device of a machine tool | |
| DE1485226C3 (en) | Zigzag sewing machine with changeable stitch field position | |
| DE3137614T1 (en) | CONTROL FOR PLATE VIBRATORS | |
| DE2260882A1 (en) | DEVICE FOR CONTROLLING A HONING MACHINE | |
| EP0810155B1 (en) | Hand-held labeller with adjustable spring force | |
| DE4314287C2 (en) | Single-sided or double-sided actuator for generating a rotary movement | |
| DE2231575C3 (en) | Wiper device for windows on motor vehicles | |
| DE2253573C3 (en) | Method and device for controlling a cutting tool for cutting sheet-like material |
Legal Events
| Date | Code | Title | Description |
|---|---|---|---|
| PUAI | Public reference made under article 153(3) epc to a published international application that has entered the european phase |
Free format text: ORIGINAL CODE: 0009012 |
|
| AK | Designated contracting states |
Kind code of ref document: A2 Designated state(s): AT BE CH CY DE DK ES FI FR GB GR IE IT LI LU MC NL PT SE |
|
| AX | Request for extension of the european patent |
Free format text: AL;LT;LV;MK;RO;SI |
|
| PUAL | Search report despatched |
Free format text: ORIGINAL CODE: 0009013 |
|
| STAA | Information on the status of an ep patent application or granted ep patent |
Free format text: STATUS: THE APPLICATION HAS BEEN WITHDRAWN |
|
| AK | Designated contracting states |
Kind code of ref document: A3 Designated state(s): AT BE CH CY DE DK ES FI FR GB GR IE IT LI LU MC NL PT SE |
|
| AX | Request for extension of the european patent |
Free format text: AL;LT;LV;MK;RO;SI |
|
| 18W | Application withdrawn |
Withdrawal date: 20010321 |
