EP1024244A2 - Verbundprofil - Google Patents

Verbundprofil Download PDF

Info

Publication number
EP1024244A2
EP1024244A2 EP00101500A EP00101500A EP1024244A2 EP 1024244 A2 EP1024244 A2 EP 1024244A2 EP 00101500 A EP00101500 A EP 00101500A EP 00101500 A EP00101500 A EP 00101500A EP 1024244 A2 EP1024244 A2 EP 1024244A2
Authority
EP
European Patent Office
Prior art keywords
plastic
composite profile
profile according
profiles
metal profiles
Prior art date
Legal status (The legal status is an assumption and is not a legal conclusion. Google has not performed a legal analysis and makes no representation as to the accuracy of the status listed.)
Granted
Application number
EP00101500A
Other languages
English (en)
French (fr)
Other versions
EP1024244B1 (de
EP1024244A3 (de
EP1024244B2 (de
Inventor
Gerhard Dr. Schuhmann
Franz Blaum
Gianni Di Loreto
Current Assignee (The listed assignees may be inaccurate. Google has not performed a legal analysis and makes no representation or warranty as to the accuracy of the list.)
Profine GmbH
Original Assignee
Gebrueder Koemmerling Kunststoffwerke GmbH
Priority date (The priority date is an assumption and is not a legal conclusion. Google has not performed a legal analysis and makes no representation as to the accuracy of the date listed.)
Filing date
Publication date
Family has litigation
First worldwide family litigation filed litigation Critical https://patents.darts-ip.com/?family=7895570&utm_source=google_patent&utm_medium=platform_link&utm_campaign=public_patent_search&patent=EP1024244(A2) "Global patent litigation dataset” by Darts-ip is licensed under a Creative Commons Attribution 4.0 International License.
Application filed by Gebrueder Koemmerling Kunststoffwerke GmbH filed Critical Gebrueder Koemmerling Kunststoffwerke GmbH
Publication of EP1024244A2 publication Critical patent/EP1024244A2/de
Publication of EP1024244A3 publication Critical patent/EP1024244A3/de
Publication of EP1024244B1 publication Critical patent/EP1024244B1/de
Application granted granted Critical
Publication of EP1024244B2 publication Critical patent/EP1024244B2/de
Anticipated expiration legal-status Critical
Expired - Lifetime legal-status Critical Current

Links

Images

Classifications

    • EFIXED CONSTRUCTIONS
    • E06DOORS, WINDOWS, SHUTTERS, OR ROLLER BLINDS IN GENERAL; LADDERS
    • E06BFIXED OR MOVABLE CLOSURES FOR OPENINGS IN BUILDINGS, VEHICLES, FENCES OR LIKE ENCLOSURES IN GENERAL, e.g. DOORS, WINDOWS, BLINDS, GATES
    • E06B3/00Window sashes, door leaves, or like elements for closing wall or like openings; Layout of fixed or moving closures, e.g. windows in wall or like openings; Features of rigidly-mounted outer frames relating to the mounting of wing frames
    • E06B3/30Coverings, e.g. protecting against weather, for decorative purposes
    • EFIXED CONSTRUCTIONS
    • E06DOORS, WINDOWS, SHUTTERS, OR ROLLER BLINDS IN GENERAL; LADDERS
    • E06BFIXED OR MOVABLE CLOSURES FOR OPENINGS IN BUILDINGS, VEHICLES, FENCES OR LIKE ENCLOSURES IN GENERAL, e.g. DOORS, WINDOWS, BLINDS, GATES
    • E06B3/00Window sashes, door leaves, or like elements for closing wall or like openings; Layout of fixed or moving closures, e.g. windows in wall or like openings; Features of rigidly-mounted outer frames relating to the mounting of wing frames
    • E06B3/04Wing frames not characterised by the manner of movement
    • E06B3/263Frames with special provision for insulation
    • E06B3/26301Frames with special provision for insulation with prefabricated insulating strips between two metal section members
    • E06B3/26303Frames with special provision for insulation with prefabricated insulating strips between two metal section members with thin strips, e.g. defining a hollow space between the metal section members
    • EFIXED CONSTRUCTIONS
    • E06DOORS, WINDOWS, SHUTTERS, OR ROLLER BLINDS IN GENERAL; LADDERS
    • E06BFIXED OR MOVABLE CLOSURES FOR OPENINGS IN BUILDINGS, VEHICLES, FENCES OR LIKE ENCLOSURES IN GENERAL, e.g. DOORS, WINDOWS, BLINDS, GATES
    • E06B3/00Window sashes, door leaves, or like elements for closing wall or like openings; Layout of fixed or moving closures, e.g. windows in wall or like openings; Features of rigidly-mounted outer frames relating to the mounting of wing frames
    • E06B3/04Wing frames not characterised by the manner of movement
    • E06B3/263Frames with special provision for insulation
    • E06B2003/26349Details of insulating strips
    • E06B2003/2635Specific form characteristics
    • E06B2003/26359Specific form characteristics making flush mounting with neighbouring metal section members possible

Definitions

  • Such composite profiles are produced in large quantities and as window, door, balcony or Fence profile used.
  • the plastic used for coating is practically exclusive high-impact, plasticizer-free polyvinyl chloride (PVC-u or rigid PVC) is used.

Landscapes

  • Engineering & Computer Science (AREA)
  • Civil Engineering (AREA)
  • Structural Engineering (AREA)
  • Extrusion Moulding Of Plastics Or The Like (AREA)
  • Laminated Bodies (AREA)
  • Crushing And Grinding (AREA)
  • Soft Magnetic Materials (AREA)

Abstract

Die Erfindung betrifft ein Verbundprofil, ein Verfahren zur Herstellung eines Verbundprofiles und die Verwendung eines Verbundprofiles. Um Verbundprofile mit einem geringen Wärmedurchgangskoeffizienten (k-Wert) herzustellen, wird im Rahmen der Erfindung vorgesehen, daß zwei Metallprofile (2,3), die durch mindestens ein schlecht wärmeleitendes Element (4,5) miteinander gekoppelt sind, mit Kunststoff (8) ummantelt sind. Hierdurch wird die Kältebrücke im Bereich der Metallprofile vermieden, wodurch der Wärmedurchgangskoeffizient deutlich verringert wird. <IMAGE>

Description

Die Erfindung betrifft ein Verbundprofil, ein Verfahren zur Herstellung eines Verbundprofiles und die Verwendung eines Verbundprofiles.
Derartige Verbundprofile werden in großen Mengen hergestellt und als Fenster-, Tür-, Balkon- oder Zaunprofil eingesetzt. Derzeit wird als Kunststoff für die Beschichtung praktisch ausschließlich hochschlagfestes, weichmacherfreies Polyvinylchlorid (PVC-u oder Hart-PVC) verwendet.
PVC ist insbesondere für kunststoffummantelte Aluminiumprofile hervorragend geeignet, da nach dem Versehen des Aluminiums mit einem Primer aufgrund der Polarität des PVC eine gute Haftung des PVCs auf dem Aluminium gegeben ist (RAL-Gz 716/1, Abschnitt 1: Kunststoff-Fensterprofile, Teil 5: Verbundprofile aus PVC-Hartschaum und Aluminium-Armierung mit Beschichtungen). Dies gilt insbesondere für weiße Profile aus Hart-PVC.
Aufgrund der guten Wärmeleiteigenschaften des Metallprofils ist der Wärmedurchgangskoeffizient bei derartigen Verbundprofilen höher als bei PVC-Profilen.
Aufgabe der Erfindung ist es, Verbundprofile mit einem geringen Wärmedurchgangskoeffizienten (k-Wert) herzustellen.
Diese Aufgabe wird erfindungsgemäß dadurch gelöst, daß mindestens zwei Metallprofile, die durch mindestens ein schlecht wärmeleitendes Element miteinander gekoppelt sind, mit Kunststoff ummantelt sind.
Durch diese Maßnahme werden die Wärmedämmeigenschaften des Fensters verbessert, da das ummantelte Aluminiumprofil zweiteilig ausgeführt ist und somit vermieden wird, daß es als Kältebrücke zwischen der Außen- und der Innenseite des Fensters wirkt. Auf diese Weise werden die günstigen Stabilitätseigenschaften des Fensters aufgrund der Metallarmierung mit den günstigen Wärmedämmeigenschaften des Kunststoffs kombiniert.
Eine Weiterbildung der Erfindung besteht darin, die Metallprofile mit aufgeschäumtem Kunststoff ummantelt sind.
Geschäumte Kunststoffe bringen in der Regel bessere Wärmedämmungseigenschaften mit sich als ungeschäumte.
Eine andere Ausbildung der Erfindung besteht darin, daß die Metallprofile mit einem Kunststoff aus der Gruppe bestehend aus PVC, ABS, ASA, PMMA und PP oder mehreren dieser Kunststoffe ummantelt sind.
Es hat sich im Rahmen von Untersuchungen gezeigt, daß diese Kunststoffe im Bereich der Fenster- und Türenproduktion als Alternative zu PVC geeignet sind
Es liegt im Rahmen der Erfindung, daß das schlecht wärmeleitende Element aus Kunststoff, insbesondere aus PA, besteht.
Ein aus Kunststoff bestehendes schlecht wärmeleitendes Element erleichtert eine Ummantelung mit Kunststoff.
Es ist zweckmäßig, daß der aufgeschäumte Kunststoff in allen Bereichen des Verbundprofils eine gleichmäßige Wandstärke aufweist.
Hierdurch wird die Tendenz zum Verziehen des Verbundprofils minimiert und es kann mit einer höheren Geschwindigkeit extrudiert werden.
Eine Weiterbildung der Erfindung besteht darin, daß der aufgeschäumte Kunststoff mit einer Schicht aus Hart-PVC ummantelt ist.
Hierdurch wird der Neigung des aufgeschäumten Kunststoffs, beim Sägen zu splittern entgegengewirkt. Da Hart-PVC weniger als der aufgeschäumte Kunststoff schrumpft, wird ein Verziehen des Profils bei Wärmeaufnahme durch diese Maßnahme vermieden.
Weiterhin liegt es im Rahmen der Erfindung, daß an der Außenseite des Verbundprofils Rastelemente aus Hart-PVC vorgesehen sind. Diese Rastelemente (Rastnasen bzw. entsprechende Vertiefungen) sind stabiler als solche aus aufgeschäumtem Kunststoff und splittern nicht beim Sägen oder Einbringen von Rastelementen wie z.B. Glasleisten oder Verbreiterungsprofile.
Es ist vorteilhaft, daß das schlecht wärmeleitende Element mit den Metallprofilen formschlüssig verbunden ist.
Eine Weiterbildung der Erfindung besteht darin, daß zwischen den Metallprofilen und zwei diese koppelnden schlecht wärmeleitenden Elementen eine Kammer angeordnet ist.
Diese Kammer kann mit Entwässerungsbohrungen zum Abführen von Regenwasser versehen sein und hat zudem eine wärmedämmende Wirkung.
Es ist zweckmäßig, daß das Metallprofil aus einer Aluminiumverbindung oder aus Baustahl besteht.
Weiterhin liegt im Rahmen der Erfindung ein Verfahren zur Herstellung eines erfindungsgemäßen Verbundprofiles, wobei mindestens zwei mit Klebstoff beschichtetes Metallprofile in ein Extrusionswerkzeug eingeschoben werden, der Klebstoff erhitzt wird, dem Extrusionwerkzeug Kunststoff zugeführt wird und der Kunststoff die Metallprofile ummantelt.
Hierbei ist es vorteilhaft, daß der Kunststoff im Extrusionswerkzeug aufgeschäumt wird.
Eine Weiterbildung der Erfindung besteht darin, daß um den aufgeschäumten Kunststoff eine Schicht aus Hart-PVC im Coextrusionsverfahren aufgebracht wird.
Weiterhin ist die Verwendung eines erfindungsgemäßen Verbundprofiles als Fenster-, Tür-, Zaun- oder Balkonprofil erfindungsgemäß.
Im folgenden werden Ausführungsbeispiele der Erfindung anhand von Zeichnungen erläutert.
Es zeigen
Fig. 1
ein Verbundprofil gemäß der Erfindung,
Fig. 2
ein Rahmenprofil mit dem entsprechenden Flügelprofil, Fig. 3 ein Kämpferprofil gemäß der Erfindung.
Das in Fig. 1 dargestellte Flügelprofil 1 besteht aus zwei Aluminiumprofilen 2, 3, die über zwei Kunststoffstege 4, 5 miteinander verbunden sind. Die Enden 6 der Kunststoffstege 4, 5 greifen formschlüssig in entsprechende Ausbuchtungen 7 der Aluminiumprofile 1 und durch die aneinanderliegenden Schultern der Aluminiumprofile 2, 3 und der Kunststoffstege 4, 5 wird eine lagefeste Verbindung der beiden Aluminiumprofile 2, 3 sichergestellt. Aufgrund der schlechten Wärmeleiteigenschaften der aus PVC, ABS, ASA, PMMA oder PP bestehenden Kunststoffstege 4, 5 wird eine Wärmebrücke zwischen der Außen- und der Innenseite des Fensters vermieden. Auf die miteinander verbundenen Aluminiumprofile 2, 3 wird anschließend ein Klebstoff aufgebracht, der es ermöglicht, die Aluminiumprofile 2, 3 mit einer Kunststoffummantelung 8 aus vorzugsweise geschäumtem PVC, ABS, ASA, PMMA oder PP zu versehen.
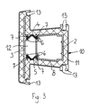
Wie in Fig. 2 und 3 dargestellt, können neben Flügelprofilen 1 auch Rahmenprofile 9 und Kämpferprofile 10 gemäß der Erfindung hergestellt werden. Die in den Fig. 2 und 3 gezeigten Ausführungsformen unterscheiden sich von der in Fig. 1 dargestellten unter anderem dadurch, daß die Schichtdicke der geschäumten Kunststoffummantelung 8 an allen Stellen der Profile im wesentlichen konstant ist, was gleichmäßigere Drücke im Werkzeug, einen geringeren Verzug und eine schnellere Extrusion ermöglicht. Weiterhin ist hier die Kunststoffummantelung 8 mit einer coextrudierten Schicht 11 aus Hart-PVC umgeben, durch die das Splittern beim Sägen der Profile und das Verziehen bei Wärmeaufnahme deutlich reduziert werden können. Des weiteren besteht durch die Deckschicht aus Hart-PVC die Möglichkeit, einen höheren Glanz der Profiloberfläche zu erreichen. Auch die Rastelemente 13 sind aus den gleichen Gründen aus Hart-PVC hergestellt.
Weiterhin ist bei den Ausführungsformen gemäß den Fig. 2 und 3 zwischen den beiden Aluminiumprofilen 2, 3 und dem schlecht wärmeleitenden Element 4, 5 eine luftgefüllte Kammer 12 angeordnet, durch die mittels Entwässerungsbohrungen (nicht dargestellt) Regenwasser abgeführt werden kann. Zudem wirkt diese Kammer 12 wärmedämmend. Durch das gegenüber Fig. 1 größere geschlossene Aluminiumprofil 2 wird eine höhere Steifigkeit des Profils erreicht.

Claims (14)

  1. Verbundprofil, bestehend aus einem mit Kunststoff ummantelten Metallprofil, dadurch gekennzeichnet, daß mindestens zwei Metallprofile (2, 3), die durch mindestens ein schlecht wärmeleitendes Element (4, 5) miteinander gekoppelt sind, mit Kunststoff (8) ummantelt sind.
  2. Verbundprofil gemäß Anspruch 1, dadurch gekennzeichnet, daß die Metallprofile (2, 3) mit aufgeschäumtem Kunststoff (8) ummantelt sind.
  3. Verbundprofil gemäß Anspruch 1 oder 2, dadurch gekennzeichnet, daß die Metallprofile (2, 3) mit einem Kunststoff (8) aus der Gruppe bestehend aus PVC, ABS, ASA, PMMA und PP oder mehreren dieser Kunststoffe ummantelt sind.
  4. Verbundprofil gemäß Anspruch 1, dadurch gekennzeichnet, daß das schlecht wärmeleitende Element (4, 5) aus Kunststoff, insbesondere aus PA, besteht.
  5. Verbundprofil gemäß Anspruch 2, dadurch gekennzeichnet, daß der aufgeschäumte Kunststoff (8) in allen Bereichen des Verbundprofils eine gleichmäßige Wandstärke aufweist.
  6. Verbundprofil gemäß Anspruch 2, dadurch gekennzeichnet, daß der aufgeschäumte Kunststoff (8) mit einer Schicht (11) aus Hart-PVC ummantelt ist.
  7. Verbundprofil gemäß Anspruch 6, dadurch gekennzeichnet, daß an der Außenseite des Verbundprofils Rastelemente (13) aus Hart-PVC vorgesehen sind.
  8. Verbundprofil gemäß Anspruch 3, dadurch gekennzeichnet, daß das schlecht wärmeleitende Element (4, 5) mit den Metallprofilen (2, 3) formschlüssig verbunden ist.
  9. Verbundprofil gemäß Anspruch 1, dadurch gekennzeichnet, daß zwischen den Metallprofilen (2, 3) und zwei diese koppelnden schlecht wärmeleitenden Elementen (4, 5) eine Kammer (12) angeordnet ist.
  10. Verbundprofil gemäß einem der Ansprüche 1 bis 9, dadurch gekennzeichnet, daß das Metallprofil (2, 3) aus einer Aluminiumverbindung oder aus Baustahl besteht.
  11. Verfahren zur Herstellung eines Verbundprofiles nach einem der Ansprüche 1 bis 10, dadurch gekennzeichnet, daß mit Klebstoff beschichtete Metallprofile (2, 3) in ein Extrusionswerkzeug eingeschoben werden, der Klebstoff erhitzt wird, dem Extrusionwerkzeug Kunststoff (8) zugeführt wird und der Kunststoff (8) die Metallprofile (2, 3) ummantelt.
  12. Verfahren gemäß Anspruch 11, dadurch gekennzeichnet, daß der Kunststoff (8) im Extrusionswerkzeug aufgeschäumt wird.
  13. Verfahren gemäß Anspruch 12, dadurch gekennzeichnet, daß um den aufgeschäumten Kunststoff (8) eine Schicht (11) aus Hart-PVC im Coextrusionsverfahren aufgebracht wird.
  14. Verwendung eines Verbundprofiles nach einem der Ansprüche 1 bis 10 als Fenster-, Tür-, Zaun- oder Balkonprofil.
EP00101500A 1999-01-27 2000-01-26 Verbundprofil Expired - Lifetime EP1024244B2 (de)

Applications Claiming Priority (2)

Application Number Priority Date Filing Date Title
DE19903234 1999-01-27
DE19903234A DE19903234A1 (de) 1999-01-27 1999-01-27 Metallprofil

Publications (4)

Publication Number Publication Date
EP1024244A2 true EP1024244A2 (de) 2000-08-02
EP1024244A3 EP1024244A3 (de) 2002-07-03
EP1024244B1 EP1024244B1 (de) 2007-01-24
EP1024244B2 EP1024244B2 (de) 2010-01-27

Family

ID=7895570

Family Applications (1)

Application Number Title Priority Date Filing Date
EP00101500A Expired - Lifetime EP1024244B2 (de) 1999-01-27 2000-01-26 Verbundprofil

Country Status (3)

Country Link
EP (1) EP1024244B2 (de)
AT (1) ATE352696T1 (de)
DE (2) DE19903234A1 (de)

Cited By (4)

* Cited by examiner, † Cited by third party
Publication number Priority date Publication date Assignee Title
CN102619439A (zh) * 2011-01-28 2012-08-01 上海金河实业有限公司 一种带有断热桥结构的复合门窗型材
CN102628333A (zh) * 2012-04-26 2012-08-08 山西华鹏新型建筑材料科技研发有限公司 隔热保温的断桥铝塑共挤型材
DE102014004430A1 (de) * 2014-03-27 2015-10-01 Alanod Gmbh & Co. Kg Selbsthaftender Kunststoff zur lsolation von Metalloberflächen
DE102023125828A1 (de) 2023-09-22 2025-03-27 Profine Gmbh Mehrteiliges Rahmenprofil aus Kunststoff mit Verklipsung

Families Citing this family (1)

* Cited by examiner, † Cited by third party
Publication number Priority date Publication date Assignee Title
DE20111221U1 (de) 2001-06-28 2001-11-29 GKT Glas-und Kunststofftechnik GmbH & Co. KG, 33034 Brakel Sprossenprofil zum Einbau in Isolierglas

Family Cites Families (10)

* Cited by examiner, † Cited by third party
Publication number Priority date Publication date Assignee Title
US4130976A (en) * 1977-03-07 1978-12-26 Gerbruder Kommerling Kunststoffwerke G.M.B.H. Frame for doors, windows and the like
DE2833738A1 (de) 1978-08-01 1980-02-21 Koemmerling Kunststoff Mit kunststoff ummantelter metallprofilstab, sowie fenster und tueren mit einem derartigen metallprofilstab
DE2903730C2 (de) * 1979-02-01 1984-07-05 Wavin GmbH Kunststoffröhrenwerk, 4477 Twist Blend- und Flügelrahmen für Fenster und Türen
DE2945664C2 (de) * 1979-11-12 1984-04-05 Gebrüder Kömmerling Kunststoffwerke GmbH, 6780 Pirmasens Profilstab für Blend- und/oder Flügelrahmen für Außenfenster oder -türen
US4341831A (en) * 1981-05-04 1982-07-27 Fulgeritwerke Seelze Und Eichriede In Luthe Bei Hannover Adolf Oesterheld Gmbh & Co. Kommanditgesellschaft Shapes for windows or doors
DE8313480U1 (de) 1983-05-06 1988-11-17 SCHÜCO Heinz Schürmann GmbH & Co, 4800 Bielefeld Isolierstab für ein wärmegedämmtes Verbundprofil für Fenster, Türen oder Fassaden
GB2143270A (en) * 1983-07-14 1985-02-06 Bkl Extrusions Ltd Window or door frame
DE3402226C1 (de) 1984-01-24 1985-08-14 Fulgurit GmbH & Co KG, 3050 Wunstorf Verbundprofil fuer einen Fluegel- oder Blendrahmen fuer Fenster oder verglaste Tueren
DE3407639A1 (de) 1984-03-01 1985-09-12 Gebrüder Kömmerling Kunststoffwerke GmbH, 6780 Pirmasens Verbundstab, insbesondere fuer fensterrahmen, tuerrahmen und rollaeden
DE19504601C2 (de) * 1995-01-11 1998-04-09 Wicona Bausysteme Gmbh Wärmegedämmtes Verbundprofil

Cited By (5)

* Cited by examiner, † Cited by third party
Publication number Priority date Publication date Assignee Title
CN102619439A (zh) * 2011-01-28 2012-08-01 上海金河实业有限公司 一种带有断热桥结构的复合门窗型材
CN102628333A (zh) * 2012-04-26 2012-08-08 山西华鹏新型建筑材料科技研发有限公司 隔热保温的断桥铝塑共挤型材
DE102014004430A1 (de) * 2014-03-27 2015-10-01 Alanod Gmbh & Co. Kg Selbsthaftender Kunststoff zur lsolation von Metalloberflächen
DE102014004430B4 (de) 2014-03-27 2025-01-23 Alanod Gmbh & Co. Kg Verfahren zur Beschichtung der Metalloberflache einer Komponente mit einem Kunststoff und Komponente aus einem ersten und einem davon verschiedenen zweiten Metall
DE102023125828A1 (de) 2023-09-22 2025-03-27 Profine Gmbh Mehrteiliges Rahmenprofil aus Kunststoff mit Verklipsung

Also Published As

Publication number Publication date
EP1024244B1 (de) 2007-01-24
EP1024244A3 (de) 2002-07-03
ATE352696T1 (de) 2007-02-15
EP1024244B2 (de) 2010-01-27
DE19903234A1 (de) 2000-08-03
DE50013991D1 (de) 2007-03-15

Similar Documents

Publication Publication Date Title
DE69511608T2 (de) Struktur für Gebäuderahmen
DE69426124T2 (de) Profile, düse und verfahren zu ihrer herstellung
WO2018072878A1 (de) Verfahren zur herstellung eines thermoplastischen fenster- oder tür-hohlkammerprofils
DE102013100588A1 (de) Hohlkammerprofil für Fenster oder Türen
EP1019607B1 (de) Rahmenprofile zum herstellen von rahmen für fenster oder türen und verfahren zum herstellen von rahmenprofilen
DE2945664C2 (de) Profilstab für Blend- und/oder Flügelrahmen für Außenfenster oder -türen
EP4392238A1 (de) Verfahren zur herstellung eines polymeren, insbesondere thermoplastischen fenster- oder tür-hohlkammerprofils
EP1024244B1 (de) Verbundprofil
EP3825502A1 (de) Hohlkammerprofil für ein fenster oder eine tür sowie dieses umfassende rahmenbaugruppe
DE102020115821A1 (de) Hohlkammerprofil für ein Fenster oder eine Tür sowie dieses umfassende Rahmenbaugruppe
EP3670808A1 (de) Rahmen-baugruppe für eine tür oder ein fenster
EP3555404A1 (de) Wärmegedämmtes metall-kunststoff-verbundprofil
DE202019103072U1 (de) Hohlkammerprofil für ein Fenster oder eine Tür sowie dieses umfassende Rahmenbaugruppe
DE29880053U1 (de) Profilsystem zur Herstellung von Fenstern oder Türen
WO2025195903A1 (de) Verbundprofil sowie dieses umfassender fenster- oder türrahmen
EP1812675B1 (de) Hohlkammerprofil aus thermoplastischem kunststoff
DE19741787A1 (de) Isolations-Fenster oder Isolations-Türe sowie Verfahren zu dessen bzw. deren Herstellung
WO2019179916A1 (de) Verfahren zur herstellung eines hohlkammerprofils für ein fenster oder eine tür sowie nach diesem verfahren hergestelltes hohlkammerprofil
EP4575165A1 (de) Fenster- oder türhohlkammerprofil sowie verfahren zu seiner herstellung
DE102024107662A1 (de) Fenster- oder Türhohlkammerprofils sowie Verfahren zu seiner Herstellung
DE202024101689U1 (de) Fensterelement
DE202011102364U1 (de) Fenster für Öffnungen von Gebäuden
DE2919437A1 (de) Verbundprofil
EP4240569A1 (de) Verfahren zur herstellung eines faserverstärkten polymeren endlosprofils
DE7502410U (de) Profilleiste fuer die herstellung von fensterrahmen, tuerrahmen o.dgl.

Legal Events

Date Code Title Description
PUAI Public reference made under article 153(3) epc to a published international application that has entered the european phase

Free format text: ORIGINAL CODE: 0009012

AK Designated contracting states

Kind code of ref document: A2

Designated state(s): AT BE CH CY DE DK ES FI FR GB GR IE IT LI LU MC NL PT SE

AX Request for extension of the european patent

Free format text: AL;LT;LV;MK;RO;SI

RAP1 Party data changed (applicant data changed or rights of an application transferred)

Owner name: KOEMMERLING KUNSTSTOFF GMBH

PUAL Search report despatched

Free format text: ORIGINAL CODE: 0009013

AK Designated contracting states

Kind code of ref document: A3

Designated state(s): AT BE CH CY DE DK ES FI FR GB GR IE IT LI LU MC NL PT SE

AX Request for extension of the european patent

Free format text: AL;LT;LV;MK;RO;SI

RIC1 Information provided on ipc code assigned before grant

Free format text: 7E 06B 3/30 A, 7E 06B 3/263 B, 7E 06B 3/00 B, 7E 06B 3/26 B

17P Request for examination filed

Effective date: 20021219

AKX Designation fees paid

Designated state(s): AT BE CH CY DE DK ES FI FR GB GR IE IT LI LU MC NL PT SE

17Q First examination report despatched

Effective date: 20030723

RAP1 Party data changed (applicant data changed or rights of an application transferred)

Owner name: PROFINE GMBH

GRAP Despatch of communication of intention to grant a patent

Free format text: ORIGINAL CODE: EPIDOSNIGR1

GRAS Grant fee paid

Free format text: ORIGINAL CODE: EPIDOSNIGR3

GRAA (expected) grant

Free format text: ORIGINAL CODE: 0009210

AK Designated contracting states

Kind code of ref document: B1

Designated state(s): AT BE CH CY DE DK ES FI FR GB GR IE IT LI LU MC NL PT SE

PG25 Lapsed in a contracting state [announced via postgrant information from national office to epo]

Ref country code: NL

Free format text: LAPSE BECAUSE OF FAILURE TO SUBMIT A TRANSLATION OF THE DESCRIPTION OR TO PAY THE FEE WITHIN THE PRESCRIBED TIME-LIMIT

Effective date: 20070124

Ref country code: DK

Free format text: LAPSE BECAUSE OF FAILURE TO SUBMIT A TRANSLATION OF THE DESCRIPTION OR TO PAY THE FEE WITHIN THE PRESCRIBED TIME-LIMIT

Effective date: 20070124

Ref country code: FI

Free format text: LAPSE BECAUSE OF FAILURE TO SUBMIT A TRANSLATION OF THE DESCRIPTION OR TO PAY THE FEE WITHIN THE PRESCRIBED TIME-LIMIT

Effective date: 20070124

Ref country code: IE

Free format text: LAPSE BECAUSE OF FAILURE TO SUBMIT A TRANSLATION OF THE DESCRIPTION OR TO PAY THE FEE WITHIN THE PRESCRIBED TIME-LIMIT

Effective date: 20070124

REG Reference to a national code

Ref country code: GB

Ref legal event code: FG4D

Free format text: NOT ENGLISH

PG25 Lapsed in a contracting state [announced via postgrant information from national office to epo]

Ref country code: LI

Free format text: LAPSE BECAUSE OF NON-PAYMENT OF DUE FEES

Effective date: 20070131

Ref country code: CH

Free format text: LAPSE BECAUSE OF NON-PAYMENT OF DUE FEES

Effective date: 20070131

Ref country code: MC

Free format text: LAPSE BECAUSE OF NON-PAYMENT OF DUE FEES

Effective date: 20070131

REG Reference to a national code

Ref country code: CH

Ref legal event code: EP

REG Reference to a national code

Ref country code: IE

Ref legal event code: FG4D

Free format text: LANGUAGE OF EP DOCUMENT: GERMAN

REF Corresponds to:

Ref document number: 50013991

Country of ref document: DE

Date of ref document: 20070315

Kind code of ref document: P

PG25 Lapsed in a contracting state [announced via postgrant information from national office to epo]

Ref country code: SE

Free format text: LAPSE BECAUSE OF FAILURE TO SUBMIT A TRANSLATION OF THE DESCRIPTION OR TO PAY THE FEE WITHIN THE PRESCRIBED TIME-LIMIT

Effective date: 20070424

PG25 Lapsed in a contracting state [announced via postgrant information from national office to epo]

Ref country code: ES

Free format text: LAPSE BECAUSE OF FAILURE TO SUBMIT A TRANSLATION OF THE DESCRIPTION OR TO PAY THE FEE WITHIN THE PRESCRIBED TIME-LIMIT

Effective date: 20070505

PG25 Lapsed in a contracting state [announced via postgrant information from national office to epo]

Ref country code: PT

Free format text: LAPSE BECAUSE OF FAILURE TO SUBMIT A TRANSLATION OF THE DESCRIPTION OR TO PAY THE FEE WITHIN THE PRESCRIBED TIME-LIMIT

Effective date: 20070625

NLV1 Nl: lapsed or annulled due to failure to fulfill the requirements of art. 29p and 29m of the patents act
GBV Gb: ep patent (uk) treated as always having been void in accordance with gb section 77(7)/1977 [no translation filed]

Effective date: 20070124

REG Reference to a national code

Ref country code: IE

Ref legal event code: FD4D

EN Fr: translation not filed
REG Reference to a national code

Ref country code: CH

Ref legal event code: PL

PLBI Opposition filed

Free format text: ORIGINAL CODE: 0009260

PG25 Lapsed in a contracting state [announced via postgrant information from national office to epo]

Ref country code: GB

Free format text: LAPSE BECAUSE OF FAILURE TO SUBMIT A TRANSLATION OF THE DESCRIPTION OR TO PAY THE FEE WITHIN THE PRESCRIBED TIME-LIMIT

Effective date: 20070124

26 Opposition filed

Opponent name: SCHUECO INTERNATIONAL KG

Effective date: 20071019

PLAX Notice of opposition and request to file observation + time limit sent

Free format text: ORIGINAL CODE: EPIDOSNOBS2

BERE Be: lapsed

Owner name: PROFINE G.M.B.H.

Effective date: 20070131

PG25 Lapsed in a contracting state [announced via postgrant information from national office to epo]

Ref country code: BE

Free format text: LAPSE BECAUSE OF NON-PAYMENT OF DUE FEES

Effective date: 20070131

PLAF Information modified related to communication of a notice of opposition and request to file observations + time limit

Free format text: ORIGINAL CODE: EPIDOSCOBS2

PG25 Lapsed in a contracting state [announced via postgrant information from national office to epo]

Ref country code: GR

Free format text: LAPSE BECAUSE OF FAILURE TO SUBMIT A TRANSLATION OF THE DESCRIPTION OR TO PAY THE FEE WITHIN THE PRESCRIBED TIME-LIMIT

Effective date: 20070425

Ref country code: FR

Free format text: LAPSE BECAUSE OF FAILURE TO SUBMIT A TRANSLATION OF THE DESCRIPTION OR TO PAY THE FEE WITHIN THE PRESCRIBED TIME-LIMIT

Effective date: 20070914

Ref country code: IT

Free format text: LAPSE BECAUSE OF FAILURE TO SUBMIT A TRANSLATION OF THE DESCRIPTION OR TO PAY THE FEE WITHIN THE PRESCRIBED TIME-LIMIT

Effective date: 20070124

PLBB Reply of patent proprietor to notice(s) of opposition received

Free format text: ORIGINAL CODE: EPIDOSNOBS3

PLAB Opposition data, opponent's data or that of the opponent's representative modified

Free format text: ORIGINAL CODE: 0009299OPPO

PG25 Lapsed in a contracting state [announced via postgrant information from national office to epo]

Ref country code: FR

Free format text: LAPSE BECAUSE OF FAILURE TO SUBMIT A TRANSLATION OF THE DESCRIPTION OR TO PAY THE FEE WITHIN THE PRESCRIBED TIME-LIMIT

Effective date: 20070124

PGFP Annual fee paid to national office [announced via postgrant information from national office to epo]

Ref country code: AT

Payment date: 20090115

Year of fee payment: 10

PG25 Lapsed in a contracting state [announced via postgrant information from national office to epo]

Ref country code: CY

Free format text: LAPSE BECAUSE OF FAILURE TO SUBMIT A TRANSLATION OF THE DESCRIPTION OR TO PAY THE FEE WITHIN THE PRESCRIBED TIME-LIMIT

Effective date: 20070124

PG25 Lapsed in a contracting state [announced via postgrant information from national office to epo]

Ref country code: LU

Free format text: LAPSE BECAUSE OF NON-PAYMENT OF DUE FEES

Effective date: 20070126

PGFP Annual fee paid to national office [announced via postgrant information from national office to epo]

Ref country code: DE

Payment date: 20090711

Year of fee payment: 10

PUAH Patent maintained in amended form

Free format text: ORIGINAL CODE: 0009272

STAA Information on the status of an ep patent application or granted ep patent

Free format text: STATUS: PATENT MAINTAINED AS AMENDED

27A Patent maintained in amended form

Effective date: 20100127

AK Designated contracting states

Kind code of ref document: B2

Designated state(s): AT BE CH CY DE DK ES FI FR GB GR IE IT LI LU MC NL PT SE

REG Reference to a national code

Ref country code: ES

Ref legal event code: FD2A

Effective date: 20070127

PG25 Lapsed in a contracting state [announced via postgrant information from national office to epo]

Ref country code: AT

Free format text: LAPSE BECAUSE OF NON-PAYMENT OF DUE FEES

Effective date: 20100126

Ref country code: DE

Free format text: LAPSE BECAUSE OF NON-PAYMENT OF DUE FEES

Effective date: 20100803