EP0804897A2 - Floor cleaning machine, in particular vacuum scrubbing machine - Google Patents
Floor cleaning machine, in particular vacuum scrubbing machine Download PDFInfo
- Publication number
- EP0804897A2 EP0804897A2 EP97105200A EP97105200A EP0804897A2 EP 0804897 A2 EP0804897 A2 EP 0804897A2 EP 97105200 A EP97105200 A EP 97105200A EP 97105200 A EP97105200 A EP 97105200A EP 0804897 A2 EP0804897 A2 EP 0804897A2
- Authority
- EP
- European Patent Office
- Prior art keywords
- machine according
- brush
- tub
- machine
- support column
- Prior art date
- Legal status (The legal status is an assumption and is not a legal conclusion. Google has not performed a legal analysis and makes no representation as to the accuracy of the status listed.)
- Granted
Links
Images
Classifications
-
- A—HUMAN NECESSITIES
- A47—FURNITURE; DOMESTIC ARTICLES OR APPLIANCES; COFFEE MILLS; SPICE MILLS; SUCTION CLEANERS IN GENERAL
- A47L—DOMESTIC WASHING OR CLEANING; SUCTION CLEANERS IN GENERAL
- A47L11/00—Machines for cleaning floors, carpets, furniture, walls, or wall coverings
- A47L11/40—Parts or details of machines not provided for in groups A47L11/02 - A47L11/38, or not restricted to one of these groups, e.g. handles, arrangements of switches, skirts, buffers, levers
- A47L11/4002—Installations of electric equipment
- A47L11/4005—Arrangements of batteries or cells; Electric power supply arrangements
-
- A—HUMAN NECESSITIES
- A47—FURNITURE; DOMESTIC ARTICLES OR APPLIANCES; COFFEE MILLS; SPICE MILLS; SUCTION CLEANERS IN GENERAL
- A47L—DOMESTIC WASHING OR CLEANING; SUCTION CLEANERS IN GENERAL
- A47L11/00—Machines for cleaning floors, carpets, furniture, walls, or wall coverings
- A47L11/29—Floor-scrubbing machines characterised by means for taking-up dirty liquid
- A47L11/30—Floor-scrubbing machines characterised by means for taking-up dirty liquid by suction
- A47L11/302—Floor-scrubbing machines characterised by means for taking-up dirty liquid by suction having rotary tools
- A47L11/305—Floor-scrubbing machines characterised by means for taking-up dirty liquid by suction having rotary tools the tools being disc brushes
-
- A—HUMAN NECESSITIES
- A47—FURNITURE; DOMESTIC ARTICLES OR APPLIANCES; COFFEE MILLS; SPICE MILLS; SUCTION CLEANERS IN GENERAL
- A47L—DOMESTIC WASHING OR CLEANING; SUCTION CLEANERS IN GENERAL
- A47L11/00—Machines for cleaning floors, carpets, furniture, walls, or wall coverings
- A47L11/40—Parts or details of machines not provided for in groups A47L11/02 - A47L11/38, or not restricted to one of these groups, e.g. handles, arrangements of switches, skirts, buffers, levers
- A47L11/4013—Contaminants collecting devices, i.e. hoppers, tanks or the like
- A47L11/4016—Contaminants collecting devices, i.e. hoppers, tanks or the like specially adapted for collecting fluids
-
- A—HUMAN NECESSITIES
- A47—FURNITURE; DOMESTIC ARTICLES OR APPLIANCES; COFFEE MILLS; SPICE MILLS; SUCTION CLEANERS IN GENERAL
- A47L—DOMESTIC WASHING OR CLEANING; SUCTION CLEANERS IN GENERAL
- A47L11/00—Machines for cleaning floors, carpets, furniture, walls, or wall coverings
- A47L11/40—Parts or details of machines not provided for in groups A47L11/02 - A47L11/38, or not restricted to one of these groups, e.g. handles, arrangements of switches, skirts, buffers, levers
- A47L11/4063—Driving means; Transmission means therefor
- A47L11/4069—Driving or transmission means for the cleaning tools
-
- A—HUMAN NECESSITIES
- A47—FURNITURE; DOMESTIC ARTICLES OR APPLIANCES; COFFEE MILLS; SPICE MILLS; SUCTION CLEANERS IN GENERAL
- A47L—DOMESTIC WASHING OR CLEANING; SUCTION CLEANERS IN GENERAL
- A47L11/00—Machines for cleaning floors, carpets, furniture, walls, or wall coverings
- A47L11/40—Parts or details of machines not provided for in groups A47L11/02 - A47L11/38, or not restricted to one of these groups, e.g. handles, arrangements of switches, skirts, buffers, levers
- A47L11/4075—Handles; levers
Definitions
- the invention relates to a floor cleaning machine, in particular a scrubber-drier, with a housing consisting of a lower part and a hood-like upper part which can be opened in relation thereto, with a plurality of wheels attached to the underside of the lower part, with a brush unit mounted on the lower part by means of a height-adjustable carrier and operated by one arranged on the lower part of the brush drive motor can be driven via a brush gear, with a strip-shaped suction nozzle which is connected to a suction pump, with a tank having two chambers and with several batteries and / or other power supply units.
- the lower part generally consists of a frame construction welded together from a plurality of steel profiles, which carries a cladding made of sheet metal or plastic on the outside.
- the brush drive motor, the suction pump, the support for the brush unit, etc. are arranged in the lower part of this frame construction.
- the brush drive motor which is mounted directly on the brush unit in many other designs. Since at least the brush gear, but in many cases also the brush drive motor, is connected to the brush unit, the brush unit cannot simply be exchanged for another brush unit, for example with a different working width, or for a new one.
- the one for that Bottom part provided frame construction including cladding is relatively expensive to manufacture and also difficult.
- the tank is also arranged in the lower part. The batteries are parked on the upper side of the lower part. Cleaning the tank is therefore very difficult and only possible after the batteries have been removed.
- a relatively low-lying tank has the disadvantage that the tank contents cannot be easily emptied into a spout which is arranged at a distance from the floor. An additional drain pump is therefore usually required.
- the invention has for its object to provide a floor cleaning machine, in particular scrubber drier, of the type mentioned, which is simpler in construction, in which most components are optimally protected and yet are easily accessible when needed and which is also easy to clean.
- the lower part is designed as a self-supporting trough which is open at the top and essentially closed at the bottom, the vertical side walls of which extend at least over a third of the total height of the housing and in which at least the brush drive motor, the brush gear, a Lift motor for the carrier, essential parts of the same and the batteries are arranged, and that the upper part contains the tank.
- the self-supporting tub is of major importance. It replaces the previous frame construction and its cladding.
- the tub is inexpensive to manufacture, it forms a supporting structure and also a cladding in one.
- it also provides effective protection against contamination of the most important machine components, since it is essentially closed not only to the side but also at the bottom.
- the most important machine components are optimally protected inside the tub. This applies not only to the brush motor, the brush gear, the lifting motor and essential parts of the carrier, but also to the batteries and in particular also the electronic control of the machine, which can advantageously be mounted in the tub. After opening the upper part containing the tank, all components contained in the tub are freely and conveniently accessible for service and repair purposes.
- the new machine Since essential parts of the brush drive, in particular the brush drive motor and the brush gear, are accommodated in the tub in the new machine, the new machine also has the advantage that the motorless brush units can be easily replaced if necessary.
- the arrangement of the tank in the upper part has the advantage that the tank is relatively high and therefore its contents can be emptied into a spout without a drain pump.
- the upper part is designed as a self-supporting tank.
- the upper part can suitably consist of glass fiber reinforced plastic.
- the design of the upper part as a self-supporting tank simplifies the construction and thus also reduces the production costs and the weight.
- a further, particularly advantageous embodiment consists in that an operating panel with the essential operating and display elements is arranged on the guide handle, and that the guide handle can optionally be connected to one or the other end of the machine, in particular the tub.
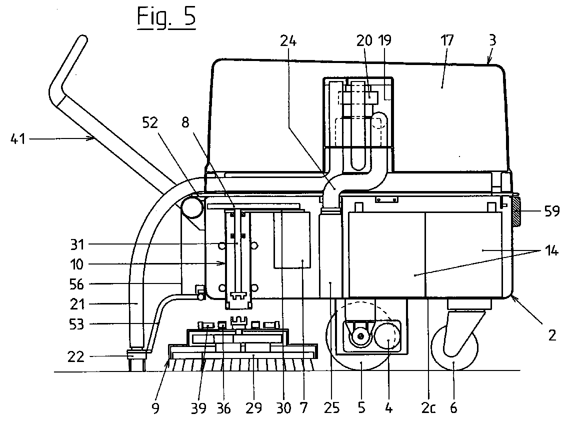
- the scrubber-drier shown in the drawing has a housing 1, consisting of a lower part 2 and an upper part 3 that can be opened against it.
- the lower part 2 is designed as a self-supporting, open top and essentially closed bottom tub and is therefore also referred to below as tub 2 designated.
- the trough 2 and the upper part 3 have an essentially rectangular plan, as can be seen in FIG. 4.
- the vertical side walls 2a and 2b of the tub should extend over at least one third of the total height of the housing 1, on the one hand in order to be able to accommodate the essential components of the machine in a protected manner and on the other hand to give the tub an appropriate stability so that the The tub also forms a stable lower part without an additional frame construction.
- the height of the tub 2 depends essentially on the height of the components to be accommodated therein, which will be described in more detail below.
- the travel drive 4 which drives the main wheels 5, is screwed on and protected from contamination by a hood. Furthermore, the castors 6 are attached to the floor 2c.
- the tub 2 is suitably made of sheet metal, especially stainless steel.
- the brush drive motor 7, the brush gear 8 as a support for the brush unit 9 serving support column 10, a lifting motor 11 for the support column, a fresh water pump 12, possibly a recycling pump 13, the batteries 14 and above all the control electronics in a clean and protected environment and easy to maintain.
- the upper part 3 After opening the upper part 3, as shown in FIGS. 4 and 6, all of the aforementioned parts are easily accessible for maintenance purposes and, if necessary, for repair or replacement. However, if the upper part 3 is folded down, as shown in FIGS. 1-5, then the upper part 3 completely covers the tub 2, which is open at the top, so that the components accommodated in the tub 2 are protected against dirt and also against splash water.
- the lower edge 3d of the upper part 3 encompasses the upper edge 2d of the tub 2 from the outside, as is shown in FIG.
- the tub 2 can also be expediently provided with a transverse wall 16 which separates the battery compartment from the rest of the interior of the tub and also serves to stiffen the tub 2.
- the upper part 3 is expediently designed as a self-supporting tank 17.
- the tank 17 has a fresh water chamber 17a and a dirty water chamber 17b, which are separated from one another either by a rigid partition wall 18 or by a movable membrane (not shown).
- the upper part 3 expediently consists of glass fiber reinforced plastic, in particular glass fiber reinforced polyester.
- the upper part 3 has a large cover at the top, not shown in the drawings.
- the suction pump (suction turbine) 20 is expediently accommodated in a central cavity 19 of the upper part 3.
- the cavity 19 is surrounded on all sides by tank sections 17a, 17b, which are completely or partially filled with water.
- the suction pump 20 is connected via a suction hose 21 to a strip-shaped suction nozzle 22 of a known type.
- the suction hose 22 and further ventilation hoses 23 serving for cooling purposes of the suction pump 20 are expediently guided along the underside of the tank bottom 17c.
- the ventilation hoses 23 are only shown in FIG. 3.
- An exhaust pipe 24 leads downward from the suction pump 20.
- the upper part 3 When the upper part 3 is closed, it is aligned with the upper end 25a of an exhaust pipe 22 arranged in the tub 2, the lower end of which opens out into the open at the bottom 2c of the tub 2.
- the connection between the exhaust pipes 24, 25 is automatically sealed when the upper part 3 is closed.
- a vertically displaceable support column 10 is expediently provided as a carrier for the brush unit 9. As can be seen from FIG. 7, this support column 10 has a square or possibly also rectangular cross section. It stretches through a recess 26 in the bottom 2c of the tub down. However, the greater part of the support column 10 is arranged inside the tub 2, as is its guidance, which can be formed by a plurality of guide rollers 27. The guide rollers 27 are of course mounted in corresponding holders, not shown, which are connected to the bottom 2c of the tub. A seal, not shown, can also be arranged between the recess 26 and the support column 10.
- the support column 10 With the upper end 10a of the support column 10, an arm 28 is connected, on which the lifting motor 11 engages. With the lifting motor 11, the support column 10 can not only be moved up and down in the vertical direction V, but also the contact pressure of the plate brushes 29 or pad disks on the floor can be regulated by the lifting motor 11.
- a support plate 30 is connected, which on the one hand carries the brush drive 8 designed as a belt drive and on the other hand also the brush drive motor 7.
- the latter and the brush gear 8 can thus be raised and lowered together with the entire support column 10.
- the drive shaft 31 driven by the brush gear 8 is mounted in the interior of the support column 10.
- one half 32 of a claw coupling or the like is arranged, the other half 33 of which can be plugged together with an output shaft 35 mounted in the brush housing 34.
- the disk brushes 29 accommodated in the brush housing 34 are driven in a known manner by the output shaft 35 via a distribution gear (not shown).
- two support straps 36 are fastened to the brush housing 34 on two opposite sides of the support column 10, each of which has a transverse bore 37.
- two transverse bores 38 are also provided on the opposite sides mentioned, which are aligned with one another in the connected position of support column 10 and brush housing 34, as shown in FIG.
- the connecting bolts 39 can be inserted into these transverse bores 37, 38 and can be locked by means of the bolts 40 pivotably arranged on the tabs 36.
- a brush unit 9 is moved downwards by means of the lifting motor 11 until the plate brushes 29 are supported on the floor.
- the bolts 40 are unlocked and the connecting bolts 39 can then be easily pulled out of the transverse bores 37, 38.
- the support column 10 can then be moved upwards a bit and the entire brush unit can be pulled out from under the tub 2 to the side or to the front. Another brush unit can then be inserted under the machine. In the opposite way, the support column 10 is then lowered and brought back between the tabs 36 of the new brush unit.
- the connecting bolts 39 can be inserted into both cross bores 36, 37 and secured by means of the latch 40.
- the two halves 32, 33 of the claw coupling automatically come into engagement with one another again, as a result of which the drive connection between Drive shaft 31 and output shaft 35 is produced.
- the brush unit can also be easily removed for cleaning and maintenance purposes and then cleaned, maintained or repaired at a comfortable working height on a work table.
- the axis A of the connecting bolts 39 serves as a pendulum axis for the brush housing 34 29 better adapt to the floor geometry.
- a guide handle 41 is also provided, which is expediently designed as an essentially U-shaped bracket.
- the closed end 41a of this bracket removed from the machine is angled upward.
- This part 41a which is angled upward, expediently, as can be seen from FIG. 2, encloses an operating console 42 which has the essential operating elements 43 and display elements 44.
- the bracket 41 is not only ergonomically shaped in this way, but the controls 43 are also easily accessible without having to let go of the bracket part 41a.
- the control panel 42 is expediently attached to a cross strut 45 of the bracket 41.
- control panel 42 with all essential operating and Display elements 43, 44 on the bracket 41 is also essential if the scrubber drier is to be converted so that the brush unit 9 should not be arranged at the rear of the machine, as shown in FIGS. 1-6, but at the front, as it is shown in Figure 9. This is described in more detail below.
- the U-shaped bracket 41 provided as a guide handle has two legs 41b directed towards the machine. These two legs 41b are mounted on the bearing pieces 46 so that they can be pivoted and locked about a horizontal axis B running transversely to the machine longitudinal direction L-L.
- the bracket 41 or its pivot axis B is arranged on one of the two narrow sides of the machine, the bearing pieces 46 being able to be fastened to one of the narrow sides 2a of the trough 2 by means of screws 47, as shown in FIG. 10.
- the bracket 41 By pivoting the bracket 41 about the axis B, the bracket 41 can not only be adjusted in height but also the distance of the bracket part 41a from the narrow side of the machine can be changed. In this way, the bracket 41 can be easily brought into the ergonomically correct working position.
- one half 48a of a Hirth toothing is fastened to the latter.
- the other half 48b is attached to one leg 41b.
- the locking lever 50 provided with a cam 49 normally holds the two halves 48a, 48b of the Hirth tooth system in engagement, as a result of which the bracket 41 is held in the set height position.
- the locking lever 50 To change this height position, the locking lever 50 is pivoted in the direction C.
- the spring force of the bracket 41 forces the two halves 48a, 48b apart, so that the bracket 41 then swings up or down leaves.
- the re-locking takes place in the reverse manner in that the locking lever 50 is moved in the opposite direction of the arrow C.
- the two bearing pieces 46 advantageously also serve to support the pivot axis of the upper part 3, which in this case coincides with the axis B.
- a bearing bush 51 is rotatably mounted on the two bearing pieces 46.
- the two swivel arms 52 are firmly connected on the one hand to this bearing bush 51 and on the other hand to the upper part 3.
- the upper part 3 can be folded up about the axis B, which is arranged on a narrow side 2a of the tub 2, as shown in FIG. The components contained in the tub 2 are then easily accessible.
- At least one relief spring 55 is provided between the two parts, which is designed as a leg spring in the present case.
- Such relief springs 55 are expediently provided on the two longitudinal sides 2b of the tub 2 and of the upper part 3.
- the exhaust pipe 24 must be brought into a different position with respect to the upper part 3, so that it is then again aligned with the exhaust pipe 25 in the tub 2. It may also be necessary to replace the drag arm 53 by a slightly differently shaped drag arm 53 '.
- the brush unit 9 is now arranged at the front end of the machine, ie in front of the wheels 5.
- the suction pump 20 is arranged in the upper part and that the upper part 3 is turned together with the bracket 41.
- the suction hose 21 and further hose connections can then remain connected to the suction pump 20 and the tank 17.
- the suction hose 21 is also on the guide handle or bracket 41 associated narrow side 3a of the upper part 3 is inserted into this and guided along the underside of the tank bottom 17c to the suction pump 20.
- the linear motor 54 which is used with a cable 56 to raise and lower the suction nozzle 22, is arranged on the underside of the tank bottom 17c, as can be seen in FIG.
- the bracket 41, the upper part 3, its pivot bearing and the suction nozzle 22 together with the suction hose 21 and lifting device for the trailing arm 53 are combined to form an implementable unit .
Landscapes
- Cleaning In General (AREA)
- Separation Of Particles Using Liquids (AREA)
Abstract
Die Bodenreinigungsmaschine weist ein Gehäuse (1), bestehend aus einem Unterteil (2) und einem demgegenüber aufklappbaren, haubenartigen Oberteil (3) auf. Das Unterteil ist als eine selbsttragende, oben offene und unten im wesentlichen geschlossene Wanne (2) ausgebildet, deren vertikale Seitenwände (2a, 2b) sich mindestens über ein Drittel der Gesamthöhe des Gehäuses (1) erstrecken. In der Wanne (2) sind zumindest der Bürstenantriebsmotor (7), das Bürstengetriebe (8), ein Hubmotor (11) für einen höhenbeweglichen Träger (10), wesentliche Teile desselben und die Batterien (14) angeordnet. An dem Träger (10) ist lösbar eine Bürsteneinheit (9) angebracht. Mehrere Räder (5, 6) sind an der Unterseite (2c) der Wanne (2) montiert. Das Oberteil (3) enthält einen Tank (17) mit zwei Kammern. Ferner ist eine an eine Saugpumpe (20) angeschlossene Saugdüse (22) vorgesehen. The floor cleaning machine has a housing (1), consisting of a lower part (2) and a hood-like upper part (3) that can be opened against it. The lower part is designed as a self-supporting trough (2) which is open at the top and essentially closed at the bottom, the vertical side walls (2a, 2b) of which extend at least over a third of the total height of the housing (1). At least the brush drive motor (7), the brush gear (8), a lifting motor (11) for a vertically movable support (10), essential parts thereof and the batteries (14) are arranged in the tub (2). A brush unit (9) is detachably attached to the carrier (10). Several wheels (5, 6) are mounted on the underside (2c) of the tub (2). The upper part (3) contains a tank (17) with two chambers. A suction nozzle (22) connected to a suction pump (20) is also provided.
Description
Die Erfindung betrifft eine Bodenreinigungsmaschine, insbesondere eine Scheuersaugmaschine, mit einem Gehäuse, bestehend aus einem Unterteil und einem demgegenüber aufklappbaren, haubenartigen Oberteil, mit mehreren an der Unterseite des Unterteils angebrachten Rädern, mit einer am Unterteil mittels eines höhenbeweglichen Trägers gelagerten Bürsteneinheit, die von einem am Unterteil angeordneten Bürstenantriebsmotor über ein Bürstengetriebe antreibbar ist, mit einer leistenförmigen Saugdüse, die an eine Saugpumpe angeschlossen ist, mit einem zwei Kammern aufweisenden Tank und mit mehreren Batterien und/oder sonstigen Stromversorgungseinheiten.The invention relates to a floor cleaning machine, in particular a scrubber-drier, with a housing consisting of a lower part and a hood-like upper part which can be opened in relation thereto, with a plurality of wheels attached to the underside of the lower part, with a brush unit mounted on the lower part by means of a height-adjustable carrier and operated by one arranged on the lower part of the brush drive motor can be driven via a brush gear, with a strip-shaped suction nozzle which is connected to a suction pump, with a tank having two chambers and with several batteries and / or other power supply units.
Bei derartigen Scheuersaugmaschinen (vgl. US-PS 3,277,511) besteht das Unterteil in der Regel aus einer aus mehreren Stahlprofilen zusammengeschweißten Rahmenkonstruktion, die außen eine Verkleidung aus Blech oder Kunststoff trägt. Im unteren Teil dieser Rahmenkonstruktion sind der Bürstenantriebsmotor, die Saugpumpe, der Träger für die Bürsteneinheit usw. angeordnet. Diese Teile sind zwar durch seitliche Verkleidungen weitgehend unsichtbar, jedoch starker Verschmutzung ausgesetzt, da die Rahmenkonstruktion nach unten offen ist. Vorgenannte Teile sind zu Reinigungs-, Wartungs- und Reparaturzwecken schwer zugänglich. Das Bürstengetriebe befindet sich direkt oberhalb der Borsteneinheit. Um es vor Staub und Wasser zu schützen muß es entsprechend gekapselt sein. Das gleiche gilt für den Bürstenantriebsmotor, der bei vielen anderen Konstruktionen direkt auf der Bürsteneinheit montiert ist. Da mit der Bürsteneinheit zumindest das Bürstengetriebe, vielfach aber auch der Bürstenantriebsmotor, verbunden ist, kann man die Bürsteneinheit nicht einfach gegen eine andere Bürsteneinheit, z.B. mit einer anderen Arbeitsbreite, oder gegen eine neue austauschen. Die für das Unterteil vorgesehene Rahmenkonstruktion einschließlich Verkleidung ist verhältnismäßig teuer in der Herstellung und auch schwer. Bei der bekannten Maschine ist ferner der Tank im Unterteil angeordnet. Die Batterien sind auf der Überseite des Unterteils abgestellt. Die Reinigung des Tanks ist daher sehr erschwert und erst nach Entfernung der Batterien möglich. Außerdem hat ein relativ tiefliegender Tank den Nachteil, daß der Tankinhalt nicht ohne weiteres in einen Ausguß entleert werden kann, der mit Abstand vom Boden angeordnet ist. Es ist daher meist noch eine zusätzliche Entleerungspumpe erforderlich.In such scrubber driers (cf. US Pat. No. 3,277,511), the lower part generally consists of a frame construction welded together from a plurality of steel profiles, which carries a cladding made of sheet metal or plastic on the outside. The brush drive motor, the suction pump, the support for the brush unit, etc. are arranged in the lower part of this frame construction. Although these parts are largely invisible due to the side panels, they are exposed to heavy soiling because the frame construction is open at the bottom. The aforementioned parts are difficult to access for cleaning, maintenance and repair purposes. The brush gear is located directly above the bristle unit. To protect it from dust and water, it must be encapsulated accordingly. The same applies to the brush drive motor, which is mounted directly on the brush unit in many other designs. Since at least the brush gear, but in many cases also the brush drive motor, is connected to the brush unit, the brush unit cannot simply be exchanged for another brush unit, for example with a different working width, or for a new one. The one for that Bottom part provided frame construction including cladding is relatively expensive to manufacture and also difficult. In the known machine, the tank is also arranged in the lower part. The batteries are parked on the upper side of the lower part. Cleaning the tank is therefore very difficult and only possible after the batteries have been removed. In addition, a relatively low-lying tank has the disadvantage that the tank contents cannot be easily emptied into a spout which is arranged at a distance from the floor. An additional drain pump is therefore usually required.
Bei den bisher bekannten, mit einer oder mehreren Tellerbürsten arbeitenden Scheuersaugmaschinen ist entweder die Bürsteneinheit, in Fahrtrichtung gesehen, vor den Rädern oder hinter den Rädern angeordnet. Beide Systeme haben gewisse Vorteile aber auch Nachteile. Allen bekannten Scheuersaugmaschinen ist jedoch gemeinsam, daß die Anordnung der Bürsteneinheit gegenüber den Rädern nachträglich nicht verändert werden kann, d.h. eine Scheuersaugmaschine mit vorne angeordneter Bürsteneinheit kann nicht in eine solche mit hinten angeordneter Bürsteneinheit in einfacher Weise umgebaut werden.In the previously known scrubber driers that work with one or more disc brushes, either the brush unit, viewed in the direction of travel, is arranged in front of the wheels or behind the wheels. Both systems have certain advantages but also disadvantages. However, it is common to all known scrubber driers that the arrangement of the brush unit relative to the wheels cannot be changed subsequently, i.e. a scrubber drier with a brush unit arranged at the front cannot be converted into such a brush unit arranged at the rear in a simple manner.
Der Erfindung liegt die Aufgabe zugrunde, eine Bodenreinigungsmaschine, insbesondere Scheuersaugmaschine, der eingangs erwähnten Art zu schaffen, die einfacher im Aufbau ist, bei der die meisten Komponenten optimal geschützt untergebracht und trotzdem im Bedarfsfalle leicht zugänglich sind und die außerdem leicht zu reinigen ist.The invention has for its object to provide a floor cleaning machine, in particular scrubber drier, of the type mentioned, which is simpler in construction, in which most components are optimally protected and yet are easily accessible when needed and which is also easy to clean.
Dies wird nach der Erfindung dadurch erreicht, daß das Unterteil als eine selbsttragende, oben offene und unten im wesentlichen geschlossene Wanne ausgebildet ist, deren vertikale Seitenwände sich mindestens über ein Drittel der Gesamthöhe des Gehäuses erstrecken und in welcher zumindest der Bürstenantriebsmotor, das Bürstengetriebe, ein Hubmotor für den Träger, wesentliche Teile desselben und die Batterien angeordnet sind, und daß das Oberteil den Tank enthält.This is achieved according to the invention in that the lower part is designed as a self-supporting trough which is open at the top and essentially closed at the bottom, the vertical side walls of which extend at least over a third of the total height of the housing and in which at least the brush drive motor, the brush gear, a Lift motor for the carrier, essential parts of the same and the batteries are arranged, and that the upper part contains the tank.
Bei der neuen Maschine kommt der selbsttragenden Wanne wesentliche Bedeutung zu. Sie ersetzt nämlich die bisherige Rahmenkonstruktion und deren Verkleidung. Die Wanne ist kostengünstig herstellbar, sie bildet eine Tragkonstruktion und auch eine Verkleidung in einem. Gleichzeitig bildet sie auch einen wirksamen Schutz gegen Verschmutzung der wichtigsten Maschinenkomponenten, da sie nicht nur zur Seite hin sondern auch nach unten im wesentlichen geschlossen ist. Die wichtigsten Maschinenkomponenten sind optimal geschützt im Innern der Wanne untergebracht. Dies gilt nicht nur für den Bürstenmotor, das Bürstengetriebe, den Hubmotor und wesentliche Teile des Trägers, sondern auch für die Batterien und insbesondere auch die elektronische Steuerung der Maschine, die in vorteilhafter Weise in der Wanne montiert sein kann. Nach dem Aufklappen des den Tank enthaltenden Oberteils sind sämtliche, in der Wanne enthaltenen Komponenten zu Service- und Reparaturzuecken frei und bequem zugänglich. Sie können im Bedarfsfalle von ihren Halterungen in der Wanne leicht gelöst und nach oben herausgenommen werden. An der Unterseite der Wanne sind unmittelbar die Räder montiert. Da die meisten Teile des Bürstenantriebes, nämlich der Bürstenmotor, das Bürstengetriebe und auch der Hubmotor sowie wesentliche Teile des Trägers im Innern der Wanne vor Verschmutzung geschützt angeordnet sind, ist die Reinigung der Maschine sehr einfach. Es brauchen nämlich praktisch nur die Bürsteneinheit und die Räder gereinigt werden. Die glatten Außenwände der Wanne und des Oberteils lassen sich ebenfalls leicht und schnell reinigen. Da bei der neuen Maschine wesentliche Teile des Bürstenantriebes, insbesondere der Bürstenantriebsmotor und das Bürstengetriebe, in der Wanne untergebracht sind, hat die neue Maschine auch den Vorteil, daß die motorlosen Bürsteneinheiten im Bedarfsfalle leicht gewechselt werden können. Bei Beschädigung einer solchen motorlosen Bürsteneinheit kann diese leicht gegen eine neue oder instandgesetzte oder eine solche mit einer anderen Arbeitsbreite ausgetauscht werden. Die Anordnung des Tanks im Oberteil hat den Vorteil, daß der Tank relativ hoch liegt und deshalb sein Inhalt problemlos ohne Entleerungspumpe in einen Ausguß entleert werden kann.With the new machine, the self-supporting tub is of major importance. It replaces the previous frame construction and its cladding. The tub is inexpensive to manufacture, it forms a supporting structure and also a cladding in one. At the same time, it also provides effective protection against contamination of the most important machine components, since it is essentially closed not only to the side but also at the bottom. The most important machine components are optimally protected inside the tub. This applies not only to the brush motor, the brush gear, the lifting motor and essential parts of the carrier, but also to the batteries and in particular also the electronic control of the machine, which can advantageously be mounted in the tub. After opening the upper part containing the tank, all components contained in the tub are freely and conveniently accessible for service and repair purposes. If necessary, they can be easily detached from their holders in the tub and removed upwards. The wheels are mounted directly on the underside of the tub. Since most parts of the brush drive, namely the brush motor, the brush gear and also the lifting motor and essential parts of the carrier in The machine is very easy to clean inside the tub so that it is protected from dirt. Practically only the brush unit and the wheels need to be cleaned. The smooth outer walls of the tub and the top can also be cleaned quickly and easily. Since essential parts of the brush drive, in particular the brush drive motor and the brush gear, are accommodated in the tub in the new machine, the new machine also has the advantage that the motorless brush units can be easily replaced if necessary. If such a motorless brush unit is damaged, it can easily be exchanged for a new or repaired one or one with a different working width. The arrangement of the tank in the upper part has the advantage that the tank is relatively high and therefore its contents can be emptied into a spout without a drain pump.
Besonders vorteilhaft ist es, wenn das Oberteil als selbsttragender Tank ausgebildet ist. Zu diesem Zweck kann das Oberteil zweckmäßig aus glasfaserverstärktem Kunststoff bestehen. Durch die Ausgestaltung des Überteils als selbsttragenden Tank wird die Konstruktion vereinfacht und damit werden auch die Herstellungskosten gesenkt und das Gewicht verringert.It is particularly advantageous if the upper part is designed as a self-supporting tank. For this purpose, the upper part can suitably consist of glass fiber reinforced plastic. The design of the upper part as a self-supporting tank simplifies the construction and thus also reduces the production costs and the weight.
Eine weitere, besonders vorteilhafte Ausgestaltung besteht darin, daß an dem führungsgriff ein Bedienungspult mit den wesentlichen Bedienungs- und Anzeigeelementen angeordnet ist, und daß der Führungsgriff wahlweise mit der einen oder der anderen Stirnseite der Maschine, insbesondere der Wanne, verbindbar ist.A further, particularly advantageous embodiment consists in that an operating panel with the essential operating and display elements is arranged on the guide handle, and that the guide handle can optionally be connected to one or the other end of the machine, in particular the tub.
Hierdurch ist es möglich, mit einem verhältnismäßig geringen Montageaufwand eine Maschine mit vorne liegender Bürsteneinheit in eine solche mit hinten liegender Bürsteneinheit umzuwandeln. Insbesondere kann der Maschinenhersteller beide Maschinentypen anbieten ohne daß sich hierdurch die Herstellungs- oder Lagerhaltungskosten erhöhen.This makes it possible to convert a machine with a brush unit located at the front into one with a brush unit located at the rear with relatively little assembly effort. In particular, the machine manufacturer can offer both machine types without increasing the manufacturing or storage costs.
Weitere vorteilhafte Ausgestaltungen sind in den übrigen Unteransprüchen gekennzeichnet.Further advantageous configurations are characterized in the remaining subclaims.
Die Erfindung ist in folgendem, anhand eines in der Zeichnung dargestellten Ausführungsbeispieles näher erläutert. Es zeigen:
Figur 1- eine Seitenansicht der Maschine mit hinten angeordneter Bürsteneinheit,
Figur 2- eine Stirnansicht der Maschine in Richtung II der
Figur 1, Figur 3- einen Querschnitt nach der Linie III-III der
Figur 1, Figur 4- einen Horizontalschnitt nach der Linie IV-IV der
Figur 1, Figur 5- einen Längsschnitt der Maschine nach der Linie V-V der
Figur 2, jedoch mit demontierter Bürsteneinheit, Figur 6- eine Seitenansicht der Maschine mit aufgeklapptem Oberteil,
Figur 7- einen Teilquerschnitt nach der Linie VII-VII der
Figur 1, Figur 8- eine Seitenansicht der Maschine in einer Umbauphase,
Figur 9- eine Seitenansicht der Maschine nach erfolgtem Umbau, mit vorne angeordneter Bürsteneinheit,
Figur 10- eine Draufsicht auf die Lagerung des Führungsgriffes und des Oberteils bei verriegeltem Führungsgriff,
Figur 11- eine Teildraufsicht mit gelöstem Führungsgriff.
- Figure 1
- a side view of the machine with the rear brush unit,
- Figure 2
- 3 shows an end view of the machine in the direction II of FIG. 1,
- Figure 3
- 2 shows a cross section along the line III-III of FIG. 1,
- Figure 4
- 2 shows a horizontal section along the line IV-IV in FIG. 1,
- Figure 5
- 3 shows a longitudinal section of the machine along the line VV in FIG. 2, but with the brush unit removed,
- Figure 6
- a side view of the machine with the upper part open,
- Figure 7
- 2 shows a partial cross section along the line VII-VII of FIG. 1,
- Figure 8
- a side view of the machine in a conversion phase,
- Figure 9
- a side view of the machine after conversion, with the brush unit arranged at the front,
- Figure 10
- a plan view of the storage of the guide handle and the upper part with the guide handle locked,
- Figure 11
- a partial plan view with the guide handle released.
Die in der Zeichnung dargestellte Scheuersaugmaschine weist ein Gehäuse 1 auf, bestehend aus einem Unterteil 2 und einem demgegenüber aufklappbaren Oberteil 3. Das Unterteil 2 ist als eine selbsttragende, oben offene und unten im wesentlichen geschlossene Wanne ausgebildet und wird daher in folgendem auch als Wanne 2 bezeichnet. Die Wanne 2 und das Oberteil 3 weisen einen im wesentlichen rechteckigen Grundriß auf, wie es aus Figur 4 erkennbar ist. Die vertikalen Seitenwände 2a und 2b der Wanne sollen sich über mindestens ein Drittel der Gesamthöhe des Gehäuses 1 erstrecken, einerseits, um in der Wanne die wesentlichen Komponenten der Maschine geschützt unterbringen zu können und andererseits, um der Wanne eine entsprechende Stabilität zu verleihen, damit die Wanne gleichzeitig auch ohne eine zusätzliche Rahmenkonstruktion ein stabiles Unterteil bildet. Die Höhe der Wanne 2 richtet sich jedoch im wesentlichen nach der Höhe der darin unterzubringenden Komponenten, die nachstehend noch näher beschrieben werden.The scrubber-drier shown in the drawing has a
An der Unterseite des Bodens 2c der Wanne 2 ist der Fahrantrieb 4, der die Haupträder 5 antreibt, angeschraubt und durch eine Haube vor Verschmutzung geschützt. Ferner sind am Boden 2c die Lenkrollen 6 angebracht.On the underside of the bottom 2c of the
Die Wanne 2 besteht zweckmäßig aus Blech, insbesondere aus rostfreiem Stahl. Im Innern der Wanne 2 sind der Bürstenantriebsmotor 7, das Bürstengetriebe 8, eine als Träger für die Bürsteneinheit 9 dienende Tragsäule 10, ein Hubmotor 11 für die Tragsäule, eine Frischwasserpumpe 12, gegebenenfalls eine Recyclingpumpe 13, die Batterien 14 und vor allem auch die Steuerelektronik in sauberer und geschützter Umgebung sowie wartungsfreundlich untergebracht. Nach dem Aufklappen des Oberteils 3 sind, wie es in Figur 4 und 6 dargestellt ist, alle vorgenannten Teile zu Wartungszwecken und falls erforderlich, zur Reparatur bzw. zum Austausch leicht zugänglich. Ist jedoch das Oberteil 3, gemäß Figur 1 - 5, heruntergeklappt, dann deckt das Oberteil 3 die nach oben offene Wanne 2 vollständig ab, so daß die in der Wanne 2 untergebrachten Komponenten vor Verschmutzung und auch vor Spritzwasser geschützt sind. In diesem Zusammenhang ist es zweckmäßig, wenn der untere Rand 3d des Oberteils 3 den oberen Rand 2d der Wanne 2 von außen umfaßt, wie es in Figur 3 dargestellt ist.The
Die Wanne 2 kann zweckmäßig auch mit einer Querwand 16 versehen sein, welche das Batterieabteil von dem übrigen Innenraum der Wanne abtrennt und außerdem auch zur Versteifung der Wanne 2 dient.The
Das Oberteil 3 ist zweckmäßig als selbsttragender Tank 17 ausgebildet. Der Tank 17 weist dabei eine Frischwasserkammer 17a und eine Schmutzwasserkammer 17b auf, die entweder durch eine starre Trennwand 18 oder durch eine bewegliche (nicht dargestellte) Membrane voneinander getrennt sind. Zweckmäßig besteht das Oberteil 3 aus glasfaserverstärktem Kunststoff, insbesondere glasfaserverstärktem Polyester. Das Oberteil 3 weist oben einen großflächigen, in den Zeichnungen nicht dargestellten Deckel auf.The
Dieser ermöglicht eine gute Zugänglichkeit des Tanks 17 zum Füllen mit Wasser und auch zur Tankreinigung.This enables the
In einem zentralen Hohlraum 19 des Oberteiles 3 ist zweckmäßig die Saugpumpe (Saugturbine) 20 untergebracht. Der Hohlraum 19 ist dabei allseitig von Tankabschnitten 17a, 17b umgeben, die ganz oder teilweise mit Wasser gefüllt sind. Durch diese Maßnahmen und die Tatsache, daß das Oberteil 3 aus glasfaserverstärktem Kunststoff besteht, werden die Geräusche der Saugpumpe 20 stark gedämpft.The suction pump (suction turbine) 20 is expediently accommodated in a
Die Saugpumpe 20 ist über einen Saugschlauch 21 mit einer leistenförmigen Saugdüse 22 bekannter Bauart verbunden. Der Saugschlauch 22 und weitere zu Kühlzwecken der Saugpumpe 20 dienende Belüftungsschläuche 23 sind zweckmäßig an der Unterseite des Tankbodens 17c entlang geführt. Die Belüftungsschläuche 23 sind jedoch nur in Figur 3 dargestellt.The
Von der Saugpumpe 20 führt ein Abluftrohr 24 nach unten. Bei geschlossenem Oberteil 3 fluchtet dieses mit dem oberen Ende 25a eines in der Wanne 2 angeordneten Abluftrohres 22, dessen unteres Ende am Boden 2c der Wanne 2 ins Freie mündet. Die Verbindung zwischen den Abluftrohren 24, 25 ist automatisch abgedichtet, wenn das Oberteil 3 geschlossen ist.An
Als Träger für die Bürsteneinheit 9 ist zweckmäßig eine vertikal verschiebbare Tragsäule 10 vorgesehen. Diese Tragsäule 10 weist, wie aus Figur 7 ersichtlich ist, einen quadratischen oder gegebenenfalls auch rechteckigen Querschnitt auf. Sie erstreckt sich durch eine Ausnehmung 26 im Boden 2c der Wanne nach unten. Der größere Teil der Tragsäule 10 ist jedoch im Inneren der Wanne 2 angeordnet, ebenso wie ihre Führung, die durch mehrere Führungsrollen 27 gebildet sein kann. Die Führungsrollen 27 sind selbstverständlich in entsprechenden, nicht dargestellten Halterungen, die mit dem Boden 2c der Wanne verbunden sind, gelagert. Zwischen der Ausnehmung 26 und der Tragsäule 10 kann noch eine nicht dargestellte Dichtung angeordnet sein.A vertically
Mit dem oberen Ende 10a der Tragsäule 10 ist ein Arm 28 verbunden, an welchem der Hubmotor 11 angreift. Mit dem Hubmotor 11 kann die Tragsäule 10 nicht nur in vertikaler Richtung V auf und ab bewegt werden, sondern durch den Hubmotor 11 kann auch der Anpreßdruck der Tellerbürsten 29 oder von Padscheiben an den Boden reguliert werden.With the
Mit dem oberen Ende 10a der Tragsäule 10 ist eine Tragplatte 30 verbunden, die einerseits das als Riementrieb ausgebildete Bürstengetriebe 8 und andererseits auch den Bürstenantriebsmotor 7 trägt. Letzterer und das Bürstengetriebe 8 sind also zusammen mit der gesamten Tragsäule 10 heb- und senkbar. Im Innern der Tragsäule 10 ist die vom Bürstengetriebe 8 angetriebene Antriebswelle 31 gelagert. Am unteren Ende derselben ist die eine Hälfte 32 einer Klauenkupplung oder dgl. angeordnet, deren andere Hälfte 33 mit einer im Bürstengehäuse 34 gelagerten Abtriebswelle 35 zusammensteckbar ist. Von der Abtriebswelle 35 werden die im Bürstengehäuse 34 untergebrachten Scheibenbürsten 29 über ein nicht dargestelltes Verteilgetriebe in bekannter Weise angetrieben.With the
Um das Bürstengehäuse 34 von der Tragsäule 10 leicht lösen und wieder montieren zu können sind, wie es insbesondere in Figur 7 dargestellt ist, an dem Bürstengehäuse 34 an zwei gegenüberliegenden Seiten der Tragsäule 10 zwei Traglaschen 36 befestigt, von denen jede eine Querbohrung 37 aufweist. Am unteren Ende 10b der Tragsäule sind ferner an den genannten gegenüberliegenden Seiten zwei Querbohrungen 38 vorgesehen, die in Verbindungsstellung von Tragsäule 10 und Bürstengehäuse 34 miteinander fluchten, wie es in Figur 7 gezeigt ist. In diese Querbohrungen 37, 38 sind die Verbindungsbolzen 39 einsteckbar, die mittels der an den Laschen 36 schwenkbar angeordneten Riegel 40 verriegelbar sind.In order to be able to easily detach and reassemble the
Zur Demontage einer Bürsteneinheit 9 von der Tragsäule 10 wird diese mittels des Hubmotors 11 nach unten gefahren, bis sich die Tellerbürsten 29 am Boden abstützen. Die Riegel 40 werden entriegelt und die Verbindungsbolzen 39 können dann leicht aus den Querbohrungen 37, 38 herausgezogen werden. Die Tragsäule 10 kann dann um ein Stück nach oben gefahren werden und man kann die gesamte Bürsteneinheit seitlich oder nach vorne unter der Wanne 2 herausziehen. Es kann dann eine andere Bürsteneinheit unter die Maschine eingeschoben werden. In umgekehrter Weise wird dann die Tragsäule 10 abgesenkt und wieder zwischen die Laschen 36 der neuen Bürsteneinheit gebracht. Sobald die Querbohrungen 38 der Tragsäule 10 mit den Querbohrungen 37 der Lasche 36 fluchten, können die Verbindungsbolzen 39 in jeweils beide Querbohrungen 36, 37 eingeschoben und mittels der Riegel 40 gesichert werden. Beim Absenken der Tragsäule kommen automatisch auch die beiden Hälften 32, 33 der Klauenkupplung wieder miteinander in Eingriff, wodurch die Antriebsverbindung zwischen Antriebswelle 31 und Abtriebswelle 35 hergestellt wird. Auf diese Weise kann man sehr einfach eine Bürsteneinheit mit einer Arbeitsbreite von beispielsweise 550 mm gegen eine andere Bürsteneinheit mit einer Arbeitsbreite von beispielsweise 700 mm auswechseln und umgekehrt. Außerdem kann man dank der einfachen Montage- und Demontagemöglichkeit auch die Bürsteneinheit zu Reinigungs- und Wartungszwecken leicht abnehmen und dann in bequemer Arbeitshöhe auf einem Arbeitstisch säubern, warten oder reparieren.To dismantle a
Wenn die Querbohrungen 37, 38, wie es bei dem gezeigten Ausführungsbeispiel der Fall ist, in Maschinenlängsrichtung L-L angeordnet werden, dann dient die Achse A der Verbindungsbolzen 39 als Pendelachse für das Bürstengehäuse 34. Dank dieser pendelnden Aufhängung des Bürstengehäuses 34 können sich die beiden Tellerbürsten 29 besser der Bodengeometrie anpassen.If the transverse bores 37, 38, as is the case in the exemplary embodiment shown, are arranged in the machine longitudinal direction LL, then the axis A of the connecting
Zur Führung und Bedienung der Maschine ist ferner ein Führungsgriff 41 vorgesehen, der zweckmäßig als ein im wesentlichen U-förmiger Bügel ausgebildet ist. Das von der Maschine entfernte, geschlossene Ende 41a dieses Bügels ist dabei nach oben abgewinkelt. Dieses nach oben abgewinkelte Teil 41a umschließt zweckmäßig, wie aus Figur 2 ersichtlich ist, ein Bedienungspult 42, welches die wesentlichen Bedienungselemente 43 und Anzeigeelemente 44 aufweist. Der Bügel 41 ist auf diese Weise nicht nur ergonomisch geformt, sondern die Bedienungselemente 43 sind auch leicht erreichbar, ohne daß man hierzu das Bügelteil 41a loslassen müßte. Das Bedienungspult 42 ist zweckmäßig an einer Querstrebe 45 des Bügels 41 befestigt. Die Anordnung des Bedienungspultes 42 mit allen wesentlichen Bedienungs- und Anzeigeelementen 43, 44 am Bügel 41 ist aber auch von wesentlicher Bedeutung, wenn die Scheuersaugmaschine so umgebaut werden soll, daß die Bürsteneinheit 9 nicht, wie es in den Figuren 1 - 6 dargestellt ist, hinten an der Maschine sondern vorne angeordnet sein soll, wie es in Figur 9 gezeigt ist. Dies wird nachstehend noch näher beschrieben.To guide and operate the machine, a
Der als Führungsgriff vorgesehene U-förmige Bügel 41 weist zwei zur Maschine gerichtete Schenkel 41b auf. Diese beiden Schenkel 41b sind an den Lagerstücken 46 um eine horizontale und quer zur Maschinenlängsrichtung L-L verlaufende Achse B schwenkbar und feststellbar gelagert. Der Bügel 41 bzw. dessen Schwenkachse B ist an einer der beiden Schmalseiten der Maschine angeordnet, wobei die Lagerstücke 46 mittels Schrauben 47 an einer der Schmalseiten 2a der Wanne 2 befestigt werden können, wie es in Figur 10 gezeigt ist.The
Durch Verschwenken des Bügels 41 um die Achse B kann der Bügel 41 nicht nur in der Höhe verstellt werden sondern es kann auch der Abstand des Bügelteiles 41a gegenüber der Schmalseite der Maschine verändert werden. Auf diese Weise kann der Bügel 41 leicht in die ergonomisch richtige Arbeitsposition gebracht werden. Zur Feststellung des Bügels 41 gegenüber dem einen Lagerstück 46 ist an diesem die eine Hälfte 48a einer Hirth-Verzahnung befestigt. Die andere Hälfte 48b ist an dem einen Schenkel 41b befestigt. Der mit einem Nocken 49 versehene Verriegelungshebel 50 hält die beiden Hälften 48a, 48b der Hirth-Verzahnung normalerweise in Eingriff, wodurch der Bügel 41 in der eingestellten Höhenstellung gehalten wird. Zum Verändern dieser Höhenstellung wird der Verriegelungshebel 50 in Richtung C verschwenkt. Die Federkraft des Bügels 41 zwingt die beiden Hälften 48a, 48b auseinander, so daß sich dann der Bügel 41 nach oben oder unten schwenken läßt. Die erneute Verriegelung erfolgt in umgekehrter Weise, indem der Verriegelungshebel 50 entgegen der Pfeilrichtung C bewegt wird.By pivoting the
Die beiden Lagerstücke 46 dienen in vorteilhafter Weise auch gleichzeitig zur Lagerung der Schwenkachse des Oberteiles 3, die in diesem Fall mit der Achse B zusammenfällt. Zu diesem Zweck ist eine Lagerbüchse 51 drehbar an den beiden Lagerstücken 46 gelagert. Die beiden Schwenkarme 52 sind einerseits mit dieser Lagerbüchse 51 und andererseits mit dem Oberteil 3 fest verbunden. Auf diese Weise kann das Oberteil 3 um die Achse B, die an einer Schmalseite 2a der Wanne 2 angeordnet ist, nach oben geklappt werden, wie es in Figur 6 dargestellt ist. Die in der Wanne 2 enthaltenen Komponenten sind dann leicht zugänglich.The two bearing
Damit sich das Oberteil 3 trotz seines Gewichtes leicht aufklappen läßt, ist zwischen beiden Teilen mindestens eine Entlastungsfeder 55 vorgesehen, die im vorliegenden Fall als Schenkelfeder ausgebildet ist. Zweckmäßig sind derartige Entlastungsfedern 55 an den beiden Längsseiten 2b der Wanne 2 bzw. des Oberteiles 3 vorgesehen.So that the
Anhand der Figuren 1, 8 und 9 soll nun beschrieben werden, wie sich die Maschine mit hinten angeordneter Bürsteneinheit 9 gemäß Figur 1 in eine Maschine mit vorne angeordneter Bürsteneinheit 9 gemäß Figur 9 in einfacher Weise umbauen läßt. Hierzu wird zunächst der Schlepparm 53, welcher die Saugdüse 22 trägt, von der Wanne 2 gelöst. Es werden dann auch die Schrauben 47 der Lagerstücke 46 entfernt. Man kann nunmehr die gesamte, aus Oberteil 3, Bügel 41, Saugschlauch 21 und Saugdüse 22 bestehende Einheit von der Wanne 2 abheben und um 180° drehen, wie es mit strichpunktierten Linien in Figur 8 dargestellt ist. Vor dem Abnehmen dieser Einheit müssen noch einige elektrische Kabel, die vom Bedienungspult durch einen der hohlen Schenkel 41b des Bügels 41 und durch einen Kanal in dem einen Lagerstück 46 in das Innere der Wanne geführt sind und über Steckerverbindungen mit der Steuereinheit 15 verbunden sind, gelöst werden. Die Lagerstücke 46 werden dann an der gegenüberliegenden Schmalseite 2a der Wanne angesetzt, wo bereits entsprechende Bohrungen für die Schrauben 47 und auch für die elektrischen Kabel vorbereitet sind, die zuvor zur Befestigung eines Stoßfängers 59 dienten, der nunmehr an der Stirnwand angebracht wird, an welcher vorher die Lagerstücke 46 montiert waren. Nach dem Befestigen der Lagerstücke an der gegenüberliegenden Stirnwand 2a ist es nur noch erforderlich, die elektrischen Leitungen wieder mit der Steuereinheit 15 zu verbinden. Ferner muß noch das Abluftrohr 24 gegenüber dem Oberteil 3 in eine andere Position gebracht werden, damit es anschliessend wieder mit dem Abluftrohr 25 in der Wanne 2 fluchtet. Gegebenenfalls ist es auch noch erforderlich, den Schlepparm 53 durch einen etwas anders geformten Schlepparm 53' zu ersetzen. Nach dem Umbau der Maschine ist nunmehr die Bürsteneinheit 9 am vorderen Ende der Maschine angeordnet, d.h. vor den Rädern 5.1, 8 and 9, it will now be described how the machine with the
Für das Umrüsten der Maschine von hinten angeordneter Bürsteneinheit auf vorne angeordnete Bürsteneinheit ist es u.a. auch wesentlich, daß die Saugpumpe 20 im Oberteil angeordnet ist und daß das Oberteil 3 zusammen mit dem Bügel 41 gewendet wird. Es können dann nämlich der Saugschlauch 21 und weitere Schlauchverbindungen mit der Saugpumpe 20 sowie dem Tank 17 verbunden bleiben. Zu diesem Zweck ist auch der Saugschlauch 21 an der dem Führungsgriff bzw. Bügel 41 zugeordneten Schmalseite 3a des Oberteils 3 in dieses eingeführt und entlang der Unterseite des Tankbodens 17c zu der Saugpumpe 20 geführt.For converting the machine from the rear brush unit to the front brush unit, it is also essential that the
Aus dem gleichen Grund ist auch der Linearmotor 54, der mit einem Seilzug 56 zum Anheben und Absenken der Saugdüse 22 dient, an der Unterseite des Tankbodens 17c angeordnet, wie es aus Figur 8 ersichtlich ist. Für das Umrüsten der Maschine von hinten auf vorne angeordnete Bürsteneinheit 9 und umgekehrt, ist es also wesentlich, daß der Bügel 41, das Oberteil 3, dessen Schwenklagerung und die Saugdüse 22 samt Saugschlauch 21 und Hebevorrichtung für den Schlepparm 53 zu einer umsetzbaren Einheit zusammengefaßt sind.For the same reason, the
Es gibt auch Bodenreinigungsmaschinen, die über ein Stromkabel vom normalen Stromnetz aus betrieben werden. Da bei solchen Maschinen keine Batterien erforderlich sind, werden anstelle derselben ein Spannungswandler und sonstige zur Stromversorgung dienende Einheiten in der Wanne 2 untergebracht.There are also floor cleaning machines that are operated via a power cable from the normal power network. Since no batteries are required in such machines, a voltage converter and other units serving for power supply are accommodated in the
Claims (26)
Applications Claiming Priority (2)
| Application Number | Priority Date | Filing Date | Title |
|---|---|---|---|
| DE29607848U | 1996-04-30 | ||
| DE29607848U DE29607848U1 (en) | 1996-04-30 | 1996-04-30 | Floor cleaning machine, in particular scrubber drier |
Publications (3)
| Publication Number | Publication Date |
|---|---|
| EP0804897A2 true EP0804897A2 (en) | 1997-11-05 |
| EP0804897A3 EP0804897A3 (en) | 1998-10-14 |
| EP0804897B1 EP0804897B1 (en) | 2002-10-09 |
Family
ID=8023364
Family Applications (1)
| Application Number | Title | Priority Date | Filing Date |
|---|---|---|---|
| EP97105200A Expired - Lifetime EP0804897B1 (en) | 1996-04-30 | 1997-03-27 | Floor cleaning machine, in particular vacuum scrubbing machine |
Country Status (2)
| Country | Link |
|---|---|
| EP (1) | EP0804897B1 (en) |
| DE (2) | DE29607848U1 (en) |
Cited By (5)
| Publication number | Priority date | Publication date | Assignee | Title |
|---|---|---|---|---|
| CN108523782A (en) * | 2018-03-13 | 2018-09-14 | 刘楚楚 | A kind of paediatrics consulting room ground urine removing equipment |
| CN109717800A (en) * | 2018-12-26 | 2019-05-07 | 付绍梅 | A kind of daily life is with being flooring metope cleaning device |
| CN114916881A (en) * | 2022-05-27 | 2022-08-19 | 合肥酷尔环保科技有限公司 | Pushing type floor washing machine for shopping malls |
| IT202300009189A1 (en) * | 2023-05-09 | 2024-11-09 | Comac S P A | COMBINED SWEEPER-WASHER-DRYER MACHINE. |
| US12295531B2 (en) | 2019-01-18 | 2025-05-13 | Alfred Kärcher SE & Co. KG | Floor cleaning apparatus |
Families Citing this family (2)
| Publication number | Priority date | Publication date | Assignee | Title |
|---|---|---|---|---|
| DE102008008069A1 (en) * | 2008-02-01 | 2009-08-06 | Alfred Kärcher Gmbh & Co. Kg | Floor cleaning device |
| CN113712463A (en) * | 2021-08-24 | 2021-11-30 | 苏州洁米电器科技有限公司 | Dust extraction's round brush subassembly |
Family Cites Families (11)
| Publication number | Priority date | Publication date | Assignee | Title |
|---|---|---|---|---|
| US3277511A (en) * | 1964-04-15 | 1966-10-11 | Nat Super Service Company | Adjustable width floor treating machine |
| US3345671A (en) * | 1966-01-11 | 1967-10-10 | Ross D Wilson | Floor scrubbing and polishing machine |
| US3747430A (en) * | 1972-04-21 | 1973-07-24 | Lawlor Industries | Vertically and laterally shiftable handle |
| DE3540783A1 (en) * | 1985-11-16 | 1987-05-21 | Hako Gmbh & Co | DRIVABLE WET CLEANING MACHINE |
| US4757566A (en) * | 1987-07-27 | 1988-07-19 | Tennant Company | Control of torque in floor maintenance tools by drive motor load |
| JPH0718359Y2 (en) * | 1990-09-14 | 1995-05-01 | 松下電器産業株式会社 | Floor washer |
| EP0569430B1 (en) * | 1991-02-01 | 1994-11-02 | Kurt Zachhuber | Floor treating machine |
| US5155876A (en) * | 1991-10-28 | 1992-10-20 | Clarke Industries, Inc. | Integrated sound baffle |
| US5465456A (en) * | 1992-03-24 | 1995-11-14 | National Super Service Company | Floor cleaning apparatus |
| US5411716A (en) * | 1993-10-05 | 1995-05-02 | Ecolab Inc. | Solid detergent dispenser for floor scrubber machine |
| US5483718A (en) * | 1994-10-03 | 1996-01-16 | Tennant Company | Floor scrubbing machine having impact energy absorption |
-
1996
- 1996-04-30 DE DE29607848U patent/DE29607848U1/en not_active Expired - Lifetime
-
1997
- 1997-03-27 EP EP97105200A patent/EP0804897B1/en not_active Expired - Lifetime
- 1997-03-27 DE DE59708400T patent/DE59708400D1/en not_active Expired - Fee Related
Cited By (9)
| Publication number | Priority date | Publication date | Assignee | Title |
|---|---|---|---|---|
| CN108523782A (en) * | 2018-03-13 | 2018-09-14 | 刘楚楚 | A kind of paediatrics consulting room ground urine removing equipment |
| CN109717800A (en) * | 2018-12-26 | 2019-05-07 | 付绍梅 | A kind of daily life is with being flooring metope cleaning device |
| CN109717800B (en) * | 2018-12-26 | 2020-08-18 | 付绍梅 | Indoor floor and wall cleaning device for daily life |
| US12295531B2 (en) | 2019-01-18 | 2025-05-13 | Alfred Kärcher SE & Co. KG | Floor cleaning apparatus |
| CN114916881A (en) * | 2022-05-27 | 2022-08-19 | 合肥酷尔环保科技有限公司 | Pushing type floor washing machine for shopping malls |
| CN114916881B (en) * | 2022-05-27 | 2024-04-19 | 合肥酷尔环保科技有限公司 | Hand propelled floor washing machine for market |
| IT202300009189A1 (en) * | 2023-05-09 | 2024-11-09 | Comac S P A | COMBINED SWEEPER-WASHER-DRYER MACHINE. |
| EP4461185A1 (en) * | 2023-05-09 | 2024-11-13 | Comac S.p.A. | Combined scrubber-dryer machine |
| WO2024231849A1 (en) * | 2023-05-09 | 2024-11-14 | Comac S.P.A. | Combined scrubber-dryer machine |
Also Published As
| Publication number | Publication date |
|---|---|
| EP0804897B1 (en) | 2002-10-09 |
| DE59708400D1 (en) | 2002-11-14 |
| EP0804897A3 (en) | 1998-10-14 |
| DE29607848U1 (en) | 1997-09-04 |
Similar Documents
| Publication | Publication Date | Title |
|---|---|---|
| EP0934017B1 (en) | Travelling floor cleaning apparatus | |
| DE3842078A1 (en) | Drive for slatted bases (II) | |
| EP0768120B1 (en) | Device for preparing hot melt adhesives | |
| EP0804897B1 (en) | Floor cleaning machine, in particular vacuum scrubbing machine | |
| WO2014207216A1 (en) | Façade-cleaning device | |
| DE9403745U1 (en) | high pressure cleaner | |
| DE10221351A1 (en) | Floor cleaning machine has dirt collection container positioned separate from brush chamber and arranged to maintain constant contact pressure of brushes on floor | |
| DE10221352B4 (en) | Floor cleaning machine | |
| DE10221349A1 (en) | Floor cleaning machine has cleaning fluid dispensing nozzles located outside brush chamber, outside reach of disturbed dust to prevent clogging of nozzles | |
| CH685226A5 (en) | Movable device for caring for cheeses | |
| DE202004000592U1 (en) | Height-adjustable support for semitrailers or the like. | |
| WO2009007123A2 (en) | Brush module | |
| DE29909258U1 (en) | Washing device for car floor mats, preferably made of rubber-like material | |
| DE3720239A1 (en) | MAINTENANCE DEVICE FOR THE REAR AREA OF AIRCRAFT OF DIFFERENT SIZE | |
| EP0659054B1 (en) | Floor treatment machine | |
| DE3309967A1 (en) | Floor-cleaning machine | |
| EP1380356B1 (en) | High pressure cleaning device | |
| DE102020122822A1 (en) | Self-propelled sweeper and method of manufacturing a sweeper | |
| EP4123104B1 (en) | Self-propelled mobile concrete pump and mast support device | |
| EP0621228B1 (en) | Crane towers and method of their assembly | |
| EP0239651B1 (en) | Lifting or depositing device for big transportable receptacles, for example, cabins, containers or the like | |
| EP1924183B1 (en) | Vacuum cleaner nozzle | |
| AT407339B (en) | Floor-cleaning machine | |
| EP0835961A1 (en) | Mobile sweeper | |
| DE2714446B2 (en) | Box-shaped cabin for cleaning and disinfecting bed frames and the like |
Legal Events
| Date | Code | Title | Description |
|---|---|---|---|
| PUAI | Public reference made under article 153(3) epc to a published international application that has entered the european phase |
Free format text: ORIGINAL CODE: 0009012 |
|
| AK | Designated contracting states |
Kind code of ref document: A2 Designated state(s): DE FR GB IT SE |
|
| RIN1 | Information on inventor provided before grant (corrected) |
Inventor name: BOOTZ, BERTIL Inventor name: CASSERINI, JUERG |
|
| PUAL | Search report despatched |
Free format text: ORIGINAL CODE: 0009013 |
|
| AK | Designated contracting states |
Kind code of ref document: A3 Designated state(s): DE FR GB IT SE |
|
| 17P | Request for examination filed |
Effective date: 19990330 |
|
| RAP1 | Party data changed (applicant data changed or rights of an application transferred) |
Owner name: WETROK AG |
|
| GRAG | Despatch of communication of intention to grant |
Free format text: ORIGINAL CODE: EPIDOS AGRA |
|
| 17Q | First examination report despatched |
Effective date: 20020219 |
|
| GRAG | Despatch of communication of intention to grant |
Free format text: ORIGINAL CODE: EPIDOS AGRA |
|
| GRAH | Despatch of communication of intention to grant a patent |
Free format text: ORIGINAL CODE: EPIDOS IGRA |
|
| GRAH | Despatch of communication of intention to grant a patent |
Free format text: ORIGINAL CODE: EPIDOS IGRA |
|
| GRAA | (expected) grant |
Free format text: ORIGINAL CODE: 0009210 |
|
| AK | Designated contracting states |
Kind code of ref document: B1 Designated state(s): DE FR GB IT SE |
|
| REG | Reference to a national code |
Ref country code: GB Ref legal event code: FG4D Free format text: NOT ENGLISH |
|
| GBT | Gb: translation of ep patent filed (gb section 77(6)(a)/1977) |
Effective date: 20021009 |
|
| REF | Corresponds to: |
Ref document number: 59708400 Country of ref document: DE Date of ref document: 20021114 |
|
| ET | Fr: translation filed | ||
| PLBE | No opposition filed within time limit |
Free format text: ORIGINAL CODE: 0009261 |
|
| STAA | Information on the status of an ep patent application or granted ep patent |
Free format text: STATUS: NO OPPOSITION FILED WITHIN TIME LIMIT |
|
| 26N | No opposition filed |
Effective date: 20030710 |
|
| PGFP | Annual fee paid to national office [announced via postgrant information from national office to epo] |
Ref country code: GB Payment date: 20050228 Year of fee payment: 9 |
|
| PGFP | Annual fee paid to national office [announced via postgrant information from national office to epo] |
Ref country code: SE Payment date: 20050309 Year of fee payment: 9 |
|
| PGFP | Annual fee paid to national office [announced via postgrant information from national office to epo] |
Ref country code: FR Payment date: 20050317 Year of fee payment: 9 |
|
| PGFP | Annual fee paid to national office [announced via postgrant information from national office to epo] |
Ref country code: DE Payment date: 20050503 Year of fee payment: 9 |
|
| PG25 | Lapsed in a contracting state [announced via postgrant information from national office to epo] |
Ref country code: GB Free format text: LAPSE BECAUSE OF NON-PAYMENT OF DUE FEES Effective date: 20060327 |
|
| PG25 | Lapsed in a contracting state [announced via postgrant information from national office to epo] |
Ref country code: SE Free format text: LAPSE BECAUSE OF NON-PAYMENT OF DUE FEES Effective date: 20060328 |
|
| PGFP | Annual fee paid to national office [announced via postgrant information from national office to epo] |
Ref country code: IT Payment date: 20060331 Year of fee payment: 10 |
|
| PG25 | Lapsed in a contracting state [announced via postgrant information from national office to epo] |
Ref country code: DE Free format text: LAPSE BECAUSE OF NON-PAYMENT OF DUE FEES Effective date: 20061003 |
|
| EUG | Se: european patent has lapsed | ||
| GBPC | Gb: european patent ceased through non-payment of renewal fee |
Effective date: 20060327 |
|
| REG | Reference to a national code |
Ref country code: FR Ref legal event code: ST Effective date: 20061130 |
|
| PG25 | Lapsed in a contracting state [announced via postgrant information from national office to epo] |
Ref country code: FR Free format text: LAPSE BECAUSE OF NON-PAYMENT OF DUE FEES Effective date: 20060331 |
|
| PG25 | Lapsed in a contracting state [announced via postgrant information from national office to epo] |
Ref country code: IT Free format text: LAPSE BECAUSE OF NON-PAYMENT OF DUE FEES Effective date: 20070327 |
