EP0675009A2 - Maschine zum Befüllen, Verschliessen und Frankieren und/oder Etikettieren von Kuverts - Google Patents

Maschine zum Befüllen, Verschliessen und Frankieren und/oder Etikettieren von Kuverts Download PDF

Info

Publication number
EP0675009A2
EP0675009A2 EP95104707A EP95104707A EP0675009A2 EP 0675009 A2 EP0675009 A2 EP 0675009A2 EP 95104707 A EP95104707 A EP 95104707A EP 95104707 A EP95104707 A EP 95104707A EP 0675009 A2 EP0675009 A2 EP 0675009A2
Authority
EP
European Patent Office
Prior art keywords
envelope
transport direction
transport
envelopes
machine according
Prior art date
Legal status (The legal status is an assumption and is not a legal conclusion. Google has not performed a legal analysis and makes no representation as to the accuracy of the status listed.)
Withdrawn
Application number
EP95104707A
Other languages
English (en)
French (fr)
Other versions
EP0675009A3 (de
Inventor
Frank Grützmacher
Current Assignee (The listed assignees may be inaccurate. Google has not performed a legal analysis and makes no representation or warranty as to the accuracy of the list.)
Individual
Original Assignee
Individual
Priority date (The priority date is an assumption and is not a legal conclusion. Google has not performed a legal analysis and makes no representation as to the accuracy of the date listed.)
Filing date
Publication date
Application filed by Individual filed Critical Individual
Publication of EP0675009A2 publication Critical patent/EP0675009A2/de
Publication of EP0675009A3 publication Critical patent/EP0675009A3/de
Withdrawn legal-status Critical Current

Links

Images

Classifications

    • BPERFORMING OPERATIONS; TRANSPORTING
    • B43WRITING OR DRAWING IMPLEMENTS; BUREAU ACCESSORIES
    • B43MBUREAU ACCESSORIES NOT OTHERWISE PROVIDED FOR
    • B43M5/00Devices for closing envelopes
    • B43M5/04Devices for closing envelopes automatic
    • B43M5/042Devices for closing envelopes automatic for envelopes with only one flap

Definitions

  • the invention relates to a machine for filling, closing and franking and / or labeling envelopes of different sizes, with a device for rotating a filled envelope lying transversely to the transport direction, which has at least one device moving the envelopes in the transport direction and one-sided in the path of movement of the envelope projecting stop surface, which temporarily prevents an end region of the envelope opposite the stop surface from moving in the transport direction, while the other end region is moved by the device in the transport direction while the envelope is rotated, the envelope, after rotation, moving essentially along one parallel to the Moving direction moving guide surface moves.
  • Such prior art which cannot be documented, but is obviously pre-used, has a transport device consisting of two narrow conveyor belts, a rod-shaped abutment surface arranged perpendicular to the direction of transport, and a pressure roller arranged above a conveyor belt, which is coupled in motion with a conveyor belt.
  • the envelope When a closed envelope that runs across the transport direction hits the rod-shaped abutment surface, the envelope becomes temporary on one side held and gets in the area of the pressure roller at the other end.
  • the envelope is advantageously transported slowly in the direction of transport by the interaction of the pressure roller and the conveyor belt, the envelope rotating until the envelope is free of the abutment surface and leaves the region of the pressure roller.
  • this advantageous rotary device has a number of disadvantages. Because of the superimposition of the movements in the transport direction and the additional rotary movement, transverse forces arise during the turning process, which can damage the envelope to be turned or the contents. In addition, damage to the envelope can also result from the latter being damaged on one of the peripheral edges of the conveyor belts.
  • Another disadvantage of the known device is that a complete rotation of the envelope is not always guaranteed, so that additional aids are necessary which reliably allow a full-surface contact of the bottom edge of the envelope on the guide surface.
  • an open envelope lying transversely to the transport direction is transported in the direction of a turntable on which a gripper is arranged in the axis of rotation, which grips the envelope on the turntable.
  • the plate then rotates 180 °, moistening the rubber coating during the rotation and then closing the envelope.
  • a fundamental disadvantage of this turning device is that the turntable device with the associated gripper is very expensive to manufacture and operate.
  • the turntable does not operate continuously, but rather intermittently, which also has a negative effect on the durability or durability of this device.
  • the object of the invention is to provide a device which, on the one hand, enables the safe, controlled and fast rotation of envelopes of different formats and, on the other hand, reliably prevents damage to the envelope or its contents.
  • the transport device is formed by at least one drive wheel which projects slightly from a transport plane and an exclusively horizontally guided ball which is arranged above the drive wheel and which are coupled to one another in motion.
  • the device according to the invention makes use of the rotating principle according to the prior art, but it has the essential advantage that the transport device consisting of drive wheel and ball applies a force to the envelope so gently that no damage to the envelope can occur. Due to the interaction of the drive wheel and ball, it is not possible for transverse forces resulting from the superimposition of circular movement and movement in the transport direction to be transmitted to the envelope, which lead to damage to the envelope or its contents.
  • the only horizontal guidance of the ball ensures a force-limiting effect on the envelope, even with envelopes of different thicknesses. Because regardless of the thickness of the envelope, only the weight of the ball affects the envelope.
  • the rotating device according to the invention has a significantly higher throughput of envelopes without the frequency of disturbances increasing. This makes it possible to rotate more than three envelopes per second.
  • an axis corresponding to the direction of movement of the drive wheels forms an acute angle with the transport direction.
  • the device shown in the drawings for rotating a filled envelope is generally designated by the reference number 10.
  • the device 10 has an elongated plate 11 as the base component, the surface of which serves as a transport plane 12 for envelopes 13 to be rotated.
  • the transport plane 12 is divided into an area 14 for envelopes 13 oriented transversely to a transport direction x, a rotating area 15 and a longitudinal guide area 16.
  • a strip-shaped component 18 is arranged at a right angle to the transport plane 12 on a longitudinal edge 17 of the plate 11.
  • a guide bar 19 is mounted on the component 18 so as to be displaceable transversely to the transport direction x, and has a stop surface 21 shaped like a circular arc at its free end 20, which partially projects into the rotary region 15.
  • the plate 11 has in the rotating area 15 and in the guide area 16 a plurality of transport devices A1 to A6.
  • the arranged on a bottom 23 of the plate 11 transport devices A1 to A6 each consist of a drive wheel 24 and a ball 26.
  • Each drive wheel 24 protrudes with its peripheral surface 25 through an elongated rectangular opening 22 and slightly beyond the transport plane 12.
  • the drive wheels 24 each consist of an aluminum core with a polyurethane coating.
  • On each drive wheel 24 is a ball 26, which is arranged in a horizontal guide 27 of a support arm 28.
  • the support arm 28, which accommodates all the horizontal guides 27, is connected to the component 18 via two cantilever beams 29.
  • a moistening system 31 and a closure system 32 for envelopes 13 are arranged on the edge 30 opposite the longitudinal edge 17.
  • the humidification system 31 has a brush 33 arranged at the edge of the guide region 16 in a recess in the plate 11 and a pressure device 34 which is connected to the support arm 28 via a support axis 35.
  • the closure system 32 is arranged in the transport direction x in front of the humidification system 31. It has a device 36 provided with a guide rod 37 for gripping and folding over an envelope seal 49 and a double roller arrangement 38 for pressing the envelope seal 49 on. While the device 36 is attached to the support arm 28 via a support axis 35, the double roller arrangement 38 is supported directly by the plate 11.
  • each axis a corresponding to the direction of movement of the drive wheels 24 forms an acute angle ⁇ with the transport direction x, the axis a pointing in the direction of the guide bar 19.
  • Fig. 3 the bottom view of the plate 11 is shown. It can be seen that all units of the device 10 are driven by a single drive 39 become. Starting from the drive 39, the drive energy is transmitted to a continuous drive shaft 43 via a universal joint 40 and a shaft 41, on the free end of which a bevel spur gear 42 is arranged. The drive wheels 24 and the double roller arrangement 38 are driven jointly by this continuous drive shaft 43 via bevel spur gear arrangements 44.
  • An envelope 13 coming from the transport direction x first enters the area 14 in a manner oriented transversely to the transport direction x.
  • the envelope 13 first gets into the area of action of the transport device A 1.
  • the envelope 13 is thus detected by the drive wheel 24 of the transport device A 1 moving in the transport direction x, the ball 26 arranged in the horizontal guide 27 evading upwards.
  • the envelope 13 is moved further in the transport direction x.
  • an end area 45 of the envelope 13 abuts the curved stop surface 21.
  • the transport device A 1 and later also the transport device A 2 transports the opposite region 46 of the envelope 13 further in the transport direction x, resulting in a rotary movement shown in FIG. 5.
  • This by the transport devices A1 and A2 and ultimately also carried out by the transport device A3 causes the envelope 13 with a bottom edge 47 is first moved along the curved stop surface 21 and then along the guide bar 19 extending in the transport direction x.
  • the envelope 13 comes under a guide shoulder F, shown in dashed lines in FIG. 1, which ensures that it is in contact with the transport plane 12 during the transport of the envelope 13 in the x direction.
  • a rubber coating 48 of an envelope closure 49 reaches the area of the humidification system 31.
  • the envelope wheels 13 of the transport devices A4 to A6 in the guide area 16 then convey the envelope 13 further in the transport direction x, with a device 36 the gripping and folding of the envelope seal 49 and a double roller arrangement 38 ensure the envelope seal.

Landscapes

  • Registering Or Overturning Sheets (AREA)
  • Delivering By Means Of Belts And Rollers (AREA)

Abstract

Eine Maschine (10,36) zum Befüllen, Verschließen und Frankieren und/oder Etikettieren von Kuverts (13), mit einer Einrichtung zum Drehen eines gefüllten quer zur Transportrichtung liegenden Kuverts, weist mindestens eine die Kuverts in Transportrichtung bewegende Vorrichtung und eine einseitig in die Bewegungsbahn des Kuverts ragende Anschlagfläche auf, die einen der Anschlagfläche gegenüberliegenden Endbereich des Kuverts zeitweilig an der Bewegung in Transportrichtung (X) hindert, während der andere Endbereich bei gleichzeitiger Drehung des Kuverts von der Vorrichtung in Transportrichtung bewegt wird.
Aufgabe der Erfindung ist es, eine Vorrichtung zu schaffen, die einerseits das sichere, kontrollierte und schnelle Drehen von Kuverts unterschiedlichen Formats ermöglicht und andererseits auch eine Beschädigung des Kuverts bzw. dessen Inhalts zuverlässig verhindert.
Die Lösung dieser Aufgabe ergibt dadurch, daß die Transportvorrichtung durch mindestens ein geringfügig aus einer Transportebene (12) herausragendes Antriebsrad (24) und eine oberhalb des Antriebsrades angeordnete, ausschließlich horizontal geführte Kugel (26) gebildet ist, welche untereinander bewegungsgekoppelt sind.

Description

  • Die Erfindung betrifft eine Maschine zum Befüllen, Verschließen und Frankieren und/oder Etikettieren von Kuverts unterschiedlicher Größe, mit einer Einrichtung zum Drehen eines gefüllten quer zur Transportrichtung liegenden Kuverts, welche mindestens eine die Kuverts in Transportrichtung bewegende Vorrichtung und eine einseitig in die Bewegungsbahn des Kuvert ragende Anschlagfläche aufweist, die einen der Anschlagfläche gegenüberliegenden Endbereich des Kuverts zeitweilig an der Bewegung in Transportrichtung hindert, während der andere Endbereich bei gleichzeitiger Drehung des Kuverts von der Vorrichtung in Transportrichtung bewegt wird, wobei sich das Kuvert nach dem Drehen im wesentlichen entlang einer parallel zur Transportrichtung verlaufenden Führungsfläche bewegt.
  • Ein derartiger druckschriftlich nicht belegbarer, jedoch offenkundig vorbenutzter Stand der Technik weist eine aus zwei schmalen Transportbändern bestehende Transportvorrichtung, eine senkrecht zur Transportrichtung angeordnete stangenförmige Widerlagerfläche sowie eine oberhalb eines Transportbandes angeordnete Andruckrolle auf, die mit einem Transportband bewegungsgekoppelt ist.
  • Wenn ein quer zur Transportrichtung liegender geschlossener Briefumschlag an die stangenförmige Widerlagerfläche stößt, wird das Kuvert einseitig zeitweise festgehalten und gerät am anderen Ende in den Bereich der Andruckrolle. Dadurch wird das Kuvert auf vorteilhafte Weise durch das Zusammenwirken von Andruckrolle und Transportband langsam in Transportrichtung weitertransportiert, wobei sich eine Drehung des Kuverts so lange ergibt, bis das Kuvert von der Widerlagerfläche frei wird und den Bereich der Andruckrolle verläßt.
  • Diese an sich vorteilhafte Dreheinrichtung hat jedoch eine Reihe von Nachteilen. Während des Drehvorgangs ergeben sich nämlich aufgrund der Überlagerung der Bewegungen in Transportrichtung und der zusätzlichen Drehbewegung Querkräfte, die das zu drehende Kuvert bzw. auch den Inhalt beschädigen können. Darüber hinaus kann sich eine Beschädigung des Kuverts auch dadurch ergeben, daß letzteres an einer der Randkanten der Transportbänder beschädigt wird.
  • Ein weiterer Nachteil der bekannten Vorrichtung besteht darin, daß eine vollständige Drehung des Kuverts nicht immer gewährleistet ist, so daß zusätzliche Hilfsmittel notwendig sind, die eine vollflächige Anlage der bodenseitigen Kante des Kuverts an der Führungsfläche zuverlässig ermöglichen.
  • Letztlich ist es bei der bekannten Vorrichtung nur sehr aufwendig zu realisieren, daß unterschiedliche Briefformate in zuverlässiger Weise drehbar sind, wobei ein grundsätzlicher Nachteil schließlich auch darin besteht, daß es mit der bekannten Vorrichtung nicht möglich ist, noch geöffnete Kuverts unterschiedlichen Formats nicht nur zuverlässig zu drehen sondern auch zu schließen.
  • Bei einem weiteren ebenfalls nicht druckschriftlich belegbaren Stand der Technik wird ein noch geöffnetes, quer zur Transportrichtung liegendes Kuvert in Richtung zu einem Drehteller transportiert, auf dem in der Drehachse ein Greifer angeordnet ist, der das Kuvert auf dem Drehteller fixiert. Danach dreht sich der Teller um 180°, wobei während der Drehung die Gummierung befeuchtet und danach der Umschlag geschlossen wird.
  • Ein grundsätzlicher Nachteil dieses Umschlagwenders besteht darin, daß die Drehtellereinrichtung mit dem zugehörigen Greifer in Herstellung und Betrieb sehr aufwendig ist. Darüber hinaus vollzieht der Drehteller keinen kontinuierlichen, sondern einen intermetierenden Betrieb, der sich auch negativ auf die Haltbarkeit bzw. die Dauerhaftigkeit dieser Einrichtung auswirkt. Letztlich hat sich als negativ herausgestellt, daß oberhalb bestimmter Drehungsgeschwindigkeiten die Zentrifugalkraft so groß wird, daß die Gefahr besteht, daß die Umschläge oder das Füllgut nicht vom Greifer festgehalten werden können. Dies bedeutet auch, daß der Durchsatz von Kuverts pro Zeiteinheit sehr begrenzt ist.
  • Ausgehend von dem zuerst genannten Stand der Technik besteht die Aufgabe der Erfindung darin, eine Vorrichtung zu schaffen, die einerseits das sichere, kontrollierte und schnelle Drehen von Kuverts unterschiedlichen Formats ermöglicht und andererseits auch eine Beschädigung des Kuverts bzw. dessen Inhalts zuverlässig verhindert.
  • Die Lösung dieser Aufgabe ergibt sich im wesentlichen aus den Merkmalen des Patentanspruchs 1, insbesondere den Merkmalen des Kennzeichenteils, wonach die Transportvorrichtung durch mindestens ein geringfügig aus einer Transportebene herausragendes Antriebsrad und eine oberhalb des Antriebsrades angeordnete, ausschließlich horizontal geführte Kugel gebildet ist, welche untereinander bewegungsgekoppelt sind.
  • Die erfindungsgemäße Vorrichtung macht zwar grundsätzlich von dem Drehprinzip nach dem Stand der Technik Gebrauch, jedoch hat sie den wesentlichen Vorteil, daß die aus Antriebsrad und Kugel bestehende Transportvorrichtung das Kuvert so schonend punktförmig mit einer Kraft beaufschlagt, daß keine Beschädigung des Kuverts auftreten kann. Durch das Zusammenwirken von Antriebsrad und Kugel ist es nicht möglich, daß auf das Kuvert sich aus der Überlagerung von Kreisbewegung und Bewegung in Transportrichtung ergebende Querkräfte übertragen werden, die zu einer Beschädigung des Kuverts oder dessen Inhalt führen.
  • Darüber hinaus wird durch die nur horizontale Führung der Kugel auch bei unterschiedlich dicken Kuverts eine kraftbegrenzende Einwirkung auf das Kuvert sichergestellt. Denn unabhängig von der Dicke des Kuverts wirkt in jedem Fall nur die Gewichtskraft der Kugel auf das Kuvert ein.
  • Letztlich weist die erfindungsgemäße Dreheinrichtung einen wesentlich größeren Durchsatz an Kuverts auf, ohne daß die Störungshäufigkeit steigt. So ist es möglich, mehr als drei Kuverts pro Sekunde zu drehen.
  • Bei einer vorteilhaften Ausführungsform der Erfindung sind in der Bewegungsbahn der Kuverts mehrere Transportvorrichtungen angeordnet. Durch diese vorteilhafte erfindungsgemäße Ausführungsform wird die Führung des Kuverts während des Drehvorganges verbessert.
  • Bei einer bevorzugten Ausführungsform bildet eine der Bewegungsrichtung der Antriebsräder entsprechende Achse mit der Transportrichtung einen spitzen Winkel aus. Dadurch wird jedes zu drehende Kuvert tendenziell in der Richtung zur Führungsfläche orientiert, so daß jedes Kuvert ohne die beim Stand der Technik üblichen Hilfsmittel automatisch so weit gedreht wird, bis daß es an der Führungsfläche entlanggleitet.
  • Weitere Vorteile der Erfindung ergeben sich aus den nachfolgenden Unteransprüchen sowie aus der Beschreibung eines Ausführungsbeispiels. Es zeigen:
    • Fig. 1 eine Draufsicht auf eine Dreheinrichtung mit Befeuchtungs- und Verschlußanlage,
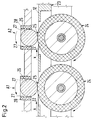
    • Fig. 2 einen Teilschnitt entsprechend Schnittlinie II-II in Fig. 4 durch zwei Transportvorrichtungen,
    • Fig. 3 eine Unteransicht der in Fig. 1 dargestellten Dreheinrichtung,
    • Fig. 4 eine vereinfachte Darstellung gemäß Fig. 1 mit einem quer zur Transportrichtung angeordneten Kuvert,
    • Fig. 5 eine Darstellung nach Fig. 4 mit teilweise gedrehtem Kuvert,
    • Fig. 6 eine Darstellung nach Fig. 4 mit vollständig gedrehtem, in der Befeuchtungsanlage befindlichem Kuvert und
    • Fig. 7 eine Darstellung nach Fig. 4 mit einem in einer Verschlußanlage angeordneten Kuvert.
  • Die in den Zeichungen dargestellte Einrichtung zum Drehen eines gefüllten Kuverts ist insgesamt mit der Bezugsziffer 10 bezeichnet.
  • Die Einrichtung 10 weist als Basisbauteil eine langgestreckte Platte 11 auf, deren Oberfläche als Transportebene 12 für zu drehende Kuverts 13 dient. Die Transportebene 12 ist in einen Bereich 14 für quer zu einer Transportrichtung x orientierte Kuverts 13, einen Drehbereich 15 und einen Längsführungsbereich 16 unterteilt. An einer Längskante 17 der Platte 11 ist ein leistenförmiges Bauteil 18 im rechten Winkel zur Transportebene 12 angeordnet. Am Bauteil 18 ist eine quer zur Transportrichtung x verschiebbar gelagerte Führungsleiste 19 befestigt, die an ihrem teilweise in den Drehbereich 15 ragenden freien Ende 20 eine kreisbogenartig geformte Anschlagfläche 21 aufweist.
  • Die Platte 11 weist im Drehbereich 15 und im Führungsbereich 16 mehrere Transportvorrichtungen A₁ bis A₆ auf. Die auf einer Unterseite 23 der Platte 11 angeordneten Transportvorrichtungen A₁ bis A₆ bestehen jeweils aus einem Antriebsrad 24 und einer Kugel 26. Jedes Antriebsrad 24 ragt mit seiner Umfangsfläche 25 durch eine länglich rechteckige Öffnung 22 hindurch und über die Transportebene 12 geringfügig hinaus. Die Antriebsräder 24 bestehen jeweils aus einem Aluminiumkern, der eine Polyurethanbeschichtung aufweist. Auf jedem Antriebsrad 24 lastet eine Kugel 26, welche in einer Horizontalführung 27 eines Tragarmes 28 angeordnet ist. Der sämtliche Horizontalführungen 27 aufnehmende Tragarm 28 ist über zwei Kragbalken 29 mit dem Bauteil 18 verbunden.
  • Im Führungsbereich 16 der Transportebene 12 ist an der der Längskante 17 gegenüberliegenden Kante 30 eine Befeuchtungsanlage 31 und eine Verschlußanlage 32 für Kuverts 13 angeordnet. Die Befeuchtungsanlage 31 weist einen randlich des Führungsbereiches 16 in einer Ausnehmung der Platte 11 angeordneten Pinsel 33 und eine Andruckvorrichtung 34 auf, welche über eine Tragachse 35 mit dem Tragarm 28 verbunden ist. In Transportrichtung x vor der Befeuchtungsanlage 31 ist die Verschlußanlage 32 angeordnet. Sie weist eine mit einem Führungsgestänge 37 versehene Vorrichtung 36 zum Erfassen und Umklappen eines Kuvertverschlusses 49 und eine Doppelrollenanordnung 38 zum Andruck des Kuvertverschlusses 49 auf. Während die Vorrichtung 36 über eine Tragachse 35 am Tragarm 28 befestigt ist, wird die Doppelrollenanordnung 38 direkt von der Platte 11 getragen.
  • In Fig. 1 ist erkennbar, daß jede der Bewegungsrichtung der Antriebsräder 24 entsprechende Achse a mit der Transportrichtung x einen spitzen Winkel α bildet, wobei die Achse a in Richtung zur Führungsleiste 19 zeigt.
  • In Fig. 3 ist die Unteransicht der Platte 11 dargestellt. Man erkennt, daß sämtliche Aggregate der Einrichtung 10 von einem einzigen Antrieb 39 aus angetrieben werden. Ausgehend von dem Antrieb 39 wird über ein Kardangelenk 40 und eine Welle 41, an deren dem freien Ende ein Kegelstirnrad 42 angeordnet ist, die Antriebsenergie auf eine durchgehende Antriebswelle 43 übertragen. Von dieser durchgehenden Antriebswelle 43 werden jeweils über Kegelstirnradanordnungen 44 die Antriebsräder 24 sowie die Doppelrollenanordnung 38 gemeinsam angetrieben.
  • Grundsätzlich ist es auch denkbar, daß ausgehend von einem gemeinsamen Antrieb alle Teilaggregate über Riemenräder angetrieben werden, wobei bei einer solchen Ausführungsform die Antriebsräder 24 in Transportrichtung x jeweils eine zunehmende Umfangsgeschwindigkeit aufweisen könnten. Dies würde während der Drehung der Kuverts 13 und danach tendenziell zu einer gewissen Streckung der Kuverts 13 führen und Faltungen bzw. Knickungen der Kuverts 13 verhindern.
  • Insbesondere anhand der Fig. 1, 2 und 4 ist das Drehprinzip der Einrichtung 10 gut zu erkennen. Ein aus der Transportrichtung x kommendes Kuvert 13 tritt in einer quer zur Transportrichtung x orientierten Weise zunächst in den Bereich 14 ein. Dabei gerät das Kuvert 13 zunächst in den Einwirkungsbereich der Transportvorrichtung A₁ . Wie insbesondere Fig. 2 zeigt, wird das Kuvert 13 somit von dem sich in Transportrichtung x bewegenden Antriebsrad 24 der Transportvorrichtung A₁ erfaßt, wobei die in der Horizontalführung 27 angeordnete Kugel 26 nach oben ausweicht. Nachdem das Kuvert 13 zwischen Antriebsrad 24 und Kugel 26 gezogen worden ist, wird es weiter in Transportrichtung x fortbewegt. Bei Verlassen des Bereiches 14 stößt ein Endbereich 45 des Kuverts 13 an die kurvenförmige Anschlagfläche 21 an. Während der Endbereich 45 des Kuverts 13 zeitweise festgehalten wird, transportiert die Transportvorrichtung A₁ und später auch die Transportvorrichtung A₂ den gegenüberliegenden Bereich 46 des Kuverts 13 weiter in Transportrichtung x, wodurch sich eine in Fig. 5 dargestellte Drehbewegung ergibt. Diese durch die Transportvorrichtungen A₁ und A₂ und letztlich auch durch die Transportvorrichtung A₃ vollzogene Drehbewegung führt dazu, daß das Kuvert 13 mit einer bodenseitigen Kante 47 zunächst entlang der kurvenförmigen Anschlagfläche 21 und dann entlang der in Transportrichtung x verlaufenden Führungsleiste 19 bewegt wird. Dabei gerät das Kuvert 13 unter einen in Fig. 1 gestrichelt dargestellten Führungsabsatz F, der während des Transports des Kuverts 13 in x-Richtung für die Anlage an die Transportebene 12 sorgt.
  • Durch die auf die Führungsleiste 19 gerichtete und der Bewegungsrichtung der Antriebsräder 24 entsprechende Achse a wird eine vollständige Drehung des Kuverts 13 erreicht, bis daß die Bodenkante 47 des Kuverts 13 auf ganzer Länge an der Führungsleiste 19 anliegt. Diese Situation ist in Fig. 6 dargestellt.
  • In der letzten Phase der Drehung des Kuverts 13 gelangt eine Gummierung 48 eines Kuvertverschlusses 49 in den Bereich der Befeuchtungsanlage 31. Durch die im Führungsbereich 16 angeordneten Antriebsräder 24 der Transportvorrichtungen A₄ bis A₆ wird dann das Kuvert 13 in Transportrichtung x weiterbefördert, wobei eine Vorrichtung 36 das Erfassen und Umklappen des Kuvertverschlusses 49 und eine Doppelrollenanordnung 38 den Kuvertverschluß sicherstellen.
  • In Fig. 7 ist dann letztlich ein Kuvert 13 mit angelegtem Kuvertverschluß 49 dargestellt, der die Doppelrollenanordnung 38 der Verschlußanlage gerade durchläuft.
  • Bezugszeichenliste:
  • Vorrichtungen
    10, 36
    Platte
    11
    Transportebene
    12
    Kuvert
    13
    Übernahmebereich
    14
    Drehbereich
    15
    Längsführungsbereich
    16
    Längskante
    17
    Bauteil
    18
    Führungsleiste
    19
    Ende der Führungsleiste 19
    20
    Anschlagfläche
    21
    Öffnung
    22
    Unterseite der Platte 11
    23
    Antriebsrad
    24
    Umfangsfläche
    25
    Kugel
    26
    Horizontalführung
    27
    Tragarm
    28
    Kragbalken
    29
    Kante
    30
    Befeuchtungsanlage
    31
    Verschlußanlage
    32
    Pinsel
    33
    Andruckvorrichtung
    34
    Tragachse
    35
    Führungsgestänge
    37
    Doppelrollenanordnung
    38
    Antrieb
    39
    Kardangelenk
    40
    Welle
    41
    Kegelstirnrad
    42
    Antriebswelle
    43
    Kegelstirnradanordnung
    44
    Endbereich des Kuverts 13
    45
    gegenüberliegender Bereich des Kuverts 13
    46
    Bodenkante des Kuverts 13
    47
    Gummierung
    48
    Kuvertverschluß
    49
    Transportrichtung
    x
    Transportvorrichtungen
    A1 bis A6
    Führungsabsatz
    F
    Achse
    a
    Winkel
    α

Claims (7)

  1. Maschine zum Befüllen, Verschließen und Frankieren und/oder Etikettieren von Kuverts unterschiedlicher Größe, mit einer Einrichtung zum Drehen eines gefüllten quer zur Transportrichtung liegenden Kuverts, welche mindestens eine die Kuverts in Transportrichtung bewegende Vorrichtung und eine einseitig in die Bewegungsbahn des Kuvert ragende Anschlagfläche aufweist, die einen der Anschlagfläche gegenüberliegenden Endbereich des Kuverts zeitweilig an der Bewegung in Transportrichtung hindert, während der andere Endbereich bei gleichzeitiger Drehung des Kuverts von der Vorrichtung in Transportrichtung bewegt wird, wobei sich das Kuvert nach dem Drehen im wesentlichen entlang einer parallel zur Transportrichtung verlaufenden Führungsfläche bewegt, dadurch gekennzeichnet, daß die Transportvorrichtung (A1 bis A6) durch mindestens ein geringfügig aus einer Transportebene (12) herausragendes Antriebsrad (24) und eine oberhalb des Antriebsrades (24) angeordnete, ausschließlich horizontal geführte Kugel (26) gebildet ist, welche untereinander bewegungsgekoppelt sind.
  2. Maschine nach Anspruch 1, dadurch gekennzeichnet, daß in der Bewegungsbahn der Kuverts (13) mehrere Transportvorrichtungen (A1 bis A6) angeordnet sind.
  3. Maschine nach Anspruch 1 oder 2, dadurch gekennzeichnet, daß eine der Bewegungsrichtung (x) der Antriebsräder (24) entsprechende Achse (a) mit der Transportrichtung (x) einen spitzen Winkel (α) bildet.
  4. Maschine nach Anspruch 3, dadurch gekennzeichnet, daß der Winkel (α) zwischen der Achse (a) und der Transportvorrichtung (x) ca. 10° beträgt.
  5. Maschine nach einem der vorangehenden Ansprüche, dadurch gekennzeichnet, daß die Führungsleiste (19) und die Anschlagfläche (21) ein Bauteil ausbilden und quer zur Transportrichtung (x) bewegbar sind.
  6. Maschine nach einem der vorangehenden Ansprüche, dadurch gekennzeichnet, daß die Dreheinrichtung (10) mit einer Befeuchtungs- und Verschlußanlage (31, 32) kombiniert ist, welche gegenüberliegend der Führungsleiste (19) im Bereich der Bewegungsbahn der Kuverts (13) angeordnet ist.
  7. Maschine nach Anspruch 2 oder einem der folgenden Ansprüche, dadurch gekennzeichnet, daß die Antriebsräder (24) in Transportrichtung (x) eine jeweils zunehmende Umfangsgeschwindigkeit aufweisen.
EP95104707A 1994-04-02 1995-03-30 Maschine zum Befüllen, Verschliessen und Frankieren und/oder Etikettieren von Kuverts. Withdrawn EP0675009A3 (de)

Applications Claiming Priority (2)

Application Number Priority Date Filing Date Title
DE4411570 1994-04-02
DE19944411570 DE4411570C2 (de) 1994-04-02 1994-04-02 Vorrichtung zum Drehen, Befeuchten und Verschließen von gefüllten Kuverts unterschiedlicher Größe

Publications (2)

Publication Number Publication Date
EP0675009A2 true EP0675009A2 (de) 1995-10-04
EP0675009A3 EP0675009A3 (de) 1995-11-29

Family

ID=6514565

Family Applications (1)

Application Number Title Priority Date Filing Date
EP95104707A Withdrawn EP0675009A3 (de) 1994-04-02 1995-03-30 Maschine zum Befüllen, Verschliessen und Frankieren und/oder Etikettieren von Kuverts.

Country Status (2)

Country Link
EP (1) EP0675009A3 (de)
DE (1) DE4411570C2 (de)

Family Cites Families (5)

* Cited by examiner, † Cited by third party
Publication number Priority date Publication date Assignee Title
DE69026418T2 (de) * 1989-05-08 1996-09-19 Canon Kk Aufzeichnungsvorrichtung
US5104470A (en) * 1990-07-30 1992-04-14 Pitney Bowes Inc. Method for moistening envelopes
US5090181A (en) * 1990-12-03 1992-02-25 Pitney Bowes Inc. Apparatus for transporting and reorienting envelopes
US5154405A (en) * 1991-08-01 1992-10-13 Pitney Bowes Inc. Stopping device for envelope turner
DE9209615U1 (de) * 1992-07-17 1992-10-22 Mathias Bäuerle GmbH, 7742 St Georgen Drehvorrichtung für Papierbogen in einer Förderbahn

Also Published As

Publication number Publication date
EP0675009A3 (de) 1995-11-29
DE4411570A1 (de) 1995-10-05
DE4411570C2 (de) 1996-02-08

Similar Documents

Publication Publication Date Title
DE2829221C2 (de)
DE3718206A1 (de) Vorrichtung zum foerdern und drehen von papierstapeln
DD202841A5 (de) Artikelzufuehrvorrichtung
DE69704735T2 (de) Drehvorrichtung für Bogen auf einer Rollenbahn
DE68909358T2 (de) Vorrichtung zum intermittierenden Zuführen einer mit transversalen Falten versehenen Bahn.
DE3315490A1 (de) Verfahren und vorrichtung zum stapeln von druckbogen o.dgl.
DE3914197C2 (de) Vorrichtung zum Öffnen einer lose anliegenden Klappe von Briefumschlägen
DE2711471A1 (de) Vorrichtung zum einstellen und ausscheiden von verpackungsmaterialabschnitten (aus staniolpapier) in hochleistungs- zigarettenverpackungsmaschinen
DE2937115A1 (de) Vorrichtung zur ausrichtung von gegenstaenden zwischen den mitnehmern eines schleppfoerderers
DE19535330B4 (de) Sortiervorrichtung
DE1260363B (de) Vorrichtung zum Etikettieren von runden Gegenstaenden
DE69107412T2 (de) Vorrichtung zum Öffnen von Briefumschlägen.
DE3126808C2 (de)
EP0080185B1 (de) Verfahren und Einrichtung zum Öffnen von zwei- oder mehrblättrigen Erzeugnissen, insbesondere Druckprodukten
DE69504425T2 (de) Vorrichtung zum Entfalten von Dokumenten
EP0113403B1 (de) Falzmaschine
DE2749095A1 (de) Vorrichtung zum oeffnen von druckprodukten
EP0675009A2 (de) Maschine zum Befüllen, Verschliessen und Frankieren und/oder Etikettieren von Kuverts
DE2105728A1 (de)
DE68905919T2 (de) Gasgespeiste Förderbahn.
DE19528829A1 (de) Vorrichtung zum Ausrichten von flachen Sendungen
EP0017204A1 (de) Vorrichtung zum Falzen von Bogen aus Papier oder dergleichen
DE2425736C3 (de) Vorrichtung zum aufeinanderfolgenden Zuführen von Aufzeichnungsblättern
EP0367940B1 (de) Einrichtung zum Drehen eines länglichen Gegenstandes
DE9405601U1 (de) Maschine zum Befüllen, Verschließen und Frankieren und/oder Etikettieren von Kuverts

Legal Events

Date Code Title Description
PUAI Public reference made under article 153(3) epc to a published international application that has entered the european phase

Free format text: ORIGINAL CODE: 0009012

AK Designated contracting states

Kind code of ref document: A2

Designated state(s): AT BE CH DE DK ES FR GB GR IE IT LI NL PT SE

PUAL Search report despatched

Free format text: ORIGINAL CODE: 0009013

AK Designated contracting states

Kind code of ref document: A3

Designated state(s): AT BE CH DE DK ES FR GB GR IE IT LI NL PT SE

STAA Information on the status of an ep patent application or granted ep patent

Free format text: STATUS: THE APPLICATION IS DEEMED TO BE WITHDRAWN

18D Application deemed to be withdrawn

Effective date: 19960530