EP0636322A2 - Feeding device for producing an uniform layer - Google Patents
Feeding device for producing an uniform layer Download PDFInfo
- Publication number
- EP0636322A2 EP0636322A2 EP94111024A EP94111024A EP0636322A2 EP 0636322 A2 EP0636322 A2 EP 0636322A2 EP 94111024 A EP94111024 A EP 94111024A EP 94111024 A EP94111024 A EP 94111024A EP 0636322 A2 EP0636322 A2 EP 0636322A2
- Authority
- EP
- European Patent Office
- Prior art keywords
- conveying
- discharge
- conveyor
- tobacco
- conveying device
- Prior art date
- Legal status (The legal status is an assumption and is not a legal conclusion. Google has not performed a legal analysis and makes no representation as to the accuracy of the status listed.)
- Granted
Links
Images
Classifications
-
- A—HUMAN NECESSITIES
- A24—TOBACCO; CIGARS; CIGARETTES; SIMULATED SMOKING DEVICES; SMOKERS' REQUISITES
- A24C—MACHINES FOR MAKING CIGARS OR CIGARETTES
- A24C5/00—Making cigarettes; Making tipping materials for, or attaching filters or mouthpieces to, cigars or cigarettes
- A24C5/39—Tobacco feeding devices
-
- A—HUMAN NECESSITIES
- A24—TOBACCO; CIGARS; CIGARETTES; SIMULATED SMOKING DEVICES; SMOKERS' REQUISITES
- A24B—MANUFACTURE OR PREPARATION OF TOBACCO FOR SMOKING OR CHEWING; TOBACCO; SNUFF
- A24B3/00—Preparing tobacco in the factory
- A24B3/18—Other treatment of leaves, e.g. puffing, crimpling, cleaning
-
- A—HUMAN NECESSITIES
- A24—TOBACCO; CIGARS; CIGARETTES; SIMULATED SMOKING DEVICES; SMOKERS' REQUISITES
- A24C—MACHINES FOR MAKING CIGARS OR CIGARETTES
- A24C5/00—Making cigarettes; Making tipping materials for, or attaching filters or mouthpieces to, cigars or cigarettes
- A24C5/39—Tobacco feeding devices
- A24C5/397—Tobacco feeding devices with means for regulating the tobacco quantity
Definitions
- the invention relates to a conveying device for producing a tobacco monolayer supplied for further treatment from a continuously moving tobacco stream, comprising conveying means for feeding the tobacco stream and for separating the tobacco parts within the tobacco stream.
- a "tobacco monolayer" in the sense of the invention is to be understood as a tobacco fleece consisting mainly of tobacco parts lying side by side or isolated (strips, ribs and the like obtained by pretreatment).
- a tobacco monolayer is in many cases a prerequisite for successful further treatment of the tobacco during the course of a work process in preparation for the manufacture of rod-shaped end products in the form of cigarettes, filter cigarettes and the like.
- Such further processing or processing steps are, for example, the sighting or spraying of the tobacco stream and in particular the scanning or opto-electronic scanning of the tobacco stream in connection with the detection and separation of foreign bodies, which are to be eliminated as early as possible, in order to disrupt the processing process and impair the quality of the Exclude final product.
- the invention has for its object one, based on to create their conveying capacity as well as their distribution and equalization effect optimized conveying device.
- the conveying means have at least two conveying elements which are successive in the conveying direction and can be driven at different conveying speeds and form a feeder and an outfeed conveyor.
- a separation of the components of the tobacco flow along the conveying direction is most effectively achieved with a further development in that the conveying element arranged downstream in relation to the conveying direction has a higher conveying speed.
- the feed element located upstream, in relation to the direction of conveyance is designed as an oscillating conveyor and that the discharge element arranged downstream has at least one conveyor belt.
- the vibrating conveyor ensures loosening and transverse distribution of tobacco or a solution of tobacco clumps and the faster belt conveyor for stretching the tobacco flow along the conveying direction.
- the vibratory conveyor is provided with a discharge edge limitation which generates a discharge surface profile on the discharge element.
- this measure is that the belt conveyor, which is conveyed in particular by the speed difference between the continuously tobacco and the discontinuous or with interruptions Gap conveyors that deliver tobacco are largely closed in the gaps in the tobacco flow by the vibratory conveyor converting a concentrated or bar-shaped tobacco delivery into an area-wide diversified delivery over the discharge edges, which are graduated lengthways and transversely to the conveying direction, or via the discharge points that are thus widely distributed, so that an optimized, continuous self-contained tobacco monolayer is formed.
- this chute edge limitation is composed of front and rear chute edge sections that extend from front to rear, with the chute edge sections being distributed in a step-like manner over the width of the vibratory conveyor.
- the discharge edge limitation is designed in the form of a discharge fork.
- the discharge edge delimiting the discharge fork is divided into numerous discharge edge sections which are alternately staggered in relation to the conveying direction and are connected by longitudinal edges. In this staggered arrangement, a more or less area-wide, closed distribution of the tobacco on the discharge conveyor is achieved by the tobacco being thrown off both from the rear and front edge sections and from the longitudinal edges of the discharge fork.
- the discharge fork is provided with discharge tines which are delimited by discharge edge sections of the discharge edge converging in the conveying plane in the conveying direction.
- each time the vibrating conveyor ejects vibrating vibrations a more or less closed surface section along the conveying direction is coated with tobacco on the conveyor.
- discharge fork is, according to a further proposal, that the discharge edge course results from an outer end edge delimiting the bottom surface of the vibratory conveyor and a plurality of openings or slits in the bottom surface delimiting inner discharge edge sections which are adjacent to the conveying direction.
- this alternative slot design a wide variety of different designs are possible.
- the slots have an essentially rectangular cross section or are delimited by discharge edges which diverge in the conveying direction.
- the described positive effects of the profiled discharge edge come into play particularly when the vibratory conveyor is inclined downwards in the conveying direction according to a further development, the inclination of the vibratory conveyor according to an additional proposal - based on an angle of attack in the size range of approximately 15 ° - up and down is adjustable.
- An additional configuration according to which the vibratory conveyor is provided with a stepped bottom, exerts an additional detaching effect on the components of the tobacco stream that may still adhere to one another.
- the conveying element following the vibrating conveyor consists of two conveying belts which form a conveying channel, are arranged underneath and ready and can be driven synchronously in the conveying direction. In this way, a ventilation effect is generated by the air entrained when the tobacco flow passes through the delivery channel. which has a beneficial effect on tobacco.
- a foreign body separator is expediently arranged at the discharge end of the discharge element.
- the conveying element which is inclined in the conveying direction is followed by a substantially horizontally running third conveying element which is designed as a conveyor belt and which has an identical or preferably lower conveying speed relative to the conveying element.
- the advantage achieved by the invention is that the spreading of the individual components of the tobacco flow transversely to the conveying direction and the stretching of the tobacco fleece formed along the conveying direction in order to form a tobacco monolayer from adjacent or isolated components is achieved at a higher tobacco throughput, in connection with a downstream foreign matter separator, the desired sorting result with regard to the type, shape and size of the detected foreign matter is guaranteed.
- the conveyor belts 8, 9 operated synchronously with common or own drive means have a higher conveying speed than the vibratory conveyor 6.
- the vibratory conveyor 6 is provided with a stepped and optionally profiled floor 13 and is inclined downwards in the direction of conveyance (arrow 2) by about 15 ° , whereby the inclination can be adjusted up and down.
- the entire conveyor element 7 is also set in the conveying direction with a lower inclination of approximately 10 °.
- the foreign body separator 1 consisting of laser detectors 14 known per se for scanning the tobacco stream 3, a reference drum 16 which is color-matched to the tobacco, one of known ones in the Foreign body separator 1, integrated image processing processor (not shown) for recognizing and determining the position of foreign bodies 17 and blow-out nozzles 18 for selecting the foreign bodies 17.
- integrated image processing processor not shown
- the discharge end of the vibrating conveyor 6 which ends above the conveyor belt 8 of the belt conveyor 7 has such a discharge edge limitation 23 that the tobacco which is thrown off with each forward vibration of the vibrating conveyor 6 lies on the conveyor belt 8 on a surface with an approximately rectangular discharge surface profile in the outer boundary 24 distributed.
- the discharge edge delimitation 23 is designed in the form of a discharge fork or is divided into numerous discharge edge sections 27 which are alternately staggered with respect to the conveying direction (arrow 2) and are connected by longitudinal edges 26. The distance between the longitudinal edges of the fork tines is expediently greater than the tine width.
- the tobacco falls with each forward oscillation of the vibratory conveyor 6 from the front and rear discharge edge sections 27 running parallel to one another transversely to the conveying direction 2 and from the longitudinal edges 26 extending in the conveying direction in the form of a surface distribution on the conveyor belt 8 Quantities of tobacco in the successive forward vibrations of the vibratory conveyor 6 to each other without gaps, so that a virtually closed tobacco monolayer is formed.
- the discharge fork formed by the discharge edge delimitation 223 is provided with discharge tines 228 which are delimited by discharge edge sections 229 converging in the conveying plane in the conveying direction 202.
- the tobacco thrown off via the oblique discharge edge sections 229 merely results in a somewhat different distribution within the likewise rectangular discharge surface profile 224.
- the discharge edge course or the discharge edge limitation 323 results from an outer end edge 331 delimiting the bottom surface of the vibrating conveyor 6 and a plurality of openings or slots 332 lying adjacent to one another transversely to the conveying direction 302 in the bottom surface delimiting inner discharge edge sections 333.
- the tobacco With this configuration with rectangular slits 332, the tobacco finally falls on the conveyor belt 308 over the trailing edge 331 on each forward stroke of the oscillating conveyor 306 via the discharge edge sections 333 delimiting the slits transversely and along the conveying direction and the tobacco moved forward between the slits.
- the slots 432 have a somewhat different or triangular configuration with discharge edges 434 diverging in the conveying direction, via which the tobacco within the discharge surface profile 424 reaches the conveyor belt 408 in a somewhat different distribution.
- the mode of action is as follows:
- the tobacco which is preferably fed over the full width perpendicular to the plane of the drawing onto the rear end of the vibratory conveyor 6, for example by an upward conveyor, is advanced by the oscillating movement in the direction of the arrow 2, with an additional detaching or separating effect on sheet parts still adhering when passing through the gradations 13 achieved and thus a separation and width distribution of the components of the tobacco flow is supported perpendicular to the plane of the drawing.
- the tobacco flow is greatly accelerated and stretched in such a way that the sheet material and the foreign bodies 17 are also separated in the conveying direction.
- the image processing processor By signaling very specific detectors 14, the image processing processor also recognizes the respective position of the foreign bodies 17 within the tobacco stream 3 and controls the corresponding blow-out nozzles 18 to selectively separate out the recognized foreign bodies 17.
- the tobacco leaves that are blown out at the same time, particularly in the case of relatively small foreign bodies 17, are then re-sorted and returned to the processing process.
- the variant shown in FIG. 6 differs from the first embodiment only in that the conveying means 107 is followed in the conveying direction 102 by a further, essentially horizontally running conveyor belt 122 which operates to optimize the tobacco monolayer of the tobacco fleece with the same or preferably a lower conveying speed than the conveying means 107 becomes.
- the conveying means 107 is followed in the conveying direction 102 by a further, essentially horizontally running conveyor belt 122 which operates to optimize the tobacco monolayer of the tobacco fleece with the same or preferably a lower conveying speed than the conveying means 107 becomes.
- the foreign matter separator 101 is then assigned to this additional conveyor belt 122.
Landscapes
- Manufacturing Of Cigar And Cigarette Tobacco (AREA)
- Organic Low-Molecular-Weight Compounds And Preparation Thereof (AREA)
Abstract
Die Erfindung betrifft eine Fördervorrichtung zum Erzeugen einer Tabakmonolage, deren weitgehend vereinzelten Tabakteile einer speziellen Weiterbehandlung, wie der Fremdkörpererkennung und -ausscheidung unterzogen werden können.
Es ist das Ziel, auf einem Fördermittel ein einlagiges, geschlossenes Tabakvlies zu bilden.
Erreicht wird dies durch aufeinanderfolgende, in Förderrichtung (2) mit steigender Geschwindigkeit betriebene Fördermittel (4, 7), von denen das stromabwärtige, schnellerlaufende Fördermittel (7) aus zwei übereinanderliegenden Förderbändern (8, 9) besteht, die einen Förderkanal (11) bilden, und das stromaufwärtige Fördermittel (4) als Schwingförderer (6) ausgebildet ist, der eine profilierte Abwurfkante (24) aufweist.
Mit Hilfe einer derartigen Anordnung und Ausgestaltung der Fördermittel läßt sich bei hoher Förderleistung eine weitgehend vergleichmäßigte bzw. lückenlose Tabakmonolage erzeugen. The invention relates to a conveyor device for producing a tobacco monolayer, the largely isolated tobacco parts of which can be subjected to a special further treatment, such as the detection and removal of foreign bodies.
The aim is to form a single-layer, closed tobacco fleece on a funding.
This is achieved by successive conveyors (4, 7) operated in the direction of conveyance (2) with increasing speed, of which the downstream, faster-running conveyors (7) consist of two superimposed conveyor belts (8, 9) that form a conveyor channel (11) , and the upstream conveying means (4) is designed as an oscillating conveyor (6) which has a profiled discharge edge (24).
With the aid of such an arrangement and design of the funding, a largely uniform or complete tobacco monolayer can be produced with a high delivery rate.
Description
Die Erfindung betrifft eine Fördervorrichtung zum Erzeugen einer der Weiterbehandlung zugeführten Tabakmonolage aus einem kontinuierlich bewegten Tabakstrom, umfassend Fördermittel zum Zuführen des Tabakstromes sowie zum Vereinzeln der Tabakteile innerhalb des Tabakstromes.The invention relates to a conveying device for producing a tobacco monolayer supplied for further treatment from a continuously moving tobacco stream, comprising conveying means for feeding the tobacco stream and for separating the tobacco parts within the tobacco stream.
Unter einer "Tabakmonolage" ist im erfindungsgemäßen Sinn ein aus überwiegend nebeneinanderliegenden bzw. vereinzelten Tabakteilen (durch Vorbehandlung erhaltene Strips, Rippen und dergleichen) bestehendes Tabakvlies zu verstehen. Eine derartige Tabakmonolage ist in vielen Fällen Voraussetzung für eine erfolgreiche Weiterbehandlung des Tabaks beim Durchlaufen eines Arbeitsprozesses zur Vorbereitung auf eine Konfektionierung stabförmiger Endprodukte in Form von Zigaretten, Filterzigaretten und dergleichen.
Derartige Weiterbehandlungs- bzw. Bearbeitungsschritte sind beispielsweise das Sichten oder das Besprühen des Tabakstromes und insbesondere das Scannen bzw. opto-elektronische Abtasten des Tabakstromes in Verbindung mit der Erkennung und Abscheidung von Fremdkörpern, die möglichst frühzeitig auszusondern sind, um Störungen im Verarbeitungsprozeß sowie Qualitätsbeeinträchtigungen des Endproduktes auszuschließen.
Bei allen diesen Behandlungsmaßnahmen hängt die Erzielung eines optimalen Arbeitsergebnisses mit einer möglichst gleichmäßigen Ausbreitung der Tabakmonolage eng zusammen.
Insbesondere Blattabak bzw. entrippter Blattabak in Form von sogenannten "Strips", die in Form und Größe unter Umständen den Fremdbestandteilen sehr ähneln, stellt besondere Anforderungen fördertechnischer Art im Hinblick auf eine eindeutige Identifizierung derartiger Fremdkörper im bewegten Tabakstrom.A "tobacco monolayer" in the sense of the invention is to be understood as a tobacco fleece consisting mainly of tobacco parts lying side by side or isolated (strips, ribs and the like obtained by pretreatment). Such a tobacco monolayer is in many cases a prerequisite for successful further treatment of the tobacco during the course of a work process in preparation for the manufacture of rod-shaped end products in the form of cigarettes, filter cigarettes and the like.
Such further processing or processing steps are, for example, the sighting or spraying of the tobacco stream and in particular the scanning or opto-electronic scanning of the tobacco stream in connection with the detection and separation of foreign bodies, which are to be eliminated as early as possible, in order to disrupt the processing process and impair the quality of the Exclude final product.
In all of these treatment measures, achieving an optimal work result is closely related to spreading the tobacco monolayer as evenly as possible.
In particular, leaf tobacco or stripped leaf tobacco in the form of so-called "strips", which in shape and size may be very similar to the foreign components, places special demands on conveyor technology with regard to the unambiguous identification of such foreign bodies in the moving tobacco flow.
Der Erfindung liegt die Aufgabe zugrunde, eine, bezogen auf ihre Förderleistung sowie ihren Verteilungs- und Vergleichmäßigungseffekt optimierte Fördervorrichtung zu schaffen.The invention has for its object one, based on to create their conveying capacity as well as their distribution and equalization effect optimized conveying device.
Diese Aufgabe wird erfindungsgemäß dadurch gelöst, daß die Fördermittel wenigstens zwei in Förderrichtung aufeinanderfolgende, mit unterschiedlichen Fördergeschwindigkeiten antreibbare, einen Anförderer und einen Abförderer bildende Förderelemente aufweisen.
Eine Vereinzelung der Bestandteile des Tabakstromes längs der Förderrichtung wird am effektivsten mit einer Weiterbildung dadurch erzielt, daß das - bezogen auf die Förderrichtung - stromab angeordnete Abförderelement eine höhere Fördergeschwindigkeit aufweist.
Gemäß einer zusätzlichen Weiterbildung ist außerdem vorgesehen, daß das - bezogen auf die Förderrichtung - stromauf gelegene Anförderelement als Schwingförderer ausgebildet ist, und das stromab angeordnete Abförderelement wenigstens ein Förderband aufweist. Bei dieser im Hinblick auf den Durchsatz des Tabakstromes pro Zeiteinheit recht leistungsfähigen Kombination von Fördermitteln, bei der die Fördergeschwindigkeit der Bandfördermittel beispielsweise bis etwa dem Fünffachen der Fördergeschwindigkeit des - bezogen auf die Förderrichtung - stromauf angeordneten Schwingförderers entspricht, sorgt der Schwingförderer für eine Auflockerung und Querverteilung des Tabaks bzw. eine Lösung von Tabakverklumpungen und der schnellere Bandförderer für eine Streckung des Tabakstromes längs der Förderrichtung.
Eine weitere Maßnahme von selbständiger erfinderischer Bedeutung besteht darin, daß der Schwingförderer mit einer ein Abwurfflächenprofil auf dem Abförderelement erzeugenden Abwurfkantenbegrenzung versehen ist. Der Vorteil dieser Maßnahme besteht darin, daß die insbesondere durch die Geschwindigkeitsdifferenz zwischen dem kontinuierlich Tabak abfördernden Bandförderer und dem diskontinuierlich bzw. mit Unterbrechungen Tabak abgebenden Schwingförderer entstehenden Lücken im Tabakstrom weitgehend geschlossen werden, indem der Schwingförderer über die längs und quer zur Förderrichtung abgestuften Abwurfkanten bzw. über die dadurch vielfach verteilten Abwurfstellen eine konzentrierte bzw. balkenförmige Tabakabgabe in eine flächenmäßig breiter gefächerte Abgabe verwandelt, so daß eine optimierte, fortlaufend in sich geschlossene Tabakmonolage gebildet wird.
Diese Abwurfkantenbegrenzung setzt sich gemäß einer Weiterbildung - bezogen auf die Förderrichtung - aus vorderen und hinteren bzw. sich von vorn nach hinten erstreckenden Abwurfkantenabschnitten zusammen, wobei sich die Abwurfkantenabschnitte nach einer Ausgestaltung stufenförmig über die Breite des Schwingförderers verteilen.
Für den Fall, daß der Abwurf des Tabak unmittelbar am Ende des Schwingförderers erfolgt, ist gemäß einer vorteilhaften Ausgestaltung vorgesehen, daß die Abwurfkantenbegrenzung in Form einer Abwurfgabel ausgebildet ist.
Gemäß einer bevorzugten Weiterbildung ist die die Abwurfgabel begrenzende Abwurfkante in zahlreiche - bezogen auf die Förderrichtung - wechselweise versetzt hintereinanderliegende, durch Längskanten verbundene Abwurfkantenabschnitte unterteilt. Bei dieser gestaffelten Anordnung wird eine mehr oder weniger flächenhaft geschlossene Verteilung des Tabaks auf dem Abförderer erzielt, indem der Tabak sowohl von den hinteren und vorderen Kantenabschnitten als auch von den Längskanten der Abwurfgabel abgeworfen wird.
Gemäß einer alternativen Ausgestaltung ist die Abwurfgabel mit Abwurfzinken versehen, die von in der Förderebene in Förderrichtung konvergierenden Abwurfkantenabschnitten der Abwurfkante begrenzt sind. Auch hier wird bei jeder Abwurfschwingung des Schwingförderers ein mehr oder weniger geschlossener Flächenabschnitt längs der Förderrichtung auf dem Abförderer mit Tabak belegt.This object is achieved according to the invention in that the conveying means have at least two conveying elements which are successive in the conveying direction and can be driven at different conveying speeds and form a feeder and an outfeed conveyor.
A separation of the components of the tobacco flow along the conveying direction is most effectively achieved with a further development in that the conveying element arranged downstream in relation to the conveying direction has a higher conveying speed.
According to an additional development, it is also provided that the feed element located upstream, in relation to the direction of conveyance, is designed as an oscillating conveyor and that the discharge element arranged downstream has at least one conveyor belt. With this combination of conveying means, which is quite powerful with regard to the throughput of the tobacco flow per unit of time, in which the conveying speed of the belt conveying means corresponds, for example, to about five times the conveying speed of the vibrating conveyor arranged upstream in relation to the conveying direction, the vibrating conveyor ensures loosening and transverse distribution of tobacco or a solution of tobacco clumps and the faster belt conveyor for stretching the tobacco flow along the conveying direction.
Another measure of independent inventive importance is that the vibratory conveyor is provided with a discharge edge limitation which generates a discharge surface profile on the discharge element. The advantage of this measure is that the belt conveyor, which is conveyed in particular by the speed difference between the continuously tobacco and the discontinuous or with interruptions Gap conveyors that deliver tobacco are largely closed in the gaps in the tobacco flow by the vibratory conveyor converting a concentrated or bar-shaped tobacco delivery into an area-wide diversified delivery over the discharge edges, which are graduated lengthways and transversely to the conveying direction, or via the discharge points that are thus widely distributed, so that an optimized, continuous self-contained tobacco monolayer is formed.
According to a further development, this chute edge limitation is composed of front and rear chute edge sections that extend from front to rear, with the chute edge sections being distributed in a step-like manner over the width of the vibratory conveyor.
In the event that the tobacco is dropped directly at the end of the vibratory conveyor, it is provided according to an advantageous embodiment that the discharge edge limitation is designed in the form of a discharge fork.
According to a preferred development, the discharge edge delimiting the discharge fork is divided into numerous discharge edge sections which are alternately staggered in relation to the conveying direction and are connected by longitudinal edges. In this staggered arrangement, a more or less area-wide, closed distribution of the tobacco on the discharge conveyor is achieved by the tobacco being thrown off both from the rear and front edge sections and from the longitudinal edges of the discharge fork.
According to an alternative embodiment, the discharge fork is provided with discharge tines which are delimited by discharge edge sections of the discharge edge converging in the conveying plane in the conveying direction. Here too, each time the vibrating conveyor ejects vibrating vibrations, a more or less closed surface section along the conveying direction is coated with tobacco on the conveyor.
Eine Alternative zur Abwurfgabel besteht nach einem weiteren Vorschlag darin, daß sich der Abwurfkantenverlauf aus einer die Bodenfläche des Schwingförderers begrenzenden äußeren Abschlußkante und mehrere quer zur Förderrichtung nebeneinanderliegende Durchbrechungen bzw. Schlitze in der Bodenfläche begrenzenden inneren Abwurfkantenabschnitten ergibt.
Bei dieser alternativen Schlitzausführung sind wiederum die unterschiedlichsten konstruktiven Ausgestaltungen möglich.An alternative to the discharge fork is, according to a further proposal, that the discharge edge course results from an outer end edge delimiting the bottom surface of the vibratory conveyor and a plurality of openings or slits in the bottom surface delimiting inner discharge edge sections which are adjacent to the conveying direction.
With this alternative slot design, a wide variety of different designs are possible.
So weisen beispielsweise die Schlitze gemäß bevorzugten Weiterbildungen einen im wesentlichen rechtwinkligen Querschnitt auf oder sie sind von in Förderrichtung divergierenden Abwurfkanten begrenzt.For example, in accordance with preferred developments, the slots have an essentially rectangular cross section or are delimited by discharge edges which diverge in the conveying direction.
Die beschriebenen positiven Wirkungen der profilierten Abwurfkante kommen insbesondere dann zur Geltung, wenn der Schwingförderer gemäß einer Weiterbildung in Förderrichtung abwärts geneigt ist, wobei die Neigung des Schwingförderers nach einem zusätzlichen Vorschlag - bezogen auf einen Anstellwinkel im Größenbereich von etwa 15° - nach oben und unten einstellbar ist.
Durch eine zusätzliche Ausgestaltung, gemäß welcher der Schwingförderer mit einem abgestuften Boden versehen ist, wird ein zusätzlicher Löseeffekt auf die unter Umständen noch aneinanderhaftenden Komponenten des Tabakstromes ausgeübt.The described positive effects of the profiled discharge edge come into play particularly when the vibratory conveyor is inclined downwards in the conveying direction according to a further development, the inclination of the vibratory conveyor according to an additional proposal - based on an angle of attack in the size range of approximately 15 ° - up and down is adjustable.
An additional configuration, according to which the vibratory conveyor is provided with a stepped bottom, exerts an additional detaching effect on the components of the tobacco stream that may still adhere to one another.
Um dem sich zunehmend zu einer Monolage ausbreitenden Tabakstrom die angestrebte hohe Fördergeschwindigkeit aufzwingen zu können, wird außerdem vorgeschlagen, daß das auf den Schwingförderer folgende Abförderelement aus zwei einen Förderkanal bildenden, unter- und obereitig angeordneten sowie in Förderrichtung synchron antreibbaren Förderbändern besteht. Auf diese Weise wird durch die beim Durchtritt des Tabakstromes durch den Förderkanal mitgerissene Luft ein Ventilationseffekt erzeugt, welcher eine fördernde Wirkung auf den Tabak ausübt.In order to be able to impose the desired high conveying speed on the tobacco flow which is increasingly spreading to a monolayer, it is also proposed that the conveying element following the vibrating conveyor consists of two conveying belts which form a conveying channel, are arranged underneath and ready and can be driven synchronously in the conveying direction. In this way, a ventilation effect is generated by the air entrained when the tobacco flow passes through the delivery channel. which has a beneficial effect on tobacco.
Zweckmäßigerweise ist am Abgabeende des Abförderelements ein Fremdkörperabscheider angeordnet.
Nach einer alternativen Ausführungsform der Erfinung folgt auf das in Förderichtung geneigt verlaufende Abförderelement ein im wesentlichen horizontal verlaufendes, als Förderband ausgebildetes drittes Förderelement, das eine relativ zum Abförderelement gleiche oder vorzugsweise geringere Fördergeschwindigkeit aufweist. Auf diese Weise werden die durch die Streckung des Tabakstromes längs der Förderrichtung entstandenen Abstände zwischen den einzelenen Komponenten des Tabakstromes in der erzielten Tabakmonolage anschließend durch Stauchung wieder verringert, so daß eine optimale, nahezu geschlossene Tabakmonolage entsteht, die mit relativ hoher Durchsatzgeschwindigkeit den Fremdkörperabscheider passiert.A foreign body separator is expediently arranged at the discharge end of the discharge element.
According to an alternative embodiment of the invention, the conveying element which is inclined in the conveying direction is followed by a substantially horizontally running third conveying element which is designed as a conveyor belt and which has an identical or preferably lower conveying speed relative to the conveying element. In this way, the distances between the individual components of the tobacco flow in the achieved tobacco monolayer resulting from the stretching of the tobacco stream along the conveying direction are then reduced again by compression, so that an optimal, almost closed tobacco monolayer is created, which passes through the foreign body separator at a relatively high throughput rate.
Der mit der Erfindung erzielte Vorteil besteht darin, daß die Ausbreitung der einzelnen Komponenten des Tabakstromes quer zur Förderrichtung sowie die Streckung des gebildeten Tabakvlieses längs der Förderrichtung zwecks Bildung einer Tabakmonolage aus nebeneinanderliegenden bzw. vereinzelten Komponenten bei einem höheren Tabakdurchsatz erzielt wird, wobei in Verbindung mit einem nachgeschalteten Fremdkörperabscheider das angestrebte Aussonderungsergebnis hinsichtlich der Art, Form und Größe der erfaßten Fremdkörper gewährleistet ist.The advantage achieved by the invention is that the spreading of the individual components of the tobacco flow transversely to the conveying direction and the stretching of the tobacco fleece formed along the conveying direction in order to form a tobacco monolayer from adjacent or isolated components is achieved at a higher tobacco throughput, in connection with a downstream foreign matter separator, the desired sorting result with regard to the type, shape and size of the detected foreign matter is guaranteed.
Die Erfindung wird nachstehend anhand von in der Zeichnung dargestellten Ausführungsbeispielen näher erläutert.The invention is explained below with reference to exemplary embodiments shown in the drawing.
Hierbei zeigen:
Figur 1- eine Fördervorrichtung zur Entfernung von Fremdkörpern aus einem Tabakstrom in der Seitenansicht,
Figuren 2 bis 5- unterschiedliche Ausführungsbeispiele der Überführungszone zwischen einem Schwingförderer und einem Bandförderer in der Draufsicht A gemäß
Figur 1 und Figur 6- eine Variante der Fördervorrichtung in der Seitenansicht.
- Figure 1
- a conveyor device for removing foreign bodies from a tobacco stream in side view,
- Figures 2 to 5
- different embodiments of the transfer zone between a vibratory conveyor and a belt conveyor in plan view A according to Figure 1 and
- Figure 6
- a variant of the conveyor in the side view.
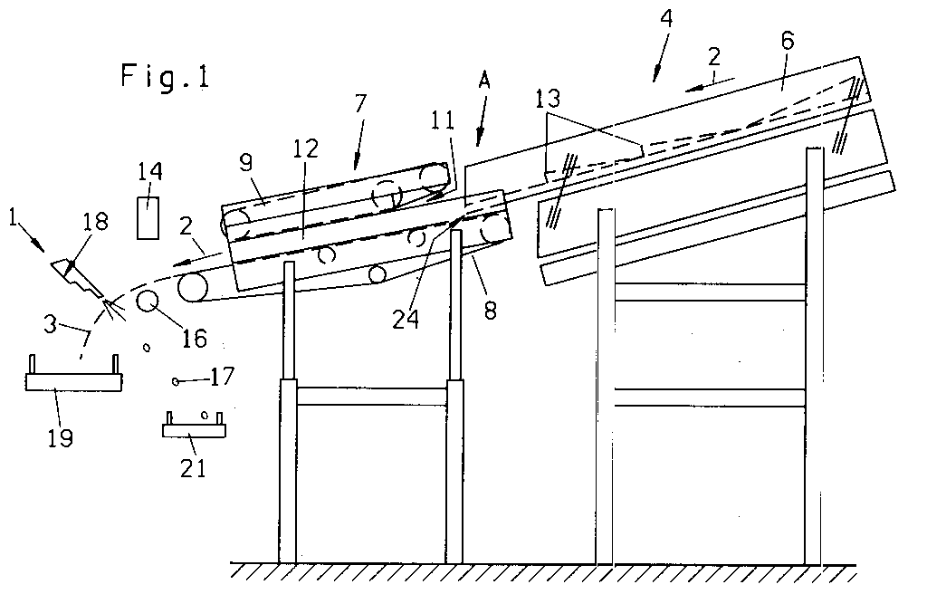
Die in Figur 1 dargestellten, einem Fremdkörperabscheider 1, bezogen auf die Förderrichtung (Pfeil 2) eines Tabakstromes 3, stromauf vorgeordneten Fördermittel bestehen aus einem ersten Förderelement 4 in Form eines Schwingförderers 6 und einem als Bandförderer ausgebildeten zweiten Förderelement 7 in Form eines unterseitigen Förderbandes 8 und eines oberseitigen Förderbandes 9, die auf diese Weise einen in Förderrichtung gegebenenfalls konvergierenden Förderkanal 11 bilden, der durch Seitenwände 12 begrenzt ist und der durch Auf- und Abwärtsverstellung des oberen Förderbandes 9 in seiner lichten Höhe veränderbar ist.The
Die mit gemeinsamen oder eigenen Antriebsmitteln synchron betriebenen Förderbänder 8, 9 haben eine höhere Fördergeschwindigkeit als der Schwingförderer 6. Der Schwingförderer 6 ist mit einem abgestuften und gegebenenfalls profilierten Boden 13 versehen und in Förderrichtung (Pfeil 2) in einer Größenordnung von etwa 15° abwärtsgeneigt angeordnet, wobei die Neigung nach oben und unten verstellt werden kann.
Zur Erzielung eines fließenden Übergangs des Tabakstromes 3 vom Schwingförderer 6 auf das Förderband 8 des Bandförderers 7 ist das gesamte Förderelement 7 ebenfalls in Förderrichtung mit einer allerdings geringeren Neigung von etwa 10° angestellt.The
In order to achieve a smooth transition of the tobacco stream 3 from the
Dem in Förderrichtung relativ zum oberen Förderband 9 vorgezogenen Ende des unteren Förderbandes 8 ist der Fremdkörperabscheider 1 zugeordnet, bestehend aus an sich bekannten Laser-Detektoren 14 zum Abtasten des Tabakstromes 3, einer farblich auf den Tabak abgestimmten Referenztrommel 16, einem auf bekannte, in den Fremdkörperabscheider 1 integrierten, nicht dargestellten Bildverarbeitungsprozessor zur Erkennung und Lagebestimmung von Fremdkörpern 17 sowie Ausblasdüsen 18 zum Selektieren der Fremdkörper 17.
Mit 19 ist ein Fördermittel zur Aufnahme und Abförderung des von Fremdkörpern 17 befreiten Tabakstromes 3 und mit 21 ein Fördermittel zum Auffangen und Abfördern der aussortierten Fremdkörper 17 bezeichnet.The end of the
At 19 is a grant to take up and remove the Tobacco flow 3 freed from
Das über dem Förderband 8 des Bandförderers 7 endende Abgabeende des Schwingförderers 6 weist gemäß Figur 2 eine derartige Abwurfkantenbegrenzung 23 auf, daß sich der bei jeder Vorwärtsschwingung des Schwingförderers 6 abgeworfene Tabak auf dem Förderband 8 auf einer Fläche mit einem in der äußeren Umgrenzung etwa rechteckigen Abwurfflächenprofil 24 verteilt. Erreicht wird dies dadurch, daß die Abwurfkantenbegrenzung 23 in Form einer Abwurfgabel ausgebildet ist bzw. in zahlreiche - bezogen auf die Förderrichtung (Pfeil 2) - wechselweise versetzt hintereinanderliegende, durch Längskanten 26 verbundene Abwurfkantenabschnitte 27 unterteilt ist. Zweckmäßigerweise ist der Abstand zwischen den Längskanten der Gabelzinken größer als die Zinkenbreite. Auf diese Weise fällt der Tabak bei jeder Vorwärtsschwingung des Schwingförderers 6 von den quer zur Förderrichtung 2 parallel zueinander verlaufenden vorderen und hinteren Abwurfkantenabschnitten 27 sowie von den sich in Förderrichtung erstreckenden Längskanten 26 in Form einer flächenhaften Verteilung auf das Förderband 8. Damit reihen sich die abgeworfenen Tabakmengen in den aufeinanderfolgenden Vorwärtsschwingungen des Schwingförderers 6 lückenlos aneinander an, so daß eine quasi geschlossene Tabakmonolage entsteht.According to FIG. 2, the discharge end of the vibrating
Bei der in Figur 3 dargestellten abgewandelten Ausführungsform ist die durch die Abwurfkantenbegrenzung 223 gebildete Abwurfgabel mit Abwurfzinken 228 versehen, die von in der Förderebene in Förderrichtung 202 konvergierenden Abwurfkantenabschnitten 229 begrenzt sind. Bei dieser Gestaltung ergibt sich durch den über die schrägen Abwurfkantenabschnitte 229 abgeworfenen Tabak lediglich eine etwas andere Verteilung innerhalb des ebenfalls rechteckförmigen Abwurfflächenprofils 224.In the modified embodiment shown in FIG. 3, the discharge fork formed by the
Beim nochmals abgewandelten Ausführungsbeispiel gemäß Figur 4 ergibt sich der Abwurfkantenverlauf bzw. die Abwurfkantenbegrenzung 323 aus einer die Bodenfläche des Schwingförderers 6 begrenzenden äußeren Abschlußkante 331 und mehrere quer zur Förderrichtung 302 nebeneinanderliegende Durchbrechungen bzw. Schlitze 332 in der Bodenfläche begrenzenden inneren Abwurfkantenabschnitten 333. Bei dieser Gestaltung mit rechteckförmigen Schlitzen 332 fällt der Tabak bei jedem Vorwärtshub des Schwingförderers 306 über die die Schlitze quer und längs der Förderrichtung begrenzenden Abwurfkantenabschnitte 333 und der zwischen den Schlitzen hindurch nach vorn bewegte Tabak schließlich über die Abschlußkante 331 auf das Förderband 308.In the again modified embodiment according to FIG. 4, the discharge edge course or the
Bei dem nochmals veränderten Ausführungsbeispiel gemäß Figur 5 weisen die Schlitze 432 eine etwas andere bzw. dreieckförmige Konfiguration mit in Förderrichtung divergierenden Abwurfkanten 434 auf, über die der Tabak innerhalb des AbwurfflächenprofilS 424 in einer etwas anderen Verteilung auf das Förderband 408 gelangt.In the again modified exemplary embodiment according to FIG. 5, the
Die Wirkungsweise ist wie folgt:
Der vorzugsweise über die volle Breite senkrecht zur Zeichenebene auf das hintere Ende des Schwingförderers 6 beispielsweise durch einen Aufwärtsförderer aufgegebene Tabak wird durch die Schwingbewegung in Richtung des Pfeils 2 vorbewegt, wobei auf noch zusammenhaftende Blatteile beim Passieren der Bodenabstufungen 13 ein zusätzlicher Löse- bzw. Trennungseffekt erzielt und damit eine Vereinzelung und Breitenverteilung der Komponenten des Tabakstromes senkrecht zur Zeichenebene unterstützt wird.
Nach dem Übertritt des Tabaks auf das Förderband 8 wird der Tabakstrom stark beschleunigt und dabei derart gestreckt, daß das Blattgut sowie die Fremdkörper 17 auch in Förderrichtung vereinzelt werden. Durch die beim Eintritt des Tabaks in den Förderkanal 11 mitgerissene Luftströmung entsteht eine zusätzliche Ventilationswirkung, welche ein beschleunigtes Mitreißen des Tabakstromes selbst bei relativ hohen Bandgeschwindigkeiten der Förderbänder 8, 9 gewährleistet. Das auf diese Weise in Form einer Monolage vom Förderband 8 abgegebene Tabakvlies 3 passiert die Laser-Detektoren 14, welche über die volle Breite (senkrecht zur Zeichenebene) auf vorbeifliegende Fremdkörper 17 reagieren und entsprechende Signale abgeben.The mode of action is as follows:
The tobacco, which is preferably fed over the full width perpendicular to the plane of the drawing onto the rear end of the
After the tobacco has passed onto the
Durch Signalgabe ganz bestimmter Detektoren 14 erkennt der Bildverarbeitungsprozessor auch die jeweilige Lage der Fremdkörper 17 innerhalb des Tabakstromes 3 und steuert die entsprechenden Ausblasdüsen 18 zur gezielten Aussonderung der erkannten Fremdkörper 17 an. Die insbesondere bei relativ kleinen Fremdkörpern 17 gleichzeitig mit ausgeblasenen Tabakblätter werden danach wieder aussortiert und in den Verarbeitungsprozeß zurückgeführt.By signaling very
Bei der in Figur 6 dargestellten Variante sind Elemente, die denen des Ausführungsbeispiels gemäß Figur 1 entsprechen, mit um hundert erhöhten Bezugszahlen versehen und nicht noch einmal besonders erläutert.
Die Variante unterscheidet sich nur dadurch von der ersten Ausführungsform, daß dem Fördermittel 107 in Förderrichtung 102 ein weiteres, im wesentlichen horizontal verlaufendes Förderband 122 folgt, das zur Optimierung der Tabakmonolage des Tabakvlieses mit der gleichen oder vorzugsweise mit einer niedrigeren Fördergeschwindigkeit als das Fördermittel 107 betrieben wird. Dadurch können zu große Abstände zwischen den Komponenten des Tabakstromes wieder verkürzt, d. h. der Tabakstrom nach der mit Sicherheit erzielten Vereinzelung seiner Komponenten längs der Förderrichtung wieder soweit gestaucht bzw. geschlossen und damit verlangsamt werden, daß die Ausscheidungsrate für kleine Fremdkörper verbessert wird.In the variant shown in FIG. 6, elements which correspond to those of the exemplary embodiment according to FIG. 1 are provided with reference numbers increased by a hundred and are not explained again in particular.
The variant differs from the first embodiment only in that the conveying means 107 is followed in the conveying
Anschließend ist diesem zusätzlichen Förderband 122 der Fremdkörperabscheider 101 zugeordnet.The
Claims (18)
Applications Claiming Priority (4)
| Application Number | Priority Date | Filing Date | Title |
|---|---|---|---|
| DE4325838 | 1993-07-31 | ||
| DE19934325838 DE4325838A1 (en) | 1993-07-31 | 1993-07-31 | Device for separating foreign bodies from a flow of tobacco |
| DE4335385 | 1993-10-16 | ||
| DE19934335385 DE4335385A1 (en) | 1993-10-16 | 1993-10-16 | Conveying apparatus for producing a single layer of tobacco |
Publications (3)
| Publication Number | Publication Date |
|---|---|
| EP0636322A2 true EP0636322A2 (en) | 1995-02-01 |
| EP0636322A3 EP0636322A3 (en) | 1998-08-05 |
| EP0636322B1 EP0636322B1 (en) | 2000-12-06 |
Family
ID=25928240
Family Applications (1)
| Application Number | Title | Priority Date | Filing Date |
|---|---|---|---|
| EP94111024A Expired - Lifetime EP0636322B1 (en) | 1993-07-31 | 1994-07-15 | Feeding device for producing an uniform layer |
Country Status (6)
| Country | Link |
|---|---|
| US (1) | US5558199A (en) |
| EP (1) | EP0636322B1 (en) |
| JP (1) | JP3615791B2 (en) |
| CN (1) | CN1039670C (en) |
| DE (1) | DE59409600D1 (en) |
| ES (1) | ES2153399T3 (en) |
Families Citing this family (19)
| Publication number | Priority date | Publication date | Assignee | Title |
|---|---|---|---|---|
| US5646374A (en) * | 1994-12-06 | 1997-07-08 | The Paxall Group, Inc. | Conveyor for a combination weigher or the like |
| US6112903A (en) * | 1997-08-20 | 2000-09-05 | Eftek Corporation | Cullet sorting by differential thermal characteristics |
| US6116409A (en) * | 1998-02-19 | 2000-09-12 | Eastman Kodak Company | Conveyor for uniformly distributing parts |
| ES2264654T3 (en) | 1999-02-13 | 2007-01-16 | Hauni Maschinenbau Ag | PROVISION TO CREATE A MONOCAP FROM A CURRENT COAT MATERIAL SUPPLIED CONTINUOUSLY. |
| US6216850B1 (en) * | 1999-05-26 | 2001-04-17 | Paul A. Svejkovsky | Cyclically powered conveyor with flow leveler |
| DE19945038C1 (en) * | 1999-09-20 | 2000-12-21 | Hubertus Exner | Sorting device for different size particles has adjustable height step and horizontal spacing between successive transport conveyors for allowing particles below given size to drop through |
| US6550604B2 (en) * | 2001-01-31 | 2003-04-22 | The Laitram Corporation | Self-clearing vibrating article-transfer mechanism |
| US6553931B2 (en) * | 2001-02-20 | 2003-04-29 | Recot, Inc. | Vibrating funnel fingers for distribution of seasoning onto discrete lanes |
| ITBO20020038A1 (en) * | 2002-01-24 | 2003-07-24 | Gd Spa | METHOD FOR DETECTION AND ELIMINATION OF FOREIGN BODIES IN A TOBACCO FLOW |
| BRPI0415741B1 (en) | 2003-11-07 | 2013-07-23 | tobacco compositions and methods of manufacturing a tobacco composition | |
| US8627828B2 (en) | 2003-11-07 | 2014-01-14 | U.S. Smokeless Tobacco Company Llc | Tobacco compositions |
| DE102004015463B4 (en) * | 2004-03-26 | 2006-07-06 | Hauni Primary Gmbh | Method and device for foreign body separation |
| DE102005006203A1 (en) * | 2005-02-11 | 2006-08-24 | Khs Ag | transport means |
| US8439184B2 (en) * | 2008-08-14 | 2013-05-14 | Arne Roy Jorgensen | High speed roofing shingle making machine including cutter, catcher and stacker |
| US8225925B2 (en) * | 2008-12-02 | 2012-07-24 | Countlab Inc. | Discrete article spacing apparatus for vibration trays |
| US20130042943A1 (en) | 2011-08-18 | 2013-02-21 | Countlab, Inc. | Container filling machine |
| US9434487B2 (en) | 2011-09-30 | 2016-09-06 | Countlab, Inc | Container filling machine |
| CN106820245B (en) * | 2017-03-02 | 2020-01-03 | 红塔烟草(集团)有限责任公司 | Tobacco foreign matter removing device |
| EP4471389A1 (en) * | 2023-05-31 | 2024-12-04 | B&R Industrial Automation GmbH | Amplitude determination method and arrangement for vibration conveying systems |
Family Cites Families (14)
| Publication number | Priority date | Publication date | Assignee | Title |
|---|---|---|---|---|
| US2402183A (en) * | 1946-06-18 | Coating apparatus | ||
| DE1011798B (en) * | 1954-04-05 | 1957-07-04 | Wilh Quester Maschinenfabrik | Method and device for straightening elongated objects, in particular tobacco leaves |
| US2819788A (en) * | 1954-11-23 | 1958-01-14 | Pneumatic Scale Corp | Material feeding device |
| US2833389A (en) * | 1955-01-14 | 1958-05-06 | Goodman Mfg Co | Shaker conveyor loading device |
| DE1871954U (en) * | 1960-12-16 | 1963-05-09 | Hauni Werke Koerber & Co Kg | DEVICE FOR MANUFACTURING A TOBACCO ROPE. |
| GB1000472A (en) * | 1962-01-29 | 1965-08-04 | British American Tobacco Co | Improvements relating to the testing of moisture content of tobacco and other loose material |
| FR2187642B1 (en) * | 1972-06-15 | 1974-07-26 | Siderurgie Fse Inst Rech | |
| GB1393820A (en) * | 1972-09-06 | 1975-05-14 | Sphere Invest | Apparatus for handling irregulat objects |
| SE373488B (en) * | 1973-06-07 | 1975-02-10 | Svenska Tobaks Ab | WAY TO POSSIBLE DETAILED DETERMINATION OR REGULATION OF A TREATMENT OF A PASSENGER MASS AND DEVICE FOR EXERCISING THE SET |
| GB1501939A (en) * | 1975-06-27 | 1978-02-22 | Gunsons Sortex Ltd | Apparatus for feeding objects to a point of use |
| US4244382A (en) * | 1979-07-23 | 1981-01-13 | Hauni-Werke Korber & Co. Kg | Method and apparatus for delivering particles of tobacco to shredding machines |
| AT369890B (en) * | 1981-07-27 | 1983-02-10 | Voest Alpine Ag | DEVICE FOR LOADING WALKING GRIDS WITH GREEN PELLETS |
| AT370654B (en) * | 1981-10-05 | 1983-04-25 | Voest Alpine Ag | DEVICE FOR THE DOSED CHARGING OF A CONTINUOUS CHOCOLATE WITH CASTING POWDER |
| US4936489A (en) * | 1985-04-18 | 1990-06-26 | Nabisco Brands, Inc. | Process and apparatus for dispensing a particular solid |
-
1994
- 1994-07-15 ES ES94111024T patent/ES2153399T3/en not_active Expired - Lifetime
- 1994-07-15 DE DE59409600T patent/DE59409600D1/en not_active Expired - Lifetime
- 1994-07-15 EP EP94111024A patent/EP0636322B1/en not_active Expired - Lifetime
- 1994-07-20 US US08/278,056 patent/US5558199A/en not_active Expired - Lifetime
- 1994-07-28 JP JP17713794A patent/JP3615791B2/en not_active Expired - Lifetime
- 1994-07-30 CN CN94114982A patent/CN1039670C/en not_active Expired - Lifetime
Also Published As
| Publication number | Publication date |
|---|---|
| ES2153399T3 (en) | 2001-03-01 |
| DE59409600D1 (en) | 2001-01-11 |
| JPH07147961A (en) | 1995-06-13 |
| CN1039670C (en) | 1998-09-09 |
| EP0636322B1 (en) | 2000-12-06 |
| EP0636322A3 (en) | 1998-08-05 |
| CN1102556A (en) | 1995-05-17 |
| JP3615791B2 (en) | 2005-02-02 |
| US5558199A (en) | 1996-09-24 |
Similar Documents
| Publication | Publication Date | Title |
|---|---|---|
| EP0636322B1 (en) | Feeding device for producing an uniform layer | |
| EP2521462B1 (en) | Method and device for separating foreign bodies from a flow of tobacco | |
| EP0303034B1 (en) | Method and device for sorting refuse | |
| DE69822788T2 (en) | SORTING APPARATUS | |
| EP1027837A2 (en) | Device for producing an uniform layer from a continuous flow of a thick layer of material | |
| DE10140309A1 (en) | Rod-like filler building apparatus, for cigarette making machine, includes sifter arranged to supply constituent such as shreds of tobacco leaf laminate, and air towards metering device | |
| WO2001021512A2 (en) | Sorting device for particles of differing sizes | |
| DE10035692A1 (en) | Method and device for separating tobacco fibers | |
| DE10196605B3 (en) | Device for sorting wood chips into separate fractions | |
| DE68911533T2 (en) | WINIFIFIER FOR PRODUCT PARTICLES. | |
| DE1275931B (en) | Wind sifter for cut tobacco in the loading boxes of cigarette making machines | |
| DE69416406T2 (en) | METHOD AND DEVICE FOR SEPARATING HEAVY PARTICLES FROM PARTICULAR MATERIAL | |
| DE4413288C2 (en) | Device for the selection of rubble | |
| AT401740B (en) | DEVICE FOR SEPARATING AREAS AND SPACELY BODIES | |
| EP1216108A1 (en) | Device for orienting and optionally sorting longitudinal particles | |
| DE3609650A1 (en) | CIGARETTE PRODUCTION MACHINE WITH A SEPARATING DEVICE FOR TOBACCO PARTICLES | |
| DE2500833A1 (en) | Separating device for tobacco waste - uses compressed air blast to separate lighter waste on vibrating conveyor | |
| EP0649605B1 (en) | Method and device for separating tobacco fibres | |
| DE102008058998B4 (en) | Process for the screening or classification of cut, vegetable bulk material, in particular tobacco, and apparatus for carrying out the process | |
| DE4325838A1 (en) | Device for separating foreign bodies from a flow of tobacco | |
| DE69312090T2 (en) | METHOD AND DEVICE FOR PROCESSING CRUSTACES | |
| DE3606238C2 (en) | Vibrating separator | |
| DE3447087A1 (en) | Apparatus for stripping ribs from tobacco leaves | |
| DE4335385A1 (en) | Conveying apparatus for producing a single layer of tobacco | |
| DE19844815A1 (en) | Device for cutting rod-shaped articles in the tobacco processing industry |
Legal Events
| Date | Code | Title | Description |
|---|---|---|---|
| PUAI | Public reference made under article 153(3) epc to a published international application that has entered the european phase |
Free format text: ORIGINAL CODE: 0009012 |
|
| AK | Designated contracting states |
Kind code of ref document: A2 Designated state(s): BE CH DE ES FR GB IT LI NL SE |
|
| RAP1 | Party data changed (applicant data changed or rights of an application transferred) |
Owner name: HAUNI MASCHINENBAU AKTIENGESELLSCHAFT |
|
| PUAL | Search report despatched |
Free format text: ORIGINAL CODE: 0009013 |
|
| AK | Designated contracting states |
Kind code of ref document: A3 Designated state(s): BE CH DE ES FR GB IT LI NL SE |
|
| 17P | Request for examination filed |
Effective date: 19990108 |
|
| 17Q | First examination report despatched |
Effective date: 19990414 |
|
| GRAG | Despatch of communication of intention to grant |
Free format text: ORIGINAL CODE: EPIDOS AGRA |
|
| GRAG | Despatch of communication of intention to grant |
Free format text: ORIGINAL CODE: EPIDOS AGRA |
|
| GRAH | Despatch of communication of intention to grant a patent |
Free format text: ORIGINAL CODE: EPIDOS IGRA |
|
| GRAH | Despatch of communication of intention to grant a patent |
Free format text: ORIGINAL CODE: EPIDOS IGRA |
|
| GRAA | (expected) grant |
Free format text: ORIGINAL CODE: 0009210 |
|
| AK | Designated contracting states |
Kind code of ref document: B1 Designated state(s): BE CH DE ES FR GB IT LI NL SE |
|
| PG25 | Lapsed in a contracting state [announced via postgrant information from national office to epo] |
Ref country code: SE Free format text: THE PATENT HAS BEEN ANNULLED BY A DECISION OF A NATIONAL AUTHORITY Effective date: 20001206 |
|
| REG | Reference to a national code |
Ref country code: CH Ref legal event code: EP |
|
| GBT | Gb: translation of ep patent filed (gb section 77(6)(a)/1977) |
Effective date: 20001206 |
|
| REF | Corresponds to: |
Ref document number: 59409600 Country of ref document: DE Date of ref document: 20010111 |
|
| ITF | It: translation for a ep patent filed | ||
| ET | Fr: translation filed | ||
| REG | Reference to a national code |
Ref country code: ES Ref legal event code: FG2A Ref document number: 2153399 Country of ref document: ES Kind code of ref document: T3 |
|
| PG25 | Lapsed in a contracting state [announced via postgrant information from national office to epo] |
Ref country code: BE Free format text: LAPSE BECAUSE OF NON-PAYMENT OF DUE FEES Effective date: 20010731 |
|
| PLBE | No opposition filed within time limit |
Free format text: ORIGINAL CODE: 0009261 |
|
| STAA | Information on the status of an ep patent application or granted ep patent |
Free format text: STATUS: NO OPPOSITION FILED WITHIN TIME LIMIT |
|
| 26N | No opposition filed | ||
| REG | Reference to a national code |
Ref country code: GB Ref legal event code: IF02 |
|
| BERE | Be: lapsed |
Owner name: HAUNI MASCHINENBAU A.G. Effective date: 20010731 |
|
| REG | Reference to a national code |
Ref country code: CH Ref legal event code: PCOW Free format text: HAUNI MASCHINENBAU AKTIENGESELLSCHAFT;KURT-A.-KOERBER-CHAUSSEE 8-32;21033 HAMBURG (DE) Ref country code: CH Ref legal event code: NV Representative=s name: ISLER & PEDRAZZINI AG |
|
| REG | Reference to a national code |
Ref country code: FR Ref legal event code: CA |
|
| REG | Reference to a national code |
Ref country code: CH Ref legal event code: PUE Owner name: BEST N.V. Free format text: HAUNI MASCHINENBAU AKTIENGESELLSCHAFT#KURT-A.-KOERBER-CHAUSSEE 8-32#21033 HAMBURG (DE) -TRANSFER TO- BEST N.V.#ROMEINSESTRAAT 20#3001 HEVERLEE (BE) |
|
| REG | Reference to a national code |
Ref country code: NL Ref legal event code: SD Effective date: 20100224 |
|
| REG | Reference to a national code |
Ref country code: GB Ref legal event code: 732E Free format text: REGISTERED BETWEEN 20100225 AND 20100303 |
|
| PGFP | Annual fee paid to national office [announced via postgrant information from national office to epo] |
Ref country code: NL Payment date: 20130726 Year of fee payment: 20 Ref country code: ES Payment date: 20130726 Year of fee payment: 20 Ref country code: DE Payment date: 20130729 Year of fee payment: 20 Ref country code: CH Payment date: 20130729 Year of fee payment: 20 |
|
| PGFP | Annual fee paid to national office [announced via postgrant information from national office to epo] |
Ref country code: GB Payment date: 20130729 Year of fee payment: 20 Ref country code: FR Payment date: 20130717 Year of fee payment: 20 |
|
| PGFP | Annual fee paid to national office [announced via postgrant information from national office to epo] |
Ref country code: IT Payment date: 20130730 Year of fee payment: 20 |
|
| REG | Reference to a national code |
Ref country code: DE Ref legal event code: R071 Ref document number: 59409600 Country of ref document: DE |
|
| REG | Reference to a national code |
Ref country code: NL Ref legal event code: V4 Effective date: 20140715 |
|
| REG | Reference to a national code |
Ref country code: CH Ref legal event code: PL |
|
| REG | Reference to a national code |
Ref country code: GB Ref legal event code: PE20 Expiry date: 20140714 |
|
| PG25 | Lapsed in a contracting state [announced via postgrant information from national office to epo] |
Ref country code: DE Free format text: LAPSE BECAUSE OF EXPIRATION OF PROTECTION Effective date: 20140716 |
|
| REG | Reference to a national code |
Ref country code: ES Ref legal event code: FD2A Effective date: 20141120 |
|
| PG25 | Lapsed in a contracting state [announced via postgrant information from national office to epo] |
Ref country code: GB Free format text: LAPSE BECAUSE OF EXPIRATION OF PROTECTION Effective date: 20140714 |
|
| PG25 | Lapsed in a contracting state [announced via postgrant information from national office to epo] |
Ref country code: ES Free format text: LAPSE BECAUSE OF EXPIRATION OF PROTECTION Effective date: 20140716 |
