EP0470014B1 - Disjoncteur éléctrique à arc tournant et à autoexpansion - Google Patents
Disjoncteur éléctrique à arc tournant et à autoexpansion Download PDFInfo
- Publication number
- EP0470014B1 EP0470014B1 EP91420245A EP91420245A EP0470014B1 EP 0470014 B1 EP0470014 B1 EP 0470014B1 EP 91420245 A EP91420245 A EP 91420245A EP 91420245 A EP91420245 A EP 91420245A EP 0470014 B1 EP0470014 B1 EP 0470014B1
- Authority
- EP
- European Patent Office
- Prior art keywords
- chamber
- circuit breaker
- electrical circuit
- extinguishing
- arc
- Prior art date
- Legal status (The legal status is an assumption and is not a legal conclusion. Google has not performed a legal analysis and makes no representation as to the accuracy of the status listed.)
- Expired - Lifetime
Links
Images
Classifications
-
- H—ELECTRICITY
- H01—ELECTRIC ELEMENTS
- H01H—ELECTRIC SWITCHES; RELAYS; SELECTORS; EMERGENCY PROTECTIVE DEVICES
- H01H33/00—High-tension or heavy-current switches with arc-extinguishing or arc-preventing means
- H01H33/70—Switches with separate means for directing, obtaining, or increasing flow of arc-extinguishing fluid
- H01H33/72—Switches with separate means for directing, obtaining, or increasing flow of arc-extinguishing fluid having stationary parts for directing the flow of arc-extinguishing fluid, e.g. arc-extinguishing chamber
- H01H33/74—Switches with separate means for directing, obtaining, or increasing flow of arc-extinguishing fluid having stationary parts for directing the flow of arc-extinguishing fluid, e.g. arc-extinguishing chamber wherein the break is in gas
-
- H—ELECTRICITY
- H01—ELECTRIC ELEMENTS
- H01H—ELECTRIC SWITCHES; RELAYS; SELECTORS; EMERGENCY PROTECTIVE DEVICES
- H01H33/00—High-tension or heavy-current switches with arc-extinguishing or arc-preventing means
- H01H33/70—Switches with separate means for directing, obtaining, or increasing flow of arc-extinguishing fluid
- H01H33/7015—Switches with separate means for directing, obtaining, or increasing flow of arc-extinguishing fluid characterised by flow directing elements associated with contacts
- H01H33/7038—Switches with separate means for directing, obtaining, or increasing flow of arc-extinguishing fluid characterised by flow directing elements associated with contacts characterised by a conducting tubular gas flow enhancing nozzle
-
- H—ELECTRICITY
- H01—ELECTRIC ELEMENTS
- H01H—ELECTRIC SWITCHES; RELAYS; SELECTORS; EMERGENCY PROTECTIVE DEVICES
- H01H33/00—High-tension or heavy-current switches with arc-extinguishing or arc-preventing means
- H01H33/70—Switches with separate means for directing, obtaining, or increasing flow of arc-extinguishing fluid
- H01H33/98—Switches with separate means for directing, obtaining, or increasing flow of arc-extinguishing fluid the flow of arc-extinguishing fluid being initiated by an auxiliary arc or a section of the arc, without any moving parts for producing or increasing the flow
- H01H33/982—Switches with separate means for directing, obtaining, or increasing flow of arc-extinguishing fluid the flow of arc-extinguishing fluid being initiated by an auxiliary arc or a section of the arc, without any moving parts for producing or increasing the flow in which the pressure-generating arc is rotated by a magnetic field
Definitions
- the arc is blown by the gas flow between the breaking chamber and the external expansion enclosure, through the generally shaped contacts tubular.
- the efficiency of this pneumatic blowing is a function of the volume of the breaking chamber which can be important for high voltage circuit breakers, and also of the optimal use of this volume.
- deflectors or screens inside the interrupting chamber, the purpose of which is to guide the gas flow in order to direct it towards the flow conduits inside. contacts, either to slow the rotation of gases and avoid areas of overpressure and depression, which may affect the dielectric strength in sensitive areas.
- the present invention starts from the observation that the gases subjected in the cut-off zone to the action of the arc, are compressed and driven in rotation, which causes an expansion forming a gas plug extending to the wall of the room, by dividing the latter into two parts.
- This gas plug or partition prevents any circulation of gases from one part of the chamber to the other, and is at the origin of a partial use of the volume of the breaking chamber.
- the present invention aims to increase the performance of the circuit breaker, by promoting the exchange of gas between the two parts of the chamber, despite the presence of this plug disposed at the breaking zone.
- the electric circuit breaker according to the invention is characterized by a deflector screen, arranged in said chamber near the wall of the enclosure at the cut-off zone and coaxially surrounding said cut-off zone, so as to confine the compressed gases by the action of the arc, leaving a gap between the screen and the wall, which communicates a first part of the chamber, located between the first bottom, and the cutting zone with a second part of the chamber , located between the second bottom and said cut-off zone, allowing gas circulation between the first and second part of the chamber.
- the deflector screen limits the expansion of the gas plug, and preserves communication passages between the two parts of the chamber, located on either side of this gas plug.
- the gas flow takes place from the first part of the chamber arranged on the side of the coil and having a smaller volume towards the second part of the chamber located on the side of the movable contact.
- this gas exchange is increased by an orientation of the gases towards the breaking zone, this gas return being obtained by fixed fins, carried by the bottom of the chamber on the side of the movable contact, which brake or prevent the rotation of the gases.
- the gases are no longer subjected to centrifugal force, and can thus return to the central part, where they flow through the tubular contacts towards the expansion enclosure.
- An efficient blowing is thus obtained by using the entire volume of the interrupting chamber, and by avoiding any depression in the contact zone, likely to generate priming or reclacing.
- the pair of contacts is arranged on the axis of the interrupting chamber, of elongated shape, and one of the tubular contacts is mounted to slide along this axis.
- the deflector screen in the form of a ferrule, for example cylindrical, extends close to the wall of the chamber, and coaxially frames the breaking zone defined by the separation interval of the contacts in the open position.
- the ferrule or cylindrical surface may be of a slightly smaller diameter of the envelope of the chamber, also of cylindrical shape, so as to provide an annular communication gap between the two parts of the chamber, situated on either side of this cylindrical shell.
- the ferrule can also be frustoconical, the reduced section then being oriented towards the moving contact side of the circuit breaker.
- the ferrule is cylindrical, and is inserted in a polygonal envelope, for example square, which marries without play and externally the cylindrical ferrule.
- the communication passages between the two parts of the chamber are arranged at the corners of the envelope, which are spaced from the cylindrical shell.
- Other embodiments can be used, in particular ferrules of polygonal section, inserted in cylindrical envelopes or not, the important point being the presence of intervals between the ferrule and the envelope, extending along the internal periphery of the envelope for communicating the two parts of the chamber, located on either side of the cutting zone.
- the height of the ferrule which corresponds to the axial direction of the latter, is preferably greater than the separation distance of the contacts, in the open position, so as to overflow on either side of the breaking zone.
- This height can in particular be close to twice this separation distance, so as to effectively confine the gases which are expanding under the action of the arc, towards the wall of the envelope.
- the ferrule advantageously comprises, opposite the cut-off zone, lights or holes allowing the passage of metallic vapors towards the wall of the envelope where they are entrained in a zone remote from the cut-off zone.
- the number or dimensions of the fins carried by the bottom are sufficient to impede the rotation of the gases, and these fins, preferably in the form of plates, extend in radial planes, remaining in the vicinity of the internal face of the envelope. .
- the blowing coil of cylindrical shape, is associated with the fixed contact, preferably tubular, the two contacts passing through a sealed manner, respectively the two bottoms of the chamber to make the latter communicate with the expansion enclosure, which can be individual for each pole or be common to the three poles of the circuit breaker. In the latter case, the square section of the room allows maximum use of the available volumes.
- the fixed contact is tubular and the internal conduit to the contact communicates through a lateral orifice with the breaking chamber.
- the bottom of the chamber can then be close to or be attached to the bottom of the enclosure and the height of the enclosure is reduced accordingly.
- the gas compressed by the action of the arc circulates inside the fixed contact and avoids a depression likely to draw the arc inside the contact.
- the orifice is close to the bottom of the chamber, on the side of the coil opposite the cut-off zone.
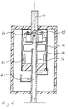
- a pole of a medium or high voltage circuit breaker comprises a sealed enclosure 10, of cylindrical shape inside which an elongated casing 12 is coaxially arranged, confining a breaking chamber 13.
- a pair of contacts, of which one 14 is a movable tubular contact, and the other of which 15 is a fixed tubular contact, extend inside the breaking chamber 13 along the axis of this chamber 13.
- the fixed contact 15 passes through the first bottom 17 of the casing 12, while the movable contact 14 passes through the second bottom 18 of the chamber 13, each of the contacts 14,15 being extended by crossings of the enclosure 10 to connect to connection pads 19 , 20, entry and exit of the pole.
- the tubular contacts 14, 15 have, in the internal part of the enclosure 10, orifices 21 for exhausting the gases making the breaking chamber 13 communicate with the enclosure 10.
- a coil 22 for magnetic arc blowing is coaxially secured to the outside of the fixed contact 15, having opposite the movable contact 14, an electrode 23 of annular shape, for rotation of the root of the arc.
- the coil 22 is arranged in the vicinity of the first bottom 17 of the chamber 13.
- Such a circuit breaker is well known to specialists, and it suffices to recall that when the contacts 14,15 are opened, the arc drawn between these contacts is subjected to the action of the magnetic field, generated by the coil 22, which is crossed by the current, entering at a given time by the track 19, and leaving by the opposite track 20 by crossing the contacts 14,15. Under the action of the arc, the gases contained in the breaking chamber 13 are compressed and escape from the inside of the tubular contacts 14, 15, through orifices 21 towards the expansion enclosure 10.
- the pole may include, as shown schematically in Figure 1, main contacts formed by a movable contact 24 secured to the movable contact 14, and cooperating with the lower edge of the casing 12 of metallic material.
- the metal casing 12 is electrically connected to the input pad 19, and the main contacts 24.25 are arranged, by any suitable means, to separate before the tubular contacts 14.15, acting as arcing contacts.
- In the closed position of the circuit breaker almost all of the current flows through the closed main contacts 24.25.
- the current is switched through the coil 22, and the tubular contacts 14,15, drawing an arc between these contacts as soon as they separate, which follows the separation of the main contacts 24,25.
- the section of the casing 12 is square, and inside this casing 12 is inserted a deflector screen 26, constituted by a cylindrical ferrule disposed at the contact separation zone 14.15.
- the cylindrical ferrule 26 is inscribed in the casing 12, making in the four corners of the passages 27 for communication between a first part 28 of the breaking chamber located on the side of the first bottom 17, and a second part 29 located on the side of the second bottom 18 of the breaking chamber 13.
- the axial height of the cylindrical shell 26 is greater than the distance between the contacts 14,15, and for example close to twice this distance, so as to extend beyond and on the other side of the cut-off zone, to confine the compressed gases.
- the circuit breaker according to the invention operates as follows:
- the arc drawn between the separated contacts 14,15 is subjected to rotation, generated by the coil 22 of magnetic blowing, and it causes on the one hand the heating of the gases present in the cut-off zone, and on the other hand the rotation of these gases.
- These combined effects cause the gases to expand towards the periphery of the interrupting chamber 13, by forming a gas plug in the form of a transverse partition, confined by the cylindrical shell 26.
- This gas plug or partition prevents any flow of gas between the first part 28 of the interrupting chamber, and the second part 29, but this flow can occur in the passages 27 confined between the ferrule 26 and the casing 12.
- the pressure in the first part 28 of the interrupting chamber 13 is generally higher than that of the other part 29 of the chamber. This difference is notably due to the different volume, and the passages 27 allow a transfer of the gases, and therefore the use of the entire volume of the interrupting chamber.
- the second bottom 18 carries fins in the form of plates 30, arranged in the second part 29 of the chamber 13 near the envelope 12.
- These fins 30 brake or prevent the rotation of the gases, and thus deflects the gas flow coming from the passages 27 towards the cutting zone, by promoting the equalization of the pressures inside the chamber 13, and by avoiding the formation of significant depressions due to a vortex effect of the gases, which by decreasing the density in the neighboring area of the contacts 14,15, can be at the origin of reclaquations.
- the shape of the fins 30 and their arrangement inside the chamber 13 can be different, their only purpose being to limit the rotation of the gases inside this chamber.
- Several switching chambers 13 can be accommodated in a common enclosure, in particular three breaking chambers to constitute a three-pole circuit breaker, the square section of these chambers allowing optimal use of the available space.
- the section of the interrupting chamber 13 can be circular, the diameter of the envelope 12 of this chamber 13 being slightly greater than that of the coaxial ferrule 26, so as to provide an annular communication interval, between the first part 28 and the second part 29 of room 13.
- FIG. 3 illustrates an alternative embodiment of the aforementioned type in which the interrupting chamber 13 comprises a cylindrical envelope 12, inside of which is a ferrule 31 of frustoconical shape, the restricted part of which is oriented towards the second bottom 18 of the chamber 13.
- the gap 32 between the wall 12 and the coaxial frusto-conical ferrule 31 is flared downwards and promotes a flow of gases towards the center of the second part 29 of the chamber 13. This arrangement promotes the return of the gas towards the cut-off zone but other arrangements are conceivable.
- the frusto-conical ferrule 31 comprises, opposite the zone of separation of the contacts 14, 15, lights or orifices 33 allowing the passage of the metallic vapors, generated by the action of the arc on the contacts towards the evacuation interval 32 in areas far from the contacts 14.15. This limited exhaust does not disturb the gas flow between the first part 28 of the breaking chamber 13 and the second part 29. It is clear that such lights 33 can also be provided in the shell 26 of the type illustrated in FIG. 1 , or any other similar ferrule.
- the ferrules 26,31 are advantageously metallic as well as the envelopes 12 of square or circular section, but it is clear that it would not go beyond the scope of the present invention, by using ferrules and / or envelopes 12 made of a material insulator in which case, the bottom 17,18, are no longer necessarily made of insulating material.
- the fixed tubular contact 15 is closed at its end and that a lateral orifice 34, close to the closed end, makes the interior of the contact 15 communicate with the breaking chamber 13
- the compressed gas at the periphery of the chamber 13, by the action of the arc, can thus flow back through the tubular contact 15, in the manner indicated by arrows towards the arc zone. This prevents penetration of the arc into the tubular contact.
- This architecture allows the bottom 17 of the chamber 13 to be joined to the bottom of the enclosure 10.
Landscapes
- Arc-Extinguishing Devices That Are Switches (AREA)
- Circuit Breakers (AREA)
- Breakers (AREA)
Description
- L'invention est relative à un disjoncteur électrique moyenne ou haute tension à arc tournant et à autoexpansion comprenant:
- une enceinte étanche remplie d'un gaz à rigidité diélectrique élevée,
- une chambre de coupure ayant une enveloppe allongée disposée dans ladite enceinte, et obturée à ses extrémités respectivement par un premier et un deuxième fond,
- une paire de contacts logés dans la chambre de coupure et susceptibles d'être séparés pour tirer un arc dans la zone de coupure de ladite chambre,
- une bobine de soufflage magnétique en rotation de l'arc tiré entre les contacts, disposée au voisinage dudit premier fond de la chambre,
- au moins un conduit ménagé dans lesdits contacts pour faire communiquer la chambre de coupure et l'enceinte, et autoriser un échappement des gaz de coupure de la chambre vers l'enceinte.
- Dans un disjoncteur du genre mentionné (voir par exemple FR-A-2 623 657), l'arc est soufflé par l'écoulement gazeux entre la chambre de coupure et l'enceinte externe d'expansion, à travers les contacts généralement de forme tubulaire. L'efficacité de ce soufflage pneumatique est fonction du volume de la chambre de coupure qui peut être important pour des disjoncteurs haute tension, et également de l'utilisation optimale de ce volume. A cet effet il a déjà été proposé, de disposer à l'intérieur de la chambre de coupure, des déflecteurs ou écrans ayant pour but, soit de guider l'écoulement gazeux pour l'orienter vers les conduits d'écoulement à l'intérieur des contacts, soit pour freiner la rotation des gaz et éviter des zones de surpression et de dépression, susceptibles d'affecter la rigidité diélectrique dans les zones sensibles.
- La présente invention part de la constatation que les gaz soumis dans la zone de coupure à l'action de l'arc, sont comprimés et entraînés en rotation, ce qui provoque une expansion formant un bouchon gazeux s'étendant jusqu'à la paroi de la chambre, en cloisonnant cette dernière en deux parties. Ce bouchon gazeux ou cloison empêche toute circulation des gaz d'une partie de la chambre vers l'autre, et est à l'origine d'une utilisation partielle du volume de la chambre de coupure.
- La présente invention a pour but d'accroître les performances du disjoncteur, en favorisant l'échange de gaz entre les deux parties de la chambre, en dépit de la présence de ce bouchon disposé au niveau de la zone de coupure.
- Le disjoncteur électrique selon l'invention est caractérisé par un écran déflecteur, disposé dans la dite chambre à proximité de la paroi de l'enveloppe au niveau de la zone de coupure et encadrant coaxialement ladite zone de coupure, de manière à confiner les gaz comprimés par l'action de l'arc, en laissant subsister un intervalle entre l'écran et la paroi, qui fait communiquer une première partie de la chambre, située entre le premier fond,et la zone de coupure avec une deuxième partie de la chambre, située entre le deuxième fond et ladite zone de coupure, en permettant une circulation des gaz entre la première et la deuxième partie de la chambre.
- L'écran déflecteur limite l'expansion du bouchon gazeux, et préserve des passages de communication entre les deux parties de la chambre, situées de part et d'autre de ce bouchon gazeux. L'écoulement de gaz s'effectue de la première partie de la chambre disposée du côté de la bobine et ayant un volume moindre vers la deuxième partie de la chambre située du côté du contact mobile.
- Selon un développement de l'invention, cet échange gazeux est augmenté par une orientation des gaz vers la zone de coupure, ce retour des gaz étant obtenu par des ailettes fixes, portées par le fond de la chambre du côté du contact mobile, qui freinent ou empêchent la rotation des gaz. Les gaz ne sont plus soumis à la force centrifuge, et peuvent ainsi revenir dans la partie centrale, où ils s'écoulent à travers les contacts tubulaires vers l'enceinte d'expansion. On obtient ainsi un soufflage efficace en utilisant l'ensemble du volume de la chambre de coupure, et en évitant toute dépression dans la zone des contacts, susceptible d'engendrer des amorçages ou reclaquages.
- La paire de contacts est disposée sur l'axe de la chambre de coupure, de forme allongée, et l'un des contacts tubulaires est monté à coulissement le long de cet axe. L'écran déflecteur en forme de virole,par exemple cylindrique, s'étend à proximité de la paroi de la chambre, et encadre coaxialement la zone de coupure définie par l'intervalle de séparation des contacts en position ouvert. La virole ou surface cylindrique peut être d'un diamètre légèrement inférieur de l'enveloppe de la chambre, également de forme cylindrique, de manière à ménager un intervalle annulaire de communication des deux parties de la chambre, situées de part et d'autre de cette virole cylindrique. La virole peut également être tronconique, la section amoindrie étant alors orientée du côté du contact mobile du disjoncteur.
- Selon un autre mode de mise en oeuvre de l'invention, la virole est cylindrique, et est insérée dans une enveloppe polygonale, par exemple carrée, qui épouse sans jeu et extérieurement la virole cylindrique. Dans ce mode de mise en oeuvre, les passages de communication entre les deux parties de la chambre, sont disposés aux angles de l'enveloppe, qui sont espacés de la virole cylindrique. D'autres modes de réalisation sont utilisables, notamment des viroles de section polygonale, insérées dans des enveloppes cylindriques ou non, le point important étant la présence d'intervalles entre la virole et l'enveloppe, s'étendant le long du pourtour interne de l'enveloppe pour faire communiquer les deux parties de la chambre, situées de part et d'autre de la zone de coupure. La hauteur de la virole, qui correspond à la direction axiale de cette dernière, est de préférence supérieure à la distance de séparation des contacts, en position ouvert,de manière à déborder de part et d'autre de la zone de coupure. Cette hauteur peut notamment être voisine du double de cette distance de séparation, de façon à confiner efficacement les gaz qui sont en expansion sous l'action de l'arc, vers la paroi de l'enveloppe.
- La virole comporte avantageusement en regard de la zone de coupure, des lumières ou trous permettant le passage des vapeurs métalliques vers la paroi de l'enveloppe où ils sont entraînés dans une zone éloignée de la zone de coupure. Le nombre ou les dimensions des ailettes portées par le fond sont suffisants pour entraver la rotation des gaz, et ces ailettes de préférence en forme de plaques, s'étendent dans des plans radiaux, en restant au voisinage de la face interne de l'enveloppe. La bobine de soufflage, de forme cylindrique, est associée au contact fixe, de préférence tubulaire, les deux contacts traversant d'une manière étanche, respectivement les deux fonds de la chambre pour faire communiquer cette dernière avec l'enceinte d'expansion, qui peut être individuelle à chaque pôle ou être commune aux trois pôles du disjoncteur. Dans ce dernier cas, la section carrée de la chambre autorise une utilisation maximale des volumes disponibles.
- Dans un mode de mise en oeuvre préférentiel le contact fixe est tubulaire et le conduit interne au contact communique par un orifice latéral avec la chambre de coupure. Le fond de la chambre peut alors être proche ou être accolé au fond de l'enceinte et la hauteur de l'enceinte est réduite en conséquence. Le gaz comprimé par l'action de l'arc circule à l'intérieur du contact fixe et évite une dépression susceptible d'aspirer l'arc à l'intérieur du contact. L'orifice est proche du fond de la chambre, du côté de la bobine opposé à la zone de coupure.
- D'autres avantages et caractéristiques ressortiront plus clairement de la description qui va suivre, d'un mode de mise en oeuvre de l'invention, donné à titre d'exemple, et représenté aux dessins annexés dans lesquels:
- la figure 1 est une vue schématique en coupe axiale d'un pôle d'un disjoncteur selon l'invention, représenté en position fermé sur la demi-vue de droite, et en position ouvert sur le demi-vue de gauche;
- la figure 2 est une coupe suivant la ligne II-II de la figure 1;
- la figure 3 est une vue partielle de la figure 1, illustrant une variante de réalisation de l'écran, déflecteur selon l'invention.
- la figure 4 est une vue analogue à celle de la figure 1, illustrant une autre variante de réalisation.
- Sur les figures, un pôle d'un disjoncteur moyenne ou haute tension comporte une enceinte étanche 10, de forme cylindrique à l'intérieur de laquelle est disposée coaxialement une enveloppe allongée 12, confinant une chambre de coupure 13. Une paire de contacts, dont l'un 14 est un contact tubulaire mobile, et dont l'autre 15 est un contact tubulaire fixe, s'étendent à l'intérieur de la chambre de coupure 13 selon l'axe de cette chambre 13. Le contact fixe 15 traverse le premier fond 17 de l'enveloppe 12, tandis que le contact mobile 14 traverse le deuxième fond 18 de la chambre 13, chacun des contacts 14,15 étant prolongés par des traversées de l'enceinte 10 pour se raccorder à des plages de connexions 19,20, d'entrée et de sortie du pôle. Les contacts tubulaires 14,15 présentent dans la partie interne à l'enceinte 10, des orifices 21 d'échappement des gaz faisant communiquer la chambre de coupure 13 avec l'enceinte 10. Une bobine 22 de soufflage magnétique de l'arc, est assujettie coaxialement à l'extérieur du contact fixe 15, en présentant en regard du contact mobile 14, une électrode 23 de forme annulaire, de rotation de la racine de l'arc. La bobine 22 est disposée au voisinage du premier fond 17 de la chambre 13. Un tel disjoncteur est bien connu des spécialistes, et il suffit de rappeler que lors de l'ouverture des contacts 14,15, l'arc tiré entre ces contacts est soumis à l'action du champ magnétique, engendré par la bobine 22, qui est traversée par le courant, entrant à un instant donné par la plage 19, et sortant par la plage opposée 20 en traversant les contacts 14,15. Sous l'action de l'arc, les gaz contenus dans la chambre de coupure 13 sont comprimés et s'échappent par l'intérieur des contacts tubulaires 14,15, à travers des orifices 21 vers l'enceinte d'expansion 10.
- Le pôle peut comporter de la manière représentée schématiquement à la figure 1, des contacts principaux constitués par un contact mobile 24 solidaire du contact mobile 14, et coopérant avec le bord inférieur de l'enveloppe 12 en matériau métallique. L'enveloppe métallique 12 est connectée électriquement à la plage d'entrée 19, et les contacts principaux 24,25 sont agencés, par tout moyen approprié, pour se séparer avant les contacts tubulaires 14,15, faisant fonction de contacts d'arc. En position fermé du disjoncteur, la quasi-totalité du courant parcourt les contacts principaux fermés 24,25. Le courant est commuté à travers la bobine 22, et les contacts tubulaires 14,15, en tirant un arc entre ces contacts dès leur séparation qui succède à la séparation des contacts principaux 24,25.
- Dans le mode de mise en oeuvre illustré par les figures 1 et 2, la section de l'enveloppe 12 est carrée, et à l'intérieur de cette enveloppe 12 est inséré un écran déflecteur 26, constitué par une virole cylindrique disposée au niveau de la zone de séparation des contacts 14,15. La virole cylindrique 26 s'inscrit dans l'enveloppe 12, en ménageant dans les quatre angles des passages 27 de communication entre une première partie 28 de la chambre de coupure située du côté du premier fond 17, et une deuxième partie 29 située du côté du deuxième fond 18 de la chambre de coupure 13. La hauteur axiale de la virole cylindrique 26 est supérieure à la distance d'écartement des contacts 14,15, et par exemple voisine du double de cette distance, de manière à déborder de part et d'autre de la zone de coupure, pour confiner les gaz comprimés.
- Le disjoncteur selon l'invention fonctionne de la manière suivante:
- Lors de la séparation des contacts 14,15, qui intervient après l'ouverture des contacts principaux 24,25, l'arc tiré entre les contacts 14,15 séparés est soumis à la rotation, engendrée par la bobine 22 de soufflage magnétique, et il provoque d'une part l'échauffement des gaz présents dans la zone de coupure, et d'autre part la mise en rotation de ces gaz. Ces effets combinés engendrent l'expansion des gaz vers la périphérie de la chambre de coupure 13, en formant un bouchon gazeux en forme de cloison transversale, confinée par la virole cylindrique 26. Ce bouchon gazeux ou cloison empêche tout écoulement de gaz entre la première partie 28 de la chambre de coupure, et la deuxième partie 29, mais cet écoulement peut se produire dans les passages 27 confinés entre la virole 26 et l'enveloppe 12. La pression dans la première partie 28 de la chambre de coupure 13, est généralement supérieure à celle de l'autre partie 29 de la chambre. Cette différence est notamment due au volume différent, et les passages 27 permettent un transfert des gaz, et de ce fait l'utilisation de l'ensemble du volume de la chambre de coupure. Selon un développement de l'invention, le deuxième fond 18 porte des ailettes en forme de plaques 30, disposées dans la deuxième partie 29 de la chambre 13 à proximité de l'enveloppe 12. Ces ailettes 30 freinent ou empêchent la rotation des gaz, et dévient ainsi l'écoulement gazeux venant des passages 27 vers la zone de coupure, en favorisant l'égalisation des pressions à l'intérieur de la chambre 13, et en évitant la formation de dépressions importantes dues à un effet de tourbillon des gaz, qui par diminution de la densité dans la zone voisine des contacts 14,15, peut être à l'origine de reclaquages.
- Il est clair que la forme des ailettes 30 et leur disposition à l'intérieur de la chambre 13 peuvent être différentes,leur seul but étant de limiter la rotation des gaz à l'intérieur de cette chambre. Plusieurs chambres de coupure 13 peuvent être logées dans une enceinte commune, notamment trois chambres de coupure pour constituer un disjoncteur tripolaire, la section carrée de ces chambres permettant une utilisation optimale de l'espace disponible. La section de la chambre de coupure 13 peut être circulaire, le diamètre de l'enveloppe 12 de cette chambre 13 étant légèrement supérieur à celui de la virole coaxiale 26, de manière à ménager un intervalle annulaire de communication, entre la première partie 28 et la deuxième partie 29 de la chambre 13.
- La figure 3 illustre une variante de réalisation du genre précité dans laquelle la chambre de coupure 13 comporte une enveloppe cylindrique 12, à l'intérieur de laquelle est disposée une virole 31 de forme tronconique, dont la partie restreinte est orientée vers le deuxième fond 18 de la chambre 13. L'intervalle 32 entre la paroi 12 et la virole tronconique coaxiale 31, est évasé vers le bas et favorise un écoulement des gaz vers le centre de la deuxième partie 29 de la chambre 13. Cet agencement favorise le retour des gaz vers la zone de coupure mais d'autres agencements sont concevables. La virole tronconique 31 comporte en regard de la zone de séparation des contacts 14,15, des lumières ou orifices 33 permettant le passage des vapeurs métalliques, engendrées par l'action de l'arc sur les contacts vers l'intervalle 32 d'évacuation dans des zones éloignées des contacts 14,15. Cet échappement limité ne perturbe pas l'écoulement gazeux entre la première partie 28 de la chambre de coupure 13 et la deuxième partie 29. Il est clair que de telles lumières 33 peuvent également être ménagées dans la virole 26 du type illustré par la figure 1, ou toute autre virole analogue.
- Les viroles 26,31 sont avantageusement métalliques ainsi que les enveloppes 12 de section carrée ou circulaire, mais il est clair que l'on ne sortirait pas du cadre de la présente invention, en utilisant des viroles et/ou des enveloppes 12 en un matériau isolant auquel cas, les fond 17,18, ne sont plus obligatoirement en matière isolante.
- En se référant à la figure 4, on voit que le contact fixe tubulaire 15 est obturé à son extrémité et qu'un orifice latéral 34, voisin de l'extrémité obturée, fait communiquer l'intérieur du contact 15 avec la chambre de coupure 13. Le gaz comprimé à la périphérie de la chambre 13, par l'action de l'arc, peut ainsi refluer à travers le contact tubulaire 15, de la manière indiquée par des flèches vers la zone d'arc. On évite ainsi une pénétration de l'arc dans le contact tubulaire. Cette architecture permet un accolement du fond 17 de la chambre 13 au fond de l'enceinte 10.
Claims (10)
- Disjoncteur électrique moyenne ou haute tension à arc tournant et à autoexpansion comprenant:- une enceinte (10) étanche remplie d'un gaz à rigidité diélectrique élevée,- une chambre de coupure (13) ayant une enveloppe (12) allongée disposée dans ladite enceinte (10), et obturée à ses extrémités respectivement par un premier (17) et un deuxième (18) fond,- une paire de contacts (14,15) logés dans la chambre de coupure (13) et susceptibles d'être séparés pour tirer un arc dans la zone de coupure de ladite chambre (13),- une bobine de soufflage (22) magnétique en rotation de l'arc tiré entre les contacts (14,15), disposée au voisinage dudit premier fond (17) de la chambre,- au moins un conduit ménagé dans lesdits contacts (14,15) pour faire communiquer la chambre de coupure (13) et l'enceinte (10), et autoriser un échappement des gaz de coupure de la chambre vers l'enceinte, caractérisé par un écran déflecteur (26,31), disposé dans ladite chambre (13) à proximité de la paroi de l'enveloppe (12) au niveau de la zone de coupure et encadrant coaxialement ladite zone de coupure, de manière à confiner les gaz comprimés par l'action de l'arc, en laissant subsister un intervalle (27,32) entre l'écran (26,31) et la paroi qui fait communiquer une première partie (28) de la chambre (13), située entre le premier fond (17), et la zone de coupure avec une deuxième partie (29) de la chambre (13), située entre le deuxième fond (18) et ladite zone de coupure, en permettant une circulation des gaz entre la première et la deuxième partie de la chambre.
- Disjoncteur électrique selon la revendication 1, caractérisé en ce que ledit deuxième fond (18), éloigné de la bobine (22), porte des moyens de freinage (30) de la rotation des gaz pour favoriser l'écoulement des gaz vers la zone de coupure.
- Disjoncteur électrique selon la revendication 1 ou 2, caractérisé en ce que ladite paire de contacts (14,15) s'étend dans l'axe de la chambre de coupure (13), le contact tubulaire mobile (14) étant monté à coulissement le long de cet axe et que ledit écran (26,31) est constitué par une virole centrée sur ledit axe et adjacente à la paroi de l'enveloppe (12) en laissant subsister ledit intervalle.
- Disjoncteur selon la revendication 3, caractérisé en ce que l'enveloppe (12) de la chambre (13) et la virole (26,31) sont des surfaces cylindriques coaxiales, le diamètre de là virole étant légèrement inférieur à celui de l'enveloppe, pour définir un intervalle annulaire (32) faisant communiquer ladite première et deuxième partie de la chambre.
- Disjoncteur selon la revendication 3,caractérisé en ce que la section de la dite enveloppe (12) est polygonale et celle de ladite virole (26) cylindrique s'inscrivant à l'intérieur de l'enveloppe (12), de façon à confiner dans les angles de l'enveloppe lesdits intervalles (27) de communication entre la première (28) et la deuxième (29) partie de la chambre (13).
- Disjoncteur selon la revendication 3, caractérisé en ce que ladite virole (31) est une surface tronconique dont le sommet est disposé du côté dudit deuxième fond (18).
- Disjoncteur selon l'une quelconque des revendications précédentes, caractérisé en ce que ledit écran (26,31) comporte des lumières (33) de passage des vapeurs métalliques de la zone de coupure vers ledit intervalle (27,32).
- Disjoncteur selon l'une quelconque des revendications précédentes, caractérisé en ce que ledit deuxième fond (18) porte des ailettes (30) en forme de plaques s'étendant radialement sur la périphérie interne de la chambre (13) dans ladite deuxième partie (29).
- Disjoncteur électrique selon l'une quelconque des revendications précédentes, caractérisé en ce que la bobine (22) de forme cylindrique est fixée par l'une de ses extrémités audit premier fond (17) de l'enveloppe (12), et que l'extrémité opposée de la bobine porte une électrode annulaire (23) constituant un contact fixe avec lequel coopère un contact mobile tubulaire (14) monté à coulissement axial dans la chambre de coupure (13).
- Disjoncteur électrique selon l'une quelconque des revendications précédentes, caractérisé en ce que le contact tubulaire mobile comporte un orifice latéral (21) débouchant dans ladite enceinte pour faire communiquer l'intérieur du contact avec ladite enceinte et en ce que le contact fixe est tubulaire et comporte un orifice latéral débouchant dans ladite chambre pour permettre une circulation de gaz à l'intérieur du contact fixe.
Applications Claiming Priority (2)
| Application Number | Priority Date | Filing Date | Title |
|---|---|---|---|
| FR9009938A FR2665571B1 (fr) | 1990-08-01 | 1990-08-01 | Disjoncteur electrique a arc tournant et a autoexpansion. |
| FR9009938 | 1990-08-01 |
Publications (2)
| Publication Number | Publication Date |
|---|---|
| EP0470014A1 EP0470014A1 (fr) | 1992-02-05 |
| EP0470014B1 true EP0470014B1 (fr) | 1994-12-28 |
Family
ID=9399392
Family Applications (1)
| Application Number | Title | Priority Date | Filing Date |
|---|---|---|---|
| EP91420245A Expired - Lifetime EP0470014B1 (fr) | 1990-08-01 | 1991-07-12 | Disjoncteur éléctrique à arc tournant et à autoexpansion |
Country Status (13)
| Country | Link |
|---|---|
| US (1) | US5347097A (fr) |
| EP (1) | EP0470014B1 (fr) |
| JP (1) | JP3083597B2 (fr) |
| KR (1) | KR100204546B1 (fr) |
| CN (1) | CN1027841C (fr) |
| AU (1) | AU642758B2 (fr) |
| BR (1) | BR9103250A (fr) |
| CA (1) | CA2047476C (fr) |
| DE (1) | DE69106266T2 (fr) |
| FR (1) | FR2665571B1 (fr) |
| MX (1) | MX9100444A (fr) |
| RU (1) | RU2037902C1 (fr) |
| ZA (1) | ZA916014B (fr) |
Families Citing this family (87)
| Publication number | Priority date | Publication date | Assignee | Title |
|---|---|---|---|---|
| JP3253844B2 (ja) * | 1996-02-09 | 2002-02-04 | 株式会社日立製作所 | ガス遮断器 |
| IT1292453B1 (it) | 1997-07-02 | 1999-02-08 | Aeg Niederspannungstech Gmbh | Gruppo rotante di contatti per interrutttori di alta portata |
| DE19819242B4 (de) | 1998-04-29 | 2005-11-10 | Ge Power Controls Polska Sp.Z.O.O. | Thermomagnetischer Leistungsschalter |
| US6114641A (en) | 1998-05-29 | 2000-09-05 | General Electric Company | Rotary contact assembly for high ampere-rated circuit breakers |
| RU2145133C1 (ru) * | 1998-06-03 | 2000-01-27 | Российский Федеральный Ядерный Центр - Всероссийский Научно-Исследовательский Институт Экспериментальной Физики | Элегазовое дугогасительное устройство высоковольтного выключателя |
| US6087913A (en) | 1998-11-20 | 2000-07-11 | General Electric Company | Circuit breaker mechanism for a rotary contact system |
| US6037555A (en) | 1999-01-05 | 2000-03-14 | General Electric Company | Rotary contact circuit breaker venting arrangement including current transformer |
| US6166344A (en) | 1999-03-23 | 2000-12-26 | General Electric Company | Circuit breaker handle block |
| US6262872B1 (en) | 1999-06-03 | 2001-07-17 | General Electric Company | Electronic trip unit with user-adjustable sensitivity to current spikes |
| US6268991B1 (en) | 1999-06-25 | 2001-07-31 | General Electric Company | Method and arrangement for customizing electronic circuit interrupters |
| US6218917B1 (en) | 1999-07-02 | 2001-04-17 | General Electric Company | Method and arrangement for calibration of circuit breaker thermal trip unit |
| US6188036B1 (en) | 1999-08-03 | 2001-02-13 | General Electric Company | Bottom vented circuit breaker capable of top down assembly onto equipment |
| US6710988B1 (en) | 1999-08-17 | 2004-03-23 | General Electric Company | Small-sized industrial rated electric motor starter switch unit |
| US6252365B1 (en) | 1999-08-17 | 2001-06-26 | General Electric Company | Breaker/starter with auto-configurable trip unit |
| US6396369B1 (en) | 1999-08-27 | 2002-05-28 | General Electric Company | Rotary contact assembly for high ampere-rated circuit breakers |
| US6175288B1 (en) | 1999-08-27 | 2001-01-16 | General Electric Company | Supplemental trip unit for rotary circuit interrupters |
| US6232570B1 (en) | 1999-09-16 | 2001-05-15 | General Electric Company | Arcing contact arrangement |
| US6326869B1 (en) | 1999-09-23 | 2001-12-04 | General Electric Company | Clapper armature system for a circuit breaker |
| US6239395B1 (en) | 1999-10-14 | 2001-05-29 | General Electric Company | Auxiliary position switch assembly for a circuit breaker |
| US6229413B1 (en) | 1999-10-19 | 2001-05-08 | General Electric Company | Support of stationary conductors for a circuit breaker |
| US6317018B1 (en) | 1999-10-26 | 2001-11-13 | General Electric Company | Circuit breaker mechanism |
| US6232856B1 (en) | 1999-11-02 | 2001-05-15 | General Electric Company | Magnetic shunt assembly |
| US6377144B1 (en) | 1999-11-03 | 2002-04-23 | General Electric Company | Molded case circuit breaker base and mid-cover assembly |
| EP1098343B1 (fr) | 1999-11-03 | 2005-09-21 | AEG Niederspannungstechnik GmbH & Co. KG | Dispositif a contact tournant pour disjoncteur |
| US6300586B1 (en) | 1999-12-09 | 2001-10-09 | General Electric Company | Arc runner retaining feature |
| US6310307B1 (en) | 1999-12-17 | 2001-10-30 | General Electric Company | Circuit breaker rotary contact arm arrangement |
| US6172584B1 (en) | 1999-12-20 | 2001-01-09 | General Electric Company | Circuit breaker accessory reset system |
| US6184761B1 (en) | 1999-12-20 | 2001-02-06 | General Electric Company | Circuit breaker rotary contact arrangement |
| US6215379B1 (en) | 1999-12-23 | 2001-04-10 | General Electric Company | Shunt for indirectly heated bimetallic strip |
| US6281461B1 (en) | 1999-12-27 | 2001-08-28 | General Electric Company | Circuit breaker rotor assembly having arc prevention structure |
| US6346869B1 (en) | 1999-12-28 | 2002-02-12 | General Electric Company | Rating plug for circuit breakers |
| US6211758B1 (en) | 2000-01-11 | 2001-04-03 | General Electric Company | Circuit breaker accessory gap control mechanism |
| US6239677B1 (en) | 2000-02-10 | 2001-05-29 | General Electric Company | Circuit breaker thermal magnetic trip unit |
| US6429759B1 (en) | 2000-02-14 | 2002-08-06 | General Electric Company | Split and angled contacts |
| US6313425B1 (en) | 2000-02-24 | 2001-11-06 | General Electric Company | Cassette assembly with rejection features |
| US6281458B1 (en) | 2000-02-24 | 2001-08-28 | General Electric Company | Circuit breaker auxiliary magnetic trip unit with pressure sensitive release |
| US6204743B1 (en) | 2000-02-29 | 2001-03-20 | General Electric Company | Dual connector strap for a rotary contact circuit breaker |
| US6404314B1 (en) | 2000-02-29 | 2002-06-11 | General Electric Company | Adjustable trip solenoid |
| US6448521B1 (en) | 2000-03-01 | 2002-09-10 | General Electric Company | Blocking apparatus for circuit breaker contact structure |
| US6379196B1 (en) | 2000-03-01 | 2002-04-30 | General Electric Company | Terminal connector for a circuit breaker |
| US6346868B1 (en) | 2000-03-01 | 2002-02-12 | General Electric Company | Circuit interrupter operating mechanism |
| US6340925B1 (en) | 2000-03-01 | 2002-01-22 | General Electric Company | Circuit breaker mechanism tripping cam |
| US6211757B1 (en) | 2000-03-06 | 2001-04-03 | General Electric Company | Fast acting high force trip actuator |
| US6459349B1 (en) | 2000-03-06 | 2002-10-01 | General Electric Company | Circuit breaker comprising a current transformer with a partial air gap |
| US6366438B1 (en) | 2000-03-06 | 2002-04-02 | General Electric Company | Circuit interrupter rotary contact arm |
| US6496347B1 (en) | 2000-03-08 | 2002-12-17 | General Electric Company | System and method for optimization of a circuit breaker mechanism |
| US6429659B1 (en) | 2000-03-09 | 2002-08-06 | General Electric Company | Connection tester for an electronic trip unit |
| US6366188B1 (en) | 2000-03-15 | 2002-04-02 | General Electric Company | Accessory and recess identification system for circuit breakers |
| US6218919B1 (en) | 2000-03-15 | 2001-04-17 | General Electric Company | Circuit breaker latch mechanism with decreased trip time |
| US6232859B1 (en) | 2000-03-15 | 2001-05-15 | General Electric Company | Auxiliary switch mounting configuration for use in a molded case circuit breaker |
| US6459059B1 (en) | 2000-03-16 | 2002-10-01 | General Electric Company | Return spring for a circuit interrupter operating mechanism |
| US6421217B1 (en) | 2000-03-16 | 2002-07-16 | General Electric Company | Circuit breaker accessory reset system |
| US6472620B2 (en) | 2000-03-17 | 2002-10-29 | Ge Power Controls France Sas | Locking arrangement for circuit breaker draw-out mechanism |
| FR2806548B1 (fr) | 2000-03-17 | 2002-08-23 | Ge Power Controls France | Mecanisme extractible pour disjoncteurs |
| US6559743B2 (en) | 2000-03-17 | 2003-05-06 | General Electric Company | Stored energy system for breaker operating mechanism |
| US6476698B1 (en) | 2000-03-17 | 2002-11-05 | General Electric Company | Convertible locking arrangement on breakers |
| US6388213B1 (en) | 2000-03-17 | 2002-05-14 | General Electric Company | Locking device for molded case circuit breakers |
| US6639168B1 (en) | 2000-03-17 | 2003-10-28 | General Electric Company | Energy absorbing contact arm stop |
| US6586693B2 (en) | 2000-03-17 | 2003-07-01 | General Electric Company | Self compensating latch arrangement |
| US6479774B1 (en) | 2000-03-17 | 2002-11-12 | General Electric Company | High energy closing mechanism for circuit breakers |
| US6373010B1 (en) | 2000-03-17 | 2002-04-16 | General Electric Company | Adjustable energy storage mechanism for a circuit breaker motor operator |
| US6747535B2 (en) | 2000-03-27 | 2004-06-08 | General Electric Company | Precision location system between actuator accessory and mechanism |
| US6995640B2 (en) | 2000-05-16 | 2006-02-07 | General Electric Company | Pressure sensitive trip mechanism for circuit breakers |
| US6373357B1 (en) | 2000-05-16 | 2002-04-16 | General Electric Company | Pressure sensitive trip mechanism for a rotary breaker |
| US6400245B1 (en) | 2000-10-13 | 2002-06-04 | General Electric Company | Draw out interlock for circuit breakers |
| US6531941B1 (en) | 2000-10-19 | 2003-03-11 | General Electric Company | Clip for a conductor in a rotary breaker |
| US6806800B1 (en) | 2000-10-19 | 2004-10-19 | General Electric Company | Assembly for mounting a motor operator on a circuit breaker |
| US6429760B1 (en) | 2000-10-19 | 2002-08-06 | General Electric Company | Cross bar for a conductor in a rotary breaker |
| US6362711B1 (en) | 2000-11-10 | 2002-03-26 | General Electric Company | Circuit breaker cover with screw locating feature |
| US6380829B1 (en) | 2000-11-21 | 2002-04-30 | General Electric Company | Motor operator interlock and method for circuit breakers |
| US6448522B1 (en) | 2001-01-30 | 2002-09-10 | General Electric Company | Compact high speed motor operator for a circuit breaker |
| US6476337B2 (en) | 2001-02-26 | 2002-11-05 | General Electric Company | Auxiliary switch actuation arrangement |
| US6882258B2 (en) | 2001-02-27 | 2005-04-19 | General Electric Company | Mechanical bell alarm assembly for a circuit breaker |
| US6678135B2 (en) | 2001-09-12 | 2004-01-13 | General Electric Company | Module plug for an electronic trip unit |
| US6469882B1 (en) | 2001-10-31 | 2002-10-22 | General Electric Company | Current transformer initial condition correction |
| US6804101B2 (en) | 2001-11-06 | 2004-10-12 | General Electric Company | Digital rating plug for electronic trip unit in circuit breakers |
| KR100658182B1 (ko) * | 2005-12-30 | 2006-12-15 | 엘에스산전 주식회사 | 회로 차단기 |
| CN102254758B (zh) * | 2011-07-28 | 2014-05-14 | 苏州鼎能电力设备有限公司 | 应用于断路器中的灭弧室 |
| FR3005781B1 (fr) * | 2013-05-17 | 2016-09-23 | Schneider Electric Ind Sas | Chambre de coupure pour un appareil de protection electrique et appareil de protection electrique la comportant. |
| FR3007889B1 (fr) * | 2013-06-26 | 2016-09-23 | Schneider Electric Ind Sas | Chambre de coupure pour un appareil de protection electrique et appareil de protection electrique comportant une telle chambre. |
| US9355798B2 (en) | 2014-08-21 | 2016-05-31 | General Electric Company | System and method for quenching an arc |
| CN107731616A (zh) * | 2017-11-16 | 2018-02-23 | 中国科学院电工研究所 | 平行串联多断口灭弧室 |
| RU186667U1 (ru) * | 2018-08-27 | 2019-01-29 | Закрытое акционерное общество "Завод электротехнического оборудования" (ЗАО "ЗЭТО") | Выключатель с газовой изоляцией |
| RU2749031C1 (ru) * | 2020-07-24 | 2021-06-03 | Валерий Александрович Лавринович | Экранная система для высоковольтной вакуумной дугогасительной камеры |
| CN113161192B (zh) * | 2021-04-22 | 2023-01-20 | 云南电网有限责任公司电力科学研究院 | 一种磁场增强型的真空断路器 |
| CN116230466B (zh) * | 2023-04-07 | 2025-01-07 | 浙江人民电器有限公司 | 一种大电流高分断插入式断路器 |
| CN116994912B (zh) * | 2023-09-25 | 2023-12-22 | 新乡市镇华电力科技有限公司 | 一种户内高压真空断路器 |
Family Cites Families (8)
| Publication number | Priority date | Publication date | Assignee | Title |
|---|---|---|---|---|
| CH320907A (fr) * | 1954-11-11 | 1957-04-15 | Gardy Particip App | Disjoncteur à liquide extincteur |
| US4095068A (en) * | 1976-05-12 | 1978-06-13 | Westinghouse Electric Corp. | Stationary-contact-and voltage-shield assembly for a gas-puffer-type circuit-interrupter |
| FR2441261A1 (fr) * | 1978-11-10 | 1980-06-06 | Merlin Gerin | Interrupteur a arc tournant |
| JPS59144726U (ja) * | 1983-03-15 | 1984-09-27 | 日新電機株式会社 | ガスしや断器 |
| DE3538955A1 (de) * | 1985-10-29 | 1987-05-07 | Siemens Ag | Druckgasschalter |
| FR2623657A1 (fr) * | 1987-11-19 | 1989-05-26 | Merlin Gerin | Disjoncteur a autosoufflage par expansion de gaz isolant, equipe d'un ecran de repartition de champ electrique |
| ES2066175T3 (es) * | 1989-02-27 | 1995-03-01 | Merlin Gerin | Disyuntor de arco giratorio y con efecto centrifugo del gas de extincion. |
| FR2663457B1 (fr) * | 1990-06-14 | 1996-06-07 | Merlin Gerin | Disjoncteur electrique a autoexpansion et a rotation de l'arc. |
-
1990
- 1990-08-01 FR FR9009938A patent/FR2665571B1/fr not_active Expired - Fee Related
-
1991
- 1991-07-12 EP EP91420245A patent/EP0470014B1/fr not_active Expired - Lifetime
- 1991-07-12 DE DE69106266T patent/DE69106266T2/de not_active Expired - Fee Related
- 1991-07-19 CA CA002047476A patent/CA2047476C/fr not_active Expired - Fee Related
- 1991-07-30 MX MX9100444A patent/MX9100444A/es not_active IP Right Cessation
- 1991-07-30 BR BR919103250A patent/BR9103250A/pt not_active IP Right Cessation
- 1991-07-31 AU AU81465/91A patent/AU642758B2/en not_active Ceased
- 1991-07-31 RU SU915001232A patent/RU2037902C1/ru active
- 1991-07-31 CN CN91105235A patent/CN1027841C/zh not_active Expired - Fee Related
- 1991-07-31 ZA ZA916014A patent/ZA916014B/xx unknown
- 1991-07-31 JP JP03214822A patent/JP3083597B2/ja not_active Expired - Fee Related
- 1991-08-01 KR KR1019910013345A patent/KR100204546B1/ko not_active Expired - Fee Related
-
1993
- 1993-08-02 US US08/101,279 patent/US5347097A/en not_active Expired - Fee Related
Also Published As
| Publication number | Publication date |
|---|---|
| MX9100444A (es) | 1992-04-01 |
| BR9103250A (pt) | 1992-05-26 |
| AU8146591A (en) | 1992-02-06 |
| CN1058671A (zh) | 1992-02-12 |
| DE69106266D1 (de) | 1995-02-09 |
| JPH04253129A (ja) | 1992-09-08 |
| KR920005203A (ko) | 1992-03-28 |
| US5347097A (en) | 1994-09-13 |
| FR2665571B1 (fr) | 1992-10-16 |
| DE69106266T2 (de) | 1995-06-29 |
| FR2665571A1 (fr) | 1992-02-07 |
| EP0470014A1 (fr) | 1992-02-05 |
| CN1027841C (zh) | 1995-03-08 |
| AU642758B2 (en) | 1993-10-28 |
| CA2047476A1 (fr) | 1992-02-02 |
| RU2037902C1 (ru) | 1995-06-19 |
| JP3083597B2 (ja) | 2000-09-04 |
| KR100204546B1 (ko) | 1999-06-15 |
| ZA916014B (en) | 1992-04-29 |
| CA2047476C (fr) | 2000-09-12 |
Similar Documents
| Publication | Publication Date | Title |
|---|---|---|
| EP0470014B1 (fr) | Disjoncteur éléctrique à arc tournant et à autoexpansion | |
| EP0385886B1 (fr) | Disjoncteur à arc tournant et à effet centrifuge du gaz d'extinction | |
| EP0388323B1 (fr) | Disjoncteur électrique à auto-expansion et à gaz isolant | |
| EP0538157A1 (fr) | Disjoncteur hybride à bobine de soufflage axial | |
| FR2814588A1 (fr) | Interrupteur de circuit possedant une fonction hybride d'extinction d'arc | |
| WO2012007447A1 (fr) | Appareillage de chambre de coupure pour deux electrodes de contact confinees | |
| EP0179834B1 (fr) | Dispositif interrupteur a ecran de coupure d'arc | |
| FR2803686A1 (fr) | Pole pour disjoncteur electrique, muni d'une chambre d'extinction d'arc a ecrans dielectriques | |
| EP0240397A1 (fr) | Disjoncteur électrique à autoexpansion et à arc tournant | |
| CA1239432A (fr) | Dispositif d'extinction d'arc pour appareillage electrique a isolement gazeux | |
| FR2558299A1 (fr) | Disjoncteur a haute tension a soufflage d'arc | |
| FR2576144A1 (fr) | Disjoncteur a haute tension, a gaz comprime, a faible energie de manoeuvre | |
| US4983789A (en) | High- and medium-voltage gas circuit breakers | |
| EP0004213B1 (fr) | Dispositif d'extinction d'arc à autosoufflage pneumatique et magnétique | |
| CA2023525C (fr) | Disjoncteur a moyenne tension autosoufflage | |
| EP0079293B1 (fr) | Interrupteur modulaire à soufflage par champ magnétique et à refroidissement par gaz | |
| FR2610763A1 (fr) | Disjoncteur a faible energie de manoeuvre | |
| FR2490397A2 (fr) | Disjoncteur a haute tension a arc tournant et autosoufflage | |
| EP1612823B1 (fr) | Dispositif de refroidissement passif pour un appareillage électrique et appareillage électrique comprenant ce dispositif | |
| FR2575323A1 (fr) | Disjoncteur a gaz comprime | |
| EP0101371B1 (fr) | Interrupteur électrique à arc tournant | |
| EP0526296B1 (fr) | Disjoncteur à haute et moyenne tension à gaz de soufflage | |
| FR2623657A1 (fr) | Disjoncteur a autosoufflage par expansion de gaz isolant, equipe d'un ecran de repartition de champ electrique | |
| CH634687A5 (en) | Rotating-arc and self-blasting high-voltage circuit breaker | |
| EP0045229B1 (fr) | Interrupteur à arc tournant double |
Legal Events
| Date | Code | Title | Description |
|---|---|---|---|
| PUAI | Public reference made under article 153(3) epc to a published international application that has entered the european phase |
Free format text: ORIGINAL CODE: 0009012 |
|
| AK | Designated contracting states |
Kind code of ref document: A1 Designated state(s): BE CH DE ES FR GB IT LI SE |
|
| 17P | Request for examination filed |
Effective date: 19920707 |
|
| 17Q | First examination report despatched |
Effective date: 19940314 |
|
| GRAA | (expected) grant |
Free format text: ORIGINAL CODE: 0009210 |
|
| AK | Designated contracting states |
Kind code of ref document: B1 Designated state(s): BE CH DE ES FR GB IT LI SE |
|
| PG25 | Lapsed in a contracting state [announced via postgrant information from national office to epo] |
Ref country code: IT Free format text: LAPSE BECAUSE OF FAILURE TO SUBMIT A TRANSLATION OF THE DESCRIPTION OR TO PAY THE FEE WITHIN THE PRE;WARNING: LAPSES OF ITALIAN PATENTS WITH EFFECTIVE DATE BEFORE 2007 MAY HAVE OCCURRED AT ANY TIME BEFORE 2007. THE CORRECT EFFECTIVE DATE MAY BE DIFFERENT FROM THE ONE RECORDED.SCRIBED TIME-LIMIT Effective date: 19941228 Ref country code: ES Free format text: THE PATENT HAS BEEN ANNULLED BY A DECISION OF A NATIONAL AUTHORITY Effective date: 19941228 Ref country code: GB Effective date: 19941228 |
|
| REF | Corresponds to: |
Ref document number: 69106266 Country of ref document: DE Date of ref document: 19950209 |
|
| PG25 | Lapsed in a contracting state [announced via postgrant information from national office to epo] |
Ref country code: SE Effective date: 19950328 |
|
| GBV | Gb: ep patent (uk) treated as always having been void in accordance with gb section 77(7)/1977 [no translation filed] |
Effective date: 19941228 |
|
| PG25 | Lapsed in a contracting state [announced via postgrant information from national office to epo] |
Ref country code: LI Effective date: 19950731 Ref country code: BE Effective date: 19950731 Ref country code: CH Effective date: 19950731 |
|
| PLBE | No opposition filed within time limit |
Free format text: ORIGINAL CODE: 0009261 |
|
| STAA | Information on the status of an ep patent application or granted ep patent |
Free format text: STATUS: NO OPPOSITION FILED WITHIN TIME LIMIT |
|
| 26N | No opposition filed | ||
| BERE | Be: lapsed |
Owner name: MERLIN GERIN Effective date: 19950731 |
|
| REG | Reference to a national code |
Ref country code: CH Ref legal event code: PL |
|
| PGFP | Annual fee paid to national office [announced via postgrant information from national office to epo] |
Ref country code: FR Payment date: 20040704 Year of fee payment: 14 |
|
| PGFP | Annual fee paid to national office [announced via postgrant information from national office to epo] |
Ref country code: DE Payment date: 20040709 Year of fee payment: 14 |
|
| PG25 | Lapsed in a contracting state [announced via postgrant information from national office to epo] |
Ref country code: DE Free format text: LAPSE BECAUSE OF NON-PAYMENT OF DUE FEES Effective date: 20060201 |
|
| PG25 | Lapsed in a contracting state [announced via postgrant information from national office to epo] |
Ref country code: FR Free format text: LAPSE BECAUSE OF NON-PAYMENT OF DUE FEES Effective date: 20060331 |
|
| REG | Reference to a national code |
Ref country code: FR Ref legal event code: ST Effective date: 20060331 |