EP0442384A2 - Door fitting for doors equipped with mortise profile cylinder lock - Google Patents
Door fitting for doors equipped with mortise profile cylinder lock Download PDFInfo
- Publication number
- EP0442384A2 EP0442384A2 EP91101720A EP91101720A EP0442384A2 EP 0442384 A2 EP0442384 A2 EP 0442384A2 EP 91101720 A EP91101720 A EP 91101720A EP 91101720 A EP91101720 A EP 91101720A EP 0442384 A2 EP0442384 A2 EP 0442384A2
- Authority
- EP
- European Patent Office
- Prior art keywords
- plate
- fitting
- chamber
- particular according
- cylinder core
- Prior art date
- Legal status (The legal status is an assumption and is not a legal conclusion. Google has not performed a legal analysis and makes no representation as to the accuracy of the status listed.)
- Granted
Links
- 230000001681 protective effect Effects 0.000 claims abstract description 16
- 238000003780 insertion Methods 0.000 claims abstract description 4
- 230000037431 insertion Effects 0.000 claims abstract description 4
- 238000009434 installation Methods 0.000 claims description 27
- 125000006850 spacer group Chemical group 0.000 claims description 19
- 238000005553 drilling Methods 0.000 abstract description 13
- 239000000463 material Substances 0.000 description 11
- 230000015572 biosynthetic process Effects 0.000 description 3
- 238000004519 manufacturing process Methods 0.000 description 3
- 230000002441 reversible effect Effects 0.000 description 3
- 230000001427 coherent effect Effects 0.000 description 2
- 238000006073 displacement reaction Methods 0.000 description 2
- 230000002349 favourable effect Effects 0.000 description 2
- 238000000926 separation method Methods 0.000 description 2
- 238000010276 construction Methods 0.000 description 1
- 230000007423 decrease Effects 0.000 description 1
- 238000011161 development Methods 0.000 description 1
- 230000018109 developmental process Effects 0.000 description 1
- 239000013013 elastic material Substances 0.000 description 1
- 230000001771 impaired effect Effects 0.000 description 1
- 238000000034 method Methods 0.000 description 1
- 230000002093 peripheral effect Effects 0.000 description 1
- 238000010079 rubber tapping Methods 0.000 description 1
Images
Classifications
-
- E—FIXED CONSTRUCTIONS
- E05—LOCKS; KEYS; WINDOW OR DOOR FITTINGS; SAFES
- E05B—LOCKS; ACCESSORIES THEREFOR; HANDCUFFS
- E05B15/00—Other details of locks; Parts for engagement by bolts of fastening devices
- E05B15/02—Striking-plates; Keepers; Bolt staples; Escutcheons
-
- E—FIXED CONSTRUCTIONS
- E05—LOCKS; KEYS; WINDOW OR DOOR FITTINGS; SAFES
- E05B—LOCKS; ACCESSORIES THEREFOR; HANDCUFFS
- E05B15/00—Other details of locks; Parts for engagement by bolts of fastening devices
- E05B15/16—Use of special materials for parts of locks
- E05B15/1614—Use of special materials for parts of locks of hard materials, to prevent drilling
-
- E—FIXED CONSTRUCTIONS
- E05—LOCKS; KEYS; WINDOW OR DOOR FITTINGS; SAFES
- E05B—LOCKS; ACCESSORIES THEREFOR; HANDCUFFS
- E05B15/00—Other details of locks; Parts for engagement by bolts of fastening devices
- E05B15/16—Use of special materials for parts of locks
- E05B15/1614—Use of special materials for parts of locks of hard materials, to prevent drilling
- E05B2015/1628—Free-rotating protecting covers or discs
Definitions
- the invention relates to a fitting according to the preamble of the main claim.
- a fitting of the one in question is known from DE-GM 87 10 518, the outer door plate being designed like a tub and carrying a lower plate made of high-strength material lying on the tub floor. Both the latter and the trough base have an aligned opening for receiving the plate forming a circumferential collar at the rear. This also consists of a high-strength material.
- the manufacturing cost of such an outside door sign is large and more expensive a corresponding fitting.
- the object of the invention is based on the object of designing a generic fitting of simple construction in such a way that a high protection against drilling is realized when an attempt is made to drill the locking cylinder.
- the solution according to the invention takes into account the fact that in drilling tests mostly work is carried out with hand-operated drilling devices or battery-operated drilling machines which exclude the use of drills of larger diameter. Therefore, the section in connection with the additional clearance always leads to a deflection of the drill. It is advisable to adapt the additional free space to the dimensions of the chamber free space. Due to the identical sizes of these two, there is a simplified production, since identical tools can be used to create both free spaces. If the plate is reversible and the chamber with the additional clearance is positioned accordingly, two different installation positions of the profile locking cylinder can be created while realizing two differently large spacing dimensions between the handle pin and the cylinder core axis of rotation when using only a single door outer shield.
- the outside door sign can be placed at a distance of 72 mm or 92 mm.
- the plate must be inserted into the opening of the outside door sign in the appropriate turned position.
- the profile cylinder flange always points downwards. This means that the profile locking cylinder in the Form-fitting installation opening of the mortise lock can be used.
- the profile cylinder flange protrudes into one or the other chamber space, while the lock cylinder core area is always in the chamber space surrounding it. A chamber free space therefore remains unused and thus forms the additional free space.
- the turning axis of the plate extends to the middle of the difference in distance between the two possible spacing dimensions.
- the fitting can also be adapted to protrusions of the profile locking cylinder that protrude to different extents from the outer surface of the door.
- a collar provided on the back of the plate in cooperation with the appropriately designed opening, prevents the plate from being torn out if the holding force of the grub screws should be overcome.
- Such a measure is taken that the tapped holes lie within the opening of the outer door plate even when the plate is in the largest forward position over the door plate front surface and accordingly do not allow any unauthorized manipulation.
- a tearing out of the cylinder core with the help of the "corkscrew principle" is prevented by the protective disk, which in turn also serves as protection against drilling. So that the protective disk remains in its position, it is supported by the ring rotatably arranged in the chamber space.
- the spacer frame fulfills the task of a rough adjustment, while the fine adjustment is carried out via the threaded ring. Its correspondingly lying section forms the separation from the additional free space and serves as a sliding surface during a drilling attempt. It is understandable that drilling-resistant material is used for the ring. The fine adjustment therefore always ensures that the cylinder core protective disk can be brought in close proximity to the end face of the cylinder core.
- the spacer frame is brought to the collar in the relining position when the thickness of the door decreases.
- the backfeeding position is selected when the door is thicker. Coarse and fine adjustment are accordingly adjusted to one another in such a way that an optically favorable appearance of the same after the fitting is struck ben is.
- a coherent structural unit form the fitting plate, plate and spacer frame in that the plate or the spacer frame are overlapped by clamping screws, the heads of which protrude beyond the outer surface of screw-in sleeves of the fitting plate. This unit is manufactured before the fitting is installed. This proves to be easier when mounting the fitting plate.
- the heads of the tensioning screws do not protrude beyond the stop surface of the fitting plate, they only press the unit consisting of a plate and spacer frame against the inside of the outer door plate.
- This measure also combines the fitting with all the individual parts to form a fixed structural unit, so that there are also advantages in terms of storage or transport.
- the thickness of the frame and the thread adjustment area are coordinated so that the frame thickness is smaller than the thread adjustment area of the ring. Excessive unscrewing or screwing in of the ring should therefore never be carried out, so that the optically favorable appearance of the fitting is not impaired.
- the above-mentioned screw-in sleeves in addition to holding the screws, perform a further function in that their mutually facing flats rest on the narrow edges of the spacer frame and collar, with the result that these parts are centered. Furthermore, this measure has the advantage that the heads of the clamping screws can overlap the plate or the spacer frame sufficiently far.
- the embodiment according to the invention also takes into account distance dimensions that deviate from the standardized spacing dimensions of 72 and 92 mm. So z. B. distance between the mandrel and the cylinder core axis of 70 or 90 can be achieved in that the outer door plate a displaceable in its longitudinal direction, detectable Carriage for receiving the press mandrel. After the plate has been appropriately turned over, the slide must then be moved and then fixed while reaching the desired distance. It is not necessary to replace components. This also applies to the bearing of the inside door handle receiving the handle mandrel. A change only requires turning the bearing bush, whereby due to the eccentric arrangement of the bearing bush bore, the change in distance to the axis of rotation of the cylinder core takes place. Should z. B. the distance measure vary by 2 mm, an eccentricity of one millimeter must be carried out. In order to change the distance dimension by 2 mm, the bearing bush must be turned 180 °. The rotary positions of the bearing bush can be indicated by locking means.
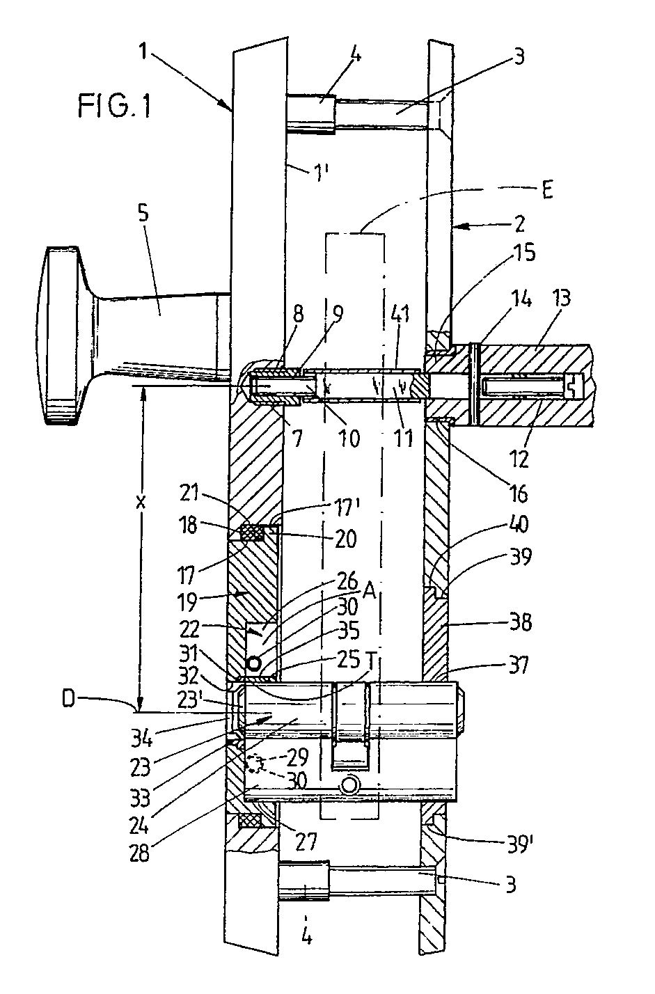
- the fitting according to the first embodiment according to FIGS. 1-7 which cannot be assigned to a door, has an elongated outer door plate 1 and a congruent inner door plate 2. Both can be connected to one another by means of two fastening screws 3 which penetrate the end regions of the inner door plate 2 and which extend from the rear of the outer door plate 1 engage outgoing threaded bushes 4.
- the latter consist of hardened material, have a thread on the outside and are screwed into an unillustrated internal thread of the outer door plate 1.
- the outer door plate 1 has an actuating handle 5 firmly connected to it.
- a threaded bushing 8 is screwed into a rear threaded bore 7 thereof, which, with a thread-free section, projects beyond the rear surface 1 'of the door outer plate by a few millimeters.
- the threaded sleeve 8 is in turn provided with an internal thread 9 and serves to receive a threaded pin 10 which is located at the free end of a presser pin 11 which is square in cross section. The latter extends beyond the inner door plate 2 and engages in a cross-sectionally adapted square opening 12 of an inner door handle 13, which is connected to the handle pin 11 in a known manner by means of a transverse pin 14.
- the inside door handle 13 in turn forms a bearing neck 15 which is rotatably arranged in a bearing bush 16 of the inside door plate 2.
- the outer door plate 1 is equipped with an oval opening 17 in plan such that its greatest length runs in the longitudinal direction of the outer door plate 1. With the formation of a step 18, the opening 17 continues into an opening area 17 ′ which is enlarged in cross section. The wall thereof runs parallel to that of the opening 17.
- a plate 19 lies in the shape of the opening 17.
- a collar 20 which is equipped with the same material and whose outline shape corresponds to that of the opening area 17 '.
- a spring body 21 which comprises plate 19 and is made of elastic material, which exerts a load on plate 19 in the direction of the outer surface of the door.
- the plate 19 inserted into the opening 17 is reversible in its plane, namely around the turning axis W which is perpendicular to the stop surface of the outer door plate 1. This means that both the narrow edges and the longitudinal edges of the opening 17 and the plate 19 have the same distance from one another Own turning axis W.
- a chamber 22 is incorporated into it to partially accommodate a profile locking cylinder 23.
- the chamber 22 is composed of a chamber space 25 comprising the circular-cylindrical locking cylinder core region 24 and two radially lying, chamber free spaces 26, 27 extending in the longitudinal center plane of the outer door plate 1, one of which in each case accommodates the profile cylinder flange 28 in a form-fitting manner and the other serves as supplementary free space A.
- the profile cylinder flange 28 extends in the chamber clearance 27.
- the profile locking cylinder 23 is connected to the plate 19 in the inserted position.
- grub screws 29 leading into the chamber free space 27.
- Two threaded bores 30, each lying in a common horizontal plane, are assigned to the chamber free spaces 26, 27.
- the grub screws 29 are then assigned only to the chamber space used in order to connect the profile locking cylinder 23 to the plate 19 to form a fixed structural unit.
- the aforementioned threaded bores 30 are incorporated beyond the collar 20 in the plate 19, so that the grub screws 29 are covered by the spring body 21 in the installed position of the plate 19 and lie in the opening 17 in each displacement position of the plate 19 relative to the outer door plate 1.
- the chamber space 25 is designed to have a smaller diameter compared to the lock cylinder core area 24 and extends into the plate 19 by a larger amount than the chamber free spaces 26, 27.
- the chamber space 25 continues with the formation of a gradation 31 into a smaller-sized key insertion opening 32.
- a rotatable protective disk 33 made of particularly resistant material is stored in the chamber space 25 comprising the cylinder core region 24 in front of the facing end face of the profile locking cylinder 23 in the chamber space 25.
- a key insertion slot 34 is provided, which is aligned with the key channel (not shown) of the cylinder core 23 'of the profile locking cylinder 23.
- the protective disk 33 is supported by a rotatably arranged ring 35 which fills the annular gap between the chamber space 25 and the lock cylinder core region 24.
- This is seated in the clamped space in the chamber space 25 and has a passage slot 36 for the profile cylinder flange 28 which can be brought into alignment with the chamber spaces 26, 27.
- the passage slot 36 is aligned with the chamber free space 27.
- the partial section T of the wall of the ring 35 opposite the passage slot 36 forms the separation from the additional free space A.
- the corresponding end face of the profile locking cylinder 23 supports the plate 19 in such a way that its front side is flush with or slightly protrudes from that of the outside door plate 1.
- the opposite end of the profile locking cylinder 23 passes through a cross-section-adapted recess 37 of a frame 38.
- the latter can be inserted into a frame 39 from the rear of the inner door plate 2.
- the frame 38 is also provided with a rear, circumferential collar 40, which dips into a larger cross-sectional area 39 'of the frame 39.
- the rear surface thereof is supported on the facing door surface.
- the front of the frame 38 is also aligned with the front surface of the inner door plate.
- FIG. 6 show that the recess 37 adapted to the outline shape of the profile locking cylinder 23 is located in the lower region of the frame 38.
- This frame 38 is used when the distance dimension x between pusher mandrel 11 and axis of rotation D of the cylinder core should be 92 mm.
- a surrounding compensating sleeve 41 is assigned to the handle pin 11, so that the handle pin 11 lies in the square opening of a corresponding nut of the mortise lock E, filling the shape.
- Mortise locks with a spacing of 92 mm usually have a square opening, which is larger than that of mortise locks with a spacing of 72 mm.
- the plate 19 is for this purpose after inserting the profile lock cylinder 23 in the turning position at the projecting end of the To put profile lock cylinder 23 that the profile cylinder flange 28 enters the chamber free space 27.
- the ring 35 must also be rotated beforehand so that its passage slot 36 is aligned with the chamber free space 27. After placing the plate, the corresponding grub screws 29 must be tightened, which then clamp the profile cylinder flange 28.
- the grub screws 29 do not protrude beyond the side wall of the plate, so that the placement of the outer door plate 1 with the interposition of the spring body 21 can be carried out without interference. Then the outside door sign can be fixed in the usual way from the inside of the door by means of the screws 3.
- the chamber clearance 26 which is not required now forms a supplementary clearance. If the attempt is made to drill the Plate 19 drilled obliquely from above above the locking cylinder, the drill tip reaches this additional space A. As soon as the drill tip hits the section T of the ring 35, which is preferably made of drill-resistant material, this inevitably leads to the drill bit running in one or the other another direction due to the supplementary clearance which extends just behind the front of the plate 19, so that the aim of piercing the locking cylinder cannot be achieved in this way.
- the width of this additional free space is at least as large as half the width of the lock cylinder core area, so that when the commonly used drilling devices and drills are used, the drill always runs.
- the plate 19 must be placed on the protruding end of the locking cylinder 23 in a position turned through 180 ° for this purpose. Then the profile cylinder flange 28 dips into the chamber clearance 26, while the other chamber clearance 27 becomes the supplementary clearance A. Likewise, the ring 35 must be rotated through 180 ° so that its passage slot 36 is in alignment with the chamber clearance 26. After the profile cylinder flange 28 has been clamped by means of the grub screws 29 which are now used, the outer door plate 1 can be pushed over the plate 19 in the manner described above and then clamped.
- the axis of rotation D of the cylinder core 23 As a result of the offset of the axis of rotation D of the cylinder core 23 'to the transverse central plane of the plate 19 or its turning axis W, after the plate 19 has been turned, the axis of rotation D is closer to the square mandrel 11 than in the first, previously described installation position, in which a distance dimension x of 92 mm was selected.
- the ring 35 with its subsection T represents protection against drilling when an obliquely directed drilling takes place and the drill is immersed in the additional clearance A, which is formed by the chamber clearance 27.
- a frame 42 which is identical in its outer shape to the frame 38 is to be inserted into the surround of the inner door plate 2.
- This frame 42 is provided with a recess 43 which is offset upwards by the difference between the two distance dimensions x, y.
- the mortise lock E ' which specifies this installation position of 72 mm, has a nut with a square opening of smaller cross section, which is adapted to that of the handle pin 11. Then the compensating sleeve 41 is not used.
- a corresponding offset of the chamber 22 to the turning axis W bridges a difference of 20 mm between the two spacing dimensions by appropriate installation of the plate 19.
- the fitting also has an elongated outer door shield 44 which, in contrast to that of the first embodiment, has a peripheral outer edge 45 is designed trough-shaped. Threaded bushings 47 directed inwards from the end regions of the trough base 46 for receiving fastening screws (not illustrated) which connect the inside door plate to the outside door plate.
- the outer door shield 44 has a handle 48 that is firmly connected to it on the outside.
- a nut 49 lying on the inside of the tub is used to fix the handle 48, and the handle neck 51 is screwed onto a threaded extension 50 passing through the tub 46.
- the thread extension 50 forms an internal thread and serves to receive a press mandrel, not shown.
- the trough bottom 46 of the outer door plate 44 is provided with an opening 52 which is elongated in plan, the greatest length of which likewise runs in the longitudinal direction of the outer door plate 44.
- the opening 52 there is a plate 54 fitted with a collar 53 that is equipped with the same material.
- the plate 54 can be turned in its plane around the turning axis W running perpendicular to the stop surface of the outer door plate 44.
- the collar 53 of the plate 54 is supported directly on the inner surface of the tub floor 46.
- the narrow edges 55 of the collar 53 lie against mutually facing flats 56 of screw-in sleeves 57, which start from the trough base 46 in the same material, but end at a distance from the stop face of the outer door plate 44.
- the collar 53 is lined with a spacer frame 58. Its frame opening 59 is chosen so large that the plate 54 can pass through it in a shape-fitting manner.
- the spacing frame 58 located in its backfeeding position protrudes slightly the one end of the screw-in sleeves 57, the flats 56 of which also lie flush against the narrow edges of the spacer frame 58.
- Tensioning screws 61 engaging in the internal thread 60 of the screwing-in bushes clamp the collar 53 against the trough bottom 46 via the spacing frame 58. This is done via the heads 61 'of the tensioning screws 61 which protrude with an edge region over the flats 56 of the screw-in bushings and with press their rear surface against the spacer frame 58, cf. 11 and 12 in particular. It can also be seen from these figures that the heads 61 'of the tensioning screws 61 do not protrude beyond the stop surface of the outer door plate 44.
- the plate 54 protrudes over the front surface of the outer door plate 46. From the back of the plate 54, a chamber 62 is incorporated into this for receiving the corresponding front end of the profile locking cylinder 23 shown in broken lines.
- This chamber 62 is also composed of a chamber space 63 comprising the circular cylindrical locking cylinder core region 24 and two chamber free spaces 64, 65 lying radially to it and extending in the longitudinal center plane of the outer door shield 44.
- a chamber space 63 comprising the circular cylindrical locking cylinder core region 24 and two chamber free spaces 64, 65 lying radially to it and extending in the longitudinal center plane of the outer door shield 44.
- One of these accommodates the profile cylinder flange 28 in a form-fitting manner, while the other forms the additional free space A.
- the profile cylinder flange 28 is located in the chamber free space 65.
- a threaded bore 66 is used which is arranged centrally to the chamber free spaces 64, 65 and penetrates the plate 54 over its entire thickness Chamber clearances 64, 65, on the other hand, end at a short distance in front of the front of the plate 54.
- a first ring 67 provided with an external thread is rotatably seated in the chamber space 63 designed as a threaded bore 66.
- a thread pitch of 1 mm is selected.
- Drill-proof material is used for the ring 67.
- the length of the ring 67 is slightly less than the total thickness of the outer door shield 44.
- a bore 68 is machined from the rear end of the ring 67 and extends only over a partial length thereof. With the formation of a step 69, the bore 68 merges into a bore section 70 of smaller diameter.
- the wall of the bore 67 is provided with a receiving slot 71 which is open at the edge and extends from the rear end of the ring 67 and extends only over a partial length thereof. The width of the receiving slot 71 corresponds to the width of the chamber free spaces 64, 65 or that of the profile cylinder flange 28.
- the second ring 72 is preferably pressed in or glued to the first ring 67 so that they form a coherent, rotatable structural unit.
- a radial slot 73 of the same is aligned with the receiving slot 71 of the first ring 67.
- the aforementioned second ring 72 extends with its inner end up to a cylindrical core protective disk 74 which can be rotated in the first ring 67.
- the protective disk 74 which is made of material which is resistant to drilling, has a smaller-diameter section 75 which is in the bore section 70 of the first ring 67 rotatably.
- the section 75 continues into a larger diameter collar 76, the diameter of which corresponds to the ring bore 68.
- its outer end face is supported on the slot base of the receiving slot 71, so that a rotational play remains between the protective disk 74 mounted on the front of the ring 72 and the locking cylinder end face.
- the protective disk 74 forms a receiving recess 77 for the protrusion of the cylinder core 23 'over the corresponding end of the lock cylinder.
- the protective disk 74 is equipped with a correspondingly large radial slot 78.
- a distance dimension x of 92 mm between the press mandrel and the axis of rotation D of the cylinder core 23 ' is realized.
- a distance dimension y according to FIG. 13 can be set by rotating the plate 54 in its plane around the turning axis W by 180 °. It is understandable that the clamping screws 61 have to be loosened for this purpose.
- the unused chamber free space 64 or 65 forms the additional free space A.
- the section T of the wall of the ring 67, which partial section T serves the additional free space 64 or 65 from the chamber, serves as a protection against drilling. Separates room 63. As soon as the profile locking cylinder 23 is enclosed at the end by the chamber 62, the first ring 67 is also secured against rotation, so that it cannot be brought out of position from the outside.
- Recess 80 running in the longitudinal direction. This is composed of the lower section 80 'and the subsequent flatter section 80''. At least the bottom of the flatter section 80 'runs parallel to the stop surface 1' of the outer door plate 1.
- a carriage 81 lies on the bottom of the flatter section 80 ''. Its width corresponds to that of the recess 80. The length of the slide 81 is, however, chosen to be shorter. In the upper area, the slide 81 is penetrated by a threaded bore 7 'into which the threaded bushing 8 is now screwed. With a thread-free section, this projects beyond the rear surface of the slide 81 or that of the outer door slide 1.
- the rear surface of the slide 81 is offset to the rear surface or stop surface 1 'of the outer door plate by a small amount in the inward direction, cf. Figure 16.
- the threaded bushing 8 is also provided with an internal thread 9 into which the threaded pin 10 of the presser pin 11 is immersed. From Figure 16 it can also be seen that the threaded bushing 8 protrudes into the deeper section 80 'of the recess 80 such that the slide 81 - seen in the longitudinal direction of the outer door plate - has a play which is at least as great as the length difference between the recess 80 and the slide 81.
- An elongated hole 82 is machined in the slide 81 below the threaded bore 7 '. This is designed in such a way that it can accommodate the head of a countersunk screw 83. Its shaft engages in a threaded hole 84 in the outer door plate 1.
- the position of the slide 81 can be fixed by means of this countersunk screw 83. According to FIG. 16, the position of the slide 81 is selected so that the distance between the handle mandrel axis and the cylinder core axis of rotation D is 92 mm.
- the inner door handle 13 protrudes with its bearing neck 15 into the bore 85 of a bearing bush 86.
- the bearing bush bore 85 is arranged eccentrically to the center of the bearing bush M. In the exemplary embodiment, the eccentricity is one millimeter.
- the bearing bush 86 is rotatably seated in a receiving bore 87 in the inner door plate 2.
- the bearing bush 86 On the outer circumference, the bearing bush 86 carries a longitudinal web 88 which, according to FIG. 19, engages in a recess 89 extending from the receiving bore 87. The latter extends at the level of the longitudinal axis of the inner door plate 2. A noticeable locking of the bearing bush 86 is achieved through this recess 89.
- a further recess 90 is provided in a diametrical opposite to the recess 89.
- the longitudinal web 88 engages in this when the bearing bush 86 is rotated by 180 °.
- the distance dimension is 92 mm. If the same is to be reduced to 90 mm, the countersunk screw 83 must be loosened on the outside door plate 1 before the same and the slide 81 displaced in the direction of the cylinder core axis of rotation D. The carriage displacement is limited in that the countersunk screw 83 acts on the corresponding transverse edge of the recess 80. Then the carriage 81 has traveled a distance of z equal to 2 mm. There is then a distance dimension of x 'between the handle mandrel axis of rotation D and the cylinder core axis of rotation, ie 90 mm, cf. Fig. 18. So that the carriage 81 remains in this set position, the countersunk screw 83 must be brought into the clamping position.
- the bearing bush 86 of the inner door plate 2 is to be turned through 180 °. Since the eccentricity is 1 mm, it corresponds to z-half. After turning 180 ° the pusher mandrel axis of rotation moves z equal to 2 mm in the direction of the cylinder core axis of rotation while realizing the distance dimension x ', which is 90 mm, cf. Fig. 20.
- This process described above can also be carried out if the distance between the handle pin axis of rotation and the cylinder core axis of rotation is 72 mm. This makes it possible to reduce the distance from 72 mm to 70 mm. It is therefore possible to implement four possible spacing measures using one and the same fitting.
Landscapes
- Hinges (AREA)
Abstract
Die Erfindung betrifft einen Beschlag für mit Einsteckschlössern und Profil-Schließzylindern (23) ausgerüstete Türen, mit einem Türaußenschild (1), welches in einer Öffnung (17) eine die Stirnseite des Profil-Schließzylinders (23) unter Freilassung einer Schlüsseleinstecköffnung abdeckende Platte (19) aufweist, in welcher eine Kammer (22) vorgesehen ist zur Aufnahme des Schließzylinder-Kernbereiches (24) und seines radial dazu abstehenden Flansches (28), ferner mit einer vor dem Schließzylinder-Kernbereich angeordneten Schutzscheibe (33). Zwecks Erzielung einer Anbohrsicherung bei einfacher Bauform schlägt die Erfindung vor, daß die Platte (19) ausgehend von dem den Schließzylinder-Kernbereich (24) umfaßenden Kammer-Raum (25) in Gegenüberlage zum den Profilzylinderflansch (28) aufnehmenden Kammer-Freiraum (26 bzw. 27) einen Ergänzungs-Freiraum (A) besitzt, der durch den Teilabschnitt (T) der Wand eines Ringes (35) vom Schließzylinder-Kernbereich (24) abgetrennt ist und mindestens die halbe Breite des Schließzylinder-Kernbereiches (24) aufweist. The invention relates to a fitting for doors equipped with mortise locks and profile locking cylinders (23), with an outer door plate (1) which, in an opening (17), covers a plate (19) covering the end face of the profile locking cylinder (23) while leaving a key insertion opening free ), in which a chamber (22) is provided for receiving the lock cylinder core area (24) and its radially projecting flange (28), furthermore with a protective disk (33) arranged in front of the lock cylinder core area. In order to achieve a drilling protection with a simple design, the invention proposes that the plate (19), starting from the chamber space (25) comprising the lock cylinder core area (24), is opposite the chamber free space (26 or . 27) has an additional free space (A) which is separated from the lock cylinder core area (24) by the section (T) of the wall of a ring (35) and has at least half the width of the lock cylinder core area (24).
Description
Die Erfindung betrifft einen Beschlag gemäß Gattungsbegriff des Hauptanspruchs.The invention relates to a fitting according to the preamble of the main claim.
Ein Beschlag der in Rede stehenden ist bekannt aus dem DE-GM 87 10 518, wobei das Türaußenschild wannenartig gestaltet ist und am Wannenboden aufliegend ein Unterschild aus hochfestem Material trägt. Sowohl letzteres als auch der Wannenboden besitzen eine zueinander fluchtende Öffnung zur Aufnahme der rückwärtig einen umlaufenden Kragen ausbildenden Platte. Auch diese besteht aus einem hochfesten Material. Der Herstellungsaufwand eines derartigen Türaußenschildes ist groß und verteuert einen entsprechenden Beschlag.A fitting of the one in question is known from DE-GM 87 10 518, the outer door plate being designed like a tub and carrying a lower plate made of high-strength material lying on the tub floor. Both the latter and the trough base have an aligned opening for receiving the plate forming a circumferential collar at the rear. This also consists of a high-strength material. The manufacturing cost of such an outside door sign is large and more expensive a corresponding fitting.
Dem Gegenstand der Erfindung liegt die Aufgabe zugrunde, einen gattungsgemäßen Beschlag von einfachem Aufbau so auszugestalten, daß ein hoher Anbohrschutz bei einem versuchten Anbohren des Schließzylinders verwirklicht ist.The object of the invention is based on the object of designing a generic fitting of simple construction in such a way that a high protection against drilling is realized when an attempt is made to drill the locking cylinder.
Gelöst wird diese Aufgabe durch die im Kennzeichen des Patentanspruches 1 angegebenen Merkmale.This object is achieved by the features specified in the characterizing part of
Die Unteransprüche betreffen vorteilhafte Weiterbildungen der erfinderischen Lösung.The subclaims relate to advantageous developments of the inventive solution.
Zufolge derartiger Ausgestaltung ist ein gattungsgemäßer Beschlag angegeben, welcher sich bei einfachem Aufbau durch einen hohen Sicherheitswert auszeichnet. Auf ein Unterschild kann nun verzichtet werden, was zu einer Kosteneinsparung bei der Herstellung des Beschlages führt. Bei einem in Richtung des Profil-Schließzylinderrückens weisenden, schräg gerichteten Anbohrversuch gelangt die Bohrerspitze ohne größeren Widerstand in den Ergänzungs-Freiraum der Platte und stößt dann auf den Teilabschnitt der Wand des Ringes, welcher den Ergänzungs-Freiraum vom Schließzylinder-Kernbereich abtrennt. Da dieser Teilabschnitt gerundet ist und der Ergänzungs-Freiraum eine größere Breite besitzt, führt dies beim Auftreffen der Bohrerspitze auf den Teilabschnitt zu einem zwangsläufigen Verlaufen des Bohrers. Der Schließzylinder-Kernbereich wird nicht getroffen. Die erfindungsgemäße Lösung berücksichtigt die Tatsache, daß bei Einbohrversuchen zumeist mit handbetriebenen Bohrgeräten oder akkubetriebenden Bohrmaschinen gearbeitet wird, die den Einsatz von Bohrern großeren Durchmessers ausschließen. Daher führt stets der Teilabschnitt in Verbindung mit dem Ergänzungs-Freiraum zu einem Auslenken des Bohrers. Es bietet sich an, den Ergänzungs-Freiraum den Abmessungen des Kammer-Freiraumes anzupassen. Aufgrund der identischen Größen dieser beiden ergibt sich eine vereinfachte Fertigung, da zur Schaffung beider Freiräume identische Werkzeuge eingesetzt werden können. Sieht man eine Umwendbarkeit der Platte vor und positioniert die Kammer mit dem Ergänzungs-Freiraum in der entsprechenden Weise, lassen sich zwei unterschiedliche Einbaustellungen des Profil-Schließzylinders unter Verwirklichung zweier verschieden großer Abstandmaße zwischen Drückerdorn und Zylinderkern-Drehachse schaffen bei Einsatz nur eines einzigen Türaußenschildes. Zum Beispiel kann das Türaußenschild auf ein Abstandsmaß von 72 mm oder 92 mm abgestellt werden. Je nach angeforderter Einbaustellung ist die Platte in entsprechend gewendeter Lage in die Öffnung des Türaußenschildes einzusetzen. Trotz einer Umwendbarkeit der Platte um 180° in ihrer Ebene weist der Profilzylinderflansch stets nach unten. Das bedeutet, daß der Profil-Schließzylinder in die formangepaßte Einbauöffnung des Einsteckschlosses einsetzbar ist. Je nach Einbaustellung ragt der Profilzylinderflansch in den einen oder anderen Kammer-Freiraum, während sich der Schließzylinder-Kernbereich stets in dem ihn umfassenden Kammer-Raum befindet. Ein Kammer-Freiraum bleibt daher unbenutzt und bildet dadurch den Ergänzungs-Freiraum. Soll das Türaußenschild auf die genormten Abstandsmaße von 72 und 92 mm abgestellt sein, so erstreckt sich die Wendeachse der Platte auf Mitte der Abstandsdifferenz zwischen den beiden möglichen Abstandsmaßen. Auch ist der Beschlag an unterschiedlich weit vorstehende Überstände des Profil-Schließzylinders über die Türaußenfläche anpaßbar. Bei einer Montage des Beschlages wird nach Einbauen des Schließzylinders die Platte auf den Vorstand in der entsprechenden Wendestellung aufgesetzt und mittels der Madenschrauben fixiert. Dann erfolgt das Aufsetzen des Türaußenschildes, wobei die Platte in die Öffnung des Türaußenschildes eintaucht. Einhergehend stellt sich die Position zwischen Türschild-Vorderfläche und Vorderseite der Platte ein. Ein an der Platte rückseitig vorgesehener Kragen verhindert im Zusammenwirken mit der entsprechend gestalteten Öffnung ein Herausreißen der Platte, falls die Haltekraft der Madenschrauben überwunden werden sollte. Es ist eine solche Maßnahme getroffen, daß die Gewindebohrungen auch bei größter Vortrittsstellung der Platte über die Türschild-Vorderfläche innerhalb der Öffnung des Türaußenschildes liegen und demgemäß keine unbefugten Manipulationen zulassen. Ein Herausreißen des Zylinderkerns unter Zuhilfenahme des "Korkenzieher-Prinzips" ist durch die Schutzscheibe verhindert, die ihrerseits auch als Anbohrschutz dient. Damit die Schutzscheibe in ihrer Lage verbleibt, ist sie von dem in dem Kammer-Raum drehbar angeordneten Ring abgestützt. Dieser ist je nach Einbaustellung bzw. gewähltem Abstandmaß zwischen Drükkerdorn und Drehachse des Zylinderkerns so zu verdrehen, daß der ringseitige Durchtrittsschlitz in fluchtende Lage zu dem Kammer-Freiraum gelangt und den Durchtritt des Zylinderflansches gestattet. Soll ebenfalls nur ein einziges Türinnenschild trotz zweier Einbaustellungen Verwendung finden, so sind diesem zwei Schließzylinder-Rahmen zugeordnet. Der eine Rahmen ist dann in der einen Einbaustellung der Platte und der andere Rahmen in der anderen Einbaustellung der Platte in die zugehörige Fassung des Türinnenschildes einsetzbar. Optimiert wird der Einsatzbereich des Beschlages noch dadurch, daß die Platte den mit einer Zylinderkern-Schutzscheibe augestatteten gewindeverlagerbaren ersten Ring zur Aufnahme eines zweiten Ringes trägt und einem Distanzrahmen zugeordnet ist. Dieser ist von einer Unterfütterungsposition zum Kragen der Platte umsetzbar in eine Hinterfütterungsposition der Platte. Hierdurch ist es in einfacher Weise möglich, gewisse Dickentoleranzen der Tür auszugleichen, so daß sich eine insgesamt weitgehende Anpassung des Beschlages ergibt. Der Distanzrahmen erfüllt die Aufgabe einer Grobjustierung, während die Feinjustierung über den gewindeverlagerbaren Ring vorgenommen wird. Dessen entsprechend liegender Teilabschnitt bildet die Abtrennung zum Ergängzungs-Freiraum und dient als Abgleitfläche bei einem Anbohrversuch. Es ist verständlich, daß für den Ring anbohrfestes Material verwendet wird. Durch die Feinjustrierung ist daher stets gewährleistet, daß die Zylinderkern-Schutzscheibe in unmittelbare Nähe zur Zylinderkern-Stirnfläche bringbar ist. Der Distanzrahmen wird in die Unterfütterungsposition zum Kragen gebracht, wenn die Dicke der Tür sich verringert. Die Hinterfütterungsposition wird dagegen bei größerer Dicke der Tür gewählt. Grob- und Feinverstellung sind demgemäß so aufeinander abgestellt, daß nach Anschlagen des Beschlages auch ein optisch günstiges Aussehen desselben gege ben ist. Eine zusammenhängende Baueinheit bilden Beschlagschild, Platte und Distanzrahmen dadurch, daß die Platte oder der Distanzrahmen von Spannschrauben übergriffen sind, deren Köpfe über die Mantelfläche von Schrauben-Eindrehbüchsen des Beschlagschildes überstehen. Vor der Montage des Beschlages wird diese Einheit hergestellt. Dies erweist sich beim Montieren des Beschlagschildes als arbeitserleichternd. Die Köpfe der Spannschrauben überragen die Anschlagfläche des Beschlagschildes nicht, sondern sie drücken ausschließlich die aus Platte und Distanzrahmen bestehende Baueinheit gegen die Innenrückseite des Türaußenschildes. Auch wird durch diese Maßnahme der Beschlag mit sämtlichen Einzelteilen zu einer festen Baueinheit zusammengefaßt, so daß sich ebenfalls Vorteile bei der Lagerhaltung bzw. beim Transport ergeben. Die Dicke des Rahmens und der Gewindeverstellbereich sind so aufeinander abgestimmt, daß die Rahmendicke kleiner ist als der Gewindeverstellbereich des Rings. Ein zu weites Heraus- bzw. Hineindrehen des Rings ist daher niemals vorzunehmen, so daß das optisch günstige Aussehen des Beschlages nicht beeinträchtigt wird. Die vorgenannten Schrauben-Eindrehbüchsen erfüllen neben der Aufnahme der Schrauben eine weitere Funktion dadurch, indem ihre einander zugekehrten Abflachungen an den Schmalkanten von Distanzrahmen und Kragen anliegen unter Erzielung einer Zentrierung dieser Teile. Ferner bringt diese Maßnahme den Vorteil, daß die Köpfe der Spannschrauben in Spannstellung die Platte oder den Distanzrahmen genügend weit übergreifen können. Die erfindungsgemäße Ausgestaltung berücksichtigt ferner von den genormten Abstandsmaßen von 72 und 92 mm abweichende Abstandsmaße. So können z. B. Abstandsmaße zwischen Drückerdorn und Zylinderkernachse von 70 bzw. von 90 dadurch erreicht werden, daß das Türaußenschild einen in dessen Längsrichtung verschieblichen, festellbaren Schlitten zur Aufnahme des Drückerdorns besitzt. Nach entsprechendem Umwenden der Platte ist dann der Schlitten zu verschieben und anschließend festzulegen unter Erreichen des gewünschten Abstandsmaßes. Ein Auswechseln von Bauteilen ist hierzu nicht erforderlich. Dies gilt auch für die Lagerstelle des den Drückerdorn aufnehmenden Türinnendrückers. Eine Umstellung verlangt ausschließlich das Verdrehen der Lagerbüchse, wobei aufgrund der exzentrischen Anordnung der Lagerbüchsen-Bohrung die Abstandsänderung zur Zylinderkern-Drehachse erfolgt. Soll z. B. das Abstandsmaß um 2 mm variieren, so ist eine Exzentrizität von einem Millimeter vorzunehmen. Zwecks Änderung des Abstandsmaßes um 2 mm ist dann eine 180°-Drehung der Lagerbüchse durchzuführen. Die Drehstellungen der Lagerbüchse können durch Rastmittel angezeigt werden.As a result of such a configuration, a generic fitting is specified, which is characterized by a high security value with a simple structure. A lower plate can now be dispensed with, which leads to cost savings in the manufacture of the fitting. With one in the direction of the profile lock cylinder back Pointing, obliquely directed tapping attempt, the drill tip reaches the supplementary free space of the plate without greater resistance and then encounters the section of the wall of the ring which separates the supplementary free space from the lock cylinder core area. Since this section is rounded and the additional free space has a greater width, this leads to an inevitable running of the drill when the drill tip hits the section. The lock cylinder core area is not hit. The solution according to the invention takes into account the fact that in drilling tests mostly work is carried out with hand-operated drilling devices or battery-operated drilling machines which exclude the use of drills of larger diameter. Therefore, the section in connection with the additional clearance always leads to a deflection of the drill. It is advisable to adapt the additional free space to the dimensions of the chamber free space. Due to the identical sizes of these two, there is a simplified production, since identical tools can be used to create both free spaces. If the plate is reversible and the chamber with the additional clearance is positioned accordingly, two different installation positions of the profile locking cylinder can be created while realizing two differently large spacing dimensions between the handle pin and the cylinder core axis of rotation when using only a single door outer shield. For example, the outside door sign can be placed at a distance of 72 mm or 92 mm. Depending on the installation position requested, the plate must be inserted into the opening of the outside door sign in the appropriate turned position. In spite of the plate being reversible by 180 ° in its plane, the profile cylinder flange always points downwards. This means that the profile locking cylinder in the Form-fitting installation opening of the mortise lock can be used. Depending on the installation position, the profile cylinder flange protrudes into one or the other chamber space, while the lock cylinder core area is always in the chamber space surrounding it. A chamber free space therefore remains unused and thus forms the additional free space. If the outer door sign should be set to the standardized spacing dimensions of 72 and 92 mm, the turning axis of the plate extends to the middle of the difference in distance between the two possible spacing dimensions. The fitting can also be adapted to protrusions of the profile locking cylinder that protrude to different extents from the outer surface of the door. When installing the fitting, after installing the locking cylinder, the plate is placed on the board in the appropriate turning position and fixed using the grub screws. Then the outer door plate is put on, the plate being immersed in the opening of the outer door plate. The position between the front of the door plate and the front of the panel adjusts accordingly. A collar provided on the back of the plate, in cooperation with the appropriately designed opening, prevents the plate from being torn out if the holding force of the grub screws should be overcome. Such a measure is taken that the tapped holes lie within the opening of the outer door plate even when the plate is in the largest forward position over the door plate front surface and accordingly do not allow any unauthorized manipulation. A tearing out of the cylinder core with the help of the "corkscrew principle" is prevented by the protective disk, which in turn also serves as protection against drilling. So that the protective disk remains in its position, it is supported by the ring rotatably arranged in the chamber space. This is depending on the installation position or the selected distance between the press mandrel and to rotate the axis of rotation of the cylinder core in such a way that the annular passage slot comes into alignment with the chamber clearance and allows the cylinder flange to pass through. If only a single inner door plate is to be used despite two installation positions, two lock cylinder frames are assigned to it. One frame can then be inserted in the one installation position of the panel and the other frame in the other installation position of the panel in the associated version of the inner door plate. The area of application of the fitting is further optimized by the fact that the plate carries the thread-shiftable first ring equipped with a cylinder core protective disk for receiving a second ring and is assigned to a spacer frame. This can be converted from a relining position to the collar of the plate into a relining position of the plate. This makes it possible in a simple manner to compensate for certain thickness tolerances of the door, so that there is an overall extensive adjustment of the fitting. The spacer frame fulfills the task of a rough adjustment, while the fine adjustment is carried out via the threaded ring. Its correspondingly lying section forms the separation from the additional free space and serves as a sliding surface during a drilling attempt. It is understandable that drilling-resistant material is used for the ring. The fine adjustment therefore always ensures that the cylinder core protective disk can be brought in close proximity to the end face of the cylinder core. The spacer frame is brought to the collar in the relining position when the thickness of the door decreases. The backfeeding position, however, is selected when the door is thicker. Coarse and fine adjustment are accordingly adjusted to one another in such a way that an optically favorable appearance of the same after the fitting is struck ben is. A coherent structural unit form the fitting plate, plate and spacer frame in that the plate or the spacer frame are overlapped by clamping screws, the heads of which protrude beyond the outer surface of screw-in sleeves of the fitting plate. This unit is manufactured before the fitting is installed. This proves to be easier when mounting the fitting plate. The heads of the tensioning screws do not protrude beyond the stop surface of the fitting plate, they only press the unit consisting of a plate and spacer frame against the inside of the outer door plate. This measure also combines the fitting with all the individual parts to form a fixed structural unit, so that there are also advantages in terms of storage or transport. The thickness of the frame and the thread adjustment area are coordinated so that the frame thickness is smaller than the thread adjustment area of the ring. Excessive unscrewing or screwing in of the ring should therefore never be carried out, so that the optically favorable appearance of the fitting is not impaired. The above-mentioned screw-in sleeves, in addition to holding the screws, perform a further function in that their mutually facing flats rest on the narrow edges of the spacer frame and collar, with the result that these parts are centered. Furthermore, this measure has the advantage that the heads of the clamping screws can overlap the plate or the spacer frame sufficiently far. The embodiment according to the invention also takes into account distance dimensions that deviate from the standardized spacing dimensions of 72 and 92 mm. So z. B. distance between the mandrel and the cylinder core axis of 70 or 90 can be achieved in that the outer door plate a displaceable in its longitudinal direction, detectable Carriage for receiving the press mandrel. After the plate has been appropriately turned over, the slide must then be moved and then fixed while reaching the desired distance. It is not necessary to replace components. This also applies to the bearing of the inside door handle receiving the handle mandrel. A change only requires turning the bearing bush, whereby due to the eccentric arrangement of the bearing bush bore, the change in distance to the axis of rotation of the cylinder core takes place. Should z. B. the distance measure vary by 2 mm, an eccentricity of one millimeter must be carried out. In order to change the distance dimension by 2 mm, the bearing bush must be turned 180 °. The rotary positions of the bearing bush can be indicated by locking means.
Nachstehend werden drei Ausführungsbeispiele der Erfindung anhand der Figuren 1-20 erläutert. Es zeigt:
- Fig. 1
- teils in Ansicht, teils im Längsschnitt den Beschlag gemäß der ersten Ausführungsform in der Einbaustellung des Profil-Schließzylinders, in welcher das Maß zwischen Drückerdorn und Drehachse des Zylinderkerns 92 mm beträgt,
- Fig. 2
- eine Frontansicht des Türaußenschildes,
- Fig. 3
- einen Längsschnitt durch den Beschlag mit Blick auf die Rückseite des Türaußenschildes,
- Fig. 4
- eine der Fig. 1 entsprechende Darstellung, jedoch bei gewendeter Platte unter Verwendung eines Abstandsmaßes zwischen Drückerdorn und Drehachse des
Schließzylinders von 72 mm, - Fig. 5
- einen Mittellängsschnitt durch den in Fig. 4 aufgezeigten Beschlag, in Richtung des Türaußenschildes gesehen,
- Fig. 6
- in perspektivischer Darstellung den in das Türinnenschild einsetzbaren Schließzylinder-Rahmen für die erste Einbaustellung,
- Fig. 7
- den ähnlich gestalteten Rahmen für die zweite Einbaustellung, ebenfalls perspektivisch veranschaulicht,
- Fig. 8
- eine Frontansicht des Beschlages gemäß der zweiten Ausführungsform, wobei das Maß zwischen Drückerdorn und Drehachse des Zylinderkerns ebenfalls 92 mm beträgt,
- Fig. 9
- die klappfigürliche Ansicht der Fig. 8
- Fig. 10
- die Rückansicht des Beschlages mit Blick auf die Platte bei in Hinterfütterungsposition befindlichem Distanzrahmen,
- Fig. 11
- in etwa doppelter Größe den Schnitt nach der Linie XI-XI in Fig. 10,
- Fig. 12
- den Schnitt nach der Linie XII-XII in Fig. 10, ebenfalls vergrößert dargestellt,
- Fig. 13
- eine Rückansicht des Beschlages im Bereich der Platte, wobei durch Wenden derselben ein verringertes Abstandsmaß zwischen Drückerdorn und Zylinderkern-Drehachse eingestellt ist,
- Fig. 14
- eine der Fig. 10 entsprechende Darstellung, jedoch bei in Unterfütterungsstellung getretenem Distanzrahmen,
- Fig. 15
- den Schnitt nach der Linie XV-XV in Fig. 14, vergrößert dargestellt,
- Fig. 16
- teils in Ansicht, teils im Längsschnitt den Beschlag gemäß der dritten Ausführungsform in der Einbaustellung, in welcher das Abstandsmaß zwischen Drückerdorn und Drehachse des Zylinderkerns 92 mm beträgt,
- Fig. 17
- den Schnitt nach der Linie XVII-XVII in Fig. 16,
- Fig. 18
- eine der Figur 17 entsprechende Darstellung, jedoch bei in Richtung der Zylinderkern-Drehachse verlagertem Schlitten unter Herstellung eines verringertem Abstandsmaßes zwischen Drückderdorn und Zylinderkern-Drehachse,
- Fig. 19
- den Schnitt nach der Linie XIX-XIX in Fig. 16 und
- Fig. 20
- eine Darstellung gemäß Figur 19, wobei die Drückerdorn-Lagerbüchse um 180° gedreht ist unter Verwirklichung eines verringerten Abstandsmaßes zwischen Drückerdorn und Zylinderkern-Drehachse.
- Fig. 1
- partly in view, partly in longitudinal section, the fitting according to the first embodiment in the installation position of the profile locking cylinder, in which the dimension between the handle pin and the axis of rotation of the cylinder core is 92 mm,
- Fig. 2
- a front view of the outside door sign,
- Fig. 3
- a longitudinal section through the fitting with a view of the back of the outside door sign,
- Fig. 4
- a representation corresponding to FIG. 1, but with the plate turned using a distance between the handle pin and the axis of rotation of the locking cylinder of 72 mm,
- Fig. 5
- 4 shows a central longitudinal section through the fitting shown in FIG. 4, viewed in the direction of the outer door plate,
- Fig. 6
- a perspective view of the lock cylinder frame that can be inserted into the inner door plate for the first installation position,
- Fig. 7
- the similarly designed frame for the second installation position, also illustrated in perspective,
- Fig. 8
- 3 shows a front view of the fitting according to the second embodiment, the dimension between the handle mandrel and the axis of rotation of the cylinder core also being 92 mm,
- Fig. 9
- the hinged view of Fig. 8th
- Fig. 10
- the rear view of the fitting with a view of the plate with the spacer frame in the back-feeding position,
- Fig. 11
- approximately twice the section along the line XI-XI in Fig. 10,
- Fig. 12
- the section along the line XII-XII in Fig. 10, also shown enlarged,
- Fig. 13
- a rear view of the fitting in the area of the plate, wherein by turning the same a reduced Distance between the pusher mandrel and the cylinder core axis of rotation is set,
- Fig. 14
- 10 shows a representation corresponding to FIG. 10, but with the spacing frame stepped into the relining position,
- Fig. 15
- the section along the line XV-XV in Fig. 14, shown enlarged,
- Fig. 16
- partly in view, partly in longitudinal section, the fitting according to the third embodiment in the installation position, in which the distance between the handle pin and the axis of rotation of the cylinder core is 92 mm,
- Fig. 17
- the section along the line XVII-XVII in Fig. 16,
- Fig. 18
- 17 shows a representation corresponding to FIG. 17, but with the slide displaced in the direction of the cylinder core axis of rotation, producing a reduced distance between the mandrel and the cylinder core axis of rotation,
- Fig. 19
- the section along the line XIX-XIX in Fig. 16 and
- Fig. 20
- a representation according to Figure 19, wherein the mandrel bearing bush is rotated by 180 ° with the realization of a reduced distance between the mandrel and the cylinder core axis of rotation.
Der einer nicht veranschaulichten Tür zuordbare Beschlag gemäß der ersten Ausführungsform nach den Fig. 1-7 besitzt ein länglich gestaltetes Türaußenschild 1 und ein deckungsgleiches Türinnenschild 2. Beide sind miteinander verbindbar mittels zweier die Endbereiche des Türinnenschildes 2 durchsetzender Befestigungsschrauben 3, die in von der Rückseite des Türaußenschildes 1 ausgehende Gewindebüchsen 4 eingreifen. Letztere bestehen aus gehärtetem Material, weisen außenseitig ein Gewinde auf und sind in ein nicht veranschaulichtes Innengewinde des Türaußenschildes 1 eingeschraubt.The fitting according to the first embodiment according to FIGS. 1-7, which cannot be assigned to a door, has an elongated
Im oberen Bereich trägt das Türaußenschild 1 einen fest mit ihm verbundenen Betätigungsgriff 5. Zur Verbindung dient eine von der Rückseite des Türaußenschildes 1 eingedrehte Schraube 6, die in ein nicht dargestelltes Innengewinde des Betätigungsgriffes eintaucht.In the upper area, the
Dicht unterhalb der Verbundstelle zwischen Betätigungsgriff 5 und Türaußenschild 1 ist in eine rückwärtige Gewindebohrung 7 desselben eine Gewindebüchse 8 eingeschraubt, die mit einem gewindefreien Abschnitt die Rückfläche 1' des Türaußenschildes um einige Millimeter überragt. Die Gewindebüchse 8 ist ihrerseits mit einem Innengewinde 9 versehen und dient zur Aufnahme eines Gewindezapfens 10, der sich am freien Ende eines im Querschnitt quadratische Drückerdorns 11 befindet. Letzterer erstreckt sich über das Türinnenschild 2 hinaus und greift in eine querschnittsangepaßte Vierkantöffnung 12 eines Türinnendrückers 13 ein, welcher mittels eines Querstiftes 14 mit dem Drückerdorn 11 in bekannter Weise verbunden ist. Der Türinnendrücker 13 bildet seinerseits einen Lagerhals 15 aus, der drehbar in einer Lagerbüchse 16 des Türinnenschildes 2 angeordnet ist.Just below the connection point between the
Unterhalb des Drückerdornes 11 ist das Türaußenschild 1 mit einer im Grundriß ovalen Öffnung 17 ausgestattet derart, daß deren größte Länge in Längsrichtung des Türaußenschildes 1 verläuft. Unter Ausbildung einer Stufe 18 setzt sich die Öffnung 17 in einen querschnittsvergrößerten Öffnungsbereich 17' fort. Deren Wandung verläuft parallel zu derjenigen der Öffnung 17.Below the
In der Öffnung 17 liegt formpassend eine Platte 19 ein. Rückwärtig ist dieselbe mit einem materialeinheitlich ausgestatteten Kragen 20 versehen, der in seiner Umrißform derjenigen des Öfffnungsbereiches 17' entspricht. Zwischen Kragen 20 und Stufe 18 erstreckt sich ein die Platte 19 umfassender, aus elastischem Material bestehender Federkörper 21, der eine Belastung auf die Platte 19 in Richtung der Türaußenfläche ausübt.A
Die in die Öffnung 17 eingesetzte Platte 19 ist in ihrer Ebene umwendbar, und zwar um die lotrecht zur Anschlagfläche des Türaußenschildes 1 stehende Wendeachse W. Das bedeutet, daß sowohl die Schmalkanten als auch die Längskanten der Öffnung 17 als auch der Platte 19 gleichen Abstand zur Wendeachse W besitzen.The
Von der Rückseite der Platte 19 her ist in diese eine Kammer 22 eingearbeitet zur teilweisen Aufnahme eines Profil-Schließzylinders 23. Im einzelnen setzt sich die Kammer 22 zusammen aus einem den kreiszylindrischen Schließzylinder-Kernbereich 24 umfassenden Kammer-Raum 25 und zwei radial dazu liegenden, sich in der Längsmittelebene des Türaußenschildes 1 erstreckenden Kammer-Freiräumen 26, 27, von denen jeweils der eine den Profilzylinderflansch 28 formpassend aufnimmt und der andere als Ergänzungs-Freiraum A dient. Gemäß der Einbaustellung der Platte 19 in den Fig. 1-4 erstreckt sich der Profilzylinderflansch 28 in dem Kammer-Freiraum 27.From the back of the
Vor dem Aufsetzen und Verschrauben des Türaußenschildes 1 wird der Profil-Schließzylinder 23 mit der Platte 19 in der eingesetzten Stellung verbunden. Hierzu dienen in den Kammer-Freiraum 27 mündende Madenschrauben 29. Es sind jeweils zwei Gewindebohrungen 30, in einer gemeinsamen Horizontalebene liegend, den Kammer-Freiräumen 26, 27 zugeordnet. Nur dem benutzten Kammer-Freiraum werden dann die Madenschrauben 29 zugeordnet, um den Profil-Schließzylinder 23 mit der Platte 19 zu einer festen Baueinheit zu verbinden. Die vorgenannten Gewindebohrungen 30 werden jenseits des Kragens 20 in die Platte 19 eingearbeitet, so daß die Madenschrauben 29 in der Einbaustellung der Platte 19 von dem Federkörper 21 abgedeckt sind und in jeder Verschiebestellung der Platte 19 relativ zum Türaußenschild 1 in der Öffnung 17 einliegen.Before fitting and screwing the door
Der Kammer-Raum 25 ist gegenüber dem Schließzylinder-Kernbereich 24 um ein geringes Maß durchmessergrößer gestaltet und erstreckt sich um ein größeres Maß als die Kammer-Freiräume 26, 27 in die Platte 19 hinein. Der Kammer-Raum 25 setzt sich unter Ausbildung einer Abstufung 31 in eine durchmesserkleinere Schlüsseleinstecköffnung 32 fort. Zwecks Verringerung des Querschnitts derselben lagert in dem den Zylinderkernbereich 24 umfassenden Kammer-Raum 25 vor der zugekehrten Stirnseite des Profil-Schließzylinders 23 in dem Kammer-Raum 25 eine drehbare Schutzscheibe 33 aus besonders widerstandsfähigem Material. In der Schutzscheibe 33 ist ein Schlüsseleinsteckschlitz 34 vorgesehen, welcher mit dem nicht veranschaulichten Schlüsselkanal des Zylinderkerns 23' des Profil-Schließzylinders 23 fluchtet.The
Rückwärtig ist die Schutzscheibe 33 durch einen den Ringspalt zwischen Kammer-Raum 25 und Schließzylinder-Kernbereich 24 ausfüllenden, drehbar angeordneten Ring 35 abgestützt. Dieser sitzt im Klemmsitz in dem Kammer-Raum 25 und weist einen in die fluchtende Lage zu den Kammer-Freiräumen 26, 27 bringbaren Durchtrittsschlitz 36 für den Profilzylinderflansch 28 auf. Gemäß der Einbaustellung der Platte 19 in Fig. 1-3 fluchtet der Durchtrittsschlitz 36 mit dem Kammer-Freiraum 27. Der dem Durchtrittsschlitz 36 gegenüberliegende Teilabschnitt T der Wand des Ringes 35 bildet die Abtrennung zum Ergänzungs-Freiraum A.At the rear, the
Nach Montage des Beschlages stützt die entsprechende Stirnseite des Profil-Schließzylinders 23 die Platte 19 so ab, daß deren Frontseite mit derjenigen des Türaußenschildes 1 fluchtet oder geringfügig über diese vorsteht.After fitting the fitting, the corresponding end face of the
Das gegenüberliegende Ende des Profil-Schließzylinders 23 durchgreift eine querschnittsangepaßte Ausnehmung 37 eines Rahmens 38. Letzterer ist von der Rückseite des Türinnenschildes 2 in eine Umfassung 39 einsetzbar. Der Rahmen 38 ist ebenfalls mit einem rückwärtigen, umlaufenden Kragen 40 versehen, der in einen querschnittsgrößeren Umfassungsbereich 39' der Umfassung 39 eintaucht. In der eingesetzten Stellung des Rahmens 38 stützt sich dessen Rückfläche an der zugekehrten Türfläche ab. In dieser Stellung fluchtet auch die Vorderseite des Rahmens 38 mit der Vorderfläche des Türinnenschildes.The opposite end of the
Aus Fig. 1 und Fig. 6 geht hervor, daß sich die der Umrißform des Profil-Schließzylinders 23 angepaßte Ausnehmung 37 im unteren Bereich des Rahmens 38 befindet. Dieser Rahmen 38 wird eingesetzt, wenn das Abstandsmaß x zwischen Drückerdorn 11 und Drehachse D des Zylinderkerns 92 mm betragen soll.1 and FIG. 6 show that the
Bei Einhaltung des vorgenannten Abstandsmaßes x ist dem Drückerdorn 11 eine ihn umgebende Ausgleichshülse 41 zugeordnet, so daß der Drückerdorn 11 formausfüllend in der Vierkantöffnung einer entsprechenden Nuß des Einsteckschlosses E einliegt. Einsteckschlösser mit einem Abstandsmaß von 92 mm besitzen in der Regel eine Vierkantöffnung, die größer ist diejenige bei Einsteckschlössern mit einem Abstandsmaß von 72 mm.If the aforementioned distance dimension x is observed, a surrounding compensating
Wird ein Einsteckschloß E gemäß Fig. 1 verwendet, welches ein Abstandsmaß x von 92 mm zwischen Drückerdorn 11 und Drehachse D des Zylinderkerns verlangt, so ist zu diesem Zweck nach Einsetzen des Profil-Schließzylinders 23 die Platte 19 in der Wendestellung auf das vorstehende Ende des Profil-Schließzylinders 23 aufzusetzen, daß der Profilzylinderflansch 28 in den Kammer-Freiraum 27 eintritt. Um dieses ermöglichen zu können, muß zuvor auch der Ring 35 so gedreht werden, daß dessen Durchtrittsschlitz 36 mit dem Kammer-Freiraum 27 fluchtet. Nach Aufsetzen der Platte sind die entsprechenden Madenschrauben 29 anzuziehen, die dann den Profilzylinderflansch 28 verspannen. In der Eindrehstellung überragen die Madenschrauben 29 nicht die Seitenwandung der Platte, so daß das Aufsetzen des Türaußenschildes 1 unter Zwischenlage des Federkörpers 21 störungsfrei vornehmbar ist. Dann kann in der üblichen Weise das Türaußenschild von der Türinnenseite her mittels der Schrauben 3 fixiert werden.If a mortise lock E according to FIG. 1 is used, which requires a distance dimension x of 92 mm between the
Der nicht benötigte Kammer-Freiraum 26 bildet nun einen Ergänzungs-Freiraum. Wird bei einem Anbohrversuch die Platte 19 von schräg oben oberhalb des Schließzylinders durchbohrt, so gelangt die Bohrerspitze in diesen Ergängzungs-Freiraum A. Sobald die Bohrerspitze auf den Teilabschnitt T des vorzugsweise aus anbohrfestem Material bestehenden Ringes 35 stößt, führt dieses zwangsläufig zu einem Verlaufen des Bohrers in der einen oder anderen Richtung zufolge des sich dicht hinter der Vorderseite der Platte 19 erstreckenden Ergänzungs-Freiraumes, so daß das Ziel, den Schließzylinder zu durchbohren, nicht auf diese Weise verwirklicht werden kann. Die Breite dieses Ergänzungs-Freiraumes ist mindestens so groß wie die halbe Breite des Schließzylinder-Kernbereiches, so daß bei Einsatz der üblich verwendeten Bohrgeräte und Bohrer stets das Verlaufen des Bohrer auftritt.The
Soll der Beschlag eingesetzt werden unter Einhaltung eines Abstandsmaßes von 72 mm zwischen Drückerdorn 11 und Drehachse D des Zylinderkerns, so ist zu diesem Zweck die Platte 19 in um 180° gewendeter Stellung auf das vorstehende Ende des Schließzylinders 23 aufzusetzen. Dann taucht der Profilzylinderflansch 28 in den Kammer-Freiraum 26 ein, während der andere Kammer-Freiraum 27 zum Ergänzungs-Freiraum A wird. Ebenfalls ist ein Verdrehen des Ringes 35 um 180° vorzunehmen, so daß dessen Durchtrittsschlitz 36 mit dem Kammer-Freiraum 26 fluchet. Nach Verspannen des Profilzylinderflansches 28 mittels der nun zum Einsatz kommenden Madenschrauben 29 kann das Türaußenschild 1 in der zuvor geschilderten Weise über die Platte 19 geschoben und anschließend verspannt werden. Zufolge des Versatzes der Drehachse D des Zylinderkerns 23' zur Quermittelebene der Platte 19 bzw. deren Wendeachse W befindet sich nach Wenden der Platte 19 die Drehachse D näher dem Vierkantdorn 11 als bei der ersten, vorher geschilderten Einbaustellung, bei welcher ein Abstandsmaß x von 92 mm gewählt wurde. Der Versatz der Drehachse D des Zylinderkerns zur Wendeachse W beträgt z, was der Hälfte der Differenz von x-y entspricht. Unter Zugrundelegung der Normmaße von 92 und 72 mm ist daher z = 10 mm.If the fitting is to be used while maintaining a spacing of 72 mm between the
Auch in dieser Einbaustellung stellt der Ring 35 mit seinem Teilabschnitt T einen Anbohrschutz dar, wenn ein schräg gerichtetes Bohren erfolgt und dabei der Bohrer in den Ergänzungs-Freiraum A, welcher von dem Kammer-Freiraum 27 gebildet wird, eintaucht.In this installation position too, the
Gemäß dieser Einbaustellung ist ein in der Außenform dem Rahmen 38 identischer Rahmen 42 in die Umfassung des Türinnenschildes 2 einzusetzen. Dieser Rahmen 42 ist mit einer Ausnehmung 43 versehen, welche um das Differenzmaß der beiden Abstandsmaße x, y nach oben hin versetzt ist.According to this installation position, a
Das Einsteckschloß E' welches diese Einbaustellung von 72 mm vorgibt, besitzt eine Nuß mit einer Vierkantöffnung geringeren Querschnitts, die demjenigen des Drückerdorns 11 angepaßt ist. Dann gelangt die Ausgleichshülse 41 nicht zum Einsatz.The mortise lock E ', which specifies this installation position of 72 mm, has a nut with a square opening of smaller cross section, which is adapted to that of the
Beim Ausführungsbeispiel wird durch entsprechenden Versatz der Kammer 22 zur Wendeachse W eine Differenz von 20 mm zwischen beiden Abstandsmaßen durch entsprechenden Einbau der Platte 19 überbrückt. Alternativ wäre es möglich, abweichende Abstandsmaße, wie sie in unterschliedlichen Ländern vorliegen, durch einen anders bemessenen Versatz zu erreichen.In the exemplary embodiment, a corresponding offset of the
Gemäß der zweiten Ausführungsform, vgl. Fig. 8-15, besitzt der Beschlag ebenfalls ein länglich gestaltetes Türaußenschild 44, welches im Gegensatz zu demjenigen der ersten Ausführungsform durch einen umlaufenden Außenrand 45 wannenförmig gestaltet ist. Von den Endbereichen des Wannenbodens 46 gehen wanneneinwärts gerichtete Gewindebüchsen 47 zur Aufnahme von nicht veranschaulichten Befestigungsschrauben aus, die das Türinnenschild mit dem Türaußenschild verbinden.According to the second embodiment, cf. Fig. 8-15, the fitting also has an elongated
Im oberen Bereich trägt das Türaußenschild 44 außenseitig eine fest mit ihm verbundene Griffhandhabe 48. Zur Festlegung der Griffhandhabe 48 dient eine wanneninnenseitig liegende Mutter 49, welche auf einen den Wannenboden 46 durchsetzenden Gewindefortsatz 50 das Handhabenhalses 51 aufgeschraubt ist. Der Gewindefortsatz 50 bildet ein Innengewinde aus und dient zur Aufnahme eines nicht veranschaulichten Drückerdornes.In the upper area, the
In der unteren Hälfte ist der Wannenboden 46 des Türaußenschildes 44 mit einer im Grundriß länglichen Öffnung 52 versehen, deren größte Länge ebenfalls in Längsrichtung des Türaußenschildes 44 verläuft. In der Öffnung 52 liegt formpassend eine mit einem materialeinheitlich ausgestatteten Kragen 53 versehene Platte 54 ein. Wie beim ersten Ausführungsbeispiel ist die Platte 54 in ihrer Ebene umwendbar um die lotrecht zur Anschlagfläche des Türaußenschildes 44 verlaufende Wendeachse W. Gemäß dem Einbaubeispiel nach Fig. 8-12 stützt sich der Kragen 53 der Platte 54 unmittelbar an der Innenfläche des Wannenbodens 46 ab. Die Schmalkanten 55 des Kragens 53 liegen dabei an einander zugekehrten Abflachungen 56 von Schrauben-Eindrehbüchsen 57 an, die materialeinheitlich vom Wannenboden 46 ausgehen, jedoch mit Abstand vor der Anschlagfläche des Türaußenschildes 44 enden. Der Kragen 53 ist hinterfüttert von einem Distanzrahmen 58. Dessen Rahmenöffnung 59 ist so groß gewählt, daß die Platte 54 diese formpassend durchgreifen kann. Der in seiner Hinterfütterungsposition befindliche Distanzrahmen 58 überragt geringfügig das eine Stirnende der Schrauben-Eindrehbüchsen 57, deren Abflachungen 56 ebenfalls bündig an den Schmalkanten des Distanzrahmens 58 anliegen.In the lower half, the
In das Innengewinde 60 der Schrauben-Eindrehbüchsen eingreifende Spannschrauben 61 verspannen über den Distanzrahmen 58 den Kragen 53 gegen den Wannenboden 46. Dies geschieht über die Köpfe 61' der Spannschrauben 61, die mit einem Randbereich über die Abflachungen 56 der Schrauben-Eindrehbüchsen vorstehen und mit ihrer Rückfläche gegen den Distanzrahmen 58 drücken, vgl. insbesondere Fig. 11 und 12. Aus diesen Figuren geht ebenfalls hervor, daß die Köpfe 61' der Spannschrauben 61 die Anschlagfläche des Türaußenschildes 44 nicht überragen.Tensioning screws 61 engaging in the
Gemäß der Einbaustellung in Fig. 8-12 steht die Platte 54 über die Vorderfläche des Türaußenschildes 46 vor. Von der Rückseite der Platte 54 her ist in diese eine Kammer 62 zur Aufnahme des entsprechenden Stirnendes des strichpunktiert veranschaulichten Profil-Schließzylinders 23 eingearbeitet. Auch diese Kammer 62 setzt sich zusammen aus einem den kreiszylindrischen Schließzylinder-Kernbereich 24 umfassenden Kammerraum 63 und zwei radial dazu liegenden, sich in der Längsmittelebene des Türaußenschildes 44 erstreckenden Kammer-Freiräumen 64, 65. Einer von diesen nimmt jeweils den Profilzylinderflansch 28 formpassend auf, während der andere den Ergänzungs-Freiraum A bildet. In der in Fig. 8-12 beschriebenen Einbaustellung befindet sich der Profilzylinderflansch 28 in dem Kammer-Freiraum 65.According to the installation position in FIGS. 8-12, the
Zur Bildung des Kammer-Raumes 63 dient eine zentral zu den Kammer-Freiräumen 64, 65 angeordnete, die Platte 54 auf ganzer Dicke durchsetzende Gewindebohrung 66. Die Kammer-Freiräume 64, 65 enden dagegen mit geringem Abstand vor der Frontseite der Platte 54.To form the
In dem als Gewindebohrung 66 gestalteten Kammer-Raum 63 sitzt drehbar ein mit Außengewinde versehener erster Ring 67. Beim Ausführungsbeispiel ist eine Gewindesteigung von 1 mm gewählt. Für den Ring 67 ist anbohrfestes Material verwendet. Die Länge des Ringes 67 ist etwas geringer als die Gesamtdicke des Türaußenschildes 44. Von dem rückwärtigen Ende des Ringes 67 ist eine Bohrung 68 eingearbeitet, die sich nur über eine Teillänge desselben erstreckt. Unter Ausbildung einer Stufe 69 geht die Bohrung 68 in einen durchmesserkleineren Bohrungsabschnitt 70 über. Die Wandung der Bohrung 67 ist mit einem randoffenen Aufnahmeschlitz 71 versehen, der vom rückwärtigen Ende des Ringes 67 ausgeht und sich nur über eine Teillänge desselben erstreckt. Die Breite des Aufnahmeschlitzes 71 entspricht der Breite der Kammer-Freiräume 64, 65 bzw. derjenigen des Profilzylinderflansches 28.A
Ein in die Bohrung 68 eingesetzter zweiter Ring 72 umgibt formschlüssig den kreiszylindrischen Schließzylinder-Kernbereich 24. Vorzugsweise ist der zweite Ring 72 eingepreßt oder mit dem ersten Ring 67 verklebt, so daß sie eine zusammenhängende, drehbare Baueinheit bilden. Bei eingesetztem zweiten Ring 72 fluchtet ein radialer Schlitz 73 desselben mit dem Aufnahmeschlitz 71 des ersten Ringes 67.A
Der vorgenannte zweite Ring 72 ragt mit seinem inneren Ende bis zu einer in dem ersten Ring 67 drehbaren Zylinderkern-Schutzscheibe 74. Im einzelnen besitzt die aus anbohrfestem Material bestehende Schutzscheibe 74 einen durchmesserkleineren Abschnitt 75, welcher in dem Bohrungsabschnitt 70 des ersten Ringes 67 drehbar einliegt. Der Abschnitt 75 setzt sich fort in einen durchmessergrößeren Bund 76, dessen Durchmesser der Ring-Bohrung 68 entspricht. In der Einbaustellung des Profil-Schließzylinders 23 stützt sich dessen äußere Stirnfläche am Schlitzgrund des Aufnahmeschlitzes 71 ab, so daß ein Drehspiel zwischen der frontseitig des Ringes 72 gelagerten Schutzscheibe 74 und der Schließzylinder-Stirnfläche verbleibt.The aforementioned
An der Rückseite bzw. Bundseite formt die Schutzscheibe 74 eine Aufnahmevertiefung 77 für den Überstand des Zylinderkerns 23' über die entsprechende Schließzylinder-Stirnfläche.On the rear or collar side, the
Um den zugehörigen Schlüssel in den Schlüsselkanal des Zylinderkerns 23' einstecken zu können, ist die Schutzscheibe 74 mit einem entsprechend groß bemessenen Radialschlitz 78 ausgestattet.In order to be able to insert the associated key into the key channel of the cylinder core 23 ', the
Vor dem Montieren des Beschlages wird gemäß Einbaustellung nach Fig. 8-12 mittels des Distanzrahmens 58 eine Grobverstellung herbeigeführt, indem er die Hinterfütterungsstellung zum Kragen 53 der Platte 54 einnimmt. Danach erfolgt die Feinanpassung des gewindeverstellbaren Ringes 67. Dies geschieht durch jeweils vollständige Umdrehungen des Ringes 67, da nach jeder Umdrehung desselben dessen Aufnahmeschlitz 71 in Übereinstimmung zur Lage des entsprechenden Kammer-Freiraumes zu bringen ist. Aufgrund der Gewindesteigung von 1 mm kann eine sehr genaue Anpassung stattfinden. Da die Dicke des Rahmens 58 etwas kleiner ist als der Gewindeverstellbereich des ersten Ringes 67, läßt sich eine optimale Einstellung ermöglichen.Before installing the fitting, a rough adjustment is brought about by means of the
Gemäß Fig. 8-12 ist ein Abstandsmaß x zwischen Drückerdorn und Drehachse D des Zylinderkerns 23' von 92 mm realisiert. Durch Drehen der Platte 54 in ihrer Ebene um die Wendeachse W um 180° kann ein Abstandsmaß y gemäß Fig. 13 eingestellt werden. Es ist verständlich, daß hierzu die Spannschrauben 61 zu lösen sind.According to FIGS. 8-12, a distance dimension x of 92 mm between the press mandrel and the axis of rotation D of the cylinder core 23 'is realized. A distance dimension y according to FIG. 13 can be set by rotating the
Aus den Fig. 14 und 15 geht hervor, daß der Distanzrahmen 58 in eine Unterfütterungsstellung zum Kragen 53 der Platte 54 getreten ist. Der Distanzrahmen 58 erstreckt sich demgemäß zwischen dem Wannenboden 46 und dem Kragen 53, welch letzterer von den Köpfen 61' der Spannschrauben beaufschlagt wird. Nach dieser erfolgten Grobverstellung fluchtet die Grundfläche der Platte 54 etwa bündig mit derjenigen des Türaußenschildes 44, vgl. Fig. 15. Die entsprechende Feinanpassung wird dann durch Verdrehen des Ringes 67 vorgenommen.14 and 15 show that the
Auch bei dieser zweiten Version des Beschlages bildet der nicht benutzte Kammer-Freiraum 64 bzw. 65 den Ergänzungs-Freiraum A. Als Anbohrsicherung dient der Teilabschnitt T der Wandung des Ringes 67, welcher Teilabschnitt T den Ergänzungs-Freiraum 64 bzw. 65 vom Kammer-Raum 63 abtrennt. Sobald der Profil-Schließzylinder 23 endseitig von der Kammer 62 umfaßt ist, liegt auch eine Drehsicherung des ersten Ringes 67 vor, so daß dieser von außen her nicht aus seiner Lage gebracht werden kann.Also in this second version of the fitting, the unused chamber
Der Beschlag gemäß der dritten Ausführungsform, dargestellt in den Figuren 16 bis 20, entspricht weitgehend demjenigen der ersten Ausführungsform. Daher tragen gleiche Teile gleiche Bezugsziffern.The fitting according to the third embodiment, shown in Figures 16 to 20, largely corresponds to that of the first embodiment. The same parts therefore have the same reference numbers.
Nahe unterhalb der den Betätigungsgriff 5 halternden Schraube 6 ist rückseitig des Türaußenschildes 1 eine in Längsrichtung stufenförmig verlaufende Aussparung 80 eingearbeitet. Diese setzt sich zusammen aus dem tiefer gestalteten Abschnitt 80' und dem sich anschließenden flacheren Abschnitt 80''. Zumindest der Boden des flacheren Abschnittes 80' verläuft parallel zur Anschlagfläche 1' des Türaußenschildes 1. Auf dem Boden des flacheren Abschnitts 80'' liegt ein Schlitten 81 auf. Dessen Breite entspricht derjenigen der Aussparung 80. Die Länge des Schlittens 81 ist jedoch kürzer gewählt. Im oberen Bereich wird der Schlitten 81 durchsetzt von einer Gewindebohrung 7', in welche nun die Gewindebüchse 8 eingedreht ist. Mit einem gewindefreien Abschnitt überragt diese die Rückfläche des Schlittens 81 bzw. diejenige des Türaußenschlides 1. Die Rückfläche des Schlittens 81 liegt um ein geringes Maß in Einwärtsrichtung versetzt zur Rückfläche bzw. Anschlagfläche 1' des Türaußenschildes, vgl. Figur 16. Die Gewindebüchse 8 ist ebenfalls mit einem Innengewinde 9 versehen, in das der Gewindezapfen 10 des Drückerdorns 11 eintaucht. Aus Figur 16 ist ferner zu erkennen, daß die Gewindebüchse 8 in den tieferen Abschnitt 80' der Aussparung 80 hineinragt derart, daß der Schlitten 81 - in Längsrichtung des Türaußenschildes gesehen - ein Bewegungsspiel besitzt, das zumindest so groß ist wie die Längendifferenz zwischen der Aussparung 80 und dem Schlitten 81.Close below the
Unterhalb der Gewindebohrung 7' im Schlitten 81 ist ein Langloch 82 eingearbeitet. Dieses ist derartig gestaltet, daß es den Kopf einer Senkkopfschraube 83 aufzunehmen vermag. Deren Schaft greift in ein Gewindeloch 84 des Türaußenschildes 1 ein. Mittels dieser Senkkopfschraube 83 ist die Stellung des Schlittens 81 fixierbar. Gemäß Figur 16 ist die Stellung des Schlittens 81 gewählt, daß das Abstandsmaß zwischen Drückerdorn-Achse und Zylinderkern-Drehachse D beträgt, also 92 mm.An
Der Türinnendrücker 13 ragt mit seinem Lagerhals 15 in die Bohrung 85 einer Lagerbüchse 86. Wie insbesondere aus Figur 19 hervorgeht, ist die Lagerbüchsen-Bohrung 85 exzentrisch zum Lagerbüchsen-Mittelpunkt M angeordnet. Beim Ausführungsbeispiel beträgt die Exzentrizität einen Millimeter. Die Lagerbüchse 86 sitzt drehbar in einer Aufnahmebohrung 87 des Türinnenschildes 2. Am Außenumfang trägt die Lagerbüchse 86 einen Längssteg 88, der gemäß Figur 19 in eine von der Aufnahmebohrung 87 ausgehende Vertiefung 89 eingreift. Letztere erstreckt sich auf Höhe der Längsachse des Türinnenschildes 2. Durch diese Vertiefung 89 wird eine fühlbare Verrastung der Lagerbüchse 86 erreicht. In diametraler Gegenüberlage zur Vertiefung 89 ist eine weitere Vertiefung 90 vorgesehen. In diese greift der Längssteg 88 ein, wenn die Lagerbüchse 86 um 180° gedreht wird.The
Gemäß Figur 16, 17 und 19 beträgt das Abstandsmaß x 92 mm. Soll eine Reduzierung desselben auf 90 mm vorgenommen werden, so ist am Türaußenschild 1 vor Montage desselben die Senkkopfschraube 83 zu lösen und der Schlitten 81 in Richtung der Zylinderkern-Drehachse D zu verschieben. Begrenzt wird die Schlittenverlagerung dadurch, daß die Senkkopfschraube 83 die entsprechende Querkante der Aussparung 80 beaufschlagt. Dann hat der Schlitten 81 einen Weg von z gleich 2 mm zurückgelegt. Es ergibt sich dann zwischen Drückerdorn-Drehachse D und Zylinderkern-Drehachse ein Abstandsmaß von x', also 90 mm, vgl. Fig. 18. Damit der Schlitten 81 in dieser eingestellten Lage verbleibt, ist die Senkkopfschraube 83 in Spannstellung zu bringen.According to FIGS. 16, 17 and 19, the distance dimension is 92 mm. If the same is to be reduced to 90 mm, the countersunk
Einhergehend ist die Lagerbüchse 86 des Türinnenschildes 2 um 180° zu drehen. Da die Exzentrizität 1 mm groß ist, entspricht sie z-Halbe. Nach erfolgter 180° Drehung hat sich die Drückerdorn-Drehachse um z gleich 2 mm in Richtung der Zylinderkern-Drehachse bewegt unter Verwirklichung des Abstandsmaßes x', welches 90 mm beträgt, vgl. Fig. 20.At the same time, the bearing
Dieser zuvor geschilderte Vorgang kann auch dann vorgenommen werden, wenn das Abstandsmaß zwischen Drückerdorn-Drehachse und Zylinderkern-Drehachse 72 mm beträgt. Es ist dadurch möglich, das Abstandsmaß von 72 mm auf 70 mm zu reduzieren. Es sind also mittels ein und desselben Beschlages vier mögliche Abstandsmaße verwirklichbar.This process described above can also be carried out if the distance between the handle pin axis of rotation and the cylinder core axis of rotation is 72 mm. This makes it possible to reduce the distance from 72 mm to 70 mm. It is therefore possible to implement four possible spacing measures using one and the same fitting.
Die in der vorstehenden Beschreibung, der Zeichnung und den Ansprüchen offenbarten Merkmale der Erfindung können sowohl einzeln als auch in beliebiger Kombination für die Verwirklichung der Erfindung von Bedeutung sein. Alle offenbarten Merkmale sind erfindungswesentlich. In die Offenbarung der Anmeldung wird hiermit auch der Offenbarungsinhalt der zugehörigen/beigefügten Prioritätsunterlagen (Abschrift der Voranmeldung) vollinhaltlich mit einbezogen.The features of the invention disclosed in the above description, the drawing and the claims can be of importance both individually and in any combination for the implementation of the invention. All disclosed features are essential to the invention. The disclosure content of the associated / attached priority documents (copy of the prior application) is hereby also included in full in the disclosure of the application.
Claims (13)
Priority Applications (2)
| Application Number | Priority Date | Filing Date | Title |
|---|---|---|---|
| AT91101720T ATE95269T1 (en) | 1990-02-10 | 1991-02-08 | FITTING FOR DOORS EQUIPPED WITH MORTISE LOCKS AND PROFILE LOCKING CYLINDERS. |
| DE9116761U DE9116761U1 (en) | 1990-02-10 | 1991-02-08 | Fitting for doors equipped with mortise locks and profile locking cylinders |
Applications Claiming Priority (6)
| Application Number | Priority Date | Filing Date | Title |
|---|---|---|---|
| DE4004113 | 1990-02-10 | ||
| DE4004113 | 1990-02-10 | ||
| DE4014581A DE4014581A1 (en) | 1990-02-10 | 1990-05-07 | FITTING FOR DOORS EQUIPPED WITH POCKET LOCKS AND PROFILE LOCKING CYLINDERS |
| DE4014581 | 1990-05-07 | ||
| EP90121932 | 1990-11-16 | ||
| EP90121932A EP0442047B1 (en) | 1990-02-10 | 1990-11-16 | Door fitting for doors equipped with mortise profile cylinder lock |
Publications (3)
| Publication Number | Publication Date |
|---|---|
| EP0442384A2 true EP0442384A2 (en) | 1991-08-21 |
| EP0442384A3 EP0442384A3 (en) | 1991-12-11 |
| EP0442384B1 EP0442384B1 (en) | 1993-09-29 |
Family
ID=27200829
Family Applications (1)
| Application Number | Title | Priority Date | Filing Date |
|---|---|---|---|
| EP19910101720 Expired - Lifetime EP0442384B1 (en) | 1990-02-10 | 1991-02-08 | Door fitting for doors equipped with mortise profile cylinder lock |
Country Status (1)
| Country | Link |
|---|---|
| EP (1) | EP0442384B1 (en) |
Cited By (5)
| Publication number | Priority date | Publication date | Assignee | Title |
|---|---|---|---|---|
| AT403605B (en) * | 1995-03-03 | 1998-04-27 | Caspar Zeitlinger Metallwarene | SECURITY FITTING |
| US7475578B2 (en) * | 2004-03-30 | 2009-01-13 | Nobilus, Llc | Door locking system conversion adapter |
| US9169668B2 (en) | 2012-09-14 | 2015-10-27 | Hopper Holding AG | Mortise lock conversion kit for operation with an American cylinder |
| ITUB20155162A1 (en) * | 2015-10-30 | 2017-04-30 | A&M Sas Di Berzioli Paolo E C | Device to increase the robustness of a European cylinder mounted in a safety washer or defender |
| GB2630468A (en) * | 2023-05-26 | 2024-11-27 | Laporta Giovanni | Improvements for lockable handle assemblies |
Family Cites Families (3)
| Publication number | Priority date | Publication date | Assignee | Title |
|---|---|---|---|---|
| DE3234512C2 (en) * | 1982-09-17 | 1985-07-18 | Jans, Franz Werner, 6050 Offenbach | Door plate for a door lock |
| DE3741228A1 (en) * | 1987-09-23 | 1989-04-13 | Melchert Beschlaege | Fitting for doors or the like |
| DE8914633U1 (en) * | 1989-12-08 | 1990-02-08 | Ikon AG Präzisionstechnik, 1000 Berlin | Protective fitting |
-
1991
- 1991-02-08 EP EP19910101720 patent/EP0442384B1/en not_active Expired - Lifetime
Cited By (5)
| Publication number | Priority date | Publication date | Assignee | Title |
|---|---|---|---|---|
| AT403605B (en) * | 1995-03-03 | 1998-04-27 | Caspar Zeitlinger Metallwarene | SECURITY FITTING |
| US7475578B2 (en) * | 2004-03-30 | 2009-01-13 | Nobilus, Llc | Door locking system conversion adapter |
| US9169668B2 (en) | 2012-09-14 | 2015-10-27 | Hopper Holding AG | Mortise lock conversion kit for operation with an American cylinder |
| ITUB20155162A1 (en) * | 2015-10-30 | 2017-04-30 | A&M Sas Di Berzioli Paolo E C | Device to increase the robustness of a European cylinder mounted in a safety washer or defender |
| GB2630468A (en) * | 2023-05-26 | 2024-11-27 | Laporta Giovanni | Improvements for lockable handle assemblies |
Also Published As
| Publication number | Publication date |
|---|---|
| EP0442384B1 (en) | 1993-09-29 |
| EP0442384A3 (en) | 1991-12-11 |
Similar Documents
| Publication | Publication Date | Title |
|---|---|---|
| EP0442047B1 (en) | Door fitting for doors equipped with mortise profile cylinder lock | |
| CH672939A5 (en) | ||
| EP0175049B1 (en) | Socket wrench actuated casement fastener | |
| EP0442384B1 (en) | Door fitting for doors equipped with mortise profile cylinder lock | |
| WO1999054574A1 (en) | Built-in safety device and key for a safety lock | |
| EP2149664B1 (en) | Supporting structure for a hinge and hinge with such a supporting structure for attachment to a door leaf | |
| EP0495361B1 (en) | Mounting for doors equipped with mortise profile cylinder lock escutcheons | |
| DE3010115A1 (en) | LOCKING DEVICE FOR TASK LOCKERS, ROD LOCKINGS AND THE LIKE | |
| DE8717477U1 (en) | Fittings for doors or similar | |
| EP2284342A2 (en) | Hinge with notched supporting surface | |
| DE29611339U1 (en) | Cylinder lock | |
| DE9116761U1 (en) | Fitting for doors equipped with mortise locks and profile locking cylinders | |
| EP0430185B1 (en) | Handle-spindle fastening device for the actuating of a door or similar | |
| DE3741967C2 (en) | ||
| DE8906933U1 (en) | Security fitting for a mortise lock | |
| DE8008675U1 (en) | COMPONENT EQUIPPED WITH A LOCKING CYLINDER | |
| EP1116838A1 (en) | Protective door fitting | |
| AT411478B (en) | DOOR BAND | |
| DE3305209C3 (en) | Door lock | |
| EP0996800B1 (en) | Holding device for the fixing pins of a window, door or furniture hinge | |
| DE9016768U1 (en) | Fittings for doors equipped with mortise locks and locking cylinders | |
| DE20003929U1 (en) | Fastening body for a door and / or window fitting | |
| DE20106561U1 (en) | Device for connecting profile bars | |
| DE8717418U1 (en) | Fittings for doors or similar | |
| EP0118113A2 (en) | Rim lock with security check |
Legal Events
| Date | Code | Title | Description |
|---|---|---|---|
| PUAI | Public reference made under article 153(3) epc to a published international application that has entered the european phase |
Free format text: ORIGINAL CODE: 0009012 |
|
| AK | Designated contracting states |
Kind code of ref document: A2 Designated state(s): AT BE CH DE FR GB IT LI NL |
|
| PUAL | Search report despatched |
Free format text: ORIGINAL CODE: 0009013 |
|
| AK | Designated contracting states |
Kind code of ref document: A3 Designated state(s): AT BE CH DE FR GB IT LI NL |
|
| 17P | Request for examination filed |
Effective date: 19911203 |
|
| 17Q | First examination report despatched |
Effective date: 19930323 |
|
| GRAA | (expected) grant |
Free format text: ORIGINAL CODE: 0009210 |
|
| AK | Designated contracting states |
Kind code of ref document: B1 Designated state(s): AT BE CH DE FR GB IT LI NL |
|
| PG25 | Lapsed in a contracting state [announced via postgrant information from national office to epo] |
Ref country code: IT Free format text: LAPSE BECAUSE OF FAILURE TO SUBMIT A TRANSLATION OF THE DESCRIPTION OR TO PAY THE FEE WITHIN THE PRE;WARNING: LAPSES OF ITALIAN PATENTS WITH EFFECTIVE DATE BEFORE 2007 MAY HAVE OCCURRED AT ANY TIME BEFORE 2007. THE CORRECT EFFECTIVE DATE MAY BE DIFFERENT FROM THE ONE RECORDED.SCRIBED TIME-LIMIT Effective date: 19930929 Ref country code: FR Effective date: 19930929 Ref country code: GB Effective date: 19930929 |
|
| REF | Corresponds to: |
Ref document number: 95269 Country of ref document: AT Date of ref document: 19931015 Kind code of ref document: T |
|
| REF | Corresponds to: |
Ref document number: 59100410 Country of ref document: DE Date of ref document: 19931104 |
|
| PLBI | Opposition filed |
Free format text: ORIGINAL CODE: 0009260 |
|
| EN | Fr: translation not filed | ||
| 26 | Opposition filed |
Opponent name: IKON AKTIENGESELLSCHAFT PRAEZISIONSTECHNIK Effective date: 19940203 |
|
| GBV | Gb: ep patent (uk) treated as always having been void in accordance with gb section 77(7)/1977 [no translation filed] |
Effective date: 19930929 |
|
| NLR1 | Nl: opposition has been filed with the epo |
Opponent name: IKON AKTIENGESELLSCHAFT PRAEZISIONSTECHNIK |
|
| PLBM | Termination of opposition procedure: date of legal effect published |
Free format text: ORIGINAL CODE: 0009276 |
|
| STAA | Information on the status of an ep patent application or granted ep patent |
Free format text: STATUS: OPPOSITION PROCEDURE CLOSED |
|
| 27C | Opposition proceedings terminated |
Effective date: 19950224 |
|
| NLR2 | Nl: decision of opposition | ||
| PGFP | Annual fee paid to national office [announced via postgrant information from national office to epo] |
Ref country code: CH Payment date: 19970120 Year of fee payment: 7 |
|
| PG25 | Lapsed in a contracting state [announced via postgrant information from national office to epo] |
Ref country code: CH Free format text: LAPSE BECAUSE OF NON-PAYMENT OF DUE FEES Effective date: 19980228 Ref country code: LI Free format text: LAPSE BECAUSE OF NON-PAYMENT OF DUE FEES Effective date: 19980228 |
|
| REG | Reference to a national code |
Ref country code: CH Ref legal event code: PL |
|
| PGFP | Annual fee paid to national office [announced via postgrant information from national office to epo] |
Ref country code: NL Payment date: 20080229 Year of fee payment: 18 |
|
| PGFP | Annual fee paid to national office [announced via postgrant information from national office to epo] |
Ref country code: AT Payment date: 20080229 Year of fee payment: 18 |
|
| PGFP | Annual fee paid to national office [announced via postgrant information from national office to epo] |
Ref country code: BE Payment date: 20080312 Year of fee payment: 18 |
|
| BERE | Be: lapsed |
Owner name: *ASSA RUKO SICHERHEITSSYSTEME G.M.B.H. Effective date: 20090228 |
|
| PG25 | Lapsed in a contracting state [announced via postgrant information from national office to epo] |
Ref country code: AT Free format text: LAPSE BECAUSE OF NON-PAYMENT OF DUE FEES Effective date: 20090208 |
|
| NLV4 | Nl: lapsed or anulled due to non-payment of the annual fee |
Effective date: 20090901 |
|
| PG25 | Lapsed in a contracting state [announced via postgrant information from national office to epo] |
Ref country code: NL Free format text: LAPSE BECAUSE OF NON-PAYMENT OF DUE FEES Effective date: 20090901 |
|
| PGFP | Annual fee paid to national office [announced via postgrant information from national office to epo] |
Ref country code: DE Payment date: 20090831 Year of fee payment: 19 |
|
| PG25 | Lapsed in a contracting state [announced via postgrant information from national office to epo] |
Ref country code: BE Free format text: LAPSE BECAUSE OF NON-PAYMENT OF DUE FEES Effective date: 20090228 |
|
| PG25 | Lapsed in a contracting state [announced via postgrant information from national office to epo] |
Ref country code: DE Free format text: LAPSE BECAUSE OF NON-PAYMENT OF DUE FEES Effective date: 20100901 |
