EP0363330A1 - Sitz mit einer Mehrschichtenstruktur, insbesondere für Kraftfahrzeuge - Google Patents
Sitz mit einer Mehrschichtenstruktur, insbesondere für Kraftfahrzeuge Download PDFInfo
- Publication number
- EP0363330A1 EP0363330A1 EP89830387A EP89830387A EP0363330A1 EP 0363330 A1 EP0363330 A1 EP 0363330A1 EP 89830387 A EP89830387 A EP 89830387A EP 89830387 A EP89830387 A EP 89830387A EP 0363330 A1 EP0363330 A1 EP 0363330A1
- Authority
- EP
- European Patent Office
- Prior art keywords
- layer
- seat according
- seat
- degree
- plastic memory
- Prior art date
- Legal status (The legal status is an assumption and is not a legal conclusion. Google has not performed a legal analysis and makes no representation as to the accuracy of the status listed.)
- Granted
Links
- 229920003023 plastic Polymers 0.000 claims abstract description 18
- 239000004033 plastic Substances 0.000 claims abstract description 18
- 239000010410 layer Substances 0.000 claims description 73
- 239000000463 material Substances 0.000 claims description 14
- 239000004744 fabric Substances 0.000 claims description 11
- 239000011241 protective layer Substances 0.000 claims description 6
- 239000006260 foam Substances 0.000 claims description 4
- -1 polyethylene Polymers 0.000 claims description 4
- 239000004698 Polyethylene Substances 0.000 claims description 3
- 239000010985 leather Substances 0.000 claims description 3
- 229920000573 polyethylene Polymers 0.000 claims description 3
- 229920005830 Polyurethane Foam Polymers 0.000 claims description 2
- 239000000853 adhesive Substances 0.000 claims description 2
- 230000001070 adhesive effect Effects 0.000 claims description 2
- 239000011496 polyurethane foam Substances 0.000 claims description 2
- 238000004519 manufacturing process Methods 0.000 description 5
- 230000009471 action Effects 0.000 description 2
- 238000004026 adhesive bonding Methods 0.000 description 2
- 230000000295 complement effect Effects 0.000 description 2
- 230000006835 compression Effects 0.000 description 2
- 238000007906 compression Methods 0.000 description 2
- 230000000694 effects Effects 0.000 description 2
- 238000002474 experimental method Methods 0.000 description 2
- 230000006870 function Effects 0.000 description 2
- 239000002184 metal Substances 0.000 description 2
- 239000000126 substance Substances 0.000 description 2
- 229920002994 synthetic fiber Polymers 0.000 description 2
- 241000705082 Sialia Species 0.000 description 1
- 230000006399 behavior Effects 0.000 description 1
- 238000005056 compaction Methods 0.000 description 1
- 230000005494 condensation Effects 0.000 description 1
- 238000009833 condensation Methods 0.000 description 1
- 238000009826 distribution Methods 0.000 description 1
- 235000019589 hardness Nutrition 0.000 description 1
- 238000005470 impregnation Methods 0.000 description 1
- 238000003780 insertion Methods 0.000 description 1
- 230000037431 insertion Effects 0.000 description 1
- 238000009413 insulation Methods 0.000 description 1
- 239000002991 molded plastic Substances 0.000 description 1
- 229920002635 polyurethane Polymers 0.000 description 1
- 239000004814 polyurethane Substances 0.000 description 1
- 230000009467 reduction Effects 0.000 description 1
- 230000035807 sensation Effects 0.000 description 1
- 235000019615 sensations Nutrition 0.000 description 1
- 125000000391 vinyl group Chemical group [H]C([*])=C([H])[H] 0.000 description 1
- 229920002554 vinyl polymer Polymers 0.000 description 1
Images
Classifications
-
- A—HUMAN NECESSITIES
- A47—FURNITURE; DOMESTIC ARTICLES OR APPLIANCES; COFFEE MILLS; SPICE MILLS; SUCTION CLEANERS IN GENERAL
- A47C—CHAIRS; SOFAS; BEDS
- A47C7/00—Parts, details, or accessories of chairs or stools
- A47C7/02—Seat parts
- A47C7/18—Seat parts having foamed material included in cushioning part
Definitions
- the present invention relates to seats and has been developed with particular attention to its possible use in the manufacture of motor vehicle seats, particularly the rear (bench) seats of motor cars.
- these seats are constituted essentially by a support framework (usually with associated means for varying the relative positions of the squab and the backrest and/or the position of the seat as a whole) on which a sprung structure covered in turn by a mass of padding (upholstery) is mounted.
- the squab is constituted by two layers of resilient synthetic material of different hardnesses, between which is an intermediate impregnation layer.
- the surface of the squab is defined by a soft layer so that the seat adapts itself to motorists of different sizes.
- the lower layer which is more compact, acts essentially as a support structure.
- the upper soft layer is made thicker in the region on which the left femoral region of the driver rests in use, whilst the thickness of the lower layer is correspondingly reduced. The downward movement of the driver's femoral region is thus facilitated when he lowers the clutch pedal.
- the object of the present invention is to produce a seat, preferably including a squab part and a backrest, in which, according to a known solution, the use of a layered structure is envisaged.
- the main characteristic of the seat according to the invention is the fact that the layered structure, which may be used only for the squab, only for the backrest, or for both these elements, includes at least one relatively inelastic layer with some degree of plastic memory.
- the invention is based on the recognition of the fact that, according to experiments carried out by the Applicant, the solution in which an upper or outer soft, resilient layer is simply combined with a lower or base support layer which is also resilient but slightly harder (as in the case of the combination of two polyurethane layers) is intrinsically unsuitable for providing an ergonomically-effective solution: in fact, with this solution, it is impossible to reconcile the need to ensure driving or travelling comfort with the need to prevent the layered squab unit from being compressed (becoming, so to speak, "compacted") in the presence of very high stresses, such as those resulting from travelling over rough ground, until its function of mechanical insulation from the underlying rigid structure (the framework of the seat) is cancelled out, creating a situation (so-called "bumping") which is very disagreable for the driver.
- a very soft lower layer provides good driving and travelling comfort, but shows a marked tendency to become deformed in the presence of high stresses.
- a harder lower layer avoids the risk of deformation or "compaction" of the layered structure in the presence of a high stress, but is generally rather hard and uncomfortable under normal travelling conditions.
- the main element of the solution according to the invention is the presence of a relatively inelastic layer which has some degree of plastic memory.
- the term "relatively inelastic with some degree of plastic memory” is intended to define a layer of material which tends to retain its deformed shape to a certain extent following a mechanical stress and returns resiliently to its original undeformed shape only after the stress has ceased for a certain period of time, for example several seconds.
- this foam tends to return to its undeformed condition between about 0.1 and about 1 second after the deforming pressure has ceased, with preferred values around the upper end of this range.
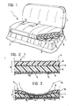
- a seat In the drawings, a seat, generally indicated 1, is intended to be fitted in the passenger compartment of a motor vehicle, such as a motor car (not illustrated as a whole). More precisely, this is concerned with a rear (bench) seat fitted on a raised portion of the floor P of the passenger compartment of the motor car, provided with stiffening ribs P1.
- the seat 1 as a whole has a seat portion (or, in short, a "squab") 2 and a vertical portion or backrest 3 which extends upwards from the rear portion of the squab 2.
- front and “rear” and “lower” and “upper” as used in this specification relate to the normal position of mounting of the seat 1 in the passenger compartment of the motor vehicle, with respect to the normal direction of travel of the latter.
- Both the squab 2 and the backrest 3 (or possibly just one of them, preferably the squab 2) is constituted essentially by a structure or "body” 4 of rigid or semirigid material (for example, moulded plastics or metal) which is intended to rest on the floor P (or on a support structure projecting therefrom) and carries an applied mass of padding 5 with a layered structure.
- body 4 of rigid or semirigid material (for example, moulded plastics or metal) which is intended to rest on the floor P (or on a support structure projecting therefrom) and carries an applied mass of padding 5 with a layered structure.
- the layered mass 5 - a soft, resilient lower or base layer 6, - a relatively inelastic intermediate layer 7 with some degree of plastic memory, and - a soft upper or "outer” layer 8.
- a material such as the expanded polyurethane foam sold under the trade name PURFOAM (produced by Padana Plastici) may be used for the production of the base layer 6.
- This material has a generally elastoplastic behaviour which means that it tends to retain the deformed condition assumed as a result of a stress and return to its original undeformed condition only after the stress has ceased for a certain period of time. In the embodiments which have proved most effective up to now, this period has a duration of from about 0.1 to about 1 second, preferably around the upper end of this range.
- the selection of a thickness within the range of about 0.5 to about 1.5 cm has proved particularly effective, at least for the region supporting a person seated on a normal motor vehicle seat.
- the soft upper layer 8 it is possible, for example, to use a material substantially identical to the material constituting the layer 6, preferably with a selected thickness of the order of from about 1 to about 1.5 cm which brings the overall thickness of the layered mass 5 to a value of the order of 6-10 cm.
- the top or outer layer 8 may be covered by a protective layer 9 made, for example, from fabric (possibly padded), synthetic material (for example, vinyl leather or the like) or even from a layer of natural leather.
- a protective layer 9 made, for example, from fabric (possibly padded), synthetic material (for example, vinyl leather or the like) or even from a layer of natural leather.
- the protective layer 9 may be constituted by an upper portion of the layer 8 (which, as has been seen, is usually a foamed or sponge material) which has been subjected - according to known criteria - to a condensation treatment intended to provide it with a more compact structure suitable for carrying out the function of a protective layer.
- FIG. 2 A comparison of Figures 2 and 3 shows that the upper or outer layer 8 is almost completely deformed by a person M occupying the seat, so that it lies on the intermediate layer 7.
- the latter consequently assumes a general bowl shape which is adapted in a complementary manner to the anthropometric characteristics of the person M, so as to achieve the required restraint. This all occurs without causing the complete deformation of the base layer 6 which therefore retains its capacity for further deformation as a result of incidental stresses such as those resulting from bumps, etc...
- the above description of the squab 2 can supply equally well to the backrest 3, in which the base layer 6 and the outer layer 8 are situated behind and in front of the intermediate layer 7, respectively.
- the intermediate layer 7 is flexed and the load is distributed over a larger surface than that represented by the body structures contacting the squab.
- the fabric layer 10 is useful in obtaining a still larger surface, involving a larger portion of the squab in the springing action.
- the insertion of the fabric layer 10 which is by itself substantially unextendible, ensures the following advantages: - a wider distribution of the load on the squab surface; - minimum weight increase; - reduced costs and, in any case, costs which are lower than possible alternatives; - synergism (i.e. mutual increase) of the desired effect, in contact between the plastic layer 7 and the fabric layer 10; and - no appreciable increase in thickness.
Landscapes
- Seats For Vehicles (AREA)
- Laminated Bodies (AREA)
Applications Claiming Priority (2)
| Application Number | Priority Date | Filing Date | Title |
|---|---|---|---|
| IT6788788 | 1988-10-03 | ||
| IT8867887A IT1224463B (it) | 1988-10-03 | 1988-10-03 | Sedile a struttura strattificata particolarmente per autoveicoli |
Publications (2)
| Publication Number | Publication Date |
|---|---|
| EP0363330A1 true EP0363330A1 (de) | 1990-04-11 |
| EP0363330B1 EP0363330B1 (de) | 1994-02-16 |
Family
ID=11306094
Family Applications (1)
| Application Number | Title | Priority Date | Filing Date |
|---|---|---|---|
| EP89830387A Expired - Lifetime EP0363330B1 (de) | 1988-10-03 | 1989-09-12 | Sitz mit einer Mehrschichtenstruktur, insbesondere für Kraftfahrzeuge |
Country Status (4)
| Country | Link |
|---|---|
| EP (1) | EP0363330B1 (de) |
| DE (1) | DE68913122T2 (de) |
| ES (1) | ES2049350T3 (de) |
| IT (1) | IT1224463B (de) |
Cited By (3)
| Publication number | Priority date | Publication date | Assignee | Title |
|---|---|---|---|---|
| EP0562453A1 (de) * | 1992-03-24 | 1993-09-29 | FIAT AUTO S.p.A. | Sitzkissen, zum Beispiel für Kraftfahrzeugsitze |
| US5551756A (en) * | 1994-03-16 | 1996-09-03 | Custom Orthotics, Inc. | Orthotic wheelchair positioning device and support system |
| FR2885614A1 (fr) * | 2005-05-13 | 2006-11-17 | Arconnerie Soc Par Actions Sim | Arcon pour selle d'equitation, procede de fabrication d'une selle, moyen utilise et selle realisee |
Families Citing this family (2)
| Publication number | Priority date | Publication date | Assignee | Title |
|---|---|---|---|---|
| DE10249871A1 (de) * | 2002-10-25 | 2004-05-06 | Delphi Technologies, Inc., Troy | Vorrichtung zur Erkennung einer Sitzbelegung |
| DE102008045860B4 (de) * | 2007-09-07 | 2021-07-01 | Volkswagen Ag | Fahrzeugsitz in Leichtbauweise |
Citations (3)
| Publication number | Priority date | Publication date | Assignee | Title |
|---|---|---|---|---|
| US3047888A (en) * | 1960-12-05 | 1962-08-07 | George O Shecter | Cushioning structure |
| US3118153A (en) * | 1960-10-21 | 1964-01-21 | Davidson Rubber Company Inc | Upholstery corner construction |
| US3833259A (en) * | 1972-05-30 | 1974-09-03 | Deere & Co | Vehicle seat comprising three foam layers |
-
1988
- 1988-10-03 IT IT8867887A patent/IT1224463B/it active
-
1989
- 1989-09-12 ES ES89830387T patent/ES2049350T3/es not_active Expired - Lifetime
- 1989-09-12 EP EP89830387A patent/EP0363330B1/de not_active Expired - Lifetime
- 1989-09-12 DE DE68913122T patent/DE68913122T2/de not_active Expired - Fee Related
Patent Citations (3)
| Publication number | Priority date | Publication date | Assignee | Title |
|---|---|---|---|---|
| US3118153A (en) * | 1960-10-21 | 1964-01-21 | Davidson Rubber Company Inc | Upholstery corner construction |
| US3047888A (en) * | 1960-12-05 | 1962-08-07 | George O Shecter | Cushioning structure |
| US3833259A (en) * | 1972-05-30 | 1974-09-03 | Deere & Co | Vehicle seat comprising three foam layers |
Cited By (3)
| Publication number | Priority date | Publication date | Assignee | Title |
|---|---|---|---|---|
| EP0562453A1 (de) * | 1992-03-24 | 1993-09-29 | FIAT AUTO S.p.A. | Sitzkissen, zum Beispiel für Kraftfahrzeugsitze |
| US5551756A (en) * | 1994-03-16 | 1996-09-03 | Custom Orthotics, Inc. | Orthotic wheelchair positioning device and support system |
| FR2885614A1 (fr) * | 2005-05-13 | 2006-11-17 | Arconnerie Soc Par Actions Sim | Arcon pour selle d'equitation, procede de fabrication d'une selle, moyen utilise et selle realisee |
Also Published As
| Publication number | Publication date |
|---|---|
| IT8867887A0 (it) | 1988-10-03 |
| DE68913122T2 (de) | 1994-05-26 |
| ES2049350T3 (es) | 1994-04-16 |
| IT1224463B (it) | 1990-10-04 |
| DE68913122D1 (de) | 1994-03-24 |
| EP0363330B1 (de) | 1994-02-16 |
Similar Documents
| Publication | Publication Date | Title |
|---|---|---|
| US3758159A (en) | Vehicle seat construction | |
| US5462339A (en) | Sitting section of a vehicle seat | |
| US6231125B1 (en) | Seat with resilient sheet-formed seat cushion | |
| US9266455B2 (en) | Cushion pad for car seat | |
| US3675970A (en) | Seat construction | |
| US3049730A (en) | Seat structure | |
| US3844614A (en) | Seat cushion | |
| US11603155B2 (en) | Bicycle saddle, saddle pad, and method for producing a bicycle saddle or saddle pad | |
| US4761035A (en) | Seat cushion assembly | |
| EP0407361B1 (de) | Sitzrückenlehne mit einer Mehrschichtenstruktur | |
| US3697133A (en) | Seat back structure | |
| EP0363330B1 (de) | Sitz mit einer Mehrschichtenstruktur, insbesondere für Kraftfahrzeuge | |
| JPH0132912Y2 (de) | ||
| WO1997020669A1 (en) | Multi-layered different hardness seat equipped with surface skin and production method thereof | |
| CZ263094A3 (en) | Seat upholstering and process for producing seat cushion with said upholstering | |
| EP0467123B1 (de) | Mehrschichtstruktur als Sitzauflage, besonders für die Kissen von Fahrzeugsitzen, sowie Verfahren zu deren Herstellung | |
| JPH038119Y2 (de) | ||
| JP5529560B2 (ja) | シートパッド及びシート | |
| EP0562453A1 (de) | Sitzkissen, zum Beispiel für Kraftfahrzeugsitze | |
| JPH0537805Y2 (de) | ||
| JP2000189272A (ja) | 車両用シ―トの表面構造 | |
| EP0566065B1 (de) | Polstermaterial, zum Beispiel für Fahrzeugsitze | |
| CN215042293U (zh) | 抑菌防螨防渗透汽车座椅套 | |
| JPS61234806A (ja) | 複合クツシヨン体 | |
| JP2005211251A (ja) | 車両用シートクッションパッド |
Legal Events
| Date | Code | Title | Description |
|---|---|---|---|
| PUAI | Public reference made under article 153(3) epc to a published international application that has entered the european phase |
Free format text: ORIGINAL CODE: 0009012 |
|
| AK | Designated contracting states |
Kind code of ref document: A1 Designated state(s): DE ES FR GB IT SE |
|
| 17P | Request for examination filed |
Effective date: 19900711 |
|
| 17Q | First examination report despatched |
Effective date: 19911212 |
|
| GRAA | (expected) grant |
Free format text: ORIGINAL CODE: 0009210 |
|
| AK | Designated contracting states |
Kind code of ref document: B1 Designated state(s): DE ES FR GB IT SE |
|
| ITF | It: translation for a ep patent filed | ||
| REF | Corresponds to: |
Ref document number: 68913122 Country of ref document: DE Date of ref document: 19940324 |
|
| REG | Reference to a national code |
Ref country code: ES Ref legal event code: FG2A Ref document number: 2049350 Country of ref document: ES Kind code of ref document: T3 |
|
| ET | Fr: translation filed | ||
| PG25 | Lapsed in a contracting state [announced via postgrant information from national office to epo] |
Ref country code: GB Effective date: 19940912 |
|
| PG25 | Lapsed in a contracting state [announced via postgrant information from national office to epo] |
Ref country code: SE Effective date: 19940913 Ref country code: ES Free format text: LAPSE BECAUSE OF EXPIRATION OF PROTECTION Effective date: 19940913 |
|
| PLBE | No opposition filed within time limit |
Free format text: ORIGINAL CODE: 0009261 |
|
| STAA | Information on the status of an ep patent application or granted ep patent |
Free format text: STATUS: NO OPPOSITION FILED WITHIN TIME LIMIT |
|
| EAL | Se: european patent in force in sweden |
Ref document number: 89830387.0 |
|
| 26N | No opposition filed | ||
| GBPC | Gb: european patent ceased through non-payment of renewal fee |
Effective date: 19940912 |
|
| PG25 | Lapsed in a contracting state [announced via postgrant information from national office to epo] |
Ref country code: DE Effective date: 19950601 |
|
| EUG | Se: european patent has lapsed |
Ref document number: 89830387.0 |
|
| REG | Reference to a national code |
Ref country code: ES Ref legal event code: FD2A Effective date: 19990601 |
|
| PGFP | Annual fee paid to national office [announced via postgrant information from national office to epo] |
Ref country code: FR Payment date: 20010928 Year of fee payment: 13 |
|
| PG25 | Lapsed in a contracting state [announced via postgrant information from national office to epo] |
Ref country code: FR Free format text: LAPSE BECAUSE OF NON-PAYMENT OF DUE FEES Effective date: 20030603 |
|
| REG | Reference to a national code |
Ref country code: FR Ref legal event code: ST |
|
| PG25 | Lapsed in a contracting state [announced via postgrant information from national office to epo] |
Ref country code: IT Free format text: LAPSE BECAUSE OF NON-PAYMENT OF DUE FEES;WARNING: LAPSES OF ITALIAN PATENTS WITH EFFECTIVE DATE BEFORE 2007 MAY HAVE OCCURRED AT ANY TIME BEFORE 2007. THE CORRECT EFFECTIVE DATE MAY BE DIFFERENT FROM THE ONE RECORDED. Effective date: 20050912 |