EP0347534A1 - Brennstoffeinspritzsystem für Brennkraftmaschinen - Google Patents

Brennstoffeinspritzsystem für Brennkraftmaschinen Download PDF

Info

Publication number
EP0347534A1
EP0347534A1 EP89106021A EP89106021A EP0347534A1 EP 0347534 A1 EP0347534 A1 EP 0347534A1 EP 89106021 A EP89106021 A EP 89106021A EP 89106021 A EP89106021 A EP 89106021A EP 0347534 A1 EP0347534 A1 EP 0347534A1
Authority
EP
European Patent Office
Prior art keywords
injection system
fuel injection
fuel
chamber
laser
Prior art date
Legal status (The legal status is an assumption and is not a legal conclusion. Google has not performed a legal analysis and makes no representation as to the accuracy of the status listed.)
Granted
Application number
EP89106021A
Other languages
English (en)
French (fr)
Other versions
EP0347534B1 (de
Inventor
Peter Prof. Dr.-Ing. Hofbauer
Günter Dipl.-Ing Härtel
Karl Heinrich Dr.-Ing. Lösing
Robert Dr. Rer. Nat. Dorner
Rainer Dr.-Ing. Simonis
Erasmus Dr.-Ing. Schulte
Current Assignee (The listed assignees may be inaccurate. Google has not performed a legal analysis and makes no representation or warranty as to the accuracy of the list.)
Pierburg GmbH
Original Assignee
Pierburg GmbH
Priority date (The priority date is an assumption and is not a legal conclusion. Google has not performed a legal analysis and makes no representation as to the accuracy of the date listed.)
Filing date
Publication date
Application filed by Pierburg GmbH filed Critical Pierburg GmbH
Publication of EP0347534A1 publication Critical patent/EP0347534A1/de
Application granted granted Critical
Publication of EP0347534B1 publication Critical patent/EP0347534B1/de
Anticipated expiration legal-status Critical
Expired - Lifetime legal-status Critical Current

Links

Images

Classifications

    • FMECHANICAL ENGINEERING; LIGHTING; HEATING; WEAPONS; BLASTING
    • F02COMBUSTION ENGINES; HOT-GAS OR COMBUSTION-PRODUCT ENGINE PLANTS
    • F02MSUPPLYING COMBUSTION ENGINES IN GENERAL WITH COMBUSTIBLE MIXTURES OR CONSTITUENTS THEREOF
    • F02M69/00Low-pressure fuel-injection apparatus ; Apparatus with both continuous and intermittent injection; Apparatus injecting different types of fuel
    • F02M69/04Injectors peculiar thereto
    • F02M69/041Injectors peculiar thereto having vibrating means for atomizing the fuel, e.g. with sonic or ultrasonic vibrations
    • FMECHANICAL ENGINEERING; LIGHTING; HEATING; WEAPONS; BLASTING
    • F02COMBUSTION ENGINES; HOT-GAS OR COMBUSTION-PRODUCT ENGINE PLANTS
    • F02MSUPPLYING COMBUSTION ENGINES IN GENERAL WITH COMBUSTIBLE MIXTURES OR CONSTITUENTS THEREOF
    • F02M31/00Apparatus for thermally treating combustion-air, fuel, or fuel-air mixture
    • F02M31/02Apparatus for thermally treating combustion-air, fuel, or fuel-air mixture for heating
    • F02M31/16Other apparatus for heating fuel
    • F02M31/18Other apparatus for heating fuel to vaporise fuel
    • FMECHANICAL ENGINEERING; LIGHTING; HEATING; WEAPONS; BLASTING
    • F02COMBUSTION ENGINES; HOT-GAS OR COMBUSTION-PRODUCT ENGINE PLANTS
    • F02MSUPPLYING COMBUSTION ENGINES IN GENERAL WITH COMBUSTIBLE MIXTURES OR CONSTITUENTS THEREOF
    • F02M53/00Fuel-injection apparatus characterised by having heating, cooling or thermally-insulating means
    • F02M53/02Fuel-injection apparatus characterised by having heating, cooling or thermally-insulating means with fuel-heating means, e.g. for vaporising
    • YGENERAL TAGGING OF NEW TECHNOLOGICAL DEVELOPMENTS; GENERAL TAGGING OF CROSS-SECTIONAL TECHNOLOGIES SPANNING OVER SEVERAL SECTIONS OF THE IPC; TECHNICAL SUBJECTS COVERED BY FORMER USPC CROSS-REFERENCE ART COLLECTIONS [XRACs] AND DIGESTS
    • Y02TECHNOLOGIES OR APPLICATIONS FOR MITIGATION OR ADAPTATION AGAINST CLIMATE CHANGE
    • Y02TCLIMATE CHANGE MITIGATION TECHNOLOGIES RELATED TO TRANSPORTATION
    • Y02T10/00Road transport of goods or passengers
    • Y02T10/10Internal combustion engine [ICE] based vehicles
    • Y02T10/12Improving ICE efficiencies

Definitions

  • the invention relates to a fuel injection system for internal combustion engines with a mouth for fuel delivery, the amount to be delivered determined as a function of parameters in a control unit and output as a signal characterizing this amount.
  • Such devices are known and marketed as electronic injection systems. For fuel metering, they require highly precise components that are mechanically very complex to manufacture.
  • the advantages of the system according to the main claim are that a sequential and selective injection system with a high degree of freedom of the quantity distribution over the course of time is possible.
  • the injection pulse is converted into a metered amount of fuel to be sprayed without the interposition of mechanical or electromechanical components.
  • the signal characterizing a fuel quantity is applied to an emission source with a narrow waveband, preferably a laser, for triggering at least one pulse of calculated duration and / or intensity, this pulse entering a chamber located and defined volume of fuel is directed and a defined part of this volume is pressed out through the mouth.
  • the fuel is squeezed out by increasing the pressure during the formation of vapor bubbles of longer or shorter lifespan, which have the effect of pressure waves.
  • the pressure waves can also be generated in the fuel by forming resonance with appropriate excitation. This is also conceivable when waves are applied in the ultrasound range.
  • FIG. 1 shows the schematic structure of the injection system and FIGS. 2 and 3 details. 4 to 7 show details of other embodiments, FIG. 8 shows an embodiment with a central laser and FIG. 9 shows the different possibilities of pulse shapes of the laser.
  • the fuel is distributed to the fuel tank 2 via the fuel feed line 1 and to the rotary valves 6 via the lines 4 and 5 by means of the fuel pump 3. From these the fuel reaches the mouths 7 in the intake manifold, in this embodiment, injection nozzles 8 acting there as check valves are arranged. These give the fuel as an injection jet 9 in front of the intake valves of the cylinders to the intake manifold. The fuel delivered in excess comes back from the rotary valves via lines 10, 11, 12 and a fuel system pressure regulator 13 into the fuel tank 2.
  • the rotary valves 6 are each equipped with an electric motor 14 for the rotary valve drive.
  • the drive takes place in the work cycle of the internal combustion engine, i. H. with a four-stroke engine in sync with the camshaft speed.
  • the number of rotary slide units corresponds to the number of cylinders to be supplied by the fuel injection system.
  • Other constructive solutions for distributing the metered amount are conceivable.
  • a chamber 16 formed in the plug as a through bore alternately coincides with the openings of fuel lines 5 and 10 or with the opening of fuel line 7 and an optical window 17 is.
  • an injection nozzle 8 is arranged, which is held spring-loaded in the closing direction and only opens when a predetermined opening pressure is exceeded.
  • the valve closing body 18 is held in the closed position by the force of the compression spring 21 clamped between the spring supports 19, 20.
  • the valve opening pressure is exceeded by a metered supply of energy for the purpose of increasing the pressure in the fuel, which is located in the closed volume of the chamber 16.
  • the energy is supplied via a largely inertia-free system by means of a light source emitting in a narrow wavelength range, preferably a laser 22. It is possible to vaporize a certain amount of fuel and a corresponding proportional amount of liquid or vapor fuel by metering the energy supplied in the respective spray cycle hosed down.
  • the laser 22 When the laser 22 outputs a pulse, it forms due to the energy supply by means of the laser beam 23 the optical window 17 in the end of the chamber 16 facing away from the opening to the injection line either a sequence of pressure waves or a vapor bubble 24, which causes an increase in pressure and the pressure energy generated doses the amount of fuel sprayed off.
  • the laser pulse is calculated by an electronic control unit 25 which processes parameters of the motor and the environment in a known manner. In the memory of the control unit, maps are stored which, under different operating conditions, have valid correlations between the laser pulse and the pressure wave increase z. B. by the amount of vaporized fuel and the amount of fuel to be dispensed. By training as an adaptive system and using z. B.
  • FIG. 2 shows the filling stroke and FIG. 3 the injection stroke.
  • the laser 22 is connected to the control unit via lines 26 and 27, the electric motor 14 via lines 28, 29.
  • the system described can be used both for a central injection and for a multi-point injection.
  • optical means 30 can be arranged opposite the optical window 17, which bundle, focus or scatter the laser beam. With appropriate training, the optical window 17 can also perform this task.
  • the optical means 30 are then arranged directly in the wall closing the chamber 16 opposite the laser 22. It is also conceivable to arrange the optical means in the chamber 16 surrounded by the fuel.
  • an object 31 in the chamber 16 at an optically and hydraulically favorable location, to which the beam 23 is directed.
  • the incident energy is converted directly or indirectly into thermal energy for evaporation.
  • the object or a coating applied to it heats up.
  • the object or the applied coating consists of a luminescent material which converts the light emitted by the laser in the wavelength range from 0.8 to 1.6 ⁇ m, for example, into a light which can be easily absorbed by the fuel in the wavelength range from 3, for example, 3 ⁇ m converts.
  • a luminescent material which converts the light emitted by the laser in the wavelength range from 0.8 to 1.6 ⁇ m, for example, into a light which can be easily absorbed by the fuel in the wavelength range from 3, for example, 3 ⁇ m converts.
  • a mixed form using both effects is conceivable.
  • the side of the optical means facing the chamber 16 in such a way that the wavelength of the emitted beam is converted into a wavelength which can be easily absorbed. This can also be achieved by a luminescent coating.
  • a wavelength that can be easily absorbed is a wavelength that can cause the low-boiling components of the fuel to evaporate suddenly with the least amount of energy.
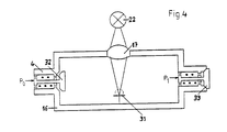
  • FIG. 4 shows a detail of another embodiment of the fuel injection system, as a result of which the complexity of the system shown in FIG. 1 is to be reduced.
  • the chamber 16 receiving the defined volume of fuel is provided on the inlet and outlet side with check valves 32, 33 opening in the flow direction.
  • the chamber 16 is exposed to the pressure of the delivered fuel by means of the line 4.
  • the closing spring of the valve 33 prevents the fuel from being sprayed off due to its greater strength than the closing spring of the valve 32 during the filling process.
  • the valve 32 closes when the pressure in the chamber 16 and the inlet 4 are equal.
  • the pressure increase in the chamber 16 due to evaporation of a defined part of the enclosed fuel emerges through the valve 33 through the displacement effect of the vapor bubble formed.
  • the pressure in the chamber 16 also decreases when the vapor bubble collapses, so that the valve 32 opens under the pressure prevailing in the line 4 and the chamber 16 is refilled with the liquefaction of the collapsing vapor bubble completely becomes.
  • the metered fuel is fed through a suitable distributor device to the mouths assigned to the intake manifold and in each case a valve 8 is arranged so that the line between chamber 16 and mouth is always filled with fuel, only one centrally located laser used.
  • an optical means 30 for focusing the laser beam 23 is arranged in the wall of the tap 15.
  • a cavern 34 which is embodied here as a blind hole and serves the purpose of always acting as a bladder germ site in the formation of a vapor bubble by remaining in it a bubble residue. It is thereby achieved that the energy required to form the vapor bubble 24 is less than is the case when a vapor bubble has to be generated in pure liquid.
  • the maintenance of a vapor bubble residue can additionally be ensured by supplying external energy, for example by means of an electrical heating element 35 located in this cavern 34.
  • This heating element can be designed, for example, as a PTC rod or tubes.
  • Fig. 6 shows an embodiment in which the beam 23 on a z. B. above the spring plate 19 arranged object 36 is converted into a light wave easily absorbed by the fuel and reflected, whereby the vapor bubble is formed in the vicinity of the outlet, so that a significantly enriched with vaporous fuel exits through this. Lateral radiation is also possible by arranging the laser accordingly.
  • FIG. 7 shows a further embodiment in which a recess 37 for receiving fuel is arranged on the outer surface of the plug 15 of the rotary distributor, which recess may have a depth that decreases in the direction of rotation, as indicated by dashed lines.
  • the recess 37 sweeps over the mouth 7 leading to the valve 8 in the tap 15.1.
  • the laser 22 is arranged in such a way that it radiates directly or indirectly into the region of the recess which is opposite the direction of rotation (arrow) just before the mouth. In the case of the recess with changing depth, this is always the flatter area first.
  • the fuel vapor to be emitted is formed, so that it is ensured, in particular when the depth is not constant, that steam emerges first and for as long as possible.
  • a groove 38 connecting the inlet line 5 and the outlet line 10 is provided in the inner wall of the tap 15. 1, through which fuel flows continuously. If the recess 37 sweeps over this area of the groove 38, any remaining vapor bubbles are flushed out.
  • FIG. 8 shows an embodiment with a central arrangement of a laser 22, where an optical or mechanical control unit 39 is provided in the beam path downstream of the laser.
  • the optical control unit 39 uses optical waveguides 40, 41 to connect the laser with a chamber associated with the cylinder in the ignition sequence in the intake stroke 16 connects. Vapor formation then takes place in this. With this arrangement and direct allocation of the chambers 16 to the intake manifold, the escaping fuel can be in the vaporous and / or liquid state.
  • the control unit 39 can be designed in such a way that the optical fiber 40 on the input side is alternately brought into optical connection with the optical fiber 41 on the output side by a movable prism (not shown).
  • the input-side optical waveguide is successively connected to the output-side optical waveguide by pivoting.
  • the control unit 39 can also be designed in such a way that the incoming light is evenly distributed to the outgoing optical waveguides 41 and a mechanical device, for example a pinhole, ensures that only light reaches the chamber whose cylinder is in the intake stroke.
  • a mechanical device for example a pinhole
  • the laser 22 is positioned on the optical waveguide by means of a pivoting device which is connected to the chamber 16 which is associated with the cylinder in the intake stroke.
  • an opto-electrical switch 42 can be arranged in each of them, which releases the optical passage when voltage is applied.
  • the deflection device is designed as an acoustically optical transducer 43, which are arranged one behind the other in two planes.
  • Such a converter reflects the incident beam at a parting plane when a voltage is applied. This separation plane is permeable without the application of voltage. In this way, a beam can be directed to four chambers 16 in chronological order.
  • An embodiment is also possible which provides a laser diode line, that is to say a plurality of laser diodes which are connected to one another and act independently of one another. The individual diodes are each connected to the chamber 16 via optical fibers and are excited in firing order.
  • FIG. 9a-d show various possibilities for the formation of the laser pulse to form a vapor bubble.
  • FIG. A shows a pulse that is emitted at a constant intensity over a certain time.
  • Fig. B shows pulses of constant intensity and the same pulse time to form a vapor bubble, but occurs repeatedly.
  • FIG. C shows several pulses of the same pulse duration, but with a different intensity, to form a vapor bubble, while FIG. D shows pulses of variable duration and variable intensity.
  • Duration of a pulse is understood here to mean the length of time of the emitted laser beam and the intensity of the energy content of the laser beam by varying the excitation current. 5, the energy density of the laser per unit area is determined by the optical means 30.
  • the specified variation of the laser pulse, which is determined by the control device 25, is expediently used to effect the formation of the vapor bubble with the least possible energy expenditure by appropriately dividing the calculated excitation pulse, since it has been shown that the vapor bubble formation occurs more easily when several pulses be emitted with a time interval than is possible with a longer continuous pulse.

Landscapes

  • Engineering & Computer Science (AREA)
  • Chemical & Material Sciences (AREA)
  • Combustion & Propulsion (AREA)
  • Mechanical Engineering (AREA)
  • General Engineering & Computer Science (AREA)
  • Fuel-Injection Apparatus (AREA)

Abstract

Es wird ein Brennstoffeinspritzsystem für Brennkraftmaschinen vorgeschlagen, bei dem ein definiertes Teil eines fest vorgegebenen Brennstoffvolumens durch die Druckerhöhung innerhalb einer brennstoffeinschließenden Kammer eine definierte Brennstoffmenge über jeweils ein Rückschlagventil abgespritzt wird. Ein elektronisches Steuergerät berechnet die Dauer und/oder Intensität und gegebenenfalls die Impulsfolge eines zum Beispiel zur Verdampfung einer bestimmten Brennstoffmenge erforderlichen Laserimpulses. Das System kann für Ein- oder Mehrstelleinspritzung Verwendung finden.

Description

  • Die Erfindung betrifft ein Brennstoffeinspritzsystem für Brennkraftmaschinen mit ei­ner Ausmündung zur Brennstoffabgabe, wobei die abzugebende Menge in Abhängigkeit von Kenngrößen in einem Steuergerät ermittelt und als ein diese Menge charakterisie­rendes Signal ausgegeben wird.
    Derartige Einrichtungen sind bekannt und als elektronische Einspritzsysteme im Markt. Sie erfordern zur Brennstoffdosierung mechanisch sehr aufwendig zu fertigende hoch­präzise Bauteile.
  • Die Vorteile des Systems gemäß dem Hauptanspruch bestehen darin, daß ein sequen­tielles und selektives Einspritzsystem mit hohem Freiheitsgrad der Mengenverteilung über den zeitlichen Verlauf möglich ist. Der Einspritzimpuls wird ohne Zwischenschal­tung mechanischer oder elektromechanischer Bauteile in eine dosierte abzuspritzende Brennstoffmenge umgesetzt.
  • Erfingsgemäß ist bei einem Brennstoffeinspritzsystem eingangs genannter Art vorge­sehen, daß mit dem eine Brennstoffmenge charakterisierenden Signal eine Emissions­quelle mit schmalem Wellenbereich, bevorzugt ein Laser, zur Auslösung mindestens ei­nes Impulses von errechneter Dauer und/oder Intensität beaufschlagt wird, wobei die­ser Impuls in ein innerhalb einer Kammer befindliches und definiertes Volumen von Brennstoff gelenkt wird und ein definiertes Teil dieses Volumens über die Ausmündung ausgepreßt wird.
    Der Brennstoff wird durch Druckerhöhung bei der Bildung von Dampfblasen längerer oder kürzerer Lebensdauer, wobei diese sich als Druckwellen auswirken, ausgepreßt. Die Druckwellen können im Brennstoff auch durch Bildung von Resonanz bei entspre­chender Anregung erzeugt werden. Dies ist auch bei Beaufschlagung mit Wellen im Ultraschallbereich denkbar.
  • Ausgestaltungen der Erfindung sind in den weiteren Ansprüchen angegeben. Nachfol­gend wird die Erfindung an Ausführungsbeispielen schematisch beschrieben.
  • Die Fig. 1 zeigt den schematischen Aufbau des Einspritzsystems und die Fig. 2 und 3 Einzelheiten hierzu. Fig. 4 bis 7 zeigen Details anderer Ausführungsformen, die Fig. 8 zeigt eine Ausführungsform mit einem zentralen Laser und die Fig. 9 zeigt die ver­schiedenen Möglichkeiten von Impulsformen des Lasers.
  • Gemäß Fig. 1 wird der Brennstoff über die Brennstoffvorlaufleitung 1 dem Brennstoff­tank 2 und mittels der Brennstoffpumpe 3 über die Leitung 4 und 5 zu Drehschiebern 6 verteilt. Von diesen gelangt der Brennstoff zu den Ausmündungen 7 ins Saugrohr, wobei bei diesem Ausführungsbeispiel dort als Rückschlagventil wirkende Ein­spritzdüsen 8 angeordnet sind. Diese geben den Brennstoff als Einspritzstrahl 9 vor die Einlaßventile der Zylinder dem Saugrohr zu. Der im Überschuß geförderte Brennstoff gelangt von den Drehschiebern über Leitungen 10, 11, 12 und einen Brennstoffsy­stemdruckregler 13 in den Brennstofftank 2 zurück.
  • Die Drehschieber 6 sind in dem in der Schemazeichnung dargestellten Beispiel jeweils mit einem Elektromotor 14 für den Drehschieberantrieb ausgerüstet. Der Antrieb er­folgt im Arbeitstakt des Verbrennungsmotors, d. h. bei einem Viertaktmotor synchron mit der Nockenwellendrehzahl. Die Anzahl der Drehschiebereinheiten entspricht in dem Ausführungsbeispiel der Anzahl der durch das Brennstoffeinspritzsystem zu ver­sorgenden Zylinder. Andere konstruktive Lösungen zur Verteilung der dosierten Menge sind denkbar.
  • Durch den Antrieb wird bei einer aus Hahn 15.1 und Küken 15 gebildeten Einrichtung dieses drehend betätigt, wodurch eine im Küken als Durchgangsbohrung gebildete Kammer 16 abwechselnd in Deckung mit den Öffnungen der Brennstoffleitungen 5 und 10 oder mit der Öffnung der Brennstoffleitung 7 und einem optischen Fenster 17 ist. Am Ende der Ausmündungen 7 ist jeweils eine Einspritzdüse 8 angeordnet, die federbelastet in Schließrichtung gehalten wird und erst bei Überschreiten eines vorgegebenen Öffnugsdruckes öffnet. In dem dargestellten Beispiel wird der Ventilschließkörper 18 durch die Kraft der zwischen den Federauflagen 19, 20 eingespannten Druckfeder 21 in Schließstellung gehalten. Bei Überschreiten des Öffnungsdruckes übersteigt die Kraft aus der Druckdifferenz zwischen dem Inneren der Ausmündungen 7 und dem Umgebungsdruck am Ventilaustritt die Kraft der Druckfeder 21, wodurch der Ventilschließkörper öffnet und Brennstoff so lange abgespritzt wird, bis zumindest wieder ein Gleichgewichtszustand der Kräfte erreicht ist.
  • Eine Überschreitung des Ventilöffnungsdruckes wird erfindungsgemäß durch eine do­sierte Energiezuführung zum Zweck einer Druckerhöhung im Brennstoff, der sich in dem abgeschlossenen Volumen der Kammer 16 befindet, erreicht. Die Energiezuführung erfolgt über ein weitgehend trägheitsloses System mittels einer in einem schmalen Wellenlängenbereich emittierenden Lichtquelle, bevorzugt eines Lasers 22. Es ist mög­lich, durch Dosierung der im jeweiligen Abspritztakt zugeführten Energie eine be­stimmte Menge Brennstoff zu verdampfen und eine dementsprechende proportionale Menge an flüssigem oder dampfförmigem Brennstoff abzuspritzen. Bei Impulsausgabe des Lasers 22 bildet sich aufgrund der Energiezufuhr mittels des Laserstrahls 23 durch das optische Fenster 17 in dem der Öffnung zur Einspritzleitung abgewandten Ende der Kammer 16 entweder eine Folge von Druckwellen oder eine Dampfblase 24, wodurch eine Druckerhöhung bewirkt wird und die erzeugte Druckenergie dosiert die abge­spritzte Brennstoffmenge. Die Berechnung des Laserimpulses erfolgt durch ein elek­tronisches Steuergerät 25, das in bekannterweise Kenngrößen des Motors und der Um­gebung verarbeitet. Im Speicher des Steuergerätes sind Kennfelder abgelegt, die bei unterschiedlichen Betriebsbedingungen gültige Korrelationen zwischen dem Laserimpuls und der Druckwellenerhöhung z. B. durch die Menge des verdampften Brennstoffs so­wie der abzugebenden Brennstoffmenge enthalten. Durch Ausbildung als adaptives Sy­stem und unter Verwendung z. B. einer Lambdasonde ist es möglich, Änderungen der Brennstoffzusammensetzung und/oder der -temperatur zu kompensieren.
    Die Fig. 2 zeigt den Füllungs- und Fig. 3 den Einspritztakt. Der Laser 22 ist über Lei­tungen 26 und 27, der Elektromotor 14 über Leitungen 28, 29 mit dem Steuergerät verbunden. Das beschriebene System läßt sich sowohl für eine Zentraleinspritzung als auch für eine Mehrstelleneinspritzung einsetzen.
  • Der Fig. 2 ist zu entnehmen, daß dem optischen Fenster 17 gegenüberliegend optische Mittel 30 angeordnet sein können, die den Laserstrahl bündeln, fokussieren oder streuen. Bei entsprechender Ausbildung kann auch das optische Fenster 17 diese Auf­gabe erfüllen. Die optischen Mittel 30 sind dann unmittelbar in der die Kammer 16 ab­schließenden Wandung gegenüber dem Laser 22 angeordnet. Denkbar ist auch, die opti­schen Mittel vom Kraftstoff umgeben in der Kammer 16 anzuordnen.
  • Ferner ist es möglich, in der Kammer 16 ein Objekt 31 an einer optisch und hydrau­lisch günstigen Stelle anzuordnen, auf das der Strahl 23 gerichtet ist. Mittels dieses Objektes wird die einfallende Energie mittelbar oder unmittelbar in Wärmeenergie zur Verdampfung umgesetzt. Bei der unmittelbaren Umwandlung erhitzt sich das Objekt oder eine auf ihm aufgebrachte Beschichtung. Bei der mittelbaren Umwandlung besteht das Objekt oder die aufgebrachte Beschichtung aus einem lumineszierenden Material, das das vom Laser im Wellenbereich von zum Beispiel 0,8 bis 1,6 µm emittierte Licht in ein gut vom Brennstoff zu absorbierendes Licht im Wellenlängenbereich von zum Beispiel 3,3 µm umwandelt. Eine Verwendung einer Mischform unter Ausnutzung beider Effekte ist denkbar.
  • Ferner ist es möglich, die der Kammer 16 zugewandte Seite der optischen Mittel so auszubilden, daß die Wellenlänge des emittierten Strahls in eine gut absorbierbare Wel­lenlänge umgewandelt wird. Dies kann ebenfalls durch eine lumineszierende Beschich­tung bewirkt werden.
  • Als gut absorbierbare Wellenlänge kann eine Wellenlänge ausgesucht werden, die mit dem geringsten Energieaufwand die leichtsiedenden Bestandteile des Brennstoffs zur schlagartigen Verdampfung bringen kann.
  • Die Fig. 4 zeigt ein Detail einer anderen Ausführungsform des Brennstoffeinspritzsy­stems, wodurch der Aufwand des in Fig. 1 dargestellten System zu verringern ist. Hier is die das definierte Volumen von Brennstoff aufnehmende Kammer 16 zulauf- und austrittsseitig mit in Strömungsrichtung öffnenden Rückschlagventilen 32, 33 ver­sehen. Die Kammer 16 ist mittels der Leitung 4 dem Druck des geförderten Brenn­stoffs ausgesetzt. Die Schließfeder des Ventils 33 verhindert durch ihre gegenüber der Schließfeder des Ventils 32 größeren Stärke während des Füllungsvorgangs ein Ab­spritzen des Brennstoffs. Das Ventil 32 schließt bei Druckgleichheit in der Kammer 16 und dem Zulauf 4. Die Druckerhöhung in der Kammer 16 durch Verdampfung einer de­finierten Teilmenge des eingeschlossenen Brennstoffs tritt durch die Verdrängungswir­kung der gebildeten Dampfblase der abzuspritzende Brennstoff über das Ventil 33 aus. Da sich dadurch die Menge des eingeschlossenen Brennstoffs verringert, verringert sich bei Zusammenfall der Dampfblase auch der Druck in der Kammer 16, so daß das Ven­til 32 unter dem in der Leitung 4 herrschenden Druck öffnet und die Kammer 16 unter vollständiger Verflüssigung der zusammenfallenden Dampfblase erneut gefüllt wird. So­fern stromab dieser Kammer bei einem Mehrdüsensystem der zugemessene Brennstoff durch eine geeignete Verteilereinrichtung jeweils den dem Saugrohr zugeordneten Aus­mündungen zugeführt wird und in diesen jeweils nochmals ein Ventil 8 angeordnet ist, damit die Leitung zwischen Kammer 16 und Ausmündung stets mit Brennstoff gefüllt ist, wird lediglich ein zentral angeordneter Laser verwendet.
  • Die Fig. 5 zeigt weitere Ausführungsform. Hier ist in der Wandung des Hahns 15 ein optisches Mittel 30 zur Fokussierung des Laserstrahls 23 angeordnet. In diesem be­findet sich eine Kaverne 34, die hier als Sacklochbohrung ausgeführt ist und dem Zweck dient, stets durch Verbleib eines Dampfblasenrestes in ihr als Blasenkeimstelle bei der Entstehung einer Dampfblase zu wirken. Dadurch wird erreicht, daß die zur Bildung der Dampfblase 24 erforderliche Energie geringer ist, als dies der Fall ist, wenn eine Dampfblase in reiner Flüssigkeit erzeugt werden muß. Die Aufrechterhal­tung eines Dampfblasenrestes kann zusätzlich durch Zuführung externer Energie zum Beispiel mittels eines in dieser Kaverne 34 befindlichen elektrischen Heizelementes 35 sichergestellt werden. Dieses Heizelement kann beispielsweise als PTC-Stab oder -Röhren ausgebildet sein.
  • Bei der Ausführung nach Fig, 2, 3 und 4 ist es denkbar, die Kaverne 35 entweder in dem Objekt 31 anzubringen oder beispielsweise bei einem schräg einfallenden Laser­strahl in der Wandung der Kammer 16.
  • Die Fig. 6 zeigt eine Ausführungsform, bei der der Strahl 23 an einem z. B. oberhalb des Federtellers 19 angeordneten Objekt 36 in eine gut vom Brennstoff absorbierbare Lichtwelle umgewandelt und reflektiert wird, wodurch die Dampfblase in der Nähe des Auslaßes gebildet wird, so daß durch diesen ein wesentlich mit dampfförmigen Be­standteilen angereicherter Brennstoff austritt. Eine seitliche Einstrahlung durch ent­sprechende Anordnung des Lasers ist ebenso möglich.
  • Fig. 7 zeigt eine weitere Ausführung, bei der auf der Außenfläche des Kükens 15 des Drehverteilers eine Ausnehmung 37 zur Aufnahme von Brennstoff angeordnet ist, die von sich in Drehrichtung verringernder Tiefe sein kann, wie gestrichelt angedeutet ist.
  • Diese wird für jeden Brennstoffabgabevorgang erneut mit Brennstoff gefüllt. Die Aus­nehmung 37 überstreicht bei ihrer Drehung die zu dem Ventil 8 führende Ausmündung 7 im Hahn 15.1. Der Laser 22 ist so angeordnet, daß er direkt oder indirekt in den Be­reich der Ausnehmung einstrahlt, der sich entgegen der Drehrichtung (Pfeil) kurz vor der Ausmündung befindet. Dies ist bei der Ausnehmung mit sich ändernder Tiefe stets zuerst der flachere Bereich. Es bildet sich bei Beaufschlagung mit der Strahlung der abzugebende Brennstoffdampf, so daß insbesondere bei der Ausnehmung nicht konstan­ter Tiefe sichergestellt ist, daß zuerst Dampf und dies möglichst lange austritt.
  • Zum Spülen ist in der Innenwandung des Hahns 15.1 eine die Einlaßleitung 5 und die Auslaßleitung 10 verbindende Nut 38 vorgesehen, durch die ständig Brennstoff strömt. Wenn die Ausnehmung 37 diesen Bereich der Nut 38 überstreicht, werden eventuell verbleibende Dampfblasen ausgespült.
  • Die Fig. 8 zeigt eine Ausführung mit einer zentralen Anordnung eines Lasers 22, wo im Strahlengang dem Laser nachgeordnet eine optische oder mechanische Steuereinheit 39 vorgesehen ist, die mittels Lichtwellenleitern 40, 41 jeweils den Laser mit einer dem in Zündfolge im Ansaugtakt befindlichen Zylinder zugeordneten Kammer 16 verbindet. In dieser findet dann die Dampfblasenbildung statt. Bei dieser Einrichtung und unmittelbaren Zuordnung der Kammern 16 zum Saugrohr kann der austretende Brennstoff sich in dampfförmigem und/oder flüssigem Zustand befinden. Die Steuer­einheit 39 kann so ausgebildet sein, daß der eingangsseitige Lichtwellenleiter 40 durch ein nicht dargestelltes bewegliches Prisma abwechselnd mit den ausgangsseitigen Lichtwellenleitern 41 in optischer Verbindung gebracht wird. Ferner ist eine Einrich­tung denkbar, bei der der eingangsseitige Lichtwellenleiter durch Verschwenken mit den ausgangsseitigen Lichtwellenleitern nacheinander in Verbindung gebracht wird. Die Steuereinheit 39 kann auch so ausgebildet sein, daß das eingehende Licht auf die aus­gehenden Lichtwellenleiter 41 gleichmäßig aufgeteilt wird und durch eine mechanische Vorrichtung, zum Beispiel eine Lochblende sichergestellt wird, daß nur Licht zu der Kammer gelangt, deren Zylinder sich im Ansaugtakt befindet. Eine andere Möglichkeit besteht darin, daß der Laser 22 auf den Lichtwellenleiter mittels einer Schwenkein­richtung positioniert wird, der mit der Kammer 16 in Verbindung steht, die dem im Ansaugtakt befindlichen Zylinder zugeordnet ist. Zur Freigabe des Durchgangs der Lichtwellenleiter kann in diesem jeweils ein opto-elektrischer Schalter 42 angeordnet sein, der bei Spannungsbeaufschlagung den optischen Durchgang freigibt.
  • Die Fig. 8a zeigt Ausführung, bei der die Umlenkeinrichtung als akustisch opti­scher Wandler 43 ausgebildet ist, die in zwei Ebenen hintereinander angeordnet sind. Ein derartiger Wandler reflektiert an einer Trennebene bei Anlegen einer Spannung den einfallenden Strahl. Ohne Anlage von Spannung ist diese Trennebene durchlässig. Auf diese Weise läßt sich ein Strahl in zeitlicher Reihenfolge auf vier Kammern 16 lenken. Es ist auch eine Ausführung möglich, die eine Laserdiodenzeile vorsieht, das sind mehrere miteinander zu einem Bauteil verbundene Laserdioden, die unabhängig vonein­ander wirken. Die Einzeldioden sind über Lichtwellenleiter jeweils mit der Kammer 16 verbunden und werden in Zündfolge erregt.
  • Die Fig. 9a-d zeigt verschiedene Möglichkeiten der Ausbildung des Laserimpulses zur Bildung einer Dampfblase. Die Fig. a zeigt einen Impuls, der bei konstanter Intensität über eine bestimmte Zeit abgegeben wird. Die Fig. b zeigt zur Bildung einer Dampf­blase Impulse konstanter Intensität und gleicher Impulszeit, jedoch mehrfach auftre­tend. Die Fig. c zeigt zur Bildung einer Dampfblase mehrere Impulse gleicher Impuls­dauer, jedoch geänderter Intensität, während die Fig. d Impulse variabler Dauer und variabler Intensität zeigt.
  • Unter Dauer eines Impulses wird hier die zeitliche Länge des emittierten Laserstrahls unter Intensität der Energieinhalt des Laserstrahls durch Variation des Erregerstroms verstanden. Mittels der in Fig. 5 dargestellten Einrichtung wird durch die optischen Mittel 30 die Energiedichte des Lasers pro Flächeneinheit bestimmt. Die angegebene Variation des Laserimpulses, die von dem Steuergerät 25 festgelegt wird, wird zweck­mäßigerweise dazu benutzt, durch entsprechende Aufteilung des errechneten Erreger­impulses die Bildung der Dampfblase mit geringstmöglichem Energieaufwand zu bewir­ken, da es sich gezeigt hat, daß die Dampfblasenbildung leichter erfolgt, wenn mehrere Impulse mit zeitlichem Abstand emittiert werden als dies mit einem längeren Dauerimpuls möglich ist.

Claims (34)

1) Brennstoffeinspritzsystem für Brennkraftmaschinen mit einer Ausmündung zur Brennstoffabgabe, wobei die abzugebende Menge in Abhängigkeit von Kenngrößen in einem Steuergerät ermittelt und als ein diese Menge charakterisierendes Signal aus­gegeben wird, dadurch gekennzeichnet, daß mit diesem Signal eine Emissionsquelle mit schmalem Wellenbereich, bevorzugt ein Laser (22), zur Auslösung mindestens ei­nes Impulses von errechneter Dauer und/oder Intensität beaufschlagt wird, wobei dieser Impuls in ein innerhalb einer Kammer (16) befindliches und definiertes Volu­men von Brennstoff gelenkt wird und ein definiertes Teil (24) dieses Volumens über die Ausmündung ausgepreßt wird.
2) Brennstoffeinspritzsystem nach Anspruch 1, dadurch gekennzeichnet, daß in dem Steuergerät (25) bei unterschiedlichen Betriebsbedingungen gültige Korrelationen zwischen dem Laserimpuls und der Druckerhöhung sowie der abzugebenden Brenn­stoffmenge abgelegt sind.
3) Brennstoffeinspritzsystem nach Anspruch 2, dadurch gekennzeichnet, daß zur Kom­pensation von Änderungen der Brennstoffzusammensetzung und/oder der Brennstoff­temperatur die Korrelationen in adaptiven Kennfeldern im Steuergerät (25) abgelegt sind.
4) Brennstoffeinspritzsystem nach mindestens einem der vorstehenden Ansprüche, dadurch gekennzeichnet, daß das eine Brennstoffmenge charakterisierende Signal mehrere Impulse gleicher oder ungleicher Dauer und/oder gleicher oder ungleicher Intensität auslöst.
5) Brennstoffeinspritzsystem nach mindestens einem der vorstehenden Ansprüche, da­durch gekennzeichnet, daß der Laserstrahl (23) durch optische Mittel (30) gebündelt oder gestreut oder fokussiert wird.
6) Brennstoffeinspritzsystem nach Anspruch 5, dadurch gekennzeichnet, daß die opti­schen Mittel (30) in der die Kammer (16) abschließende Wandung gegenüber dem La­ser (22) angeordnet sind.
7) Brennstoffeinspritzsystem nach Anspruch 5, dadurch gekennzeichnet, daß die opti­schen Mittel (30) vom Brennstoff umgeben in der Kammer (16) angeordnet sind.
8) Brennstoffeinspritzsystem nach mindestens einem der vorstehenden Ansprüche, da­durch gekennzeichnet, daß der Strahl (23) auf ein in der Kammer (16) befindliches Objekt (31) gelenkt wird.
9) Brennstoffeinspritzsystem nach Anspruch 8, dadurch gekennzeichnet, daß an dem Objekt (31) die Umwandlung der einfallenden Energie mittelbar und/oder unmittel­bar in Wärmeenergie erfolgt.
10) Brennstoffeinspritzsystem nach Anspruch 8, dadurch gekennzeichnet, daß das Objekt (31) die Wellenlänge der einfallenden Strahlung in eine vom Brennstoff absorbier­bare Wellenlänge umwandelt.
11) Brennstoffeinspritzsystem nach Anspruch 8, dadurch gekennzeichnet, daß das Objekt (31) die einfallende Strahlung unmittelbar in Verdampfungswärme umwandelt.
12) Brennstoffeinspritzsystem nach Anspruch 10 oder 11, dadurch gekennzeichnet, daß das Objekt (31) eine die Umwandlung fördernde bzw. bewirkende Beschichtung auf­weist.
13) Brennstoffeinspritzsystem nach Anspruch 13, dadurch gekennzeichnet, daß das Ob­jekt (31) aus einem lumineszierenden Material besteht.
14) Brennstoffeinspritzsystem nach Anspruch 5, dadurch gekennzeichnet, daß die der Kammer (16) zugewandte Seite der optischen Mittel (30) so ausgebildet ist, daß die Wellenlänge des emittierten Strahls (23) in eine gut vom Brennstoff absorbierbare Wellenlänge umgewandelt wird.
15) Brennstoffeinspritzsystem nach mindestens einem der vorstehenden Ansprüche, da­durch gekennzeichnet, daß die Wellenlänge des emittierten Strahls (23) ganz oder teilweise in eine gut vom Brennstoff absorbierbare Wellenlänge mittels einer lumineszierenden Schicht umgewandelt wird.
16) Brennstoffeinspritzsystem nach mindestens einem der vorstehenden Ansprüche, da­durch gekennzeichnet, daß die emittierten oder die umgewandelten Wellen von einer Wellenlänge sind, die von den leichtsiedenden Bestandteilen des Brennstoffs vor­zugsweise absorbiert werden.
17) Brennstoffeinspritzsystem nach mindestens einem der vorstehenden Ansprüche, da­durch gekennzeichnet, daß im Strahl (23) in der Kammer (16) eine Blasenkeimstelle von definierter Größe in Form einer Kaverne (34) oder eines engen Kanals angeord­net ist, in dem stets ein Dampfrest verbleibt.
18) Brennstoffeinspritzsystem nach Anspruch 17, dadurch gekennzeichnet, daß die Ka­verne (34) durch externe Energiezuführung mittels eines Heizelementes (35) frei von flüssigem Brennstoff gehalten wird.
19) Brennstoffeinspritzsystem nach mindestens einem der vorstehenden Ansprüche, da­durch gekennzeichnet, daß der über die Ausmündung abzugebende Brennstoff sich in dampfförmigem und/oder flüssigem Zustand befindet.
20) Brennstoffeinspritzsystem nach mindestens einem der vorstehenden Ansprüche, da­durch gekennzeichnet, daß die Kammer (16) in einem drehbar in einem Hahn (15.1) befindlichen Küken (15) angeordnet ist, wobei dieses abwechselnd zwei Stellungen einnimmt, deren erste die Kammer (16) mit dem Brennstoffzulauf (5) und dem Brennstoffrücklauf (10) verbindet und deren zweite die Kammer (16) in eine Posi­tion bringt, in der sie einerseits über eine Brennstoffverteilerleitung (7) mit einer Einspritzdüse (8) und andererseits mit einem im Gehäuse des Hahns (15.1) angeord­neten optischen Fenster (17) fluchtet.
21) Brennstoffeinspritzsystem nach Anspruch 20, dadurch gekennzeichnet, daß in dem Brennstoffrücklauf unmittelbar stromab des Hahns (15.1) eine Drossel angeordnet ist.
22) Brennstoffeinspritzsystem nach Anspruch 20, dadurch gekennzeichnet, daß das Küken (15) mittels eines von dem Steuergerät (25) angesteuerten Stellgliedes (14) positioniert wird.
23) Brennstoffeinspritzsystem nach einem der vorstehenden Ansprüche, dadurch gekenn­zeichnet, daß der Strahl (23) in eine Kammer (16) gerichtet ist, die zulauf- und aus­trittsseitig jeweils ein in Strömungsrichtung öffnendes Rückschlagventil (32, 33) aufweist.
24) Brennstoffeinspritzsystem nach einem der vorstehenden Ansprüche, dadurch gekenn­zeichnet, daß im Bereich der Ausmündung (7) ein reflektierendes Objekt (36) ange­ordnet ist, von dem aus Strahlung einer absorbierbaren Wellenlänge den Druck im Brennstoff nahe des Ventils (8) erhöht.
25) Brennstoffeinspritzsystem nach einem der vorstehenden Ansprüche, dadurch gekenn­zeichnet, daß auf der Außenfläche des Kükens (15) des Drehverteilers zur Brenn­stoffaufnahme eine Ausnehmung (37) angeordnet ist, die durch Drehung mit der Ausmündung (7) in Verbindung kommt und das optische Fenster (17) derart angeord­net ist, daß es von der Ausnehmung (37) überstrichen wird, bevor diese in Verbin­dung mit der Ausmündung (7) tritt.
26) Brennstoffeinspritzsystem nach Anspruch 25, dadurch gekennzeichnet, daß eine in der Innenfläche des Hahns (15.1) angeordnete Nut (38) Einlaß (5) und Auslaß (10) miteinander verbindet.
27) Brennstoffeinspritzsystem nach mindestens einem der vorstehenden Ansprüche, da­durch gekennzeichnet, daß ausgehend von einem zentral angeordneten Laser (22) mittels Lichtwellenleitern (40, 41) die Strahlung Kammern (16) zugeführt wird, die entsprechend der Zylinderzahl vorhanden und stromauf des jeweiligen Einlaßventils ins Saugrohr ausmündend angeordnet sind.
28) Brennstoffeinspritzsystem nach Anspruch 27, dadurch gekennzeichnet, daß mittels einer Steuereinheit (39) der Strahlungsdurchgang zur Kammer (16) desjenigen Zylin­ders freigegeben wird, der sich in Zündfolge im Ansaugtakt befindet.
29) Brennstoffeinspritzsystem nach Anspruch 27, dadurch gekennzeichnet, daß dem La­ser (22) eine mechanisch und/oder optisch arbeitende Umlenkeinrichtung nachge­schaltet ist, die die Strahlung zur Kammer (16) desjenigen Zylinders lenkt, der sich in Zündfolge im Ansaugtakt befindet.
30) Brennstoffeinspritzsystem nach Anspruch 29, dadurch gekennzeichnet, daß die Um­lenkeinrichtung ein akusto-optischer Wandler (43) ist.
31) Brennstoffeinspritzsystem nach Anspruch 30, dadurch gekennzeichnet, daß akusto-optische Wandler (43) in Reihe in zwei Ebenen angeordnet sind.
32) Brennstoffeinspritzsystem nach Anspruch 27, dadurch gekennzeichnet, daß der Laser (22) auf den Lichtwellenleiter mittels einer Schwenkeinrichtung positioniert wird, der mit der Kammer (16) in Verbindung steht, die dem im Ansaugtakt befindlichen Zylinder zugeordnet ist.
33) Brennstoffeinspritzsystem nach Anspruch 28, dadurch gekennzeichnet, daß die Frei­gabe mittels opto-elektrischer Schalter (42) erfolgt, die bei Spannungsbeaufschla­gung einen optischen Durchgang freigeben.
34) Brennstoffeinspritzsystem nach Anspruch 27, dadurch gekennzeichnet, daß der Laser (22) aus einer Laserdiodenzeile besteht, deren Einzeldioden mit den Kammern (16) mittels Lichtwellenleitern in Verbindung stehen und die Erregung in Zündfolge derart erfolgt, daß die der im Ansaugtakt befindliche Zylinder zugeordnete Kammer (16) mit dem Strahl (23) beaufschlagt ist.
EP89106021A 1988-06-23 1989-04-06 Brennstoffeinspritzsystem für Brennkraftmaschinen Expired - Lifetime EP0347534B1 (de)

Applications Claiming Priority (4)

Application Number Priority Date Filing Date Title
DE3821163 1988-06-23
DE3821163 1988-06-23
DE3833215 1988-09-30
DE3833215A DE3833215A1 (de) 1988-06-23 1988-09-30 Brennstoffeinspritzsystem fuer brennkraftmaschinen

Publications (2)

Publication Number Publication Date
EP0347534A1 true EP0347534A1 (de) 1989-12-27
EP0347534B1 EP0347534B1 (de) 1991-12-27

Family

ID=25869371

Family Applications (1)

Application Number Title Priority Date Filing Date
EP89106021A Expired - Lifetime EP0347534B1 (de) 1988-06-23 1989-04-06 Brennstoffeinspritzsystem für Brennkraftmaschinen

Country Status (2)

Country Link
EP (1) EP0347534B1 (de)
DE (2) DE3833215A1 (de)

Cited By (6)

* Cited by examiner, † Cited by third party
Publication number Priority date Publication date Assignee Title
FR2742811A1 (fr) * 1995-12-22 1997-06-27 Inst Francais Du Petrole Procede et dispositif de controle de l'injection d'un melange carbure a l'admission d'un moteur a combustion interne
RU2200247C2 (ru) * 2000-07-10 2003-03-10 Санкт-Петербургский государственный технический университет Способ работы двигателя по бензогазовому циклу
RU2200867C2 (ru) * 2000-07-10 2003-03-20 Санкт-Петербургский государственный технический университет Система молекулярного смесеобразования для совместной работы со штатной топливной аппаратурой без изменения конструкции двигателя
GB2403984A (en) * 2003-07-16 2005-01-19 Thomas Tsoi Hei Ma Boiling pressure fuel injector for i.c. engines
DE102009002553A1 (de) 2009-04-22 2010-10-28 Robert Bosch Gmbh Druckerhöhungsvorrichtung sowie Verfahren zum Erzeugen einer Druckerhöhung
RU2449161C2 (ru) * 2009-06-01 2012-04-27 Государственное Образовательное Учреждение Высшего Профессионального Образования "Дагестанский Государственный Технический Университет" (Дгту) Устройство для получения горючей смеси для тепловых двигателей vimt-3

Families Citing this family (3)

* Cited by examiner, † Cited by third party
Publication number Priority date Publication date Assignee Title
JPH10122087A (ja) * 1996-10-16 1998-05-12 Kioritz Corp 2サイクル内燃エンジン
JPH10131800A (ja) * 1996-10-30 1998-05-19 Kioritz Corp 内燃エンジンの制御装置
DE102012020913A1 (de) * 2012-10-24 2014-05-08 Hochschule Für Angewandte Wissenschaften Coburg Anordnung und Verfahren für ein Kraftfahrzeug zum Erfassen einer Kraftstoffsorte und/oder Kraftstoffcharakteristik

Citations (3)

* Cited by examiner, † Cited by third party
Publication number Priority date Publication date Assignee Title
FR2116047A5 (de) * 1970-11-25 1972-07-07 Bosch
FR2124954A5 (de) * 1971-02-04 1972-09-22 Plessey Handel Investment Ag
DE3502767A1 (de) * 1985-01-28 1986-07-31 Wankel Gmbh, 1000 Berlin Verfahren und vorrichtung zur aufbereitung von brenn- bzw. kraftstoff

Patent Citations (3)

* Cited by examiner, † Cited by third party
Publication number Priority date Publication date Assignee Title
FR2116047A5 (de) * 1970-11-25 1972-07-07 Bosch
FR2124954A5 (de) * 1971-02-04 1972-09-22 Plessey Handel Investment Ag
DE3502767A1 (de) * 1985-01-28 1986-07-31 Wankel Gmbh, 1000 Berlin Verfahren und vorrichtung zur aufbereitung von brenn- bzw. kraftstoff

Non-Patent Citations (3)

* Cited by examiner, † Cited by third party
Title
PATENT ABSTRACTS OF JAPAN, Vol. 11, No. 28 (M-557)(2475) 27 Januar 1987; & JP,A,61 200 369 (MITSUBISHI) 04 September 1986, das ganze Dokument. *
PATENT ABSTRACTS OF JAPAN, Vol. 8, No. 43 (M-279)(1480) 24 Februar 1984; & JP,A,58 197 462 (MITSUBISHI) 17 November 1983, das ganze Dokument. *
PATENT ABSTRACTS OF JAPAN, Vol. 8, No. 43 (M-279)(1480) 24 Februar 1984; & JP,A,58 197 463 (MITSUBISHI DENKI) 17 November 1983, das ganze Dokument. *

Cited By (6)

* Cited by examiner, † Cited by third party
Publication number Priority date Publication date Assignee Title
FR2742811A1 (fr) * 1995-12-22 1997-06-27 Inst Francais Du Petrole Procede et dispositif de controle de l'injection d'un melange carbure a l'admission d'un moteur a combustion interne
RU2200247C2 (ru) * 2000-07-10 2003-03-10 Санкт-Петербургский государственный технический университет Способ работы двигателя по бензогазовому циклу
RU2200867C2 (ru) * 2000-07-10 2003-03-20 Санкт-Петербургский государственный технический университет Система молекулярного смесеобразования для совместной работы со штатной топливной аппаратурой без изменения конструкции двигателя
GB2403984A (en) * 2003-07-16 2005-01-19 Thomas Tsoi Hei Ma Boiling pressure fuel injector for i.c. engines
DE102009002553A1 (de) 2009-04-22 2010-10-28 Robert Bosch Gmbh Druckerhöhungsvorrichtung sowie Verfahren zum Erzeugen einer Druckerhöhung
RU2449161C2 (ru) * 2009-06-01 2012-04-27 Государственное Образовательное Учреждение Высшего Профессионального Образования "Дагестанский Государственный Технический Университет" (Дгту) Устройство для получения горючей смеси для тепловых двигателей vimt-3

Also Published As

Publication number Publication date
DE3833215A1 (de) 1989-12-28
DE58900617D1 (de) 1992-02-06
EP0347534B1 (de) 1991-12-27

Similar Documents

Publication Publication Date Title
EP0361480B1 (de) Für Verbrennungskraftmaschine vorgesehene Kraftstoff-Einspritzdüse mit steuerbarer Charakteristik des Kraftstoffstrahls
EP0141044B1 (de) Kraftstoffeinspritzeinrichtung mit Vor- und Haupteinspritzung bei Brennkraftmaschinen
EP0347534B1 (de) Brennstoffeinspritzsystem für Brennkraftmaschinen
DE3713253A1 (de) Ultraschallzerstaeuberanlage
EP0036617A2 (de) Kraftstoff-Einspritzdüse mit zusätzlicher Kraftstoff-Zerstäubung
DE69923108T2 (de) Brennstoffsystem und Pumpe zur Anwendung in einem solchen System
EP0760425A1 (de) Einspritzeinrichtung
EP2029887B1 (de) Sprüheinrichtung für fluide
EP0610585B1 (de) Kraftstoffeinspritzvorrichtung für eine Vor-und Haupteinspritzung
DE3411539A1 (de) Kraftstoffeinspritzvorrichtung
DE2809122A1 (de) Einspritzvorrichtung fuer eine brennkraftmaschine
EP2195699A1 (de) Diodenlaser mit strahlformungseinrichtung
EP0610584B1 (de) Kraftstoffeinspritzvorrichtung für eine Vor- und Hauptspritzung unterschiedlicher Kraftstoffe über ein Einnadel-Einspritzventil
WO2009037058A1 (de) Verfahren zum betreiben einer zündeinrichtung
DE3342759A1 (de) Druckspeicher-treibstoffeinspritzeinrichtung
DE2854921A1 (de) Brennstoff-einspritzvorrichtung
DE60104210T2 (de) Kraftstoffeinspritzvorrichtung für eine brennkraftmaschine
DE3804368C2 (de) Einspritzpumpe und Einspritzdüse zu einer Baueinheit zusammengefaßt
DE4107622A1 (de) Kraftstoffeinspritzeinrichtung
DE102006022672A1 (de) Piezo-Inline-Injektor
EP2205855A1 (de) Kompakte einspritzvorrichtung
DE2029650C3 (de) Kraftstoffzuführanlage für eine Brennkraftmaschine
DE10019767A1 (de) Ventil zum Steuern von Flüssigkeiten
WO2003040538A1 (de) Verfahren zum einspritzen von brennstoff
DE102006024665A1 (de) Kraftstoffeinspritzsystem

Legal Events

Date Code Title Description
PUAI Public reference made under article 153(3) epc to a published international application that has entered the european phase

Free format text: ORIGINAL CODE: 0009012

AK Designated contracting states

Kind code of ref document: A1

Designated state(s): DE FR GB IT

RAP3 Party data changed (applicant data changed or rights of an application transferred)

Owner name: PIERBURG GMBH

17P Request for examination filed

Effective date: 19900420

17Q First examination report despatched

Effective date: 19910417

GRAA (expected) grant

Free format text: ORIGINAL CODE: 0009210

AK Designated contracting states

Kind code of ref document: B1

Designated state(s): DE FR GB IT

PG25 Lapsed in a contracting state [announced via postgrant information from national office to epo]

Ref country code: GB

Effective date: 19911227

Ref country code: IT

Free format text: LAPSE BECAUSE OF FAILURE TO SUBMIT A TRANSLATION OF THE DESCRIPTION OR TO PAY THE FEE WITHIN THE PRE;WARNING: LAPSES OF ITALIAN PATENTS WITH EFFECTIVE DATE BEFORE 2007 MAY HAVE OCCURRED AT ANY TIME BEFORE 2007. THE CORRECT EFFECTIVE DATE MAY BE DIFFERENT FROM THE ONE RECORDED.SCRIBED TIME-LIMIT

Effective date: 19911227

REF Corresponds to:

Ref document number: 58900617

Country of ref document: DE

Date of ref document: 19920206

ET Fr: translation filed
GBV Gb: ep patent (uk) treated as always having been void in accordance with gb section 77(7)/1977 [no translation filed]
PLBE No opposition filed within time limit

Free format text: ORIGINAL CODE: 0009261

STAA Information on the status of an ep patent application or granted ep patent

Free format text: STATUS: NO OPPOSITION FILED WITHIN TIME LIMIT

26N No opposition filed
PGFP Annual fee paid to national office [announced via postgrant information from national office to epo]

Ref country code: DE

Payment date: 19931213

Year of fee payment: 6

PGFP Annual fee paid to national office [announced via postgrant information from national office to epo]

Ref country code: FR

Payment date: 19931215

Year of fee payment: 6

PG25 Lapsed in a contracting state [announced via postgrant information from national office to epo]

Ref country code: FR

Effective date: 19951229

PG25 Lapsed in a contracting state [announced via postgrant information from national office to epo]

Ref country code: DE

Effective date: 19960103

REG Reference to a national code

Ref country code: FR

Ref legal event code: ST