EP0343496B1 - Leitfähiges zusammengesetztes Filament und Verfahren zur Herstellung desselben - Google Patents

Leitfähiges zusammengesetztes Filament und Verfahren zur Herstellung desselben Download PDF

Info

Publication number
EP0343496B1
EP0343496B1 EP19890108861 EP89108861A EP0343496B1 EP 0343496 B1 EP0343496 B1 EP 0343496B1 EP 19890108861 EP19890108861 EP 19890108861 EP 89108861 A EP89108861 A EP 89108861A EP 0343496 B1 EP0343496 B1 EP 0343496B1
Authority
EP
European Patent Office
Prior art keywords
filament
conductive
core
composite
composite filament
Prior art date
Legal status (The legal status is an assumption and is not a legal conclusion. Google has not performed a legal analysis and makes no representation as to the accuracy of the status listed.)
Expired - Lifetime
Application number
EP19890108861
Other languages
English (en)
French (fr)
Other versions
EP0343496A2 (de
EP0343496A3 (en
Inventor
Kazuhiko Tanaka
Yoshiteru Matsuo
Eiichirou Nakamura
Shoji Asano
Masao Kawamoto
Current Assignee (The listed assignees may be inaccurate. Google has not performed a legal analysis and makes no representation or warranty as to the accuracy of the list.)
Kuraray Co Ltd
Original Assignee
Kuraray Co Ltd
Priority date (The priority date is an assumption and is not a legal conclusion. Google has not performed a legal analysis and makes no representation as to the accuracy of the date listed.)
Filing date
Publication date
Application filed by Kuraray Co Ltd filed Critical Kuraray Co Ltd
Publication of EP0343496A2 publication Critical patent/EP0343496A2/de
Publication of EP0343496A3 publication Critical patent/EP0343496A3/en
Application granted granted Critical
Publication of EP0343496B1 publication Critical patent/EP0343496B1/de
Anticipated expiration legal-status Critical
Expired - Lifetime legal-status Critical Current

Links

Images

Classifications

    • DTEXTILES; PAPER
    • D01NATURAL OR MAN-MADE THREADS OR FIBRES; SPINNING
    • D01FCHEMICAL FEATURES IN THE MANUFACTURE OF ARTIFICIAL FILAMENTS, THREADS, FIBRES, BRISTLES OR RIBBONS; APPARATUS SPECIALLY ADAPTED FOR THE MANUFACTURE OF CARBON FILAMENTS
    • D01F8/00Conjugated, i.e. bi- or multicomponent, artificial filaments or the like; Manufacture thereof
    • D01F8/04Conjugated, i.e. bi- or multicomponent, artificial filaments or the like; Manufacture thereof from synthetic polymers
    • D01F8/12Conjugated, i.e. bi- or multicomponent, artificial filaments or the like; Manufacture thereof from synthetic polymers with at least one polyamide as constituent
    • DTEXTILES; PAPER
    • D01NATURAL OR MAN-MADE THREADS OR FIBRES; SPINNING
    • D01FCHEMICAL FEATURES IN THE MANUFACTURE OF ARTIFICIAL FILAMENTS, THREADS, FIBRES, BRISTLES OR RIBBONS; APPARATUS SPECIALLY ADAPTED FOR THE MANUFACTURE OF CARBON FILAMENTS
    • D01F1/00General methods for the manufacture of artificial filaments or the like
    • D01F1/02Addition of substances to the spinning solution or to the melt
    • D01F1/09Addition of substances to the spinning solution or to the melt for making electroconductive or anti-static filaments

Definitions

  • This invention relates to a composite filament having excellent antistatic properties, and more particularly to a white, highly oriented, undrawn, conductive filament having excellent filament properties and antistatic properties which are durable when the clothing made thereof is placed in actual service of being worn.
  • the present invention relates to a white, sheath-core composite filament having excellent antistatic properties, which comprises a sheath component of a fiber-forming thermoplastic polymer (A) selected from polyethylene terephthalate and polybutylene terephthalate and a core component of a thermoplastic polyamide (B) containing a compound comprising a conductive material which comprises a metal oxide(s).
  • A fiber-forming thermoplastic polymer
  • B thermoplastic polyamide
  • Addition in an amount of only 0.01 to 10% by weight of this composite filament to a usual nonconductive fiber can provide the fabrics containing them with excellent antistatic properties, which do not deteriorate even after being worn for one year.
  • conductive filaments have been proposed as having excellent antistatic properties.
  • a conductive filament comprising a conductive component which comprises a polymer containing a conductive carbon black mixed therein and a protective component which comprises a fiber-forming polymer.
  • Conductive filaments utilizing a white or colorless conductive metal oxide have recently been proposed to eliminate the above disadvantage.
  • Japanese Patent Application Laid-Open No. 6762/1982, Japanese Patent Publication No. 29526/1987 and GB-A-2 077 182 proposed a process of preparing a conductive composite filament comprising a mixture (conductive layer) of a conductive metal oxide and a thermoplastic resin and a fiber-forming thermoplastic polymer, said process comprising first preparing a composite filament as spun and drawing it and then further heat-treating the drawn filament to thereby restore the conductive layer.
  • thermoplastic resin is used as a binder for a conductive metal oxide
  • the obtained conductive layer is broken at the drawing process and as such the drawn filament cannot act as a conductive filament.
  • Heat treatment is thus necessary when a thermoplastic resin, particularly a thermoplastic resin having high crystallinity, is used as the protective component for a conductive metal oxide.
  • the process of the above patents however has a drawback of low productivity due to the presence of the heat treatment process after the heat drawing; and further the composite filament obtained by the process has a large drawback of insufficient durability when an article of clothing made thereof is actually worn.
  • the "durability" of a composite filament herein is judged by whether the antistatic properties are still exhibited or not after a fabric comprising the conductive filament to be evaluated woven thereinto in an amount of 0.1 to 10% by weight has actually been worn for about 1 year.
  • the standard of upper limit of the static charge specified in "Recommended Practice for Protection against Hazards Arising out of Electricity” in “Technical Recommendations” issued by Research Institute of Industrial Safety of Labor Ministry is 7 ⁇ Coulomb/m2. This standard for the durability has not been cleared by conventional white or colorless conductive composite filaments.
  • thermoplastic polymer of for example polyethylene cannot give a conductive filament having a sufficient durability and that a fabric comprising such filament is hence not suited for use in work wears used for dangerous jobs.
  • a crystalline thermoplastic resin is used as the thermoplastic polymer
  • the obtained conductive composite filament just after being produced has an electric resistance of less than 9 x 1010 ⁇ /cm ⁇ filament which satisfies the static charge standard for fabrics.
  • the filament however has a poor durability, and the fabric obtained therefrom hence has low antistatic properties and is difficult to put in practical use.
  • the present inventors have made a detailed study to obtain a conductive filament without above drawbacks, and, particularly, have intensively studied the relationship between the filament structure and the antistatic properties and the durability thereof, and found a composite filament having excellent anti static properties and durability to accomplish the invention.
  • the present invention provides a highly oriented, undrawn, conductive, composite filament which is a sheath-core composite filament comprising a sheath of a fiber-forming thermoplastic polymer (A) selected from polyethylene terephthalate and polybutylene terephthalate and a core of a composition (B) comprising a conductive material which comprises a conductive metal oxide(s) and a thermoplastic polymer, and maintaining a critical elongation of at least 5% and a shrinkage in hot water at 100°C of not higher than 20%, said thermoplastic polymer for the core being a polyamide, said core having an electric resistance at a D.C. voltage of 1 kV of less than 9 x 1010 ⁇ /cm ⁇ filament.
  • antistatic properties means a function of eliminating the static charge from a charged article by a non-contacting process. While a composite filament having a core resistance of less than 1011 ⁇ /cm ⁇ filament can form a nonuniform electric field to thereby eliminate static charge by corona discharging, one having a core resistance of at least 1011 ⁇ /cm ⁇ filament cannot eliminate static charge by corona discharging and hence does not exhibit effective antistatic properties.
  • the present inventors have intensively studied the relationship between the critical elongation and the constituents of a filament and the durability of antistatic properties of a fabric comprising the filament.
  • the "critical elongation” herein means an elongation reached in the course of extending a filament at which the core resistance exceeds 1 x 1011 ⁇ /cm ⁇ filament at a D.C. voltage of 1 kV, that is, an elongation at which the filament loses its antistatic properties.
  • the critical elongation varies from 0 to 15% in the case of white, conductive, composite filaments. It has been found, surprisingly, that a conductive composite filament with a critical elongation maintained at and above 5% can have a sufficient durability of antistatic properties.
  • the present inventors have pursued how to make a white or colorless composite filament containing a conductive metal oxide(s) have a critical elongation of at least 5%, and found that such filament can be obtained when the fiber-forming thermoplastic polymer (A) is selected from polyethylene terephthalate and polyethylene terephthalate, a polyamide is employed as the thermoplastic polymer for the core component and the moisture content of the core component at the spinning is in a specific range.
  • FIG. 1 is a graph showing the relationship between the elongation and the electric resistance (resistance of filament core) when the moisture content of the core component is (I) 90 ppm, (II) 200 ppm, (III) 800 ppm, (IV) 1,100 ppm or (V) 1,300 ppm respectively.
  • the moisture content is out of the range of from 100 to 1 ,200 ppm, that is, in the cases of (I) and (V)
  • the filament is elongated by at least 5% in the processing or in the actual service, i.e. in the region of elongation exceeding 5%, the core resistance will not fall below 1 x 1011 ⁇ /cm ⁇ filament which can eliminate static charge by corona discharging.
  • the core resistance is of an order of 1 x 1010 ⁇ /cm ⁇ filament thereby being capable of eliminating static charge by corona discharging. Further in the case of (III), the core resistance remains below 1010 ⁇ /cm ⁇ filament even when the filament is subjected to elongation of 15% and thus has excellent durability.
  • FIG. 1 further shows that there is a large difference between the core resistance of filaments utilizing white conductive particles and that of conventional ones utilizing carbon black as the conductive material. From the FIGURE it will be understood that a filament utilizing a white particulate conductive material has a conducting structure markedly unstable than that of a carbon-black conductive filament. The present invention has made it clear that the former can exhibit antistatic properties applicable to practice only within a limited region inside the unstable region, i.e. within a limited region of the moisture content of the core component.
  • the present inventors have succeeded in markedly improving the durability of the antistatic properties of a white conductive filament by providing the filament with a core resistance at a D.C. voltage of less than 1 kV of 9 x 1010 ⁇ /cm ⁇ filament and a critical elongation of at least 5%.
  • the thermoplastic polymer constituting the core component must be a polyamide. It has been found that polyamides, e.g. nylon 6 give higher conductive characteristics than those obtained by polyethylene, which is generally employed.
  • polyamides are the most suited. This is because that: since polyamides have appropriate polar groups, they are good in compatibility and adhesiveness with metal oxides and hence their fluidity does not decrease so much when a metal oxide(s) is incorporated in them in a high concentration, so that they have both high conducting property and good fluidity. Furthermore, perhaps because of a firm adhesion between the metal oxide and polyamides, the obtained conductive polymer has very high mechanical properties.
  • polyesters incorporating a metal oxide kneaded thereinto give, for some reason or another, a sharp viscosity increase and loose the fluidity even in a low incorporation ratio, and thus they hardly give a fiber-forming conductive polymer having the desired conducting property and hardly compete with polyamides.
  • Polyolefins such as polyethylene can, upon incorporation of a metal oxide, give conductive polymers having a fluidity to some extent and at the same time a good conducting property.
  • polyolefin conductive polymers rapidly lose their static eliminating performance in a short period of actual service and thus have no durability, perhaps because they have only a small adhesiveness with metal oxides, thereby rendering fragile the mechanical properties of the obtained conductive polymer as compared to the case with polyamides.
  • polyamides are the best suited, among general-purpose polymers, for producing the conductive polymers to be used for conductive composite filaments.
  • polyamides examples include nylon 6 and metaxylylenediamine nylon or polyamides comprising the foregoings as a principal component.
  • the intrinsic viscosity of the sheath-component polymer be at least 0.55. If a polymer having an intrinsic viscosity less than 0.55 is used as the sheath component, the melt viscosity at the spinning will be too low to keep a good balance with that of the conductive polymer layer, thereby rendering the composite structure unstable in the longitudinal direction. In such case, spinnability becomes worse particularly at a high speed of not less than 2,500 m/min and frequent filament breakages occurs, which is not preferred.
  • the thermoplastic polymers constituting the sheath are polyesters selected from polyethylene terephthalate and polybutylene terephthalate. Such polymers give a markedly improved durability against processing or when actually worn.
  • the conductive filament of the present invention is generally used while being mixed in a fabric in an amount of 0.1 to 10% by weight, which is the same as in the case of other conductive filaments.
  • Such fabrics are naturally finished by dyeing and finishing process, and, then, the core component of the conductive filament readily suffers damage since it is fragile because of high content of a conductive metal oxide.
  • the core component is markedly affected through such treatments. In this case the filament decreases its strength and will hence readily break by the bending in the practical service, leading to a drop-off or deterioration of the conductive layer.
  • Employment of a polyester, e.g. polyethylene terephthalate not only maintains the mechanical properties of the sheath component, but causes no decrease in the performance.
  • the conductive material to be incorporated into core component is a white or colorless particulate metal oxide(s) or a particulate inorganic material with the metal oxide(s) coating the surface thereof.
  • Preferred example of the latter is fine particles having an average diameter of 0.01 to 0.3 ⁇ of titanium dioxide or barium sulfate coated on the surface thereof with stannic oxide or zinc oxide containing antimonium oxide.
  • Metal oxides are semiconductors close to non-conductors which do not exhibit sufficient conductive property. However, addition of a small amount of a second component to a metal oxide or the like methods can increase the conductive property and give a sufficiently conductive material.
  • Antimonium oxide and the like oxides are known as such conductivity increasing agents or "doping agents" for stannic oxide or zinc oxide.
  • particulate stannic oxide having an average particle diameter of 0.1 ⁇ has a specific resistance of about 103 ⁇ cm
  • solid solutions of antimonium oxide in stannic oxide have specific resistances of from 1 to 10 ⁇ cm.
  • the ratio by weight of antimonium oxide contained in a particulate conductive material is required to be 0.01 to 0.10 in view of overall performance.
  • the ratio by weight of stannic oxide or zinc oxide contained in a particulate conductive material is preferably in the range from 0.05 to 0.20. Too small a coating amount leads to insufficient conductivity, while too much amount will deviate the obtained particulate material from white color.
  • the particulate conductive material is contained in the core of the composite filament of the invention in an amount of 60 to 75% by weight. While a content of less than 60% by weight cannot give a sufficient conductivity to exhibit the desired antistatic properties; one exceeding 75% by weight is not preferred since it will not further increase the conductivity and will markedly decrease the fluidity of the core component, whereby the spinnability is extremely worsened and, particularly, the life of the spinneret pack is strikingly shortened due to filter clogging or the like, thus rendering unstable the spinning operation.
  • the conductive composite filament of the present invention can be obtained by a process for producing the sheath-core composite filament comprising the above-described sheath component and core component, which comprises extruding a fiber-forming thermoplastic polymer selected from polyethylene terephthalate and polybutylene terephthalate and having an intrinsic viscosity, [ ⁇ ], after spinning of at least 0.55 which constitutes the sheath component and the composition constituting the core component having a moisture content adjusted by drying to 100 to 1,200 ppm separately through different extruders, and conducting high-speed spinning using a composite spinning apparatus.
  • the high-speed spinning herein means melt-spinning at at least 2,500 m/min so that the filaments thus spun will be highly oriented and have a shrinkage in hot water of 100°C, WSr, of not more than 20%.
  • the core component (B) having a moisture content of less than 100 ppm is spun into a composite filament, filaments having a core resistance exceeding 1011 ⁇ /cm ⁇ filament will frequently be formed though the spinnability is good. If the core component (B) having a moisture content exceeding 1,200 ppm is spun into a composite filament, the spinnability will be low (frequent filament breakages) and further many of the obtained conductive filaments will have critical elongations not more than 5%. Accordingly, the moisture content of the core component (B) is very important and preferably in the range of from 200 to 1,000 ppm, more preferably 300 to 800 ppm.
  • the wet shrinkage, WSr, of conductive filaments is also important. Generally, it is essential that textile fabrics be subject to after-processing, after the weaving, in a high-temperature hot water, such as scouring and relaxation, dyeing or the like. If the filament constituting the fabric has a too large wet shrinkage, the fabric will shrink by such processing to thereby become hard, which is not preferred. Fibers for textile fabrics in general therefore must have wet shrinkages lower than about 20%. In addition, in the case of the conductive filament of the present invention, such filament is most frequently used while being mixed in a small amount into conventional fibers in view of economy.
  • each of the conductive filament may be inserted at 2.54 x 10 ⁇ 2m (1-inch) intervals among a plurality of conventional warps for a fabric.
  • the conductive filament has a much larger wet shrinkage than that of neighbouring warps, the conductive filament will be put under a high tension after the fabric has been wet treated, to thereby readily break when the fabric is loaded with an external force, which is often the case when clothes made of the fabric are actually put on.
  • the present invention conducts melt-spinning at a rate of at least 2,500 m/min to obtain highly oriented composite filaments as spun having a shrinkage in hot water at 100°C of not more than 20%. Therefore, in the present invention, since a high orientation melt spinning is conducted with the drawing process omitted, there can be eliminated troubles arising from the drawing process, such as cracks or breakages of the core component, and cut-off of the conducting circuit by drawing can be avoided.
  • the electric resistance of the filament core is measured as follows.
  • Both ends of a 10-cm specimen of a composite filament are immersed in a pair of pot-shape electrodes filled with a conductive resin. Electric current at a voltage of 1 kV is measured. The electric resistance is calculated by Ohm's law and then divided by 10 (cm) and the number of filaments constituting the specimen to give a filament core resistance in ⁇ /cm ⁇ filament.
  • the critical elongation was measured in the present invention, by application of the above-described measurement of filament core resistance, according to the method described below. It may however be also measured by measuring an electric resistance of a specimen when elongated by using a tensile tester combinedly with an electrode and resistance tester.
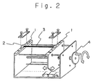
  • FIG. 2 shows an example of the measuring apparatus.
  • an apparatus comprising a pair of electrodes (1) and a dial (4) for extending the specimen are used for measurement.
  • the both ends of a specimen (3) are each set on a pair of the electrodes (1) at a gauge length of 3 cm.
  • a conductive paint is applied to the both ends including the exposed core tip so that electric current can send therethrough, then the both ends are fixed.
  • the dial (4) is turned to elongate the specimen until it breaks while its electric resistance is being measured.
  • the obtained values of electric resistance are converted to ones per unit cm and the elongation (%) at which the electric resistance exceeds 1 x 1011 ⁇ /cm ⁇ filament is obtained therefrom as the critical elongation.
  • the intrinsic viscosity, [ ⁇ ], of polyethylene terephthalate is measured at 30°C in a 1/1 mixed solvent of phenol/tetrachloroethane.
  • the intrinsic viscosity of nylon 6 is measured on its solution in 96% H2SO4
  • the melt index of polyethylene is measured according to JIS-K6760.
  • the thus obtained chips were vacuum dried at 80°C to a chip moisture content of 400 ppm (B).
  • the obtained yarns had a core resistance of 5 x 1010 ⁇ /cm ⁇ filament and a critical elongation of 15%.
  • the twill thus woven was dyed and finished under the usual finishing conditions for conventional polyester/cotton blended yarn fabric.
  • the fabric thus obtained had a static charge of 4.5 ⁇ Coulomb/m2.
  • Example 1 was repeated except for changing the parts by weight of W1 and the results are shown in Table 1 as Examples 2 and 3 and Comparative Examples 1 and 2.
  • Example 2 and 3 65 parts by weight and 70 parts by weight of W1 were respectively used to obtain conductive polymers having a volume specific resistance of both 4.1 x 102 ⁇ cm, which were further formed under the same spinning conditions as in Example 1 into conductive composite filaments. These filaments both had critical elongations of at least 10% and a core resistance of 6 x 109 ⁇ /cm ⁇ filament, thus having excellent antistatic properties.
  • the conductive composite filaments were woven into 2/1 twill fabrics, which were then dyed and finished, in the same manner as in Example 1. The fabrics thus obtained showed a static charge of both 35 ⁇ Coulomb/m2, and that after 250 times of washings of 4 to 4.3 ⁇ Coulomb/m2, which clears the standard, i.e. not more than 7 ⁇ Coulomb/m2, proving their excellent durability.
  • Example 1 was repeated except for changing the amount of W1 to 55 parts by weight to obtain a composite filament.
  • the obtained filament had a core resistance of 8 x 1012 ⁇ /cm ⁇ filament and was not a filament having antistatic properties.
  • Example 1 was repeated except for changing the amount of W1 to 80 parts by weight to obtain a conductive composite filament. Though the obtained filament had antistatic properties, the spinning operation was unstable because the life of the spinneret pack was very short due to filter clogging and the like.
  • Example 1 was repeated except for changing the moisture content of the polymer to 800 ppm and 1,100 ppm respectively to obtain conductive composite filaments under the same spinning conditions as in Example 1. These filaments had core resistances of 5 x 109 ⁇ /cm ⁇ filament and 6 x 109 ⁇ /cm ⁇ filament respectively and critical elongations of 15% and 5% respectively.
  • the obtained conductive composite filaments were woven into 2/1 twill fabrics, which were then dyed and finished, in the same manner as in Example 1.
  • the fabrics thus obtained showed static charges of from 3.5 to 4.0 ⁇ Coulomb/m2, and those after 250 times of washings of from 4.1 to 4.5 ⁇ Coulomb/m2, which clears the standard, proving their excellent durability.
  • Example 1 was repeated except for changing the moisture content of the conductive polymer to 1,500 ppm and 2,000 ppm respectively under the same spinning conditions as in Example 1, where frequent filament breakages occurred.
  • the obtained conductive composite filaments had a core resistance of both 8 x 109 ⁇ /cm ⁇ filament, which proved their high antistatic properties, but they had critical elongations as small as 1 to 2%.
  • These filaments were woven into 2/1 twill fabrics, which were then dyed and finished, in the same manner as in Example 1.
  • the filaments contained in the fabrics thus obtained showed core resistances after 250 times of washings of from 1010 to more than 1013 ⁇ /cm ⁇ filament, with cracks being observed in some portions of the conductive layer, thus being of inferior durability.
  • Example 1 was repeated except for changing the moisture content of the conductive polymer to 80 ppm under the same spinning conditions as in Example 1. Though the spinnability was good, many of the obtained conductive composite filaments showed a core resistance exceeding 1011 ⁇ /cm ⁇ filament, and further after the fabric incorporating the composite filament had been washed 250 times cracks were observed in the conductive layer of the filament, thus proving its inferior durability.
  • the obtained conductive composite filament was woven into a 2/1 twill fabric, which was then dyed and finished, in the same manner as in Example 1.
  • the fabric thus obtained showed a static charge of from 4.0 ⁇ Coulomb/m2, and that after 250 times of washings of 4.5 ⁇ Coulomb/m2, proving the excellent durability of its antistatic properties.
  • Particle-incorporating chips having a volume specific resistance of 3 x 102 ⁇ cm were obtained by melting at 270°C and mixing 64 parts of the same particulate conductive material, W1, as in Example 1, 1 part of particulate stannic oxide containing antimonium oxide having an average particle diameter of 0.1 ⁇ and 35 parts of nylon 6 chips.
  • the thus obtained chips were vacuum dried at 80°C to a chip moisture content of 400 ppm (B).
  • Two types of conductive composite filaments were obtained with the thus obtained conductive polymer used for the core under the same spinning conditions as in Examples 1 and 6 respectively. These filaments had core resistances and critical elongations of 3 x 109 ⁇ /cm ⁇ filament and 10% and 4 x 109 ⁇ /cm ⁇ filament and 10%, respectively.
  • the obtained conductive composite filaments were woven into 2/1 twill fabrics, which were then dyed and finished, in the same manner as in Example 1.
  • the fabrics thus obtained both showed a static charge after 250 times of washings of 4.6 ⁇ Coulomb/m2, proving their excellent antistatic properties with durability.
  • a composite filament as spun was obtained under the same spinning conditions as in Example 4 except that the spinning speed was changed to 1,500 m/min.
  • the as spun yarn which had a maximum drawability of 4.53 times, was drawn by roller-plate system, at a hot roller temperature and a hot plate temperature of 75°C and 120°C respectively by 3.1 times to give a composite filament.
  • Observation with a transmission-type electron microscope revealed that the conductive layer of the core had been torn to pieces.
  • the filament had a core resistance of at least 1013 ⁇ /cm ⁇ filament and was not a filament having antistatic properties. No heat drawing conditions with the temperature and the drawing ratio varied while maintaining stable drawing could give a composite filament in which the conductive core layer was not broken and which had antistatic properties.
  • a conductive polymer was obtained by melting and mixing parts of the conductive fine particles, W1, used in Example 1, and 35 parts of polyethylene chips having a melt index of 50 g/10 min.
  • a composite filament as spun was obtained using this polymer for the core under the same conditions as in Example 1 except for changing the spinning speed to 1,500 m/min.
  • the thus obtained filament as spun was drawn by 3.0 times at a hot roller temperature and a hot plate temperature of 75°C and 120°C respectively to yield a conductive composite filament having a core resistance of 9 x 109 ⁇ /cm ⁇ filament and a critical elongation of 10%.
  • the obtained conductive composite filament was woven into a 2/1 twill fabric, which was then dyed and finished, in the same manner as in Example 1.
  • the fabric thus obtained showed a static charge of 4.2 ⁇ Coulomb/m2, which cleared the standard, but had a static charge after 250 times of washings of 7.8 ⁇ Coulomb/m2, thus being of no durability.
  • a composite filament having a low wet shrinkage was obtained under the same spinning conditions as in Example 1 (i.e. spinning speed: 4,500 m/min; no heat drawing) except for using the conductive polymer prepared in Comparative Example 7 as the core. Though the obtained filament had antistatic properties, it did not have the durability, similar to the one in Comparative Example 7.
  • Example 9 the same conductive component as in Example 2 was used as the core component and Example 1 was repeated except for changing the sheath-core composite ratio to 17/83.
  • the spinnability and the durability of antistatic properties of the obtained fabric were both excellent as shown in Table 1.
  • Comparative Example 10 the ratio of the conductive component to the sheath component was 4/96. Though the spinnability was good, no conductive filament having antistatic properties was obtained.
  • Example 10 Spinning operation of Example 1 was repeated except that the [ ⁇ ] after spinning were 0.58 (Example 10) and 0.52 (Comparative Example 11). While the filament obtained in Example 10 had excellent antistatic properties with durability, in Comparative Example 11 frequent filament breakages occurred and stable spinning was not attained.
  • Particle-incorporating chips having a volume specific resistance of 4 x 102 ⁇ cm were obtained by melting and mixing 65 parts of the same particulate conductive material, W1, as in Example 1, and 35 parts of metaxylylenediamine nylon chips made by Mitsubishi Gas Chemical Company, Inc.
  • the thus obtained chips were dried to a moisture content of 400 ppm and then formed into a conductive composite filament under the same spinning conditions as in Example 1.
  • the filament had a core resistance and a critical elongation of 2 x 1010 ⁇ /cm ⁇ filament and 15% respectively.
  • the fabric incorporating the thus obtained filament showed a static charge after 250 times of washings of 6.5 ⁇ Coulomb/m2, proving its excellent antistatic properties with durability.
  • Particle-incorporating chips having a volume specific resistance of 4 x 102 ⁇ cm were obtained by melting and mixing 73 parts of the same particulate conductive material, W1, as in Example 1, and 35 parts of nylon 12 chips made by Ube Industries, Ltd. The thus obtained chips were dried to a moisture content of 400 ppm.
  • a conductive composite filament was obtained with the thus prepared chips as the core and polybutylene terephthalate as the sheath under the same spinning conditions as in Example 6.
  • the filament had a core resistance and a critical elongation of 8 x 109 ⁇ /cm ⁇ filament and 15% respectively and thus had antistatic properties.
  • the fabric incorporating the thus obtained filament in the same manner as in Example 1 showed a static charge of 3.7 ⁇ Coulomb/m2, and that after 250 times of washings of 5.0 ⁇ Coulomb/m2, which cleared the standard and proved its excellent durability of antistatic properties.
  • Example 1 was repeated except for changing the spinning speed to 2,000 m/min.
  • the obtained filament had a shrinkage in hot water at 100°C of 28%.
  • the finished fabric contained the composite filament under high tension. Though the fabric initially showed good antistatic properties, it completely lost the properties after being worn actually for some period.

Landscapes

  • Engineering & Computer Science (AREA)
  • Chemical & Material Sciences (AREA)
  • Chemical Kinetics & Catalysis (AREA)
  • General Chemical & Material Sciences (AREA)
  • Textile Engineering (AREA)
  • Manufacturing & Machinery (AREA)
  • Multicomponent Fibers (AREA)

Claims (5)

  1. Hochorientiertes, nicht-verstrecktes, leitfähiges Verbundfilament, das ein Mantel-Kern-Verbundfilament ist, welches einen Mantel aus einem unter Polyethylenterephthalat und Polybutylenterephthalat ausgewählten, faserbildenden thermoplastischen Polymer (A) und einen Kern aus einer Zusammensetzung (B) enthält, die ein leitfähiges Material umfaßt, das leitfähige Metalloxidteilchen und ein thermoplastisches Polyamid enthält, wobei das Filament eine kritische Dehnung von mindestens 5% und eine Schrumpfung in heißem Wasser bei 100°C von nicht mehr als 20% aufweist, wobei der Kern bei einer Gleichspannung von 1 kV einen Widerstand von weniger als 9 x 10¹⁰ Ω/cm Filament aufweist, worin die kritische Dehnung eine im Laufe des Streckens eines Verbundfilaments erreichte Dehnung bezeichnet, bei der bei einer Gleichspannung von 1 kV der Kernwiderstand 1 x 10¹¹ Ω/cm Filament übersteigt.
  2. Hochorientiertes, nicht-verstrecktes, leitfähiges Verbundfilament nach Anspruch 1, worin das leitfähige Material ein als Teilchen vorliegendes leitfähiges Material (W₁) mit einem durchschnittlichen Teilchendurchmesser von 0,01 bis 0,3 µm ist, welches Titandioxid oder Bariumsulfat umfaßt, das auf der Oberfläche mit einem unter Zinndioxid und Zinkoxid ausgewählten Metalloxid (D) beschichtet ist, wobei das Metalloxid (D) Antimonoxid (C) enthält, wobei das jeweilige Gewichtsverhältnis des Antimonoxids (C) und des Metalloxids (D) zu dem als Teilchen vorliegenden, leitfähigen Material (W₁) den folgenden Formeln (1) und (2) genügt:

    C/W₁ = 0,01 bis 0,10   (1)
    Figure imgb0007


    D/W₁ = 0,05 bis 0,25   (2).
    Figure imgb0008
  3. Hochorientiertes, nicht-verstrecktes, leitfähiges Verbundfilament nach Anspruch 1, worin das leitfähige Material in dem Polyamid in einer Menge von 60 bis 75 Gew.-% enthalten ist.
  4. Hochorientiertes, nicht-verstrecktes, leitfähiges Verbundfilament nach Anspruch 1, worin das Gewichtsverhältnis des unter Polyethylenterephthalat und Polybutylenterephthalat ausgewählten, faserbildenden thermoplastischen Polymer (A) und der Zusammensetzung (B), die ein leitfähiges Material und ein Polyamid enthält:
    (B)/(A) = 8/92 bis 22/78 ist.
  5. Verfahren zur Herstellung eines hochorientierten, nichtverstreckten, leitfähigen Verbundfilaments, das ein MantelKern-Verbundfilament ist, welches eine Mantel-Komponente aus einem unter Polyethylenterephthalat und Polybutylenterephthalat ausgewählten, faserbildenden thermoplastischen Polymer (A) und eine Kernkomponente aus einer Zusammensetzung (B) enthält, die ein leitfähiges Material umfaßt, das ein leitfähiges Metalloxid/leitfähige Metalloxide und ein thermoplastisches Polyamid enthält, umfassend:
       getrenntes Extrudieren des faserbildenden thermoplastischen Polymers (A), das nach Verspinnen eine Grenzviskositätszahl (η) von mindestens 0,55 besitzt, und der Zusammensetzung (B), die einen durch Trocknen auf 100 bis 1200 ppm eingestellten Feuchtigkeitsgehalt aufweist, durch unterschiedliche Extruder und Hochorientierungs-Schmelzspinnen unter Verwendung einer Verbund-Spinnvorrichtung bei mindestens 2500 m/min, wobei die so gesponnenen Filamente eine Schrumpfung in heißem Wasser bei 100°C von nicht mehr als 20% zeigen.
EP19890108861 1988-05-27 1989-05-17 Leitfähiges zusammengesetztes Filament und Verfahren zur Herstellung desselben Expired - Lifetime EP0343496B1 (de)

Applications Claiming Priority (2)

Application Number Priority Date Filing Date Title
JP13074588 1988-05-27
JP130745/88 1988-05-27

Publications (3)

Publication Number Publication Date
EP0343496A2 EP0343496A2 (de) 1989-11-29
EP0343496A3 EP0343496A3 (en) 1990-10-31
EP0343496B1 true EP0343496B1 (de) 1994-08-31

Family

ID=15041620

Family Applications (1)

Application Number Title Priority Date Filing Date
EP19890108861 Expired - Lifetime EP0343496B1 (de) 1988-05-27 1989-05-17 Leitfähiges zusammengesetztes Filament und Verfahren zur Herstellung desselben

Country Status (3)

Country Link
EP (1) EP0343496B1 (de)
CA (1) CA1334326C (de)
DE (1) DE68917784T2 (de)

Cited By (1)

* Cited by examiner, † Cited by third party
Publication number Priority date Publication date Assignee Title
DE102019132028B3 (de) * 2019-11-26 2021-04-15 Deutsche Institute Für Textil- Und Faserforschung Denkendorf Piezoresistiver Kraftsensor

Families Citing this family (9)

* Cited by examiner, † Cited by third party
Publication number Priority date Publication date Assignee Title
US5318845A (en) * 1988-05-27 1994-06-07 Kuraray Co., Ltd. Conductive composite filament and process for producing the same
DE3923086A1 (de) * 1989-07-13 1991-01-24 Hoechst Ag Antistatisches kern-mantel-filament
DE4017044A1 (de) * 1990-05-26 1991-11-28 Metallgesellschaft Ag Elektrisch leitfaehiges bariumsulfat und verfahren zu seiner herstellung
US5607766A (en) * 1993-03-30 1997-03-04 American Filtrona Corporation Polyethylene terephthalate sheath/thermoplastic polymer core bicomponent fibers, method of making same and products formed therefrom
KR100392965B1 (ko) * 1995-03-02 2003-10-30 도레이 가부시끼가이샤 폴리에스테르고배향미연신섬유및그제조방법
DE69507593T2 (de) * 1995-03-29 1999-06-24 Teijin Ltd., Osaka Elektrisch leitende zusammengesetzte Fasern
US5654096A (en) * 1995-03-30 1997-08-05 Teijin Limited Electroconductive conjugate fiber
EP1230863B1 (de) * 1995-06-06 2004-12-15 Filtrona Richmond, Inc. Poröses Element
CN112410959A (zh) * 2020-11-12 2021-02-26 湖州欣缘纺织有限公司 一种防静电涤纶包芯纱的制备方法

Family Cites Families (2)

* Cited by examiner, † Cited by third party
Publication number Priority date Publication date Assignee Title
CA1158816A (en) * 1980-06-06 1983-12-20 Kazuo Okamoto Conductive composite filaments and methods for producing said composite filaments
CA1285358C (en) * 1987-01-30 1991-07-02 Yasuhiro Ogawa Conductive composite filaments and fibrous articles containing the same

Cited By (2)

* Cited by examiner, † Cited by third party
Publication number Priority date Publication date Assignee Title
DE102019132028B3 (de) * 2019-11-26 2021-04-15 Deutsche Institute Für Textil- Und Faserforschung Denkendorf Piezoresistiver Kraftsensor
WO2021104899A1 (de) 2019-11-26 2021-06-03 Deutsche Institute Für Textil- Und Faserforschung Denkendorf Piezoresistiver kraftsensor

Also Published As

Publication number Publication date
EP0343496A2 (de) 1989-11-29
DE68917784T2 (de) 1995-01-05
EP0343496A3 (en) 1990-10-31
DE68917784D1 (de) 1994-10-06
CA1334326C (en) 1995-02-14

Similar Documents

Publication Publication Date Title
US5318845A (en) Conductive composite filament and process for producing the same
CA1158816A (en) Conductive composite filaments and methods for producing said composite filaments
US5698148A (en) Process for making electrically conductive fibers
US4457973A (en) Conductive composite filaments and methods for producing said composite filaments
EP2037015B1 (de) Leitende hülle-kern-konjugatfaser und herstellungsverfahren dafür
CA1107473A (en) Conductive composite filaments
EP0929701B1 (de) Elektrisch leitfähiges heterofilament
US4756969A (en) Highly electrically conductive filament and a process for preparation thereof
CA1081416A (en) Antistatic biconstituent polymeric filament with partially encapsulated constituent containing carbon black
US4085182A (en) Process for producing electrically conductive synthetic fibers
EP1219734B2 (de) Leitfähige kern-mantel-verbundfaser
EP0399397B1 (de) Spinnen von Mantel-Kern-Fäden mit multilobalem Querschnitt und mit elektroleitfähigem Kern
US5202185A (en) Sheath-core spinning of multilobal conductive core filaments
EP0343496B1 (de) Leitfähiges zusammengesetztes Filament und Verfahren zur Herstellung desselben
US5260013A (en) Sheath-core spinning of multilobal conductive core filaments
US4869951A (en) Method and materials for manufacture of anti-static cloth
JPH05263318A (ja) 導電性複合繊維
JPH01292116A (ja) 導電性繊維及びその製造法
JP7340183B1 (ja) 芯鞘型ポリエステル複合繊維、及びその製造方法
JPS6350446B2 (de)
JP2778981B2 (ja) 導電性複合繊維及びその製造方法
JP3210787B2 (ja) 導電性混繊糸
JPS61174469A (ja) 導電性複合繊維の製造法
EP3690088B1 (de) Leitfähige verbundfaser
JP2599785B2 (ja) 導電性複合繊維

Legal Events

Date Code Title Description
PUAI Public reference made under article 153(3) epc to a published international application that has entered the european phase

Free format text: ORIGINAL CODE: 0009012

AK Designated contracting states

Kind code of ref document: A2

Designated state(s): DE GB

PUAL Search report despatched

Free format text: ORIGINAL CODE: 0009013

AK Designated contracting states

Kind code of ref document: A3

Designated state(s): DE GB

17P Request for examination filed

Effective date: 19901127

17Q First examination report despatched

Effective date: 19931014

GRAA (expected) grant

Free format text: ORIGINAL CODE: 0009210

AK Designated contracting states

Kind code of ref document: B1

Designated state(s): DE GB

REF Corresponds to:

Ref document number: 68917784

Country of ref document: DE

Date of ref document: 19941006

PLBE No opposition filed within time limit

Free format text: ORIGINAL CODE: 0009261

STAA Information on the status of an ep patent application or granted ep patent

Free format text: STATUS: NO OPPOSITION FILED WITHIN TIME LIMIT

26N No opposition filed
REG Reference to a national code

Ref country code: GB

Ref legal event code: IF02

PGFP Annual fee paid to national office [announced via postgrant information from national office to epo]

Ref country code: GB

Payment date: 20050511

Year of fee payment: 17

PGFP Annual fee paid to national office [announced via postgrant information from national office to epo]

Ref country code: DE

Payment date: 20050512

Year of fee payment: 17

PG25 Lapsed in a contracting state [announced via postgrant information from national office to epo]

Ref country code: GB

Free format text: LAPSE BECAUSE OF NON-PAYMENT OF DUE FEES

Effective date: 20060517

PG25 Lapsed in a contracting state [announced via postgrant information from national office to epo]

Ref country code: DE

Free format text: LAPSE BECAUSE OF NON-PAYMENT OF DUE FEES

Effective date: 20061201

GBPC Gb: european patent ceased through non-payment of renewal fee

Effective date: 20060517