EP0246727A2 - Mit einem Sperrschloss ausgerüsteter Schalter - Google Patents

Mit einem Sperrschloss ausgerüsteter Schalter Download PDF

Info

Publication number
EP0246727A2
EP0246727A2 EP87301284A EP87301284A EP0246727A2 EP 0246727 A2 EP0246727 A2 EP 0246727A2 EP 87301284 A EP87301284 A EP 87301284A EP 87301284 A EP87301284 A EP 87301284A EP 0246727 A2 EP0246727 A2 EP 0246727A2
Authority
EP
European Patent Office
Prior art keywords
crossbar
circuit breaker
lock
engaging portion
movable
Prior art date
Legal status (The legal status is an assumption and is not a legal conclusion. Google has not performed a legal analysis and makes no representation as to the accuracy of the status listed.)
Granted
Application number
EP87301284A
Other languages
English (en)
French (fr)
Other versions
EP0246727B1 (de
EP0246727A3 (en
Inventor
Kiyotaka C/O Fukuyama Seisakusho Okuda
Masayoshi C/O Fukuyama Seisakusho Mishima
Current Assignee (The listed assignees may be inaccurate. Google has not performed a legal analysis and makes no representation or warranty as to the accuracy of the list.)
Mitsubishi Electric Corp
Original Assignee
Mitsubishi Electric Corp
Priority date (The priority date is an assumption and is not a legal conclusion. Google has not performed a legal analysis and makes no representation as to the accuracy of the date listed.)
Filing date
Publication date
Application filed by Mitsubishi Electric Corp filed Critical Mitsubishi Electric Corp
Publication of EP0246727A2 publication Critical patent/EP0246727A2/de
Publication of EP0246727A3 publication Critical patent/EP0246727A3/en
Application granted granted Critical
Publication of EP0246727B1 publication Critical patent/EP0246727B1/de
Anticipated expiration legal-status Critical
Expired - Lifetime legal-status Critical Current

Links

Images

Classifications

    • HELECTRICITY
    • H01ELECTRIC ELEMENTS
    • H01HELECTRIC SWITCHES; RELAYS; SELECTORS; EMERGENCY PROTECTIVE DEVICES
    • H01H9/00Details of switching devices, not covered by groups H01H1/00 - H01H7/00
    • H01H9/20Interlocking, locking, or latching mechanisms
    • H01H9/28Interlocking, locking, or latching mechanisms for locking switch parts by a key or equivalent removable member
    • H01H9/285Locking mechanisms incorporated in the switch assembly and operable by a key or a special tool

Definitions

  • This invention relates to a circuit breaker which is equipped with a lock for locking the circuit breaker in an open or closed state.
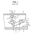
  • FIGS 1 and 2 of the accompanying drawings are respectively a vertical cross-sectional view and a phantom perspective view of the essential portions of a circuit breaker disclosed in Japanese Laid-Open Utility Model Application No. 56-1063.
  • the moving portions of the circuit breaker are contained within a housing 1 which comprises a base 1a and a cover 1b.
  • a stator 2 having a fixed contact 2 mounted thereon is secured to the base 1a.
  • a movable element 3 having a moving contact 3a mounted on one end thereof is supported by a contact arm 4 which is secured to a rotating crossbar 5.
  • the movable element 3 is pivotably mounted on a pin 6 which passes through holes formed in two sides plates 4a of the contact arm 4 which are located on either side of the movable element 3.
  • the other end of the movable element 3 is elastically supported by a spring 7 which is connected to the end of the contact arm 4.
  • a C-shaped support member 8 is secured to the upper surface of the contact arm 4 by screws 9.
  • the support member 8 supports an electrically-insulating rod 10 which extends perpendicularly upwards from the support member 8 and is secured thereto by a screw 9.
  • a cylinder lock 11 for locking the circuit breaker is secured to the cover 1b of the housing 11.
  • the lock 11 has a movable portion comprising a plate 11a which is secured to the cylinder of the lock 11 by a screw 9.
  • the plate 11a can be rotated about the axis of the lock 11 so as to engage with the electrically-insulating rod 10 by turning a key 12 in the lock 11.
  • the operating and trip mechanisms of the circuit breaker have been
  • Figures 1 and 2 show the circuit breaker in an off state in which the contacts 2a and 3a are open.
  • the plate 11a of the lock 11 is positioned in the path of movement of the electrically-­insulating rod 10. Accordingly, the circuit breaker is prevented from operating and is locked in the off state. If the key 12 is rotated 90 degrees in the lock 11 in the direction shown by the arrow 13 in Figure 2, the plate 11a will pivot to the position shown by the dashed lines 11a ⁇ in the figures, out of the path of movement of the electrically-insulating rod 10. In this state, the crossbar 5 is free to pivot, the rod 10 can swing to the position shown by the dashed lines 10 ⁇ , and the circuit breaker can perform its normal switching operation.
  • a movable element on which a moving contact is secured is directly pivoted on a crossbar, making a contact arm unnecessary.
  • the crossbar has an engaging portion in the form of a protruding arm which is integrally formed thereon.
  • a lock for locking the circuit breaker has a movable portion which can engage with the engaging portion of the crossbar.
  • the crossbar is molded from a thermosetting resin, and the portion of the movable portion of the lock which engages with the engaging portion of the crossbar is an electrically-insulating rod.
  • this circuit breaker is contained inside a housing 1 comprising a base 1a and a cover 1b.
  • a stator 2 having a fixed contact 2a mounted thereon is secured to the base 1a.
  • a movable element 20 having a moving contact 20a mounted on the end thereof is pivotably supported by a rotating crossbar 21.
  • the crossbar 21 can be rotated between the open position shown in the drawings in which the contacts 2a and 20a are open, and a closed position in which the contacts are closed.
  • the crossbar 21 is molded from a thermosetting resin and has three square holes 21a formed therein in each of which a movable element 20 can be mounted, although for simplicity, only a single movable element 20 is shown in the drawings.
  • the illustrated crossbar 21 is able to support three movable elements 20, but there is no restriction on the number of holes 21a or movable elements 20.
  • Each of the movable elements 20 is pivotably mounted on a pin 22 which fits into a pair of grooves 21b formed in the inner walls of one of the square holes 21a.
  • a biasing torque is exerted on the movable elements 20 by biasing springs 23 which are mounted on the pins 22 and engage with notches 20b formed in the rear ends of the movable elements 20.
  • the biasing springs 23 force the movable elements 20 to pivot about the pins 22 until they contact the bottom surfaces of the square holes 21a.
  • the movable elements 20 are mounted on the crossbar 21 by being inserted into the square holes 21a from the back side, as shown in Figure 5.
  • the crossbar 21 has a protruding arm 21c which is integrally formed on its upper portion. This arm 21c serves as an engaging member.
  • a cylinder lock 11 is mounted on the cover 1b of the housing 1. It has a movable portion comprising a horizontal plate 11a which is secured to the cylinder of the lock 11 by a screw 9, a cylindrical portion 11b which is secured to the underside of the plate 11a at is outer end by another screw 9, and an electrically-insulating rod 11c which is secured to the underside of the cylindrical portion 11b by the same screw 9 which connects the plate 11a and the cylindrical portion 11b.
  • the entire movable portion can be pivoted 90 degrees about the axis of the lock 11 between a locked position, shown by the solid lines in Figure 4, and an unlocked position, shown by the dashed lines 11a ⁇ in Figure 4, when a key 12 is turned in the lock 11.
  • the electrically-­insulating rod 11c engages with the engaging portion, i.e., the protruding arm 21c of the crossbar 21 and prevents the movement of the arm 21c.
  • the engaging portion i.e., the protruding arm 21c of the crossbar 21
  • a recess 11d having a flat surface which confronts the front surface of the protruding arm 21c is formed in the bottom end of the rod 11c. Since both the rod 11c and the protruding arm 21c are made of electrically-insulating materials, extremely high reliability is obtained.
  • the position of the cylindrical portion 11b and the rod 11c along the plate 11a of the movable portion can be freely adjusted so as to minimize play between the rod 11c and the protruding arm 21c of the crossbar 21.
  • the movable portion of the lock 11 is in a position such that the rod 11c engages with the protruding arm 21c of the crossbar 21, thus preventing the crossbar 21 from rotating.
  • the lock 11 effectively locks the circuit breaker in the off state. If a key 12 is turned in the lock 11 in the direction of the arrow 13 in Figure 4, the movable portion will rotate by 90 degrees until the plate 11a reaches the position shown by the dashed lines 11a ⁇ . In this position, the rod 11c is out of the path of movement of the protruding arm 21c and no longer prevents the crossbar 21c from rotating, and the circuit breaker is free to perform normal switching movement.
  • the lock 11 is positioned so as to lock the circuit breaker in an off state in which the contacts 2a and 20a are open. However, by merely altering the location of the lock 11, it can be made to lock the circuit breaker in the on state with the contacts 2a and 3a closed.
  • a movable element 20 is directly pivoted on a crossbar 21 so that a contact arm 4 for supporting the movable element 20 is unnecessary. Furthermore, as a protruding arm 21c which engages with the movable portion of a lock is an integral portion of a molded crossbar 21, a separate support member 8 and connecting screws 9 therefor are unnecessary, resulting in a decrease in the number of parts. Also, as it is not necessary to form screw holes in a contact arm 4 or a support member 8, the ease of manufacture is increased and manufacturing costs can be decreased.
  • circuit breaker uses the same operating mechanism, trip mechanism, and cylinder lock as a convention circuit breaker, it is simple to retrofit an existing circuit breaker to obtain one according to the present invention.

Landscapes

  • Breakers (AREA)
EP19870301284 1986-05-23 1987-02-13 Mit einem Sperrschloss ausgerüsteter Schalter Expired - Lifetime EP0246727B1 (de)

Applications Claiming Priority (2)

Application Number Priority Date Filing Date Title
JP78283/86 1986-05-23
JP7828386U JPS62191047U (de) 1986-05-23 1986-05-23

Publications (3)

Publication Number Publication Date
EP0246727A2 true EP0246727A2 (de) 1987-11-25
EP0246727A3 EP0246727A3 (en) 1989-09-20
EP0246727B1 EP0246727B1 (de) 1993-08-25

Family

ID=13657628

Family Applications (1)

Application Number Title Priority Date Filing Date
EP19870301284 Expired - Lifetime EP0246727B1 (de) 1986-05-23 1987-02-13 Mit einem Sperrschloss ausgerüsteter Schalter

Country Status (3)

Country Link
EP (1) EP0246727B1 (de)
JP (1) JPS62191047U (de)
DE (1) DE3787116T2 (de)

Cited By (4)

* Cited by examiner, † Cited by third party
Publication number Priority date Publication date Assignee Title
EP1630836A1 (de) * 2004-08-25 2006-03-01 EATON Corporation Verriegelungseinrichtung einer Auslösewelle und damit versehenes elektrisches Schaltgerät
EP1944780A1 (de) * 2006-12-29 2008-07-16 LS Industrial Systems Co., Ltd Schlüsselschlossvorrichtung für einen Trennschalter
EP2325856B1 (de) * 2009-11-19 2012-12-26 LS Industrial Systems Co., Ltd Schlüsselvorrichtung für einen Leistungsschalter
CN101494125B (zh) * 2008-01-22 2013-02-06 赵建平 带有安全锁的断路器

Family Cites Families (3)

* Cited by examiner, † Cited by third party
Publication number Priority date Publication date Assignee Title
JPS561063Y2 (de) * 1976-08-04 1981-01-12
IE56136B1 (en) * 1983-12-19 1991-04-24 Westinghouse Electric Corp Circuit breaker with improved cross-bar and contact assembly
US4554421A (en) * 1984-01-09 1985-11-19 Westinghouse Electric Corp. Molded case circuit breaker with handle lock

Cited By (4)

* Cited by examiner, † Cited by third party
Publication number Priority date Publication date Assignee Title
EP1630836A1 (de) * 2004-08-25 2006-03-01 EATON Corporation Verriegelungseinrichtung einer Auslösewelle und damit versehenes elektrisches Schaltgerät
EP1944780A1 (de) * 2006-12-29 2008-07-16 LS Industrial Systems Co., Ltd Schlüsselschlossvorrichtung für einen Trennschalter
CN101494125B (zh) * 2008-01-22 2013-02-06 赵建平 带有安全锁的断路器
EP2325856B1 (de) * 2009-11-19 2012-12-26 LS Industrial Systems Co., Ltd Schlüsselvorrichtung für einen Leistungsschalter

Also Published As

Publication number Publication date
JPS62191047U (de) 1987-12-04
DE3787116T2 (de) 1994-04-21
DE3787116D1 (de) 1993-09-30
EP0246727B1 (de) 1993-08-25
EP0246727A3 (en) 1989-09-20

Similar Documents

Publication Publication Date Title
JP3876003B2 (ja) ロック可能な回転式ハンドル操作手段を有する回路遮断器
US4662665A (en) Auxiliary lock with an extensible device
US4767895A (en) Removable key off-lock switch having improved locking actuator
US5479800A (en) Plastic lock
US5302925A (en) Circuit breaker rotary handle operator with positive on indication
CA2818181C (en) Electric current switching apparatus
EP0246727B1 (de) Mit einem Sperrschloss ausgerüsteter Schalter
US3980845A (en) Circuit breaker operator with defeates interlock mechanism
CN117219472A (zh) 一种断路器
US6609736B2 (en) Horizontal motor-driven lock
JPH10172388A (ja) 車両用レバースイッチの構造
JPH0922642A (ja) 多方向切換スイッチ
CN214755492U (zh) 直线移位过力矩保护部件
JP2554359Y2 (ja) ロータリスイッチ
CN222320055U (zh) 一种自由脱扣机构的解扣结构及旋转开关
US6127909A (en) Breaker mechanism for an electric circuit-breaker
CN222785227U (zh) 操作机构和断路器
CN118866620B (zh) 一种适用于液压电磁断路器的辅助报警结构
JPH017949Y2 (de)
CN221610442U (zh) 锁止机构以及固定器
CN223023191U (zh) 一种精简扭簧的断路器
CN216666978U (zh) 连接结构及车用校准装置
US3254187A (en) Actuator mechanism for a switch
JPS601478Y2 (ja) 自動二輪車用の複合スイッチ
AU2024250574A1 (en) Transmission mechanism, action mechanism, conversion mechanism, linkage mechanism, remote tripping mechanism, and isolating switch

Legal Events

Date Code Title Description
PUAI Public reference made under article 153(3) epc to a published international application that has entered the european phase

Free format text: ORIGINAL CODE: 0009012

AK Designated contracting states

Kind code of ref document: A2

Designated state(s): DE FR GB

PUAL Search report despatched

Free format text: ORIGINAL CODE: 0009013

AK Designated contracting states

Kind code of ref document: A3

Designated state(s): DE FR GB

17P Request for examination filed

Effective date: 19891018

17Q First examination report despatched

Effective date: 19910918

GRAA (expected) grant

Free format text: ORIGINAL CODE: 0009210

AK Designated contracting states

Kind code of ref document: B1

Designated state(s): DE FR GB

REF Corresponds to:

Ref document number: 3787116

Country of ref document: DE

Date of ref document: 19930930

REG Reference to a national code

Ref country code: GB

Ref legal event code: 727

ET Fr: translation filed
REG Reference to a national code

Ref country code: GB

Ref legal event code: 727A

REG Reference to a national code

Ref country code: GB

Ref legal event code: 727B

PLBE No opposition filed within time limit

Free format text: ORIGINAL CODE: 0009261

STAA Information on the status of an ep patent application or granted ep patent

Free format text: STATUS: NO OPPOSITION FILED WITHIN TIME LIMIT

REG Reference to a national code

Ref country code: GB

Ref legal event code: SP

26N No opposition filed
REG Reference to a national code

Ref country code: GB

Ref legal event code: 746

Effective date: 19960611

REG Reference to a national code

Ref country code: FR

Ref legal event code: D6

PGFP Annual fee paid to national office [announced via postgrant information from national office to epo]

Ref country code: FR

Payment date: 19990209

Year of fee payment: 13

PGFP Annual fee paid to national office [announced via postgrant information from national office to epo]

Ref country code: GB

Payment date: 19990218

Year of fee payment: 13

PGFP Annual fee paid to national office [announced via postgrant information from national office to epo]

Ref country code: DE

Payment date: 19990223

Year of fee payment: 13

PG25 Lapsed in a contracting state [announced via postgrant information from national office to epo]

Ref country code: GB

Free format text: LAPSE BECAUSE OF NON-PAYMENT OF DUE FEES

Effective date: 20000213

GBPC Gb: european patent ceased through non-payment of renewal fee

Effective date: 20000213

PG25 Lapsed in a contracting state [announced via postgrant information from national office to epo]

Ref country code: FR

Free format text: LAPSE BECAUSE OF NON-PAYMENT OF DUE FEES

Effective date: 20001031

PG25 Lapsed in a contracting state [announced via postgrant information from national office to epo]

Ref country code: DE

Free format text: LAPSE BECAUSE OF NON-PAYMENT OF DUE FEES

Effective date: 20001201

REG Reference to a national code

Ref country code: FR

Ref legal event code: ST