EP0240135B1 - Blochliniespeicheranordnung und Verfahren zu deren Betrieb - Google Patents

Blochliniespeicheranordnung und Verfahren zu deren Betrieb Download PDF

Info

Publication number
EP0240135B1
EP0240135B1 EP87301591A EP87301591A EP0240135B1 EP 0240135 B1 EP0240135 B1 EP 0240135B1 EP 87301591 A EP87301591 A EP 87301591A EP 87301591 A EP87301591 A EP 87301591A EP 0240135 B1 EP0240135 B1 EP 0240135B1
Authority
EP
European Patent Office
Prior art keywords
magnetic
domain
bloch
stripe
magnetic domain
Prior art date
Legal status (The legal status is an assumption and is not a legal conclusion. Google has not performed a legal analysis and makes no representation as to the accuracy of the status listed.)
Expired - Lifetime
Application number
EP87301591A
Other languages
English (en)
French (fr)
Other versions
EP0240135A3 (en
EP0240135A2 (de
Inventor
Youji Hitachi Koyasudai Apartment E-201 Maruyama
Ryo Suzuki
Current Assignee (The listed assignees may be inaccurate. Google has not performed a legal analysis and makes no representation or warranty as to the accuracy of the list.)
Hitachi Ltd
Original Assignee
Hitachi Ltd
Priority date (The priority date is an assumption and is not a legal conclusion. Google has not performed a legal analysis and makes no representation as to the accuracy of the date listed.)
Filing date
Publication date
Application filed by Hitachi Ltd filed Critical Hitachi Ltd
Publication of EP0240135A2 publication Critical patent/EP0240135A2/de
Publication of EP0240135A3 publication Critical patent/EP0240135A3/en
Application granted granted Critical
Publication of EP0240135B1 publication Critical patent/EP0240135B1/de
Anticipated expiration legal-status Critical
Expired - Lifetime legal-status Critical Current

Links

Images

Classifications

    • GPHYSICS
    • G11INFORMATION STORAGE
    • G11CSTATIC STORES
    • G11C19/00Digital stores in which the information is moved stepwise, e.g. shift registers
    • G11C19/02Digital stores in which the information is moved stepwise, e.g. shift registers using magnetic elements
    • G11C19/08Digital stores in which the information is moved stepwise, e.g. shift registers using magnetic elements using thin films in plane structure
    • G11C19/0875Organisation of a plurality of magnetic shift registers
    • G11C19/0883Means for switching magnetic domains from one path into another path, i.e. transfer switches, swap gates or decoders
    • GPHYSICS
    • G11INFORMATION STORAGE
    • G11CSTATIC STORES
    • G11C19/00Digital stores in which the information is moved stepwise, e.g. shift registers
    • G11C19/02Digital stores in which the information is moved stepwise, e.g. shift registers using magnetic elements
    • G11C19/08Digital stores in which the information is moved stepwise, e.g. shift registers using magnetic elements using thin films in plane structure
    • G11C19/0858Generating, replicating or annihilating magnetic domains (also comprising different types of magnetic domains, e.g. "Hard Bubbles")
    • GPHYSICS
    • G11INFORMATION STORAGE
    • G11CSTATIC STORES
    • G11C19/00Digital stores in which the information is moved stepwise, e.g. shift registers
    • G11C19/02Digital stores in which the information is moved stepwise, e.g. shift registers using magnetic elements
    • G11C19/08Digital stores in which the information is moved stepwise, e.g. shift registers using magnetic elements using thin films in plane structure
    • G11C19/0866Detecting magnetic domains

Definitions

  • This invention relates to a Bloch line memory device and a method for operating same and in particular to a Bloch line memory device and a method for operating same, which are suitable for obtaining a good read-out margin and practical.
  • a magnetic garnet film is used as a memory medium film as in a magnetic bubble memory device.
  • their memory methods are considerably different. That is, in a Bloch line memory the presence and the absence of a vertical Bloch line pair existing in the wall around a stripe magnetic domain obtained by stretching a bubble correspond to "1" and "0", respectively, while in a prior art magnetic bubble memory the presence and the absence of a bubble correspond to "1" and "0" in data.
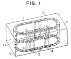
  • Fig. 1 indicates this aspect.
  • the arrow directed upward in a stripe magnetic domain 2 shows the direction of magnetization
  • arrows 101 on the center line of the wall 1 show the direction of magnetization located at the wall center
  • arrows 102 perpendicular to the wall 1 at the center line show the direction of magnetization at the center of the vertical Bloch line (hereinbelow called merely Bloch line).
  • portions, where a pair of Bloch lines exist correspond to "1" in data and portions, where no Bloch lines exist, correspond to "0".
  • the Bloch line used as information carrier is a microstructure of the domain wall existing in the wall 1 surrounding the magnetic domain.
  • the Bloch line can exist stably in the domain wall and propagate freely along the domain wall. Consequently, when a number of stripe magnetic domains are arranged at their predetermined positions and Bloch lines are made to exist in the domain wall, they behave just as bubbles propagating in a minor loop of a magnetic bubble memory. For this reason a Bloch line memory is a shift resistor type memory similarly to a magnetic bubble memory.
  • Bloch line The existence of the Bloch line is known since long ago and it is verified by experiments and their analysis that the mobility of the magnetic domain is reduced by the existence of the Bloch line. Consequently, for the magnetic bubble memory, for which the magnetic domain should be shifted, the bubble domain containing Bloch lines is called hard bubble and it has been tried to prevent its generation. To the contrary, for the Bloch line memory device, the existence of this Bloch line is positively utilized.
  • the physical size of the Bloch line is about 1/10 of the width of the stripe magnetic domain, where the Bloch line exists, and a number of Bloch lines can exist in one stripe magnetic domain.
  • a number of Bloch lines can exist in one stripe magnetic domain.
  • the physical size of the Bloch line is about 1/10 of the width of the stripe magnetic domain, where the Bloch line exists, and a number of Bloch lines can exist in one stripe magnetic domain.
  • a garnet film having stripe magnetic domains 1 ⁇ m wide developed for a magnetic bubble memory it is possible to make about 5 x 106 Bloch lines exist per 1 cm3. Therefore, in the case where 2 Bloch lines are paired in the information medium, it is possible to realize a memory of 256 M bit/cm2.
  • Bloch line memory device can have a large memory capacity, apart from the fact that the size is extremely small. It is due to the fact that in the Bloch line memory the magnetic field in the vertical direction is used for the propagation of information, while in the magnetic bubble memory information carriers are propagated by rotating an in-plane field. For this reason there is a high possibility that the propagation pattern is simplified in a plane, what acts so as to make it easier to increase the density for this type of memory elements.
  • the write-in operation is effected basically by making electric current flow through a conductor disposed at the proximity of one stripe domain head so that a local magnetic field is generated there and reversing the magnetization in the domain wall. That is, it can be thought that the direction of magnetization indicated by "0" in Fig. 1 is reversed so that it is in accordance with the direction of magnetization in the "1" domain.
  • Bloch lines are produced in this way. Further two Bloch lines are always paired. Consequently the Bloch line memory is constituted by making one pair of Bloch lines correspond to one information.
  • the read-out of information is effected, after having transformed the presence or absence of the Bloch line into the presence or absence of the bubble domain.
  • the transformation of the Bloch line into the bubble domain is effected by the method described by Konishi in an article published in IEEE Trans. Mag. 19 , No. 5 (1983) p. 1838 - p. 1840 and p. 1841 - p. 1843. That is, when a pair of Bloch lines exist, the direction of magnetization in the domain wall is reversed at the pair of Bloch lines as a border, as indicated in Fig. 1. When a pair of Bloch lines arrive at the stripe magnetic domain head, variations in this magnetization structure give rise to variations in chopping properties.
  • Fig. 2 is a top view of the element indicated in Fig. 1, in which also the direction of magnetization seen from above is indicated by arrows.
  • the presence or absence of the Bloch lines can be transformed into the presence or absence of the bubble.
  • Bloch line memory It is possible to realize a Bloch line memory by forming a write-in, a memory and a read-out function portion described above in one element.
  • Fig. 3A indicates a case where a pair of Bloch lines 4 arrive at the head portion of a stripe magnetic domain 2 and on the other hand Fig. 3B indicates a case where there are no pair of Bloch lines. In the two states, comparing the directions of the magnetizations 5 of the domain wall 1, it can be seen that the two are same.
  • the magnetization of the domain wall varies, depending on whether a pair of Bloch lines exist or not, but the magnetization doesn't vary, depending on whether a pair of Bloch lines exist or not. This reason is that the magnetization reversed by one Bloch line is reversed again by the other Bloch line so that the direction of the magnetization returns finally to the initial one. For this reason, since the direction of the magnetizations 5 doesn't vary depending on the presence or absence of the pair of Bloch lines only by the prior art method, it can be understood that its presence or absence cannot be transformed into the presence or absence of the magnetic bubble domain.
  • JP-A-59-101092 As measures for resolving this problem a method is disclosed in JP-A-59-101092.
  • electric current is made to flow through a conductor superposed on the chopping conductor so that the position of the pair of Bloch lines is held and reading-out is carried out by effecting the chopping operation between the pair of Bloch lines.
  • the presence or absence of the pair of Bloch lines can be transformed into the presence or absence of the bubble domain and thus the reading-out according to the prior art techniques is realized.
  • EP-A-106358 also discloses a magnetic memory in which information is stored by the use of vertical Bloch lines in a stripe magnetic domain.
  • the presence or absence of the Bloch line pairs dictates the type of information stored in the memory.
  • the information is read out by chopping the end of the preselected stripe domain. This is done by supplying a local in-plane magnetic field to the end of the stripe domain head such that the pair of Bloch lines are split.
  • the head of the stripe can then be chopped to form a bubble by a field generated by a chopping conduction, which is located between the Bloch lines.
  • the present invention seeks to provide a practical Bloch line memory device, in which a pair of Bloch lines represent one bit information and a method for operating same.
  • the present invention therefore provides a Bloch line memory device comprising: a magnetic medium film; means for holding a stripe magnetic domain at a desired region of the magnetic medium film, the stripe magnetic domain including at least one pair of Bloch lines; means for shifting said pair of Bloch lines towards a head portion of said stripe magnetic domain; means disposed at the proximity of the head portion of said stripe magnetic domain for chopping the stripe magnetic domain by bringing upper and lower sides of a domain wall of the stripe magnetic domain closer to each other; and means for applying an in-plane magnetic field (HC) to the magnetic medium film; wherein said device further comprises means for stretching said head portion of the strip magnetic domain in a direction substantially parallel to the magnetic medium film by applying a magnetic force ( HB) in a direction substantially opposite to a vertical bias magnetic field (H B ) perpendicular to the magnetic medium film, and for simultaneously splitting the pair of Bloch lines by applying the in-plane magnetic field (H C ) provided by the means for applying the in-plane magnetic field; and
  • the direction of this in-plane magnetic field may be determined so that it is also opposite to the direction, along which the stripe magnetic domain stretches (Y axis direction).
  • a force tending to make the magnetic energy small acts on the region surrounded by the pair of Bloch lines. Consequentially the region is enlarged by this force and the distance bewtween the two Bloch lines forming the pair of Bloch lines increases.
  • one of the Bloch lines becomes more distant from the head portion of the stripe magnetic domain and the other is held stably at the head portion of the stripe magnetic domain.
  • stripe magnetic domain chopping means disposed at the proximity of the head portion of the stripe domain chops the stripe magnetic domain, and on applying the in-plane magnetic field the end of the stripe domain is transformed into the magnetic bubble domain. This may then be detected by a magnetic bubble domain detecting means. After that, the application of the in-plane magnetic field is stopped.
  • a hair-pin shaped conductor may be employed as the stripe magnetic domain chopping means which is disposed in the direction perpendicular to that of the stretching of the stripe magnetic domain or two conductors parallel to each other are used.
  • a magnetic bubble domain detector utilizing the magneto-resitive effect by means of soft magnetic materials of a known type may be used as the magnetic bubble domain detecting means.
  • the presence or absence of the pair of Bloch lines at the head portion of the stripe magnetic domain corresponds to whether the stripe magnetic domain is chopped or not and in turn whether it is transformed into the magnetic bubble domain or not. Consequently, according to this invention, it is possible to realize a practical Bloch line memory device.
  • the present invention provides a method for operating a Bloch line memory device having a magnetic medium film comprising the steps of:
  • the basic structure of the Bloch line memory consists of a stripe magnetic domain stabilizing pattern 11 and a stripe magnetic domain 2.
  • a pattern formed by scooping a magnetic film about 1 ⁇ m thick is used as means for stabilizing stripe magnetic domains.
  • Pairs of Bloch lines can move freely in the domain wall.
  • Two methods are conceived for shifting these pairs of Bloch lines. One of them is a method, by which a magnetic field perpendicular to the surface of the film is applied thereto, and a gyroscopic force acting on the magnetization is utilized. The other is a method, by which an in-plane magnetic field parallel to the plane, where the magnetic film exists, is utilized.
  • the pairs of Bloch lines are freely shifted by either one of the methods. However, in order to utilize the Bloch lines as memorized information, it is necessary to stabilize a pair of Bloch lines at a particular address position, corresponding to the propagation period. In this embodiment a pattern 9 indicated in Fig. 4 is used as this means.
  • Fig. 4A shows the state before the reading-out.
  • a pair of Bloch lines 4 is located at the head portion of a stripe magnetic domain 2.
  • One 4-1 of the splitted Bloch lines is moved to the exterior of a conductor 10 by the magnetic field generated by the conductor 10.
  • the other Bloch line 4-2 is located stably at the head portion of the stripe magnetic domain.
  • This separation takes different periods of time, depending on the propagated distance of the Bloch lines. Usually, supposing that the conductor 5 is about 40 ⁇ m wide, it takes about 500 nano sec.
  • the chopped magnetic domain 8 is detected by a method identical to that of the usual bubble memory techniques and thus the presence of the pair of Bloch lines can be read-out as digital data.
  • the magnetization 5 Since there are no Bloch lines at the proximity of the head portion of the stripe magnetic domain, the magnetization 5 has different directions at the upper and the lower sides of the domain wall of the stripe magnetic domain, as indicated in Fig. 5B. In such a state it is difficult to chop the magnetic domain and no magnetic domain is chopped, if a chopping current I c2 is chosen.
  • a conductor 10, 40 ⁇ m wide was used as means generating the in-plane magnetic field for splitting the pair of Bloch lines.
  • the width of this conductor is so chosen that the in-plane magnetic field is generated with a high efficiency and usually it is thought that it is suitably from several to about 100 times as wide as the stripe magnetic domain. When it is still wider, the effective area of the device is reduced and thus it is not efficacious. To the contrary, when it is narrower than that, it is not desirable for generating the in-plane magnetic field with a high efficiency.
  • a high coercive force film magnetized in the in-plane direction generates a stray in-plane magnetic field in the in-plane direction.
  • the pair of Bloch lines are splitted and thus it becomes possible to read-out them.
  • Figs. 6A, 6B and 6C indicate this structure.
  • a pattern made of Tb-Fe-Co, etc. having its axis of easy magnetization in the in-plane direction (hereinbelow called in-plane magnetization film pattern) is disposed at the proximity of the head portion of the stripe magnetic domain.
  • the in-plane magnetic field leaking out from the in-plane magnetization film has the direction H c '.
  • the head portion of the stripe magnetic domain is stretched by applying a magnetic field - ⁇ H B , which is opposite to the vertical bias magnetic field H B , as indicated in Fig. 6B.
  • the pair of Bloch lines are splitted, sensing the in-plane magnetic field, and thus it becomes possible to read-out them, just as in the case where the conductor is used, as described above.
  • Fig. 8A indicates the stripe magnetic domain 2.
  • Two pairs of Bloch lines 4 exist on the periphery of one stripe magnetic domain 2.
  • the directions of the magnetizations between the pairs of Bloch lines are opposite to each other. As it is clearly seen from Fig. 1, this is because the magnetizations rotate continuously along the domain wall.
  • Fig. 8A when a magnetic field H having the same direction as that of the magnetization in the region comprised between the pair of Bloch lines existing at the lower side of the domain wall is applied, the lower pair of Bloch lines are splitted and move to the two head portions of the stripe magnetic domain. For this reason, the information, which this pair of Bloch lines has disappears (Fig. 8B).
  • Fig. 8C indicates this aspect.
  • the Block lines 3 can exist stably at both the head portions.
  • the pair of Bloch lines are written-in, owing to the continuity of the magnetization direction described above, the magnetization between the pair of Bloch lines is always opposite to that of the magnetic field Hip (Fig. 8D). For this reason, whether the pair of Bloch lines exist at the side, upper or lower, of the domain wall, they are not splitted and can exist stably.
  • Fig. 9A indicates the case where the Bloch line 3 described above and a pair of Bloch lines 4 corresponding to an information "1" exist at the head portion of the stripe magnetic domain.
  • Fig. 10A indicates the state, where only the Bloch line 3 exists at the head portion of the stripe magnetic domain.
  • the Bloch line 3 is shifted to the position indicated in Fig. 10B.
  • the Bloch line is shifted along the side, upper or lower, of the domain wall, the magnetizations of the domain wall after the shift are opposite to each other at the upper and lower sides of the domain wall. Therefore, even by the chopping operation indicated in Fig. 10C, no magnetic domain is chopped. Consequently reading-out the information is realized by detecting the presence or absence of the chopped magnetic domain by using means identical to that according to the prior art techniques, just as in Embodiment 1.

Landscapes

  • Hall/Mr Elements (AREA)
  • Magnetic Heads (AREA)

Claims (14)

  1. Blochlinienspeicheranordnung mit:
       einer magnetischen Schicht (6);
       Mittel (9, 11) zum Festhalten einer streifenförmigen, magnetischen Domäne (2) in einem gewünschten Bereich der magnetischen Schicht (6), wobei die streifenförmige, magnetische Domäne (2) wenigstens ein Blochlinienpaar (4) enthält;
       Mittel zum Verschieben des Blochlinienpaares (4) zu einem Kopfabschnitt der streifenförmigen, magnetischen Domäne;
       nahe am Kopfabschnitt der streifenförmigen, magnetischen Domäne angeordnete Mittel (7) zum Zerlegen der streifenförmigen, magnetischen Domäne durch Annähern von Ober- und Unterseite einer Domänenwand der streifenförmigen, magnetischen Domäne (2);
       und Mittel (10, 12) zum Anlegen eines parallelen Magnetfeldes (HC) an die magnetische Schicht;
       wobei die Anordnung weiterer Mittel zum Ausdehnen des Kopfabschnittes der streifenförmigen, magnetischen Domäne (2) in eine zur magnetischen Schicht im wesentlichen parallelen Richtung durch Anlegen einer Magnetkraft (ΔHB) in eine im wesentlichen entgegengesetzte Richtung zu einem vertikalen Vormagnetisierungsfeld (HB) senkrecht zur magnetischen Schicht und zum gleichzeitigen Aufteilen des Blochlinienpaares (4) durch Anlegen des von dem Mittel zum Anlegen des parallelen Magnetfeldes gelieferten parallelen Magnetfeldes (Hc) enthält;
       dadurch gekennzeichnet, daß
       die Mittel zum Ausdehnen des Kopfabschnittes das Blochlinienpaar (4) in der Nähe der Mittellinie des Kopfabschnittes der streifenförmigen, magnetischen Domäne aufteilen.
  2. Blochlinienspeicheranordnung gemäß Anspruch 1, worin das Mittel (10, 12) zum Anlegen eines parallelen Magnetfeldes (Hc) ein Leiter mit einer vorbestimmten Breite ist, wobei der Leiter so auf der magnetischen Schicht (6) angeordnet ist, daß er die streifenförmige, magnetische Domäne überlagert.
  3. Blochlinienspeicheranordnung gemäß Anspruch 2, worin ein Mittel zum Liefern eines vorbestimmten elektrischen Stroms mit dem Leiter verbunden ist.
  4. Blochlinienspeicheranordnung gemäß Anspruch 1, worin das Mittel (10, 12) zum Anlegen eines parallelen Magnetfeldes (Hc) ein Schicht mit hoher Koerzitivkraft ist, wobei die Schicht mit hoher Koerzitivkraft so auf der magnetischen Schicht angeordnet ist, daß sie die streifenförmige, magnetische Domäne überlagert.
  5. Blochlinienspeicheranordnung gemäß einem der vorstehenden Ansprüche, worin sich eine zusätzliche Blochlinie (3) an jedem der beiden Enden der streifenförmigen, magnetischen Domäne (2) befindet.
  6. Blochlinienspeicheranordnung gemäß einem der vorstehenden Ansprüche, worin die magnetische Schicht eine magnetische Granatschicht ist.
  7. Blochlinienspeicheranordnung gemäß einem der vorstehenden Ansprüche, worin eine von dem Mittel zum Zerlegen der streifenförmigen, magnetischen Domäne zerlegte magnetische Blasendomäne von einem Mittel zum Erkennen magnetischer Blasendomäne feststellbar ist.
  8. Blochlinienspeicheranordnung gemäß einem der vorstehenden Ansprüche, worin das Mittel (7) zum Zerlegen der streifenförmigen, magnetischen Domäne ein haarnadelförmiger Leiter ist, der näherungsweise senkrecht zur Ausdehnungsrichtung der streifenförmigen, magnetischen Domäne angeordnet ist.
  9. Blochlinienspeicheranordnung gemäß Anspruch 1, worin das Mittel (10, 12) zum Anlegen eines parallelen Magnetfeldes (Hc) ein Leiter mit einer Breite ist, die mehrfach bis zu 100 Mal der Breite der streifenförmigen, magnetischen Domäne entspricht.
  10. Verfahren zum Betrieb einer eine magnetische Schicht (6) aufweisenden Blochlinienspeicheranordnung mit den Schritten:
    (i) Festhalten einer wenigstens ein Blochlinienpaar enthaltenden streifenförmigen, magnetischen Domäne in einem gewünschten Bereich der magnetischen Schicht, und
    (ii) Ausdehnen des Kopfabschnittes einer streifenförmigen, magnetischen Domäne durch Anlegen einer Magnetkraft (ΔHB) in eine im wesentlichen entgegengesetzte Richtung zu einem vertikalen Vormagnetisierungsfeld (HB) senkrecht zur magnetischen Schicht und gleichzeitiges Aufteilen des Blochlinienpaars durch Anlegen eines Magnetfeldes in eine Ebene parallel zu der der magnetischen Schicht;
    (iii) Zerlegen der streifenförmigen, magnetischen Domäne,
       dadurch gekennzeichnet, daß
       dem Schritt (ii) ein Bewegen des Blochlinienpaares (4) in die Nähe der Mittellinie des Kopfabschnittes der streifenförmigen, magnetischen Domäne vorrausgeht.
  11. Verfahren zum Betrieb einer Blochlinenspeicheranordnung gemäß Anspruch 10, worin die Richtung des parallele Magnetfeld der Ausdehnungsrichtung der streifenförmigen, magnetischen Domäne nahezu parallel und entgegengerichtet ist.
  12. Verfahren zum Betrieb einer Blochlinienspeicheranordnung gemäß Anspruch 10 oder 11, worin das parallele Magnetfeld ein von einer in der Nähe des Kopfabschnittes der streifenförmigen, magnetischen Domäne angeordneten Schicht mit hoher Koerzitivkraft (12) erzeugtes Streumagnetfeld ist.
  13. Verfahren zum Betrieb einer Blochlinienspeicheranordnung gemäß einem der Ansprüche 10 bis 12, worin sich eine Blochlinie in jedem der beiden Kopfabschnitte der streifenförmigen, magnetischen Domäne (2) befindet.
  14. Verfahren zum Betrieb einer Blochlinienspeicheranordnung gemäß einem der Ansprüche 10 bis 13, worin das Mittel zum Zerlegen der streifenförmigen, magnetischen Domäne ein haarnadelförmiger Leiter ist, der nahezu senkrecht zur Ausdehnungsrichtung der streifenförmigen, magnetischen Domäne angeordnet ist.
EP87301591A 1986-02-28 1987-02-24 Blochliniespeicheranordnung und Verfahren zu deren Betrieb Expired - Lifetime EP0240135B1 (de)

Applications Claiming Priority (2)

Application Number Priority Date Filing Date Title
JP4177686 1986-02-28
JP41776/86 1986-02-28

Publications (3)

Publication Number Publication Date
EP0240135A2 EP0240135A2 (de) 1987-10-07
EP0240135A3 EP0240135A3 (en) 1989-11-02
EP0240135B1 true EP0240135B1 (de) 1993-05-12

Family

ID=12617775

Family Applications (1)

Application Number Title Priority Date Filing Date
EP87301591A Expired - Lifetime EP0240135B1 (de) 1986-02-28 1987-02-24 Blochliniespeicheranordnung und Verfahren zu deren Betrieb

Country Status (4)

Country Link
US (1) US5050122A (de)
EP (1) EP0240135B1 (de)
JP (1) JPS62275383A (de)
DE (1) DE3785787T2 (de)

Families Citing this family (1)

* Cited by examiner, † Cited by third party
Publication number Priority date Publication date Assignee Title
US9048410B2 (en) 2013-05-31 2015-06-02 Micron Technology, Inc. Memory devices comprising magnetic tracks individually comprising a plurality of magnetic domains having domain walls and methods of forming a memory device comprising magnetic tracks individually comprising a plurality of magnetic domains having domain walls

Citations (1)

* Cited by examiner, † Cited by third party
Publication number Priority date Publication date Assignee Title
EP0106358A2 (de) * 1982-10-18 1984-04-25 Nec Corporation Magnetische Speicheranordnung fähig zum Speichern von Informationen in einer Banddomäne in der Gestalt eines senkrechten Blochlinienpaares

Family Cites Families (3)

* Cited by examiner, † Cited by third party
Publication number Priority date Publication date Assignee Title
US4001794A (en) * 1975-04-21 1977-01-04 International Business Machines Corporation Method and apparatus for controlled generation of wall topology in magnetic domains
JPS59101092A (ja) * 1982-12-02 1984-06-11 Nec Corp 磁気記憶方法
JPS61248296A (ja) * 1985-04-25 1986-11-05 Nec Corp 磁気記憶素子

Patent Citations (1)

* Cited by examiner, † Cited by third party
Publication number Priority date Publication date Assignee Title
EP0106358A2 (de) * 1982-10-18 1984-04-25 Nec Corporation Magnetische Speicheranordnung fähig zum Speichern von Informationen in einer Banddomäne in der Gestalt eines senkrechten Blochlinienpaares

Also Published As

Publication number Publication date
EP0240135A3 (en) 1989-11-02
EP0240135A2 (de) 1987-10-07
DE3785787T2 (de) 1993-08-12
DE3785787D1 (de) 1993-06-17
JPS62275383A (ja) 1987-11-30
US5050122A (en) 1991-09-17

Similar Documents

Publication Publication Date Title
EP0255044B1 (de) Blochlinien-Speichereinrichtung
EP0106358A2 (de) Magnetische Speicheranordnung fähig zum Speichern von Informationen in einer Banddomäne in der Gestalt eines senkrechten Blochlinienpaares
US3691540A (en) Integrated magneto-resistive sensing of bubble domains
US3723716A (en) Single wall domain arrangement including fine-grained, field access pattern
US4080591A (en) Replicator for cross-tie wall memory system incorporating isotropic data track
US4162537A (en) Magnetic bubble memory
EP0240135B1 (de) Blochliniespeicheranordnung und Verfahren zu deren Betrieb
US3534346A (en) Magnetic domain propagation arrangement
US3982234A (en) Hard-magnetic film overlay apparatus and method for magnetic mobile domain control
CA1109150A (en) Gap tolerant bubble domain propagation circuits
US3916395A (en) Cylindrical magnetic domain storage device having wave-like magnetic wall
US4059829A (en) Multi state magnetic bubble domain cell for random access memories
US4023150A (en) Bubble translation system
US3713119A (en) Domain propagation arrangement
US3736577A (en) Domain transfer between adjacent magnetic chips
US4142247A (en) Conductor-driven magnetic bubble memory with an expander-detector arrangement
US3774182A (en) Conductor-pattern apparatus for controllably inverting the sequence of a serial pattern of single-wall magnetic domains
US4246647A (en) Differential magneto-resistive detector for cross-tie wall memory system
US4949304A (en) Bloch line memory device
US3947830A (en) Complementary transition structures for magnetic domain propagation
US4027297A (en) Gapless magnetic bubble propagation path structure
JPH05347090A (ja) ブロッホラインメモリ素子およびその動作方法
EP0263530B1 (de) Blochzeilenspeicheranordnung
US4228523A (en) Conductor access bubble memory arrangement
US5047978A (en) Bloch line memory device

Legal Events

Date Code Title Description
PUAI Public reference made under article 153(3) epc to a published international application that has entered the european phase

Free format text: ORIGINAL CODE: 0009012

AK Designated contracting states

Kind code of ref document: A2

Designated state(s): DE FR GB

PUAL Search report despatched

Free format text: ORIGINAL CODE: 0009013

AK Designated contracting states

Kind code of ref document: A3

Designated state(s): DE FR GB

17P Request for examination filed

Effective date: 19900321

17Q First examination report despatched

Effective date: 19910320

GRAA (expected) grant

Free format text: ORIGINAL CODE: 0009210

AK Designated contracting states

Kind code of ref document: B1

Designated state(s): DE FR GB

REF Corresponds to:

Ref document number: 3785787

Country of ref document: DE

Date of ref document: 19930617

ET Fr: translation filed
PGFP Annual fee paid to national office [announced via postgrant information from national office to epo]

Ref country code: FR

Payment date: 19931216

Year of fee payment: 8

PGFP Annual fee paid to national office [announced via postgrant information from national office to epo]

Ref country code: GB

Payment date: 19940214

Year of fee payment: 8

PG25 Lapsed in a contracting state [announced via postgrant information from national office to epo]

Ref country code: DE

Effective date: 19941101

PG25 Lapsed in a contracting state [announced via postgrant information from national office to epo]

Ref country code: GB

Effective date: 19950224

GBPC Gb: european patent ceased through non-payment of renewal fee

Effective date: 19950224

PG25 Lapsed in a contracting state [announced via postgrant information from national office to epo]

Ref country code: FR

Effective date: 19951031

REG Reference to a national code

Ref country code: FR

Ref legal event code: ST

PLBE No opposition filed within time limit

Free format text: ORIGINAL CODE: 0009261