EP0175105A1 - Membranpumpe, insbesondere zum Dosieren von Flüssigkeiten - Google Patents

Membranpumpe, insbesondere zum Dosieren von Flüssigkeiten Download PDF

Info

Publication number
EP0175105A1
EP0175105A1 EP85109557A EP85109557A EP0175105A1 EP 0175105 A1 EP0175105 A1 EP 0175105A1 EP 85109557 A EP85109557 A EP 85109557A EP 85109557 A EP85109557 A EP 85109557A EP 0175105 A1 EP0175105 A1 EP 0175105A1
Authority
EP
European Patent Office
Prior art keywords
valve
membrane
diaphragm pump
hand
pump according
Prior art date
Legal status (The legal status is an assumption and is not a legal conclusion. Google has not performed a legal analysis and makes no representation as to the accuracy of the status listed.)
Granted
Application number
EP85109557A
Other languages
English (en)
French (fr)
Other versions
EP0175105B1 (de
Inventor
Klaus Dipl. Ing. Müller
Sieghard Dipl. Ing. Oberacker
Current Assignee (The listed assignees may be inaccurate. Google has not performed a legal analysis and makes no representation or warranty as to the accuracy of the list.)
WOLFGANG EICHLER KG
Original Assignee
Wolfgang Eichler KG
Alldos Eichler GmbH
Priority date (The priority date is an assumption and is not a legal conclusion. Google has not performed a legal analysis and makes no representation as to the accuracy of the date listed.)
Filing date
Publication date
Application filed by Wolfgang Eichler KG, Alldos Eichler GmbH filed Critical Wolfgang Eichler KG
Publication of EP0175105A1 publication Critical patent/EP0175105A1/de
Application granted granted Critical
Publication of EP0175105B1 publication Critical patent/EP0175105B1/de
Expired legal-status Critical Current

Links

Images

Classifications

    • FMECHANICAL ENGINEERING; LIGHTING; HEATING; WEAPONS; BLASTING
    • F04POSITIVE - DISPLACEMENT MACHINES FOR LIQUIDS; PUMPS FOR LIQUIDS OR ELASTIC FLUIDS
    • F04BPOSITIVE-DISPLACEMENT MACHINES FOR LIQUIDS; PUMPS
    • F04B43/00Machines, pumps, or pumping installations having flexible working members
    • F04B43/02Machines, pumps, or pumping installations having flexible working members having plate-like flexible members, e.g. diaphragms
    • F04B43/06Pumps having fluid drive
    • F04B43/067Pumps having fluid drive the fluid being actuated directly by a piston
    • FMECHANICAL ENGINEERING; LIGHTING; HEATING; WEAPONS; BLASTING
    • F04POSITIVE - DISPLACEMENT MACHINES FOR LIQUIDS; PUMPS FOR LIQUIDS OR ELASTIC FLUIDS
    • F04BPOSITIVE-DISPLACEMENT MACHINES FOR LIQUIDS; PUMPS
    • F04B43/00Machines, pumps, or pumping installations having flexible working members
    • F04B43/12Machines, pumps, or pumping installations having flexible working members having peristaltic action
    • F04B43/14Machines, pumps, or pumping installations having flexible working members having peristaltic action having plate-like flexible members

Definitions

  • the invention relates to a diaphragm pump, in particular for dosing liquids with a diaphragm which delimits on the one hand a dosing chamber with suction and pressure valve and on the other hand a hydraulic working chamber with drive piston and pressure relief valve.
  • Diaphragm pumps of this type which are also referred to as piston diaphragm pumps, are known in a variety of embodiments. Their principle of operation is that the elastically deformable membrane executes its stroke under changing hydraulic pressure in the working area, whereby it sucks in the liquid to be conveyed during the suction stroke, in which the metering area is enlarged, via the suction valve and during the pressure stroke, in which it moves into the metering area moved in, pulls over the pressure valve.
  • the pressure change in the work area is generated by a piston which closes the latter and is actuated by an oscillating drive, for example an eccentric.
  • the membrane Since the membrane has a comparatively small wall thickness due to the required elasticity and the necessary working stroke, it is sensitive to excessive stress. Such an overuse can occur, for example, when the suction head is too high or when the suction line is closed or blocked or when there are leaks in the suction or pressure valve. It manifests itself in the fact that the membrane is overstretched and possibly permanently deformed or even tears in extreme cases. This not only makes the diaphragm pump inoperative, it can also mix hydraulic working fluid and dosing medium, which leads to corresponding consequential damage.
  • support devices which limit the membrane stroke.
  • These support devices generally consist of disks shaped like spherical caps, which are provided with a plurality of channels in order - depending on the arrangement of the support devices - to allow the working medium or dosing medium to pass through.
  • the membrane contacts the calotte.
  • damage can still occur if the membrane is deformed into the channels if the pressure difference is too high, so that permanent deformations or even cracks occur.
  • the invention has for its object to provide a diaphragm pump which is equipped with a functionally reliable and effective against any kind of overload membrane protection.
  • this object is achieved in that the diaphragm delimits a chamber connected to the working space via at least one overflow channel, that a plunger with a valve plate for each of the opposite openings of the overflow channel is guided in the area of the overflow channel, and that the valve unit formed from the tappet and the valve disks is operatively connected to the membrane.
  • the functioning of the membrane protection according to the invention is as follows: In normal metering operation, in which the membrane is moved back and forth by the hydraulic working medium, the tappet with the valve unit follows this movement, the working medium coming from the working space through the overflow channels into the chamber and on the back on the membrane.
  • the distance between the valve disks from one another or their distance from the opposite openings of the overflow channels is dimensioned such that the valve unit does not reach the closed position at least during the pressure stroke, since otherwise the delivery rate would be impaired. Only when the diaphragm is deflected in one direction or the other beyond the maximum stroke does one or the other valve plate reach the closed position, depending on the direction of the deflection, so that the chamber and thus the diaphragm are decoupled from the working medium.
  • the membrane is therefore not - as in the generic prior art - held in its limit positions by mechanical support devices, but the invention provides active membrane protection on the hydraulic side, so that any overstressing is excluded. This membrane protection is absolutely reliable in any operating situation.
  • the valve unit of the membrane rests under the action of a weak spring force, which is advantageously dimensioned so small that it makes no active contribution to the deflection of the membrane.
  • the spring force is only intended to overcome the friction forces of the tappet guide and the inertial forces of the system, that is, during the pressure stroke, always ensure that the valve unit is in contact with the diaphragm. On the other hand, it provides no or no significant resistance to the movement of the membrane during the suction stroke.
  • valve unit resting loosely on the membrane
  • these two components can also be connected to one another in a form-fitting manner.
  • an insert is provided between the chamber and the hydraulic working space, in which the plunger is guided on the one hand and the overflow channel is arranged on the other hand.
  • a plurality of overflow channels surrounding the tappet or its guide are preferably provided in the insert, the opposing openings of which on each side of the partition can be closed by one of the valve disks.
  • Each valve plate therefore covers all openings on one side of the overflow channels.
  • a conical seat is incorporated on both sides of the insert, the small diameter of which corresponds approximately to the diameter of the outer enveloping circle of the openings of the overflow channels. This creates a single central sealing surface for all overflow channels.
  • the valve disks also advantageously have a conical surface as a sealing surface.
  • the spring generating the spring force is arranged between the two valve plates and is supported on the one hand within the insert and on the other hand on the valve plate facing the membrane.
  • the spring force can be formed by a helical spring which is supported on the one hand on the support disk and on the other hand on the opposite side of the insert and surrounds the tappet.
  • the inventive design of the membrane protection which prevents overstressing or damage to the membrane even in extreme operating conditions, makes it possible to use a very thin-walled membrane and thus also one made of plastic, in particular PTFE.
  • the membrane pump according to FIG. 1 has a multi-part housing which consists of a tank 1 for the hydraulic working medium, a piston housing 2, a valve head 3 and a metering head 4, which are mounted axially one behind the other.
  • a drive motor 5 sits on the tank 1 a worm gear 6 that drives an eccentric 7.
  • the eccentric 7 acts on a hollow piston 8 which is guided in the housing 2 Kol and is provided in the region of its drive side with a transverse bore 9 for the transfer of the hydraulic medium from the tank 1 into the cavity of the piston.
  • the piston 8 is also overlapped by a control slide 10 which, as a gate control, enables the working stroke to be adjusted.
  • the piston 8 is finally under the action of a spring 11 which keeps it in contact with the eccentric 7.
  • the cavity of the piston 8 and a space 12 in front of it in the piston housing 2 and a chamber 13 arranged in the valve head 3 form the working space of the metering pump, the space 12 being connected to the tank 1 via a pressure relief valve 27.
  • the chamber 13 is delimited on the front by the metering membrane 14, which also forms the rear end of the metering chamber 15.
  • the dosing chamber 15 is connected to the medium to be conveyed via a suction valve and also has a pressure valve 17.
  • the chamber 13 is also equipped with a vent valve 18.
  • a plurality of overflow channels 19 are arranged concentrically about a common axis in a partition wall formed by the valve head 3, as can be seen in particular from FIGS. 2 and 3.
  • a tappet 20 is guided axially within the valve head and is concentrically surrounded by the overflow channels 19 in the region of the guide.
  • the plunger 20 has on both sides of the partition wall formed by the Venti I head 3 each have a valve plate 21, 22, which cooperate with a corresponding conical seat 23 or 28, which are incorporated into the partition wall and expand the overflow channels 19 to the outside.
  • the tappet 20 with the valve disks 21, 22 and the cone 23, 28 form the valve unit 30 serving to protect the membrane 14.
  • the plunger 20 has, at the end opposite the valve plate 21, a shoulder 29 with a support disk 24 which is supported on the other valve plate 22 via a spacer sleeve 25.
  • the support disk 24 lies loosely against the membrane 14 under the action of a spring 26, which is supported on the wall of the chamber 13.
  • FIG. 2 The extreme position of the diaphragm 14 during the pressure stroke can be seen in FIG. 2, in which the valve cone 21 closes the overflow channels 19 with respect to the working space 12 of the piston 8, while FIG. 3 shows the other limit position during the suction stroke, in which the valve cone 21 the overflow channels 19 closes.
  • the membrane In both limit positions, the membrane is hydraulically decoupled from the work area so that it cannot be loaded beyond the limit positions.
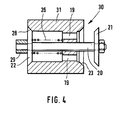
  • FIG. 4 shows a modified embodiment of the valve unit 30, which has particular advantages in terms of production and assembly. It in turn has a tappet 20, on each of which ends a valve plate 21, 22 is attached, which in turn cooperate with conical seats 23, 28.
  • the conical seats 23, 28, like the overflow channels 19, are arranged on an insert 31, which in turn is inserted tightly into the valve head 3 (FIG. 1).
  • the insert 31 has a bore of larger diameter between the overflow channels 19 and the valve plate 22 facing the membrane 14 (FIG. 1), in which the spring 26 is arranged, which is supported on the one hand in the insert 31 and on the other hand on the valve plate 22 and thus the valve unit 30 urges towards the membrane 14.

Landscapes

  • Engineering & Computer Science (AREA)
  • Mechanical Engineering (AREA)
  • General Engineering & Computer Science (AREA)
  • Reciprocating Pumps (AREA)

Abstract

Bei einer Membranpumpe, wie sie insbesondere zum Dosieren von Flüssigkeiten eingesetzt wird und die einerseits einen Dosierraum (15) mit Saug- und Druckventil (17), andererseits einen hydraulischen Arbeitsraum (12) mit Antriebskolben (8) und Überdruckventil (27) aufweist, wobei beide Räume durch die Arbeitsmembran (14) getrennt sind, wird ein wirksamer Membranschutz gegen übergroße Auslenkung und damit gegen Überbeanspruchung dadurch verwirklicht, daß die Membran (14) eine mit dem Arbeitsraum (12) über wenigstens einen Überströmkanal (19) verbundene Kammer (13) abgrenzt und im Bereich des Überströmkanals (19) eine aus einem Stößel (20) mit je einem Ventilteller (21, 22) für die gegenüberliegenden Öffnungen des Überströmkanals (19) bestehende Ventileinheit geführt ist, die in Wirkverbindung mit der Membran (14) steht.

Description

  • Die Erfindung betrifft eine Membranpumpe, insbesondere zum Dosieren von Flüssigkeiten mit einer einerseits einen Dosierraum mit Saug- und Druckventil, andererseits einen hydraulischen Arbeitsraum mit Antriebskolben und Überdruckventil begrenzenden Membran.
  • Membranpumpen dieser Art, die auch als Kolbenmembranpumpen bezeichnet werden,sind ineiner Vielzahl von Ausführungsformen bekannt. Ihr Arbeitsprinzip besteht darin, daß die elastisch verformbare Membran unter wechselndem hydraulischem Druck im Arbeitsraum ihren Hub ausführt, wobei sie die zu fördernde Flüssigkeit beim Saughub, bei dem sieden Dosierraum vergrößert, über das Saugventil ansaugt und beim Druckhub, bei dem sie sich in den Dosierraum hineinbewegt, über das Druckventil abdrückt. Der Druckwechsel im Arbeitsraum wird durch einen diesen abschließenden Kolben erzeugt, der von einem oszillierenden Antrieb, beispielsweise einem Exzenter betätigt wird.
  • Da die Membran aufgrund der von ihr geforderten Elastizität und dem notwendigen Arbeitshub eine vergleichsweise geringe Wandstärke besitzt, ist sie gegen Überbeanspruchung empfindlich. Eine sol che Überbeanspruchung kann beispielsweise bei zu großer Saughöhe oder bei verschlossener bzw. blockierter Saugleitung oder aber auch bei Undichtheiten im Saug- oder Druckventil auftreten. Sie äußert sich darin, daß die Membran überdehnt und gegebenenfalls bleibend verformt wird oder gar im Extremfall reißt. Damit wird die Membranpumpe nicht nur funktionsuntüchtig, sondern es können sich auch hydraulisches Arbeitsmedium und Dosiermedium mischen, was zu entsprechenden Folgeschäden führt.
  • Um eine zu starke Auslenkung der Membran und die dadurch gegebene Gefährdung zu vermeiden, sind gesonderte Stützeinrichtungen vorgesehen., die den Membranhub begrenzen. Diese Stützeinrichtungen bestehen im allgemeinen aus kalottenähnlich geformten Scheiben, die mit mehreren Kanälen versehen sind, um - je nach Anordnung der Stützeinrichtungen - den Durchtritt des Arbeitsmediums bzw. Dosiermediums zu ermöglichen. Die Membran legt sich beim Hubmaximum an die Kalotte an. Auch hierbei kann es aber noch zu Schäden kommen, indem bei zu hoher Druckdifferenz die Membran in die Kanäle hineinverformt wird, so daß sich wiederum bleibende Verformungen oder gar Risse einstellen.
  • Der Erfindung liegt die Aufgabe zugrunde, eine Membranpumpe zu schaffen, die mit einem funktionssicheren und gegen jede Art von Überbelastung wirksamen Membranschutz ausgestattet ist.
  • Ausgehend von einer Membranpumpe des eingangs geschilderten Aufbaus wird diese Aufgabe dadurch gelöst, daß die Membran eine mit dem Arbeitsraum über wenigstens einen Überströmkanal verbundene Kammer abgrenzt, daß im Bereich des Überströmkanals ein Stößel mit je einem Ventilteller für die gegenüberliegenden Öffnungen des Überströmkanals geführt ist, und daß die aus dem Stößel und den Ventiltellern gebildete Ventileinheit in Wirkverbindung mit der Membran steht.
  • Die Funktionsweise des erfindungsgemäßen Membranschutzes ist folgende: Bei normalem Dosierbetrieb, bei dem die Membran durch das hydraulische Arbeitsmedium hin und her bewegt wird, folgt der Stößel mit der Ventileinheit dieser Bewegung, wobei das Arbeitsmedium aus dem Arbeitsraum über die Überströmkanäle in die Kammer gelangt und rückseitig an der Membran ansteht. Der Abstand der Ventilteller voneinander bzw. ihr Abstand zu den gegenüberliegenden Öffnungen der Überströmkanäle ist so bemessen, daß die Ventileinheit zumindest beim Druckhub nicht in die Schließlage gelangt, da anderenfalls die Förderleistung beeinträchtigt würde. Erst dann, wenn die Membran in der einen oder anderen Richtung über den Maximal hub hinaus ausgelenkt wird, gelangt - je nach Richtung der Auslenkung - der eine oder andere Ventilteller in die Schließlage, so daß die Kammer und damit die Membran vom Arbeitsmedium abgekoppelt ist, eine weitere Druckerniedrigung also nicht mehr stattfinden kann. Die Membran ist demzufolge nicht - wie beim gattungsgemäßen Stand der Technik - in ihren Grenzlagen durch mechanische Stützeinrichtungen gehalten, sondern die Erfindung schafft einen aktiven Membranschutz auf der hydraulischen Seite, so daß jegliche Überbeanspruchung ausgeschlossen ist. Dieser Membranschutz ist in jeder Betriebssituation absolut funktionssicher.
  • Vorzugsweise liegt die Ventileinheit der Membran unter Wirkung einer schwachen Federkraft an, die mit Vorteil so gering bemessen ist, daß sie keinen aktiven Beitrag zur Auslenkung der Membran leistet. Die Federkraft soll bei hydraul ischem Gleichgewicht auf beiden Seiten der Membran lediglich die Reibungskräfte der Stößel führung und die Trägheitskräfte des Systems überwinden, also beim Druckhub stets für eine Anlage der Ventileinheit an der Membran sorgen. Andererseits stellt sie beim Saughub der Bewegung der Membran keinen bzw. keinen nennenswerten Widerstand entgegen.
  • Statt der losen Anlage der Ventileinheit an der Membran können diese beiden Bauteile aber auch formschlüssig miteinander verbunden sein.
  • Gemäß einem Ausführungsbeispiel ist zwischen der Kammer und dem hydraulischen Arbeitsraum ein Einsatz vorgesehen, in dem einerseits der Stößel geführt, andererseits der Überströmkanal angeordnet ist. Dabei sind vorzugsweise in dem Einsatz mehrere den Stößel bzw. seine Führung umgebende Überströmkanäle vorgesehen, deren gegenüber legende Öffnungen an beiden Seiten der Trennwand von jeweils einem der Ventilteller verschließbar sind. Jeder Ventilteller überdeckt also sämtliche Öffnungen an der einen Seite der Überströmkanäle.
  • In besonders vorteilhafter Ausführung ist an den beiden Seiten des Einsatzes ein Kegelsitz eingearbeitet, dessen kleiner Durchmesser etwa dem Durchmesser des äußeren Hüllkreises der Öffnungen der Überströmkanäle entspricht. Damit ist eine einzige zentrische Dichtfläche für sämtliche Überströmkanäle geschaffen. Mit Vorteil weisen bei dieser Ausführung auch die Ventilteller als Dichtfläche eine Kegelfläche auf.
  • Gemäß einem Ausführungsbeispiel ist die die Federkraft erzeugende Feder zwischen den beiden Ventiltellern angeordnet und stützt sich einerseits innerhalb des Einsatzes, andererseits an dem der Membran zugekehrten Ventilteller ab.
  • Bei einer anderen Ausführungsform kann die Federkraft von einer sich einerseits an der Stützscheibe, andererseits an der ihr gegenüberliegenden Seite des Einsatzes abstützenden, den Stößel umgebenden Schraubenfeder gebildet sein.
  • Durch die erfindungsgemäße Ausbildung des Membranschutzes, der auch bei extremen Betriebszuständen eine Überbeanspruchung oder Beschädigung der Membran verhindert, ist es möglich, eine sehr dünnwandige Membran und damit auch eine solche aus Kunststoff, insbesondere aus PTFE, zu verwenden. Dadurch lassen sich einerseits auch hoch agressive Medien fördern, was bisher nicht oder nur mit sehr teueren Verbundwerkstoffen mögl ich war, andererseits auch-beliebig hohe Drücke realisieren, die nicht durch die Membranfestigkeit begrenzt sind.
  • Nachstehend ist die Erfindung anhand eines in der Zeichnung dargestellten Ausführungsbei spi el s beschri eben.
  • In der Zeichnung zeigen:
    • Figur 1 einen Schnitt durch eine Ausführungsform einer Membranpumpe ;
    • Figur 2 einen vergrößerten Detailschnitt der Ventileinheit in der einen Grenzlage;
    • Figur 3 die Ventileinheit gemäß Figur 1 in der anderen Grenzlage und
    • Figur 4 einen Schnitt durch eine andere Ausführungsform der Ventileinheit.
  • Die Membranpumpe gemäß Figur 1 weist ein mehrteiliges Gehäuse auf, das aus einem Tank 1 für das hydraulische Arbeitsmedium, einem Kolbengehäuse 2, einem Ventilkopf 3 und einem Dosierkopf 4 besteht, die axial hintereinander montiert sind. Auf dem Tank 1 sitzt ein Antriebsmotor 5 mit einem Schneckengetriebe 6, das einen Exzenter 7 antreibt. Der Exzenter 7 wirkt auf einen Hohlkolben 8, der im Kol bengehäuse 2 geführt und im Bereich seiner Antriebsseite mit einer Querbohrung 9 für den Übertritt des Hydraulikmediums aus dem Tank 1 in den Hohlraum des Kolbens versehen ist. Im Bereich der Antriebsseite ist der Kolben 8 ferner von einem Steuerschieber 10 übergriffen, der als Anschnittsteuerung eine Einstellung des Arbeitshubs ermöglicht. Der Kolben 8 steht schließlich unter Wirkung einer Feder 11, die ihn in Anlage am Exzenter 7 hält. Der Hohlraum des Kolbens 8 sowie ein ihm vorgelagerter Raum 12 im Kolbengehäuse 2 und eine im Ventilkopf 3 angeordnete Kammer 13 bilden den Arbeitsraum der Dosierpumpe, wobei der Raum 12 über ein Überdruckventil 27 mit dem Tank 1 verbunden ist.
  • Die Kammer 13 wird vorderseitig von der Dosiermembran 14 begrenzt, die zugleich den rückseitigen Abschluß des Dosierraums 15 bildet. Der Dosierraum 15 ist über ein Saugventil an das zu fördernde Medium angeschlossen und weist ferner ein Druckventil 17 auf. Schl ießl ich ist die Kammer 13 noch mit einem Entlüftungsventil 18 ausgestattet.
  • Ziwschen dem Raum 12 und der Kammer 13 sind in einer vom Ventilkopf 3 gebildeten Trennwand mehrere Überströmkanäle 19 konzentrisch um eine gemeinsame Achse angeordnet, wie insbesondere aus Figur 2 und 3 ersichtlich. Achsgleich ist innerhalb des Ventilkopfs ein Stößel 20 geführt, der im Bereich der Führung von den Überströmkanälen 19 konzentrisch umgeben ist. Der Stößel 20 weist beiderseits der vom Venti I kopf 3 gebildeten Trennwand je einen Ventilteller 21, 22 auf, die mit einem entsprechenden Kegelsitz 23 bzw. 28, die in die Trennwand eingearbeitet sind und die Überströmkanäle 19 nach außen hin erweitern, zusammenwirken. Der Stößel 20 mit den Ventiltellern 21, 22 und den Kegel sitzen 23, 28 bilden die dem Schutz der Membran 14 dienende Ventileinheit 30.
  • Bei dem gezeigten Ausführungsbeispiel weist der Stößel 20 an dem dem Ventilteller 21 gegenüberliegenden Ende einen Ansatz 29 mit einer Stützscheibe 24 auf, die sich über eine Distanzbüchse 25 an dem anderen Ventilteller 22 abstützt. Die Stützscheibe 24 liegt unter Wirkung einer Feder 26, die sich an der Wandung der Kammer 13 abstützt, der Membran 14 lose an.
  • In Figur 2 ist die Extremlage der Membran 14 beim Druckhub erkennbar, bei der der Ventilkegel 21 die Überströmkanäle 19 gegenüber dem Arbeitsraum 12 des Kolbens 8 verschließt, während in Figur 3 die andere Grenzlage beim Saughub gezeigt ist, bei der der Ventilkegel 21 die Überströmkanäle 19 verschließt. In beiden Grenzlagen ist die Membran also vom Arbeitsraum hydraulisch abgekoppelt, so daß sie über die Grenzlagen hinaus nicht belastet werden kann.
  • Figur 4 zeigt eine abgewandelte Ausführungsform der Ventileinheit 30, die insbesondere fertigungs- und montagetechnische Vorteile hat. Sie weist wiederum einen Stößel 20 auf, an dessen beiden Enden je ein Ventilteller 21, 22 befestigt ist, die wiederum mit Kegelsitzen 23, 28 zusammenwirken. Die Kegelsitze 23, 28 sind wie auch die Überströmkanäle 19 an .einem Einsatz 31 angeordnet, der seinerseits wiederum dicht in den Ventilkopf 3 (Figur 1) eingesetzt ist. Der Einsatz 31 weist zwischen den Überströmkanälen 19 und dem der Membran 14 (Figur 1) zugewandten Ventilteller 22 eine Bohrung größeren Durchmessers auf, in der die Feder 26 angeordnet ist, die sich einerseits im Einsatz 31, andererseits am Ventilteller 22 abstützt und somit die Ventileinheit 30 in Richtung zur Membran 14 drängt.

Claims (11)

1. Membranpumpe, insbesondere zum Dosieren von Flüssigkeiten mit einer einerseits einen Dosierraum mit Saug- und Druckventil, andererseits einen hydraul ischen Arbeitsraum mit Antriebskolben und Überdruckventil begrenzenden Membran,
dadurch gekennzeichnet,
daß die Membran (14) eine mit dem Arbeitsraum (12) über wenigstens einen Überströmkanal (19) verbundene Kammer (13) abgrenzt, daß i m Bereich des Überströmkanals (19) ein Stößel (20) mit je einem Ventilteller (21, 22) für die gegenüberliegenden Öffnungen des Überströmkanals (19) geführt ist und daß die aus dem Stößel (20) und den Ventiltellern (21, 22) bestehende Ventileinheit (30) in Wirkverbindung mit der Membran (14) steht.
2. Membranpumpe nach Anspruch 1, dadurch gekennzeichnet, daß die Federkraft (26) so bemessen ist, daß sie bei hydraulischem Gleichgewicht auf beiden Seiten der Membran (14) lediglich die Reibungskräfte der Stößelführung und die Trägheitskräfte überwindet.
3. Membranpumpe nach Anspruch 1 oder 2, dadurch gekennzeichnet, daß die Federkraft (26) so bemessen ist, daß sie bei hydraulischem Gleichgewicht auf beiden Seiten der Membran (14) lediglich die Reibungskräfte der Stößelführung und die Trägheitskräfte überwindet.
4. Membranpumpe nach einem der Ansprüche 1 bis 3, dadurch gekennzeichnet, daß die Ventileinheit (30) über eine die Kammer (13) durchgreifenden Ansatz (29) der Membran (14) anliegt.
5. Membranpumpe nach einem der Ansprüche 1 bis 4, dadurch gekennzeichnet, daß zwischen der Kammer (13) und dem hydraulischen Arbeitsraum (12) ein Einsatz (31) vorgesehen ist, in dem einerseits der Stößel (20) geführt, andererseits der Überströmkanal (19) angeordnet ist.
6. Membranpumpe nach einem der Ansprüche 1 bis 5, dadurch gekennzeichnet, daß in dem Einsatz (31) mehrere den Stößel (20) bzw. seine Führung umgebende Überströmkanäl e (19) angeordnet sind, deren gegenüberliegende Öffnungen an beiden Seiten der Trennwand von jeweils einem der Ventilteller (21 bzw. 22) verschließbar sind.
7. Membranpumpe nach einem der Ansprüche 1 bis 6, dadurch gekennzeichnet, daß an beiden Seiten des Einsatzes (31) ein Kegelsitz (23, 28) eingearbeitet ist, dessen kleiner Durchmesser etwa dem Durchmesser des äußeren Hüllkreises der Öffnungen der Überströmkanäle (19) entspricht.
8. Membranpumpe nach Anspruch 7, dadurch gekennzeichnet, daß die Ventilteller (21, 22) als Dichtfläche gleichfalls eine Kegelfläche aufweisen.
9. Membranpumpe nach einem der Ansprüche 1 bis 8, dadurch gekennzeichnet, daß die die Federkraft erzeugende Feder (26) zwischen den beiden Ventiltellern (21, 22) angeordnet ist und sich einerseits innerhalb des Einsatzes, andererseits an dem der Membran (14) zugekehrten Ventilteller (22) abstützt.
10. Membranpumpe nach einem der Ansprüche 1 bis 8, dadurch gekennzeichnet, daß die Federkraft von einer sich einerseits an der Stützscheibe (24), andererseits an der ihr gegenüberliegenden Seite der Kammer (13) abstützenden Schraubenfeder (26) gebildet ist.
11. Membranpumpe nach einem der Ansprüche 1 bis 10, dadurch gekennzeichnet, daß die Membran (14) aus Kunststoff besteht.
EP85109557A 1984-08-21 1985-07-30 Membranpumpe, insbesondere zum Dosieren von Flüssigkeiten Expired EP0175105B1 (de)

Applications Claiming Priority (2)

Application Number Priority Date Filing Date Title
DE19843430721 DE3430721A1 (de) 1984-08-21 1984-08-21 Membranpumpe, insbesondere zum dosieren von fluessigkeiten
DE3430721 1984-08-21

Publications (2)

Publication Number Publication Date
EP0175105A1 true EP0175105A1 (de) 1986-03-26
EP0175105B1 EP0175105B1 (de) 1987-10-14

Family

ID=6243546

Family Applications (1)

Application Number Title Priority Date Filing Date
EP85109557A Expired EP0175105B1 (de) 1984-08-21 1985-07-30 Membranpumpe, insbesondere zum Dosieren von Flüssigkeiten

Country Status (4)

Country Link
US (1) US4619589A (de)
EP (1) EP0175105B1 (de)
JP (1) JPS6161990A (de)
DE (2) DE3430721A1 (de)

Cited By (4)

* Cited by examiner, † Cited by third party
Publication number Priority date Publication date Assignee Title
EP0375848A1 (de) * 1988-12-30 1990-07-04 Alltech Dosieranlagen Gmbh Dosierpumpe
EP0547404A1 (de) * 1991-12-17 1993-06-23 LEWA Herbert Ott GmbH + Co. Hydraulisch angetriebene Membranpumpe mit Membranhubbegrenzung
WO2015018570A1 (de) * 2013-08-09 2015-02-12 Aker Wirth Gmbh Verdrängerpumpe
WO2023083419A1 (de) * 2021-11-15 2023-05-19 Feluwa Pumpen Gmbh Membrankolbenpumpe

Families Citing this family (22)

* Cited by examiner, † Cited by third party
Publication number Priority date Publication date Assignee Title
US5163820A (en) * 1987-11-16 1992-11-17 Karldom Corporation Airless sprayer with adjustable pressure unloading valve
JPH03149371A (ja) * 1989-11-02 1991-06-25 Nippon Fuiidaa Kogyo Kk ダイヤフラムポンプ
US5186615A (en) * 1990-06-26 1993-02-16 Karldom Corporation Diaphragm pump
US5165869A (en) * 1991-01-16 1992-11-24 Warren Rupp, Inc. Diaphragm pump
US5249932A (en) * 1991-10-07 1993-10-05 Erik Van Bork Apparatus for controlling diaphragm extension in a diaphragm metering pump
EP0997643B1 (de) * 1998-09-25 2006-07-12 ALLDOS Eichler GmbH Membrandosierpumpe
US6264432B1 (en) 1999-09-01 2001-07-24 Liquid Metronics Incorporated Method and apparatus for controlling a pump
US6350110B1 (en) * 2000-03-31 2002-02-26 B&G International Multiport metering pump
US6689503B2 (en) 2001-02-15 2004-02-10 Asia Pacific Fuel Cell Technologies, Ltd. Fuel cell with uniform compression device
TW488111B (en) 2001-04-16 2002-05-21 Asia Pacific Fuel Cell Tech Anode stream recirculation system for a fuel cell
TW499778B (en) 2001-04-16 2002-08-21 Asia Pacific Fuel Cell Tech Generating system for a fuel cell, and heat waste recirculating and cooling system of the generating system
TW533620B (en) 2001-07-24 2003-05-21 Asia Pacific Fuel Cell Tech Metal hydride hydrogen storage canister design and its manufacture
TW518797B (en) * 2001-08-14 2003-01-21 Asia Pacific Fuel Cell Tech Enhanced heat conductive device for supply device of hydrogen source, and supply device of hydrogen source having the same
CN1407644A (zh) * 2001-08-23 2003-04-02 亚太燃料电池科技股份有限公司 燃料电池的膜片泵及使用此膜片泵的阳极气体循环系统
JP4330323B2 (ja) * 2001-10-24 2009-09-16 株式会社タクミナ 往復動ポンプ
AU2003235093A1 (en) * 2002-10-09 2004-05-04 Tacmina Corporation Reciprocating pump and check valve
FR2895036B1 (fr) * 2005-12-20 2008-02-22 Milton Roy Europ Sa Pompe a membrane a actionnement hydraulique avec dispositif de compensation des fuites
CN101245777B (zh) * 2007-02-13 2010-09-08 米尔顿罗伊欧洲公司 具有泄漏补偿设备的液压致动隔膜泵
DE102008028772A1 (de) * 2008-06-17 2009-12-24 Hansen, Bernd, Dipl.-Ing. Vorrichtung zum Befüllen von Behältnissen
US9719504B2 (en) * 2013-03-15 2017-08-01 Integrated Designs, L.P. Pump having an automated gas removal and fluid recovery system and method
US10024311B2 (en) * 2015-08-06 2018-07-17 Caterpillar Inc. Cryogenic pump for liquefied natural gas
CN109458316A (zh) * 2018-09-29 2019-03-12 陕西科技大学 一种硫酸进料泵

Citations (3)

* Cited by examiner, † Cited by third party
Publication number Priority date Publication date Assignee Title
US2303597A (en) * 1940-05-09 1942-12-01 Infilco Inc Measuring pump
GB887774A (en) * 1959-06-26 1962-01-24 Charles Wilfred Simpson Improvements in and relating to diaphragm pumps
US3392674A (en) * 1966-10-28 1968-07-16 Paul W. Schlosser Pump with piston and diaphragm

Family Cites Families (5)

* Cited by examiner, † Cited by third party
Publication number Priority date Publication date Assignee Title
DE7420951U (de) * 1975-01-16 Lewa H Kg Membranpumpe
US2993446A (en) * 1957-06-01 1961-07-25 Pleuger Diaphragm piston pump
DE7303301U (de) * 1973-01-30 1974-04-04 Feluwa Schlesiger & Co Kg Membran-Kolbenpumpe
US3957399A (en) * 1975-03-20 1976-05-18 Graco Inc. Diaphragm pump
FR2492473B1 (fr) * 1980-10-17 1985-06-28 Milton Roy Dosapro Pompe a membrane a compensation dans la chambre hydraulique de commande

Patent Citations (3)

* Cited by examiner, † Cited by third party
Publication number Priority date Publication date Assignee Title
US2303597A (en) * 1940-05-09 1942-12-01 Infilco Inc Measuring pump
GB887774A (en) * 1959-06-26 1962-01-24 Charles Wilfred Simpson Improvements in and relating to diaphragm pumps
US3392674A (en) * 1966-10-28 1968-07-16 Paul W. Schlosser Pump with piston and diaphragm

Cited By (5)

* Cited by examiner, † Cited by third party
Publication number Priority date Publication date Assignee Title
EP0375848A1 (de) * 1988-12-30 1990-07-04 Alltech Dosieranlagen Gmbh Dosierpumpe
EP0547404A1 (de) * 1991-12-17 1993-06-23 LEWA Herbert Ott GmbH + Co. Hydraulisch angetriebene Membranpumpe mit Membranhubbegrenzung
WO2015018570A1 (de) * 2013-08-09 2015-02-12 Aker Wirth Gmbh Verdrängerpumpe
US10190583B2 (en) 2013-08-09 2019-01-29 Mhwirth Gmbh Positive displacement pump
WO2023083419A1 (de) * 2021-11-15 2023-05-19 Feluwa Pumpen Gmbh Membrankolbenpumpe

Also Published As

Publication number Publication date
EP0175105B1 (de) 1987-10-14
JPS6161990A (ja) 1986-03-29
DE3430721A1 (de) 1986-03-06
US4619589A (en) 1986-10-28
DE3560776D1 (en) 1987-11-19

Similar Documents

Publication Publication Date Title
EP0175105B1 (de) Membranpumpe, insbesondere zum Dosieren von Flüssigkeiten
EP0057288B1 (de) Zweizylinder-Dickstoffpumpe, vorzugsweise Betonpumpe mit einem von einer zylinderseitigen Brillenplatte abwechselnd schwenkenden Schaltorgan
EP0641936B1 (de) Hydraulisch angetriebene Membranpumpe
EP1606541B1 (de) Druckbegrenzungsventil
DE2306480A1 (de) Schaltbares, insbesondere elektromagnetisch schaltbares, hochdruckventil
EP1484528B1 (de) Schwingungsdämpfer für Fahrzeuge
DE102017007999A1 (de) Schaltbares Hydrolager
DE102020134820A1 (de) Ventilanordnung für einen Schwingungsdämpfer
EP0688954A1 (de) Gesteuerte Schnüffelbehinderung für Hochdruck-Membranpumpen
DE4327970C2 (de) Hydraulisch angetriebene Membranpumpe mit mechanischer Membranhubbegrenzung
DE2506928A1 (de) Ueberdruckventil, insbesondere gebirgsschlagventil fuer hydraulische grubenstempel
DE102014006503B4 (de) Membranpumpe
WO2004109124A1 (de) Proportional-druckregelventil
WO2007101696A1 (de) Fluidspeicher
DE19751421A1 (de) Kolbenpumpe
DE3420890C2 (de)
EP0089568B1 (de) Druckmittelbetätigte Drehantriebs-Stellvorrichtung
DE19852409A1 (de) Druckbegrenzungsventil, insbesondere für Fahrzeuge
EP1208321A1 (de) Ventil zum steuern von flüssigkeiten
DE19921951A1 (de) Piezobetätigte Kolbenpumpe
DE8424759U1 (de) Membranpumpe, insbesondere zum Dosieren von Flüssigkeiten
EP0923672B1 (de) Ventil zum steuern von flüssigkeiten
DE102013211196A1 (de) Ventilanordnung zur Steuerung der Fördermenge einer Hochdruckpumpe sowie Hochdruckpumpe
DE3509952C2 (de)
DE102024116262A1 (de) Ventileinheit

Legal Events

Date Code Title Description
PUAI Public reference made under article 153(3) epc to a published international application that has entered the european phase

Free format text: ORIGINAL CODE: 0009012

AK Designated contracting states

Kind code of ref document: A1

Designated state(s): DE FR GB

17P Request for examination filed

Effective date: 19860220

17Q First examination report despatched

Effective date: 19870317

GRAA (expected) grant

Free format text: ORIGINAL CODE: 0009210

RAP1 Party data changed (applicant data changed or rights of an application transferred)

Owner name: WOLFGANG EICHLER KG

AK Designated contracting states

Kind code of ref document: B1

Designated state(s): DE FR GB

REF Corresponds to:

Ref document number: 3560776

Country of ref document: DE

Date of ref document: 19871119

ET Fr: translation filed
GBT Gb: translation of ep patent filed (gb section 77(6)(a)/1977)
PLBE No opposition filed within time limit

Free format text: ORIGINAL CODE: 0009261

STAA Information on the status of an ep patent application or granted ep patent

Free format text: STATUS: NO OPPOSITION FILED WITHIN TIME LIMIT

26N No opposition filed
REG Reference to a national code

Ref country code: GB

Ref legal event code: IF02

REG Reference to a national code

Ref country code: FR

Ref legal event code: TP

REG Reference to a national code

Ref country code: GB

Ref legal event code: 732E

PGFP Annual fee paid to national office [announced via postgrant information from national office to epo]

Ref country code: FR

Payment date: 20040720

Year of fee payment: 20

PGFP Annual fee paid to national office [announced via postgrant information from national office to epo]

Ref country code: GB

Payment date: 20040722

Year of fee payment: 20

PGFP Annual fee paid to national office [announced via postgrant information from national office to epo]

Ref country code: DE

Payment date: 20040723

Year of fee payment: 20

PG25 Lapsed in a contracting state [announced via postgrant information from national office to epo]

Ref country code: GB

Free format text: LAPSE BECAUSE OF EXPIRATION OF PROTECTION

Effective date: 20050729

REG Reference to a national code

Ref country code: GB

Ref legal event code: PE20