EP0154745A2 - Décharge maritime de déchets - Google Patents

Décharge maritime de déchets Download PDF

Info

Publication number
EP0154745A2
EP0154745A2 EP84308337A EP84308337A EP0154745A2 EP 0154745 A2 EP0154745 A2 EP 0154745A2 EP 84308337 A EP84308337 A EP 84308337A EP 84308337 A EP84308337 A EP 84308337A EP 0154745 A2 EP0154745 A2 EP 0154745A2
Authority
EP
European Patent Office
Prior art keywords
units
hole
platform
waste material
drilling
Prior art date
Legal status (The legal status is an assumption and is not a legal conclusion. Google has not performed a legal analysis and makes no representation as to the accuracy of the status listed.)
Withdrawn
Application number
EP84308337A
Other languages
German (de)
English (en)
Other versions
EP0154745A3 (fr
Inventor
Alexander George Copson
Current Assignee (The listed assignees may be inaccurate. Google has not performed a legal analysis and makes no representation or warranty as to the accuracy of the list.)
Copson George Collingwood
Original Assignee
Copson George Collingwood
Priority date (The priority date is an assumption and is not a legal conclusion. Google has not performed a legal analysis and makes no representation as to the accuracy of the date listed.)
Filing date
Publication date
Priority claimed from GB838332176A external-priority patent/GB8332176D0/en
Priority claimed from GB848402954A external-priority patent/GB8402954D0/en
Priority claimed from GB08413562A external-priority patent/GB2141575A/en
Application filed by Copson George Collingwood filed Critical Copson George Collingwood
Publication of EP0154745A2 publication Critical patent/EP0154745A2/fr
Publication of EP0154745A3 publication Critical patent/EP0154745A3/fr
Withdrawn legal-status Critical Current

Links

Images

Classifications

    • GPHYSICS
    • G21NUCLEAR PHYSICS; NUCLEAR ENGINEERING
    • G21FPROTECTION AGAINST X-RADIATION, GAMMA RADIATION, CORPUSCULAR RADIATION OR PARTICLE BOMBARDMENT; TREATING RADIOACTIVELY CONTAMINATED MATERIAL; DECONTAMINATION ARRANGEMENTS THEREFOR
    • G21F9/00Treating radioactively contaminated material; Decontamination arrangements therefor
    • G21F9/28Treating solids
    • G21F9/34Disposal of solid waste
    • G21F9/36Disposal of solid waste by packaging; by baling

Definitions

  • the present invention relates to the offshore disposal of waste materials, especially noxious waste materials such as toxic or nuclear wastes.
  • waste materials especially noxious waste materials such as toxic or nuclear wastes.
  • the dumping of waste into the sea, for example from a ship, is not generally acceptable to the public as a method of waste disposal.
  • the present invention provides a method of disposing of waste materials which comprises
  • the method preferably comprises
  • the present invention also provides apparatus for use in the latter method, comprising
  • a method according to the invention is particularly suitable for offshore waters up to 150 m in depth using a jack-up drilling platform.
  • the disposal bore hole should be at least 1000 m in depth below the seabed (e.g. about 1500 m).
  • the diameter of the bore should be at least 50 cm (e.g. about 60 cm to 1 m) and most preferably the bore should be cased over at least a majority of its length to prevent internal obstruction, or collapse.
  • Geographical areas particularly suitable for application of a method of waste disposal according to the invention are those where no hydrocarbon resources are present at any depth, and most especially those areas having several impermeable subterranean layers without faults.
  • the units of waste material are suitably of comparable diameter to the standard drill sizes used in offshore drilling procedures e.g. they could be cylindrical in shape and from about 25 cm to about 1 m in diameter and about 1m to 5m in lenoth.
  • Individual units may be lowered into a hole at the end of a wire or cable, or may be allowed to slide down a hole under the influence of their own weight and impeded by the hydrodynamic resistance of fluid displaced from the hole.
  • a plurality of units may be lowered into a bore hole together in a string.
  • the units are in the form of canisters or sealed pipe lengths filled with waste material. It is preferred that the waste materials be sealed into suitable canisters or pipe lengths before transport to the disposal site.
  • Storage of the units on the platform may be at deck level or may be below deck. Access to a below deck storage bay may suitably be through the deck floor from above; such a bay may be provided with a sliding cover.
  • units be transported to and/or from the platform in groups (e.g. 4, 6, 8 or 9) in compartmentalised containers each having a protective cell for each unit.
  • groups e.g. 4, 6, 8 or 9
  • the waste material is radioactive it is preferable that any, most preferably each, of the units, containers and storage facilities are shielded to prevent radiation leakage.
  • Each container for a group of units may be of a size suitable for transport by conventional road or rail haulage.
  • Units of waste material may be transferred from storage to a bore hole by any mechanical means e.g. conveyor, crane, robotic arm, etc.
  • radioactive waste is sealed in pipe lengths e.g. steel drill piping, and the thus formed cylinders (2) are loaded into individual protective cells in a shielded container (3) sealed by a removable lid (7).
  • a plurality of such containers (3) are then taken by rail (4) to a convenient port (5) where they are loaded onto a ship (6).
  • the containers (3) are removed from the ship (6), e.g. by use of a crane (11) mounted on the platform deck (12), and placed in a storage bay (13) set into the platform deck.
  • the bay (13) is radiation shielded and has a protective sliding cover (14).
  • the platform carries a drilling derrick (15) extending over the side of the deck. Drilling operations may be carried out whilst containers are being off-loaded from the supply ship.
  • the drilling derrick (15) may be either moveable on tracks or may be constructed so as to allow passage of a gantry crane (20) beneath it in order to allow access to the head of the bore hole (16).
  • a gantry crane runs between the storage bay and the bore hole on tracks or skids (21) laid on the deck.
  • the gantry crane (20) is provided with a shielded receptacle (22) for carrying the cylinders (2).
  • the cover (14) of the storage bay (13) is removed, the receptacle (22) is placed over a cell in a container (3) and a cylinder (2) is drawn up into the receptacle (22).
  • the cover (14) of the storage bay is replaced and the gantry crane (20) is moved to the head of the bore hole (16) where the cylinder (2) is released from the receptacle (22).
  • the procedure is repeated to fill the bore hole with cylinders to a predetermined level.
  • the top of the bore hole is then sealed (30), for example with concrete grouting, to contain the waste materials below the seabed.
  • Emptied containers (31) may be off-loaded from the platform to the supply vessel whilst cylinder disposal is in progress.
  • waste material (40) e.g. radioactive waste
  • the line may, for example, be made of steel or aromatic polyamide resin - e.g. "Kevlar” (Registered Trade Mark).
  • canisters (2) may be lowered into more than one hole simultaneously.
  • Offshore bore-holes may be drilled from bottom supported marine drilling platforms using a drill string formed by interconnection of individual standard length drill sections and having a drilling tool attached at the end; as the drill string is extended section by section the bore is drilled deeper.
  • canisters of waste material may be attached as an extension at the end of a drill string, in place of the drilling tool, for lowering into a pre-drilled bore.
  • a number of canisters may be interconnected to form a single unit of similar dimensions to a standard length drill section and attached to the string or, alternatively, a number of canisters of suitable diameter may be loaded into a tube having similar dimensions to a standard length drill section and attached to the string.
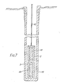
  • noxious waste (40) is presealed in - a protective canister (2).
  • a number of such canisters (2) are loaded into a casing(50) having suitably sized apertures (51).
  • a mechanical catch (52) is provided if required to hold each canister (2) in place.
  • each casing(50) acts as a magazine for loading with a number of canisters (2).
  • the casing (50) is of comparable dimensions to a drill section and may have a suitable means (54) for attachment to a standard drill string or cable. In this case the canisters (2) have no structural load imposed on them as they are lowered down a disposal hole (16).
  • noxious waste (40) is presealed in a protective canister (2) having complementary threaded connector means (58) at each end of the outer shell. A plurality of such canisters (2) may then be interconnected to provide sections of suitable length for attachment to a drill string. Where the waste material (40) is liable to generate heat (e.g. where the material (40) is high grade nuclear waste) spacer-sections (59) may be incorporated to aid heat disipation.
  • the canisters (2), and spacers (59) have a structural load imposed upon them as they are lowered down a disposal hole (16) and so they are reinforced to withstand both this load and the_torquing of the joints.
  • the complete lengths for attachment to the drill string may be prepared either on shore or offshore on the platform as is most convenient.
  • a number of such lengths are lowered into a disposal hole (16) at the end of a drill string and a conventional oil well tool is used to disconnect the sections containing waste canisters (2) and the drill string is withdrawn.
  • a bottom-supported drilling platform is essential for the method of the invention since it provides a safe and stable base for storage and drilling.
  • a jack-up drilling platform is particularly advantageous since it can be refloated and moved to a new offshore site when required.

Landscapes

  • Engineering & Computer Science (AREA)
  • Environmental & Geological Engineering (AREA)
  • Physics & Mathematics (AREA)
  • General Engineering & Computer Science (AREA)
  • High Energy & Nuclear Physics (AREA)
  • Earth Drilling (AREA)
  • Processing Of Solid Wastes (AREA)
EP84308337A 1983-12-01 1984-11-30 Décharge maritime de déchets Withdrawn EP0154745A3 (fr)

Applications Claiming Priority (6)

Application Number Priority Date Filing Date Title
GB8332176 1983-12-01
GB838332176A GB8332176D0 (en) 1983-12-01 1983-12-01 Offshore waste disposal
GB8402954 1984-02-03
GB848402954A GB8402954D0 (en) 1984-02-03 1984-02-03 Offshore waste disposal
GB8413562 1984-05-29
GB08413562A GB2141575A (en) 1983-05-26 1984-05-29 Offshore waste disposal

Publications (2)

Publication Number Publication Date
EP0154745A2 true EP0154745A2 (fr) 1985-09-18
EP0154745A3 EP0154745A3 (fr) 1986-02-26

Family

ID=27262229

Family Applications (1)

Application Number Title Priority Date Filing Date
EP84308337A Withdrawn EP0154745A3 (fr) 1983-12-01 1984-11-30 Décharge maritime de déchets

Country Status (1)

Country Link
EP (1) EP0154745A3 (fr)

Cited By (2)

* Cited by examiner, † Cited by third party
Publication number Priority date Publication date Assignee Title
DE3537816A1 (de) * 1985-10-24 1987-05-07 Strabag Bau Ag Verfahren zum herstellen und betreiben einer muelldeponie
CN104376886A (zh) * 2014-11-10 2015-02-25 中国海洋石油总公司 筒型基础的海上核电平台

Family Cites Families (3)

* Cited by examiner, † Cited by third party
Publication number Priority date Publication date Assignee Title
DE2742340A1 (de) * 1977-09-20 1979-03-22 Erwin Bohinger Verfahren zur entsorgung von gesundheitsgefaehrdenden, insbesondere radioaktiven stoffen
US4400314A (en) * 1980-10-14 1983-08-23 Chevron Research Company Method for the ultimate disposal of high level radioactive waste
GB2141575A (en) * 1983-05-26 1984-12-19 Copson George Collingwood Offshore waste disposal

Cited By (3)

* Cited by examiner, † Cited by third party
Publication number Priority date Publication date Assignee Title
DE3537816A1 (de) * 1985-10-24 1987-05-07 Strabag Bau Ag Verfahren zum herstellen und betreiben einer muelldeponie
CN104376886A (zh) * 2014-11-10 2015-02-25 中国海洋石油总公司 筒型基础的海上核电平台
CN104376886B (zh) * 2014-11-10 2017-01-18 中国海洋石油总公司 筒型基础的海上核电平台

Also Published As

Publication number Publication date
EP0154745A3 (fr) 1986-02-26

Similar Documents

Publication Publication Date Title
US7600570B2 (en) Drilling rig placed on the sea bed and equipped for drilling of oil and gas wells
US5202522A (en) Deep well storage of radioactive material
RU2719516C1 (ru) Опирающаяся на дно платформа и способ создания бурового терминала для бурения на мелководном шельфе
US3528254A (en) Offshore platform structure and construction method
US20120020742A1 (en) Underwater Reinforced Concrete Silo for Oil Drilling and Production Applications
CA1243495A (fr) Systeme d'ancrage a pression equilibree pour plates-formes petrolieres
US4861194A (en) Waste disposal system
JPS62215711A (ja) 海洋構造物及びその据付け法
US4815894A (en) Construction and use of subsea bore holes
WO1981003191A1 (fr) Plate-forme offshore
GB2141575A (en) Offshore waste disposal
US5733066A (en) Apparatus and method for disposal of nuclear and other hazardous wastes
US20130084136A1 (en) Platform for controlled containment of hydrocarbons
US4556343A (en) Offshore oil storage and transfer facility
US9109406B2 (en) Method for removing a hydrocarbon production platform from sea
EP0154745A2 (fr) Décharge maritime de déchets
US2850271A (en) Method of mining sulfur located underneath bodies of water
JP4562927B2 (ja) 作業船における荷重試験方法
CA2058789C (fr) Methode d'installation de tubes conducteurs de puits
CN116905385B (zh) 基于钻孔法的桥墩预埋施工工艺
Garside et al. MARS TLP-lntegration and Installation
US7525112B2 (en) Method and apparatus for permanent and safe disposal of radioactive waste
GB2157061A (en) Radioactive material handling equipment
US20030216606A1 (en) Method and apparatus for permanent and safe disposal of radioactive waste
GB2286284A (en) Radioactive waste disposal

Legal Events

Date Code Title Description
PUAI Public reference made under article 153(3) epc to a published international application that has entered the european phase

Free format text: ORIGINAL CODE: 0009012

AK Designated contracting states

Designated state(s): BE DE FR NL

PUAL Search report despatched

Free format text: ORIGINAL CODE: 0009013

AK Designated contracting states

Designated state(s): BE DE FR NL

STAA Information on the status of an ep patent application or granted ep patent

Free format text: STATUS: THE APPLICATION IS DEEMED TO BE WITHDRAWN

18D Application deemed to be withdrawn

Effective date: 19870129

RIN1 Information on inventor provided before grant (corrected)

Inventor name: COPSON, ALEXANDER GEORGE