EP0106770A1 - Bausteine, besonders für Konstruktions- oder Puzzlespiele und solche Spiele - Google Patents
Bausteine, besonders für Konstruktions- oder Puzzlespiele und solche Spiele Download PDFInfo
- Publication number
- EP0106770A1 EP0106770A1 EP83402039A EP83402039A EP0106770A1 EP 0106770 A1 EP0106770 A1 EP 0106770A1 EP 83402039 A EP83402039 A EP 83402039A EP 83402039 A EP83402039 A EP 83402039A EP 0106770 A1 EP0106770 A1 EP 0106770A1
- Authority
- EP
- European Patent Office
- Prior art keywords
- head
- elements
- element according
- generatrices
- cylindrical
- Prior art date
- Legal status (The legal status is an assumption and is not a legal conclusion. Google has not performed a legal analysis and makes no representation as to the accuracy of the status listed.)
- Granted
Links
- 238000010276 construction Methods 0.000 claims description 19
- 239000000463 material Substances 0.000 claims description 2
- 230000000295 complement effect Effects 0.000 description 2
- 230000000712 assembly Effects 0.000 description 1
- 238000000429 assembly Methods 0.000 description 1
- 230000000694 effects Effects 0.000 description 1
- 230000007704 transition Effects 0.000 description 1
- 239000002023 wood Substances 0.000 description 1
Images
Classifications
-
- A—HUMAN NECESSITIES
- A63—SPORTS; GAMES; AMUSEMENTS
- A63F—CARD, BOARD, OR ROULETTE GAMES; INDOOR GAMES USING SMALL MOVING PLAYING BODIES; VIDEO GAMES; GAMES NOT OTHERWISE PROVIDED FOR
- A63F9/00—Games not otherwise provided for
- A63F9/06—Patience; Other games for self-amusement
- A63F9/10—Two-dimensional jig-saw puzzles
Definitions
- the present invention relates to construction elements, in particular construction games or puzzles, as well as games comprising such elements.
- Games are known in which elements of various shapes can be assembled by interlocking, screwing or other, to form assemblies, for example architectural or mechanical.
- the present invention aims to provide elements for games of the latter type which allow by simple juxtaposition to obtain shapes either flat or in space, having various aspects depending on the way in which these elements are assembled.
- the subject of the invention is a building element, in particular a building game or puzzle, characterized in that it comprises a straight prismatic body with a square base, and at least one head whose envelope is a rectangular parallelepiped having a square base whose side is equal to that of the base of the body, this parallelepiped being disposed at one end of the body so that its base coincides with the face of said end, said head being hollowed out according to at least one curved cylindrical surface whose generatrices are perpendicular to the generators of the prism.
- said cylindrical surface is a cylinder with a circular base. laire.
- the axis of this circular base cylinder may be one of the edges of the head perpendicular to the generatrix of the prism and its radius equal to the side of the base of said head.
- the head then has an envelope cube.
- Said axis of the cylindrical surface can be one of the edges of the cube of its face coinciding with the end face of the prism, in which case the cylindrical surface is a convex surface, but this axis can also be one of the edges of the cube of its face opposite the end face tee of the prism, said cylindrical surface then being a concave surface.
- the end of the body opposite the head is cut along a bevel surface parallel to the generatrices of the cylindrical surface.
- This beveled ep surface can, for example with the prism generators, make an angle substantially equal to 45 °.
- the height of the body is a multiple of the height of the head.
- the present invention also relates to a game, in particular a construction game or a puzzle, comprising a plate of rigid material cut into elements, characterized in that at least some of these elements are elements as described above, whose generatrices of the cylindrical surfaces are perpendicular to said plate.
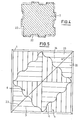
- Figure 1 shows a game according to the invention comprising a frame 1 forming a box, inside which are arranged elements 2, for example of wood; these elements 2 are produced from a board whose shape and dimensions correspond to the interior of the frame 1, this plant being cut along planes perpendicular to its surface along rectilinear lines 3 and curves 4.
- the cutting lines are such that essentially concave elements such as element 5 shown in detail in FIG. 2 are obtained, and convex elements such as element 6 shown in FIG. 3. .
- the elements 5 and 6 both comprise a prismatic body 7 with a square base.
- the height of this body is a multiple (in this case double) on the side of the base.
- a head which can be either a concave head 8 in the case of element 5, i.e. a convex head 9 in the case of element 6.
- the heads 8 and 9 are inscribed in a cube 10 the side of which is equal to the side of the base of the prism 7.
- This cube 10 is arranged at the top of the prism 7 so that one of its faces is in coincidence with the face d end of the prism 7.
- the cube of the element 5 is cut, to form the head 8, according to a cylindrical surface 11 with circular section, having for axis an edge 12 of the face 13 of the cube 10 opposite its face 14 coinciding with the end face from the prism 7.
- the surface 11 of the head 8 of the element 5 is a concave surface.
- the head 9 of the element 6 is cut according to a cylindrical surface 15, also with a circular base, but whose axis 16 is one of the edges of the face 14 of the cube 10 coinciding with the end face of the prism 7
- the surface 15 is therefore a convex surface.
- the base of the prism 7 being square, it is understood that the distance between two straight cutting lines 3 is equal to the thickness of the board in which the elements 2 are made.
- element 17 is an element of the convex type, that is to say of the type of element 6, in which the height of the body is equal at five times the height of the head.
- element 18 is a concave element, that is to say of the type of the element 5, in which the height of the body is equal to six times the height of the head.
- concave 19 and convex 20 elements are special cases which do not have a body or whose body has zero height.
- element 21 is a simple cube.
- FIG. 4 shows that, when the section of the prism 7 is defined as being square, this term includes forms which differ only therefrom slightly by the presence of longitudinal grooves such as 22 which allow, during the juxtaposition of two elements, to obtain a hooking effect.
- FIG. 5 represents another set according to the invention showing another arrangement of the rectilinear cutouts 3 and curves 4, and in which a diagonal cutout 23 is also provided.
- This game then comprises, in addition to elements such as elements 5 and 6 of FIG. 1, other concave 24 and convex 25 elements whose end of the body opposite the head is cut at a bevel at an equal angle, in the present case, at 45 °.
- the game of Figure 5 further comprises elements such as 26 which are simple rectangular parallelepipeds of which one end is cut at a bevel.
- Figure 6 shows that the game elements of Figure 5 can also be arranged in different ways in their frame, thus leading to various presentations.
- FIG. 7 represents another variant of elements and of play according to the invention.
- the envelope of the head is always a rectangular parallelepiped with a square base, but is not then a cube.
- FIG. 8 An ornamental embodiment made essentially of elements such as those shown in Figs. 2 and 3 is shown in FIG. 8.
- elements such as elements 5 and 6, the heads of which have convex or concave cutouts 15 or 11 inscribed in a cube which extends the prismatic body of the element.
- Other elements include heads whose convex or concave cutouts 29 or 30 are inscribed in parallelepipeds which also extend the prismatic body of square section of the element but whose height can be greater than the base.
- a construction in space which, while being able to retain its playing characteristics, can also be considered as a kind of sculpture produced by assembling elements according to the invention according to the imagination of the user.
- the construction and play elements which have just been described comprise heads produced by means of a single cylindrical cut whose generatrices are perpendicular to the generatrices of the prismatic body of the element.
- the element shown in FIG. 9 differs essentially from the preceding elements in that its head 31 comprises a first convex cutout 32 of axis 33 coinciding with an end side of the prismatic body 34 of the element and a concave cylindrical cutout 35 whose generatrices are perpendicular to those of the convex cutout 32 and whose axis 36 is constituted by an edge orthogonal to the edge 33 of the cube in which the head 31 of the element is inscribed.
- the element shown in FIG. 10 also includes a head 37 with two cylindrical cutouts.
- the first cylindrical cutout 38 is a convex cutout with an axis 39 constituted by an edge of the end face of the prismatic body of square section 40 of the element.
- the other cylindrical cutout 41 is also a convex cutout with an axis 42 of the same end face of the body 40, perpendicular to the axis 39 of the cutout 38.
- the head 37 of the element of FIG. 10 is also inscribed in a cube and the radius of the cutouts 38 and 41 is equal to the side of the prismatic body of the element.
- the element shown in FIG. 11 comprises a head 44 also inscribed in a cube but having two concave cylindrical cuts.
- the first cylindrical cut 45 has for axis a side 46 of the end face of the cube in which the head 44 is inscribed while the second concave cut 47 has for axis another side 48 of this same end face of the cube , but perpendicular to the above-mentioned axis 46.
- the construction element thus obtained has a head in the form of a biconcave point, the cutouts of which also have radii equal to the side of the prismatic body 49 of the element.
- all the double-cut heads shown in FIGS. 9 to 11 are compatible with each other and can be arranged with interpenetrations of their respective cut-out ensuring the continuity of the connecting lines between the elements.
- the building elements shown in Figs. 12 and 13 are elements derived respectively from elements of FIGS. 2 and 3.
- the element of FIG. 12 comprises a prismatic body and a head 51 extending this body and having a cutout formed by steps 52 whose projecting edges 53 and re-entrant edges 54 are parallel to the generatrices of a conca cylindrical surface ve fictitious 55 and arranged on either side thereof.
- the construction element shown in FIG. 13 is an element complementary to that of FIG. 12 in that it comprises a head 56 with convex stepped cutting inscribed in a cube and the steps 57 of which have projecting edges 58 and re-entrant edges 59 arranged on either side of a convex cylindrical surface 60 shown in phantom, similar to the convex outer surface 15 of the element in Fig. 3.
- the shape and size of the steps 52 and 57 as well as the general curvature of the cutouts of the heads 51, 56 allow the elements of FIGS. 12 and 13.
- the building elements shown in Figs. 14 to 16 are elements comprising heads with double curvature, with stepped cuts.
- the head of the element shown in FIG. 14 comprises two cutouts in steps, one convex, formed by steps 62, the other concave formed by steps 63, the projecting and re-entering edges of the steps 62 and 63 being arranged on either side of respective surfaces 64 and 65 shown in phantom and formed as described with reference to Fig. 9.
- the element shown in FIG. 15 comprises a head 66 comprising two convex cutouts in steps.
- the first cut is formed by steps 67 whose projecting and re-entrant edges 68 are arranged on either side of a first convex cylindrical surface 70 while the steps of the second cut 71 have projecting and re-entering edges 73 arranged on either side of a second convex cylindrical surface 74.
- the surfaces 70 and 74 are obtained in the manner described with reference to FIG. 10.
- the construction element shown in FIG. 16 comprises a head 75 of biconcave shape in steps.
- the steps 76 of the first cut and those 77 of the second, have their projecting and re-entrant edges arranged in on either side and at equal distance respectively from concave cylindrical surfaces whose plots correspond to those of the surfaces of the biconcave head of the element shown in FIG. 11.
- the invention applies not only to games, but that its elements can also constitute a tool for an artist or an architect with a view to the development of forms in space.
Landscapes
- Engineering & Computer Science (AREA)
- Multimedia (AREA)
- Toys (AREA)
- Floor Finish (AREA)
Priority Applications (1)
| Application Number | Priority Date | Filing Date | Title |
|---|---|---|---|
| AT83402039T ATE44473T1 (de) | 1982-10-20 | 1983-10-20 | Bausteine, besonders fuer konstruktions- oder puzzlespiele und solche spiele. |
Applications Claiming Priority (2)
| Application Number | Priority Date | Filing Date | Title |
|---|---|---|---|
| FR8217562 | 1982-10-20 | ||
| FR8217562A FR2534820A1 (fr) | 1982-10-20 | 1982-10-20 | Elements de jeux, notamment de jeux de construction ou de puzzles et jeux comprenant de tels elements |
Publications (2)
| Publication Number | Publication Date |
|---|---|
| EP0106770A1 true EP0106770A1 (de) | 1984-04-25 |
| EP0106770B1 EP0106770B1 (de) | 1989-07-12 |
Family
ID=9278425
Family Applications (1)
| Application Number | Title | Priority Date | Filing Date |
|---|---|---|---|
| EP83402039A Expired EP0106770B1 (de) | 1982-10-20 | 1983-10-20 | Bausteine, besonders für Konstruktions- oder Puzzlespiele und solche Spiele |
Country Status (5)
| Country | Link |
|---|---|
| EP (1) | EP0106770B1 (de) |
| AT (1) | ATE44473T1 (de) |
| DE (1) | DE3380167D1 (de) |
| FR (1) | FR2534820A1 (de) |
| PT (1) | PT77528B (de) |
Cited By (1)
| Publication number | Priority date | Publication date | Assignee | Title |
|---|---|---|---|---|
| US7602819B2 (en) | 2000-03-03 | 2009-10-13 | Thomson Licensing | Demultiplexing devices and process for at least two transport streams and a corresponding digital stream |
Citations (6)
| Publication number | Priority date | Publication date | Assignee | Title |
|---|---|---|---|---|
| FR1264703A (fr) * | 1960-06-01 | 1961-06-23 | Jeu de patience comportant des cartes | |
| DE1169821B (de) * | 1959-03-14 | 1964-05-06 | Dr Med Ernst Frimberger | Mosaikspiel |
| US3402934A (en) * | 1966-08-18 | 1968-09-24 | Harriet L Foster | Puzzle game |
| FR2076330A5 (de) * | 1970-01-09 | 1971-10-15 | Odier Marc | |
| US4308016A (en) * | 1979-12-31 | 1981-12-29 | White Priscilla A | Educational toy, teaching device and puzzle block combination |
| US4332387A (en) * | 1981-03-16 | 1982-06-01 | Mullen Iii John W | Puzzle comprising blocks with rabbeted ends |
-
1982
- 1982-10-20 FR FR8217562A patent/FR2534820A1/fr active Granted
-
1983
- 1983-10-19 PT PT77528A patent/PT77528B/pt unknown
- 1983-10-20 AT AT83402039T patent/ATE44473T1/de not_active IP Right Cessation
- 1983-10-20 DE DE8383402039T patent/DE3380167D1/de not_active Expired
- 1983-10-20 EP EP83402039A patent/EP0106770B1/de not_active Expired
Patent Citations (6)
| Publication number | Priority date | Publication date | Assignee | Title |
|---|---|---|---|---|
| DE1169821B (de) * | 1959-03-14 | 1964-05-06 | Dr Med Ernst Frimberger | Mosaikspiel |
| FR1264703A (fr) * | 1960-06-01 | 1961-06-23 | Jeu de patience comportant des cartes | |
| US3402934A (en) * | 1966-08-18 | 1968-09-24 | Harriet L Foster | Puzzle game |
| FR2076330A5 (de) * | 1970-01-09 | 1971-10-15 | Odier Marc | |
| US4308016A (en) * | 1979-12-31 | 1981-12-29 | White Priscilla A | Educational toy, teaching device and puzzle block combination |
| US4332387A (en) * | 1981-03-16 | 1982-06-01 | Mullen Iii John W | Puzzle comprising blocks with rabbeted ends |
Cited By (1)
| Publication number | Priority date | Publication date | Assignee | Title |
|---|---|---|---|---|
| US7602819B2 (en) | 2000-03-03 | 2009-10-13 | Thomson Licensing | Demultiplexing devices and process for at least two transport streams and a corresponding digital stream |
Also Published As
| Publication number | Publication date |
|---|---|
| PT77528A (fr) | 1983-11-01 |
| PT77528B (fr) | 1986-02-14 |
| ATE44473T1 (de) | 1989-07-15 |
| FR2534820A1 (fr) | 1984-04-27 |
| EP0106770B1 (de) | 1989-07-12 |
| DE3380167D1 (en) | 1989-08-17 |
| FR2534820B1 (de) | 1985-03-15 |
Similar Documents
| Publication | Publication Date | Title |
|---|---|---|
| USD356081S (en) | Monitor television receiver with disk player | |
| USD409270S (en) | Game blade | |
| EP0293948A1 (de) | Schlüsselkopf und Schlüssel mit einem solchen Kopf | |
| FR2672226A1 (fr) | Tete de club de golf. | |
| CA2003601A1 (fr) | Balle de golf | |
| FR2698009A1 (fr) | Perfectionnement pour face de frappe de tête de club de golf. | |
| EP1374809A1 (de) | Verbesserter Zwischenwirbelkäfig | |
| EP0106770B1 (de) | Bausteine, besonders für Konstruktions- oder Puzzlespiele und solche Spiele | |
| FR2491346A1 (de) | ||
| FR2568669A1 (fr) | Systeme de construction modulaire. | |
| EP0058126A1 (de) | Bauspiel mit miteinander verbindbaren Elementen | |
| USD1081611S1 (en) | Turntable | |
| EP1386684B1 (de) | Bohrer mit Scheindeinsatz | |
| USD430581S (en) | Wood lathe | |
| USD414230S (en) | Game ball | |
| FR2678657A1 (fr) | Perfectionnement pour construction en madriers de bois. | |
| FR2774004A1 (fr) | Jeu de construction a pieces en particulier en bois emboitables | |
| USD272459S (en) | Lawn golf mallet | |
| EP1071976A1 (de) | Modulare brillenfassung | |
| FR2570614A1 (fr) | Element de base pour jeu de construction et jeu de construction comportant un tel element de base | |
| FR2515057A1 (fr) | Jeu du type casse-tete chinois | |
| FR2552673A1 (fr) | Jeu de societe | |
| WO1985002428A1 (fr) | Element de structure a combinaisons multiples notamment pour la realisation de parties de batiments | |
| FR2759920A1 (fr) | Procede de sculpture d'un polyedre regulier et objet ludique de decoration obtenu a partir de ce procede | |
| FR2720302A1 (fr) | Adaptateur et capot pour un véhicule de compactage des ordures ménagères. |
Legal Events
| Date | Code | Title | Description |
|---|---|---|---|
| PUAI | Public reference made under article 153(3) epc to a published international application that has entered the european phase |
Free format text: ORIGINAL CODE: 0009012 |
|
| AK | Designated contracting states |
Designated state(s): AT BE CH DE FR GB IT LI LU NL SE |
|
| 17P | Request for examination filed |
Effective date: 19841010 |
|
| GRAA | (expected) grant |
Free format text: ORIGINAL CODE: 0009210 |
|
| AK | Designated contracting states |
Kind code of ref document: B1 Designated state(s): AT BE CH DE FR GB IT LI LU NL SE |
|
| PG25 | Lapsed in a contracting state [announced via postgrant information from national office to epo] |
Ref country code: SE Free format text: THE PATENT HAS BEEN ANNULLED BY A DECISION OF A NATIONAL AUTHORITY Effective date: 19890712 Ref country code: NL Effective date: 19890712 Ref country code: IT Free format text: LAPSE BECAUSE OF FAILURE TO SUBMIT A TRANSLATION OF THE DESCRIPTION OR TO PAY THE FEE WITHIN THE PRESCRIBED TIME-LIMIT;WARNING: LAPSES OF ITALIAN PATENTS WITH EFFECTIVE DATE BEFORE 2007 MAY HAVE OCCURRED AT ANY TIME BEFORE 2007. THE CORRECT EFFECTIVE DATE MAY BE DIFFERENT FROM THE ONE RECORDED. Effective date: 19890712 Ref country code: GB Effective date: 19890712 Ref country code: AT Effective date: 19890712 |
|
| REF | Corresponds to: |
Ref document number: 44473 Country of ref document: AT Date of ref document: 19890715 Kind code of ref document: T |
|
| REF | Corresponds to: |
Ref document number: 3380167 Country of ref document: DE Date of ref document: 19890817 |
|
| PG25 | Lapsed in a contracting state [announced via postgrant information from national office to epo] |
Ref country code: LU Free format text: LAPSE BECAUSE OF NON-PAYMENT OF DUE FEES Effective date: 19891031 Ref country code: LI Effective date: 19891031 Ref country code: CH Effective date: 19891031 Ref country code: BE Effective date: 19891031 |
|
| GBV | Gb: ep patent (uk) treated as always having been void in accordance with gb section 77(7)/1977 [no translation filed] | ||
| BERE | Be: lapsed |
Owner name: DUCOEURJOLY JEAN-JACQUES Effective date: 19891031 |
|
| PLBE | No opposition filed within time limit |
Free format text: ORIGINAL CODE: 0009261 |
|
| STAA | Information on the status of an ep patent application or granted ep patent |
Free format text: STATUS: NO OPPOSITION FILED WITHIN TIME LIMIT |
|
| PG25 | Lapsed in a contracting state [announced via postgrant information from national office to epo] |
Ref country code: FR Effective date: 19900629 |
|
| REG | Reference to a national code |
Ref country code: CH Ref legal event code: PL Ref country code: CH Ref legal event code: AUV Free format text: LE BREVET CI-DESSUS EST TOMBE EN DECHEANCE FAUTE DE PAIEMENT, DE LA 7E ANNUITE. |
|
| PG25 | Lapsed in a contracting state [announced via postgrant information from national office to epo] |
Ref country code: DE Effective date: 19900703 |
|
| 26N | No opposition filed | ||
| REG | Reference to a national code |
Ref country code: FR Ref legal event code: ST |