EP0091284A2 - Tastatur mit Kontakten und Verfahren zu ihrer Herstellung - Google Patents

Tastatur mit Kontakten und Verfahren zu ihrer Herstellung Download PDF

Info

Publication number
EP0091284A2
EP0091284A2 EP83301831A EP83301831A EP0091284A2 EP 0091284 A2 EP0091284 A2 EP 0091284A2 EP 83301831 A EP83301831 A EP 83301831A EP 83301831 A EP83301831 A EP 83301831A EP 0091284 A2 EP0091284 A2 EP 0091284A2
Authority
EP
European Patent Office
Prior art keywords
actuators
guide
electric circuit
block
sliders
Prior art date
Legal status (The legal status is an assumption and is not a legal conclusion. Google has not performed a legal analysis and makes no representation as to the accuracy of the status listed.)
Granted
Application number
EP83301831A
Other languages
English (en)
French (fr)
Other versions
EP0091284B1 (de
EP0091284A3 (en
Inventor
Mario Maquignaz
Eugenio Bassetti
Orlando Spinoni
Current Assignee (The listed assignees may be inaccurate. Google has not performed a legal analysis and makes no representation or warranty as to the accuracy of the list.)
Olivetti SpA
TIM SpA
Original Assignee
Olivetti SpA
Ing C Olivetti and C SpA
Priority date (The priority date is an assumption and is not a legal conclusion. Google has not performed a legal analysis and makes no representation as to the accuracy of the date listed.)
Filing date
Publication date
Application filed by Olivetti SpA, Ing C Olivetti and C SpA filed Critical Olivetti SpA
Publication of EP0091284A2 publication Critical patent/EP0091284A2/de
Publication of EP0091284A3 publication Critical patent/EP0091284A3/en
Application granted granted Critical
Publication of EP0091284B1 publication Critical patent/EP0091284B1/de
Expired legal-status Critical Current

Links

Images

Classifications

    • HELECTRICITY
    • H01ELECTRIC ELEMENTS
    • H01HELECTRIC SWITCHES; RELAYS; SELECTORS; EMERGENCY PROTECTIVE DEVICES
    • H01H13/00Switches having rectilinearly-movable operating part or parts adapted for pushing or pulling in one direction only, e.g. push-button switch
    • H01H13/70Switches having rectilinearly-movable operating part or parts adapted for pushing or pulling in one direction only, e.g. push-button switch having a plurality of operating members associated with different sets of contacts, e.g. keyboard
    • HELECTRICITY
    • H01ELECTRIC ELEMENTS
    • H01HELECTRIC SWITCHES; RELAYS; SELECTORS; EMERGENCY PROTECTIVE DEVICES
    • H01H2215/00Tactile feedback
    • H01H2215/004Collapsible dome or bubble
    • HELECTRICITY
    • H01ELECTRIC ELEMENTS
    • H01HELECTRIC SWITCHES; RELAYS; SELECTORS; EMERGENCY PROTECTIVE DEVICES
    • H01H2221/00Actuators
    • H01H2221/062Damping vibrations
    • HELECTRICITY
    • H01ELECTRIC ELEMENTS
    • H01HELECTRIC SWITCHES; RELAYS; SELECTORS; EMERGENCY PROTECTIVE DEVICES
    • H01H2229/00Manufacturing
    • H01H2229/018Testing
    • HELECTRICITY
    • H01ELECTRIC ELEMENTS
    • H01HELECTRIC SWITCHES; RELAYS; SELECTORS; EMERGENCY PROTECTIVE DEVICES
    • H01H2229/00Manufacturing
    • H01H2229/034Positioning of layers
    • HELECTRICITY
    • H01ELECTRIC ELEMENTS
    • H01HELECTRIC SWITCHES; RELAYS; SELECTORS; EMERGENCY PROTECTIVE DEVICES
    • H01H2229/00Manufacturing
    • H01H2229/044Injection moulding
    • HELECTRICITY
    • H01ELECTRIC ELEMENTS
    • H01HELECTRIC SWITCHES; RELAYS; SELECTORS; EMERGENCY PROTECTIVE DEVICES
    • H01H2233/00Key modules
    • H01H2233/002Key modules joined to form button rows
    • H01H2233/004One molded part
    • H01H2233/006Separating individual keys after mounting

Definitions

  • the present invention relates to a contact keyboard for a typewriter or other office machine and to a method of manufacturing the keyboard.
  • the keyboard according to the invention is of the type comprising a plurality of keys each having an actuator movable axially in opposition to the action of an elastic element to effect the completion of an electric circuit, and in which each actuator is slidable in a corresponding guide recess.
  • a keyboard is known wherein each actuator is slidable in a small block of plastics material suitably shaped to form a modular element insertable in a corresponding seat in a base structure in accordance with a predetermined arrangement.
  • This keyboard although having some advantages associated with the modularity of the keys, does, however, present the drawback of being rather costly, precisely because prior to the fitting of each modular element in the base structure each module must be pre-assembled separately.
  • the object of the present invention is to provide a contact keyboard which has a limited number of parts to be assembled and which is reliable and inexpensive.
  • the keyboard according to the invention is characterised in that a plurality of guide recesses for the actuators is formed in a single support block.
  • the keyboard according to the invention comprises a plurality of keys 10 each of which has a cap 13 mounted on an actuator 11 which is slidable axially within a cylindrical recess 12 formed in a block 15 of thermoplastic material.
  • all the recesses 12 of the keyboard are formed in the block 15 (Fig. 2) by moulding.
  • the block 15 is mounted on a support plate 16 (Fig. 1) with the interposition of a mat 17 of sound-absorbing material, for example rubber.
  • the.block itself may be constituted by several elements 20 (Fig. 2), in each of which there is formed a plurality of recesses 12 and interconnected by flexible tongues 21 produced in one piece with the elements 20.
  • the actuators 11 are also of thermoplastic material, are formed in a cluster during a single moulding stage and are interconnected by sprues 30.
  • the arrangement of the actuators 11 iin the cluster corresponds to that of the recesses 12 in the block 15.
  • the sprues 30 are suitable for being removed after the cluster of actuators 11 has been inserted in the corresponding recesses 12 in the block 15, as will be described later on.
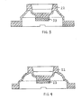
  • An elastic element 22 (Fig. 1) constituted by a dome of silicone rubber in the form of an inverted cup is adapted to cooperate with the bottom part of each actuator 11.
  • the median section of each elastic element 22 is that illustrated in Fig 3, while in a second embodiment each elastic element 22 may have the median section of the type illsutrated in Fig. 4.
  • Each actuator 11 (Fig. 1) is urged by the corresponding elastic elelment 22 towards the sound-absorbing mat 17, against which it is arrested by two stop elements 18 of the actuator.
  • a cylindrical pad 23 (Figs. 1,3,4) of conductive silicone rubber is fixed to the inside of each dome 22 and is adapted to short-circuit two elements 24 and 25 of a printed circuit 26 when the key 10 is depressed, to generate in this way in known manner a corresponding electric signal.
  • the shape of the elastic elements 22 ensures snap contact of the pad 23 on the elements 24 and 25.
  • the elastic elements 22 of the keyboard may be produced individually or formed in one or more rubber mats 28 (Figs. 5 and 6), in an arrangement corresponding to that of the recesses 12, by technologies known per se.
  • the plate 16 is arranged on a work bench 40 (Fig. 7) and the mat 17 of sound-absorbing material is fixed to this plate.
  • the block 15 with the recesses 12 is formed by moulding in a press 41 of known type and is thereafter mounted on the mat 17. In this way, the group A illustrated in Figure 8 is produced.
  • the group A so formed is placed in an apparatus 42 (Fig. 9) on which is also arranged the cluster of sliders 11 which has been formed by moulding in a press 43 of known type.
  • the apparatus 42 inserts the sliders 11 automatically into the corresponding seats 12 in the block 15 and removes the sprues 30 therefrom. In this way, the group B illustrated in Fig. 10 is produced.
  • the group B so formed is placed in a machine 44 also prearranged for testing the keyboard itself.
  • the elastic elements 22 are then arranged to correspond with the actuators 11. This is done with the aid of a tray 45 when each elastic element 22 is independent of the others, or by directly arranging the rubber mats 28 on the block 15.
  • each single key 10 is tested by the machine 44 in any known manner.
  • the keyboard according to the invention is finished and ready to be packed.

Landscapes

  • Push-Button Switches (AREA)
  • Input From Keyboards Or The Like (AREA)
EP83301831A 1982-04-02 1983-03-31 Tastatur mit Kontakten und Verfahren zu ihrer Herstellung Expired EP0091284B1 (de)

Applications Claiming Priority (2)

Application Number Priority Date Filing Date Title
IT67433/82A IT1155482B (it) 1982-04-02 1982-04-02 Tastiera a contatti e metodo per la fabbricazione della stessa
IT6743382 1982-04-02

Publications (3)

Publication Number Publication Date
EP0091284A2 true EP0091284A2 (de) 1983-10-12
EP0091284A3 EP0091284A3 (en) 1984-11-21
EP0091284B1 EP0091284B1 (de) 1987-12-23

Family

ID=11302349

Family Applications (1)

Application Number Title Priority Date Filing Date
EP83301831A Expired EP0091284B1 (de) 1982-04-02 1983-03-31 Tastatur mit Kontakten und Verfahren zu ihrer Herstellung

Country Status (3)

Country Link
EP (1) EP0091284B1 (de)
DE (1) DE3375001D1 (de)
IT (1) IT1155482B (de)

Cited By (8)

* Cited by examiner, † Cited by third party
Publication number Priority date Publication date Assignee Title
US4952761A (en) * 1988-03-23 1990-08-28 Preh-Werke Gmbh & Co. Kg Touch contact switch
EP0435131A1 (de) * 1989-12-28 1991-07-03 Alcatel Business Systems Tastatur mit festgehaltenen Tasten
EP0499449A1 (de) * 1991-02-12 1992-08-19 Minebea Co. Ltd. Tastschalter
US5209588A (en) * 1992-06-09 1993-05-11 Chen Pao Chin Computer key switch
EP0616344A1 (de) * 1993-03-16 1994-09-21 Preh-Werke GmbH & Co. KG Tastatur
US5565865A (en) * 1995-03-24 1996-10-15 So; Henry Key switch unit for computer keyboards
JP2012138254A (ja) * 2010-12-27 2012-07-19 Topre Corp キーボードスイッチ
JP2015038891A (ja) * 2014-11-21 2015-02-26 東プレ株式会社 キーボードスイッチ

Family Cites Families (4)

* Cited by examiner, † Cited by third party
Publication number Priority date Publication date Assignee Title
JPS49111174A (de) * 1973-02-23 1974-10-23
CH607854A5 (en) * 1977-02-04 1978-11-30 Europ Handelsges Anst Keyboard for inputting data into an electric device
DE2849684A1 (de) * 1978-11-16 1980-05-22 Triumph Werke Nuernberg Ag Drucktastenfeld mit beweglichen tasten, z.b. fuer schreib- u.ae. maschinen
US4315114A (en) * 1980-03-24 1982-02-09 International Telephone And Telegraph Corporation Keyboard switch assembly

Cited By (10)

* Cited by examiner, † Cited by third party
Publication number Priority date Publication date Assignee Title
US4952761A (en) * 1988-03-23 1990-08-28 Preh-Werke Gmbh & Co. Kg Touch contact switch
EP0435131A1 (de) * 1989-12-28 1991-07-03 Alcatel Business Systems Tastatur mit festgehaltenen Tasten
FR2656735A1 (fr) * 1989-12-28 1991-07-05 Alcatel Business Systems Clavier a touches captives.
EP0499449A1 (de) * 1991-02-12 1992-08-19 Minebea Co. Ltd. Tastschalter
US5203448A (en) * 1991-02-12 1993-04-20 Minebea Co., Ltd. Push button key switch
US5209588A (en) * 1992-06-09 1993-05-11 Chen Pao Chin Computer key switch
EP0616344A1 (de) * 1993-03-16 1994-09-21 Preh-Werke GmbH & Co. KG Tastatur
US5565865A (en) * 1995-03-24 1996-10-15 So; Henry Key switch unit for computer keyboards
JP2012138254A (ja) * 2010-12-27 2012-07-19 Topre Corp キーボードスイッチ
JP2015038891A (ja) * 2014-11-21 2015-02-26 東プレ株式会社 キーボードスイッチ

Also Published As

Publication number Publication date
DE3375001D1 (en) 1988-02-04
IT8267433A1 (it) 1983-10-02
IT8267433A0 (it) 1982-04-02
EP0091284B1 (de) 1987-12-23
IT1155482B (it) 1987-01-28
EP0091284A3 (en) 1984-11-21

Similar Documents

Publication Publication Date Title
USRE32977E (en) Key-holding structure of keyboard with curved operating surface of keys
US4366355A (en) Keyboard
EP0091284A2 (de) Tastatur mit Kontakten und Verfahren zu ihrer Herstellung
JPH0427567B2 (de)
US4710597A (en) Keyboard for the control box of an electric apparatus
EP0059749B1 (de) Tastatur sowie deren herstellung
EP0791833A2 (de) Gerät zur Konvertierung eines Testmasters für ein Prüfgerät zum elektrischen Prüfen von unbestückten gedruckten Schaltungen
EP0078934A3 (en) Method of producing a contact mat
JPS63304180A (ja) 印刷回路板テスト装置
WO1996026630A1 (en) Board matched nested support fixture
US5234349A (en) Socket for the use of electric part
EP0104956A2 (de) Tastatur
EP0086253B1 (de) Verfahren zur Herstellung eines Kontaktelementes aus Gummi
US20030199204A1 (en) Contact device for hearing aids
US5107083A (en) Resiliently deformable pushbutton switch having a contact member carrying a conductive material
EP0405775B1 (de) Kontakttastatur
EP0869526A3 (de) Baugruppe mit Kontktfedern für Schalter, Verfahren und Einrichtung zur Herstellung, und diese enthaltende Schalter
MX9710077A (es) Un metodo para producir un interruptor electrico.
EP0506042A2 (de) Steckeraufbau und Herstellungsverfahren
US3251018A (en) Resilient contact-pin assembly
JPS6144048B2 (de)
EP0130430B1 (de) Verfahren zur Herstellung von Leiterplatten unter Verwendung von Lagen dünner Folien, die durch Elektroerosion behandelt wurden, und auf diese Weise hergestellte Leiterplatten
CN216027528U (zh) 一种一模两出的盖板加工模具
JPH01276522A (ja) 押しボタンスイッチ及びその製造方法
KR200210426Y1 (ko) 다수의버튼을갖는버튼집합체의성형용금형

Legal Events

Date Code Title Description
PUAI Public reference made under article 153(3) epc to a published international application that has entered the european phase

Free format text: ORIGINAL CODE: 0009012

AK Designated contracting states

Designated state(s): DE FR GB

PUAL Search report despatched

Free format text: ORIGINAL CODE: 0009013

AK Designated contracting states

Designated state(s): DE FR GB

17P Request for examination filed

Effective date: 19850501

17Q First examination report despatched

Effective date: 19860418

GRAA (expected) grant

Free format text: ORIGINAL CODE: 0009210

AK Designated contracting states

Kind code of ref document: B1

Designated state(s): DE FR GB

REF Corresponds to:

Ref document number: 3375001

Country of ref document: DE

Date of ref document: 19880204

ET Fr: translation filed
PLBE No opposition filed within time limit

Free format text: ORIGINAL CODE: 0009261

STAA Information on the status of an ep patent application or granted ep patent

Free format text: STATUS: NO OPPOSITION FILED WITHIN TIME LIMIT

26N No opposition filed
PGFP Annual fee paid to national office [announced via postgrant information from national office to epo]

Ref country code: GB

Payment date: 19910320

Year of fee payment: 9

Ref country code: FR

Payment date: 19910320

Year of fee payment: 9

PGFP Annual fee paid to national office [announced via postgrant information from national office to epo]

Ref country code: DE

Payment date: 19910430

Year of fee payment: 9

PG25 Lapsed in a contracting state [announced via postgrant information from national office to epo]

Ref country code: GB

Effective date: 19920331

GBPC Gb: european patent ceased through non-payment of renewal fee
PG25 Lapsed in a contracting state [announced via postgrant information from national office to epo]

Ref country code: FR

Effective date: 19921130

PG25 Lapsed in a contracting state [announced via postgrant information from national office to epo]

Ref country code: DE

Effective date: 19921201

REG Reference to a national code

Ref country code: FR

Ref legal event code: ST