EP0056744B1 - Wärmetauscher mit Bündeln gerader oder wellenförmiger Rohre, besonders an Rohrunterstützungssystemen, und Verfahren zur Verwirklichung solcher Systeme - Google Patents

Wärmetauscher mit Bündeln gerader oder wellenförmiger Rohre, besonders an Rohrunterstützungssystemen, und Verfahren zur Verwirklichung solcher Systeme Download PDF

Info

Publication number
EP0056744B1
EP0056744B1 EP82400008A EP82400008A EP0056744B1 EP 0056744 B1 EP0056744 B1 EP 0056744B1 EP 82400008 A EP82400008 A EP 82400008A EP 82400008 A EP82400008 A EP 82400008A EP 0056744 B1 EP0056744 B1 EP 0056744B1
Authority
EP
European Patent Office
Prior art keywords
tubes
supporting
radial
central tube
welded
Prior art date
Legal status (The legal status is an assumption and is not a legal conclusion. Google has not performed a legal analysis and makes no representation as to the accuracy of the status listed.)
Expired
Application number
EP82400008A
Other languages
English (en)
French (fr)
Other versions
EP0056744A3 (en
EP0056744A2 (de
Inventor
Georges Trepaud
Current Assignee (The listed assignees may be inaccurate. Google has not performed a legal analysis and makes no representation or warranty as to the accuracy of the list.)
Individual
Original Assignee
Individual
Priority date (The priority date is an assumption and is not a legal conclusion. Google has not performed a legal analysis and makes no representation as to the accuracy of the date listed.)
Filing date
Publication date
Priority claimed from FR8100212A external-priority patent/FR2497566B1/fr
Priority claimed from FR8102993A external-priority patent/FR2500144B1/fr
Application filed by Individual filed Critical Individual
Priority to AT82400008T priority Critical patent/ATE5614T1/de
Publication of EP0056744A2 publication Critical patent/EP0056744A2/de
Publication of EP0056744A3 publication Critical patent/EP0056744A3/fr
Application granted granted Critical
Publication of EP0056744B1 publication Critical patent/EP0056744B1/de
Expired legal-status Critical Current

Links

Images

Classifications

    • FMECHANICAL ENGINEERING; LIGHTING; HEATING; WEAPONS; BLASTING
    • F28HEAT EXCHANGE IN GENERAL
    • F28FDETAILS OF HEAT-EXCHANGE AND HEAT-TRANSFER APPARATUS, OF GENERAL APPLICATION
    • F28F9/00Casings; Header boxes; Auxiliary supports for elements; Auxiliary members within casings
    • F28F9/22Arrangements for directing heat-exchange media into successive compartments, e.g. arrangements of guide plates
    • FMECHANICAL ENGINEERING; LIGHTING; HEATING; WEAPONS; BLASTING
    • F28HEAT EXCHANGE IN GENERAL
    • F28DHEAT-EXCHANGE APPARATUS, NOT PROVIDED FOR IN ANOTHER SUBCLASS, IN WHICH THE HEAT-EXCHANGE MEDIA DO NOT COME INTO DIRECT CONTACT
    • F28D7/00Heat-exchange apparatus having stationary tubular conduit assemblies for both heat-exchange media, the media being in contact with different sides of a conduit wall
    • F28D7/08Heat-exchange apparatus having stationary tubular conduit assemblies for both heat-exchange media, the media being in contact with different sides of a conduit wall the conduits being otherwise bent, e.g. in a serpentine or zig-zag
    • FMECHANICAL ENGINEERING; LIGHTING; HEATING; WEAPONS; BLASTING
    • F28HEAT EXCHANGE IN GENERAL
    • F28FDETAILS OF HEAT-EXCHANGE AND HEAT-TRANSFER APPARATUS, OF GENERAL APPLICATION
    • F28F9/00Casings; Header boxes; Auxiliary supports for elements; Auxiliary members within casings
    • F28F9/007Auxiliary supports for elements
    • F28F9/013Auxiliary supports for elements for tubes or tube-assemblies
    • F28F9/0133Auxiliary supports for elements for tubes or tube-assemblies formed by concentric strips
    • YGENERAL TAGGING OF NEW TECHNOLOGICAL DEVELOPMENTS; GENERAL TAGGING OF CROSS-SECTIONAL TECHNOLOGIES SPANNING OVER SEVERAL SECTIONS OF THE IPC; TECHNICAL SUBJECTS COVERED BY FORMER USPC CROSS-REFERENCE ART COLLECTIONS [XRACs] AND DIGESTS
    • Y10TECHNICAL SUBJECTS COVERED BY FORMER USPC
    • Y10STECHNICAL SUBJECTS COVERED BY FORMER USPC CROSS-REFERENCE ART COLLECTIONS [XRACs] AND DIGESTS
    • Y10S165/00Heat exchange
    • Y10S165/355Heat exchange having separate flow passage for two distinct fluids
    • Y10S165/40Shell enclosed conduit assembly
    • Y10S165/401Shell enclosed conduit assembly including tube support or shell-side flow director
    • Y10S165/416Extending transverse of shell, e.g. fin, baffle
    • Y10S165/417Extending transverse of shell, e.g. fin, baffle including spacer or support for transverse tube support or shell-side flow director
    • Y10S165/419Spacer or support connected to shell

Definitions

  • the present invention relates to a heat exchanger, and it relates to improvements in heat exchangers, in particular applicable to a steam generator, with straight tubes, preferably corrugated tubes, arranged in vertical sheets, parallel and maintained at certain levels.
  • axial by concentric support systems, each of which is constituted by a circular strip with alternating trapezoidal cells, welded to a support strip and closed, after fitting the tubes, by a closure strip to which the support strip is welded of the following support system in the radial direction of the grille.
  • the tubes are arranged so that the planes containing their undulations are substantially tangent to the circles of the associated tubular bundles provided between the shell and a central tube of the heat exchanger.
  • the corrugated tubes contract or expand, more particularly at the level of the corrugations whose arrows vary, which results in a tangential force which is exerted on the various support systems in the cells of which the corrugated parts of the tubes are trapped. And, in the same sector of concentric support systems located at the same level, the peripheral displacement of the different portions of the support systems of this sector increases from the center towards the grille.
  • At least some of the support systems, located at the same level, are independent of neighboring support systems and form groups of support systems, _and ue _bras radial are provided for the apptn said independent support systems, in the space between the grille and the central tube.
  • all the mobile support systems of the same level are independent of each other, and radial arms are provided on both sides. on the other of all support systems of the same level.
  • each radial arm is constituted by two flat bars welded on edge, with a certain spacing between them.
  • the first can be welded to the grille and the second to said central tube, which improves the retention of support systems.
  • the combs arranged at a given level are angularly offset relative to the combs arranged at the next level and at the previous level, the angular offset being such that the projection on a horizontal plane of two combs located at two successive levels is a ring s' extending over 360 °.
  • the comb of each level extends in an arc of 300 °, but it can also extend over 180 °, or less. It is understood that combs extending over such arcs are formed by pieces of coextensive combs and welded together.
  • a heat exchanger and more particularly a steam generator, is a large device, and for convenience, the radiator grille is placed horizontally on electric turners to allow the placement of the bundles and support by sectors of 60 ° or possibly 120 °.
  • the invention proposes a method which consists in that the radial arms welded to the inner face of the grille or to the ring which is adjacent to it, are supported using of stiffening flat bars welded at their ends to the bottom plates in which the ends of the tubes are held and provided with openings for the passage of the free ends of the radial arms; after installation of the tube bundle and the support systems, said stiffening flat bars are dismantled and the central tube is put in place and is welded to said radial arms by openings which it comprises, said central tube possibly being able to be produced in the calender, by assembling and welding individual wall elements.
  • FIG. 1 there is shown schematically the general appearance of a corrugated tube, suitable for implementing the invention.
  • This tube is mounted by its two straight ends 1 and 2 in the plates 3 and 4 usually provided at the base of the upper and lower domes that comprise a steam generator or more generally a heat exchanger. Between these straight ends 1 and 2, the tube has undulations of which only two have been shown at 5 and 6. These undulations 5 and 6 are situated on the same side of a straight portion 7 which connects two successive undulations and which is aligned with the ends 1 and 2, and they are connected to it by curved portions 8 and 9, while they are connected respectively to the straight ends 1 and 2 by the curved portions 9 and 10.
  • the corrugated tubes are arranged so that the plane containing the axis of the corrugations and that of the straight portions lies substantially in the plane tangential to the circle of the circumferential alignment of the tubes of the relevant circular row of the bundle.
  • the reference 5 designates the corresponding corrugation of FIG. 1, and there is indicated the arrow f of the ripple at rest.
  • the arrow f increases and takes the value f ', and it goes from 10 to 10'.
  • the concentric support systems form between the calender and the central tube a whole in one piece and the portions of the concentric support systems and subtending a same angle in the center, undergo, for the same temperature, peripheral dilations which grow from the center to the grille.
  • the invention proposes the arrangement of FIG. 3.
  • a ring 19 is placed near the inner face 18 of the calender 11 in a vertical position.
  • annular support band 20 Against the inner face of the ring is placed an annular support band 20 and to this is welded a honeycomb band 21 as described in FR-A-2 420 735, and in the cells of which the tubes are placed such as that designated by 5, and held in place by a closure strip 22 welded to the cellular strip 21.
  • Concentric support systems have thus been produced, independent of each other, so that the circumferential expansion of one of the systems is independent of the neighboring system or systems.
  • each radial arm 14 and 14 ′ will be constituted by two flat bars such as those designated by 14 and 14 ′ and which will be arranged on either side of the radial row of tubes 5 ,, 5 '... 5n.
  • Fig. 3A shows in perspective two pieces of two successive support systems between the radial arms and arranged at a movable level.
  • the external support system consists of the support strip 20 to which is welded, by welding points such as that indicated by S, the cellular strip 21 against which the closure strip 22 is freely applied.
  • the internal support system is constituted in the same way by the support strip 20 ', by the honeycomb strip 21' and by the closure strip 22 ' , with the same weld point S, the assembly of the two support systems being disposed freely between the radial arms 14 and 14 '. And, according to the invention, no welding is provided between the two support systems. If desired, a welding point can be provided between 21 and 22 and between 21 'and 22'.
  • Fig. 3B shows an arrangement identical to that of FIG. 3A, but for a "fixed level", with this double difference that only the radial arm 14 and a weld S "are provided there between the arm 14 and the closure strip 22 ', it being understood that such weld S "may be provided between the arm 14 and the closure strip of each support system such as that designated by 22,22 '.
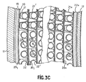
  • the combs 29, 29 '... 29n are associated respectively with the rows of the tubes 5, 5 ' ... 5n and are laid flat on the alveolar strips 21, 21 '... 21 n and held in place place by welding to the support strips 20, 20 ' ... 20n in a position such that the teeth of each comb 29, 29' ... 29n pass between the tubes held by the respective cellular strips 21, 2T ... 21 not.
  • Each of the combs 29, 29 ' ... 29n is in fact constituted by partial and coextensive combs, welded together by weld lines such as those indicated in fig. 3C par 29 1 , 29 2 ... 29n to extend over an arc whose value depends on the trajectory that one wishes to print on said fluid, and all of these combs constitute deflectors whose arrangement of a level of support systems to another will be explained using fig. 3D.
  • combs 29a, 29a ′ , 29a ’ are provided at the various mobile and fixed levels, represented schematically in the form of rings extending at an angle a, each of these rings forming deflectors by means of combs as shown in Fig. 3C
  • the angle a is equal to 300 ° and the path impressed on the fluid from one level to another is tilted as much as possible on the axis of the device so as to give a maximum heat transfer coefficient at the level of the tubes not shown in this figure.
  • the angle a can also be equal to 240 °, but in all cases, the arrangement of the rings or deflectors is symmetrical between two successive stages, and in the case of this arrangement, the fluid coming from a lower level in direction D is distributed at the next level in directions D and D z .
  • the arrangement of the radial arms 14 and 14 ' of FIG. 3, on either side of all of the support systems provided at a given level so that a support system is independent of neighboring support systems, is particularly advantageous for mounting the tubular bundles and the support in the radiator grille placed horizontally, in particular on electric tackers as shown in figs. 4 and 5 in which only two tackers 23 and 24 have been shown tees, the presence of these turners allowing the mounting of the tube bundle in sectors of 60 °, for example delimited by the pairs of radial arms 14-14,14 ' -14' ... 14n-14n.
  • the inner ends 15, 15 ′ of the radial arms such as 14, 14 ′ are mounted in openings made in temporary flat irons 25, 26 fixed to the plates 3 and 4 and removed for the placement of the inner cylinder 17 (fig. 3).
  • the flat bars 25, 26 are removed and the central tube 27 is put in place as shown in FIG. 6.
  • Each deflector 29, 29, ... 29 n can in this case extend over an arc of 306 ° and form a ring whose radial thickness is less than the radial distance between the grille and the central tube, with the particularity that successive rings are arranged alternately on the side of the radiator grille and on the side of the central tube to impart an undulating trajectory to the ascending fluid. It will be noted that the radial thicknesses of the successive rings are different from each other, while the radial thicknesses of the rings which have the same arrangement are equal to each other.
  • Fig. 7 shows the sketch used to determine this distribution in the case where we adopt the assembly by secterus of 60 °.

Landscapes

  • Engineering & Computer Science (AREA)
  • Physics & Mathematics (AREA)
  • Thermal Sciences (AREA)
  • Mechanical Engineering (AREA)
  • General Engineering & Computer Science (AREA)
  • Heat-Exchange Devices With Radiators And Conduit Assemblies (AREA)

Claims (10)

1. Verbesserung an Wärmetauschern, insbesondere zur Anwendung in Dampfkesseln mit geraden, vorzugsweise wellenförmig gebogenen Röhren, die vertikal und in parallelen Bündeln angeordnet und in gewissen Höhenabständen durch konzentrische Halteanordnungen gehalten sind, wobei jede Halteanordnung gebildet ist durch ein mit einem Trägerband verschweisstes Mäanderband mit trapezförmigen Mäandern zur Aufnahme der Röhren, die dort durch ein Verschlussband gehalten sind, das mit dem Trägerband der in radialer Richtung des Kesselgehäuses gesehen benachbarten Halteanordnung verschweisst ist, dadurch gekennzeichnt, dass mindestens einzelne Halteanordnungen (20, 21 ... 20n, 21n) eines Höhenniveaus einer Halteanordnungsgruppe frei zu in radialer Richtung benachbarten Halteanordungen geführt sind und dass radiale Trägerarme (14,141, 14n) vorgesehen sind als Auflage der frei geführten Halteanordnungen im Bereich zwischen dem Kesselgehäuse und dem Innenrohr.
2. Verbesserung nach Anspruch 1, dadurch gekennzeichnet, dass alle Halteanordnungen eines Niveaus gegeneinander frei geführt und dass die radialen Trägerarme (14, 14', 14n) unterhalb und oberhalb von den Halteanordnungen desselben Niveaus angeordnet sind.
3. Verbesserung gemäss einem der Ansprüche 1 oder 2, dadurch gekennzeichnet, dass die radialen Trägerarme (14, 14', 14n) sich radial zwischen dem Kesselgehäuse (11) des Wärmetauschers und einem Zentralrohr (17), zwischen zwei radialen Reihen von Röhren erstrecken.
4. Verbesserung nach Anspruch 3, dadurch gekennzeichnet, dass jeder radiale Trägerarm gebildet ist aus zwei Flacheisen (14, 14'), die mit einem gewissen Abstand zueinander an ihren Schmalseiten angeschweisst sind.
5. Verbesserung nach einem der Ansprüche 2 bis 4, dadurch gekennzeichnet, dass zumindest in einzelnen Höhenniveaus zwei konzentrische Ringe vorgesehen sind, von denen der eine (19) an der Innenseite des Kesselgehäuses und der andere (22n) an der Aussenseite des Innenrohres (17) angebracht sind.
6. Verbesserung nach einem der Ansprüche 1 bis 5, dadurch gekennzeichnet, dass jede Halteanordnung einen Führungsrechen (29) aufweist, der in Form einer Platte auf das Mäanderband aufgesetzt und mit dem Trägerband (20) verschweisst ist derart, dass die einzelnen Zähne zwischen die Röhren (5 ... 5n) greifen und im Maximum die Durchgänge zwischen den Ausnehmungen und Röhren verschliessen, wodurch eine Umlenkeinheit gebildet wird.
7. Verbesserung nach einem der Ansprüche 1 bis 6, dadurch gekennzeichnet, dass auf einem bestimmten Niveau die Rechen (29) einen Kreisbogen von 300° abdecken und dass die Rechen im jeweils benachbarten Niveau im Winkel dazu versetzt sind, um dem an der Aussenseite der Röhren strömenden Medium jeweils eine Strömung in einer Richtung aufzudrücken, die im wesentlichen senkrecht zu der vorherigen verläuft.
8. Verbesserung nach einem der Ansprüche 1 bis 6, dadurch gekennzeichnet, dass die Ablenkungen durch Ringe gebildet sind, die sich über 360° erstrecken und eine radiale Breite aufweisen, die kleiner ist als der radiale Abstand zwischen dem Kesselgehäuse und dem Innenrohr und dass aufeinanderfolgende Ringe abwechselnd an der Innenseite des Gehäuses an der Aussenwand des zentralen Innenrohres befestigt sind.
9. Verfahren zur Herstellung eines für einen Dampfkessel bestimmten Wärmetauschers mit Verbesserungen nach einem der Ansprüche 1 bis 7, wobei das Kesselgehäuse in horizontaler Lage auf einer elektrisch angetriebenen Drehvorrichtung (23, 24) abgelegt ist, dadurch gekennzeichent, dass die radialen Trägerarme (14 ... 14n), die im Inneren des Kesselgehäuses (18) angeschweisst sind, mit Hilfe von Versteifungsplatten (25, 26) gehalten sind, die mit ihren Rändern mit den die Enden der Röhren aufnehmenden Abschlussplatten (3, 4) verschweisst und die mit Öffnungen zum Durchgang der freien Enden der radialen Trägerarme (14... 14) versehen sind, und dass nach Einbau der Röhrenbündel und der Halteanordnungen gegebenenfalls zusammen mit den Halterechen, die Halteplatten entfernt werden und an deren Stelle das zentrale Rohr (27) angebracht wird, das Öffnungen aufweist für den Durchgang der Haltearme (14 ... 14n), wobei das zentrale Rohr ggf. durch Verbinden und Verschweissen von einzelnen Wandelementen realisiert wird.
10. Verfahren zur Herstellung eines Wärmetauschers für einen Dampfkessel unter Verwendung der Verbesserungen gem. einem der Ansprüche 1 bis 7, dadurch gekennzeichnet, dass der Aufbau der Halteanordnungen und der Röhrenbündel von dem Zentralrohr (27) ausgehend nach aussen, durchgeführt wird, wobei das Kesselgehäuse ggf. aus Abschnitten aufeinanderfolgend auf diese geschweisst wird.
EP82400008A 1981-01-08 1982-01-05 Wärmetauscher mit Bündeln gerader oder wellenförmiger Rohre, besonders an Rohrunterstützungssystemen, und Verfahren zur Verwirklichung solcher Systeme Expired EP0056744B1 (de)

Priority Applications (1)

Application Number Priority Date Filing Date Title
AT82400008T ATE5614T1 (de) 1981-01-08 1982-01-05 Waermetauscher mit buendeln gerader oder wellenfoermiger rohre, besonders an rohrunterstuetzungssystemen, und verfahren zur verwirklichung solcher systeme.

Applications Claiming Priority (4)

Application Number Priority Date Filing Date Title
FR8100212A FR2497566B1 (fr) 1981-01-08 1981-01-08 Perfectionnement aux echangeurs de chaleur
FR8100212 1981-01-08
FR8102993 1981-02-16
FR8102993A FR2500144B1 (fr) 1981-02-16 1981-02-16 Perfectionnement aux echangeurs de chaleur a faisceaux de tubes droits ou ondules, notamment aux systemes de supportage des tubes et procede de realisation de ces systemes de supportage

Publications (3)

Publication Number Publication Date
EP0056744A2 EP0056744A2 (de) 1982-07-28
EP0056744A3 EP0056744A3 (en) 1982-08-04
EP0056744B1 true EP0056744B1 (de) 1983-12-14

Family

ID=26222174

Family Applications (1)

Application Number Title Priority Date Filing Date
EP82400008A Expired EP0056744B1 (de) 1981-01-08 1982-01-05 Wärmetauscher mit Bündeln gerader oder wellenförmiger Rohre, besonders an Rohrunterstützungssystemen, und Verfahren zur Verwirklichung solcher Systeme

Country Status (5)

Country Link
US (1) US4573528A (de)
EP (1) EP0056744B1 (de)
BR (1) BR8200057A (de)
CA (1) CA1208995A (de)
DE (1) DE3260017D1 (de)

Families Citing this family (5)

* Cited by examiner, † Cited by third party
Publication number Priority date Publication date Assignee Title
DE3904140C1 (de) * 1989-02-11 1990-04-05 Mtu Muenchen Gmbh
US5311271A (en) * 1992-01-21 1994-05-10 Dme/Golf, Inc. Golf course range finder
US6702190B1 (en) 2001-07-02 2004-03-09 Arvin Technologies, Inc. Heat transfer system for a vehicle
US7152665B2 (en) * 2003-05-08 2006-12-26 Kabushiki Kaisha Toyota Jidoshokki Pressure tank
JPWO2014174692A1 (ja) * 2013-04-25 2017-02-23 三菱重工業株式会社 伝熱管の振動抑制部材及びその製造方法、伝熱管の振動抑制装置及び方法、蒸気発生器

Family Cites Families (29)

* Cited by examiner, † Cited by third party
Publication number Priority date Publication date Assignee Title
FR65106E (fr) * 1953-12-31 1956-01-26 Chausson Usines Sa échangeur thermique en particulier pour aéronefs et applications analogues
US2942855A (en) * 1955-08-17 1960-06-28 Rekuperator K G Dr Ing Schack Recuperator
US2980404A (en) * 1957-11-07 1961-04-18 Union Carbide Corp Heat exchange device
US2978226A (en) * 1958-12-18 1961-04-04 Gen Electric Tube type heat exchanger
US3134432A (en) * 1962-06-20 1964-05-26 United Aircraft Corp Heat exchanger
DE1303351B (de) * 1963-04-01 Hitachi Ltd
FR1364849A (fr) * 1963-06-07 1964-06-26 Motala Verkstad Ab Dispositif d'étayage pour tubes, tiges ou autres dans des générateurs de vapeur, échangeurs thermiques tubulaires ou autres
US3336974A (en) * 1965-05-05 1967-08-22 United Aircraft Corp Serpentine tube boiler
FR1491534A (fr) * 1966-07-01 1967-08-11 Ct D Etudes Pour L Ind Pharma Réfrigérant perfectionné
US3420297A (en) * 1967-04-25 1969-01-07 Combustion Eng Heat exchanger tube support and spacing structure
GB1280662A (en) * 1969-01-28 1972-07-05 Atomic Energy Authority Uk Improvements in or relating to tubular heat exchangers
FR2077865A1 (en) * 1970-02-19 1971-11-05 Trepaud Georges Cylindrical heat exchanger - with twin helical passages surrounding central tube bundle
GB1306864A (en) * 1970-08-25 1973-02-14 Head Wrightson & Co Ltd Tubular heat exchangers
US3683866A (en) * 1970-11-20 1972-08-15 Combustion Eng Superheating steam generator
DE2100664A1 (de) * 1971-01-08 1972-07-20 The Batteile Development Corp., Columbus, Ohio (V.StA.) Verdampfer für Kälteanlagen
US3989105A (en) * 1972-02-22 1976-11-02 Georges Trepaud Heat exchanger
FR2172799A1 (en) * 1972-02-22 1973-10-05 Trepaud Georges Nuclear reactor heat exchanger - with central shaft giving access for tube installation and repair
US3782455A (en) * 1972-05-01 1974-01-01 Atomic Energy Commission Heat exchanger tube mounts
FR2266866A2 (en) * 1974-04-03 1975-10-31 Trepaud Georges Heat exchanger with tube bundle - having tubes each shaped in wave-form and having supports preventing axial rotation
FR2293684A2 (fr) * 1974-12-05 1976-07-02 Trepaud Georges Echangeur de chaleur a faisceau tubulaire
DE2613745A1 (de) * 1976-03-31 1977-10-06 Linde Ag Waermetauscher
FR2355191A1 (fr) * 1976-06-16 1978-01-13 Creusot Loire Dispositif de maintien d'une nappe de tubes a l'interieur d'une enceinte
US4154295A (en) * 1977-02-02 1979-05-15 General Atomic Company Heat exchanger tube support assembly
FR2420735A2 (fr) * 1978-03-24 1979-10-19 Trepaud Georges Echangeur de chaleur a faisceau tubulaire
US4210202A (en) * 1978-03-30 1980-07-01 Ecolaire Incorporated Support for heat exchange tubes
US4253516A (en) * 1978-06-22 1981-03-03 Westinghouse Electric Corp. Modular heat exchanger
FR2459441A1 (fr) * 1979-06-19 1981-01-09 Stein Industrie Grille support pour faisceau de tubes d'echange de chaleur
FR2461221A1 (fr) * 1979-07-11 1981-01-30 Stein Industrie Dispositif de support des tubes d'un faisceau tubulaire
US4325171A (en) * 1979-10-15 1982-04-20 Econo-Therm Energy Systems Corporation Means and method for sealing heat exchanger walls

Also Published As

Publication number Publication date
CA1208995A (en) 1986-08-05
EP0056744A3 (en) 1982-08-04
US4573528A (en) 1986-03-04
BR8200057A (pt) 1982-10-26
EP0056744A2 (de) 1982-07-28
DE3260017D1 (en) 1984-01-19

Similar Documents

Publication Publication Date Title
EP0186592B1 (de) Plattenwärmetauscher
EP0596786B1 (de) Mit Fahnen versehenes Abstandshaltergitter für Kernbrennstoffbündel
FR2824895A1 (fr) Ailette ondulee a persiennes pour echangeur de chaleur a plaques, et echangeur a plaques muni de telles ailettes
FR2465297A1 (fr) Grille d'espacement pour elements combustibles de reacteurs nucleaires
FR2707382A1 (fr) Echangeur de chaleur comportant un faisceau de tubes cintrés en U et des barres antivibratoires entre les parties cintrées des tubes.
EP0056744B1 (de) Wärmetauscher mit Bündeln gerader oder wellenförmiger Rohre, besonders an Rohrunterstützungssystemen, und Verfahren zur Verwirklichung solcher Systeme
EP0078728B1 (de) Schwingungsdämpfende Halterung für ein Rohrbündel, insbesondere für einen Dampferzeuger, und Verfahren zum Montieren dieser Halterung
FR2504666A1 (fr) Tour de refroidissement notamment pour centrale electrique
EP0544579B1 (de) Wärmetauscher mit U-Rohren und Anti-Auftriebshalterung
EP1295077B1 (de) Spiralwärmetauscher
FR2500144A1 (fr) Perfectionnement aux echangeurs de chaleur a faisceaux de tubes droits ou ondules, notamment aux systemes de supportage des tubes et procede de realisation de ces systemes de supportage
EP0553340B1 (de) Plattenwärmetauscher
CH615525A5 (de)
WO2018002544A2 (fr) Échangeur de chaleur mécanique et procédé de fabrication associe
FR2538889A1 (fr) Echangeur de chaleur a chambres plates ainsi que procede et machine pour la fabrication de cet echangeur
FR1465845A (fr) Paroi tubulaire étanche aux gaz pour chauffage de fluides et procédé de fabrication
EP0099835A2 (de) Wärmetauscher mit Modulstruktur
BE886695A (fr) Perfectionnements aux capuchons de cheminees
FR3086742A1 (fr) Plaque pour un echangeur de chaleur a plaques
CH460831A (fr) Echangeur de chaleur
FR2497566A1 (fr) Perfectionnement aux echangeurs de chaleur
EP2635867B1 (de) Wärmetauscher mit geschweissten platten und einen bestandteil eines solchen wärmetauschers formende platte
FR2494421A1 (fr) Element d'echange de chaleur
FR2473689A1 (fr) Capteurs solaires a concentration comportant un reflecteur cylindrique fixe
FR2499750A1 (fr) Grille annulaire ou polygonale servant de support de barres de combustible nucleaire selon une disposition triangulaire

Legal Events

Date Code Title Description
PUAI Public reference made under article 153(3) epc to a published international application that has entered the european phase

Free format text: ORIGINAL CODE: 0009012

PUAL Search report despatched

Free format text: ORIGINAL CODE: 0009013

AK Designated contracting states

Designated state(s): AT BE CH DE GB IT LU NL SE

AK Designated contracting states

Designated state(s): AT BE CH DE GB IT LU NL SE

17P Request for examination filed

Effective date: 19820805

ITF It: translation for a ep patent filed
GRAA (expected) grant

Free format text: ORIGINAL CODE: 0009210

AK Designated contracting states

Designated state(s): AT BE CH DE GB IT LI LU NL SE

PGFP Annual fee paid to national office [announced via postgrant information from national office to epo]

Ref country code: LU

Payment date: 19831214

Year of fee payment: 3

REF Corresponds to:

Ref document number: 5614

Country of ref document: AT

Date of ref document: 19831215

Kind code of ref document: T

PGFP Annual fee paid to national office [announced via postgrant information from national office to epo]

Ref country code: CH

Payment date: 19840106

Year of fee payment: 3

REF Corresponds to:

Ref document number: 3260017

Country of ref document: DE

Date of ref document: 19840119

PG25 Lapsed in a contracting state [announced via postgrant information from national office to epo]

Ref country code: LU

Free format text: LAPSE BECAUSE OF NON-PAYMENT OF DUE FEES

Effective date: 19840131

PLBE No opposition filed within time limit

Free format text: ORIGINAL CODE: 0009261

STAA Information on the status of an ep patent application or granted ep patent

Free format text: STATUS: NO OPPOSITION FILED WITHIN TIME LIMIT

PGFP Annual fee paid to national office [announced via postgrant information from national office to epo]

Ref country code: DE

Payment date: 19841029

Year of fee payment: 4

26N No opposition filed
PGFP Annual fee paid to national office [announced via postgrant information from national office to epo]

Ref country code: SE

Payment date: 19841231

Year of fee payment: 4

Ref country code: BE

Payment date: 19841231

Year of fee payment: 4

PGFP Annual fee paid to national office [announced via postgrant information from national office to epo]

Ref country code: AT

Payment date: 19851126

Year of fee payment: 5

PGFP Annual fee paid to national office [announced via postgrant information from national office to epo]

Ref country code: NL

Payment date: 19860131

Year of fee payment: 5

PG25 Lapsed in a contracting state [announced via postgrant information from national office to epo]

Ref country code: AT

Effective date: 19870105

PG25 Lapsed in a contracting state [announced via postgrant information from national office to epo]

Ref country code: LI

Effective date: 19870131

Ref country code: CH

Effective date: 19870131

BERE Be: lapsed

Owner name: TREPAUD GEORGES

Effective date: 19870131

PG25 Lapsed in a contracting state [announced via postgrant information from national office to epo]

Ref country code: NL

Effective date: 19870801

GBPC Gb: european patent ceased through non-payment of renewal fee
NLV4 Nl: lapsed or anulled due to non-payment of the annual fee
REG Reference to a national code

Ref country code: CH

Ref legal event code: PL

PG25 Lapsed in a contracting state [announced via postgrant information from national office to epo]

Ref country code: DE

Effective date: 19871001

PG25 Lapsed in a contracting state [announced via postgrant information from national office to epo]

Ref country code: SE

Effective date: 19880106

PG25 Lapsed in a contracting state [announced via postgrant information from national office to epo]

Ref country code: GB

Effective date: 19881121

PG25 Lapsed in a contracting state [announced via postgrant information from national office to epo]

Ref country code: BE

Effective date: 19890131

EUG Se: european patent has lapsed

Ref document number: 82400008.7

Effective date: 19880913