EP0051872A2 - Wärmepumpe - Google Patents

Wärmepumpe Download PDF

Info

Publication number
EP0051872A2
EP0051872A2 EP81109567A EP81109567A EP0051872A2 EP 0051872 A2 EP0051872 A2 EP 0051872A2 EP 81109567 A EP81109567 A EP 81109567A EP 81109567 A EP81109567 A EP 81109567A EP 0051872 A2 EP0051872 A2 EP 0051872A2
Authority
EP
European Patent Office
Prior art keywords
oil
heat
pump
heat exchanger
medium
Prior art date
Legal status (The legal status is an assumption and is not a legal conclusion. Google has not performed a legal analysis and makes no representation as to the accuracy of the status listed.)
Withdrawn
Application number
EP81109567A
Other languages
English (en)
French (fr)
Other versions
EP0051872A3 (de
Inventor
Arne Christian Nielsen
Current Assignee (The listed assignees may be inaccurate. Google has not performed a legal analysis and makes no representation or warranty as to the accuracy of the list.)
NIL-DAN Inh E u A Nielsen oHG
Original Assignee
NIL-DAN Inh E u A Nielsen oHG
Priority date (The priority date is an assumption and is not a legal conclusion. Google has not performed a legal analysis and makes no representation as to the accuracy of the date listed.)
Filing date
Publication date
Application filed by NIL-DAN Inh E u A Nielsen oHG filed Critical NIL-DAN Inh E u A Nielsen oHG
Publication of EP0051872A2 publication Critical patent/EP0051872A2/de
Publication of EP0051872A3 publication Critical patent/EP0051872A3/de
Withdrawn legal-status Critical Current

Links

Images

Classifications

    • FMECHANICAL ENGINEERING; LIGHTING; HEATING; WEAPONS; BLASTING
    • F25REFRIGERATION OR COOLING; COMBINED HEATING AND REFRIGERATION SYSTEMS; HEAT PUMP SYSTEMS; MANUFACTURE OR STORAGE OF ICE; LIQUEFACTION SOLIDIFICATION OF GASES
    • F25BREFRIGERATION MACHINES, PLANTS OR SYSTEMS; COMBINED HEATING AND REFRIGERATION SYSTEMS; HEAT PUMP SYSTEMS
    • F25B30/00Heat pumps
    • FMECHANICAL ENGINEERING; LIGHTING; HEATING; WEAPONS; BLASTING
    • F24HEATING; RANGES; VENTILATING
    • F24VCOLLECTION, PRODUCTION OR USE OF HEAT NOT OTHERWISE PROVIDED FOR
    • F24V40/00Production or use of heat resulting from internal friction of moving fluids or from friction between fluids and moving bodies
    • FMECHANICAL ENGINEERING; LIGHTING; HEATING; WEAPONS; BLASTING
    • F24HEATING; RANGES; VENTILATING
    • F24VCOLLECTION, PRODUCTION OR USE OF HEAT NOT OTHERWISE PROVIDED FOR
    • F24V99/00Subject matter not provided for in other main groups of this subclass

Definitions

  • the invention relates to a heat pump in which the first medium is circulated by a pump in an enclosed system with a heat exchanger, in which it is emitting heat to a second medium.
  • Ordinary heat pumps are working like known refrigerator olants in which the first medium is cooling the surroundings and transmits the hereby absorbed heat to the second medium which e.g. could be water circulating in a central heating plant.
  • the circulation pump applied for the first medium is usually operated by an electric motor.
  • the closed system is oil-filled, that the pump is an oil engine, and that the oil tubes of the heat exchanger have a flow passage cross section compressing the oil to a high pressure.
  • a high pressure means the rate of 3-400 ato.
  • the oil engine is installed in an insulated oil receptacle in the enclosed system, thereby utilizing even the waste heat of the pump motor.
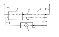
  • the heat pump comprises an oil receptacle, in which is installed a pump 2 with an electric driving engine.
  • the suction side of the pump 2 discharges into the oil receptacle 1, whereas the pressure side of the pump through a tube 3 is connected to a heat exchanger.4.
  • the oil from the pump 2 is under substantial pressure directed through a helical tube with a relatively narrow flow passage, whereby the oil is heated.
  • the oil is * led from the tube 6 through a helical tube with a relatively large flow passage cross section, whereby the oil pressure wll be lowered.
  • water is likewise directed absorbing the heat from the oil.
  • the water supplied to the second heat exchanger 5 through a tube 8 can e.g. be return water from a central heating plant. From the second heat exchanger 5 the water is passing through a tube 9 to the first heat exchanger 4. From the latter the water heated in the heat exchangers 4 and 5 is directed through a tube 10 to the central heating plant.
  • the oil pump 2 is operated by a 4.5 kW motor with a capacity of 10 1/min.
  • the total quantity of oil being 33 1, and the specific heat of the oil being 0,5 cal/g/degree C.
  • a highly recommendable oil is the type of oil used in the hydraulic system of a jet aeroplane, as this kind of oil retains mainly a uniform viscosity over a large interval of temperatures.
  • the first heat exchanger 4 comprises a 40 m helical oil tube with an internal diameter of 4 mm
  • the second.heat exchanger 5 comprises a 15 m helical oil tube with a considerably larger internal diameter.
  • the return water in the tube 8 has a temperatur of about 50 degrees C, whereas the water having passed the heat exchangers in the tube 10 holds a temperatur of 60 degrees C.
  • the oil in the tube 6 between the two heat exchangers 4 and 5 has a temperatur of 60 degrees C, while the oil in the tube 7 has a temperature of 55 degrees C.

Landscapes

  • Engineering & Computer Science (AREA)
  • General Engineering & Computer Science (AREA)
  • Thermal Sciences (AREA)
  • Mechanical Engineering (AREA)
  • Physics & Mathematics (AREA)
  • Chemical & Material Sciences (AREA)
  • Combustion & Propulsion (AREA)
  • Heat-Exchange Devices With Radiators And Conduit Assemblies (AREA)
  • Other Air-Conditioning Systems (AREA)
  • Lubrication Of Internal Combustion Engines (AREA)
  • Central Heating Systems (AREA)
  • Control Of The Air-Fuel Ratio Of Carburetors (AREA)
  • Compression-Type Refrigeration Machines With Reversible Cycles (AREA)
EP81109567A 1980-11-10 1981-11-07 Wärmepumpe Withdrawn EP0051872A3 (de)

Applications Claiming Priority (2)

Application Number Priority Date Filing Date Title
DK476480A DK476480A (da) 1980-11-10 1980-11-10 Hydra varmepumpe
DK4764/80 1980-11-10

Publications (2)

Publication Number Publication Date
EP0051872A2 true EP0051872A2 (de) 1982-05-19
EP0051872A3 EP0051872A3 (de) 1982-09-01

Family

ID=8136452

Family Applications (1)

Application Number Title Priority Date Filing Date
EP81109567A Withdrawn EP0051872A3 (de) 1980-11-10 1981-11-07 Wärmepumpe

Country Status (5)

Country Link
EP (1) EP0051872A3 (de)
JP (1) JPS57108554A (de)
DK (1) DK476480A (de)
FI (1) FI813521A7 (de)
NO (1) NO813725L (de)

Family Cites Families (6)

* Cited by examiner, † Cited by third party
Publication number Priority date Publication date Assignee Title
CH90620A (de) * 1920-09-04 1921-10-17 Emil Scheitlin Anlage zur Erzeugung von Wärme.
GB691556A (en) * 1949-12-13 1953-05-13 Daimler Benz Ag Improvements relating to braking arrangements for motor vehicles
DE2928999A1 (de) * 1979-07-18 1981-02-12 Kloeckner Humboldt Deutz Ag Vorrichtung zur nutzung der erwaermten druckfluessigkeit der arbeitshydraulik eines kraftfahrzeugs
DE2932448A1 (de) * 1979-08-10 1981-02-26 Kloeckner Humboldt Deutz Ag Einrichtung zum beheizen der bedienungskabine einer von einer brennkraftmaschine angetriebenen maschine
DE2948244A1 (de) * 1979-11-30 1981-06-04 Rüdiger 5241 Katzwinkel Hölzemann Einrichtung zur umwandlung von kinetischer energie in waermeenergie
DE3001564A1 (de) * 1980-01-17 1981-07-23 Klöckner-Humboldt-Deutz AG, 5000 Köln Einrichtung zum beheizen einer bedienungskabine

Also Published As

Publication number Publication date
NO813725L (no) 1982-05-11
FI813521L (fi) 1982-05-11
EP0051872A3 (de) 1982-09-01
DK476480A (da) 1982-05-11
FI813521A7 (fi) 1982-05-11
JPS57108554A (en) 1982-07-06

Similar Documents

Publication Publication Date Title
EP0321944B1 (de) Kühlungsvorrichtung für eine elektronische Anlage
EP0052522A2 (de) Rohr mit vergrösserter Oberfläche
EP0104505A3 (de) Spaltrohrmotorpumpe
US3487431A (en) Hydraulic power system
US4383418A (en) Circulator pump for conveying a liquid and/or gaseous medium
CA2204613A1 (en) A plant for continuously sterilising fluids, such as milk and cream
EP0051872A2 (de) Wärmepumpe
CN210625007U (zh) 一种低温环境空气源热泵热风机用高效散热室外机
EP0392801A3 (de) Verfahren zum Betrieb einer Kraftmaschine unter Verwendung von Kühlgas zur Erzeugung elektrischer Energie und zur Beheizung und Kühlung von Wasser
CN212227499U (zh) 高安全性加热冷却控温系统
PT86429A (pt) Dispositivo para controlo do sobreaquecimento e da formacao de incrustacoes calcarias num aparelho de aquecimento dum fluido e o dito aparelho que inclui o dito dispositivo
US1943908A (en) Method and apparatus for refrigeration
JPS56162295A (en) Submersible pump
DE3262340D1 (en) Method of recovering thermal energy by heat pump from sea water and comparable water masses
CN219388104U (zh) 一种水冷真空泵
SE8304634D0 (sv) Uppvermningsanordning
JPS5682619A (en) Car heater
JPS5749758A (en) Heat accumulating apparatus
WO2003048529A1 (en) Method and system for recovering work from waste heat from an internal combustion engine
SE8206485D0 (sv) Friktionsvermeanleggning
CN1055234A (zh) 地热供热和供水装置
EP0081872A3 (de) Sorptionswärmepumpe
DE2837786A1 (de) Einrichtung zur waermeversorgung mit einer waermepumpe
JPS56113930A (en) Hot water supplying and heating system utilizing solar heat
DE59100120D1 (de) Pumpvorrichtung.

Legal Events

Date Code Title Description
PUAI Public reference made under article 153(3) epc to a published international application that has entered the european phase

Free format text: ORIGINAL CODE: 0009012

AK Designated contracting states

Designated state(s): AT BE CH DE FR GB IT LU NL SE

PUAL Search report despatched

Free format text: ORIGINAL CODE: 0009013

AK Designated contracting states

Designated state(s): AT BE CH DE FR GB IT LU NL SE

STAA Information on the status of an ep patent application or granted ep patent

Free format text: STATUS: THE APPLICATION IS DEEMED TO BE WITHDRAWN

18D Application deemed to be withdrawn

Effective date: 19830805

RIN1 Information on inventor provided before grant (corrected)

Inventor name: NIELSEN, ARNE CHRISTIAN